Система охлаждения автомобиля (работа 2)
СИСТЕМА ОХЛАЖДЕНИЯ
Конструктивные особенности. На
всех рассматриваемых двигателях системы охлаждения жидкостные, закрытого типа, т. е. сообщаются с атмосферой только через специальные клапаны при определенном избыточном давлении или разрежении. Циркуляция охлаждающей жидкости осуществляется принудительно при помощи жидкостного насоса. Для компенсации изменения объема охлаждающей жидкости при ее нагреве и охлаждении в системе имеется расширительный бачок. Составными элементами системы охлаждения являются рубашка охлаждения блока и головки цилиндров, радиатор, расширительный бачок, вентилятор, жидкостный насос, термостат и патрубки (рис. 1)
Радиатор 16 (рис. 1, а) на двигателе ВАЗ-2108 в отличие от радиатора 16 двигателя ВАЗ-2105 (рис. 1, б) разборный. Он состоит из двух вертикальных пластмассовых бачков 15 и 20 (см. рис. 1, а), сердцевины 22, изготовленной из ребристых алюминиевых пластин 18 и горизонтальных трубок 17. На правом бачке установлены датчик 79 для включения и выключения электродвигателя 13 вентилятора 23 и сливная пробка 21 радиатора. В целях улучшения циркуляции жидкости и теплоотдачи в левом бачке имеется перегородка. Радиатор заполняется охлаждающей жидкостью из расширительного бачка 8 по шлангу 7 через термостат 6.
Расширительный бачок изготавливается из полупрозрачной пластмассы. Верхний патрубок бачка шлангом 11 постоянно соединен с патрубком радиатора, что предупреждает образование паровых пробок. Нижний
патрубок бачка шлангом 7 соединяется с дополнительным патрубком термостата 6. Заливная горловина бачка герметически закрыта пробкой (рис. 2). В пробке расширительного бачка помещаются два клапана: выпускной (паровой) клапан 4, который открывается при избыточном давлении в системе охлаждения до 20 кПа и выпускает часть паров в атмосферу; впускной клапан 2 (воздушный), который открывается при понижении давления в системе до 95 — 86 кПа (разрежение) вследствие остывания или слива жидкости и пропускает в систему охлаждения атмосферный воздух.
Вентилятор 23 (см. рис. 1, а) имеет четыре лопасти и привод от электродвигателя 13. Включение и выключение электродвигателя во время работы двигателя происходят автоматически при помощи датчика 19, установленного в правом бачке радиатора, в зависимости от температуры ох-

Рис. 1. Система охлаждения двигателей:
а—ВАЗ-2108; б—ВАЗ-2105; / — подводящая труба насоса; 2 — шланг отвода охлаждающей жидкости к карбюратору; 3 — выпускной патрубок головки цилиндров; 4 — патрубок подвода жидкости к отопителю; 5 и 27— шланги отвода жидкости соответственно от блока подогрева карбюратора и от отопителя; 6 — термостат; 7и 11 — шланги соответственно от бачка к термостату и от бачка к радиатору; 8 — расширительный бачок (компенсационный); 9 — пробка расширительного бачка; 10 и 12 — соответственно отводящий и подводящий шланги радиатора;
13 — электродвигатель; 14 — кожух вентилятора; 15 и 20 — бачки радиатора; 16 — радиатор; 17 — трубки; 18 — охлаждающие пластины; 19 — датчик включения и выключения вентилятора; 21 — сливная пробка; 22 — сердцевина радиатора; 23 — вентилятор; 24 — жидкостный насос; 25 — ремень привода жидкостного насоса; 26 — патрубок отвода жидкости из отопителя салона кузова; 28 — рубашка охлаждения; 29 — пробка радиатора; 30 — ремень привода вентилятора и жидкостного насоса

лаждающей жидкости, которая поддерживается в пределах 85 — 95 °С, путем включения и выключения электровентилятора. Кожух 14 вентилятора обеспечивает создание направленного потока воздуха через сердцевину радиатора с целью более быстрого охлаждения в нем жидкости.
Жидкостный насос (рис. 3) центробежного типа. Он состоит из корпуса 4 (рис. 3, а), в котором установлен вал 8 на шариковом подшипнике 6. Подшипник стопорится винтом 5, заполняется смазкой Литол-24 на заводе и в дальнейшем не смазывается. На передний конец вала напрессован
зубчатый шкив 7, а на задний — крыльчатка 2.
Уплотнение заднего конца вала на выходе его из корпуса достигается манжетой (сальником) 7 с упорным кольцом 3.
Привод насоса осуществляется зубчатым шкивом 18 при помощи ремня привода распределительного вала. Для предупреждения попадания охлаждающей жидкости в подшипник при повреждении манжеты (сальника) в корпусе насоса имеется отверстие, через которое жидкость вытекает наружу.

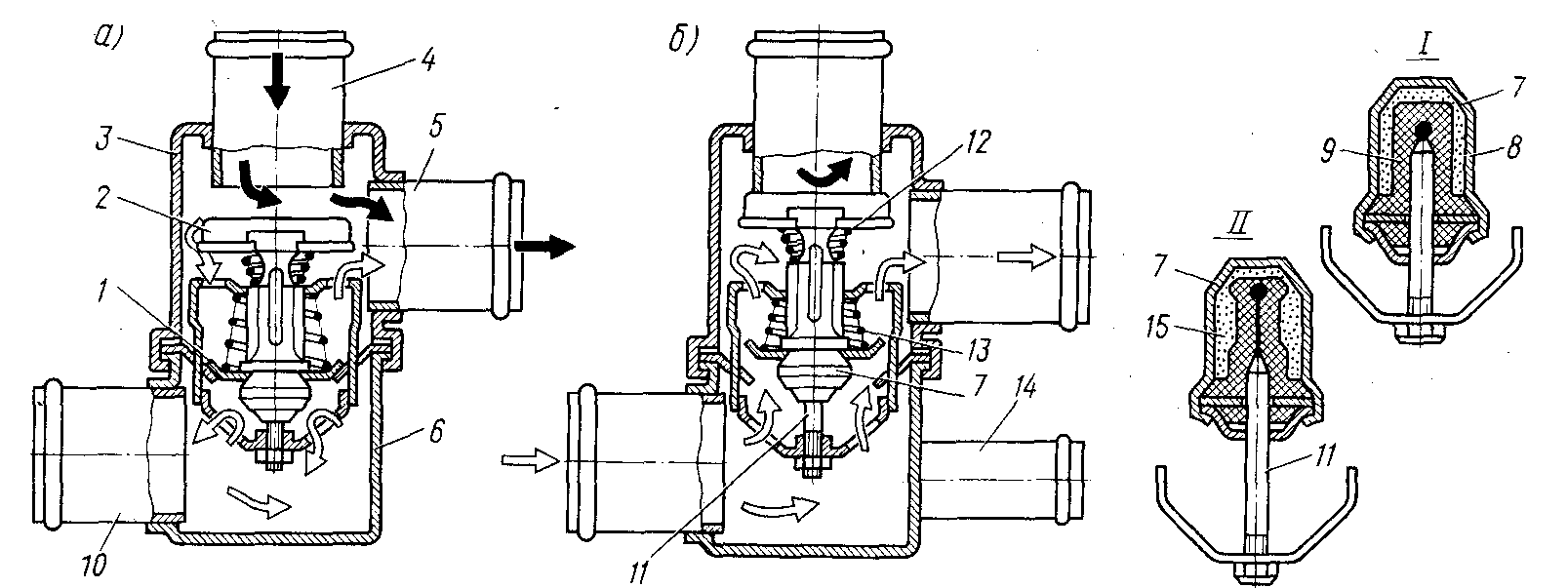
Термостат двухклапанный, неразборной конструкции, имеет четыре патрубка: два входных 10 и 4 (рис. 24), выходной 5 и дополнительный 14. Термочувствительный элемент состоит из стакана 8 с резиновой вставкой 9, между стенками которых помещается твердый наполнитель 15 (церезин — кристаллический воск), обладающий большим коэффициентом объемного расширения. Внутри резиновой вставки находится стержень 77, закрепленный в стойке основного клапана 7, который прижимается к седлу конической пружиной 13. На стойке основного клапана помещается перепускной клапан 2 с пружиной 72.
При температуре охлаждающей жидкости ниже 80 ° С основной клапан полностью закрыт, а перепускной открыт (рис. 4, а), поэтому жидкость из радиатора в насос не поступает, а циркулирует по малому кругу от центробежного насоса в рубашку охлаждения и через перепускной клапан обратно к насосу, обеспечивая более быстрый прогрев двигателя. По мере нагрева охлаждающей жидкости церезин в термостате плавится и, расширяясь, преодолевает сопротивление пружины 13 (рис. 4, б), перемещая оба клапана вверх. При температуре 94 °С
циркуляция по малому кругу прекращается, и вся жидкость проходит через основной клапан 7 в радиатор. Для слива охлаждающей жидкости из системы на двигателе имеются две сливные резьбовые пробки. Одна пробка 27 (см. рис. 1, а) расположена в нижней части правого бачка радиатора, другая — в нижней части рубашки охлаждения блока цилиндров.
От системы охлаждения через шланг жидкость подводится к впускному трубопроводу системы питания для подогрева горючей смеси карбюратора, а через патрубок 4 — к отопи-телю. Система охлаждения двигателя ВАЗ-1111 имеет аналогичное устройство.
На остальных двигателях в отличие от рассмотренного привод жидкостного насоса осуществляется клиновидным ремнем от шкива на носке коленчатого вала и устанавливается термостат с тремя патрубками (отсутствует патрубок, соединяющий термостат с расширительным бачком).
На двигателях 2106 и 331 автомобилей АЗЛК до 1988 г. устанавливались неразборные радиаторы с труб-чато-ленточной сердцевиной, горизонтальным расположением латунных трубок и расположенными по бокам

Рис. 4. Устройство и работа термостата:
а — основной клапан полностью закрыт, перепускной открыт; б — основной клапан полностью открыт, перепускной закрыт; 1 н 2 — соответственно основной и перепускной клапаны; 3 — корпус; 4 и 10 — входные
патрубки соответственно ич рубашки охлаждения и из радиаторе; 5 — выходной патрубик (к центробежному
насосу); б — крышка; 7 — термочувствительный элемент; 8 — стакан; 9 — резиновая вставка; / / — стержень;
12 я 13 — пружины соответственно перепускного и основного клапанов; 14 — патрубок для присоединения верхнего шланга расширительного бачка; 15 — твердый наполнитель; / и // — положения термочувствительного элемента термостата при температуре охлаждающей жидкости соответственно менее и более 80 °С (стрелки означают то же, что и на рис. 1)
латунными бачками. На автомобили более позднего выпуска устанавливаются радиаторы с пластмассовыми бачками.
На двигателе МеМЗ-245 сердцевина радиатора состоит из алюминиевых трубок, концы которых развальцованы в опорных пластинах.
Боковые пластмассовые бачки через резиновые прокладки плотно прикрепляются к опорным пластинам отгибными усиками.
На двигателе ВАЗ-2105 вентилятор 23 (см. рис. 1, б) установлен вместе с приводным шкивом 10 (см. рис. 3, б) на ступице 11 вала 14 жидкостного насоса и соответственно так же, как и жидкостный насос, имеет привод клиновидным ремнем 30 (см. рис. 1, б) от шкива коленчатого вала. До 1988 г. на двигателе применялись неразборные радиаторы с трубчато-пластинчатой сердцевиной с вертикальными латунными трубками и расположенными сверху и снизу латунными бачками. С 1988 г. устанавливаются разборные радиаторы, в которых сердцевина изготовлена из двух рядов горизонтально расположенных алюминиевых трубок и алюминиевых пластин и через уплотнительные резиновые прокладки крепится к боковым пластмассовым бачкам. Заливная горловина радиатора закрывается пробкой 29, в которой имеются выпускной (паровой) 4 (см. рис. 2, б) и впускной (вентиляционный) 2 клапаны. Выпускной клапан открывается при избыточном давлении в системе охлаждения. При открытом клапане жидкость или пар отводится в расширительный бачок. Это предохраняет от разрушения радиатор и патрубки. Впускной клапан не имеет пружины и допускает впуск в расширительный бачок и выпуск из него жидкости при ее нагревании и охлаждении. При разрежении в системе он открывается, и в радиатор поступает жидкость из расширительного бачка.
Неисправности системы охлаждения. Признаками неисправности системы охлаждения являются подтекание охлаждающей жидкости, перегрев или переохлаждение двигателя.
Подтекание жидкости может происходить через неплотности в соединениях шлангов и фланцев, трещины в бачках и сердцевине радиатора, неисправные или плохо закрывающиеся спускные пробки, а также через контрольное отверстие жидкостного центробежного насоса. При этом на месте стоянки образуются мокрые пятна и возникает необходимость часто доливать охлаждающую жидкость. Для устранения течи через неплотности в соединениях шлангов надо подтянуть стяжные хомутики. Течь через неплотности во фланцах патрубков устраняется подтягиванием болтов и гаек крепления. В случае протекания жидкости через дренажное отверстие корпуса жидкостного насоса необходимо заменить изношенные детали самоуплотняющейся манжеты (сальника). Если небольшое подтекание из дренажного отверстия обнаружено в период обкатки автомобиля, это может являться результатом незаконченной приработки деталей уплотнителя и принимать меры к устранению течи пока нет необходимости. Недопустимо устранять подтекание закрытием отверстия. Это неизбежно приведет к попаданию жидкости в подшипник насоса и к его разрушению. Подтекание жидкости через трещины в бачках и сердцевине радиатора устраняется запаиванием (заклеиванием) поврежденных мест. Подтекание жидкости через небольшие трещины может быть устранено путем добавления в охлаждающую жидкость специального герметика.
Перегрев двигателя характеризуется повышенной температурой и возможным закипанием охлаждающей жидкости. Возникает он вследствие:
недостаточного уровня охлаждающей жидкости; неисправности электровентилятора (не включается из-за неисправности датчика или электродвигателя, который не дает нужную частоту вращения); засорения проходов в сердцевине радиатора; поломки крыльчатки центробежного насоса; неисправности термостата (не открывается основной клапан и жидкость через
радиатор не циркулирует); загрязнения или отложения накипи в рубашке охлаждения и радиаторе. Перегрев двигателя может быть вызван также неисправностями систем питания и зажигания. При перегреве происходят потеря мощности двигателя вследствие ухудшения наполнения цилиндров горючей смесью, а также выгорание масла, что приводит к усиленному изнашиванию поршневой группы и цилиндров. При длительной работе с повышенной температурой возможно заклинивание поршней в цилиндрах и выход двигателя из строя, поэтому при первых же признаках перегрева необходимо принимать меры к устранению неисправностей.
Для проверки исправности термостата непосредственно на автомобиле необходимо пустить двигатель и ощупать рукой нижний бачок или нижний патрубок радиатора. При исправном термостате бачок или патрубок начинает прогреваться, когда температура охлаждающей жидкости достигнет 80 — 90 °С. При этом стрелка указателя температуры в комбинации приборов должна находиться на расстоянии 3 — 4 мм от красной зоны шкалы или располагаться между делениями 80 — 100 на цифровом указателе.
Засорение проходов сердцевины радиатора определяется внешним осмотром и устранением вначале прочисткой щеткой с длинным ворсом, промывкой сердцевины струёй воды со стороны двигателя, а затем продувкой сжатым воздухом.
Загрязнения и накипь в рубашке охлаждения и радиаторе значительно ухудшают теплоотдачу и вызывают поэтому систематический перегрев двигателя. Для устранения этого необходимо промыть систему охлаждения одним из специальных составов, удаляющих накипь, в соответствии с технологией его применения, после чего промыть систему чистой водой и заправить охлаждающей жидкостью.
Переохлаждение двигателя может быть вызвано неисправностью термостата (не закрывается основной клапан). Необходимо проверить термостат способом, указанным выше, и при необходимости заменить его. Работа двигателя при низкой температуре охлаждающей жидкости приводит к потере мощности и вызывает усиленное изнашивание деталей кривошипно-шатунного механизма вследствие ухудшения условий смазки из-за конденсации паров топлива, смывания масла со стенок цилиндров и разжижения масла в картере.
Техническое обслуживание системы охлаждения. Ежедневно необходимо проверять отсутствие подтеканий и контролировать уровень охлаждающей жидкости, который на остывшем двигателе должен быть на 3 — 4 см выше риски с отметкой "М1М" в расширительном бачке, а при наличии двух рисок (двигатель МеМЗ-245) — на уровне верхней риски. Во время работы двигателя и сразу после его остановки уровень жидкости может несколько повышаться.
В качестве охлаждающей жидкости в системах охлаждения двигателей используется Тосол А-40 или Тосол А-65. Эти жидкости представляют собой смесь технического этиленгликоля и дистиллированной воды с температурой замерзания соответственно —40 и —65 °С, температура их закипания при атмосферном давлении около 108 °С. При указанных отрицательных температурах жидкость превращается не в лед, а в густую массу, которая не вызывает повреждения радиатора и блока цилиндров двигателя. Эти жидкости не склонны к вспениванию, отложению накипи и испарению, но являются ядовитыми. При попадании их в организм человека может произойти тяжелое отравление, поэтому их нельзя отсасывать ртом через шланг. После работы с ними надо хорошо мыть руки с мылом. Не следует допускать попадания жидкости на окрашенную поверхность кузова во избежание порчи окраски. Хранить жидкость можно в закупоренной чистой стеклянной, пластмассовой или железной, но не оцинкованной посуде.
Для всех двигателей, эксплуатируемых в южных регионах страны, круглогодично, а в районах средней полосы и Севера в теплое время года пр!/необходимости допускается заливать в систему охлаждения чистую мягкую воду. Для этого из системы охлаждения сливают низкозамерзающую жидкость, заливают до полного уровня воду, пускают двигатель и прогревают его до нормальной температуры (80... 90 °С). Затем останавливают двигатель, сливают воду и окончательно заправляют систему чистой водой. Следует, однако, иметь в виду, что применение воды способствует образованию накипи на внутренних поверхностях рубашки охлаждения. Поэтому целесообразно в воду добавлять препарат "Антинакипин".
Литература:
С.К. Шестопалов, К.С. Шестопалов
ЛЕГКОВЫЕ АВТОМОБИЛИ.