Судовые устройства
Реферат.
Тема:
Судовые устройства:
Рулевое устройство.
Якорное устройство.
Швартовное устройство.
Шлюпочное устройство и спасательные средства.
Грузовое устройство.
Буксирные устройства буксирных судов.
Реферат по теме:
«Судовые устройства»
выполнил
курсант группы 525 ПУ7
г.Владивостока
Кудряков Сергей Анатольевич.
Рулевое устройство.
Рулевое устройство предназначено для удержания судна на курсе, управления судном.
В состав рулевого устройства входит руль и перо руля.
Руль состоит из пера и баллера.
Перо руля это плоский или, чаще, двухслойный обтекаемый щит с внутренними подкрепляющими ребрами, площадь которого у морских судов составляет 1/>40> – 1/>60> площади погруженной части ДП. Внутреннюю полость пера руля заполняют пористым материалом, предотвращающим попадание воды внутрь. Основу пера руля составляет рудерпис массивный вертикальный стержень, к которому крепят горизонтальные ребра пера руля. Вместе с рудерписом отливают (или отковывают) петли для навешивания руля на рудерпост.
Баллер это стержень, при помощи которого поворачивают перо руля. Нижний конец баллера имеет обычно криволинейную форму и заканчивается лапойфланцем, служащем для соединения баллера с пером руля при помощи болтов. Это разъемное соединение баллера с пером руля необходимо для съема руля при ремонте. Иногда вместо фланцевого применяют замковое или конусное соединение.
Баллер руля входит в кормовой подзор корпуса через гельмпортовую трубу и поддерживается специальным упорным подшипником, расположенным на одной из платформ или палуб. Верхняя часть баллера проходит через второй подшипник и соединяется с румпелем.
В зависимости от расположения руля относительно оси вращения различают: обыкновенные рули, у которых перо полностью расположено в корму от оси вращения; балансирные рули, у которых перо разделено осью вращения на две неравные части: большая в корму от оси, меньшая в нос; полубалансирные рули отличаются от балансирных тем, что балансирная часть сделана не по всей высоте руля.
Балансирные и полубалансирные рули характеризуются коэффициентом компенсации, то есть отношением площади руля. Для их перекладки требуется меньше усилий и менее мощная рулевая машина. Крепление таких рулей к корпусу судна сложнее, поэтому на тихоходных судах, на которых требуются небольшие усилия для перекладки руля с борта на борт, применяют обыкновенные рули.
Разновидностью балансирного руля является руль типа Симплекс со съемным неподвижным шпинделем, заменяющим рудерпост, на который навешивают перо руля. Эти рули более надежны, обладают большей жесткостью крепления к корпусу судна и их удобнее демонтировать.
Привод руля состоит из механизмов и устройств, предназначенных для перекладки руля на борт.
В механизмы привода руля входят: рулевая машина, рулевой привод устройство для передачи вращающего момента от рулевой машины к баллеру, и привод управления рулевой машиной (рулевая передача). По Правилам Регистра каждое морское судно должно иметь три привода, действующих независимо друг от друга на руль: основной, запасной и аварийный. Время перехода с основного на запасной привод составляет две минуты.
Обычно для основного привода применяют рулевые машины, а запасной и аварийный делают ручными, за исключением судов, у которых диаметр головы баллера руля больше 335 мм, а также пассажирских судов с диаметром головы баллера более 230 мм; для них требуется механический запасной привод. Рулевую машину обычно размещают в румпельном отделении, а на малых судах и катерах — в посту управления судном.
По конструктивному исполнению рулевые машины могут быть: электрогидравлические-
1.Лопастного типа.
2. Плунжерного типа.
Электрические рулевые машины-
1.С секторнорумпельным приводом.
2.С винтовым приводом.
Наиболее распространены электрогидравлические машины.
Мощность рулевой машины в основном рулевом приводе, должна обеспечить перекладку руля с 35°одного борта, до 35° на другой борт не более чем за 28 секунд.
Передача на руль усилий, развиваемых в рулевой машине, осуществляется с помощью рулевого привода в виде тросов, цепей или гидравлической системы либо путем жесткой кинематической связи между рулевой машиной и рулем (зубчатые секторы, винты). Различают румпельный, секторный и винтовой приводы.
Румпельный привод представляет собой одноплечий рычаг — румпель, один конец которого соединен с верхним концом баллера, а другой — с тросом, цепью или гидросистемой, предназначенными для связи с рулевой машиной или постом управления. Этот привод, называемый иногда продольно-румпельным, применяют на небольших судах, а также спортивных и несамоходных судах внутреннего плавания.
Поперечно румпельный привод представляет собой румпель в виде двухплечего рычага. Он широко распространен на крупных судах, обслуживаемых четырех плунжерными гидравлическими рулевыми машинами.
Секторный привод широко применяют при передаче усилия на руль от электрических рулевых машин. В этом случае находящаяся в зацеплении с сектором шестерня вращается от электродвигателя. Для компенсации ударных нагрузок на руль, в секторе устанавливают пружинные компенсаторы.
Винтовой привод обычно бывает запасным, его ставят непосредственно у руля в румпельном отделении. Вращение от штурвала передается винтовому шпинделю, имеющему по концам резьбу противоположных направлений. Перемещающиеся при вращении шпинделя ползуны с правой и левой резьбой через систему тяг воздействуют на плечи поперечного румпеля, насаженного на баллер руля. Недостатком его является более низкий КПД из-за потерь при трении винтовой пары.
Привод управления рулевой машиной (рулевая передача) служит для передачи команд из рулевой рубки на рулевую машину, находящуюся обычно на большом расстоянии от мостика. На современных крупных судах наиболее распространены электрический и гидравлический приводы, реже применяют тросовый или валиковый приводы.
Положение пера руля контролируется специальными указателями. Для обеспечения бесперебойной работы рулевого устройства пост управления машиной дублируют, располагая запасной пост в румпельном отделении или рядом с ним.
На малых судах, не имеющих рулевых машин, перекладка руля вручную при вращении штурвала выполняется с помощью штуртросовой проводки, состоящей из троса, прикрепленного с двух сторон к румпелю и проведенного через направляющие ролики от румпеля к штурвалу. Закрепленные на барабане штурвала штуртросы при вращении штурвала навиваются на барабан или сматываются с него, усилие передается на румпель, а затем на руль. Для устранения возникающей при повороте румпеля слабины штуртроса в схему вводят пружинные компенсаторы или ползуны, перемещающиеся вдоль румпеля.
Разновидностью ручного, привода с секторной передачей усилия на баллер руля является валиковая передача. Она состоит из нескольких валиков, соединенных при помощи муфт и карданных шарниров, а в местах крутых изломов коническими передачами. Вращение от штурвала через валиковую передачу сообщается шестерне, сцепленной с сектором руля. Валиковая передача обладает большим КПД, чем штуртросовая.
Дополнительные средства управления.
Для улучшения маневренности судна на малых ходах, когда обычное рулевое устройство недостаточно эффективно, особенно при швартовке судна у пирса и движении в узких местах (каналы, шхеры, ограниченный фарватер), устанавливают дополнительные средства управления: носовые рули, а также средства активного управления (САУ) — направляющие, насадки, активные рули, подруливающие устройства и вспомогательные движительно-рулевые колонки (ВДРК).
Якорное устройство.
Якорное устройство служит для обеспечения надежной стоянки в море, на рейде и в других местах, удаленных, от берега, путем крепления за грунт с помощью якоря и якорной цепи. В его состав входят: якоря, якорные цепи (канаты), якорные машины, якорные клюзы и стопоры.
Якоря в зависимости от их назначения разделяют на становые, предназначенные для удержания судна в заданном месте, и вспомогательные — для удержания судна в заданном положении во время стоянки на основном якоре.
К вспомогательным относится кормовой якорь — стоп-анкер, масса которого составляет 1/>3> массы станового. Размеры, массу и количество якорей назначают по Правилам Регистра в зависимости от размеров корпуса и надстроек судна. Держащая сила якоря в среднем в 10 раз больше его массы.
Основными частями якоря являются веретено и лапы. Якоря различают по подвижности и количеству лап (до четырех) и наличию штока. К безлапым относят мертвые якоря (грибовидные, винтовые, железобетонные), используемые при установке плавучих маяков, дебаркадеров и других плавучих сооружений.
На морских судах в качестве становых и стоп-анкеров применяют двулапые якоря: бесштоковые, с поворотными лапами якоря Холла, Грузона и штоковые, с неподвижными лапами адмиралтейские. Штоковые якоря обладают значительно большей держащей силой, чем бесштоковые (у адмиралтейского она равна 10 12 массам самого якоря), но наличие штока затрудняет их уборку и отдачу. Поэтому на крупных судах, как правило, применяют тяжелые бесштоковые якоря Холла, легко убираемые в клюзы. Существуют якоря повышенной держащей силы с поворотными лапами и штоком в виде поперечных утолщений на лапах. К этому типу относят якорь Матросова, применяемый на катерах и буксирах. На малых судах и баржах используют многолапные бесштоковые якоря, называемые кошками. Суда ледового плавания снабжают специальными однолапыми бесштоковьми ледовыми якорями, предназначенными для удержания судна у ледового поля.
Якорная цепь служит для крепления якоря к корпусу судна. Она состоит из звеньев, образующих смычки длиной 2527 м, соединенные одна с другой при помощи специальных разъемных звеньев. Смычки образуют якорную цепь длиной от 50 до 300 м. В зависимости от расположения в якорной цепи различают якорную (крепящуюся к якорю), промежуточные и коренную смычки. Крепят якоря к якорной цепи при помощи якорных скоб. Чтобы предупредить скручивание цепи, в нее включают поворотные звенья вертлюги. Для крепления и экстренной отдачи коренного конца якорной цепи применяют специальное устройства с откидным гаком глаголь-гак, позволяющим легко освободить судно от вытравленной якорной цепи. По Правилам Регистра устройство для быстрой от дачи якорной цепи, устанавливаемое в цепном ящике, должно иметь дистанционный привод управления, выведенный на открытую или другую палубу в доступном месте.
Якорные цепи различают по их калибру диаметру поперечного сечения прутка звена. Звенья цепей калибром более 15 мм должны иметь распорки контрфорсы. У крупнейших судов калибр якорных цепей достигает 100 130 мм. В походном положении якорную цепь хранят в цепном ящике с деревянной обшивкой. Для обеспечения самоукладки якорной цепи цепные ящики имеют обычно круглое сечение, диаметр которого составляет около 30 35 калибров якорной цепи.
Якорными машинами для подъема якоря служат лебедки с горизонтальной осью вращения барабана брашпили .

Брашпиль: электрический
1 двигатель; 2 червячный редуктор; 3 цилиндрические шестерни; 4 цепная звездочка; 5 ленточный тормоз; 6 турачка (швартовный барабан); 7 грузовой вал.
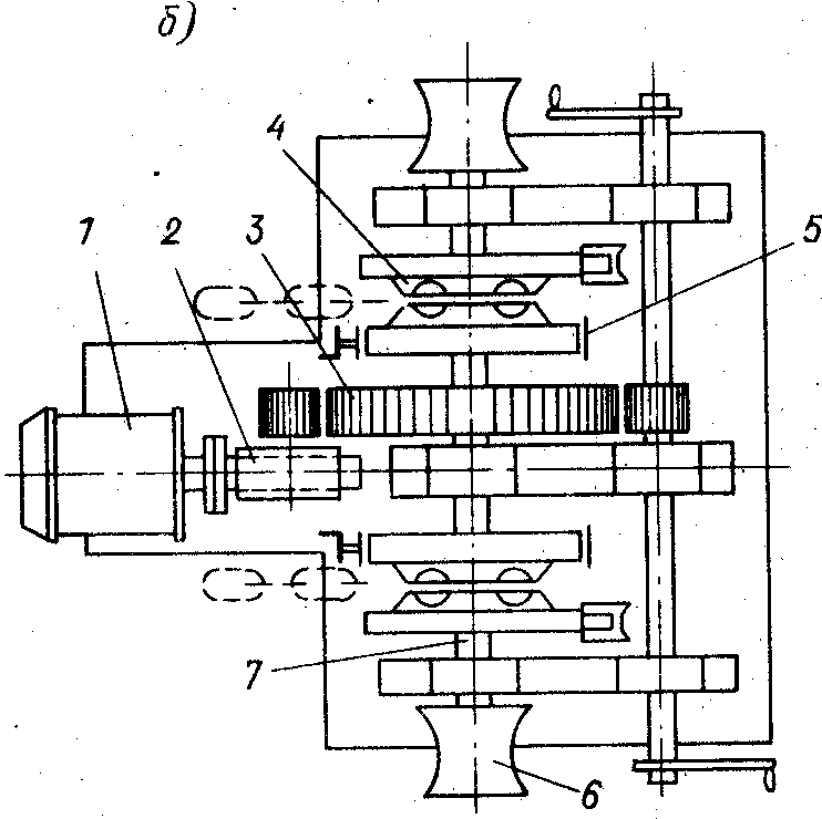
Или с вертикальной осью вращения барабана шпили.

Якорный шпиль.
1 электродвигатель; 2 редуктор (червячный); 3 вертикальный вал; 4 грузовой вал; 5 цепная звездочка; 6швартовный барабан; 7 колодочный тормоз.
Брашпиль, устанавливаемый в ДП, обслуживает якорные цепи правого и левого бортов (на супертанкерах применяют полубрашпили раздельные брашпили, смещенные от ДП к бортам). Отдача якоря происходит за счет собственной массы. При этом во избежание чрезмерного разгона якорная цепь, сматывающаяся через звездочку брашпиля, притормаживается ленточным тормозом. На оси звездочек брашпиля, по ее концам, обычно устанавливают турачки барабаны для наматывания швартовных тросов при швартовке. Благодаря наличию специальных муфт турачки могут работать при неподвижной звездочке и наоборот. Шпиль обслуживает только одну якорную цепь каждого борта. Механизм шпиля разделяют обычно на две части: верхнюю, состоящую из звездочки со швартовным барабаном и находящуюся над палубой, и нижнюю, состоящую из двигателя и редуктора, располагаемых под палубой. Тормозят вытравливаемую якорную цепь с помощью колодочного тормоза. Брашпили и шпили имеют электрический, электрогидравлический или паровой привод. В случае необходимости небольшие шпили могут иметь ручной привод. Они приводятся во вращение вручную при помощи вымбовок съемных деревянных рычагов, вставляемых в выемки швартовного барабана.
Якорные клюзы палубные и бортовые служат для направления якорной цепи и уборки якоря. В зависимости от типа и назначения судна различают клюзы обычные, открытые и с нишей.
Обычные клюзы устанавливают на большинстве транспортных, промысловых и вспомогательных судов; их изготовляют литыми или сварными.
Открытые клюзы, представляющие собой массивную отливку с желобом для прохода якорной цепи и веретена якоря, устанавливают в месте соединения палубы с бортом. Их применяют на низкобортных судах, на которых обычные клюзы в виде труб, оканчивающихся бортовыми и палубными раструбами, нежелательны, так как через них на волнении на палубу попадает вода.
Клюзы с нишей в бортовой обшивке позволяют убирать якорь заподлицо с обшивкой, уменьшая тем самым возможность повреждения при движении во льдах, буксировке и швартовках. Их предусматривают на судах ледового плавания, буксирах, спасателях, пассажирских и промысловых судах.
Стопоры предназначены для крепления якорных цепей и удержания якоря в клюзе в походном положении. Для этого используют винтовые кулачковые стопоры, закладные стопоры (стопоры с закладным звеном) и эксцентриковые (на малых судах). Для более надежного закрепления якоря служат дополнительные цепные стопоры короткие цепные смычки, пропускаемые через якорную скобу и закрепляемые двумя концами к обухам на палубе. С помощью талрепа, включенного в один конец цепи, подтягивают якорь в клюз до плотного прилегания лап к наружной обшивке. Глаголь-гак, включенный в другой конец цепи, служит для быстрой отдачи стопора.
Швартовное и кранцевое устройства.
Швартовное устройство служит для обеспечения надежной стоянки судна у пирса или около другого плавучего сооружения (судна, бочки, дебаркадера). Крепят, как правило, судно, устанавливаемое бортом к стенке, с помощью канатов, называемых швартовами. Раньше в качестве швартовов применяли только растительные (сизальские, манильские, на небольших судах пеньковые) или стальные тросы (имеющие не менее 144 проволочек и 7 сердечников). В последнее время появились более легкие, прочные и долговечные швартовы из волокон капрона, нейлона, полипропилена и других синтетических материалов. На танкерах, перевозящих нефтепродукты 1-го разряда, стальными тросами разрешается пользоваться только на палубах надстроек, если по ним не проходят трубопроводы приема и выдачи груза. Применять на танкерах тросы из искусственного волокна можно только по специальному разрешению Регистра (так как при разрыве таких тросов образуются искры от разрядов статического электричества). Диаметр стального троса или длину окружности растительного троса определяют по Правилам Регистра в зависимости от размеров надводной части корпуса и настроек судна.

Схема швартовного устройства и расположение швартовов при швартовке лагом.
1 брашпиль со швартовными барабанами; 2 кнехт; 3 швартовная лебедка; 4 швартовный клюз; 5 киповая планка; 6 швартовный шпиль; 7 кормовой про дольный швартов (правый и левый); 8 кормовой прижимной швартов; 9 кормовой шпринг; 10 носовой шпринг; 11 носовой прижимной швартов; 12 носовые про дольные швартовы (правый и левый).
В состав швартовного устройства входят кнехты, клюзы, лебедки и шпили.
Кнехты стальные или чугунные (литые или сварные) тумбы для крепления швартовов на судне. Кнехты могут быть одинарными и двойными, прямыми и крестовыми. Диаметр тумбы кнехта должен быть равен не менее 10 диаметрам стального швартова или одной окружности растительного. Для крепления стальных швартовов диаметром менее 8,4 м и растительных окружностью менее 60 мм вместо кнехтов служат утки.
Швартовные клюзы стальные или чугунные отливки с овальным отверстием в фальшборте для направления швартова к швартовному кнехту, устанавливаемому около клюза ( не ближе 1,5 м от него). Отверстия клюзов имеют плавные скругленные кромки, исключающие резкий изгиб проходящего через клюз швартова. Чтобы трос из-за трения при движении швартова о кромки клюза сильно не изнашивался, применяют специальные клюзы: универсальные с двумя парами вертикальных и горизонтальных цилиндрических роликов, между которыми пропускается швартов и автоматические (поворотные) с вращающейся в клюзе обоймой, имеющей два ролика, между которыми пропущен швартов. На судах, проходящих через Панамский канал, устанавливают специальные панамские клюзы, приваренные к палубе.
В тех местах, где вместо фальшборта имеется леерное ограждение, устанавливают киповые планки, которые могут быть с роульсами (от 1 до 3) или без них (на малых судах).
Если нельзя выполнить прямую проводку троса от клюза или киповой планки на швартовный барабан, то на палубе ставят одиночные роульсы.
Для закрепления швартовов на кнехтах служат тросовые стопоры переносные механические зажимы колодочного или цепного типа. Стопоры крепят за тумбу кнехта или за рым в его корпусе.
Швартовные лебедки, или шпили (паровые, электрические или гидравлические) предназначены для подтягивания судна к пирсу после закрепления на нем швартовов. Для швартовных операций на баке обычно используют швартовные барабаны механизмов якорного устройства (шпиля или брашпиля) В средней части судна и в корме устанавливают специальные швартовные механизмы (на сухогрузных судах используют швартовные барабаны грузовых лебедок).
Швартовные лебедки бывают простые и автоматические. Автоматические лебедки применяют на танкерах и судах для перевозки навалочных грузов, то есть судах, у которых во время погрузочно-разгрузотаых операций быстро изменяется осадка, что требует частых перешвартовок. При наличии автоматических швартовных лебедок стравливание или вбирание швартовов происходит автоматически, так как лебедка поддерживает постоянное натяжение швартовного троса. Для намотки и хранения швартовов служат вьюшки барабаны с высокими бортиками, которые приводятся во вращение вручную: либо с помощью выступающего обода, либо от ручного зубчатого привода.
Чтобы предотвратить повреждения борта судна при швартовке к причалу, особенно при швартовке судов друг к другу в открытом море на волнении, на судах предусматривают кранцевое устройство.
Кранцевое устройство (привальные брусья и кранцы) мягкие или деревянные подушки, вываливаемые за борт или закрепленные постоянно на борту в местах, наиболее подверженных ударам.
Мягкие кранцы изготовляют в виде подушек из мешков, наполненных крошеной пробкой и оплетенных снаружи смоленым пеньковым канатом, либо из резины. В последнее время получили распространение пневматические (резинотканевые надувные) кранцы, а также кранцы в виде резиновых роликов с пружинными амортизаторами. Иногда в качестве кранцев используют навешенные вдоль борта автомобильные покрышки.
Спасательные средства.
Спасательные средства это совокупность предусмотренных на судне средств спасания пассажиров и экипажа, включающая шлюпочное устройство, спасательные плоты, плавучие приборы и спасательные средства индивидуального пользования.
Шлюпочное устройство предназначено для спасения людей в случае гибели судна, а также для сообщения с берегом и другими судами во время рейдовой стоянки.
В состав шлюпочного устройства входят: спасательные шлюпки, плоты и капсулы, рабочие шлюпки и разъездные катера, число, конструкцию и вместимость которых определяют в зависимости от количества людей, размеров судна, характера и района плавания. Также, в состав шлюпочного устройства входят шлюпбалки, служащие для быстрого и безопасного спуска и подъема спасательных шлюпок; приспособления для хранения шлюпок и катеров по-походному (кильблоки, найтовы, чехлы).
Спасательные шлюпки вмещают от 10 до 150 человек. Общее число мест в спасательных шлюпках, устанавливаемых на каждом борту, должно быть равно: на пассажирских, экспедиционных и промысловых судах половине общего количества находящихся на судне людей; на прочих морских судах дальнего плавания общему количеству мест на судне. В дополнение к шлюпкам, а иногда взамен части их (на пассажирских судах до 25 % мест) устанавливают надувные плоты.
На морских судах неограниченного и ограниченного района плавания на каждом, борту предусматривают по одной моторной (дежурной) шлюпке длиной не более 8,5 м для немедленного использования при падении людей за борт.
Спасательные шлюпки для обеспечения плавучести в случае попадания в них воды снабжают встроенными в корпус воздушными ящиками. Правила регламентируют размеры спасательных шлюпок: длина должна быть не меньше 7,3 м (на малых судах 4,9 м), вместимость не более 150 человек и масса с людьми и снабжением не более 20 т.
Спасательные шлюпки изготовляют из дерева, стали, бакелизированной фанеры, а также из легких алюминиево-магниевых сплавов и стеклопластика.
Шлюпки вместимостью до 30 человек допускается оборудовать гребным винтом с ручным приводом. Часть спасательных шлюпок (у грузовых судов одну, у судов с большим количеством людей по одной с каждого борта) снабжают мотором, обеспечивающим скорость не менее 6 узлов. Шлюпки вместимостью более 30 человек делают только моторными.
Предусматриваемые на спасательных шлюпках и плотах укрытия людей от непогоды окрашивают в видимый днем ярко-оранжевый цвет.
Спасательные шлюпки танкеров, в отличие от шлюпок других судов, приспосабливают для безопасного плавания в течение не менее 10 минут в зоне горящих нефтепродуктов при температуре до 200 °С. Поэтому их делают закрытыми и оборудуют специальной системой орошения водой наружной поверхности. Танкерные шлюпки должны иметь мотор, позволяющий развивать скорость не менее 6 узлов. Запас сжатого воздуха на них должен обеспечивать в течение 10 мин пребывание людей и работу двигателя.
Все спасательные шлюпки снабжают веслами, парусом, мачтой, плавучим якорем, двумя топорами (в носу и корме), шлюпочным масляным фонарем, спичками, зажигающимися на ветру, ведрами с черпаками, осушительным насосом, запасом пресной воды (по 3 литра на человека), провизией (из расчета 5000 кал на человека), комплектом рыболовных принадлежностей, аптечкой с медикаментами и таблетками от морской болезни, химическими грелками (по одной 1релке на 10 человек), индивидуальными спасательными средствами, компасом и т.д.
Рабочие шлюпки (одна-две на судно) служат для связи с берегом или с судами, стоящими на рейде, заводки вспомогательных якорей и других работ около судна. Они вмещают всего лишь несколько человек и по размерам значительно меньше спасательных шлюпок. На крупных морских судах кроме рабочих шлюпок для тех же целей используют катера.
Спасательные шлюпки, рабочие шлюпки и катера устанавливают на открытых палубах, но не ближе чем на 1/>4> длины судна от форштевня в защищенных от действия волн местах. При расположении спасательных шлюпок в корме расстояние от ахтерштевня кормовой шлюпки до лопастей гребных винтов (так как в этом районе спускать шлюпки небезопасно) не должно быть меньше полуторной длины шлюпки. Шлюпки следует располагать с таким расчетом, чтобы обеспечить безопасные посадку в них людей и спуск при крене судна на любой борт до 20° и дифференте до 10° в течение 30 мин (для пассажирских и промысловых судов неограниченного района плавания).
Спасательные шлюпки спускают с помощью шлюпбалок разных типов. Они бывают поворотные (или радиальные), заваливающиеся и гравитационные.
У поворотных шлюпбалок вываливание шлюпки происходит в результате манипуляции со шлюпбалками и шлюпкой вручную, у шлюпбалок заваливающегося типа в результате заваливания шлюпбалки с помощью винтового привода. Особенностью наиболее распространенных гравитационных шлюпбалок является то, что вываливание шлюпки происходит под действием силы тяжести после отдачи стопоров. Эти шлюпбалки отличает быстрота вываливания шлюпки (не более 2 мин), а также надежная работа в условиях антикрена до 20°. Поэтому на пассажирских, наливных судах вместимостью более 1600 peг.т. и на промысловых судах применяют только гравитационные шлюпбалки. Кроме того, они обслуживают спасательные шлюпки, масса которых в состоянии вываливания равна более 2300 кг, независимо от типоразмера судна, на котором они установлены.
Гравитационные шлюпбалки подразделяют на скатывающиеся (скользящие), у которых стрела с подвешенной к ней шлюпкой перемещается по направляющим станины на роликах, вываливая при этом шлюпку, и шарнирные, вываливающие шлюпку за счет поворота вокруг шарнира, расположенного у нижнего конца шлюпбалки Разновидностью шарнирной шлюпбалки является двухшарнирная. При вываливании шлюпки она сначала вращается вокруг заднего шарнира, а затем вокруг переднего, благодаря чему увеличивается вылет шлюпбалки. Дальнейшим усовершенствованием этого типа шлюпбалки являются четырехшарнирные шлюпбалки.
Заваливающиеся шлюпбалки предназначены для спуска спасательных шлюпок спусковой массой до 2300 кг. Поворотные (радиальные) шлюпбалки считают устаревшими, и их применяют только на малых судах или для рабочих шлюпок.
Каждую пару шлюпбалок обслуживает одна шлюпочная лебедка ручным или механическим приводом. Механические шлюпочные лебедки бывают безмоторные (со специальным барабаном с тросом, свободный конец которого через канифас-блоки проводится на швартовный барабан грузовой лебедки, шпиля или брашпиля) и приводные (с электрическим или пневматическим приводом). Иногда применяют двухбарабанные лебедки, обслуживающие по две пары шлюпбалок. В последнее время появился принципиально новый тип спусковою шлюпочного устройства: закрытая шлюпка устанавливается в корме на наклонном спусковом устройстве, расположенном, как правило, вдоль судна и вместе с находящимися в ней людьми свободно сбрасывается с него в корму носом в воду.
Спасательные надувные плоты (минимальная пассажировместимость 5 чел.), заменяющие шлюпки, спускают на воду специальными кранами на одном шкентеле. Кран разворачивается в сторону борта, плот крепится к тросу, выносится за борт и автоматически надувается; после того как пассажиры займут места на плоту, начинается его спуск на воду со скоростью 3040 м/мин (спускать можно при крене до 15°). Спущенный на воду плот автоматически (при уменьшении натяжения шкентеля) освобождается, и гак поднимается вверх для спуска следующего плота.
Спасательные надувные плоты, установленные сверх предусмотренных правилами обязательных шлюпок с достаточным количеством мест, можно не спускать, а сбрасывать на воду; сброшенный на воду плот автоматически надувается.
Рабочие шлюпки и катера спускают на воду с помощью шлюпбалок или обычными грузовыми кранами.
Крепят шлюпки по-походному на ростр-блоках деревянных или металлических опорах, у которых опорная часть выполнена по форме обвода и обита мягкой войлочной подушкой, обшитой парусиной. Ростр-блоки устанавливают либо прямо на палубе, либо на рострах полубимсах, опирающихся одним концом на рубку, а другим на стойку у борта либо на шлюпбалках S-образной формы. Ростр-блоки бывают односторонние, то есть расположенные только с одного борта шлюпки, обращенного к ДП судна, или двусторонние. Чтобы шлюпку при вываливании за борт не надо было приподнимать, у двусторонних ростр-блоков наружную часть делают откидной на петлях.
Шлюпки крепят к ростр-блокам с помощью охватывающих шлюпку найтовов стальных тросов с пеньковыми талрепами, закрепляемых к приваренным на палубе обухам с треугольными рымами. Для быстрой отдачи шлюпочных найтовов в них включают глаголь-гаки. Найтовы, крепящие шлюпки к гравитационным шлюпбалкам, отдаются автоматически, одновременно с отдачей стопора шлюпбалки.
Грузовые устройства.
Грузовые устройства предназначены для выполнения погрузочно-разгрузочных работ судовыми средствами.
В состав грузовых устройств на сухогрузных судах входят грузовые стрелы или краны, закрытия грузовых люков и средства внутри трюмной механизации. На судах типа «ро-ро» к грузовым устройствам относят погрузочные лифты, аппарели (внутренние и забортные рампы); на лихтеровозах типа «ЛЭШ» катучие козловые краны. На наливных судах роль грузовых устройств исполняют насосы и трубопроводы, с помощью которых погружают и выгружают жидкий груз. На судах, перевозящих сыпучие грузы, древесную щепу и т. п., в состав грузовых устройств входят ленточные транспортеры, пневмопогрузчики и другие специальные устройства.
На пассажирских судах к числу грузовых устройств могут быть отнесены всевозможные лифты (для пассажиров, команды и багажа), а также устройства для погрузки на судно автомашин, багажа и провизии.
Грузовые стрелы бывают легкие, грузоподъемностью 1, 3, 5, реже 810 т, и тяжеловесные грузоподъемностью более 10 т. Грузоподъемность тяжеловесных стрел может достигать 200 300 т, однако наиболее распространенными являются тяжеловесные стрелы на 40 60 т. Грузовые стрелы устанавливают на мачтах или грузовых колоннах.
Легкая грузовая стрела.

Грузовая стрела.
1 стрела; 2 мачта; 3 башмак шпора; 4 вертлюг шпора; 5 обух топенанта; 6 блок топенанта; 7 топенант; 8 обух нока; 9 грузовой блок; 10 противовес; 11 вертлюг; 12 гак; 13 оттяжка; 14 талиоттяжки; 15 грузовой шкентель; 16 направляющий блок; 17 конец к лебедке; 18 грузовая лебедка; 19 палубный обух топенанта; 20 конец к канифас-блоку; 21 треугольное звено.
Легкая грузовая стрела состоит из длинного металлического (реже, деревянного) стержня трубчатой или ажурной конструкции, один конец которого шпор шарнирно связан с мачтой, грузовой колонной или самостоятельным фундаментом вблизи мачты, а второй конец нок поддерживается топенантом. Благодаря шарниру стрела может поворачиваться в горизонтальной и вертикальной плоскостях. Последнее достигается изменением длины топенанта, который выбирают или стравливают либо с помощью турачки грузовой лебедки, либо специальной топенантной лебедки. При отсутствии специальных лебедок топенант в нужном положении стопорят с помощью цепного стопора с треугольным звеном, который накидывают на рым или обух палубы.
Перемещение груза осуществляют с помощью стального троса шкентеля, который наматывают на барабан грузовой лебедки. Грузовые лебедки бывают электрические, электрогидравлические и, реже, паровые. Тяговое усилие грузовых легких лебедок от 15 до 50 кН (от 1,5 до 5,0 тс), тяжеловесных—до 100 кН (10 тс).
Длина грузовой стрелы, а также длина шкентеля должна обеспечивать подъем и опускание груза из любой точки грузового трюма (в просвете люка), а также с расстояния не менее 2 м от борта судна на пирсе (это расстояние называют минимальным вылетом стрелы). Вылет тяжеловесных стрел должен составлять не менее 4 м.
В отличие от легких тяжеловесные стрелы, опираются своим шпором не на мачту, а на специальный фундамент, установленный около нее. У тяжеловесных стрел грузоподъемностью более 20 т применяют врезной шкив в районе нока, через который проводят ходовой конец грузового шкентеля, направленного через канифас-блок у салинга мачты к барабану грузовой лебедки. Работают тяжеловесные стрелы либо поодиночке (но с переменным вылетом), либо вместе с патентованными конструкциями с двойным топенантом. Тяжеловесную стрелу при одиночной работе обслуживают четыре лебедки (грузовой шкентель, топенант и две оттяжки), причем для этого зачастую используют те же грузовые лебедки, что и для легких стрел. Поэтому грузовой шкентель и топенант тяжеловесов работают через многошкивные тали (пяти-, шестикратные), называемые гинями.
Тяжеловесная грузовая стрела обычно работает на оба борта, обслуживая при этом только один грузовой трюм, над которым она установлена. Если нужно обслужить соседний трюм, то стрелу переставляют. Чтобы исключить эту операцию, применяют систему с перекидным тяжеловесом (грузовое устройство системы Штюлькен), состоящую из двух вертикальных или слегка наклоненных к ДП массивных грузовых колонн, каждая из которых оканчивается вверху вращающейся головкой с блоками для топенанта. Тяжеловесную стрелу устанавливают между этими колоннами и с помощью топенантов перекидывают на любой из смежных трюмов, между которыми находится грузовое устройство.
Грузовые краны являются более сложным и дорогостоящим грузоподъемным средством, чем стрелы; к тому же они менее надежны при работе в условиях волнения и крена, но зато позволяют быстрее проводить погрузочно-разгрузочные работы, так как могут поднимать и укладывать груз в любое место в просветах люка без дополнительного горизонтального перемещения. Опыт показывает, что производительность кранов в среднем на 20% превышает производительность стрел.
Судовой грузовой кран состоит из колонны со стрелой, обычно ажурной конструкции, поворотной площадки с подъемно-поворотным механизмом и постом управления баллера, являющегося основой крана для закрепления его на корпусе судна (баллер иногда проходит сквозь верхнюю палубу до нижележащей палубы). Для изменения вылета стрелы, используют специальную лебедку. Другая лебедка предназначена для обслуживания грузового шкентеля (подъем опускание груза). Поворот площадки крана с мачтой и стрелой вокруг вертикальной оси перемещение груза в горизонтальной плоскости осуществляется механизмом поворота, который состоит из неподвижного зубчатого венца и находящейся с ним в зацеплении зубчатой шестерни, вращаемой от двигателя (он установлен на площадке крана). В зависимости от типа приводных механизмов различают электрические, гидравлические и электрогидравлические краны. Последние, благодаря исключительной маневренности, получили наибольшее распространение. К недостаткам судовых грузовых кранов следует отнести большую массу, высокую стоимость, невозможность производить работы при углах крена свыше 58°, ограниченную грузоподъемность (35, реже 7,58 т). Для увеличения грузоподъемности применяют сдвоенные грузовые краны два отдельных крана грузоподъемностью по 5 т, стоящие на общей поворотной платформе. Каждый кран может работать как отдельно, так и совместно, поднимая в этом случае груз массой 10 т (при этом платформа поворачивается вместе с обоими кранами, поднявшими груз), Возможна работа двух кранов спарено, при этом сокращается цикл грузовых операций, но масса поднимаемого груза ограничена до 3 т.
На судах, предназначенных для перевозки сыпучих грузов, иногда имеются разгрузочные ленточные транспортеры.
Существенно сокращает время погрузочно-разгрузочных работ механизированное устройство для закрытия грузовых люков, представляющее собой металлические щиты (по 28 шт. на один люк), которые открываются механизированным способом: или откатываются с помощью грузовых стрел, кранов, или раскрываются с помощью гидравлического привода Это позволяет сократить время на открытие (или закрытие) грузового люка до 12 мин.
Наиболее распространено откатываемое механизированное люковое закрытие из нескольких отдельных металлических секций, соединенных между собой короткими цепями.
Широкое распространение получили механизированные створчатые люковые закрытия. Они состоят из двух створок (каждая из одной-двух реже, трех секций), открываемых в нос и корму, иногда к бортам с помощью гидравлических приводов. Гидропривод в виде гидравлического цилиндра со штоком или силового шарнира приводит в движение крайнюю секцию у поперечного комингса. Открываясь, эта секция открывает и соседнюю, соединенную с ней на петлях; для открытия трехсекционной створки предусматривают дополнительный силовой шарнир или гидропривод между 2-й и 3-й секциями. Закрытия этого типа позволяют открывать или закрывать грузовой люк всего за 2025 с.
На контейнеровозах, имеющих большое раскрытие трюмов и люки больших размеров, применяют люковые закрытия понтонного типа. Эти люковые крышки выполнены в виде одной секции с размерами грузового люка. Понтонную крышку люка поднимают грузовым краном и укладывают на свободное место на палубе или пирсе. Для точной установки крышки на место по углам грузового люка делают специальные направляющие, фиксирующие ее в заданном положении.
Буксирные устройства буксирных судов.
Буксирное устройство, устанавливаемое на буксирных и спасательных судах, предназначено для буксировки несамоходных судов и плавсредств, а также самоходных судов, потерявших возможность двигаться своим ходом.
Выбор типа буксирного устройства зависит от назначения буксира и способа буксировки. При морских буксировках на длинном тросе применяют кильватерный способ; буксировку в порту и на рейде чаще выполняют лагом (борт о борт), а также в кильватер на коротком тросе (длиной до 100 м). Для буксировок по внутренним водным путям характерны как первые два способа, так и способ толкания, распространившийся после создания речных и озерных толкачей. Особым образом проводят буксировку во льдах: нос буксируемого судна вводят в углубление в корме буксира, надежно швартуют и в таком положении буксируют, судно.
В состав буксирного устройства входят буксирная лебедка (устанавливаемая только на морских буксирах и буксирах внутреннего плавания), трос, гак, или направляющий блок, буксирная дуга, арки, буксирный клюз и ограничители буксирного троса.
Буксирная лебедка предназначена для регулирования в процессе буксировки длины и натяжения буксирного троса. Длину обычно изменяют только во время буксировки судов по внутренним водным путям; в условиях извилистого фарватера, при проходе быстрин, перекатов и других мест, когда приходится уменьшать расстояние между буксиром и судном. Натяжение троса необходимо регулировать только при морской буксировке в условиях волнения, когда трос попеременно то ослабляется, то чрезмерно натягивается.
Буксирная лебедка имеет барабан, позволяющий принимать до 300 м троса на речных судах и до 900 м на морских. Различают буксирные лебедки простого действия на буксирах внутреннего плавания и автоматические — на морских буксирах. При буксировке речных и озерных судов трос с буксируемого судна направляют на барабан лебедки простого действия, заторможенный ленточным тормозом (при неожиданных рывках срабатывает амортизатор в составе ленточного тормоза и барабан лебедки проворачивается). Конструкция лебедки позволяет стравливать буксирный трос на ходу судна и стопорить барабан лебедки при неработающем приводе с помощью тормоза.
Возникающие на взволнованном море неоднократные рывки смягчаются специальным следящим автоматическим устройством, стравливающим трос при чрезмерном его натяжении и выбирающим его при появлении слабины. Во избежание спутывания троса на буксирных лебедках обязательно предусматривают тросоукладчик.
Буксирные лебедки имеют электрический или, реже, паровой привод с тяговым усилием от 6 до 100 тс. Для подачи и выбирания буксирных тросов и выполнения швартовных операций на буксирах, не имеющих специальных лебедок, используют электрические лебедки или лебедки-вьюшки.
Буксирные тросы, применяемые для буксировки, бывают стальные, растительные (пеньковые, манильские, сизальские) и синтетические (капроновые, нейлоновые, куралоновые). Последние имеют преимущества перед стальными и растительными тросами: они легче, эластичнее, однако из-за искрообразования при их разрыве применять тросы из искусственного волокна при буксировке судов, перевозящих нефтепродукты первого разряда, как правило, не разрешается.
Буксирный гак служит для закрепления буксирного троса и его отдачи при буксировке без помощи специальной лебедки. На буксирах, имеющих буксирные лебедки, гак является резервным средством. Буксирные гаки бывают откидные и не откидные, открытые и закрытые, с амортизатором или без него, с механическим или гидравлическим затвором, с автоматической, дистанционной или ручной отдачей. Правила Регистра требуют, чтобы на морских буксирах применялись откидные закрытые гаки с амортизаторами, имеющие надежную и быстродействующую систему отдачи, что очень важно для безопасности буксира при достижении им опасного крена трос должен быть немедленно отдан.
Буксирные гаки снабжают пружинными амортизаторами, предназначенными для поглощения энергии ударных волн, возникающих в тросе при буксировке. На некоторых буксирах ограниченного района плавания применяют буксирный направляющий блок, через который пропускают трос от лебедки к буксируемому судну. Направляющий блок крепят аналогично буксирному гаку на буксирной дуге или (на буксирах внутреннего плавания) стационарно.
Буксирную дугу устанавливают в районе ЦТ судна по длине и как можно ниже. Она предназначена для крепления буксирного гака к корпусу буксира с таким расчетом, чтобы он мог перемещаться в горизонтальной плоскости (у портовых буксиров не менее чем на угол 180°).
Буксирные арки из труб или круглой кованой стали располагают в кормовой части буксира (две-три арки) для защиты установленного на палубе оборудования и находящихся на .ней людей от повреждения тросом. Кроме того, буксирные арки обеспечивают возможность плавного перехода буксирного троса с борта на борт.
Кормовой буксирный клюз предназначен для ограничения перемещения буксирного троса в горизонтальной и вертикальной плоскостях. Клюзы бывают глухие, с откидывающейся наметкой, и с роульсами. В связи и тем, что в глухие клюзы трудно заводить буксирный трос, их применяют только на небольших портовых и рейдовых буксирах. Более распространены клюзы с наметкой, а на больших буксирах с роульсами.
Бортовые ограничители буксирного троса предотвращают занос его в горизонтальной плоскости в нос на угол, больший допускаемого угла горизонтального перемещения буксирного гака.
Перечисленные детали буксирного устройства применяют при буксировке судов кильватерным способом. Для буксировки лагом используют швартовные кнехты и шпили.
Предназначенные для толкания толкачи, также как и толкаемые суда или баржи, оборудуют счальными устройствами, обеспечивающими жесткую счалку толкаемого состава (толкачбаржа), эластичность при ударах и, при необходимости, быструю отдачу. Существует немало различных типов счальных устройств, но наибольшее распространение получил двухопорный счал из двух вертикальных сварных стальных балок коробчатого сечения и целой системы тросов, а также двух опорные счальные устройства с автоматическим сцепным замком, обеспечивающим автоматическое сцепление толкача с баржей и дистанционно управляемое расцепление в течение 2030 секунд.
Список используемой литературы.
Е.Г. Фрид “УСТРОЙСТВО СУДНА”.
А.Е. Богомольский “СУДОВЫЕ ВСПОМОГАТЕЛЬНЫЕ МЕХАНИЗМЫ”.
“СПРАВОЧНИК КАПИТАНА ПРОМЫСЛОВОГО СУДНА”.
“СПРАВОЧНИК СУДОВОГО МЕХАНИКА 2”.