Схемы установок для выпаривания и конструкции выпарных аппаратов
Министерство образования и науки Украины
Украинский государственный химико-технологический университет
Кафедра ПАХТ
Реферат
на тему: «Схемы установок для выпаривания и конструкции выпарных аппаратов»
Выполнил:
ст. гр. 3-М-48
Львов А.В.
___________
Проверил:
преподаватель
Шишков Н.И.
_____________
г. Днепропетровск
2000 г.
ВЫПАРИВАНИЕ
Общие сведения
Выпариванием называется концентрирование растворов практически нелетучих или малолетучих веществ в жидких летучих растворителях.
Выпариванию подвергают растворы твердых веществ (водные растворы щелочей, солей и др.), а также высококипящие жидкости, обладающие при температуре выпаривания весьма малым давлением пара, — некоторые минеральные и органические кислоты, многоатомные спирты и др. Выпаривание иногда применяют также для выделения растворителя в чистом виде: при опреснении морской воды выпариванием образующийся из нее водяной пар конденсируют и воду используют для питьевых или технических целей.
При выпаривании обычно осуществляется частичное удаление растворителя из всего объема раствора при его температуре кипения. Поэтому выпаривание принципиально отличается от испарения, которое, как известно, происходит с поверхности раствора при любых температурах ниже температуры кипения. В ряде случаев выпаренный раствор подвергают последующей кристаллизации в выпарных аппаратах, специально приспособленных для этих целей.
Получение высококонцентрированных растворов, практически сухих и кристаллических продуктов облегчает и удешевляет их перевозку и хранение.
Тепло для выпаривания можно подводить любыми теплоносителями, применяемыми при нагревании. Однако в подавляющем большинстве случаев в качестве греющего агента при выпаривании используют водяной пар, который называют греющим или первичным.
Первичным служит либо пар, получаемый из парогенератора, либо отработанный пар, или пар промежуточного отбора паровых турбин.
Пар, образующийся при выпаривании кипящего раствора, называется вторичным.
Тёпло необходимое для выпаривания раствора, обычно подводится через стенку, отделяющую теплоноситель от раствора. В некоторых производствах концентрирование растворов осуществляют при непосредственном соприкосновении выпариваемого раствора с топочными газами или другими газообразными теплоносителями.
Процессы выпаривания проводят под вакуумом, при повышенном и атмосферном давлениях. Выбор давления, связан со свойствами выпариваемого раствора и возможностью использования тепла вторичного пара.
Выпаривание под вакуумом имеет определённые преимущества перед выпариванием при атмосферном давлении, несмотря на то, что теплота испарения раствора несколько возрастает с понижением: давления и соответственно увеличивается расход пара на выпаривание 1 кг растворителя (воды).
При выпаривании под вакуумом становится возможным проводить процесс при более низких температурах, что важно в случае концентрирования растворов веществ, склонных к разложению при повышенных температурах. Кроме того, при разрежении увеличивается полезная разность температур между греющим агентом и раствором, что позволяет уменьшить поверхность нагрева аппарата (при прочих равных условиях). В случае одинаковой полезной разности температур при выпарив» ни под вакуумом можно использовать греющий агент более низких pa6очих параметров (температура и давление. Вследствие этого выпаривание под вакуумом широко применяют для концентрирования высококипящих растворов, например растворов щелочей, а также для концентрирования растворов с использованием теплоносителя (пара) невысоких параметров.
Примёнение вакуума дает возможность использовать в качестве греющего агента, кроме первичного пара, вторичный пар самой выпарной установки, что снижает расход первичного греющего пара. Вместе с тем при применении вакуума удорожается выпарная установка, поскольку требуются дополнительные затраты на устройства для создания вакуума (конденсаторы, ловушки, вакуум-насосы), а также увеличиваются эксплуатационные расходы.
При выпаривании под давлением выше атмосферного также можно использовать вторичный пар, как для выпаривания, так и для других нужд, не связанных с процессом выпаривания.
Вторичный пар, отбираемый на сторону, называют экстрапаром. Отбор экстрапара при выпаривании под избыточным давлением позволяет лучше использовать тепло, чем при выпаривании под вакуумом. Однако выпаривание под избыточным давлением сопряжено с повышением температуры кипения раствора. Поэтому данный способ применяется лишь для выпаривания термически стойких веществ. Кроме того, для выпаривания под давлением необходимы греющие агенты с более высокой температурой.
При выпаривании под атмосферным давлением вторичный пар не используется и обычно удаляется в атмосферу. Такой способ выпаривания является наиболее простым, но наименее экономичным.
Выпаривание под атмосферным давлением, а иногда и выпаривание, под вакуумом проводят в одиночных выпарных аппаратах (однокорпусных выпарных установках). Однако наиболее распространены многокорпусные выпарные установки, состоящие из нескольких выпарных аппаратов, или корпусов, в которых вторичный пар каждого предыдущего корпуса направляется в качестве греющего в последующий корпус. При этом давление в последовательно соединенных (по ходу выпариваемого раствора) корпусах снижается таким образом, чтобы обеспечить разность температур между вторичным паром из предыдущего корпуса и раствором, кипящим в данном корпусе, т.е. создать, необходимую движущую силу процесса выпаривания. В этих установках первичным паром обогревается только первый корпус. Следовательно, в многокорпусных выпарных установках достигается значительная экономия первичного пара по равнению с однокорпусными установками той же производительности.
Экономия первичного пара (и соответственно топлива) может быть достигнута также в однокорпусных выпарных установках с тепловым насосом. В таких установках вторичный пар на выходе из аппарата сжимается с помощью теплового насоса (например, термокомпрессора) до давления, соответствующего температуре первичного пара, после чего он вновь возвращается в аппарат для выпаривания раствора.
В химической промышленности применяются в основном непрерывно действующие выпарные установки. Лишь в производствах малого масштаба, а также при выпаривании растворов до высоких конечных концентраций иногда используют выпарные аппараты периодического действия.
Концентрация раствора в таком аппарате приближается к конечной лишь в конечный период процесса. Поэтому средний коэффициент теплопередачи здесь может быть несколько выше, чем в непрерывно действующем аппарате, где концентрация раствора ближе к конечной в течение всего процесса выпаривания.
Современные выпарные установки имеют очень большие поверхности нагрева (иногда превышающие 2000 м2 в каждом корпусе) и являются крупными потребителями тепла.
Однокорпусные выпарные установки
Как указывалось, однокорпусная выпарная установка включает лишь один выпарной аппарат (корпус). Рассмотрим принципиальную схему одиночного непрерывно действующего выпарного аппарата с естественной циркуляцией раствора на примере аппарата с внутренней центральной циркуляционной трубой (рис. 1).
Аппарат состоит из теплообменного устройства — нагревательной (греющей) камеры 1 и сепаратора 2. Камера и сепаратор могут быть объединены в одном аппарате (см. рис. 1) или камера может быть вынесена и соединена с сепаратором трубами ( рис. 12). Камера обогревается обычно водяным насыщенным паром, поступающим в ее межтрубное пространство. Конденсат отводят снизу камеры.
3323
П
однимаясь
по трубам 3,
выпариваемый раствор нагревается и
кипит с образованием вторичного пара.
Отделение пара от жидкости происходит
в сепараторе 2.
Освобожденный от брызг и капель вторичный
пар удаляется из верхней части сепаратора.
Часть жидкости опускается по циркуляционной трубе 2 под нижнюю трубную решётку греющей камеры. Вследствие разности плотностей раствора в трубе 4 и парожидкостной эмульсии в трубах 3 жидкость циркулирует по замкнутому контуру упаренный раствор удаляется через штуцер в днище аппарата.
Е
сли
выпаривание производится под вакуумом,
то вторичный пар отсасывается в
конденсатор паров, соединенный с
вакуум-насосом. Упаренный раствор
удаляется из конического днища аппарата.
Много корпусные выпарные установки.
В современных выпарных установках выпариваются очень большие количества воды. В однокорпусном аппарате на выпаривание 1 кг воды требуется более 1 кг греющего пара. Это привело бы к чрезмерно большим расходам его. Однако расход пара на выпаривание можно значительно снизить, если проводить процессы в многокорпусной выпарной yстановке. Принцип действия ее сводится к многократному использованию тепла греющего пара, поступающего в первый корпус установки, путем обогрева каждого последующего корпуса (кроме первого) вторичным паром из предыдущего корпуса.
С
хема
многокорпусной вакуум-выпарной
установки, работающей при прямоточном
движении греющего пара и раствора,
показана на рис. 2.
Установка состоит из нескольких (в данном случае трёх) корпусов. Исходный раствор, обычно предварительно нагретый до температуры кипения, поступает в первый корпус, обогреваемый свежим (первичным) паром. Вторичный пар из этого корпуса направляется в качестве греющего во второй корпус, где вследствие пониженного давления раствор кипит при более низкой температуре, чем в первом.
Ввиду более низкого давления во втором корпусе раствор, упаренный в первом корпусе, перемещается самотеком во второй корпус и здесь охлаждается до температуры кипения в этом корпусе. За счет выделяющегося при этом тепла образуется дополнительно некоторое количество вторичного пара. Такое явление, происходящее во всех корпусах установки, кроме первого, носит название самоиспарения раствора.
Аналогично упаренный раствор из второго корпуса перетекает самотёком в третий корпус, который обогревается вторичным паром из второго корпуса.
Предварительный нагрев исходного раствора до температуры кипения в первом корпусе производится в отдельном подогревателе 4, что позволяет избежать увеличения поверхности нагрева в первом корпусе.
Вторичный пар из последнего корпуса (в данном случае из третьего) отводится в барометрический конденсатор 5, в котором при конденсации пара создается требуемое разрежение. Воздух и неконденсирующиеся газы, попадающие в установку с паром и охлаждающей водой (в конденсаторе), а также через не плотности трубопроводов и резко ухудшающие теплопередачу, отсасываются через ловушку-брызгоулавливатель 6 вакуум-насосом 7.
С помощью вакуум-насоса поддерживается также устойчивый вакуум, так как остаточное давление в конденсаторе может изменяться с колебанием температуры воды, поступающей конденсатор.
Необходимым условием передачи тепла в каждом корпусе должно быть наличие некоторой полезной разности температур, определяемой разностью температур зреющего пара и кипящего раствора. Вместе с тем, давление вторичного дара в каждом предыдущем корпусе должно быть больше его давления в последующем. Эти разности давлений создаются при избыточном давлении в первом корпусе, или вакууме в последнем корпусе, или же при том и другом одновременно.
Основные схемы многокорпусных установок. Применяемые схемы многокорпусных выпарных установок различаются по давлению вторичного пара в последнем корпусе. В соответствия с этим признаком установки делятся на работающие под разрежением и под избыточным давлением.
Наиболее распространены выпарные установки первой группы. Помимо установки, доказанной на рис. 2, в промышленной практике применяют установки аналогичного типа, обладающие повышенной экономичностью за счет использования тепла пара низкого потенциала. Так, например, иногда обогрев первого корпуса производят отработанным паром из паровых турбин, который является в данном случае первичным паром.
Дросселированный свежий пар, добавляется только для поддержания стабильного режима работы выпарной установки при колебаниях нагрузки турбины.
В выпарных установках, работающих под некоторым избыточным давлением вторичного пара в последнем корпусе, этот пар может быть шире использован на посторонние нужды, т.е. в качестве экстрапара. Наряду с этим повышение давления вторичного пара в последнем корпусе уменьшает возможную кратность использования свежего (первичного) пара, греющего первый корпус.
При работе под избыточным давлением требуется несколько большая толщина стенок аппаратов, но установка в целом упрощается, так как отпадает необходимость в постоянно действующем конденсаторе паров (небольшой конденсатор используют лишь в период пуска установки).
В выпарных установках под давлением труднее поддерживать постоянный режим работы, чем в установках под вакуумом, и для этой цели требуется автоматическое регулирование давления пара и плотности упаренного раствора. Для повышения устойчивости режима работы установок под давлением используют различные схемы.
Выбор давления вторичного пара в последнем корпусе установки зависит от соотношения между количеством тепла, которое может отдать этот пар, и количеством тепла пара низкого потенциала, требующегося на другие производственные нужды. Оптимальное давление вторичного пара в последнем корпусе можно установить в каждом конкретном случае путем технико-экономического расчета.
Многокорпусные выпарные установки различаются также по взаимному направлению движения греющего пара и выспариваемого раствора. Кроме наиболее широко распространенных установок с прямоточным движением пара и раствора (см. рис 2), приме|чаются также противоточные выпарные установки, в которых греющий пар и выпариваемый раствор перемещаются из корпуса в корпус во взаимно противоположных направлениях (рис. 3).

Исходный раствор подается насосом в последний по ходу греющего пара (третий) корпус, из которого упаренный раствор перекачивается во второй корпус, и т.д., причем из первого корпуса удаляется окончательно упаренный раствор. Свежий (первичный) пар поступает в первый корпус, а вторичный пар из этого корпуса направляется для обогрева второго корпуса, затем вторичный пар из предыдущего корпуса используется для обогрева последующего. Из последнего корпуса вторичный пар удаляется в конденсатор.
В первом корпусе выпарной прямоточной установки (см. рис. 2) наименее концентрированный раствор получает необходимое для выпаривания тепло от греющего пара наиболее высоких рабочих параметров, а в последнем корпусе наиболее концентрированный (и наиболее вязкий) раствор выпаривается при помощи вторичного пара наиболее низких параметров. Таким образом от первого корпуса к последнему (по |ходу раствора) повышается концентрация и понижается температура выпариваемого раствора, что приводит к возрастанию его вязкости. В результате коэффициенты теплопередачи уменьшаются от первого корпуса к последнему.
В многокорпусных противоточных установках (см. рис. 3) в первом корпусе наиболее концентрированный раствор выпаривается за счет тепла пар наиболее высоких параметров, в то время как в последнем корпусе исходный раствор самой низкой концентрации получает ,тепло от вторичного пара, имеющего наиболее низкие давления и температуру. Поэтому при противотоке коэффициенты теплопередачи значительно меньше изменяются по корпусам, чем при прямотоке.
Однако необходимость перекачивания выпариваемого раствора из корпусов, где давление меньше, в корпуса с более высокий давлением является серьезным недостатком противоточной схемы, так как применение промежуточных циркуляционных насосов (насосы 4 и 5 на рис. 3) связано со значительным возрастанием эксплуатационных расходов.
П
ротивоточные
выпарные установки используют при
выпаривании растворов до высоких
конечных концентраций, когда в последнем
корпусе (по ходу раствора) возможно
нежелательное выпадение твердого
вещества. Кроме того, по такой схеме
выпаривают растворы, вязкость которых
резко возрастает с увеличением
концентрации раствора.
По схеме с параллельным питанием корпусов (рис. 4) исходный раствор поступает одновременно во все три корпуса установки. Упаренный раствор, удаляемый из всех корпусов, имеет одинаковую конечную концентрацию.
Установки такой схемы используют, главным образом, при выпаривании насыщенных растворов, в которых находятся частицы выпавшей твердой фазы (что затрудняет перемещение выпариваемого раствора из корпуса в корпус), а также в тех процессах выпаривания, где не требуется значительного повышения концентрации раствора.
Тепловой баланс. Рассмотрим тепловой баланс трехкорпусной вакуум-выпарной прямоточной установки (рис. 5), первый корпус которой обогревается свежим насыщенным водяным паром. Расход свежего (первичного) пара d>1> кг/сек, его энтальпия I>Г>>1> кдж/кг и температура θ>1> °C.
После первого корпуса отбирается Е>1> кг/сек и после второго корпуса Е>2> кг/сек экстра-пара. Соответственно расход вторичного пара из первого корпуса, направляемого в качестве греющего во второй корпус, составляет (W>1>—E>1>) кг/сек и вторичного пара из второго корпуса, греющего третий корпус (W>1>—E>3>) кг/сек, где W>1> и W>2> - количества воды, выпариваемой в первом и втором корпусах соответственно.
Уравнения тепловых балансов корпусов:
первый корпус

второй корпус

третий корпус

Устройство выпарных аппаратов
Разнообразные конструкции выпарных аппаратов, применяемые в промышленности, можно классифицировать по типу поверхности нагрева (паровые рубашки, змеевики, трубчатые различных видов) и по ее расположению в пространстве (аппараты c вертикальной, горизонтальной, иногда с наклонной нагревательной камерой), по роду теплоносителя (водяной пар, высокотемпературные теплоносители, электрический ток| и др.), а также в зависимости от того, движется ли теплоносители снаружи или внутри труб нагревательной камеры. Однако более существенным признаком классификации выпарных аппаратов, характеризующим интенсивность их действия, следует считать вид и кратность циркуляции раствора.
Различают выпарные аппараты с неорганизованной, или свободной, направленной естественной и принудительной циркуляцией раствора.
Выпарные аппараты делят также на аппараты прямоточные, в которых выпаривание раствора происходит за один его проход через аппарат без циркуляции раствора и аппараты, работающие с многократной циркуляцией раствора.
В зависимости от организации процесса различают периодический и непрерывно действующие выпарные аппараты.
Аппараты со свободной циркуляцией раствора. Простейшими аппаратами этого типа являются периодически действующие открытые выпарные чаши с паровыми рубашками (для работы при атмосферном давлением) и закрытые котлы с рубашками, работающие под вакуумом.
В выпарных аппаратах с рубашками происходит малоинтенсивная неупорядоченная циркуляция выпариваемого раствора вследствие разности плотностей более нагретых и менее нагретых частиц. Поэтому в аппаратах с рубашками коэффициенты теплопередачи низки.
Поверхности нагрева рубашек и соответственно нагрузки этих аппаратов очень невелики. Поэтому выпарные аппараты с рубашками лишь изредка применяются в небольших производствах при выпаривании сильно агрессивных и вязких, выделяющих твердые осадки, растворов, так как поверхность нагрева может быть относительно просто защищена от коррозии с помощью химически стойких покрытий и легко очищена. Для её очистки иногда используют мешалки, например якорные.'
Значительно большей поверхностью нагрева в единице объема обладают змеевиковые выпарные аппараты (рис. 6). В корпусе 1 такого аппарата размещены паровые змеевики 2, а в паровом пространстве установлен брызгоуловитель 3. При проходе через брызгоуловитель поток вторичного пара изменяет направление своего движения и из него, выделяются унесенные паром капли жидкости.


Змеевики выполняют из отдельных секций, так как у длинных змеевиков, вследствие накопления конденсата, поверхность нагрева плохо используется. Кроме того, при секционировании змеевиков можно последовательно отключать отдельные секции по мере понижения уровня раствора в периодически действующем аппарате.
Змеевиковые аппараты более компактны, чем аппараты с рубашками и отличаются несколько большей интенсивностью теплопередачи. Однако очистка и ремонт змеевиков затруднены. В этих аппаратах также производят выпаривание небольших количеств химически агрессивных веществ.
К той же группе относятся выпарные аппараты с горизонтальной трубчатой нагревательной камерой и с вертикальным цилиндрическим корпусом (рис. 7). В нижней части корпуса таких аппаратов находится нагревательная камера 2, состоящая из пучка горизонтальных прямых труб, по которым движется греющий пар. Верхняя часть корпуса служит сепаратором 3, предназначенным для уменьшения механического уноса жидкости паром.
Известны также аналогичные аппараты с горизонтальным корпусом (полуцилиндрической, или сундучной формы). Они выгодно отличаются от вертикальных меньшей высотой слоя выпариваемого раствора, что значительно снижает температурные потери вследствие гидростатической депрессии. Кроме того, горизонтальные аппараты имеют больший объем парового пространства, что облегчает выпаривание в них сильно пенящихся растворов. Вместе с тем эти аппараты обладают и значительными недостатками по сравнению с вертикальными: более громоздки и металлоемки; непригодны для выпаривания кристаллизующихся растворов из-за трудности механической очистки наружной поверхности труб; имеют невысокие коэффициенты теплоотдачи в горизонтальных паровых трубах (внутри которых накапливается слой конденсата).
В
следствие
указанных недостатков выпарные аппараты
со свободной циркуляцией раствора в
настоящее время вытеснены в большинстве
производств выпарными аппаратами более
совершенных конструкций, в частности
вертикальными трубчатыми аппаратами.
Вертикальные аппараты с направленной естественной циркуляцией. В аппаратах этого типа выпаривание осуществляется при естественной многократной циркуляции раствора. Они обладают рядом преимуществ сравнительно с аппаратами других конструкций, благодаря чему получили широкое распространение в промышленности.
О
сновным
достоинством таких аппаратов является
улучшение теплоотдачи к раствору при
его многократной организованной
циркуляции в замкнутом контуре,
уменьшающей скорость отложения накипи
на поверхности труб. Кроме того,
большинство этих аппаратов компактны.
Занимают небольшую производственную
площадь, удобны для осмотра и ремонта.
Развитие конструкции таких аппарат происходит в направлении усиления естественной циркуляции Последнее возможно путем увеличения разности весов столбов жидкости в опускной трубе и парожидкостной смеси в подъемной части контура. Это достигается посредством: 1) увеличения высоты кипятильных (подъемных труб и повышения интенсивности парообразования в них с целью уменьшения плотности парожидкостной смеси, образующейся из кипящего раствора; 2) улучшения естественного охлаждения циркуляционной трубы для того, чтобы опускающаяся в ней жидкость имела как возможно большую плотность; 3) поддержания в опускной трубе определенного уровня жидкости, необходимого для уравновешивания столба парожидкостной смеси в подъемных трубах при заданной скорости ее движения.
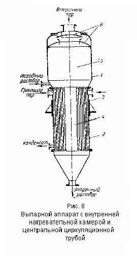
Аппараты с внутренней нагревательной камерой и центральной циркуляционной трубой. В нижней части вертикального корпуса 1 (рис. 8) находится нагревательная камера 2, состоящая из двух трубных решёток, в которых закреплены, чаще всего развальцованы, кипятильные трубы 3 (длиной 2—4 м) и циркуляционная труба 4 большого диаметра, установленная по оси камеры. В межтрубное пространство нагревательной камеры подается греющий пар.
Раствор поступает в аппарат над верхней трубной решеткой и опускается по циркуляционной трубе вниз, затем поднимается по кипятильным трубам и на некотором расстоянии от их нижнего края вскипает. Поэтому на большей части длины труб происходит движение вверх парожидкостной смеси, содержание пара в которой возрастает по мере ее движения. Вторичный пар поступает в сепарационное (паровое) пространство 5, где с помощью брызгоуловителя б, изменяющего направление движения парового потока, от пара под действием инерционных сил отделяется унесенная им влага После этого вторичный пар удаляется через штуцер сверху аппарата.
Упаренный раствор удаляется через нижний штуцер конического днища аппарата в качестве промежуточного или конечного продукта.
Циркуляция раствора в аппарате происходив вследствие разности плотностей раствора в циркуляционной трубе и парожидкостной смеси в кипятильных трубах. Возникновение достаточной разности плотностей обусловлено тем, что поверхность теплообмена каждой кипятильной трубы, приходящаяся на единицу объема выпариваемого раствора, значительно больше, чем у циркуляционной трубы, так как поверхность трубы находится в линейной зависимости от ее диаметра, а объем жидкости в трубе пропорционален квадрату ее диаметра. Следовательно, парообразование в кипятильных трубах должно протекать значительно интенсивней, чем в циркуляционной трубе, а плотность раствора в них будет ниже, чем в этой трубе. В результате обеспечивается естественная циркуляция, улучшающая теплопередачу и препятствующая образованию накипи на поверхности теплообмена.
В
аппаратах этой конструкции циркуляционная
труба, как и кипятильные трубы,
обогревается паром, что снижает разность
плотностей раствора и парожидкостной
смеси и может приводить к нежелательному
парообразованию в самой циркуляционной
трубе. Их недостатком является также
жесткое крепление кипятильных труб,
не допускающее значительной разности
тепловых удлинений труб и корпуса
аппарата.
Аппараты с подвесной нагревательной камерой. В аппарате такого типа (рис. 9) нагревательная камера 1 имеет собственную обечайку и свободно установлена в нижней части корпуса 2 аппарата. Греющий пар подаётся через трубу 3 и поступает в межтрубное пространство нагревательной камеры, снизу которого отводится конденсат. Поступающий на выпаривание раствор опускается вниз по каналу кольцевого поперечного сечения, образованному стенками обечайки подвесной камеры и стенками корпуса аппарата. Раствор поднимается по кипятильным трубам, и таким образом выпаривание происходит при естественной циркуляции раствора.
Вторичный
пар проходит брызгоуловитель 4
и удаляется сверху аппарата. Отделенная
от вторичного пара жидкость сливается
по трубам 5.
Для периодической промывки аппарата в него подводится вода, которая распределяется с помощью перфорированной трубы 6.
В этом аппарате циркуляционный кольцевой канал имеет большое поперечное сечение и находится вне нагревательной камеры, что оказывает благоприятное влияние на циркуляцию раствора. Благодаря свободному подвесу нагревательной камеры устраняется опасность нарушения плотности соединения кипятильных труб с трубными решетками вследствие разности тепловых удлинений труб и корпуса аппарата. Подвесная нагревательная камера может быть относительно легко демонтирована и заменена новой. Однако это достигается за счёт некоторого усложнения конструкции аппарата; кроме того, расход металла на единицу поверхности теплообмена для этих аппаратов выше, чем для аппаратов с центральной циркуляционной трубой.
Интенсивность циркуляции в аппаратах с подвесной камерой (как и в аппаратах с центральной циркуляционной трубой) недостаточна для эффективного выпаривания высоковязких и особенно кристаллизующихся растворов, обработка которых приводит к частым длительным остановкам этих аппаратов для очистки рабочих поверхностей.
А
ппараты
с выносными циркуляционными трубами.
Естественная циркуляция раствора может
быть усилена, если раствор на опускном
участке циркуляционного контура будет
лучше охлаждаться. Этим увеличивается
скорость естественной циркуляции в
выпарных аппаратах с выносными
циркуляционными трубами (рис. 10). При
расположении циркуляционных труб вне
корпуса аппарата диаметр нагревательной
камеры может быть уменьшен по сравнению
с камерой аппарата (рис. 8), а циркуляционные
трубы 2
компактно размещены вокруг подогревательной
камеры На рис 10 показан аппарат с одной
выносной циркуляционной трубой, причем
центробежный брызгоуловитель 3
для подачи вторичного пара также вынесен
за пределы сепарационного пространства
4 аппарата.
Конструкции таких аппаратов несколько
более сложны, но в них добавляется более
интенсивная теплопередача и уменьшается
расход металла на 1 м2
поверхности нагрева по сравнению с
аппаратами с подвесной подогревательной
камерой или центральной циркуляционной
трубой.
Аппараты с выносной нагревательной камерой. При размещении нагревательной камеры вне корпуса аппарата имеется возможность повысить интенсивность выпаривания не только за счет увеличения разности плотностей жидкости и парожидкостной смеси в циркуляционном контуре но и за счет увеличения длины кипятильных труб.
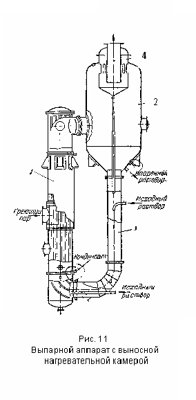
Аппарат с выносной нагревательной камерой (рис. 11) имеет кипятильные трубы, длина которых часто достигает 7м. Он работает при более интенсивной естественной циркуляции, обусловленной тем, что циркуляционная труба не обогревается, а подъемный и опускной участки циркуляционного контура имеют значительную высоту.
Выносная нагревательная камера 1 легко отделяется от корпуса аппарата, что облегчает и ускоряет ее чистку и ремонт. Ревизию и ремонт нагревательной камеры можно производить без полной остановки аппарата (а лишь при снижении его производительности), если присоединить к его корпусу две камеры.
Исходный раствор поступает под нижнюю трубную решетку нагревательной камеры и, поднимаясь по кипятильным трубам, выпаривается иногда подачу исходного раствора производят. Вторичный пар отделяется от жидкости в сепараторе 2. Жидкость опускается по не обогреваемой циркуляционной трубе 3, смешивается с исходным раствором, и цикл циркуляции повторяется снова. Вторичный пар, пройдя брызгоуловитель 4, удаляется с сверху сепаратора. Упаренный раствор отбирается через боковой штуцер в коническом днище ceпapaтоpa.
С
корость
циркуляции в аппаратах с выносной
нагревательной камерой может достигать
1,5 м/сек, что
позволяет выпаривать в них концентрированные
и кристаллизующиеся растворы, не
опасаясь слишком быстрого загрязнения
поверхности теплообмена. Благодаря
универсальности, удобству эксплуатации
и хорошей теплопередаче аппараты такого
типа получили широкое распространение.
В некоторых конструкциях выпарных аппаратов с выносной нагревательной камерой циркуляционная труба отсутствует. Такие аппараты аналогичны аппарату, приведенному на рис. 11, у которого удалена циркуляционная труба.
В этом случае выпаривание происходит за один проход раствора через нагревательную камеру, т.е. аппарат работает как прямоточный. Выпарные аппараты прямоточного типа не пригодны для выпаривания кристаллизующихся растворов.
Разновидностью выпарных аппаратов с выносной камерой показан на рис. 12.
В
отличии от аппаратов с естественной
циркуляцией, кипение раствора здесь
происходит в горизонтальных трубах,
присоединенных к корпусу 1 нагревательной
камеры 2. В межтрубном пространстве
камеры движется греющий пар. Вторичный
пар удаляется сверху корпуса аппарата,
пройдя брызгоуловитель 3, а упаренный
раствор – через штуцер в нижней части
конического днища корпуса аппарата.
Если выпаривание проводится одновременно
с кристаллизацией, то из конического
днища удаляются кристаллы и аппарат
соединяется со сборником или фильтром.
Условия кипения раствора в трубах неблагоприятны, так как в них образуются застойные зоны, снижающие интенсивность циркуляции и ухудшающие теплопередачу, а иногда приводящие к местной кристаллизации веществ.
Основным достоинством такого, аппарата, применяемого для выпаривания концентрированных, а также кристаллизирующихся растворов, является возможность лёгкого отсоединения нагревательной камеры, установленной на тележке, для чистки, ремонта или замены. Однако конструкция аппарата громоздка, очистка U-образных труб затруднена, а расход металла на поверхность нагрева – значителен. Для облегчения очистки U-образные трубы заменяют прямыми горизонтальными, развальцованными в трубных решётках.
Аппараты с вынесенной зоной кипения. При скоростях 0,25—1,5 м/сек с которыми движется раствор в аппаратах с естественной циркуляцией, не удается предотвратить отложения твердых осадков на поверхности теплообмена. Поэтому требуется периодическая остановка аппаратов для очистки, что связано со снижением их производительности и увеличением стоимости эксплуатации.
З
агрязнение
поверхности теплообмена при выпаривании
кристаллизующихся растворов можно
значительно уменьшить путем увеличения
скорости циркуляции раствора и вынесением
зоны его кипения за пределы нагревательной
камеры.
В аппарате с вынесенной зоной кипения (рис. 13) выпариваемый раствор поступает снизу в нагревательную камеру 1 и, поднимаясь по трубам (длиной 4—7 м) вверх, вследствие гидростатического давления не закипает в них. При выходе из кипятильных труб раствор поступает в расширяющуюся кверху трубу вскипания 2, установленную над нагревательной камерой в нижней части сепаратора 3. Вследствие понижения давления в этой трубе раствор вскипает и таким образом, парообразование происходит за пределами поверхности нагрева.
Циркулирующий раствор опускается по наружной не обогреваемой трубе 4. Упаренный раствор отводится из кармана в нижней части сепаратора 3. Вторичный пар, пройдя отбойник 5 и брызгоуловитель 6, удаляется сверху аппарата. Исходный раствор поступает либо в нижнюю часть аппарата (под трубную решетку нагревательной камеры), либо сверху в циркуляционную трубу 4.
Вследствие большой поверхности испарения, которая создается в объеме кипящего раствора, и частичного самоиспарения капель, унесенных вторичным паром, значительно снижается брызгоунос. Кипящий раствор не соприкасается с поверхностью теплообмена, что уменьшает отложение накипи.
В виду значительного перепада температур (до~30°С) между греющим паром и раствором и малой потери напора в зоне кипения скорость циркуляции в этих аппаратах достигает 1,8—2 .м/сек.
Увеличение скорости приводит к увеличению производительности и интенсификации теплообмена. Коэффициенты теплопередачи в таких аппаратах достигают 3000 вт/(м2·град) [2580 ккал/( м2·ч·град)].
Аппараты с вынесенной зоной кипения могут эффективно применяться для выпаривания кристаллизующихся растворов умеренной вязкости.
Прямоточные (пленочные) аппараты. Принципиальное отличие этих аппаратов от аппаратов с естественной циркуляцией состоит в том, что выпаривание в них происходит при однократном прохождении выпариваемого раствора по трубам нагревательной камеры. Таким образом, выпаривание осуществляется без циркуляции раствора. Кроме того, раствор выпаривается, перемещаясь (на большей части высоты кипятильных труб) в виде тонкой пленки по внутренней поверхности труб. В центральной части труб вдоль их оси движется вторичный пар. Это приводи к резкому снижению температурных потерь, обусловленных гидростатической депрессией.
Различают прямоточные выпарные аппараты с поднимающейся и опускающейся пленкой.
А
ппарат
с поднимающейся пленкой (рис. 14) состоит
из нагревательной камеры, представляющей
собой пучок труб небольшого диаметра
(15—25мм) длиной
7—9м, и
сепаратора 2.
Раствор на выпаривание поступает снизу в трубы нагревательной камеры, межтрубное пространство которой обогревается греющим паром. На уровне, соответствующем обычно 20 – 25 % высоты труб, наступает интенсивное кипение. Пузырьки вторичного пара сливаются и пар, быстро поднимаясь по трубам, за счет поверхностного трения увлекает за собой раствор. При этом жидкость перемещается в виде пленки, всползающей по внутренней поверхности труб, и выпаривание происходит в тонком слое.
Вторичный пар, выходящий из труб, содержит капли жидкости, которые отделяются от пара с помощью отбойника 3 и центробежного брызгоуловитель 4. В брызгоуловитель влажный пар поступает тангенциально и ему сообщается вращательное движение. Под действием центробежной силы капли жидкости отбрасываются к периферии, жидкость стекает вниз, а пар удаляется сверху из аппарата.
Прямоточные выпарные аппараты ближе к аппаратам идеального вытеснения, в то время как аппараты с многократной циркуляцией приближаются к аппаратам идеального смешения. Вместе с тем в прямоточных аппаратах раствор проходит по кипятильным трубкам однократно. Поэтому время пребывания его мало и аккумулирующая способность этих аппаратов низка, что важно при выпаривании термически нестойких веществ.
Прямоточные аппараты чувствительны к изменению режима работы и требуют для эффективного выпаривания поддерживания некоторого оптимального «кажущегося» уровня раствора в кипятильных трубах. «Кажущийся» уровень соответствует высоте столба холодного раствора, которым может быть уравновешен столб парожидкостной смеси в трубах. При «кажущемся» уровне ниже оптимального верхняя часть поверхности труб не омывается жидкостью и практически не участвует в теплообмене; «оголенная» часть поверхности труб при испарении на ней брызг жидкости покрывается накипью При «кажущемся» уровне выше оптимального на большей части поверхности труб раствор только нагревается; соответственно уменьшается высота зоны кипения, где теплопередача интенсивнее; это приводит к снижению средней величины коэффициента теплопередачи. Кроме того, для вертикальных прямоточных аппаратов необходимы высокие производственные помещения. Область применения аппаратов с поднимающейся пленкой - выпаривание маловязких растворов, в том числе пенящихся и чувствительных к высоким температурам. Эти аппараты не рекомендуются для выпаривания кристаллизующихся растворов ввиду возможности забивания труб кристаллами.
В прямоточных (пленочных) аппаратах трудно обеспечить равномерную толщину пленки выпариваемой жидкости (что необходимо для, эффективной работы аппарата), кроме того, эти аппараты весьма чувствительны к неравномерной подаче раствора, а чистка длинных труб малого диаметра затруднительна. Поэтому пленочные аппараты вытесняются вертикальными выпарными аппаратами с циркуляцией раствора.
Роторные прямоточные аппараты. Для выпаривания нестойких к повышенным температурам вязких и листообразных растворов применяют роторные прямоточные аппараты (рис, 15). Внутри цилиндрического корпуса 1 аппарата, снабженного паровыми рубашками 2, вращается ротор 3, состоящий из вертикального вала (расположенного по оси аппарата) и шарнирно закрепленных на уем скребков 4.
Выпариваемый раствор поступает в аппарат сверху, захватывается вращающимися скребками, под действием центробежной силы отбрасывается к стенкам аппарата и перемещается по их внутренней поверхности в виде турбулентно движущейся пленки. Постепенно происходит полное выпаривание пленки, и на стенках аппарата образуется тонкий слой порошка или пасты, который снимается вращающимися скребками (зазор между наружной кромкой скребков и стенкой аппарата составляет менее 1 мм). Твердый или пастообразный продукт удаляется через специальный секторный затвор из днища аппарата.
В роторных прямоточных аппаратах достигается интенсивный теплообмен при небольшом уносе жидкости вторичным паром. Вместе с тем роторные аппараты сложны в изготовлении и отличаются относительно высокой стоимостью эксплуатации, вследствие наличия вращающихся частей (ротора) Имеется несколько разновидностей роторных прямоточных выпарных аппаратов, в том числе аппараты с горизонтальным корпусом.
Аппараты с принудительной циркуляцией. Для того чтобы устранить. отложение накипи в трубах, особенно при выпаривании кристаллизующихся растворов, необходимы скорости циркуляции не менее 2—2,5 м/сек т.е. больше тех скоростей, при которых работают аппараты с естественной циркуляцией. В принципе такие высокие скорости достижимы и в условиях естественной циркуляции, но при этом необходимы очень большие полезные разности температур (между греющим паром и кипящим раствором).
В аппаратах с принудительной циркуляцией скорость ее определяется производительностью циркуляционного насоса и не зависит от высоты уровня жидкости в трубах, а также от интенсивности парообразования Поэтому в аппаратах с принудительной циркуляцией выпаривание эффективно протекает при малых полезных разностях температур,. не превышающих 3—5 °С и при значительных вязкостях растворов
О
дна
из конструкций выпарного аппарата с
принудительной циркуляцией показана
на рис 16. Аппарат имеет выносную
вертикальную нагревательную камеру
1, сепаратор 2 и не обогреваемую
циркуляционную трубу 3, в которую
подается исходный раствор. Циркуляция
раствора производится насосом 4.
При большой скорости движения выпариваемого раствора кипение его происходит на коротком участке перед выходом из кипятильных труб. Таким образом, зона кипения оказывается перемещенной в самую верхнюю часть нагревательной камеры На большей части длины труб жидкость лишь несколько перегревается. Это объясняется тем, что давление внизу трубы больше давления у её верхнего края на величину гидростатического давления столба жидкости и гидравлического сопротивления трубы.
Вследствие высокого уровня раствора в кипятильных трубах значительная часть всего циркуляционного контура заполнена жидкостью, а паросодержание смеси жидкости и вторичного пара, выбрасываемой из труб, невелико. В связи с этим циркуляционный насос должен перекачивать большие объемы жидкости (иметь большую производительность) при умеренном расходе энергии, затрачиваемой в основном на преодоление гидравлического сопротивления труб. Таким требованиям удовлетворяют пропеллерные насосы, которые обычно используются в аппаратах с принудительной циркуляцией. Скорость ее ограничена возрастанием гидравлического сопротивления и соответственно расходом энергии на циркуляцию. Поэтому желательно выбирать оптимальную скорость циркуляции, которую устанавливают на основе технико-экономических расчетов.
Выпарные аппараты с тепловым насосом. По технолологическим причинам использование многоярусных выпарных аппаратов иногда может оказаться неприемлемым. Так, например, приходится отказываться от многократного выпаривания тех чувствительных к высоким температурам растворов для которых температуры кипения в первых корпусах многокорпусных установок слишком высоки и могут вызвать порчу продукта. В подобных и некоторых других случаях возможно и экономически целесообразно использовать для выпаривания однокорпусные выпарные аппараты с тепловым насосом.
С помощью теплового насоса, представляющего собой трансформатор тепла, повышают экономичность работы однокорпусного аппарата, сжимая вторичный пар на выходе аппарата до давления свежего (первичного) пара и направляя его в качестве греющего в нагревательную камеру того же аппарата. Сжатие (вторичного пара производят главным образом в турбокомпрессорах с приводом от электродвигателя или турбины или же в струйных компрессорах (инжекторах). Вследствие компактности, простоты устройства и надежности эксплуатации в .качестве тепловых насосов наиболее широко применяют струйные компрессоры, несмотря на их невысокий к.п.д.
Н
а
рис. 17 приведена схема однокорпусной
выпарной установки, состоящей из
выпарного аппарата 1 струйного
компрессора. Первичный пар поступает
по оси компрессора и инжектирует
вторичный пар более низкого давления.
Смесь первичного и вторичного пара по
выходе из компрессора (при давлении
Р>2><Р>1>)
делится на две части:
большая часть смеси направляется в
нагревательную камеру выпарного
аппарата а остальная, избыточная часть
D>изб> отводится
на сторону, к другим потребителям тепла.
При выпаривании растворов с небольшой температурной депрессией применение тёплового насоса в многокорпусной выпарной установке, может существенно снизить расход свежего :пара на выпаривание.
Экономичность применения теплового насоса определяется отношением стоимости энергий, затрачиваемой на сжатие вторичного пара в компрессоре, к стоимостити pacxoдуемого в выпарной установке первичного пара. В отдельных случаях это отношение может быть настолько малый, что выпарные аппараты с тепловым насосом могут успешно конкурировать с многокорпусными выпарными установками.
Расход энергии на тепловой насос приблизительно пропорционален разности температур насыщения свежего и вторичного пара, которая в свою очередь, зависит от температурной депрессии выпариваемого раствора. Поэтому для выпаривания растворов, обладающих значительной температурной депрессией, использование теплового насоса оказывается нецелесообразным. Обычно ёго применение рентабельно при невысокой степени сжатия вторичного пара, соответствующей повышению температуры насыщения пара не более чем на 10—15 °С.
Барботажные выпарные аппaраты. Выпаривание некоторых сильно агрессивных и высококипящих растворов, например растворов серной, соляной, фосфорной кислот, растворов мирабилита,: хлористого магния и других, производят при непосредственном соприкосновении раствора с нагретыми инертными газами. Для таких растворов передача через стенку тепла, необходимого для выпаривания, оказывается практически неосуществимой из-за трудностей, связанных с выбором конструкционного материала, который должен сочетать хорошую теплопроводность с коррозионной и термической стойкостью.
Выпаривание при непосредственном соприкосновении раствора и теплоносителя осуществляют обычно с помощью топочных газов или нагретого воздуха в аппаратах с металлическим кожухом, футерованным изнутри коррозионно-стойкими материалами, например диабазовой и керамической плиткой, кислотоупорным и шамотным кирпичом и т.д. Барботажные трубы, по которым поступают в раствор газы, изготавливаются из термосилида, графита и других коррозионностойких материалов.
Т
ипичный
барботажный аппарат для концентрирования
серной кислоты (рис 18) состоит из выносной
топки и горизонтального цилиндрического
корпуса 2
Часть объема аппарата заполняется
слабым раствором кислоты, подаваемой
по трубе 3
Топочные газы поступают по трубам 4,
концы которых погружены в раствор
кислоты При перемешивании раствора и
теплоносителя происходит интенсивное
испарение растворителя и частично
кислоты. Из камеры III (третьей по ходу
кислоты) газы поступают по барботажной
трубе 5 в
камеру II. Для повышения температуры
парогазовой смеси в эту камеру по
барботажной трубе б подается дополнительно
некоторое количество свежих топочных
газов. Из камеры II газы вместе с парами
кислоты и воды по барботажной трубе 7
направляются в камеру I, где отдают
тепло на подогрев исходного слабого
раствора кислоты. Упаренная кислота
удаляется по трубе 8
из камеры III.
Противоток кислоты и газов позволяет лучше использовать тепло топочных газов, но потери тепла с отходящими газами значительны. Кроме того, происходит большой унос газами паров кислоты которые улавливаются в отдельном электрофильтре.
Б
олее
эффективное выпаривание осуществляется
в современных выпарных аппаратах с
погружными горелками, одна из конструкций
таких аппаратов приведена на рис 19. При
барботаже нагретых газов через слой
раствора создается значительная
межфазовая поверхность и происходит
перемешивание жидкости пузырьками
газа. В результате достигается интенсивный
теплообмен.
В плоской крышке корпуса 1 аппарата расположена одна горелка 2 (как показано на рисунке) или несколько горелок, погруженных под уровень выпариваемого раствора. Уровень раствора в аппарате поддерживается постоянным с помощью переливной трубы 3. Упаренный раствор отводится из конического днища аппарата, а выпадающие здесь кристаллы отсасываются посредством эрлифта. Парогазовая смесь отводится из пространства над жидкостью через сепаратор 4.
Для таких аппаратов обычно используют специальные горелки беспламенного горения, снабженные огнеупорной насадкой, которая в накаленном состоянии каталитически ускоряет процесс горения. В барботажных выпарных аппаратах, работающих при непосредственном соприкосновении выпариваемого раствора и греющего агента, достигаются более высокие коэффициенты теплопередачи, чем при выпаривании через стенку.
Области применения и выбор выпарных аппаратов. Конструкция выпарного аппарата должна удовлетворять ряду общих требований, к числу которых относятся: высокая производительность и интенсивность теплопередачи при возможно меньших объеме аппарата и расходе металла на его изготовление, простота устройства, надежность в эксплуатации, легкость очистки поверхности теплообмена, удобство осмотра, ремонта и замены отдельных частей.
Вместе с тем выбор конструкции и материала выпарного аппарата определяется в каждом конкретном случае физико-химическими свойствами выпариваемого раствора (вязкость, температурная депрессия, кристаллизуемость, термическая стойкость, химическая агрессивность и др.).
Как указывалось, высокие коэффициенты теплопередачи и большие производительности достигаются путем увеличения скорости циркуляции раствора. Однако одновременно возрастает расход энергии на выпаривание и уменьшается полезная разность температур, так как при постоянной температуре греющего пара с возрастанием гидравлического сопротивления увеличивается температура кипения раствора. Противоречивое влияние этих факторов должно учитываться при технико-экономическом сравнении аппаратов и выборе оптимальной конструкции.
Для выпаривания растворов небольшой вязкости, не превышающей ~8·10-3 н·сек/м2, без образования кристаллов чаще всего используются вертикальные выпарные аппараты с многократной естественной циркуляцией. Из них наиболее эффективны аппараты с выносной нагревательной камерой и с выносными необогреваемыми циркуляционными трубами.
Выпаривание некристаллизующихся растворов большой вязкости, достигающей ~0,1 н·сек/м2, производят в аппаратах с принудительной циркуляцией, реже в прямоточных аппаратах с падающей пленкой или в роторных прямоточных аппаратах.
В роторных прямоточных аппаратах, обеспечиваются благоприятные условия для выпаривания растворов, чувствительных к повышенным температурам.
Аппараты с принудительной циркуляцией широко применяются также для выпаривания кристаллизующихся или вязких растворов. Подобные растворы могут эффективно выпариваться и в аппаратах с вынесенной зоной кипения, работающих при естественной циркуляции. Эти аппараты при выпаривании кристаллизующихся растворов могут конкурировать с выпарными аппаратами с принудительной циркуляцией.
Для сильно пенящихся растворов рекомендуются прямоточные аппараты с поднимающейся пленкой.