Технология оборудования сварки
Российский государственный профессионально педагогический университет
Контрольная работа
По предмету: «Технология и оборудование сварки»
Вариант 9
Выполнил студент гр. ЗСМ 411
Соколов М. В.
Проверил Преподаватель
_________________
Екатеринбург
2004
Содержание
1.Описать конструкцию и принцип действия
универсальных газовых горелок
(с указанием марки и технических характеристик) для
сварки, резки и подогрева металлов. 3
2. Обосновать выбор технологии газовой сварки
легированной стали З0ХГСА. При рассмотрении
этого вопроса выявить связь выбранного режима
(предварительного, сопутствующего и последующего
подогрева) с составом стали, структурными
изменениями в металле шва и зоне термического
влияния. Результаты оформить в виде таблиц. 9
3. Условия и требования к разрезаемому металлу,
определяющие возможность протекания процесса резки.
Рассчитать расход режущего кислорода при
ручной кислородной резке
стали толщиной 50-100мм и 500мм. 13
4. Список литературы 16
1.Описать конструкцию и принцип действия универсальных газовых горелок (с указанием марки и технических характеристик) для сварки, резки и подогрева металлов.
Горелка – это устройство, предназначенное для получения пламени необходимой тепловой мощности, размеров и формы. Все существующие конструкции газо-плазменных горелок можно классифицировать следующим образом:
1) по способу подачи горючего газа в смесительную камеру — инжекторные и безынжекторные;
2) по мощности пламени — микро мощности (10—60 дм3/ч ацетилена); малой мощности (25—400 дм3/ч ацетилена); средней мощности (50—2800 дм3/ч ацетилена) и большой мощности (2800— 7000 дм3/ч ацетилена);
3) по назначению — универсальные (сварка, резка, пайка, наплавка, подогрев); специализированные (только сварка или только подогрев, закалочные и пр.);
4) по числу рабочих пламен — одноплеменные и многопламенные;
5) по способу применения — для ручных способов газопламенной обработки; для механизированных процессов.
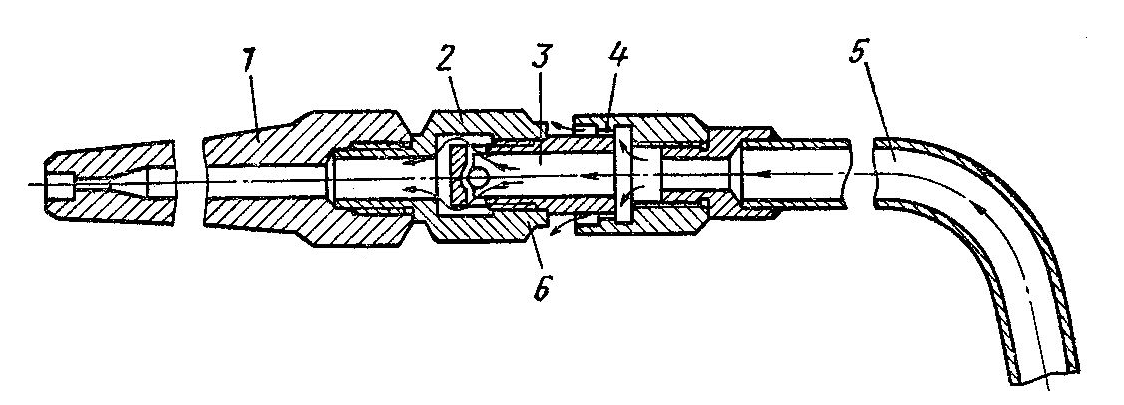
Инжекторные горелки. Кислород через ниппель / инжекторной горелки проходит под избыточным давлением 0,1—0,4 МПа (1 — 4 кгс/см2) и с большой скоростью выходит из центрального канала инжектора 8 (рис. 1). При этом струя кислорода создает разрежение в ацетиленовых каналах рукоятки 3, за счет которого ацетилен подсасывается (инжектируется) в смесительную камеру 10, откуда образовавшаяся горючая смесь направляется в мундшук 13 и на выходе сгорает. Инжекторные горелки нормально работают при избыточном давлении поступающего ацетилена 0,001 МПа (0,01 кгс/см2) и выше.
Повышение давления горючего газа перед горелкой облегчает работу инжектора и улучшает регулировку пламени, хотя при этих условиях приходится прикрывать вентиль горючего газа на горелке, что может привести к возникновению хлопков и обратных ударов пламени. Поэтому при использовании инжекторных горелок рекомендуется поддерживать перед ними давление ацетилена (при работе от баллона) в пределах 0,02—0,05 МПа (0,2—0,5 кгс/см2).
Рис. 1. Инжекторная горелка:

1 — кислородный ниппель; 2 — ацетиленовый ниппель; 3 — рукоятка; 4 — кислородная трубка; 5 — вентиль для кислорода; 6 — корпус; 7 — вентиль для ацетилена; 8 — инжектор; 9 — накидная гайка; 10 — смесительная камера; 11 — наконечник; 12 — соединительный ниппель; 13 — мундштук
Инжекторные горелки рассчитывают таким образом, чтобы они обеспечивали некоторый запас ацетилена, т. е. при полном открытии ацетиленового вентиля горелки расход ацетилена увеличивался бы по сравнению с паспортным для инжекторных горелок — не менее чем на 15%; для инжекторных резаков — не менее чем на 10% максимального паспортного расхода ацетилена.
На рис. 2 показаны в качестве примера конструкции инжекторных горелок средней мощности ГС-3 и малой мощности ГС-2 для сварки металлов. Горелки снабжают набором сменных наконечников, различающихся расходом газа и предназначаемых для сварки металлов разной толщины. Номер требуемого наконечника выбирают в соответствии с требуемой тепловой мощностью пламени, выраженной в дм3/ч ацетилена. К рукоятке горелки ГС-3 можно присоединять и другие наконечники, например многопламенные для подогрева, для пайки, вставные резаки для резки металла
Рис. 2. Внешний вид и разрез горелок

а)— типа ГС-3; б) — типа ГС-2; 1 — трубка наконечника; 2 — смесительная камера; 3 и 5 — уплотнительные кольца из масло термостойкой резины; 5 — маховичок; 6 — шариковый клапан; 7 — пластмассовая рукоятка; 8 — ацетиленовый ниппель; 9 — корпус; 10 — инжектор; 11 — накидная гайка; 12 — мундштук
Для сварки и наплавки металлов большой толщины, нагрева и других работ, требующих пламени большой мощности, используют инжекторные горелки ГС-4 с наконечниками № 8 и 9:
№ наконечника 8 9
Расход газов, дм3/ч:
ацетилена...... 2800—4500 4500—7000
кислорода...... 3100—5000 5000—8000
Толщина свариваемой
стали, мм....... 30—50 50—100
В наконечниках ГС-4 инжектор и смесительная камера установлены непосредственно перед мундштуком. Горючий газ подается в инжектор по трубке, расположенной внутри трубки подачи кислорода. Этим предупреждается нагревание горючего газа и смеси отраженной теплотой пламени, что снижает вероятность обратных ударов пламени и хлопков при использовании пламени большой мощности. Горелка ГС-4 может работать на пропан бутане, для чего снабжена двумя наконечниками с сетчатыми мундштуками, рассчитанными на расходы: № 8 — пропан бутана 1,7—2,7, кислорода 6—9,5 м3/ч; № 9 — пропан бутана 2,7—4,2, кислорода 9,5— 14,7 м3/ч.
Рис. 3. Наконечник с подогревателем для сварки на пропан бутане

1 — мундштук; 2 — подогревающая камера; 3 — подогреватель; 4 — сопла подогревателя; 5 — трубка горючей смеси; 6 — подогревающие пламена.
Мундштуки горелок малой мощности или имеющих водяное охлаждение изготовляют из латуни ЛС59-1. В горелках средней мощности мундштуки для лучшего отвода теплоты изготовляют из меди МЗ или хромистой бронзы Бр Х0,5, к которой не так пристают брызги расплавленного металла. Для получения пламени правильной формы и устойчивого его горения выходной канал не должен иметь заусенцев, вмятин и других дефектов, а внутренняя поверхность канала должна быть чисто обработана. Снаружи мундштук рекомендуется полировать.
Горелки для газов заменителей отличаются от ацетиленовых тем, что снабжены устройством для дополнительного подогрева и перемешивания газовой смеси до выхода ее из канала мундштука. Серийно выпускаемые горелки ГЗУ-2-62 и ГЗМ-2-62М для этого имеют подогреватель и подогревательную камеру, расположенные на наконечниках между трубкой подвода горючей смеси и мундштуком (рис. 3). Часть потока смеси (5—10%) выходит через дополнительные сопла подогревателя и сгорает, образуя факелы, подогревающие камеру из коррозионно-стойкой стали. Температура смеси на выходе из мундштука повышается на 300—350° С и соответственно возрастает скорость сгорания и температура основного сварочного пламени. Горелки могут работать на пропан-бутан-кислородной и метан-кислородной смеси; ими можно сваривать стали толщиной до 5 мм (в отдельных случаях до 12 мм) с удовлетворительными показателями по производительности и качеству сварки. Наконечники этих горелок рассчитаны на следующие расходы газов:
№ наконечника 0 1 2 3
Расход, дм3/ч:
пропан-бутана 15—40 30-70 70—140 140-240
кислорода 50—140 105—260 260—540 520-840
№ наконечника 4 5 6 7
Расход, дм3/ч:
пропан-бутана 240—400 400—650 650—1050 1650—1700
кислорода........ 840—1400 1350—2200 2200—3600 3500—5800
При переводе на пропан-бутан горелок, рассчитанных для работы на ацетилене, следует брать наконечник, на два номера больший, и ввертывать в него мундштук, на один номер больший, а инжектор — на один номер меньший, чем при сварке металла той же толщины на ацетиленокислородной смеси.
Специальные наконечники. Для сварки в тяжелых условиях нагрева, например крупных чугунных отливок с подогревом, применяют специальные теплоустойчивые наконечники НАТ-5-6 и НАТ-5-7. В этих наконечниках мундштук и трубка снабжены теплоизоляционной прослойкой из асбеста, разведенного на воде или жидком стекле, и покрыты сверху кожухом из стали Х25Т. Они могут длительно работать без хлопков и обратных ударов. Для этих работ используют также обычные наконечники, снабженные дополнительной трубкой для подвода охлаждающего воздуха.
Безынжекторные горелки. В отличие от инжекторных в данных горелках сохраняется постоянный состав смеси в течение всего времени работы горелки, независимо от ее нагрева отраженной теплотой пламени. В, инжекторных же горелках нагрев мундштука и смесительной камеры ухудшает инжектирующее действие струи кислорода, вследствие чего поступление ацетилена уменьшается и смесь обогащается кислородом. Это приводит к хлопкам и обратным ударам пламени, — приходится прерывать сварку и охлаждать наконечник.
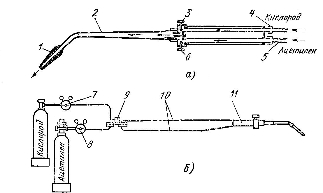
Безынжекторные горелки, в которых ацетилен и кислород поступают в смесительное устройство под равными давлениями, при нагревании не меняют состава смеси, поскольку при нагревании мундштука если и уменьшается поступление газов в горелку, то оно одинаково как для кислорода, так и для ацетилена. Следовательно, относительное содержание их в смеси, т. е. состав смеси, остается постоянным. На рис. 4, а показана схема безынжекторной горелки, на рис. 4, б — схема устройства для питания безынжекторной горелки ГАР (равного давления).кислородом и ацетиленом через постовой беспружинный регулятор ДКР (см. рис. 23). Горелка ГАР комплектуется семью наконечниками на расходы ацетилена 50—2800 дм3/ч. Каждый наконечник имеет смесительную камеру с двумя калиброванными отверстиями: центральным для кислорода и боковым для ацетилена.
Рис 4. Безынжекторная горелка

1 — мундштук; 2 — трубка наконечника; 3 — вентиль кислорода; 4 — ниппель кислорода; 5 — ниппель ацетилена; 6 — вентиль ацетилена; 7 — редуктор кислородный; 8 — редуктор ацетиленовый; 9 — регулятор ДКР; 10 — шланги; 11 — горелка ГАР
Камерно-вихревые горелки. Для некоторых процессов газопламенной обработки — нагрева, пайки, сварки пластмасс и т. п. не требуется высокой температуры ацетиленокислородного пламени. Для этих процессов можно использовать камерно-вихревые горелки, работающие на пропано-воздушной смеси. В этих горелках вместо мундштука имеется камера сгорания, в которую поступают пропан и воздух под давлением 0,05—0,2 МПа (0,5—2 кгс/см2). Пропан подается в камеру через центральный канал, а воздух, вызывающий также вихреобразование, поступает по многозаходной спирали, обеспечивающей «закрутку» газовой смеси в камере сгорания. Продукты сгорания выходят через концевое сопло камеры сгорания с большой скоростью, образуя пламя достаточно высокой температуры (1500—1600° С). Горелки позволяют получать пламя с температурой 350—1700° С.
Горелки специальные. К таким горелкам относятся, например, многопламенные для очистки металла от ржавчины и краски; газо-воздушные для пайки и нагрева, работающие на ацетилене газах заменителях; керосино кислородные для распыленного жидкого горючего; многопламенные кольцевые для газопрессовой сварки; для поверхностной закалки; для пламенной наплавки; для сварки термопластов и многие другие.
Принципы устройства и конструкции их во многом аналогичны используемым для сварочных горелок. Отличие состоит в основном; в тепловой мощности и размерах пламени или суммы пламен (при многопламенных горелках), а также размерах и форме мундштука.
2. Обосновать выбор технологии газовой сварки легированной стали З0ХГСА. При рассмотрении этого вопроса выявить связь выбранного режима (предварительного, сопутствующего и последующего подогрева) с составом стали, структурными изменениями в металле шва и зоне термического влияния. Результаты оформить в виде таблицы.
Газовая сварка характеризуется высокими значениями вводимой в изделие удельной энергии ε>и> достигающими величин порядка 200—400 Дж/мм2, большей зоной теплового влияния, меньшей производительностью, чем дуговая сварка.
Газовую сварку применяют при изготовлении и ремонте изделий из тонколистовой стали; при ремонтной сварке литых изделий из чугуна, бронзы, алюминиевых сплавов; при монтажной сварке стыков трубопроводов малых и средних диаметров (до 100 мм) с толщиной стенки до 5 мм и фасонных частей к ним; при сварке узлов конструкций из тонкостенных труб; при сварке изделий из алюминия и его сплавов, меди, латуни и свинца; при наплавке латуни и бронзы на детали из стали и чугуна; при наплавке твердых и износоустойчивых сплавов, а также при сварке ковкого и высокопрочного чугуна с применением прутков из латуни и бронзы.
Газовой сваркой можно сваривать почти все металлы, используемые в технике. Чугун, медь, латунь, свинец легче поддаются газовой сварке, чем дуговой. Простота оборудования, независимость от источника энергоснабжения, возможность широкого регулирования скорости нагрева и охлаждения металла при сварке позволяют применять этот процесс при ремонтных и монтажных работах. Сталь толщиной свыше 6 мм газовой сваркой соединяют редко.
Таблица 1.
Влияние примесей на свойства металла шва и около шовной зоны
|
Наименование, химический символ примеси |
В каком виде находится примесь в металле |
Взаимодействие с кислородом металла сварочной ванны, шлака, газа |
Дефекты сварной конструкции |
Причины образования трещин |
Допустимость (желательна \нежелательна) присутствия примеси в |
Максимально допустимое содержание примеси в % |
Характерные свойства основного металла при наличии данной примеси |
Свариваемость металла |
||||
|
В около шовной зоне |
В металле шва |
Холодных |
Горячих |
Основном металле |
Присадочной проволоке |
|||||||
|
|
Включение окислов, непровар |
Таблица 2.
|
Свариваемый металл |
Пламя и его мощность дм3/ч |
Присадочная проволока |
Флюсы |
Термообработка после сварки |
Способ сварки |
Наличие трещин |
Нагрев перед сваркой |
Свариваемость |
|
1 |
2 |
3 |
4 |
5 |
6 |
7 |
8 |
9 |
|
30ХГСА |
75-100 |
Св-08 Св-08А Св-18ХГСА Св-18ХМА |
3. Условия и требования к разрезаемому металлу, определяющие возможность протекания процесса резки. Рассчитать расход режущего кислорода при ручной кислородной резке стали толщиной 50-100мм и 500мм.
Подвергаемый газовой резке металл должен удовлетворять ряду определенных условий (требований).
Температура плавления металла должна быть выше температуры воспламенения его в кислороде (температуры начала интенсивного окисления металла). В противном случае металл под действием подогревающего пламени резака будет плавиться и принудительно удаляться кислородной струей без необходимого окисления, характеризующего процесс газовой резки. При этих условиях шлак не образуется, и расплавляемый металл, трудно удаляемый кислородной струей, будет образовывать на кромках реза наплывы. При этом производительность процесса крайне низкая, рез большой ширины и исключительно неровный.
Низкоуглеродистая сталь этому условию удовлетворяет. Температура ее плавления составляет ~ 1500° С, а температура воспламенения в кислороде 1350—1360° С. Однако с повышением содержания углерода в стали способность ее поддаваться газовой резке падает (так как температура плавления стали снижается, а температура воспламенения в кислороде возрастает). Кроме того, в образующихся при резке шлаках увеличивается количество не окисленного железа, сильно затрудняющего процесс резки из-за образования грата (сплава шлака с металлом), трудно отделяемого от кромок реза. Тем более не поддается газовой резке чугун, содержание углерода в котором составляет более 1, 7%.
Температура плавления металла должна быть выше температуры плавления образуемых в процессе резки окислов.
Низкоуглеродистая сталь образует три окисла железа: FeO с температурой плавления 1270° С, Fe>3>O>4> с температурой плавления 1538°С и Fe>2>. O>3> с температурой плавления 1562°С. Допуская, что нее эти окислы железа присутствуют в шлаке, температура плавления которого в среднем ниже 1500° С, можно считать, что низкоуглеродистая сталь удовлетворяет и этому условию, тем более, что на поверхности ее при нагревании не образуется пленки тугоплавких окислов, препятствующих контакту кислородной струи с металлом. Однако целый ряд металлов и сплавов, например алюминий, магний, сплавы этих металлов, а также высоколегированные стали, содержащие высокий процент хрома, этому условию резки не удовлетворяют. При нагревании этих сплавов в процессе резки на их поверхности образуется пленка тугоплавкого окисла, изолирующая металл от контакта с кислородом.
Тепловой эффект образования окисла металла должен быть достаточно высоким. Это условие диктуется тем, что при резке стали, подогревающее пламя резака сообщает металлу сравнительно небольшую часть теплоты — около 5—30% ее общего количества, выделяемого в процессе резки. Основное же количество теплоты (70—95%) выделяется при окислении металла.
Низкоуглеродистая сталь образует при резке три окисла железа, выделяющих при своем образовании в среднем около 627 — 666, 8 кДж/моль (150—160 ккал/г-мол). Этого количества теплоты оказывается достаточно, для протекания эффективного процесса газовой резки стали.
Иначе обстоит дело с резкой меди и ее сплавов. Помимо высокой тепло производительности меди, сильно затрудняющей начало процесса резки, главной причиной, делающей газовую резку меди невозможной, является низкое тепловыделение при окислении, поскольку при образовании СиО выделяется теплоты всего 156, 8 кДж/моль (37, 5 ккал/г-мол), а при образовании Си>2>О 169, 7 кДж/моль (40, 6 ккал/г-мол). Этого количества теплоты для начала и поддержания процесса резки меди недостаточно, в связи с чем процесс газовой резки этого металла невозможен.
Консистенция образующихся окислов Должна быть жидкой, т. е. появляющиеся при резке шлаки должны быть жидкотекучими. Это условие хорошо выполняется при резке низко- и среднеуглеродистой стали, низколегированной стали и титановых сплавов.
Газовая резка сплавов, содержащих высокий процент кремния пли хрома сильно затруднена или невозможна. Так, например, невозможна резка серого чугуна, содержащего высокий процент кремния (до 3,5—4,5%), окись которого (SiO>2>) сильно повышает вязкость.
Теплопроводность металла должна быть возможно низкой. В противном случае бывает трудно, а иногда и невозможно (при большой массе высокотеплопроводного металла) достигнуть концентрированного нагрева металла.
Низкоуглеродистая сталь, теплопроводность которой невелика {коэффициент теплопроводности λ = 0,63 Дж/(см. сК) [λ, = 0,12 кал/(см. -с-° С]}, не вызывает трудностей ни в начальный момент, ни в процессе резки. В этом случае подогрев металла в начальной точке реза до воспламенения осуществляется быстро, без заметного отвода теплоты в массу разрезаемого металла.
Что касается начального подогрева до воспламенения таких металлов, как медь и алюминий, то для этих металлов из-за высокой теплопроводности начальный подогрев связан с большими трудностями и в большинстве случаев становится возможным только после предварительного подогрева разрезаемых листов или заготовок до достаточно высокой температуры (меди до 700—800° С, алюминия до 300—500° С). Высокая теплопроводность меди и алюминия — одна из причин, затрудняющих и делающих невозможной газовую резку этих металлов.
Анализируя приведенные выше условия газовой резки, можно констатировать, что всем этим условиям хорошо удовлетворяет чистое железо и низкоуглеродистая сталь. С повышением содержания углерода в стали способность ее поддаваться газовой резке падает.
Список литературы
А. И. Акулов, Г. А. Бельчук, В. П. Демянцевич «Технология и оборудование сварки плавлением»
Г. Б. Евсеев, Д. Л. Глизманенко «Оборудование и технология газопламенной обработки металлов и неметаллических материалов»
Г. Л. Петров «Сварочные материалы»