Токарно-винторезный станок
Токарно-винторезный станок
Устройство и классификация.

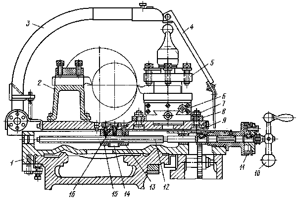
Сборочные единицы (узлы) и механизмы токарно-винторезного станка: 1 - передняя бабка, 2 - суппорт, 3 - задняя бабка, 4 - станина, 5 и 9 - тумбы, 6 - фартук, 7 - ходовой винт, 8 - ходовой валик, 10 - коробка подач, 11 - гитары сменных шестерен, 12 – электро -пусковая аппаратура, 13 - коробка скоростей, 14 – шпиндель.
Токарно-винторезные станки предназначены для обработки, включая нарезание резьбы, единичных деталей и малых групп деталей. Однако бывают станки без ходового винта. На таких станках можно выполнять все виды токарных работ, кроме нарезания резьбы резцом. Техническими параметрами, по которым классифицируют токарно-винторезные станки, являются наибольший диаметр D обрабатываемой заготовки (детали) или высота Центров над станиной (равная 0,5 D), наибольшая длина L обрабатываемой заготовки (детали) и масса станка. Ряд наибольших диаметров обработки для токарно-винторезных станков имеет вид: D = 100, 125, 160, 200, 250, 320, 400, 500, 630, 800, 1000, 1250, 1600, 2000 и далее до 4000 мм. Наибольшая длина L обрабатываемой детали определяется расстоянием между центрами станка. Выпускаемые станки при одном и том же значении D могут иметь различные значения L. По массе токарные станки делятся на легкие - до 500 кг (D = 100 - 200 мм), средние - до 4 т (D = 250 - 500 мм), крупные - до 15 т (D = 630 - 1250 мм) и тяжелые - до 400 т (D = 1600 - 4000 мм). Легкие токарные станки применяются в инструментальном производстве, приборостроении, часовой промышленности, в экспериментальных и опытных цехах предприятий. Эти станки выпускаются как с механической подачей, так и без нее. На средних станках производится 70 - 80% общего объема токарных работ. Эти станки предназначены для чистовой и получистовой обработки, а также для нарезания резьб разных типов и характеризуются высокой жесткостью, достаточной мощностью и широким диапазоном частот вращения шпинделя и подач инструмента, что позволяет обрабатывать детали на экономичных режимах с применением современных прогрессивных инструментов из твердых сплавов и сверхтвердых материалов. Средние станки оснащаются различными приспособлениями, расширяющими их технологические возможности, облегчающими труд рабочего и позволяющими повысить качество обработки, и имеют достаточно высокий уровень автоматизации. Крупные и тяжелые токарные станки применяются в основном в тяжелом и энергетическом машиностроении, а также в других отраслях для обработки валков прокатных станов, железнодорожных колесных пар, роторов турбин и др. Все сборочные единицы (узлы) и механизмы токарно-винторезных станков имеют одинаковое название, назначение и расположение. Смотри рисунок вверху. Типичный токарно-винторезный станок 16К20 завода "Красный пролетарий" показан на рисунке внизу.

Общий вид и размещение органов управления токарно-винторезного станка мод. 16К20:
Рукоятки управления: 2 - сблокированная управление, 3,5,6 - установки подачи или шага нарезаемой резьбы, 7, 12 - управления частотой вращения шпинделя, 10 - установки нормального и увеличенного шага резьбы и для нарезания многозаходных резьб, 11 – изменения направления нареза-ния резьбы (лево- или правозаходной), 17 - перемещения верхних салазок, 18 - фиксации пиноли, 20 - фиксации задней бабки, 21 - штурвал перемещения пиноли, 23 - включения ускоренных перемещений суппорта, 24 - включения и выключения гайки ходового винта, 25 - управления изменением направления вращения шпинделя и его остановкой, 26 - включения и выключения подачи, 28 - поперечного перемещения салазок, 29 - включения продольной автоматической подачи, 27 - кнопка включения и выключения главного электродвигателя, 31 - продольного перемещения салазок; Узлы станка: 1 - станина, 4 - коробка подач, 8 - кожух ременной передачи главного привода, 9 - передняя бабка с главным приводом, 13 - электрошкаф, 14 - экран, 15 - защитный щиток, 16 - верхние салазки, 19 - задняя бабка, 22 - суппорт продольного перемещения, 30 - фартук, 32 - ходовой винт, 33 - направляющие станины.
Главный привод. Механизм подач. Коробка подач
Главный привод станка. В передней бабке размещены коробка скоростей и шпиндель, которые приводят во вращение обрабатываемую деталь при выбранных глубине резания и подаче. На рисунке показано устройство коробки скоростей, которая работает следующим образом. Заготовка зажимается в кулачковом патроне, который крепится к фланцу шпинделя 13. Вращение от электродвигателя 1 через ременную передачу 2 и муфту включения 3 передается на вал 5.
Блок из трех шестерен 7, 8 и 9, расположенный на валу 5, с помощью реечной передачи связан с рукояткой 17. Этой рукояткой блок шестерен вводится в зацепление с зубчатым колесом 4 (или 10, или 11), жестко закрепленным на валу 6. Колеса 4 и 12 сопряжены соответственно с колесами 15 и 16, которые передают крутящий момент шпинделю через зубчатую муфту 14, соединенную с рукояткой 18. Если муфта передвинута вправо, то шпиндель получает вращение через зубчатое колесо 16, а если влево - через зубчатое колесо 15. Таким образом коробка скоростей обеспечивает шесть ступеней частоты вращения шпинделя. Механизм подач. Связь шпинделя и суппорта станка для обеспечения оптимального режима резания осуществляется с помощью механизма подач, состоящего из реверсирующего устройства (трензеля) и гитары, которые осуществляют изменение направления и скорости перемещения суппорта.
П
ривод
этого механизма осуществляется от
коробки скоростей через трензель (смотри
рисунок справа), который состоит из
четырех зубчатых колес а, б, в, г, связанных
с рукояткой 19, переключением которой
осуществляется реверс (т. е. изменение
направления вращения) вала 20 (приводного
вала суппорта). Позиции а, б, в, г, 19 и 20
(см. рисунки). При крайнем нижнем положении
рукоятки 19 (положение А) зубчатые колеса
а, б, в, г соединены последовательно и
направление вращения вала 20 совпадает
с направлением вращения шпинделя. При
верхнем положении рукоятки 19 (положение
В) соединены только зубчатые колеса а,
в, г и направление вращения вала 20
изменяется на противоположное. В среднем
положении рукоятки 19 (положение Б)
зубчатые колеса б и в не соединяются с
зубчатым колесом а и вал 20 не вращается.
С
помощью гитары (сотри рисунок слева)
устанавливают (настраивают) зубчатые
колеса с определенным передаточным
отношением, обеспечивающим необходимое
перемещение суппорта на один оборот
шпинделя. Расстояние L между валами 1 и
2 является постоянным. На валу 2 свободно
установлен приклон 3 гитары, закрепленный
болтом 4. Ось 5 промежуточных колес вис
можно перемещать по радиальному пазу,
тем самым изменяя расстояние А между
центрами колес c и d. Дуговой паз приклона
3 позволяет регулировать размер В.
Коробка подач. Назначение коробки подач - изменять скорости вращения ходового винта и ходового вала, чем достигается перемещение суппорта с выбранной скоростью в продольном и поперечном направлениях. Вал 14 в подшипниках 15 (сотри рисунок) коробки подач получает вращение от зубчатых колес гитары; вместе с ним вращается и имеет возможность перемещаться вдоль него зубчатое колесо П с рычагом 10. На одном конце рычага 10 вращается (на оси) зубчатое колесо 12, сопряженное с зубчатым колесом 11, а на другом - рукоятка 9, с помощью которой рычаг 10 перемещается вдоль вала 14 и может занимать любое из десяти положений (по числу зубчатых колес в механизме 1 Нортона). В каждом из таких положений рычаг 10 поворачивается и удерживается штифтом 9, который входит в соответствующие отверстия на передней стенке 7 коробки подач. При этом зубчатое колесо 12 входит в зацепление с соответствующим зубчатым колесом 13 механизма 1, в результате чего устанавливается выбранное число оборотов вала 2. Вместе с валом 2 вращается зубчатое колесо 3, которое можно перемещать вдоль него рукояткой. При перемещении вправо зубчатое колесо 3 посредством кулачковой муфты 4 соединяется с ходовым винтом 5 и передает ему вращательное движение, а при перемещении влево - входит в зацепление с зубчатым колесом 8 и передает вращательное движение ходовому валу 6.
Коробка подач.
Суппорт
С
уппорт
предназначен для перемещения во время
обработки режущего инструмента,
закрепленного в резцедержателе. Он
состоит из нижних салазок (продольного
суппорта) 1, которые перемещаются по
направляющим станины с помощью рукоятки
15 и обеспечивают перемещение резца
вдоль заготовки. На нижних салазках по
направляющим 12 перемещаются поперечные
салазки (поперечный суппорт) 3, которые
обеспечивают перемещение резца
перпендикулярно оси вращения заготовки
(детали). На поперечных салазках 3
расположена поворотная плита 4, которая
закрепляется гайкой 10. По направляющим
5 поворотной плиты 4 перемещаются (с
помощью рукоятки 13) верхние салазки 11,
которые вместе с плитой 4 могут
поворачиваться в горизонтальной
плоскости относительно поперечных
салазок и обеспечивать перемещение
резца под углом к оси вращения заготовки
(детали). Резцедержатель (резцовая
головка) 6 с болтами 8 крепится к верхним
салазкам с помощью рукоятки 9, которая
перемещается по винту 7. Привод перемещения
суппорта производится от ходового винта
2, от ходового вала, расположенного под
ходовым винтом, или вручную. Включение
автоматических подач производится
рукояткой 14.
Устройство поперечного суппорта показано на рисунке внизу. По направляющим продольного суппорта 1 ходовым винтом 12, оснащенным рукояткой 10, перемещаются салазки поперечного суппорта. Ходовой винт 12 закреплен одним концом в продольном суппорте 1, а другим - связан с гайкой (состоящей из двух частей 15 и 13 и клина 14), которая крепится к поперечным салазкам 9. Затягивая винт 16, раздвигают (клином 14) гайки 15 и 13, благодаря чему. выбирается зазор между ходовым винтом 12 и гайкой 15. Величину перемещения поперечного суппорта определяют по лимбу 11. К поперечному суппорту крепится (гайками 7) поворотная плита 8, вместе с которой поворачиваются верхние салазки 6 и резцедержатель 5. На некоторых станках на поперечных салазках 9 устанавливается задний резцедержатель 2 для проточки канавок, отрезки и других работ, которые могут быть выполнены перемещением поперечного суппорта, а также кронштейн 3 с щитком 4, защищающим рабочего от попадания стружки и смазочно-охлаждающей жидкости.

Поперечный
суппорт.
Резцедержатель, фартук и разъемная гайка
У
стройство
резцедержателя показано на рисунке
слева. В центрирующей расточке верхних
салазок 5 установлена коническая оправка
3 с резьбовым концом. На конусе оправки
установлена четырехсторонняя резцовая
головка 6. При вращении рукоятки 4 головка
2 перемещается вниз по резьбе конической
оправки 3 и через шайбу 1 и упорный
подшипник обеспечивает жесткую посадку
резцовой головки 6 на конической
поверхности оправки 3. От поворота при
закреплении резцовая головка удерживается
шариком, который заклинивается между
поверхностями, образованными пазом на
основании конической оправки 3 и
отверстием в резцовой головке 6. При
необходимости сменить позицию инструмента
рукоятку 4 поворачивают против часовой
стрелки. При этом головка 2 поворачивается
и перемещается вверх по резьбе конической
оправки 3, снимая усилие затяжки резцовой
головки 6 на конусе конической оправки
3. Одновременно головка 2 поворачивает
резцовую головку 6 посредством тормозных
колодок, фрикционно связанных с
поверхностью расточки головки 2 и
соединенных с резцовой головкой 6
штифтами 7. При этом шарик, расположенный
у основания конической оправки 3, не
препятствует повороту резцовой головки,
так как он утапливается в отверстие,
сжимая пружину. Если в процессе работы
рукоятка 4 (в зажатом положении) стала
останавливаться в неудобном положении,
то, изменяя толщину шайбы 1, можно
установить ее в удобное для рабочего
положение.
Продольное и поперечное перемещение салазок суппорта производится через фартук 2 (смотри рисунок справа), который крепится к нижней поверхности продольного суппорта 1. Ручная продольная подача производится маховиком, который через зубчатую передачу сообщает вращение зубчатому колесу 4, катящемуся по рейке 3, закрепленной на станине 5 станка, и перемещает продольный суппорт вместе с поперечным суппортом и фартуком 2.
П
родольная
подача суппорта 1 от ходового винта 2
производится включением разъемной
гайки рукояткой 14 (смотри рисунок слева).
Разъемная гайка состоит из двух частей
(1 и 2), которые перемещаются по направляющим
А при повороте рукоятки 5. При этом диск
4 посредством прорезей В, расположенных
эксцентрично, перемещает пальцы 3, в
результате чего обе части гайки сдвигаются
или раздвигаются. Если обе части гайки
охватывают ходовой винт, то производится
продольная подача (перемещение) суппорта;
если они раздвинуты, то подача отключается.
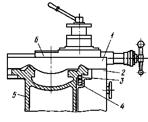
Задняя бабка
У
стройство
задней бабки показано на рисунке. В
корпусе 1 (при вращении винта 5 маховиком
7) перемещается пиноль 4, закрепляемая
рукояткой 3. В пиноли устанавливается
центр 2 с коническим хвостовиком (или
инструмент). Задняя бабка перемещается
по направляющим станка вручную или с
помощью продольного суппорта. В рабочем
неподвижном положении задняя бабка
фиксируется рукояткой 6, которая соединена
с тягой 8 и рычагом 9. Сила прижима рычага
9 тягой 8 к станине регулируется гайкой
11 и винтом 12. Более жесткое крепление
задней бабки производится с помощью
гайки 13 и винта 14, который прижимает к
станине рычаг 10.