Применяемые Финансовые Информационные Системы (ФИС)
Введение.
Двумя самыми важными тенденциями современности можно считать рост глобализации бизнеса и увеличение возможностей компьютерных технологий.
Глобализация бизнеса характеризуется такими факторами, как:
1) совершенствование системы перевозок и коммуникаций, которые уменьшили стоимость грузовых перевозок и сделали более действенными международные торговые операции;
2) возрастающее политическое давление потребителей, которые хотят иметь высококачественную продукцию по низким ценам, с целью защиты, продукции отечественного производства, которое имеет низкое качество но дорого стоит;
3) постоянное совершенствование технологии производства, требует затрат на разработку новой продукции, поэтому возрастает и объем этой продукции, в связи с необходимостью предприятий покрыть затраты и быть конкурентоспособными;
4) в мире существуют международные фирмы, которые могут переносить производство в любую точку, где затраты производства самые низкие.
Результатом действующих факторов стала необходимость производства и продажи в глобальных масштабах с целью выживания. Сервесные (обслуживающие) компании, включая банки, рекламные агенства и фирмы, которые выполняют бухгалтерский учет и отчетность, также вынуждены “шагать по земному шару”, чтобы лучше обслуживать своих клиентов, если они функционируют во всем мире. Например, Всемирный Банк, Internet, SWIFT.
Постоянный прогресс в развитии ЭВМ и технических средства связи существенно изменили методы принятия решений по финансовым вопросам.
Сегодня система управления финансами включает в себя:
1) принятие управленческих решений относительно выбора активов и пассивов так, чтобы максимизировать прибыльность предприятия (фирмы).
2) ограничение вмешательства государства (дерегулирование) в деятельность кредитнофининсовых учреждений, вследствие чего появились тенденции к образованию больших, многоотраслевых, обслуживающих отрасли экономики финансовых корпораций.
3) ошеломляющий рост масштабов использования компьютеров для управления финансов, применение других электронных средств.
4) возросла роль мировых рынков и финансовых операций.
5) инфляция и последствия ее влияния на принятие деловых решений.
Для принятия правильных решений по финансовым вопросам, компании создают единую информационную сеть в масштабах своего предприятия (локальные ИС), подключаться к корпоративным сетям, глобальным. Например таким, как – Корпоративная сеть банка «Украина», глобальная сеть – SWIFT. Следовательно специалисты по управлению финансами имеют возможность доступа к фактическим данным, которые основываются на достоверной базе данных, как следствие возрастает количественный и качественный анализ финансового состояния фирмы, при принятии альтернативных решений.
Учитывая, что функционирование украинских предприятий, всех форм собственности, сопровождается:
- постоянно меняющимися экономическими и правовыми условиями;
- возрастанием конкуренции;
- уменьшением прибыльности;
- относительной стабилизацией основных, материальных и макроэкономических решений;
Финансовые информационные системы должны включать и правовые и законодательные нормы, иметь доступ к системам регистрации, связь с банковскими системами, фондовыми биржами.
Тенденции, изложенные выше, значительно изменили роль финансового менеджмента (системы управления финансами), а также необходимость создания автоматизированных систем управления. Если раньше специалисты по маркетингу планировали объем продажи товаров и услуг, ИТП (инженерно-технический персонал) определял объем ресурсов, необходимых для выполнения плановых заданий, а специалисты по управлению финансами, искали фонды для закупки необходимых производственных мощностей и товарно-материальных запасов. Теперь такой ситуации не существует. Создание интегрированных финансовых информационных систем (ФИС) повлекло за собой принятие решений с большей степенью координации всех заинтересованных лиц, а финансовые службы непосредственно отвечают за функции проверки и контроля использования ресурсов, широко используя при этом последние достижения в информационной технологии.
Бухгалтерские информационные системы.
Многие предприятия в условиях рынка рассматривают информацию в качестве ценного ресурса, который следует хранить, использовать и защищать как любой другой вид собственности. В целях получения информации, необходимой для управления производственной и хозяйственной деятельностью, предприятие создает бухгалтерскую информационную систему. Она рассматривается как существенный инструмент управления работой предприятия в рыночных условиях. БУИС служит связующим звеном между хозяйственной деятельностью и людьми, принимающими решения (рис. 1). В ней осуществляются сбор, регистрация данных о хозяйственной деятельности на предприятии, их обработка, хранение, передача пользователям для анализа и принятия решений. Таким образом, данные о хозяйственной деятельности являются входом в БУИС, а полезная информация для лиц, принимающих решения, - выходом из нее. Главная цель функционирования БУИС на предприятии - обеспечить руководство предприятия финансовой информацией для принятия обоснованных решений при выборе альтернативных вариантов использования ограниченных ресурсов. Некоторые предприятия также используют нефинансовую информацию. В этом случае на предприятии создается экономическая информационная система, которая состоит из взаимосвязанных подсистем, обеспечивающих управленческий аппарат необходимой информацией. При этом бухгалтерская подсистема является наиболее важной, так как выполняет ведущую роль в управлении потоком информации о состоянии объекта управления и направлении ее во все подразделения предприятия, а также заинтересованным лицам вне его.
БУИС предоставляет бухгалтерскую информацию, отражающую полную картину хозяйственной деятельности предприятия,. В настоящее время в условиях перехода на международные стандарты ведения бухгалтерского учета изменилась ориентация бухгалтерской информации. Если совсем недавно ее основным пользователем были органы государственного управления, то сейчас бухгалтерская информация является основой для принятия управленческих решений как внутри предприятия, так и вне его, Прежде всего она предоставляет количественные данные, необходимые для выполнения таких функций управления производственной и коммерческой деятельностью предприятия, как планирование, контроль и анализ
Для этапа планирования бухгалтер должен предоставить информацию о предполагаемой прибыли и потребности в денежных ресурсах. На этапе контроля от бухгалтера требуется информация сравнения фактических доходов и затрат с плановыми. На этапе анализа на основе бухгалтерской информации выясняется, была ли достигнута поставленная цель или нет. Если нет, то по каким причинам это произошло. По результатам анализа принимаются решения относительно совершенствования системы управления предприятием.
Главными пользователями бухгалтерской информации являются руководство и менеджеры служб предприятия. На основе этой информации определяются чистая прибыль предприятия за последний отчетный период, соответствие нормы прибыли ожидаемой величине, наличие денежных ресурсов, соотношение чистых активов (И уставного капитала, наиболее прибыльные направления деятельности, себестоимость производимой продукции.

Рис. 1. Схема управления предприятием в условиях использования БУИС
Бухгалтерская информация помогает руководителям не только понять и проанализировать итоги, но и прогнозировать результаты деятельности предприятия при принятии различных решений.
Существуют внешние пользователи бухгалтерской информации. Это акционеры, инвесторы, кредиторы, покупатели, клиенты, аудиторы и инспектора налоговых служб. Акционерам и инвесторам важно знать, насколько эффективно и прибыльно используется собственный капитал владельцев предприятия, нужны ли ему новые инвестиции или их объем следует уменьшить, может ли фирма в будущем оставаться прибыльной и при каких условиях. Кредиторов интересуют вопросы о необходимости ссуды, способности предприятия своевременно выплачивать проценты за кредит и в срок расплатиться с долгами. В этой связи бухгалтерская информация все в большей степени становится связанной с технико-экономическим обоснованием и с бизнес планированием при привлечении инвестиций. Для покупателей продукции важны соответствие рекламы предприятия фактическому состоянию дел, обоснованность цены на товары, возможность обеспечения гарантийного обслуживания. Государственные службы интересуются полнотой и правильностью определения прибыли и исчисления налогов, соблюдением антимонопольного и валютного законодательства.
При принятии решений следует учитывать, что бухгалтерская информация является в известной мере приблизительной, а не абсолютно точной. В этой связи проблема толкования и правильного использования информации ложится и на лицо, принимающее решение, и на бухгалтера. Бухгалтер предоставляет полезную информацию, а пользователь должен ее истолковать и применить при выработке решений.
Чтобы бухгалтерская информация была полезной, она должна быть достоверной и значимой. Достоверность показывает, что информация полностью отражает хозяйственные процессы на предприятии, легко проверяема и не выражает интересы какого-либо конкретного лица. Значимость бухгалтерской информации заключается в том, что она должна быть полезной при составлении планов, основанной на обратной связи и поступать к пользователю в нужное время. Обратная связь предполагает знание того, насколько верными оказались предыдущие ожидания. Необходимо учитывать, что выгоды, полученные от использования учетной информации, должны быть больше произведенных на нее затрат.
Чтобы бухгалтерская информация достаточно однозначно воспринималась теми, кто участвовал в ее подготовке на предприятии, и теми, кто использует ее вне предприятия, она должна удовлетворять определенным требованиям.
Во-первых, бухгалтерская информация должна удовлетворять требованиям сравнения и постоянства. Т.е. нельзя в течение учетного периода использовать разные формы и методы бухгалтерского учета, иначе пропадает возможность сравнения данных. Однако это не означает, что устаревший или неудачно выбранный метод бухгалтерского учета должен использоваться бесконечно долго. Для изменения используемой формы учета должны быть веские основания. Такие изменения могут происходить в том случае, если они совмещены с началом нового учетного периода (года).
Во-вторых, бухгалтерская информация должна быть существенной. Не следует терять время на учет незначительных факторов. Т.е. если усилия по учету сравнимы со стоимостью учитываемых средств, учет необходимо упростить. Каждое предприятие выбирает свой уровень существенности учета. Так, в зависимости от того, какое значение придается объекту, в одном случае он может быть отнесен к основным средствам (ОС), а в другом - к малоценным и быстроизнашивающимся предметам (МБП) и сразу списан на затраты.
В-третьих, бухгалтерская информация должна быть консервативной. Так как отражение фактов хозяйственной деятельности в бухгалтерском учете не всегда Является однозначным, необходимо выбирать оценку, которая менее оптимистична, т. е. следует рассчитывать на отсутствие прибыли и учитывать возможные убытки. Это обеспечивает осторожность в оценке активов, имущества и в определении величины прибыли.
В-четвертых, бухгалтерская информация должна быть полной, содержать максимум сведений, которые необходимы пользователю.
При проектировании БУИС необходимо учитывать, что они имеют как общие черты, свойственные всем системам автоматизированной обработки экономической информации, так и специфические. К общим принципам построения и функционирования БУИС относят принципы первого лица, системного подхода, надежности, непрерывного развития, экономичности, совместимости.
Принцип первого лица определяет право принятия окончательного решения и порядок ответственности на различных уровнях управления.
Принцип системного подхода предполагает в процессе проектирования БУИС проведение анализа объекта управления в целом и системы управления им, а также выработку общих целей и критериев функционирования объекта в условиях его автоматизации. Данный принцип предусматривает однократный ввод информации в систему и многократное ее использование, единство информационной базы, комплексное программное обеспечение.
Принцип надежности характеризует надежность работы БУИС, которая обеспечивается с помощью различных способов, например дублирования структурных элементов системы или их избыточности.
Принцип непрерывного развития системы требует возможности ее расширения без существенных организационных изменений.
Принцип экономичности заключается в том, что выгоды от новой БУИС не должны превышать расходы на нее.
Принцип совместимости предполагает, что проектируемая БУИС будет учитывать организационную структуру предприятия, а также интересы и квалификацию людей, осуществляющих бухгалтерский учет, при условии подготовленности их к работе в этой системе.
Для БУИС свойственны и специфические черты. Так, в БУИС осуществляется интеграция различных видов учета (оперативного, бухгалтерского и статистического) на основе единой первичной информации. При этом слияния этих видов учета не происходит, так как каждый из них выполняет свои функции и решает свои задачи.
Принцип обратной связи является одним из основных принципов любой системы управления. Однако только решив задачи бухгалтерского учета, можно осуществить обратную связь. БУИС - единственный источник достоверной информации для обратной связи. Именно эту информацию руководители предприятия используют для принятия решений.
Кроме того, для БУИС характерным является возможность автоматизации обработки учетной информации на всех участках учета, начиная с процесса сбора, регистрации информации (автоматизация первичного учета).
При этом БУИС могут использовать помимо традиционных форм учета еще и новую автоматизированную форму учета, которая полностью отвечает основным требованиям применения вычислительной техники и принципам бухгалтерского учета и отчетности. БУИС, являясь системой поддержки принятия решений бухгалтером, обеспечивает функцию учета при управлении объектом (промышленным предприятием, учреждением, организацией и пр.).
Проблема автоматизации бухгалтерского учета на крупных предприятиях остается одной из актуальных и сложных в современных условиях. Это связано прежде всего с необходимостью сбора и переработки значительных объемов информации и своевременной выдачи результатов для их анализа и принятия управленческих решений.
В эпоху больших вычислительных машин были созданы первые БУИС для крупных промышленных предприятий. Это позволило централизовать обработку учетной информации. Экономические перемены в Украине, а также появление ПЭВМ привели к почти полному исчезновению разработок такого класса. Широкое распространение получила децентрализованная обработка учетной информации. Использование ПЭВМ приблизило источник информации к пользователю этой информации - бухгалтеру, минуя посредников (вычислительные центры, отделы предприятий по подготовке информации и др.), а также привело к созданию на базе ПЭВМ автоматизированных рабочих мест бухгалтера (АРМБ). Появилась возможность автоматизации всех процедур по обработке учетной информации непосредственно на рабочем месте.
В настоящее время для новых потребителей БУИС - менеджеров крупных предприятий в условиях рынка важны не только автоматизация учетных задач, но и возможность повышения эффективности управления предприятием, сохранение финансового равновесия, получение стабильной прибыли. В этой связи БУИС крупного предприятия должна обеспечивать:
• автоматизированное решение всего комплекса задач бухгалтерского учета, планирования, анализа финансово-хозяйственной деятельности предприятия, а также внутреннего аудита;
• получение оперативной, постоянно меняющейся информации о текущем состоянии дел на предприятии. Такой режим важен, например, для крупных промышленных предприятий, стремящихся более эффективно использовать свои ресурсы; для крупных торговых домов, которые могут терпеть убытки в случае, если информация о движении и наличии товаров и иных средств не обновляется в течение короткого времени, а также для других предприятий, где происходит постоянное движение больших объемов средств. Основной акцент при этом должен быть сделан на получении оперативных аналитических отчетов и сводок по использованию вложенных финансовых ресурсов;
• возможность консолидированного управления и получения консолидированных финансовых отчетов. Крупные предприятия могут иметь филиалы или удаленные склады. Кроме того, финансы такого предприятия могут принадлежать группе собственников. Поэтому актуальным является наличие в такой системе удаленных рабочих мест с возможностью осуществлять обмен данными для оперативного управления из Центра.
БУИС крупного предприятия, отвечающую данным требованиям, целесообразно создавать на основе комплекса АРМ учетных работников, действующих в сети с централизованным управлением.
Изучение и обобщение зарубежной и отечественной теории и практики показали, что на крупных предприятиях бухгалтерский учет организуется по двухуровневой системе управления - управленческий и финансовый учет. При этом информация ориентирована исключительно на пользователя.
Управленческий учет оперирует показателями себестоимости, затратами подразделений, выявляет результаты проведенных операций по ответственным лицам, секторам деятельности, по другим подразделениям.
Сметы, нормативы, калькуляции, оптимальные соотношения затрат и результатов - объекты управленческого учета. Его аналитические данные используются для управления операциями, отделами, бригадами подразделениями.
Информация управленческого учета имеет четко выраженную внутреннюю направленность. Она используется производственным, управленческим персоналом, дирекцией для внутрихозяйственного управления и зачастую настолько конфиденциальна, что считается коммерческой тайной.
Финансовый учет направлен на обобщение, синтез информации. Он позволяет оперативно определять прибыль предприятия за некоторый период, обобщать активы и пассивы предприятия в форме отчетного баланса, характеризовать имущественное и финансовое состояние предприятия.
Информация финансового учета широко используется внешними потребителями - инвесторами, кредиторами и другими организациями и предприятиями. Она необходима также и управленческому персоналу, финансистам, акционерам предприятия, членам правления для принятия финансовых решений, планирования и прогнозирования экономики предприятия, экономического анализа информации.
Финансовый учет регламентируется общими для всех правилами, что гарантирует единообразие и понятность информации для всех. Достоверность финансовой отчетности подтверждается независимым специалистом - аудитором.
Финансовый и управленческий учет - это самостоятельные, но взаимосвязанные подсистемы бухгалтерского учета, основанные на одном и том же массиве первичных данных и первичной документации. Нецелесообразно собирать первичные данные для каждой подсистемы отдельно". Они тесно связаны между собой и не могут обойтись без взаимного обмена информацией.
Первичный учет представляет собой систему сбора, измерения, регистрации, накопления, хранения информации, а также передачи ее для дальнейшей обработки. Информация первичного учета обеспечивает обратную связь в БУИС, а значит, и для управленческого, и финансового учета, а также для всех других подсистем, использующих первичную информацию при подготовке и принятии управленческих решений.
В этой связи при создании БУИС на крупном предприятии первичный учет следует также выделить в отдельную подсистему.
На крупном предприятии обработка учетной информации с помощью БУИС ведется на трех уровнях, соответствующих первичному, управленческому и финансовому учету (рис.16). На каждом уровне в соответствии с методологией сбора, регистрации и обработки учетной информации создаются АРМ экономистов, бухгалтеров, финансистов и аналитиков, взаимодействующие между собой.
Применение АРМ для обработки данных непосредственно на рабочих местах специалистов различных уровней учета обеспечивает минимальное использование бумажных носителей, достоверность и полноту информации.

Рис. 2. Схема взаимосвязи и распределения АРМ по уровням учета в БУИС на крупном предприятии
АРМ организованы по функциональным участкам, каждый из которых связан или с первичным учетом (материалов, готовой продукции (ГП), табельным учетом), или с определенным объектом бухгалтерского учета, где осуществляются непрерывная регистрация и обработка хозяйственных операций (по учету материальных ценностей (МЦ), основных средств и нематериальных активов, труда и заработной платы, финансово-расчетных операций, готовой продукции и ее реализации), а также со сводным учетом и составлением отчетности, планированием и анализом, а также внутренним аудитом.
При выделении участков необходимо учитывать, что каждый участок должен отвечать следующим требованиям:
• располагать своим набором хозяйственных операций и проводок;
• иметь свое, возможно пересекающееся с другими участками, подмножество плана счетов;
• иметь свои, присущие только ему, первичные документы и отчетные формы.
Также необходимо учитывать конкретные условия, сложившиеся на предприятии, и особенности учетной политики.
Для каждого АРМ или группы АРМ разрабатывается самостоятельный программный модуль. Организованная таким образом БУИС представляет собой открытую модульную систему, для которой характерна возможность добавления и удаления ее компонентов (АРМ). Это важно, потому что при разработке БУИС добавляемые со временем модули не должны вызывать перестройку всей системы. Сопоставимость информации различных АРМ обеспечивается за счет создания единого фонда нормативно-справочной информации (НСИ).
В зависимости от используемых средств организационной или вычислительной техники обмен информацией между отдельными АРМ в БУИС может осуществляться двумя способами:
1) с помощью магнитных носителей (дисков);
2) по каналам связи при наличии сети, а также посредством электронного обмена данными через шлюзы модемной связи.
Первый способ обеспечивает ведение учета по отдельным участкам каждого уровня. Баланс формируется за отчетный период путем слияния данных, получаемых на различных участках (файлов проводок).
Второй способ наряду с ведением бухгалтерского учета по всем участкам позволяет получать оперативную информацию о текущем состоянии дел на предприятии. При таком способе обработки учетных данных удаленные АРМ, находящиеся на первом уровне (первичный учет), связаны с АРМ второго уровня (управленческий учет) электронной почтой через модемы. АРМ второго и третьего (финансовый учет) уровней взаимодействуют в сети через каналы связи. Единицей обмена данными между АРМ служит файл, состоящий из множества проводок. В процессе такого обмена результирующие файлы обновляются непрерывно по мере совершения хозяйственных операций. Таким образом, каждый уровень предусматривает переработку исходной информации , получение результирующих данных и в автоматизированном режиме передачу их на более высокий уровень.
На первом уровне (первичный учет) с помощью АРМ работников, ведущих первичный учет, выполняются сбор, регистрация, накопление и частичная обработка первичной информации, возникающей в производственно-хозяйственных подразделениях предприятия (цехах, складах, подразделениях). На этом уровне функционируют АРМ по учету материальных ценностей, ведению табельного учета и учету готовой продукции на складе.
Полученные на каждом участке результирующие данные на основе модемной связи поступают на второй уровень- управленческий учет, который характеризуется трудоемкими ручными операциями, а также большими объемами учетных номенклатур. На этом уровне данные первичных документов и информация, полученная по электронной почте с нижнего уровня, регистрируются и группируются в системе синтетических и аналитических счетов. Для этого сведения об остатках хозяйственных средств и их источниках, а также данные текущих хозяйственных операций отражаются в различных учетных регистрах. На втором уровне функционирует группа АРМБ (по учету материальных ценностей, основных средств и нематериальных активов, труда и заработной платы, финансово-расчетных операций, готовой продукции и ее реализации, затрат на производство). Она формирует результирующие данные, отражающие все хозяйственные операции предприятия в стоимостной оценке, в виде файлов бухгалтерских проводок.
Эта информация передается на более высокий третий уровень обработки данных - финансовый учет, где организуются АРМ сводного учета, финансового анализа и планирования, а также внутреннего аудита.
С помощью АРМ сводного учета на основе данных аналитического и синтетического учета, поступающих по каналам связи с нижних уровней, формируются Главная книга, бухгалтерский баланс, отчет о финансовых результатах и другие учетные регистры синтетического и аналитического учета.
АРМ финансового анализа и планирования обеспечивает финансовый анализ и планирование, позволяющие формировать аналитическую информацию для принятия решений, а также предоставлять руководству оперативную информацию. К такой информации относятся показатели себестоимости, прибыли, состояние расчетного и других счетов, дебиторской и кредиторской задолженности, различные экономические показатели, динамика их движения в виде таблиц и графических диаграмм, результаты анализа, прогнозы, сведения о сотрудниках. Вся эта информация может быть получена по запросу в любой момент времени.
АРМ внутреннего аудитора позволяет отслеживать изменения в системе бухгалтерских стандартов, анализировать хозяйственную ситуацию и законодательство, вырабатывать предложения по учетной политике, регулированию издержек и рациональному построению инвестиционной политики, осуществлять налоговое планирование.
В целом данные финансового учета используются в планировании и прогнозировании экономики предприятия, в финансовом менеджменте, в экономическом анализе всей информации предприятия.
В результате функционирования такой БУИС формируются объективные данные, которые необходимы руководству для принятия решений. Эти решения влияют на сохранение финансового равновесия, на выбор наиболее эффективных направлений производственной и коммерческой деятельности для получения стабильной прибыли -и рентабельности в условиях рынка. На крупном предприятии обработка учетной информации ведется на трех уровнях с помощью АРМ учетных работников.
Фонд НСИ обеспечивает сопоставимость данных, поступающих от различных АРМ. Единицей обмена информацией между ними служит группа проводок
При создании БУИС на небольших предприятиях использование ПЭВМ позволяет, автоматизировать все процедуры по обработке информации на рабочем месте бухгалтера.
Существует несколько подходов к автоматизации бухгалтерского учета при создании таких БУИС. Это связано с тем, что небольшие предприятия с простой и слаборазвитой структурой не требуют ведения управленческого учета как отдельной подсистемы.
При первом подходе создается система, автоматизирующая только финансовый учет. Такую БУИС относят к классу мини-бухгалтерий. Как правило, бухгалтерский учет в этой системе ведется одним чело- . веком - бухгалтером.
При втором подходе кроме финансового учета частично автоматизируется управленческий учет. В этом случае бухгалтерский учет ведут два человека (бухгалтер и его помощник) либо на одном рабочем месте путем разграничения доступа, либо на двух рабочих местах.
Автоматизация финансового и управленческого учета достигается при третьем подходе. В такой системе при значительных объемах обрабатываемой информации используется многопользовательский режим. Несколько компьютеров объединяются в локальную сеть, а каждый из компьютеров рассматривается как отдельное рабочее место бухгалтера.
Выбор подхода зависит от типа предприятия и его размеров.
В отличие от крупных предприятий на небольших предприятиях основное внимание уделяется ведению финансового учета, который по трудоемкости и значимости занимает главное место. Он направлен на обобщение и синтез учетной информации.
Ведение же учета по отдельным участкам, например, таким, как учет труда и заработной платы, учет готовой продукции и ее реализации, учет основных средств и нематериальных активов, учет материальных ценностей, сводный учет и др., осуществляется посредством применения отдельных программных модулей (блоков). С использованием принципа конструирования создается единый программный комплекс, который ориентирован на пользователя-бухгалтера и охватывает все рутинные и трудоемкие учетные работы. Основная роль бухгалтера в этих условиях сводится к правильности оформления хозяйственных операций, принятию решений, анализу и контролю правильности формирования отчетной документации. Работа бухгалтера становится более рациональной, ПЭВМ превращается в главный инструмент его деятельности.
Программный комплекс для автоматизации бухгалтерского учета на малых и средних предприятиях, охватывающий финансовый и управленческий учет, состоит из двух модулей (рис. 3).

Рис. 3. Структура программного комплекса автоматизации бухгалтерского учета на малых и средних предприятиях.
Модуль управленческого учета позволяет вести учет в суммовом и количественном выражении для участков учета основных средств и нематериальных активов, учета товарно-материальных ценностей (ТМЦ) и МБП, учета готовой продукции (товаров - для торговых предприятий), расчетов по оплате труда. Набор этих участков можно менять исходя из потребностей пользователей.
Основными учетными регистрами данного модуля являются аналитические регистры по участкам учета - журнал учета первичных документов, журнал учета товарно-материальных ценностей, журнал учета хозяйственных операций.
Модуль финансового учета позволяет вести учет по всем счетам бухгалтерского учета. Основными его учетными регистрами являются аналитические регистры (журнал первичных документов, журнал хозяйственных операций) и регистры сводного учета (Главная книга, оборотные ведомости).
Связь между модулями осуществляется через Журнал хозяйственных операций.
Работа с программным комплексом (рис. 4) начинается с заполнения справочников. Это делается для настройки комплекса на ведение учета на конкретном предприятии.
По назначению все справочники разделены на пять групп.
• Справочники общего назначения:
наименования документов (SPRDOK);
предприятия (SPRPR);
услуги по счету—услуги связи, транспортные услуги и др. (SPRUS).
• Справочники, связанные с учетными журналами ТМЦ:
товарно-материальные ценности (SPRM);
единицы измерения (SPRED);
операции движения (SPROP).
• Справочники, связанные с бухгалтерскими проводками:
план - счетов бухгалтерского учета (SPRCH);
бухгалтерские проводки (SPRPROV);
группы проводок (SPRGR);
налоги (SPRNAL).
• Справочники, связанные с аналитическим учетом:
объекты предприятия (SPROB);
подразделения (SPRPOD);
коды аналитического учета (SPRAN).
• Справочники, связанные с курсами валют (SPRVAL).
По структуре построения справочники делятся на простые и сложные.
Простые справочники имеют стандартную структуру: код, наименование, дополнительные признаки (наименование документа, единицы измерения, услуги по счету, операции движения).
Сложные справочники включают в себя два и более уровней вложенности данных. Это делается для того, чтобы облегчить работу с объемными справочниками, большое количество записей которых невозможно разместить на экране.
Так, двухуровневый справочник План счетов бухгалтерского учета состоит из девяти разделов (в соответствии с планом счетов). Каждый раздел содержит соответствующий счет. Количество записей в разделах - около 20. Их целиком можно вывести на экран.
Трехуровневый справочник также состоит из разделов, каждый из которых содержит подразделы. Примером трехуровневого справочника является справочник проводок, состоящий из уровней разделов счетов, счетов и проводок по каждому счету.
Исходная информация вводится в базу из первичных документов. Для автоматизации используются следующие стандартные первичные документы по учету:
• движения материальных ценностей (приходный ордер, приемный акт, накладная, акт на списание, требование, лимитная карта);

Рис. 4. Схема данных автоматизированного ведения бухгалтерского учета на предприятиях малого и среднего бизнеса.
• финансово-расчетных операций (платежное поручение (ПП), платежное требование-поручение (ПТП), приходный и расходный кассовые ордера (ПКО и РКО) и др.);
• основных средств (инвентарная карточка учета основных средств, акт приема-передачи, акт на ликвидацию основных средств, накладная на внутреннее перемещение);
• труда и заработной платы (табель учета рабочего времени, наряд на сдельную работу, рапорт о выработке);
• готовой продукции (товаров) - акт, приходный ордер, приказ-накладная, приемо-сдаточная накладная, карточка складского учета, договор поставки и другие документы.
На основании информации первичных документов формируются файлы оперативной информации, в которые автоматически заносится информация соответствующих справочников.
Такое использование справочников ускоряет ввод информации в базу данных, повышает ее точность и достоверность.
Основным файлом оперативной информации является Журнал первичных документов (GLJPD). В него заносится информация первичных документов, по которым совершены хозяйственные операции. К учету принимаются документы, составленные по установленной форме и имеющие шесть основных реквизитов (наименование документа, номер документа, дата выписки документа, наименование предприятия, оформлявшего документ, сумма операций, дата совершения хозяйственной операции по документу).
Если указаны первые пять реквизитов документа, то документ считается зарегистрированным, но по нему нельзя оформлять проводки в Журнал учета хозяйственных операций (GUHO). Это можно сделать, когда будут заполнены все шесть перечисленных выше реквизитов документа. В этом случае документ имеет юридическую силу и может быть отражен в бухгалтерии предприятия. Таким образом, основой всех учетных процедур является первичный документ, а не проводка. Главным преимуществом такого подхода является большая естественность работы с исходной информацией. Пользователь заполняет лишь поля экранной формы, соответствующие макету документа, а программа выполняет контировку. Это упрощает процедуру ввода исходной информации, сокращает число ошибок за счет облегчения визуального контроля вводимых данных.
Файл GUPD включает следующие реквизиты:
• наименование документа;
• предприятие;
• дата операции;
• сумма;
• название группы проводок;
• комментарии;
• операция движения.
На основании файла GUPD формируются файлы оперативной информации по участкам учета - журналы учета товарно-материальных ценностей:
• материалов (GUM);
• МБП (GUMBP);
• основных средств (GUOS);
• готовой продукции (товаров) (GUTP);
• хозяйственных операций (GUHO).
На основе информации этих файлов ведутся суммовой и количественный учет материальных ценностей по местам хранения ( на складе ) или по местам нахождения (в производстве), учет основных средств и нематериальных активов, учет готовой продукции (товаров) и се реализации.
Файл GUM включает следующие реквизиты:
• наименование документа;
• номер документа;
• сумма операции;
• предприятие;
• дата операции;
• операция движения;
• наименование товарно-материальной ценности;
• тип;
• номенклатурный номер;
• приход (объект и подразделение, счет/субсчет);
• расход (объект и подразделение, счет/субсчет);
• единица измерения;
• количество;
• цена:
• добавочная стоимость (наценка);
• сумма.
Файл GUMBP имеет аналогичные реквизиты. Но МБП начисляется износ. В системе предусмотрены два способа погашения стоимости МБП в эксплуатации:
• путем начисления износа в размере 50% от стоимости при передаче их в эксплуатацию и в размере остальных 50% при выбытии за непригодностью;
• путем начисления 100% износа при передаче МБП в эксплуатацию.
Износ по МБП в зависимости, от учетной политики предприятия можно получить в ведомости аналитического учета, сформированной на основании файла GUMBP .
Файл GUOS содержит такие же реквизиты, как и файл GUM, а также дополнительные реквизиты:
• дата ввода в эксплуатацию;
• инвентарный номер ( приход, расход);
• процент амортизации (годовой);
• дата установки процента амортизации;
• износ;
• начальный пробег;
• конечный пробег.
В файл GUTP поступает информация о товарах, приобретенных предприятием для продажи, и о готовой продукции, предназначенной для реализации. В файле содержатся такие же реквизиты, как и в файле GUM. Кроме того, появляется еще один реквизит - учет по цене (покупки или продажи).
Журналы учета товарно-материальных ценностей связаны с файлом GUPD и с файлом GUHO. Они могут формироваться либо на основании GUPD, либо на основании файла GUHO. Файл GUHO является вторым по значимости после файла GUPD. В нем хранятся данные всех хозяйственных операций, отражающих деятельность предприятия. Новые данные в файл GUHO вводятся на основании файла GUPD. Файл GUHO состоит из следующих реквизитов:
• наименование документа;
• номер документа;
• дата:
• сумма:
• предприятие;
• дата операции;
• наименование операции;
• счет (дебет, кредит);
• код аналитического учета
• валюта;
• сумма в валюте;
• сумма в рублях.
Первичные документы - ПП, ПТП, ПКО, РКО, счета и товарно-транспортные накладные - используются для формирования следующих файлов оперативной информации:
• Журнал регистрации платежных поручений (GRPP);
• Журнал регистрации платежных требований-поручений (GRPTP);
• Журнал регистрации приходных кассовых ордеров (GRPKO);
• Журнал регистрации расходных кассовых ордеров (GRRKO);
• Журнал регистрации счетов на оплату (GRCH);
• Журнал регистрации товарно-транспортных накладных (GRTTN). Файл GRPP содержит следующие реквизиты:
• плательщик;
• банк плательщика;
• код межфилиальных оборотов (МФО) и код участника . дебетовый счет (расчетный счет);
• дата;
• номер платежного поручения;
• получатель (краткое и полное название предприятия);
• банк получателя;
• код (МФО и код участника);
• счет (расчетный счет получателя, корреспондентский счет);
• комментарий (назначение платежа);
• номер (название муниципального округа или регистрационный номер в налоговой инспекции);
• код (плательщика, получателя);
• дата услуг;
• срок платежа;
• корреспондентский счет (при выполнении одиночной проводки);
• группа проводок;
• дата исполнения.
Файл GRPTP содержит аналогичные реквизиты.
Файлы GRPKO и GRRKO имеют одинаковую структуру входят следующие реквизиты:
• дата;
• номер документа:
• сумма;
• принято от (выдать для расходного кассового ордера);
• основание;
• приложение;
• корреспондентский счет;
• шифр аналитического учета;
• шифр;
• группа проводок;
• предприятие (от которого поступили деньги).
На основании данных файлов GRPP, GRPTP, GRPKO, GRRKO формируются программным путем следующие платежные документы: ПП, ПТП, ПКО, РКО. И после того как по документу проведена хозяйственная операция, ее отражают в учете путем совершения бухгалтерской проводки. Это выполняется либо путем ввода информации первичного документа в файл GUPD и далее в файл GUHO, либо путем передачи информации из файла Журнал регистрации первичных документов в файл GUHO. Таким образом, хозяйственная операция отражается в учёте только после формирования первичного документа и его утверждения. При таком подходе в базе данных программного комплекса хранятся и первичные документы, и соответствующие им проводки. Имеет место определенная избыточность в объемах хранимой информации, однако технология работы с программой упрощается и полностью снимаются проблемы, связанные с установлением статуса документов.
Файлы GRCH и GRTTN предназначены для формирования счетов и товарно-транспортных накладных соответственно и вывода их на печать.
Файл GRCH содержит следующие реквизиты:
• счет N;
• дата;
• плательщик (адрес, код участника, МФО банка, корреспондентский счет, расчетный счет);
• предмет счета (услуги по счету, материалы, МБП, товары и др.);
• единица измерения;
• количество;
• цена;
• сумма;
• итого;
• дата подтверждения;
• дата оплаты.
Все счета делятся на четыре группы:
• выписанные;
• подтвержденные;
• оплаченные;
• просроченные.
К выписанным относятся все счета. К подтвержденным - счета, которые фактически не оплачены, но плательщики подтвердили намерение их оплатить. Оплаченные счета — это счета, по которым прошла оплата. К просроченным относят счета, все сроки оплаты которых уже прошли.
Файл GRTTN включает реквизиты:
• от кого (реквизиты предприятия);
• накладная N;
• дата;
• кому (предприятие, корреспондент):
• наименование;
• единица измерения;
• количество;
• цена;
• сумма;
• итого.
Сформированные из первичных документов файлы оперативной информации являются основой для обработки всей учетной информации на ПВМ. Данные этих файлов используются для формирования регистров аналитического учета (аналитические ведомости по Журналу учета хозяйственных операций в стоимостном выражении, аналитические ведомости по журналам учета товарно-материальных ценностей в стоимостном выражении). На основании данных массива GUHO формируются регистры сводного учета: Главная книга, сводная оборотная ведомость, сводная валютная ведомость, приведенная валютная ведомость, кассовая книга.
Регистры аналитического учета представляют собой нестандартные ведомости программного комплекса. Их настраивает сам пользователь. Настройка заключается в указании полей в учетных журналах и последовательном их использовании при формировании ведомости.
Аналитические ведомости формируются по:
• дебиторам и кредиторам;
• покупателям и заказчикам;
• поставщикам и подрядчикам;
• подотчетным лицам;
• видам затрат на производство;
• местам возникновения затрат;
• видам выпускаемой продукции, работ, услуг;
• статьям прибылей и убытков и др.
Регистры синтетического учета - это стандартные ведомости синтетического учета, способ формирования которых изменить нельзя.
Регистры сводного учета - сводные оборотные ведомости по счетам, в которых сводятся и обобщаются остатки и обороты по отдельному счету (табл. 2) или по всем счетам за отчетный период (табл. 3).
Таблица 2.
Сводная оборотная ведомость по счету __ за ____ 19 __ г.
|
Реквизиты первичного документа |
Сумма проводки |
||||||
|
Дата документа |
документ |
номер документа |
дата операции |
Сумма по дебет |
сумма по кредиту |
корреспондентский счет проводки |
название операции |
|
Оборот |
|||||||
|
Конечное сальдо |
Таблица 3.
Сводная оборотная ведомость за____19__г.
|
Счет (субсчет) |
Начальное сальдо |
Обороты |
Конечное сальдо |
|||
|
Дебет |
Кредит |
Дебет |
Кредит |
Дебет |
Кредит |
|
|
Итог |
||||||
|
Свернуто |
х
ц
5 .
1 О.
с х
Е
§ &
S
х
1
Св ^-
U
^
S 3
^
s s
Ш
1
ев
и
и
i
S о
ВС
& s.
с
(4 ^ О
S
t-(
1
et
U1
^
u
A.
Сводная оборотная ведомость по субсчетам аналогична Сводной оборотной ведомости по счетам. Отличие заключается в том, что для счетов, имеющих субсчета, сначала формируется Сводная ведомость по счету в разрезе субсчетов с указанием сальдо и развернутых оборотов по каждому субсчету, а затем формируется Сводная оборотная ведомость по выбранному субсчету с указанием списка хозяйственных операций.
Главная книга аналогична оборотной ведомости по счету, однако в отличие от нее содержит обороты по счету, свернутые по корреспондирующим счетам. Главная книга бухгалтерского учета содержит по каждому корреспондирующему счету:
• начальное сальдо (дебет, кредит);
• конечное сальдо (дебет, кредит);
• развернутые обороты за выбранный период в корреспонденции с другими счетами (дебет, кредит).
Баланс предприятия можно сформировать по любой сводной оборотной ведомости. Сводная валютная ведомость - сводная оборотная ведомость по всем валютным счетам — формируется только для одной выбранной валюты.
Приведенная валютная ведомость - сводная оборотная ведомость, приведенная к одной выбранной валюте.
Кассовая книга формируется из файла GUHO. Она составляется каждый день в виде установленной для кассовой книги формы.
Главное меню программного комплекса по автоматизации бухгалтерского учета на малых и средних предприятиях состоит их пяти основных функций:
• Учетные журналы;
• Справочники;
• Ведомости;
• Настройка;
• Сервис.
Дерево диалога данного комплекса представлено на рис. 5.
Функция Учетные журналы включает следующие режимы:
• Хозяйственные операции;
• Материалы;
• МБП;
• Товары;
Основные средства . Регистрация ПП;
• Регистрация ПТП;
• Регистрация РКО;
• Регистрация ПКО;
• Регистрация счетов;
• Регистрация накладных;

Рис.19. Дерево диалога программного комплекса автоматизации бухгалтерского учета на малых и средних предприятиях.
В режимах Хозяйственные операции, Материалы, МБП, Товары, Основные средства из первичных документов заполняются Журнал первичных документов, учетные журналы ТМЦ и Журнал хозяйственных операций.
Сначала оформляется первичный документ в Журнале первичных документов, а затем оформляются либо проводки в Журнале хозяйственных операций, либо записи движения ТМЦ в учетных журналах ТМЦ.
В режимах Регистрация ПП, Регистрация ПТП, Регистрация РКО, Регистрация ПКО, Регистрация счетов. Регистрация накладных выполняется заполнение журналов регистрации соответствующих первичных документов. В этих режимах можно просмотреть любой журнал, а также документы, по которым не было проводок в Журнал хозяйственных операций. По желанию можно распечатать любой первичный документ на принтере. Кроме того, в режиме Регистрация счетов можно проконтролировать счета на оплату.
Функция Справочники включает следующие режимы:
• Предприятия;
• Услуги по счету;
• Наименование документа;
• Товарно-материальные ценности;
• Единицы измерения;
• Операции движения;
• План счетов;
• Бухгалтерские проводки:
• Группы проводок;
• Налоги;
Коды аналитического учета;
• Объекты предприятия;
• Подразделения;
• Курс валюты,
Данная функция позволяет заполнить любые справочники, задействованные в программе, и тем самым настроить программный комплекс на ведение бухгалтерского учета на конкретном предприятии. Каждый режим . соответствует отдельному справочнику. Справочники можно заполнять, просматривать и выводить на печать.
Функция Ведомости позволяет формировать различные ведомости и отчеты. Она содержит следующие режимы:
• Главная книга;
• Сводная оборотная;
• Сводная по счетам;
• Сводная валютная;
• Приведенная валютная;
• Кассовая книга;
• Ведомость-диаграмма;
• Аналитическая.
Для формирования любой ведомости или отчета 'следует выбрать соответствующий режим и указать период, за который необходимо сформировать отчетный документ.
Функция Настройка предназначена для индивидуальной настройки программного комплекса на учетную политику конкретного предприятия. Функция включает режимы:
• Выбор работы (тип предприятия, обучающий режим);
• Звуковые сигналы (настройка звуковых сигналов или речевых сообщений во время работы программы);
• Принтер, формат листа (настройка на определенный тип принтера и установка параметров печати);
• Дата и время (настройка внутренних часов и календаря компьютера);
• Рабочий период (установка отчетного периода, за который формируются ведомости);
• Проверки (настройка различных проверок при работе программы, контроль наличия вводимых данных в справочнике, антивирусная проверка и др.);
• Подтверждение (установка запросов для подтверждения, например, при удалении записи, группы записей, последней записи и др.);
• Время сохранения экрана (установка времени, через которое гаснет экран);
• Порт модема (установка номера порта с модемом для автодозвона из справочников предприятия);
• Прочие установки (установка формата чисел при печати платежных документов; кодирование данных при окончании работы с программой;
запрос периода при формировании ведомостей и др.).
Функция Сервис служит для облегчения работы пользователя с программным комплексом и включает основные режимы:
• Общая информация (позволяет получить информацию о типе предприятия, с которым работает пользователь, о свободном месте на диске и в оперативной памяти, о рабочем периоде и др.);
• Помощь (позволяет пользователю получить конкретную справку по возникшей в процессе работы проблеме);
• Визитная карточка изготовителя (дает информацию о фирме-изготовителе: название, адрес, телефон, номер версии программы);
• Восстановление базы (служит для восстановления архива с дискеты на жесткий диск ЭВМ);
• Проверка баз (позволяет проверить корректность файлов на жестком диске);
• Формирование первичных документов (формирует Журнал первичных документов на основании учетных журналов ТМЦ);
• Закрытие учетного периода (позволяет автоматически рассчитывать остатки по счетам при переходе на следующий отчетный период);
• Отмена закрытия периода (отменяет ранее выполненную операцию по закрытию отчетного периода);
• Просмотр файла (обеспечивает возможность просмотра любого текстового файла);
• Калькулятор (позволяет вызвать встроенный калькулятор для выполнения вычислений);
• Изменение реквизита (дает возможность пользователю изменить или задать новые банковские реквизиты предприятия и пароль);
• Сохранение базы (позволяет сохранить данные учетных журналов на архивной дискете);
• Выход (обеспечивает завершение работы с программой).
При создании БУИС на небольших предприятиях основное внимание уделяется финансовому учету. Главным учетным регистрам подобных БУИС является Журнал хозяйственных операций. Настройка системы ведения бухгалтерского учета конкретного предприятия осуществляется через функцию Справочники.
Банковские информационные системы (БИС).
Интегрированная БИС представляет собой единый программно-технологический комплекс, являющийся средством ускорения освоения, возвратности и сбалансированности ресурсов, контролируемых по заданным условиям финансирования и кредитования. Интегрированная БИС охватывает совокупность банковских задач не фрагментарно, а комплексно, отражая всю сложность их взаимосвязей. Это не совокупность разрозненных хорошо автоматизированных задач, а такой комплекс программ, которому присущи свойства сложной системы: сложность иерархической структуры; эмерджентность; множественность функциональных целей; динамичность в работе при обеспечении управления процессами, носящими стохастический (вероятностный) характер; многофункциональность. Поэтому при разработке интегрированных БИС требуется проанализировать большое количество влияющих на их структуру и содержание факторов: общие характеристики банка, ближние и дальние цели и стратегические направления его развития; особенности сложившейся структуры управления; общие принципы построения банковской технологии; ожидаемая архитектура системы и состав функций, подлежащих автоматизации; объем входной и выходной информации, количество входных документов; требования к информационной безопасности. На основе такого анализа и вырабатываются далее основополагающие принципы будущей системы.
Проектирование функциональной части ЭИС связано с решением стратегического вопроса о выборе критерия выделения ее подсистем - одной из проблем, которая существовала на протяжении всей истории автоматизации организационно-экономических объектов и осталась актуальной в настоящее время. Изучение структуры и функций любой системы основывается на ее анализе и дальнейшем синтезе. И если цель анализа -изучение закономерностей функционирования системы при существующей структуре, то задача синтеза - проектирование и подбор такой структуры, которая реализовывала бы заданные ей функции.
Из теории сложных систем известно, что всякую сложную систему можно разложить на некоторые подсистемы с различной глубиной детализации.
Традиционно под функциональной подсистемой понимается некоторая часть общей системы управления, выделенная в соответствии с общностью функциональных признаков управления.
Поскольку задачи управления, решаемые в банке, многоаспектные, при проектировании возникает проблема классификации признаков декомпозиции БИС. В качестве таких признаков можно выделить: функции, период и объект управления и др.
Функции управления из-за универсальности своего состава - один из наиболее распространенных признаков декомпозиции управленческих систем. Система управления банком, выполняя в целом функции, типичные для любых управленческих систем ( планирование, учет и контроль, анализ и регулирование), обладает особенностями их распределения между элементами управленческой структуры. Эти функции неразрывно связаны между собой и всегда носят целевой характер.
Учет и контроль в банке представлены операционным и бухгалтерским учетом, которые тесно связаны между собой, поскольку аналитический уровень отражен в банковском учете лицевыми счетами, а каждый лицевой счет находится под определенным балансовым. В связи с тем, что каждый рабочий день заканчивается формированием баланса, проводки, изменяющие состояние лицевых счетов, немедленно отражаются на синтетических счетах и и балансе. Статистический учет позволяет собрать сведения об изменении отдельных показателей за длительный период.
Анализ представляет собой функцию управления, которая позволяет распознать сложившуюся экономическую ситуацию как внутри, так и вне банка. В крупных банках существуют два независимых отдела, один из которых обеспечивает анализ внутреннего состояния банка, а другой анализирует внешнюю среду.
Планирование, основываясь на данных анализа, подготавливает возможные решения для выхода из сложившейся ситуации и достижения поставленных целей. При этом планирование внешних взаимодействий и планирование внутреннего состояния банка взаимосвязаны, хотя структурно они разделены и реализуются частично в процессе маркетинга (департамент маркетинга и развития банка), частично в отделе планирования (департамент экономического управления).
В реальных условиях разработки интегрированных БИС в качестве основного признака функция управления самостоятельно не используется, а лишь дополняет другие. Более распространенным признаком декомпозиции в практике является объект управления.
Подготовленные на этапе планирования решения реализуются в рамках функции регулирования.
В зависимости от уровня цели можно говорить о горизонтах управления. Существуют понятия стратегических и тактических целей. Оба эти понятия в известной мере условны, поскольку тактические цели, например, правления банка могут являться стратегическими для другого уровня управления, например кредитного отдела. Но тем не менее для банковской сферы можно разделить цели, а следовательно, и фазы управления по длительности периода управления на оперативные (один рабочий день), текущие (для Украины - месяц, квартал) и перспективные (для Украины - год). Таким образом, можно говорить об оперативном, текущем и статистическом учете, планировании и анализе. Однако следует отметить, что анализ не существует сам по себе и служит подготовительной фазой для планирования и информационно базируется на учетных данных, отражающих фактическое состояние системы.
Объектам управления в банке может служить как деятельность подразделения или одного сотрудника, так и отдельная банковская операция, состоящая из ряда технологических этапов.
Структура системы управления банком может быть организована разными способами, что зависит в значительной мере от размеров банка, числа видов оказываемых услуг, количества клиентов и операций, выполняемых банком.
Наиболее простая структура управления линейная, когда правлению банка непосредственно подчинены отделы. Это дает возможность обеспечить эффективное прямое управление банком и очевидную, ясную и обозримую структуру. При этом основная управленческая нагрузка предполагает разделение функций управления между правлением и руководителями подразделений.
Более сложной является штабная организация, при которой правлению подчинены департаменты, объединяющие отделы по принципу однотипности выполняемых управленческих функций. Например, департамент маркетинга, департамент валютных операций и др. Разделение управленческих функций между штабами происходит на верхнем уровне. При такой организации появляется возможность, с одной стороны, распределить управленческие проблемы между большим числом специалистов, с другой стороны, углубить специализацию сотрудников и , таким образом, повысить качество управления.
Еще более сложной является линейно-штабная управленческая структура, при которой отделы, обеспечивающие выполнение депозитных, кредитных, инвестиционных и других операций, подчинены управлениям промежуточного уровня, обслуживающим различные группы юридических и физических лиц, которые сами могут устанавливать свои локальные цели, подчиненные, однако, глобальным управленческим целям банка. К последним могут относиться:. получение максимального дохода при допустимом риске, повышение собственной ликвидности и др. В то же время при такой структуре могут сохраняться элементы управления, выделенные по принципу однотипности выполняемых управленческих функций. Такая система организации усложняет и удорожает управление, но повышает уровень его качества.
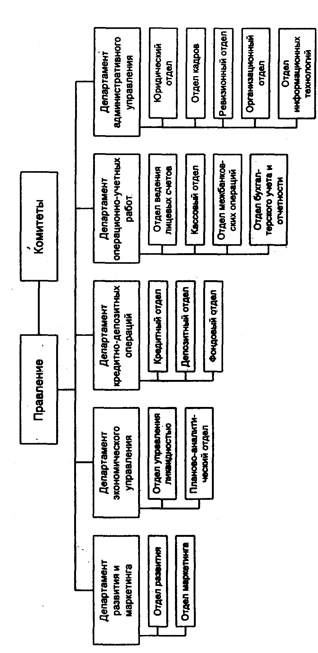
В Украине разнообразие управленческих структур в различных коммерческих банках обусловлено прежде всего продолжающимся их развитием и становлением. Примером структуры управления КБ может служить структура, представленная на рис. 5.1.
Правление КБ является высшим органом банка, который осуществляет стратегическое управление: определяет траекторные цели и политику банка на основе данных экономического анализа и данных бухгалтерской отчетности; доводит их до департаментов для дальнейшей детализации и исполнения соответствующим отделам; осуществляет общий контроль проводимой банком политики, пересматривает ее при изменении экономической ситуации, а также контролирует состояние банковского портфеля. Правление создает комитеты, которые обеспечивают поддержку стратегического руководства банком, координируют работу различных отделов системы управления. В зависимости от величины банка и его потребностей в Украине, как правило, создаются комитеты, возглавляемые членами правления: кредитный, ревизионный, исполнительный, доверительных операций и др.
Кредитный комитет дает заключения по всем случаям кредитования или превышения установленных лимитов, а также по их определению. Он вырабатывает рекомендации по величине ссудных процентных ставок и структуре кредитов по срокам и видам.
Ревизионный комитет обеспечивает регулярные внутренние аудиторские проверки либо своими силами; либо с привлечением внешних аудиторов.
Исполнительный комитет обеспечивает проведение экономического анализа (выполнение целей банка, прибыльности, ликвидности и др.), оценку деятельности банка, в процессе которой анализируются основные экономические показатели и отслеживается выполнение траекторных целей.
В банках с большим числом доверительных операций может создаваться комитет доверительных операций.
Департамент развития и маркетинга банка, как правило, включает два отдела.
Отдел развития обеспечивает анализ внешней ситуации и, согласовав его с оценкой внутренней ситуации в банке, подготавливает возможные направления политики банка и продвижения его услуг на рынок. Эти решения должны согласовываться с генеральными целями, утвержденными правлением банка.
Отдел маркетинга осуществляет оценку конъюнктуры рынка банковских услуг, анализирует соответствие номенклатуры, качества и цены собственных услуг уровню рынка, продвигает свои услуги на рынок, вырабатывая для этого рекламную политику. Этот отдел обеспечивает связь с клиентурой и с общественностью. В развитом обществе существенным является не только объем и качество оказываемых услуг, но и соответствие принятым нормам (поддержка науки, искусства, внимание к окружающей среде). Отдел, с одной стороны, информирует руководство банка обо всех важных событиях вне банка, с другой стороны, объясняет общественности цели банка, его стратегию.
Департамент экономического управления обеспечивает тактическое управление и включает планово-аналитический отдел и отдел управления ликвидностью. Тактический уровень управления необходим для детализации стратегических целей до уровня мероприятий и отслеживания их в дальнейшем как целей, носящих траекторный характер.

Рис. 6 Организационная структура коммерческого банка.
Отдел управления ликвидностью осуществляет расчет показателей ликвидности банка, их факторный анализ и ежедневный контроль.
Планово-аналитический отдел, изучая внутренние банковские показатели, устанавливает планы сбыта (например, число открываемых новых счетов), финансовый план, планирует внутренние мероприятия. Отдел рассчитывает ожидаемую сумму пассивов и решает задачу их эффективного размещения. Проводятся анализ структуры активов и пассивов банка по группам и оценка эффективности соотношения между ними. При этом должно соблюдаться «золотое правило»: длинные кредиты должны покрываться длинными депозитами и т.д.
Департамент кредитив - депозитных операций включает кредитный, депозитный и фондовый отделы.
Кредитный и фондовый отделы дополняют друг друга, не только выполняя принятую стратегию банка в кредитной и инвестиционной политике, но и оперативно реагируя на требования, выдвигаемые сложившейся экономической ситуацией на рынке капитала. Например, в период экономического роста объем ссуд увеличивается, а портфель ценных бумаг сокращается; в периоды низкого спроса на ссуды картина меняется.
Функции кредитного и депозитного отделов, несмотря на принципиально разное содержание их операций, по форме очень близки. Сходство функций выражается в необходимости выполнения весьма трудоемких работ по проверке и соблюдению целого ряда формально-правовых принципов кредитования, которые должны соблюдаться как кредиторами, так и заемщиками. Отличие обусловливается тем, кто является ссудозаемщиком, а кто кредитором, - банк или клиент. В любом случае, как и при выполнении большинства услуг банка, взаимоотношения клиента и банка регулируются договором, который они заключают. Проверка кредитоспособности является предпосылкой для всех других действий банка по отношению к ссудозаемщику, т.е. осуществляются анализ возможности обеспечения выплаты кредита и своевременность взносов, процентов и других платежей физическим и юридическим лицом. Эта проверка требует анализа баланса заемщика, ликвидности залога, ежегодного финансового отчета и ряда других регистров, содержащих показатели работы предприятия.
Департамент операционно-учетных работ (ОУР) реализует весь комплекс задач по открытию и закрытию лицевых счетов, выполнению кассовых операций, ведению лицевых счетов, выполнению расчетов по поручению каждого клиента, ведению межбанковских операций, ведению бухгалтерского учета на синтетическом уровне и составлению отчетности, которая используется как самим банком (ревизия и контроллинг), так и учреждениями внешней среды (вышестоящие, налоговые и другие органы). Этот департамент выполняет следующие функции:
• расчет и распределение доходов и налогов между бюджетами;
• учет расчетно-платежных документов до наступления срока платежа и не оплаченных в срок;
• обеспечение правильных и своевременных расчетов между клиентами;
• начисление и списание процентов по текущим и расчетным счетам;
• учет ценностей и документов на внебалансовых счетах;
• учет срочных обязательств по ссудам;
• депонирование средств для выдачи чековых книжек, аккредитивов и акцептов платежных поручений;
• организация и контроль операций межфилиального оборота; .
• составление баланса.
реализация этих функций поддерживается работой соответствующих отделов.
Операционный и бухгалтерский учет в банке взаимосвязаны гораздо более тесно, чем на промышленном предприятии, что обусловлено ежедневным составлением баланса и необходимостью поддержания в актуальном состоянии всех аналитических (лицевых) счетов. Назначение комплекса учетно-операционных работ:
• формирование полной информации о финансовом состоянии клиентов в реальном масштабе времени;
• ведение аналитического и синтетического учета по всем банковским операциям.
Департамент административного управления обеспечивает работу отделов, создаваемых при дирекции (юридический отдел, отдел кадров, ревизионный и организационный отделы), и хозяйственно-управленческих отделов (отдел информационных технологий и др.), которые входят в обычный состав управленческой структуры любого предприятия и в данной работе не рассматриваются.
В случае, если банк начинает выполнять новые операции (факторинговые, лизинговые, трастовые и др.), приведенная структура управления может быть соответствующим образом скорректирована.
Состав операций, осуществляемых банком на рынке услуг, достаточно сильно влияет на структуру управления банком.
Важнейшей функцией деятельности банка является привлечение средств из внешней среды и размещение их с максимальной доходностью и допустимым риском. При размещении временно свободных средств банк должен выполнять ряд требований, которые обеспечивали бы соблюдение необходимых нормативов, определенных НБУ и гарантирующих его , ликвидность.
Одна из особенностей украинских коммерческих банков заключается в том, что их деятельность, несмотря на формальную специализацию, носит в большинстве случаев универсальный характер. Это определяет в целом схожесть палитры услуг, а также определяет выбор структуры управления банком. Итак, банк - коммерческое учреждение, являющееся юридическим лицом, которому в соответствии с Законом о банках и на основании лицензии (разрешения), выдаваемой Центральным банком РФ, предоставлено право привлекать денежные средства от юридических и физических лиц и от своего имени размещать их на условиях возвратности, платности и срочности, а также осуществлять иные банковские операции. Таким образом, функции банка заключаются в аккумуляции временно свободных средств и размещении их оптимальным образом, а также в содействии платежному обороту и трансформации рисков. Аккумуляция временно свободных средств предполагает привлечение вкладов всех видов (депозитов - срочных и до востребования, сберегательных вкладов) и выпуск ценных бумаг (акций, облигаций и др.). Размещение средств в кредиты зависит от периода и способов кредитования (по договору, через покупку долговых обязательств, через принятие ответственности перед третьим лицом - гарантийный либо акцептный кредит). Последний способ фактически реализует трансформацию риска. Содействие платежам -выполнение платежных операций клиента, оплата переводов, чеков, векселей и других документов. Кроме того, банк выполняет операции по покупке и продаже валюты и фондовых ценностей, размещению акций и облигаций, хранению ценных бумаг.
Для удобства дальнейшего изложения материала воспользуемся следующей классификацией банковских операций. Активные операции, помимо кассовых, включают: 1) кредиты клиентам; 2) кредиты другим банкам; 3) депозиты в других банках. Пассивные операции содержат: 4) депозиты клиентов; 5) депозиты банков; 6) кредиты банков (в том числе Центрального). При этом операции 1,2 и 6 относятся к ссудным, а операции 3, 4, 5 - к депозитным. Размещение средств на резервном счете в ЦБ РФ и размещение средств на корреспондентских счетах в других банках являются также депозитными операциями. В то же время операции 1,2 и 6 могут быть классифицированы на краткосрочные, среднесрочные, долгосрочные и онкольные.
В соответствии со законом «О банках и банковской деятельности» за банками закреплено право производить следующие операции и сделки:
1) привлечение денежных средств физических и юридических лиц во вклады (до востребования и на определенный срок);
2) размещение указанных в п. 1 части первой настоящей статьи .привлеченных средств от своего имени и за свой счет;
3) открытие и ведение банковских счетов физических и юридических лиц;
4) осуществление расчетов по поручению физических и юридических лиц, в том числе банков-корреспондентов по их банковским счетам;
5) инкассация денежных средств, векселей, платежных и расчетных документов и кассовое обслуживание физических и юридических лиц;
6) купля-продажа иностранной валюты в наличной и безналичной формах;
7) привлечение во вклады и размещение драгоценных металлов;
8) выдача банковских гарантий.
Кредитная организация помимо перечисленных в части первой настоящей статьи банковских операций вправе осуществлять следующие сделки:
1) выдачу поручительств за третьих лиц, предусматривающих исполнение обязательств в денежной форме;
2) приобретение права пользования от третьих лиц исполнения обязательств в денежной форме;
3) доверительное управление денежными средствами и иным имуществом по договору с физическими и юридическими лицами;
4) осуществление операций с драгоценными металлами и драгоценными камнями в соответствии с законодательством Украины;
5) предоставление в аренду физическим и юридическим лицам специальных помещений или находящихся в них сейфов для хранения документов и ценностей;
6) лизинговые операции;
7) оказание консультационных услуг.
Кредитная организация вправе совершать иные сделки в соответствии с законодательством Украины.
Все банковские операции и другие сделки производятся в рублях, а при наличии соответствующей лицензии НБУ — в иностранной валюте. Правила осуществления банковских операций, в том числе правила их материально-технического обеспечения, устанавливаются НБУ в соответствии с законами.
Кредитной организации запрещается заниматься производственной, торговой и страховой деятельностью.
В целом банковские услуги носят массовый характер и могут быть весьма разнообразны. Среди них: расчетно-кассовое обслуживание, открытие и ведение счетов, трастовые операции, срочные депозитные вклады, депозитные вклады с графиком расходования, депозитные сертификаты, сберегательные сертификаты, кредитование предприятий (с различными видами кредитования), рефинансирование, учет векселей, выпуск банковских векселей, открытие корреспондентских счетов, инкассация, валютное обслуживание (расчетно-кассовое обслуживание, проведение банковских расчетов по экспортно-импортным операциям, купля-продажа свободно конвертируемой валюты, открытие счетов типа ЛОРО-НОСТРО, хранение ценностей, консультационные услуги, страховые операции валютных и кредитных рисков, операции по резервированию ссуд, операции с ценными бумагами).
К новым услугам можно отнести открытие филиалов или мини-отделений, выполняющих весь комплекс банковских операций прямо на территории предприятия. Новыми видами услуг являются также выполнение заказов на покупку производственных объектов в целом или по частям, разработка инвестиционных проектов с оплатой по конечному результату после инвестирования, их финансирование на основе собственных рублевых и привлеченных инвалютных ресурсов; поиск зарубежного инвестора для организации совместного производства или создание предприятия с иностранными инвестициями, аудит соискателя инвестиций для оценки финансовой состоятельности имеющегося инвестиционного проекта (бизнес-плана). Такие услуги оказывает акционерный коммерческий банк "Церих".
Несмотря на достаточно стабильную номенклатуру банковских услуг, их реализация в виде последовательности технологических этапов и приемов может различаться.
Сравнивая работу различных банков и оценивая возможность автоматизации их деятельности, приходится констатировать практическое отсутствие унификации и стандартизации банковских технологий. Технологии выполнения одноименных банковских операций отличаются в различных банках, наблюдается несоответствие целей и функций для одноименных автоматизированных участков, разнообразие в технологии документирования одноименных операций, различие форм отчетности, периодичности их представления на разных участках управления в связи со специализацией работников. Это привело к появлению на рынке большого количества программных средств, обеспечивающих частичную автоматизацию банковской деятельности. Но со временем пестрота разработок БИС пошла на убыль, а наиболее эффективные системы стали интегрироваться и широко тиражироваться. Фирмы, имеющие разветвленную структуру и закупающие интегрированные системы, распространяют их на все свои филиалы. «Эффект массы» для некоторых систем привел к признанию их элементов стандартными.
Многообразие оказываемых банком услуг и связанных с ними банковских технологий, особенности организации управления и отсутствие единой концепции автоматизации банковской деятельности обусловили появление на нашем рынке большого количества разнообразных банковских программных продуктов различных производителей.
Анализ этих продуктов украинского рынка показывает, что практическое выделение подсистем и задач в интегрированных БИС учитывает их группировку одновременно по трем признакам: управленческая структура, трансформация ресурсов и функции управления. При этом часть задач реализуется различными технологиями, распределяется между различными АРМ и не повторяется, а некоторые задачи становятся функционально избыточными и оформляются при разработке в виде некоторых универсальных технологий, структурно выполненных в форме перемещаемых блоков, одновременно присутствуя в нескольких АРМ и соответствующим образом настраиваясь.
В большинстве БИС банковская технология оказывается жестко встроенной в программный продукт. Поэтому пользователь не имеет возможности отклоняться от нее, пользуясь меню, и всегда следует по пути запрограммированного диалога, корректность которого зависит практически полностью от разработчика. При этом различные продукты имеют разную степень их технологической адаптации и в большинстве случаев такая настройка производится специалистом в процессе инсталляции. Обычно таким специалистом является представитель разработчика, реже - банковский технолог (администратор) автоматизируемого учреждения.
Мера функциональной избыточности определяется особенностями управленческой структуры, принятой в банке. При этом ряд управленческих задач зачастую не выделяется в самостоятельные, как, например, вся группа задач маркетинга. Это можно объяснить неразвитостью банковских систем управления и нежеланием небольших, небогатых банков тратить деньги на дорогостоящие маркетинговые исследования.
Нужно отметить и тот факт, что во многих БИС автоматизированы лишь самые основные, наиболее важные с точки зрения разработчиков системы, задачи. Это может быть мотивировано отсутствием некоторых услуг: факторинга, лизинга, карточных услуг (или элементов оргструктуры, например), но есть управленческие задачи, решаемые в любом банке и, как правило, отсутствующие в большинстве отечественных БИС, например автоматизированный анализ качества кредитного портфеля, прогнозирование и планирование кредитных ресурсов. В коммерческих банках структура управления и состав банковских операций оказывают решающее воздействие на структуру и содержание БИС.
Разработка и внедрение программного обеспечения требуют от банка немалых затрат, поэтому банк заинтересован в быстрой окупаемости проекта, которая может быть достигнута за счет снижения либо цены на программный продукт, либо затрат на обработку или благодаря ускорению, оборота средств банка.
Использование компьютера позволяет расширить применение экономико-математических методов в управлении, т.е. не просто ускорить обработку информации методом прямого счета, а оптимизировать некоторые процессы (например, распределение и размещение мобилизованных средств). При этом время на обработку снижается настолько, что это сказывается на повышении оперативности проведения расчетов и, следовательно, на повышении оперативности принимаемых решений. Появляется возможность расширения спектра оказываемых услуг, повышения их качества и расширения географии за счет более полного использования средств телекоммуникаций.
Однако при всех преимуществах автоматизации перед банком помимо необходимости больших затрат на закупку платформы (технические средства и базовое программное обеспечение) и обучение своих специалистов возникает постоянная дилемма. Она заключается в том, что желание банка обеспечить максимальную длительность эксплуатации приобретенной платформы сталкивается с тем, что любая платформа обречена на быстрое моральное старение, обусловленное устареванием оборудования, базового программного обеспечения (операционная система, СУБД, языки программирования) и заложенной в продукт банковской технологии. При разработке системы автоматизации могут быть реализованы два альтернативных решения.
Первое решение заключается в том, что проектировщики разрабатывают систему исходя из сложившейся структуры управления и, таким образом, «увековечивают» ее преимущества и недостатки.
Второе решение предполагает предварительную реорганизацию системы управления и усовершенствование ее в соответствии с современной концепцией организации управления и требованиями руководства учреждения.
Существующие за рубежом консалтинговые фирмы, работающие в этом направлении, позволяют значительно повысить производительность труда только за счет правильно выставленных целей и правильно организованной структуры управления. Но при этом вновь созданная структура управления должна постоянно модифицироваться, приспосабливаясь к изменениям внешней среды. Так, в теории менеджмента существует понятие клеточной системы. Организация управления предполагает наличие на предприятии постоянно меняющейся структуры управления. Элементом такой структуры является клетка, которая самостоятельно определяет направления своего развития. Получая, обрабатывая и передавая информацию вовне, клетки меняются, адаптируются к изменениям внешней среды и глобальным изменениям внутри системы. Подобием такой клетки может служить предприятие, организованное крупной фирмой и занимающееся венчурным бизнесом. Очевидно, что при этом система автоматизации должна постоянно меняться вместе с системой управления. Способностью адаптации БИС особенно важна в условиях не сложившейся банковской системы, несовершенства законодательной базы и нестабильной экономики.
Постоянные изменения, происходящие в сфере деятельности банков и затрагивающие юридическую сферу, экономическую среду и банковские технологии, требуют от системы управления банком высокой степени адаптивности. БИС должны иметь гибкую структуру и быть открытыми системами, т.е. допускающими внесение необходимых изменений в модель в случае каких-либо перестроек в банковской сфере. Поэтому система должна быть ориентирована на автоматизацию управления банковской деятельностью, а не на конкретную задачу чистой автоматизации обработки банковской информации. Другими словами, система должна соблюдать принцип целевого характера управления и удовлетворять требованию открытости для легкого внесения изменений и наращивания функциональных ее возможностей по мере необходимости. Это требование реализуется на принципах строгой параметризованности автоматизируемых объектов и модульности. Главным девизом здесь должна служить ориентация системы на автоматизацию управления банковской деятельностью, а не на решение локальных функциональных задач.
Гибкость, которая должна обеспечивать адаптацию программного продукта без перепрограммирования, также основана на параметризации. Настройка может быть однократной (на момент внедрения) и заключаться в конфигурировании системы по количеству пользователей, особенностям и составу физических устройств, технологическим особенностям реализации услуг, структуре аппарата управления, а также при изменении банковской технологии: при изменении плана счетов и алгоритма формирования баланса. Но может быть и текущей, такую настройку выполняет банковский технолог или администратор системы.
Процедуры расширения и настройки системы должны основываться на так называемом «связывании» модулей, которое обеспечивает комплексность системы за счет их интеграции. Например, оплата извещений по погашению коммунальных платежей клиента одновременно обновляет позиции в текущих счетах, а также другие позиции, затронутые операцией.
К специальным требованиям, характерным для банковской сферы, относится прежде всего возможность отката на дату (контрольную точку) либо технологического отката через систему обратных проводок «красное сторно». При достижении исходной ситуации и ее фиксации сотрудники банка должны иметь возможность внесения изменений и возврата с автоматическим расчетом, закрытием и архивацией всех последующих дней.
В связи с этим необходимо обеспечить одновременное сопровождение баз данных, хранящих результаты текущего и прошедшего операционных дней и осуществляющих долговременное Хранение архивов.
Другим требованием, которое теперь предъявляют банки к системам автоматизации своей деятельности, является блокирование ввода платежных документов, приводящих к дебетовому сальдо, чтобы исключить таким способом пополнение картотеки № 2. Если же такая ситуация не возникает и платежный документ не обладает некорректными реквизитами, банковская технология предполагает однократный ввод информации в систему и автоматическое формирование проводок по всем операциям. Это требование совпадает и с требованием разработчиков.
Выполнение проводок и изменение лицевых счетов должны осуществляться в реальном масштабе времени. Работа с единой информационной базой позволяет автоматически распространять любые изменения всех взаимосвязанных частей базы при внесении изменений в любую ее часть. Система должна обеспечивать постоянное изменение состояния лицевых счетов и ежедневный пересчет остатков на них с учетом дневных изменений. Этот пересчет должен давать возможность накопления месячных, квартальных и годовых оборотов по счетам.
Лицевые счета должны проходить анализ на ситуацию неоткрытый счет. Вновь открываемые счета получают автоматически присваиваемые номера. При необходимости клиент (при наличии системы клиент-банк) или сотрудник банка должен иметь возможность просмотра лицевого счета и оценки его динамики за заданный период. По характеру счетов БИС должна обеспечивать работу в мультивалютном режиме как с текущими и расчетными счетами, так и с различного рода депозитными, ссудными, контокоррентными и другими счетами, а также начислять различного рода проценты и комиссии.
Проведение расчетов должно быть своевременным и корректным, иметь точное отражение в учетных регистрах и осуществляться таким образом, чтобы по возможности максимально освобождать сотрудников от выполнения рутинных задач вручную. При этом документооборот в банке желательно сократить.
Требования разработчика в основном связаны со сложившимся подходом к проектированию автоматизированных систем, а также с собственными его интересами, которые носят финансовый характер. Это прежде всего соотношение: цена - себестоимость - объем работ.
К интегрированным системам при разработке предъявляются более ужесточенные требования, чем к локальным разработкам. Это обусловлено расширенными функциональными запросами комплексности решений и обязательными системными соглашениями.
Крайне важным является принцип комплексности разработки, который предполагает создание совокупности взаимосвязанных программных средств, автоматизирующих ряд банковских функций и организованных в виде целостной системы. При этом для эффективной ее эксплуатации должны соблюдаться принципы согласованной пропускной способности частей системы и гибкости информационного обеспечения при сохранении его единства. Дело в том, что в настоящее время в банках имеются разобщенные информационные фонды, что может приводить к неоднозначным трактовкам экономической ситуации различными сотрудниками банка. Очевидно, что соблюдение единства базы должно сопровождаться однократностью ввода информации.
Операция, проведенная в отделении банка, при выполнении ряда условий влечет за собой и другие. Так, при выдаче аккредитива по истечении определенного срока может оказаться, что деньги не израсходованы и подлежат обратному перечислению на расчетный счет. Поскольку операция формализована, она может быть выполнена и программно. Внедрение этого принципа связано с преодолением психологического барьера у сотрудников, которые привыкли к перечислению средств только человеком, поэтому такие операции должны вестись сначала параллельно. В дальнейшем перечень автоматизируемых операций будет расширяться. В настоящее время можно указать некоторые операции по автоматической оплате в пределах свободного остатка на счете, закрытию аккредитивов, списанию начисленных процентов по краткосрочным ссудам (если это оговорено в договоре), погашению некоторых видов краткосрочных ссуд.
Поскольку сложившийся в нашей стране рынок платформ очень пестр, разработчик для наиболее широкого распространения своей системы заинтересован в соблюдении принципа мобильности, т.е. в обеспечении возможности эксплуатации программного продукта в различных операционных и технических средах.
Использование в качестве опорной концепции разработки системы автоматизации банковской деятельности концепции АРМ как нельзя более соответствует применению целевого подхода в управлении. Определив основные цели сотрудника, можно сформулировать главные системные соглашения по использованию дискетной или сетевой технологии, выбрать необходимый инструментарий. Наличие во многих АРМ одноименных участков позволяет широко использовать перемещаемые блоки типа: расчет нормативных коэффициентов, оценка собственной ликвидности, заключение и ведение договоров и др. и использовать при этом объектно-ориентированный подход.
Каждому объекту (лицевой счет, проводка, клиент) соответствует стандартный инструментарий (создание, контроль, корректировка, удаление, сортировка, поиск и др.), а также специфический инструментарий («красное сторно» для проводок, заключение оборотов или закрытие - для счетов и др.).
Весьма актуальной проблемой сегодня остается обеспечение банковской безопасности.. Ее решение может быть успешным только при комплексном подходе, который подразумевает разделение доступа к информации, к различным АРМ и к режимам в них. Так, для доступа к системе существуют уровни: пересылка файлов в определенную директорию, доступы в определенную директорию, доступ к диску, реализация всех функций на удаленной ЭВМ. Для этого обычно используется система паролей, шифрования передаваемой информации, электронной подписи. Также важное значение имеет правильная организация ведения архива информационной базы системы.
Таким образом, принципы разработки систем автоматизации банковской деятельности вытекают из подходов и требований, предъявляемых к программному продукту заказчиком (банком). Эти требования содержат в себе требование банка к системе в целом как к продукту, который будет обслуживать специфическую сферу ( банковское дело), а также специальные требования, отражающие специфику используемых в банке операций и технологий их выполнения.
С другой стороны, существует ряд требований, которые предъявляются к разработке исполнителем (разработчиком). Эти требования могут совпадать с требованиями банка, но могут и конфликтовать. Хотя большинство из перечисленных требований, предъявляемых проектировщиком, не являются конфликтными по отношению к требованиям банков.
Следует запомнить
При проектировании интегрированных БИС необходимо учитывать требования банковской среды: возможность отката на определенную дату и технологического отката;
однократный ввод информации; блокирование ввода платежных документов при дебетовых сальдо; выполнение проводок в реальном масштабе времени; анализ ситуации - открытый (закрытый) счет; информационная безопасность, а также общие требования разработки информационных систем: сокращение документооборота; автоматизация рутинных задач: адаптивность ФИС (параметризованность); возможность расширения систем; единая информационная база; мобильность; ведение архива системы; восстановление архивной копии базы данных системы.
Как правило, информационная система является внешней по отношению к совокупности банковских технологий, поскольку зачастую машинная обработка банковской информации используется на заключительных стадиях технологического процесса выполнения банковских операций, которые характеризуются наибольшей концентрацией вычислений. На практике все банковские операции связаны некоторой единой технологией, состоящей из множества макро- и микротехнологий, наличие которых обусловлено специализацией отдельных групп работников и составом их обязанностей.
Возможной структурой построения интегрированной БИС может служить структура (рис.21), включающая в себя наиболее распространенные в наших программных продуктах АРМ и блоки.
На основе проведенного аналитического обзора рынка Украинских БИС был выделен и скомпонован состав АРМ и определены их функции для условной интегрированной БИС. В реальной интегрированной БИС такое выделение зависит от структуры управления, разделения управленческих функций и целей, а также от выбранного подхода к проектированию системы и многих других факторов. В структуре БИС в процессе ее разработки выделяют перемещаемые блоки, которые обеспечивают выполнение некоторых стандартных банковских технологий: обслуживание договоров (кредитного, депозитного, трастового, договора на расчетно-кассовое обслуживание и др.), обслуживание процентов по различным договорам, обслуживание штрафных процентов и др. Перемещаемые блоки после соответствующей настройки и функционально специализированные программы образуют АРМ конкретных рабочих мест.
Здесь (см. рис. 7) имеется ряд АРМ, которые необходимы относительно полноценности управления, но отсутствуют как самостоятельные в большинстве БИС: АРМ специалиста по маркетингу, АРМ сотрудника

Рис. 7. Структура интегрированной БИС.
по управлению активами и пассивами, АРМ аналитика, АРМ планировщика, АРМ сотрудника по управлению ликвидностью и др.
Блок информационного обеспечения руководства предназначается для поддержки и принятия решений руководства банка и формирует аналитическую информацию по результатам деятельности банка. Обычно этот блок выполняется в виде АРМ, который реализует получение сведений о ликвидности банка и другой стратегической информации, а также данных о состоянии счетов, архивных справок и пр.
Если банк обладает филиалами, то в его структуре предусматривается отдел, обеспечивающий обмен информацией с ними в режиме on-line с ис^-пользованием телекоммуникационных каналов через АРМ коммуникаций либо в режиме off-line на основе электронной почты, дискетой или бумажной технологии. АРМ по работе с филиалами дает сотруднику возможность ввода информации о финансовых операциях филиалов, учета их деятельности при формировании консолидированного баланса, анализа деятельности филиалов и расчета для них нормативных коэффициентов.
Работа с, внешней средой осуществляется по каналам телекоммуникаций через АРМ коммуникаций. АРМ обеспечивает экспорт-импорт информации, т.е. двусторонний обмен данными с внешними абонентами: ЦБ РФ (ГВЦ ОПЕРУ, РКЦ), филиалами, системой межбанковских расчетов, процессинговым центром (Union Card, STB-Card и др.), пунктом обмена валюты, клиентами, биржей и пр. При использовании телекоммуникационной среды происходят трансформация передаваемой информации в определенный стандарт, ее шифрование (обычным способом и с применением электронной подписи) и установление связи: либо напрямую с использованием телефонных и других каналов, либо через какую-либо компьютерную сеть (рис. 8).
Для обеспечения взаимодействия по схеме клиент-банк у клиента устанавливается программный комплекс АРМ клиента, который позволяет:
вводить, редактировать платежные документы с использованием типового набора бланков, печатать подготовленные документы, шифровать и дешифровать информацию и обеспечивать авторизацию через механизм электронной подписи, отправлять и принимать документы, файлы и сообщения. В банке внутри базового блока устанавливается для взаимодействия с клиентом АРМ банка. Этот комплекс обеспечивает через АРМ коммуникаций аналогичные функции по взаимодействию с клиентом, поддерживает архивы взаимодействия с клиентом и отправляет поступившие платежные документы по ЛВС на обработку в нужный АРМ.
АРМ сотрудника межбанковских расчетов (МБР) обеспечивает ведение расчетов с другими коммерческими банками через системы РКЦ и ОПЕРУ, через сеть клиринговых центров и через взаимное открытие корреспондентских счетов. При работе на основе прямых межбанковских расчетов АРМ позволяет осуществлять контроль, корректировку и отмену текущих операций МБР и формирование начальных авизо, реестров и соответствующих платежных документов. При работе с ответными авизо

Рис. 8. Схема работы АРМ коммуникаций по экспорту данных.
АРМ проводит весь комплекс работ с входным документом: ввод, корректировку, отмену текущих документов (с одновременным контролем сумм авизо и платежных документов); выполнение квитовки ответных авизо, ведение соответствующего журнала и документов по квитовке; открытие, ведение и закрытие заключительных оборотов.
Для проведения электронных взаимодействий с другими банками, клиентами, процессинговым центром или биржами информация пересылается по ЛВС на АРМ коммуникаций, через которое реализуются телекоммуникационные взаимодействия.
АРМ сотрудника кредитного отдела (АРМ СКО) обеспечивает заключение и ведение договора, его пролонгацию и закрытие (поступление в архив), формирование графиков погашения основного долга и выплаты процентов по различным схемам, а также контроль выполнения этих графиков и начисление пеней по основной части долга и по процентам. При этом формируется ряд ведомостей. АРМ поддерживает стандартные и индивидуальные процентные ставки: по основной части долга, за неиспользованный кредит (если это не указано в договоре), за просроченный возврат ссуды или за несвоевременную выплату процентов за кредит.
АРМ сотрудника по работе с физическими лицами все чаще включается в состав БИС, что обусловлено необходимостью привлечения средств от физических лиц, хотя эти операции связаны с большой трудоемкостью из-за массовости. В основном они носят характер депозитных операций, и поэтому данный АРМ принципиально отличается от АРМ сотрудника депозитного отдела лишь специфическим набором оказываемых услуг.
АРМ. сотрудника фондового отдела обеспечивает выполнение политики банка в части фондового портфеля, а также выполнение доверительных соглашений с физическими и юридическими лицами. АРМ включает такие режимы, как оценка экономического состояния объекта инвестиций, расчет аналитических показателей по ценным бумагам, оценка инвестиционной привлекательности объекта, портфеля ценных бумаг, учет поступления и движения ценных бумаг.
АРМ сотрудника депозитного отдела обеспечивает привлечение временно свободных средств. Относительно предметной технологии в этот АРМ включаются такие же режимы, как и в АРМ СКО: заключение договора, расчет процентов по различным схемам, причисление их к остатку и др.
Проблемой банковской технологии остается разграничение функций между базовым модулем, реализующим комплекс операционно-учетных работ, и АРМ сотрудников других отделов. Например, в настоящее время существуют две наиболее распространенные технологии начисления процентов за кредит. По первой технологии начислением процентов занимается базовый блок, а сотрудник кредитного отдела лишь пересылает в него данные для расчетов и осуществляет контроль за этими операциями по графику платежей и за отклонениями от него. По второй технологии взаимосвязь между этими отделами осуществляется на уровне проводок, при этом сотрудник кредитного отдела генерирует их, а операционно-учетный модуль выполняет ведение кредитных счетов, просмотр работы по счету и расчет процентов по кредитам (в соответствии с желанием сотрудника кредитного отдела). Как показывает опыт, контроль документов, проходящих по договорам, сотрудниками кредитного и депозитного отделов более распространен.
Мониторинг договоров предполагает ежедневный контроль за проведением платежей по обязательствам, сроки которых истекли. При этом автоматически фиксируется поступление просроченной задолженности и начисляются штрафные проценты. Суммы просроченных задолженностей хранятся в особой области базы данных — «до выяснения», пока по распоряжению сотрудника кредитного отдела они не будут отнесены на соответствующие балансовые счета, погашены или не будут изменены условия договора.
Работа АРМ конструктивно строится на основе ряда универсальных перемещаемых блоков: Договор, График выплат. Расчет нормативов банка, а также ряда специальных с методической и технологической точек зрения блоков: Оценка кредитоспособности клиента и Прогноз свободных средств банка (на основе сроков окончания договоров). Блок Договор обеспечивает подготовку, ведение, учет и контроль исполнения договоров банка и его обязательств; учет сумм кредитов и депозитов при расчете коэффициентов ликвидности банка; прогноз состояния кредитных ресурсов банка к заданному моменту времени; прогноз влияния предполагаемого договора на финансовое состояние банка. Он позволяет получить выписку о состоянии отдельного договора и сводную отчетную документацию.
Блок График выплат позволяет провести предварительную прикидку вариантов погашения кредитов и выплат по депозитам и кредитам. Возможны графики равномерного погашения базы кредита, равномерного погашения базы кредита и процентов; аннуитет (ссудозаемщик регулярно выплачивает равные суммы - аннуитеты, состоящие из суммы процентов и суммы погашения основного долга, поскольку проценты начисляются на остаток долга, они снижаются по мере погашения с одновременным увеличением доли погашения); график выплаты процентов при получении ссуды (дисконтированная ссуда); график единовременного погашения кредита в конце срока договора с текущим погашением процентов; график произвольного погашения базы кредита и др.
АРМ оператора (может и не быть) обеспечивает ввод документов, собранных в пачки, с просчитанной контрольной суммой. Обычно банк использует этот АРМ при больших объемах ввода, хотя в ряде случаев он сохраняется как атавизм перфорационных технологий.
АРМ старшего оператора (может и не быть) формирует из введенных документов рейсы и передачу их на ВЦ для проведения одногородных расчетов.
АРМ сортировщика (может и не быть) создается для проверки пачек документов, введенных операционистами, и отправки их на проводку, а также для формирования и печати авизо и реестров для РКЦ.
АРМ контролера реализует так называемый принцип "четырех глаз» и служит для просмотра кассовых документов и документов, введенных операционистами или операторами; печати сводных ведомостей по приходу и расходу; проставления пометки об оплате на документах; отправления проводок по кассе; распечатки форм отчетности.
АРМ кассира-контролера обеспечивает: ввод кассовых платежных документов; прием и обработку денежных чеков, объявлений на взнос наличными, приходных и расходных кассовых ордеров и документов по инкассации; формирование сводных ведомостей по приходу и расходу; ведение кассовых журналов; подготовку проводок по кассе; получение сводной справки по кассовым оборотам, формирование мемориальных ордеров; расчет платы каждого клиента за кассовое обслуживание; получение отчета по кассовым символам оборотов за период; работу со справочником символов; формирование справки по кассе.
С помощью АРМ старшего операциониста (может и не быть) оценивается загрузка операционистов и назначаются операционисты для новых клиентов банка; просматривается и контролируется список открытых за день лицевых счетов.
Одно из важных мест во всех банковских программных продуктах занимают АРМ операционистов. В некоторых технологиях предусмотрено их разделение на АРМ операциониста по платежным документам и АРМ операциониста по подготовке отчетов либо на АРМ операциониста по работе с физическими лицами и АРМ операциониста по работе с юридическими лицами. В крупных банках иногда выделяют операционистов для проведения работ по открытию и закрытию счетов.
Обычно же АРМ операционистов могут реализовывать открытие и закрытие счетов; начисление, причисление к остатку вкладов и выдачу процентов по всем видам вкладов; перевод вкладов; поиск клиента по номеру его лицевого счета и наоборот; установление договорной процентной ставки и платы за совершение операций и расчет дохода от проведения операций; оплату переводов; ведение операционного дневника; аналитический и операционный контроль за выполнением операций; ввод платежных документов; работу с картотеками: занесение и исключение номера картотеки из счета клиента; контроль дебетового сальдо и занесение документов в картотеку №2; погашение задолженностей частично или единовременно по картотеке №2; просмотр и распечатку выписок из лицевого счета, формирование остатков по счетам и др.; контроль неоплаченных документов; обработку электронной почты (по схеме клиент — банк), если это не выполняется в специальном АРМ. В случае специализации операционистов по виду документов могут выделяться АРМ операционистов по платежным требованиям и поручениям, по кассе, по работе с аккредитивами, чековыми книжками и др.
АРМ экономиста (может и не быть) осуществляет: формирование выписок из лицевых счетов, контроль начисления процентов по лицевым счетам, контроль остатков и проводок по лицевым счетам, расчет нормативов и показателей работы банка, контроль за работой филиалов, формирование сведений для налоговой инспекции.
АРМ бухгалтера обеспечивает: расчет остатков по счетам на начало следующего дня; формирование, просмотр, корректировку, печать, сохранение баланса по балансовым и внебалансовым счетам и приложениям к нему за любой период; ведение развернутого сальдо по любому балансовому счету для филиала; изменение остатков счетов на начало или конец любого дня; расчет прибыли за период; оценку рентабельности банка и формирование других показателей работы банка; расчет процентов по лицевым счетам; изменение плана счетов.
•АРМ главного бухгалтера осуществляет: получение информации о работе банка, его клиентах; открытие и закрытие лицевых счетов; просмотр и печать оборотно - сальдовых ведомостей по балансовым и внебалансовым счетам, а также ведомостей открытия, закрытия и изменения лицевых счетов; обновление файла подписей клиентов (в некоторых БИС).
АРМ администратора является крайне важным и включает несколько различных функций, которые обеспечивают:
• текущую работу по документам:
• отражение оперативных проводок;
• составление текущей описи документов;
• выполнение текущей сверки;
• составление документального баланса;
• печать отчетов;
• межфилиальный обмен по дискетной технологии;
• планирование и завершение операционного дня банка;
• планирование работ и наделение полномочиями сотрудников отдела
• операционно-учетных работ:
• планирование работ на требуемый день;
• регистрация, удаление, изменение статуса пользователя;
• контроль протокола работы пользователя;
• функциональное конфигурирование рабочих мест пользователей;
• поддержание санкционированного доступа к информационным ресурсам БИС;
• выполнение отката комплекса;
• ведение фонда НСИ:
• администрирование файлов базы данных;
• организация и ведение фонда НСИ (изменение процентных ставок, справочники МФО, таблицы балансовых и внебалансовых счетов, типов платежных документов, кассовых символов, атрибутов банка, прейскуранта услуг, видов операций и др.);
• установление и конфигурирование рабочих мест других пользователей БИС:
• включение и выключение задач в комплексе;
• настройка комплекса;
• выполнение пусковых работ при внедрении БИС. Если в каких-либо БИС состав АРМ другой, то функции сотрудников ОУР просто разделены между АРМ по-другому, поскольку БИС лишь обеспечивает реализацию банковских учетных технологий средствами информационных технологий, являясь некоторой моделью системы у правления.
В одном из АРМ комплекса ОУР (обычно это АРМ администратора) содержится блок, обеспечивающий архивацию - перевод файлов операционного дня в статус «архивный», т.е. доступный лишь по чтению. При необходимости сотрудник банка, используя этот блок, может найти любой интересующий его документ, проводку, регистр; войти в любой операционный день года, в любой месячный отчет, квартальные отчеты (с накоплением с начала года и без него), отчет за прошлый год, а также отчеты за произвольно выбранные промежутки времени.
Программные продукты, обеспечивающие автоматизацию банковской деятельности, различаются по признаку включения или не включения в их тело банковской технологии.
Таким образом, АРМ сотрудника кредитного отдела (СКО) должен поддерживать реализацию целей, которые выставляются сотруднику банка, и обеспечивать его информацией для принятия решения по кредитованию и дальнейшему обслуживанию кредита. Для этого необходимо иметь сведения о кредитном потенциале банка, о кредитоспособности ссудозаемщика и рабочую информацию по обслуживанию кредита.
Обычно в отечественных БИС АРМ СКО обеспечивает ввод и обработку информации о кредитных договорах и отражает технологические этапы кредитования: заключение договора и его ведение (выдачу кредита, начисление процентов по кредиту, расчет неустоек и выставление их на инкассо либо получение этих сумм в порядке бесспорного платежа, контроль фактических выплат клиентом по договору, пролонгацию договора и его закрытие, перевод договоров в состояние просрочки). Расширение возможностей АРМ СКО может происходить через добавление средств обработки информации договоров на гарантии погашения кредитов и на их страхование; средств оценки кредитоспособности заемщика; расчет платы за кредит для новых схем кредитования и др.
Комплекс АРМ СКО должен предусматривать использование компьютера для оформления кредитной сделки и ведения кредитного договора в течение всего периода его действия. С момента регистрации выдачи кредита до его погашения сотрудник кредитного отдела должен быть обеспечен своевременной информацией о размере платы за кредит, сроках ее внесения, а также иметь возможность накапливать некоторые статистические данные по направлениям кредитования, срокам, суммам кредита и другим параметрам. Эти данные используются как для планирования собственной деятельности банка, так и для составления отчетности. В ходе решения задач АРМ СКО используется ряд кодов. Код состояния передачи средств имеет один знак и Построен по порядковой системе (0 - не начато; 1 - не закончено; 2 - закончено; 3 - к погашению; 4 - погашено; 5 - просрочено; 6 - переведено в состояние «просрочено»; 7 - переведено в состояние «пролонгировано»).
Код типа гашения процентов включает в себя два знака и построен по позиционной системе: первый знак показывает характер погашения (1 -единовременное и 2 - частевое), а второй знак отражает вид погашения и имеет состояния: еженедельно, ежедекадно, ежемесячно, ежеквартально, один раз в год).
Номер погашения процентов имеет один знак и построен по порядковой системе.
Код состояния договора содержит один знак и может принимать значения: черновик, исполняемый условно, исполняемый реально и завершенный.
Реально исполняемый договор может иметь статус нормального, просроченного и пролонгированного.
Код разрешения построен по позиционной системе и показывает факт разрешения (0) или запрещения (1).
Код признака начала действия договора имеет один знак и принимает только два состояния: 1 - с момента поступления средств, 2 - с момента подписания.
Код степени надежности возврата устанавливается экспертом и может изменяться от 0 до 9.
Номер части погашения (к которой относится проводка) имеет один знак, построен по порядковой системе. Если проводка осуществляет выдачу, то номер приобретает значение 0.
Код вида операции имеет два знака и построен в соответствии с порядковой системой:
01 — полная выдача ссуды;
02 — частичная выдача ссуды;
03 — штатное гашение ссуды;
04 — перевод в состояние «просрочено»;
05 — перевод в состояние «пролонгировано»;
06 — начисление процентов за просроченную
07 — гашение долга за просроченную ссуду;
08 — списание в убыток;
09 — гашение процентов;
10 — перевод процентов в состояние «просрочено»;
11 — перевод процентов в состояние «пролонгировано;
12 — волевое гашение процентов;
13 — гашение пеней на ссуду;
14 — гашение пеней на проценты;
15 — волевое гашение пеней на ссуду;
16 — волевое гашение пеней на проценты;
Для регистрации платежей применяются файлы Платежи по договору и Справочник учреждения банков. Выдача кредита, плата за кредит и погашение кредита регистрируются при наличии платежной документации. Платежные поручения содержат следующие реквизиты:
• номер поручения;
• дата оформления;
• реквизиты плательщика;
• реквизиты получателя;
• дебетуемый счет;
• кредитуемый счет;
•сумма перечисляемых средств;
• вид операции (причина платежа).
Платежное поручение, выписываемое клиентом, поступает в комплекс операционно-учетных работ, где вызывает корректировку соответствующих лицевых и синтетических счетов. Для того чтобы сотрудник кредитного отдела мог отследить произошедшие изменения, в его АРМ из комплекса операционно-учетных работ ежедневно поступают проводки, относящиеся к кредитному отделу. История выполнения договора отражается в файле его состояний.
Главное меню АРМ СКО содержит функции:
• Работа с договором;
• Работа с проводками;
• Формирование отчетности;
• Разное.
Функция Работа с договором предполагает возможность ввода, просмотра, контроля и корректировки договора. При этом происходят расчет платы за кредит и формирование графика платежей. Одновременно пользователем могут быть получены документы: распоряжение об открытии счета, мемориальный ордер, срочное обязательство.
Функция Работа с проводками осуществляет отбор проводок, касающихся кредитного обслуживания клиентов и имеющих отношение к сотруднику кредитного отдела, и выполнение на основе полученной информации по решению пользователя следующих операций:
• регистрация выдачи кредита в кредитном журнале;
• регистрация платежей по кредиту;
• перевод в просрочку;
• перевод в пролонгацию;
• закрытие договора.
Функция/разное предусматривает работу со справочниками (например, учет изменения процентной ставки, ее ввод, просмотр и корректировку), работу с базой (копирование, восстановление, реорганизация), различные установки (пароль, время, палитра, визитная карточка).
В меню могут быть подсоединены такие функции, как Работа с межбанковскими кредитами (МБК); Страхование кредитов и Работа с договорами на гарантию, Расчет стоимости кредитного договора. Оценка кредитоспособности заемщика. Оценка риска кредитования и др.
Получаемые в ходе выполнения различных функций любые ведомости в соответствии с принципом избирательного распределения информации должны служить выполнению целей, поставленных руководством банка перед сотрудником. Поэтому для поддержки принятия решения сотрудником кредитного отдела в соответствующие функции АРМ должны быть подсоединены ведомости:
• ведомость переоформленных договоров;
• начисленные и уплаченные за месяц проценты . реестры плановых и фактических платежей;
• справка о выполнении договора;
• платежи по договору (уплаченные проценты и неустойки) за период;
• ведомость просроченных ссуд.
Ведомости, носящие общий характер, объединены в общую функцию Формирование отчетности. Сюда относятся:
• анализ ссуд по экономическим секторам;
• анализ поступления доходов по кредитным операциям;
• реестр крупных ссуд;
• справка о выполнении договора;
• реестр погашенных кредитов;
. справка о сроках действия договора;
• статистика сумм договоров;
• статистика сроков договоров;
• статистика цен ссуд кредитов;
• кредитный журнал;
• список действующих договоров за период;
• перечень клиентов и др.
Эти отчеты могут быть распечатаны в виде твердых копий, выведены на экран или в файл.
На рис. 9. представлена схема данных решения задач АРМ СКО. Сотрудник кредитного отдела, используя множество текстовых прототипов (шаблоны договоров), составляет договор о выдаче кредита также в текстовой форме, имеющий статус черновика. Кредитный договор как текстовый документ содержит: наименование сторон; вид кредита; сумму; срок договора; процентную ставку; порядок выплаты процентов; вид обеспечения; перечень необходимых документов (по требованию банка); номер расчетного счета и другие реквизиты банка, обслуживающего предприятие; юридические адреса сторон. Эту информацию удобно представить в двух файлах, содержащих расчетные данные договоров (Договор (данные)) и текстовую информацию (Договор (текст)).

Рис. 9. Схема данных решения задач АРМ СКО.
Для регистрации нового кредитного договора и для вывода его на экран при просмотре и редактировании используется соответствующий макет, на основе которого осуществляется визуальный и логический контроль ввода.
Контроль вводимой информации весьма важен, поскольку, если программные ошибки могут быть в большинстве случаев легко устранимы программистом при обнаружении в ходе эксплуатации, ошибки информационной базы трудно распознаваемы и предопределяют ошибки при любых вычислениях. Такой контроль традиционно выполняется визуальным и форматным способами. Логический же метод контроля используется реже, так как требует от программиста дополнительных затрат времени на его реализацию.
Работа с текстовой частью договора заключается в традиционных операциях по вводу текстовой информации, ее просмотру, полноэкранному редактированию и удалению.
Технологически договор может иметь различный статус: черновик, условно действующий, реально действующий и завершенный. Первоначально составленный черновик переходит в статус условно действующего при его подписании. Договор приобретает статус реально действующего после перемещения на его основании финансовых средств. После окончания расчетов между ссудозаемщиком и банком договор приобретает статус завершенного. Реально действующий договор может иметь уточненный статус: нормально действующий, просроченный и пролонгированный.
В последнем случае дата договора соответствует дате пролонгации, а его сумма равна сумме выбранных платежей. Редактирование и удаление договоров из базы возможно только при статусе черновика. Договоры с остальными статусами могут только просматриваться. В связи с объемом текста договора необходимо предусмотреть не только полнотекстовый, но и сокращенный просмотр.
При перечислении средств на ссудный счет, на расчетный счет, пролонгации договора или переводе его на счет просроченных ссуд формируются проводки, которые передаются в отдел операционно-учетных работ. На основе файлов проводок и начисленных процентов формируется файл плановых платежей по договору. Он обрабатывается совместно с файлом проводок, поступившим из операционного дня, в результате чего образуется файл платежей по договору. На основе последнего формируются ведомости состояния договора, кредитный журнал и др.
При пролонгации этот цикл повторяется, но статус договора меняется. Если же договор переводится в просрочку, меняется не только статус договора, но и начинается начисление пенсий. И в том, и в другом случае формируются соответствующие проводки.
При закрытии договора меняется лишь его статус.
Для расчетов по предоставленным кредитам обычно применяется файл процентов (начисленные проценты).
Файл Договор (данные) содержит следующие реквизиты : статус договора; номер договора; номер пролонгации; номер расчетного счета (или 0); номер ссудного счета; адрес перехода остатка задолженности; номер счета просрочки; степень надежности возврата кредита; количество частей погашения; процентная ставка на основную часть долга; процентная ставка пеней на проценты; вид погашения ссуды (равными долями и др.); сумма по договору; сумма начисленных процентов; дата начала действия договора; дата закрытия договора; итоговая сумма погашения долга; итоговая сумма погашения процентов.
Процентные ставки могут выноситься в отдельный файл, что особенно удобно при начислении сумм по процентам в отдел ОУР. Номер расчетного счета также может отсутствовать при наличии файла-связки с файлом Справочник клиентов.
Если клиент имеет счет в другом банке, то реквизит «номер расчетного счета» равен нулю, при этом используется файл Справочник банков. Структура его записи следующая : номер учреждения банка; почтовый индекс; номер МФО; наименование учреждения банка; адрес учреждения банка; телефон; факс. Если клиент имеет счет в банке, выдающем кредит, то используется файл Справочник клиентов (Клиент). Структура записи этого файла следующая : наименование организации-клиента; адрес организации-клиента; телетайп; телефон; факс.
Файл начисленных процентов (в том числе и пени) содержит номер договора; базовую сумму начислений процентов; вид процентов (проценты и пени различных видов); дату начала начисления процентов; дату окончания начисления процентов; месяц оплаты; день оплаты; процентную ставку; тип алгоритма начисления. Последний реквизит позволяет поддерживать файл алгоритмов начисления процентов по различным схемам и, таким образом, легко перенастраивать технологию расчетов.
Файл платежей по договору содержит информацию о плановых погашениях основной части долга и плановых выплатах процентов. В состав его записи входят следующие реквизиты:
• номер части выплат; плановая дата платежа (либо дата; до которой должно быть проведено погашение); плановая сумма платежа;
• фактическая дата платежа; дата перечисления средств со счета клиента; фактическая сумма взноса; номер проводки; вид платежа; состояние передачи средств.
Входе решения задачи может формироваться много различных ведомостей, помогающих принять правильное решение сотруднику отдела в процессе управления кредитами. Ряд выходных данных выводится пользователю в виде таблиц, а ряд - в графической форме. Последняя особенно удобна для восприятия.
Объем банковских операций к 60-м гг. в мире возрос настолько, что в дальнейшем этот период стал называться периодом «большого взрыва». Увеличение числа выполняемых операций повлекло за собой расширение применения электронной вычислительной техники, что, с другой стороны, подкреплялось развитием ЭВМ. Увеличение числа задач, решаемых на компьютерах, попытки применения их для реализации оптимизационных задач сопровождались использованием электронных каналов для обмена сообщениями.
Компьютерные сети обеспечивают выполнение коммуникационной функции и доступ к разделяемым ресурсам, т.е. передачу файлов, доступ к удаленным базам данных и удаленный запуск задач. Компьютеризованные межперсональные коммуникации могут быть трех видов: простые пересылки сообщений по конкретному адресу; рассылка сообщений по почтовым спискам и проведение телеконференций.
Проблема информационных взаимодействий с внешней средой является характерной задачей для любой открытой сложной системы. В банковской среде она стоит как перед центральным, так и перед коммерческими банками.

Рис. 10. Схема взаимодействия коммерческого банка с внешней средой
В качестве внешней среды, с которой взаимодействует коммерческий банк (рис. 10), выступают:
• обменные пункты;
• участники электронного денежного обращения (ЭДО) с использованием пластиковых карточек (ПК);
• клиент;
• филиалы банка;
• банки на территории Украины;
• банки на территории СНГ;
• зарубежные банки;
• другое.
Взаимодействие банка с пунктами продажи (POS) и процессинговы-ми центрами возникает лишь в том случае, если банк обслуживает какую-либо систему пластиковых карточек.
Взаимодействие банка с клиентом позволяет обеспечить компьютерный обмен информацией и минимизировать визиты клиента в банк. Такое взаимодействие предполагает пересылку по электронным каналам платежных документов, выписок по лицевым счетам, формирование реестра платежей за любой период, паспортов сделок и др. Абонентом банка может быть как юридическое, так и физическое лицо, имеющее компьютер. За рубежом такая услуга под названием домашний банк ( Home banking ) в последнее время стала особенно популярной.
При организации взаимодействия банк-филиал технология ведения банковских операций во многом определяет состав передаваемых между банком и филиалом данных, но основной информацией, поступающей от филиалов в головное отделение банка, является его баланс, на базе которого формируется консолидированный баланс.
Взаимодействие коммерческого банка с другими банками может производиться через систему взаимных корреспондентских счетов, с помощью ГВЦ при одногородных расчетах, через систему клиринговых центров и через систему РКЦ (или ОПЕРУ).
Межгосударственные межбанковские взаимодействия на территории СНГ осуществляются через центр межгосударственных расчетов (МГР) ЦБ РФ, а международные расчеты - через систему общества международных межбанковских финансовых коммуникаций SWIFT.
Информация, циркулирующая между банком и внешней средой, может носить как чисто информативный характер, так и финансовый. И если первый вид сообщений может и не требовать поддержания определенных требований безопасности, то система удаленных платежей должна обеспечить не только ускорение обслуживания и удобство, но и поддержку имеющихся стандартов передачи данных, а также достоверности и целостности платежных документов, т.е. безопасности платежей. Особенностью электронных платежей в Украине в настоящее время является многообразие платежных документов, которые не всегда оформляются единообразно и могут не соответствовать международным стандартам. В целом в СНГ существует значительное отставание в области использования мировых стандартов, которое составляет около 10-15 лет. Это связано с качеством технической базы и состоянием каналов.
Передача информации может осуществляться по телефонным и телеграфным каналам. И если в случае использования телеграфного канала абонент при регистрации должен получить свой адрес и собственный кабель, то при использовании телефонного канала это не требуется, так как эти процедуры уже были проведены при установке телефона. При передаче используются различные уровни стандартизации - от электрического до логического. Прежде всего это стандарт на форму передаваемых документов. В банковской системе распространен стандарт SWIFT, определяющий расположение и назначение полей документа.
Все электронные взаимодействия коммерческого банка с внешней средой, к которой относятся отдельные клиенты, участники расчетов пластиковыми карточками, другие банки в Украине, СНГ и в других государствах, осуществляются на основе телекоммуникационной среды с использованием стандартов передачи и обработки данные различного уровня.
С развитием телекоммуникационных сетей в банковском деле появились принципиально новые услуги по взаимодействию клиента и банка, которое может осуществляться на компьютерной основе. Связавшись с компьютером банка по телефонной сети через свой персональный компьютер, клиент после прохождения авторизации может проверить состояние своего счета и совершить с ним ряд операций. Подобные действия клиент может предпринимать и не имея компьютера, используя возможности средств телекоммуникаций и пластиковых карточек, которые несут в себе сведения о владельце и его финансовых возможностях.
Обилие видов пластиковых карточек как машинных носителей информации, а также их невысокая стоимость сделали их весьма распространенными. Пластиковые карточки стали использоваться в качестве: пропусков (access control); телефонных карточек (phonecard); визитных карточек (business card); удостоверений личности (pass control); водительских удостоверений; студенческих билетов; карточек логического доступа (например, к компьютеру); карточек контроля входа в различные электронные системы (log-on access): доступ к устройствам ЭВМ, к программам и файлам, разрешения на выполнение программ или команд, контроль отдельных функций, доступ к шифрованным данным; карточек хранения данных (например, карты здоровья); карт гарантии и фирменного сопровождения, где отмечается обслуживание: осмотры и ремонты какой-либо покупки; финансовых карточек: карточки покупателя (shopping card), банковские карточки (bank card) и карточки для банкоматов (ATM-Card).
Пластиковая карточка представляет собой машинный носитель информации, который может быть классифицирован по способу ее записи и хранения. Так, различают магнитные карты (МК), карты памяти, смарткарты (СК) и суперсмарткарты (ССК).
Емкость МК составляет всего 100-200 байт, в которых на нескольких дорожках зафиксированы: идентификаторы карточки и ее владельца, сроки действия, внутренний код и поле для записи функциональной информации. И хотя для записи и считывания информации МК необходимы специальные устройства, они, как и сами МК, относительно просты в производстве, и себестоимость их невысока. Поэтому в настоящее время во всем мире они наиболее распространены, хотя как носитель несовершенны. Прежде всего они имеют очень низкий уровень защищенности. По данным ОКБ САПР, общие потери на МК составляют 0,5-10 % от оборота, причем 22,6 % из них приходится на мошенничество "продавца", а 17 % на утрату карточек.
Магнитные карточки легко скопировать и использовать одновременно в различных POS в пределах одного операционного дня до тех пор, пока не началась обработка (цена копирующего устройства составляет всего 1000 дол.). Мошенничества по такой, схеме происходили в Англии и Франции в 1985-1988 гг. В 1986 г. в Англии было снято по поддельным карточкам 64 тыс. дол. При этом идентификация проходила через терминалы банкоматов.
Имеют место и другие виды нарушений. Так, при вводе PIN-кода (персонального идентификационного номера) может имитироваться сбой с необходимостью последующей перезагрузки и просьбой повторного ввода пароля. При этом происходит его копирование в программу, которая после пересылки кода в заданное место самоуничтожается.
Другой прием заключается в добавлении необходимого количества нулей к сумме, указанной в транзакции. Поскольку при переводе суммы была выполнена авторизация, а транзакция подтверждена электронной подписью, доказать ошибочность проводки клиенту крайне сложно. Во Франции рост числа мошенничеств совпал с ростом распространения МК, и в 1988 г. были обнаружены четыре полупромышленные мастерские по производству фальшивок. Около 15 % доходов эмитентов было присвоено по поддельным карточкам.
Помимо слабой защиты от копирования МК недолговечна. И эти ее недостатки повлекли за собой усложнение технологической схемы обслуживания. Работа с МК предполагает обмен информацией при авторизации в режиме on-line и усложняет процедуру обслуживания продавцом покупателя. СК в отличие от МК снижают риск мошенничества в 20 раз.
Среди финансовых карточек существуют также карточки для проведения операций с наличностью (ATM-Card) на основе банкоматов, имеющих считыватель, цифровую и функциональную клавиатуру, дисплей, принтер и устройство выдачи и ввода наличности.
Относительно банковской технологии карточка обеспечивает определенную форму расчетов, которая обусловлена технологией совершения расчетов, типом используемых документов, характером платежа, местом и временем, а также видом предоставляемой гарантии и сферой использования данной формы.
В технологии реализации расчетов с помощью карточек участвуют три объекта: банк, клиент и магазин.
Банк выдает клиенту карточку, содержащую сведения о его потенциальной возможности совершения покупок. При этом можно говорить о дебитных карточках (доступна вся сумма средств, находящихся на счете клиента), предоплаченных карточках (доступна часть средств, переведенных на индивидуальный или общий транзитный счет со счета клиента) и кредитных карточках (доступна часть средств, отсутствующих на карточке, но обеспечивающихся банком или самим клиентом). Магазин через банк осуществляет дебетование средств клиента.
В зависимости от наличия средств телекоммуникационного доступа авторизация для МК может происходить как по каналам связи (on-line), так и голосом, а для СК и в режиме off-line. По виду резервирования средств электронные платежные средства (ЭПС) можно разделить на: средства, требующие on-line-связи с платежной системой в момент покупки (резервирование средств происходит в момент платежа); средства, предполагающие перевод денег с лицевого счета клиента на банковский (не транзитный) счет, соответствующий карточке; средства, использующие периодическое пополнение счета до установленной суммы (например, по определенным датам) в любом месте через терминал в режиме off-line (только для СК).
В современной отечественной литературе банковские карточки по технологии и характеру платежей традиционно разделяют на дебетные (ДК) и кредитные (КК).
Дебетные карточки являются возможной заменой наличных средств или чеков (т.е. ДК — карточки наличных средств или активов). Они могут быть использованы для оплаты покупок, получения наличности в отделениях банка, поддерживающего карточки, или в банкоматах. Владелец вместо наличности предъявляет карточку, продавец проверяет ее на предмет наличия в стоп-листе или получает по телефону подтверждение банка на требуемую сумму, которое зависит от суммы средств на счете покупателя.
Если же дебетная карточка поддерживает возможность предоставления обеспеченного овердрафта, то она становится дебетно-кредитной. При совершении торговой операции продавец выписывает стандартные документы, покупатель подписывает их и оставляет себе копию.
Кредитные и дебетно-кредитные карточки позволяют владельцу получить по карточному счету необеспеченный и обеспеченный овердрафт. При выдаче тому или иному лицу карточек, дающих возможность получения необеспеченного (без предоплаты) овердрафта, банк проверяет и анализирует средний годовой доход, кредитную историю, жилищные условия, род занятий, семейное положение, наличие банковского счета и т.п. В Украине и кредитные, и дебетно-кредитные карточки относят к кредитным, хотя практически используются лишь дебетные. Взаимоотношения между клиентом и банком определяются договором, в котором в Украине обычно отражаются:
• процент, взимаемый банком с оборота по данному карточному счету;
• процент скидки покупателю при покупках в пределах сумм на его лицевом счете (среди украинских карточек эту скидку давала только коммерческая карточка OLB1, а в настоящее время - ряд дисконтных карт;
• объем кредита, предоставляемого банком (обычно в пределах двукратной суммы страхового депозита);
• процент оплаты фактического кредита банка;
• процент оплаты дебетового сальдо относительно объема предоставляемого банком кредита (обычно удвоенная величина кредитной ставки);
• проценты за обналичивание через кассу банка и через банкомат, а также ежедневный лимит снятия средств;
• залог по дебетовому сальдо (обычно недвижимость);
• обязательства клиента сообщать все изменения источников дохода;
• паспортные данные клиента;
• ответственность при потере магнитной карточки.
Технологии выполнения расчетов с использованием МК могут быть различны в деталях, но в целом схема расчетов следующая. Если при покупке товара используется карточка, ее хозяин вводит в устройство сертификатора pin-код, а продавец связывается с банком для проверки платежеспособности карточки (авторизация), и после соответствующего подтверждения формируется торговый вексель: с помощью импринтера подготавливается отпечаток с рельефной части карточки - слип, на котором пропечатывается сумма задолженности, а покупатель ставит свою подпись, что делает его документом для оплаты. В конце рабочего дня слипы в ходе инкассации пересылаются в банк, где находится расчетный счет магазина, и осуществляется перемещение средств со счета покупателя на счет магазина.
Взаиморасчеты между банками производятся с участием расчетного (процессингового) центра. Однако формирует проводки и осуществляет расчеты между банками расчетный банк системы по требованиям, выставляемым процессинговым центром.
Если счет владельца кредитной карточки находится в банке другой системы, то информацию передают в расчетный центр того банка, который выдал кредитную карточку. Выдачу кредита наличными осуществляет любой банк, принимающий карточки этой системы. Кредит, предоставляемый по КК (овердрафт), отличается от традиционного повышенными операционными расходами, повышенными рисками чрезмерного использования КК владельцами и фальсификаций невладельцев КК. Использование карточки может быть запрещено, если кредитная карточка объявлена украденной (пропавшей), если исчерпан предел кредитования, владелец кредитной карточки значительно просрочил время платежей, а также в случае аннулирования счета.
Плата за карточку складывается из регулярно взимаемого тарифа, комиссии за право получения кредита, оплаты услуг, оплаты овердрафта и издержек по неплатежам других клиентов. Более детально она содержит:
стоимость выпуска карточек и их годового обслуживания; размер минимального первоначального взноса плюс стоимость пользования карточкой, в которую входят комиссионные за снятие наличных и оплату товаров и услуг; начисления процентов на остаток по счетам, стоимость предоставления выписок по счету плюс стоимость дополнительных услуг (предоставление дополнительных карточек, страхование, скидки).
Расчеты на основе магнитных карточек выгодны всем участникам процесса.
Для клиента эти преимущества заключаются в следующем. Он получает в свое распоряжение эквивалент наличности, относительно безопасный при потере или краже. Пользуясь карточкой определенного вида, клиент может получать скидки на покупку товаров, а также дополнительные услуги. Так, например, КК АтЕх страхует владельца на 50 тыс. дол. на случай потери трудоспособности и дает около 40 % скидки в отелях. Карточки ETN позволяют иметь клиенту льготы (до 50 %) на пользование отелями, ресторанами, магазинами, прокатом.
В Украине, используя МК, можно делать покупки в магазине по курсу конвертации банка, выигрывая на разнице курсов банка и магазина.
При использовании КК клиент может получить кредит на тех условиях, которые предусмотрены данной системой карточек. Кроме того, клиент может по выпискам легко контролировать свой бюджет. И наконец, еще одним преимуществом МК является их престижность. Банк "Оптимум" заключил соглашение со страховой компанией "Спасские ворота -М", предусматривающее медицинское страхование владельцев Optimum Card на 3 тыс. дол. Как показывает практика, основными причинами приобретения пластиковых карточек являются: покупка товаров и услуг со скидкой, оплата в рублях по курсу Московской межбанковской валютной биржи (ММВБ), возможность платежей за рубежом без вывоза наличной валюты и без регистрации вывоза средств, безопасность хранения денег и проведения платежей, возможность покупок в валютных магазинах СНГ и престижность.
Неудобство для клиента - необходимость оплаты предоставляемых системой карточек услуг. При этом деньги клиент кладет в банк единовременно, но тратит их в течение длительного периода. Процент, выплачиваемый банком по депозитам, всегда меньше процента по кредитам, но в Украине процент по депозиту может оказаться меньше процента инфляции, поэтому иметь карточку с этой точки зрения было бы не очень эффективно.
Для магазина преимущество использования карточек состоит в приобретении им новых клиентов за счет престижной, удобной и привычной (за рубежом) формы расчетов. По данным американских психологов, вероятность покупки при использовании покупателем карточек, возрастает на 30 - 40 %. Кроме того, исчезают проблемы с инкассацией и конвертацией. К неудобствам использования карточек магазином относятся необходимость закупки или аренды оборудования и сложности с автоматизацией. Помимо этого магазин постоянно испытывает задержку фактического поступления средств, поскольку банк переводит их лишь после прохождения слипов или их эквивалента через процессинговый центр и после обработки информации в банке.
Для банка преимущества заключаются в том, что деньги до последнего момента цикла расчетов находятся в банке. Банк увеличивает свой оборот, привлекает новых клиентов и новые средства, за счет чего можно получить дополнительную прибыль. Кроме того, уменьшается проблема наличности. Но появляются другие проблемы. Основная - очень большие затраты на внедрение карточек. Так, затраты банка "Столичный" на создание системы STB-Card превысили 12 млн. дол. [3], а по системе Optimum Card затраты превысили 7 млн. дол.
Такая цифра становится понятной, если учесть, что процесс реализации программы карточек предполагает их производство (ишвинг), организацию обращения (эквайринг), проверку платежеспособности клиента (авторизацию), обеспечение обмена данными между магазином и банком по телекоммуникационным каналам или в виде слипов и обработку этих данных (процессинг). Каждая из этих составляющих требует больших затрат, поскольку эффективность использования карточек зависит от их распространенности, а та, в свою очередь, - от числа точек их обслуживания (POS). Срок окупаемости проекта составляет от 2 до 5 лет при достаточном количестве карточек (около 10 тыс. шт.) и пунктов их поддержки (магазины и пр.).
Предприятие, на котором работает клиент, используя систему карточек, решает проблему наличности и сокращает время на выдачу заработной платы. Примером здесь могут служить многие предприятия и организации. Так, Московский государственный университет экономики, статистики и информатики - один из первых вузов страны, который стал выдавать заработную плату сотрудникам и стипендию студентам, используя пластиковую карточку STB-Card.
Новый вид карточек, который становится сейчас все более популярным в сфере ЭДО, - смарт-карты. Имея стандартные в соответствии со спецификацией ISO размеры, они представляют собой микрокомпьютер, который может содержать процессор, память (ПЗУ, изменяемая ПЗУ, ОЗУ), систему ввода-вывода. Карта снабжается операционной системой и системой безопасности для защиты данных с возможностью их кодирования.
"Пустая" микропроцессорная карта при эмиссии изначально содержит в ПЗУ тип карты (банковская или клиентская (торговая)), уникальный идентификатор в пределах системы, код эмитента и операционную систему. Смарт-карта была изобретена Р. Морено для повышения защиты еще в середине 70-х гг., но только в 1985 г. во Франции (которая сейчас лидирует в использовании СК) было принято решение об использовании СК и лишь в 1992 г. началось широкое оснащение карточек процессорами.
Такую карточку трудно подделать и невозможно скопировать. Одной из хорошо защищенных сейчас является карточка компании Gemplus (Франция), используемая в технологии U.E.P.S. (русская версия), созданной компанией Netl (Франция), интересы которой на украинском рынке представляет компания BGS Industrial (Австрия). Базовое программное обеспечение принадлежит BGS и российской компании Telefonn. Карточка имеет двенадцать степеней защиты: от ультрафиолета, от лазерного сканирования, от спиливания, нагрева и пр. Каждый из участников системы (и банк, и магазин) имеет собственные ключи. В банке хранится так называемый "нулевой пароль", вводимый им при установке или замене транспортного ключа, которым "закрыты" карты до момента их эмиссии банком, при этом поставщик системы доступа к этой операции не имеет.
СК дают возможность многоцелевого использования, и в зависимости от конфигурации она может стоить до 20 дол. Например, телефонная карточка в Германии на основе СК с памятью стоит 2 марки, а СК с микропроцессором будет стоить около 12 марок *. Карточки с памятью обмениваются с внешними устройствами информацией в открытом виде, и после этого происходит доступ, а карточки с микропроцессором, получив сигнал на считывание, обрабатывают его, после чего осуществляется доступ. Пример технологической схемы выполнения расчетов через СК представлен на рис. 11.

Рис. 11. Технологическая схема расчетов с использованием смарт-карт.
* по технологии BGS инкассация через СК - магазин.
** по другим технологиям: инкассация по телекоммуникационным каналам.
Деньги с лицевого счета клиента переносятся на СК и одновременно отражаются на специальном накопительно-распределительном счете (Holding Accounting) (I, 2). Далее клиент расплачивается ею, проходит авторизацию на месте расчетов (POS) (3). После проверки по стоп-листу (4) (операция осуществляется терминалом автоматически) происходит обработка платежа в режиме off-line и средства переносятся с карты покупателя на карту магазина ( в системе UEPS) либо с карты покупателя (выдает банк) записываются в торговый терминал (5), который затем инкассируется (6). Данные одновременно отражаются на журнальной ленте и чеке. Чек передается покупателю (5). Проводка содержит код банка владельца, номер его лицевого счета, идентификатор магазина, дату, время и сумму проводки. Из магазина осуществляется телекоммуникационная пересылка транзакции в банк, где по ней происходит списание денег с Holding Accounting на расчетный счет магазина.
Смарт-карты, содержащие микропроцессор, меняют технологию расчетов и таким образом создают новые возможности для их участников. Оперативность платежа возрастает, а контроль собственных расходов становится более удобным и конфиденциальным. Клиент может хранить раздельно крупные и обычные суммы на одной карточке. Область памяти, хранящая крупные суммы, может быть защищена специальным паролем, который может заменяться пользователем самостоятельно и многократно. Перемещение средств между этими областями по технологии, используемой, например, в Промстройбанке, может быть выполнено в любом пункте обслуживания. При этом клиент может осуществлять денежные переводы, совершать коммунальные платежи и оплачивать покупки любого размера.
Банки-эмитенты открывают новые счета и увеличивают свой доход от участия в операциях POS. При этом общая степень риска по карточкам снижается за счет уменьшения рисков в денежном обороте, отсутствия рисков неплатежеспособных клиентов и потерь от возможного взлома системы или подделок. Улучшается имидж банка, использующего прогрессивную форму расчетов.
Технология СК обеспечивает высокую степень автоматизации (операции ручного ввода информации с чеков вообще отсутствуют) и информационного обслуживания всех участников расчетов.
Банк не несет ответственности за расходы по поддержанию базы pin-кодов, Снижает расходы по эксплуатации телекоммуникационных сетей и эксплуатационные расходы мейнфрейма ВЦ банка. Таким образом меняется структура затрат: увеличивается цена карточки и периферийного оборудования, но сокращаются расходы как Back-Office, так и Front-Office. Ряд СК позволяет использовать терминальное оборудование МК.
Исследования специалистов АО "СканТек" показали, что наилучшими характеристиками среди СК по соотношению защищенность - цена являются карточки PCOS (для крупных покупок) и GPS 896 (для повседневных покупок).
Магазины могут использовать СК, сохраняя возможность работы с МК любого типа и, применяя специальный товарный терминал, получают возможность уменьшения времени обслуживания клиентов (до 4 с) без дополнительного обучения персонала при полной гарантии оплаты транзакций и кредитовании счета магазина в момент покупки. При этом упрощается контроль расчетных операций, снижаются объемы телекоммуникационного обмена и расходы по оплате комиссий банку.
Существуют два принципиально разных подхода, используемых банками для внедрения карточек: 1) вступление в существующие за рубежом системы карточек в качестве принципиальных или ассоциированных членов (Кредобанк, Мост-Банк, Инкомбанк); 2) эмиссия собственных карточек или участие в украинских системах (эмиссия собственных карточек в пределах сложившейся системы, обслуживание карточек другого эмитента, участие в процессинге и др.). Для внедрения карточек международных систем (Eurocard, MasterCard, Cirrus/Maestro, Eurocheque) создана ПК АО "Cardcenter" (1992г.), обслуживающая операции некоторых банков - членов Europay. Пользователями центра являются такие банки, как Диалог, Кредит-Москва, Моссбер-банк и др.
Таким образом, даже если данные, записанные на карточке, и окажутся продублированными (как с МК), ее использование невозможно без знания этого уникального кода. При отправке карточек производителем в адрес банка, выпускающего карточки в обращение, pin-коды генерируются банком отдельно. Пока код не будет "присвоен" карточке, ее невозможно использовать. Как только Optimum Card выпущена и на ней записаны данные, доступ к ним защищается персональным идентификационным номером. При несанкционированной попытке использования карточка блокируется, как и в случае, если личный пароль набирается неправильно трижды. Если же владельцу карточки не хватает суммы, хранящейся на карточке, он может при помощи банкомата или в отделениях банка вложить недостающие средства в безналичной форме, таким образом освобождая себя от проблем с хранением больших сумм наличности.
Вся информация о покупках заносится в память кассового терминала, при этом остатки на карточке обновляются. По окончании операционного дня магазина по модемной связи проводки по сделкам пересылаются в банк, где происходит обработка и с банковского счета владельца Optimum Card деньги переводятся на счета магазинов.
В ближайшие годы следует ожидать не просто объединения локальных систем, а объединения, связанного с межбанковской унификацией
Процедуры изъятия карточек и других технологических этапов работы системы, и на основе этого создания системы национальной и международной систем карточек.
Система телекоммуникационного взаимодействия клиента с банком (Клиент-Банк) позволяет сократить число визитов клиента в банк и облегчить ведение бухгалтерии обоим участникам. Система обеспечивает подготовку клиентом платежных документов различного вида, "пачкование" их при необходимости и пересылку в банк, а также получение из банка выписок по счету и реестров платежей. Система Клиент-Банк в банке связана с блоком операционно-учетных работ, который обеспечивает прохождение платежей и формирование необходимой выходной документации.
Платежные документы и запросы в банк формируются клиентом банка в АРМ бухгалтера. Далее эти документы подписываются электронной подписью главным бухгалтером и директором учреждения и передаются в банк на АРМ коммуникаций, который оборудован специальным компьютером. Обычно это либо коммуникационный сервер, к которому подключаются модемы, либо хост-машина. Положительным моментом здесь является то, что хост-машина может работать круглосуточно и сообщения могут приниматься даже ночью. Последнее важно для нашей страны, имеющей много часовых поясов. Недостаток же заключается в том, что реально поручения будут выполнены или утром при наличии режима реального времени для обработки, или, что более вероятно, вечером, когда будет завершаться операционный день. Таким образом, реально оборот денежных средств предприятия ускоряется незначительно.
В функции АРМ коммуникаций входят контроль доступа к серверу, идентификация абонента, формирование сеансового ключа, поддержка сеанса, ведение системного журнала, ведение базы данных ключей клиентов. АРМ осуществляет связь с внешней средой и обеспечивает автоматическую пересылку сообщений между банком и клиентом, банком и клиринговыми центрами, банком и другим банком, банком и РКЦ, банком и его филиалами, банком и обменными пунктами.
Подсистема Банк реализует выход в систему SWIFT, обеспечивает ввод и контроль, корректировку, хранение и выборку платежных поручений, заявлений на аккредитив, объявлений на взнос наличными, заявлений на чековую книжку, отказ от акцепта и др. На введенные документы подсистема формирует реестр и может подготавливать пакет документов к отправке в банк. Для обеспечения безопасности подсистема ведет системный журнал, в котором фиксируются параметры сеанса, осуществляет разграничение доступа пользователя к данным и определяет его права. Передаваемая информация кодируется при подготовке файла внутренней программой и далее внешней программой, например, по алгоритму Data Encryption Standard (DES), разработанному фирмой IBM. Ключи кодировки хранятся в банке. Юридическая полноценность документа обеспечивается электронной подписью (ЭП) в соответствии с алгоритмом RSA (стандарт ISO 8731). К декабрю 1992 г. Федеральным агентством правительственной связи и информации (ФАПСИ) была закончена совместная разработка комплекса по организации криптографической защиты и контроля подлинности информации ProCarry Mail Special (PMS), который содержит модули криптографической системы MAGPRO, имеющие функции ЭП и обеспечивающие защиту и контроль подлинности информации в сети и на винчестере. В настоящее время оно распространяет и второй комплексный продукт - ВЕРБА. В июне 1992 г. Сбербанк внедрил сеть ИН-ФОТЕКС, имеющую электронную подпись. В том же году фирма "Диасофт" разработала свой алгоритм ЭП. В настоящее время алгоритм ЭП используется де-факто, хотя относительно законодательства электронный документ не имеет юридической силы.
АРМ коммуникаций принимает платежные документы, осуществляет их распознавание и передачу в блок операционно-учетных работ, где после проверки санкционированное™ доступа и определения номера операциониста, курирующего данного клиента, производится дешифровка сообщения с применением алгоритма ЭП. Для этого операционист использует специальную дискету, без которой расшифровка невозможна. Просмотрев поступившие документы, операционист отправляет их на исполнение либо не исполняет, проставляя причину отказа, и впоследствии отправляет обратно клиенту. В некоторых случаях операционист может переслать документы в АРМ руководителя для принятия решения. По результатам дня операционист высылает клиентам выписки о состоянии лицевых счетов и реестры выполненных проводок. Полученные документы распечатываются с подписями лиц, подписавших документ, в подсистеме
Клиент с пометкой об исполнении или с мотивировкой отказа. После выполнения проводок документы архивируются и делаются недоступными для любой корректировки.
Появившиеся в последнее время смарт-карты позволяют обеспечить высокий уровень безопасности доступа как в подсистеме Клиент, так и в подсистеме Банк. Смарт-карты предусматривают возможность многофункционального применения, в частности могут выступать в роли так называемых карт доступа.
Изменения традиционной банковской технологии взаимодействия с клиентом влекут за собой необходимость решения проблем, которые обусловлены особенностями телекоммуникационной среды и сетевой технологии.
Общество всемирных банковских коммуникаций - Sosiety for Worldwide Interbank Financial Telecommunication (S.W.I.F.T.) было основано группой из 250 банков Европы и Северной Америки в 1973 г. С 9 мая 1977 г., когда система начала функционировать, и до сегодняшнего дня число финансовых учреждений, пользующихся услугами этой организации, превзошло 3700 из 75 стран-членов и 92 стран-участников. Число транзакций, пересылаемых этими учреждениями, составляет почти 2 млн ежесуточно и более 400 млн в год. Объем транзакций при односторонней передаче составляет 325 байт, а при двухсторонней - 650 байт. Высокая интенсивность обменов снижает их стоимость настолько, что она оказывается ниже стоимости аналогичных передач по телексу и телеграфу. Время же доставки сообщения по SWIFT составляет около 20 мин, но его можно сократить до 1-5 мин за дополнительную плату, что перекрывает показатели обычных каналов связи. Так, аналогичная передача по телеграфу занимает около 90 мин.
Вступление в SWIFT предполагает заключение контракта пользователя, национальных органов с Сообществом (в Украине и в СНГ это СОВАМ-ТЕЛЕПОРТ).
SWIFT обеспечивает: единый язык и единую технологию организации обработки информации; надежность передачи и обработки данных и их защиту; быструю передачу сообщений; сокращение ошибок и, следовательно, потерь; надежный дистанционный контакт между клиентами; сокращение операционных расходов. В большой степени эти преимущества связаны с использованием стандартных сообщений.
Система SWIFT осуществляет: телеграфные переводы клиентов и банков; передачу извещений о получении переводов; обмен валюты; запросы и извещения о займах и вкладах; долгосрочные займы и вклады; платежи процентов; подтверждение дебета или кредита; выписки со счета. Это позволяет сократить применение бумажной технологии и перейти к электронному обмену данными (ЭОД) в финансово-кредитной системе. Если изначально планировалось обслуживание только банков, то вскоре система стала доступна и другим учреждениям (брокерским, дилерским, клиринговым конторам и др.).
Все платежные документы поступают в систему в стандартизированном формате, что позволяет автоматизировать обработку данных и исключить возможность различного понимания смысла сообщений отправителем и получателем. Фиксация выполненных транзакций дает возможность полного контроля (аудита) всех проходящих распоряжений и ежедневного автоматизированного формирования отчетов по ним. Передача сообщения и его контроль осуществляются автоматически (в режиме on-line не дольше 20 с).
Многоуровневая комбинация физических, технических и организационных методов защиты обеспечивает сохранность и секретность передаваемых сведений. Поручения клиентов и формируемая отчетность могут использоваться для оценки состояния счетов и платежей. Применение стандартов банковской документации, ее унификация исключили расхождения в оформлении документов различными пользователями.
В настоящее время выделено семь категорий сообщений, включающих более 70 их типов. Макет сообщения представляет собой пронумерованную совокупность обязательных и необязательных полей. Обязательные поля содержат информацию, необходимую для правильной обработки транзакции. Дополнительная информация располагается в опционных кодах. При круглосуточной работе 20 % сделок SWIFT осуществляет без вмешательства операторов. В случае поступления в SWIFT некачественной информации, которая не соответствует категориям, группам и типам установленных сообщений, может применяться экспертная система, осуществляющая идентификацию сообщения, - ARTRANS (Telex Reader). Она извлекает из неструктурированных сообщений информацию на естественном языке, касающуюся переводов средств между банками и клиентами, действуя по типу демонов.
Система может переводить документы из одной формы в другую, пересчитывать стоимость. Она состоит из очистителя сообщений (выявление неточностей и описок); анализатора текста (ядро); интерпретатора сообщений (проверка номеров счетов, адресов, подбор формы платежа) и формализатора содержания транзакции в SWIFT.
Сообщения кодируются в соответствии с разработанным стандартом для различных их типов. Поступившие в операционный центр сообщения проверяются на правильность формата документа, срока и адреса отправителя и получателя, а также статуса устройства - источника сообщения. В зашифрованном виде сообщения передаются в региональный процессор страны, где расположен банк-получатель, а оттуда - в банк-получатель. Срок хранения протоколов передачи составляет 14 дней.
Для ввода в SWIFT-2 используется (рис. 5.9) Computer Bank Terminal (CBT), который снабжен линиями международной телефонной связи, криптографическим оборудованием (К) ENCRIPTOR (STEN) и модемом (М) (рекомендуется MOTOROLLA-CODEX). По линиям телефонной связи информация поступает на точку доступа в SWIFT - SWIFT Access Point (SAP) или в региональную администрацию - Regional ADministration (RAD). SAP представляет собой автономный заэкрани-рованный машинный зал, оборудованный в соответствии с требованиями SWIFT. Он снабжен таким же криптографическим оборудованием и модемным оборудованием, как и у пользователя. Таким образом, SWIFT начинает нести ответственность только с момента поступления информации с модема, установленного в SAP (RAD) на оборудование, юридически принадлежащее SWIFT.
Вся система SWIFT управляется одной из четырех ЭВМ, установленных в Голландии (две) и в США (две). Остальные три машины используются в «горячем» резерве. Россия имеет четыре канала (два через Германию и два через Бельгию), хотя достаточно одного. Три оставшихся также находятся в «горячем» резерве. В настоящее время система переводится в модернизированную схему SWIFT-2, оборудованную спайс-процессора-ми, которые состоят из проблемно-ориентированных и независимых модулей, обеспечивающих скорость передачи информации 9600 бод. Срок хранения информации увеличивается до четырех месяцев. При этом для SWIFT-2 поддерживается Протокол Х.400, в котором предусмотрено выполнение Протокола Х.25. Планируется создание межбанковской системы передачи файлов (Interbank File Transfer), которая станет платформой, поддерживающей стандарт EPI.
Сформулируем основные потребности банков к интерфейсу со SWIFT:
• мультисистемность коммуникационного сервера;
• легкость интеграции и расширения системы;
• полное соответствие последним стандартам SWIFT;
• независимость от компьютерного оборудования. Для прояснения ситуации на рынке следует сказать о трех основных его тенденциях.
Во-первых, банки всегда хотят уменьшить затраты и повысить эффективность своей работы. Один из способов достижения этой цели - объединение систем в региональные узлы. Например, банки, имеющие в своих филиалах ST-200, заменяют их одним интерфейсом в центральном отделении. (Это особенно эффективно для украинских банков, имеющих небольшое число валютных платежей. Они могут организовать групповое подключение к SWIFT.)

Рис. 12. Структура сети SWIFT-2
Во-вторых, это ориентация банков на открытые компьютерные системы, работающие под управлением операционной системы UNIX, что позволяет, естественно, объединять в единые вычислительные комплексы оборудование различных производителей. Это устраняет зависимость от одного поставщика и позволяет отслеживать все новации компьютерного мира в целях обеспечения конкурентоспособности своей компьютерной системы.
Третье направление - интеграция различных офисных программ и компьютерных систем. Время передачи данных между компьютерами на магнитных лентах и дискетах давно прошло. Сейчас данные передаются в режиме реального времени, что позволяет каждому компьютеру, включенному в этот процесс, стать частью единой системы. Как видно из сказанного выше, потребность безболезненного объединения существующей банковской системы и интерфейса с сетью SWIFT становится самым важным аргументом выбора.
Все больше .пользователей разрабатывают распределенные системы, базирующиеся на локальных компьютерных сетях, таких, как Ethernet и TokenRing. Для этих целей единственным полностью открытым интерфейсом является система TIP/SWIFT, разработанная компанией Telematic Information System (AG) (Швейцария).
Многие банки во всем мире объявили о переходе на UNIX. При этом основной проблемой является стыковка современных банковских программ на основе реляционных баз данных с системами межбанковских расчетов.
Программа MERVA/370, разработанная германским отделением IBM во Франкфурте, базируется на компьютерах IBM/370 и предназначена в основном для банков, которые исконно ориентированы на продукцию фирмы IBM и не спешат заменять оборудование 70-х гг. MERVA/2, разработанная под операционную систему OS/2, должна была стать альтернативной, опираясь на оборудование ST-200, используемое в качестве коммуникационного проце9сорадля больших ЭВМ. Однако этот проект не был развернут из-за нежелания партнеров IBM по банковским программам разрывать свои контракты с компанией SWIFT Terminal Service (STS). Новейшая третья версия пакета MERVA/2 была объявлена к продаже с конца ноября 1993 г. Она представляет собой универсальную межбанковскую телекоммуникационную систему, которая осуществляет не только интерфейс с сетью SWIFT, но и является инструментом для подготовки и обработки сообщений, а также обеспечивает связь с банками, не состоящими в SWIFT, посредством телекс-сети. MERVA имеет достаточно высокий потолок сообщений — более 1200 в час, удобный интерфейс пользователя и гибкую внутреннюю архитектуру. Ее легко переконфигурировать под конкретные потребности пользователя. С помощью MERVA/2 банк получает возможность подключать к SWIFT свои филиалы, расположенные в любой точке мира, например, через головной офис, при этом физическое подключение к SWIFT достаточно иметь только головному банку. При необходимости MERVA/2 может быть подключена к банковской системе на базе компьютеров AS/400, RS/6000 (имеются стандартные интерфейсы) или любой другой. В состав системы входит интерфейс прикладного программирования, который позволяет объединить MERVA/2 с произвольной банковской системой. Одной из новых возможностей пакета является поддержка стандарта USE (User Security Enhancement) (1994г.). Именно на системе MERVA/2 в начале сентября 1993г. были проведены первые сеансы с использованием стандарта USE, который поддерживает технологию автоматического обмена ключами между банками и ограничивает доступ к системе с помощью карточек. Также следует отметить возможность внедрения системы клиринговых расчетов при помощи компонента, обеспечивающего поддержку системы PREMIUM, разработанной SWIFT. В мире комплексы MERVA установлены в более чем 15% банков - членов SWIFT, однако на долю интерфейсов MERVA приходится около 50% сообщений, проходящих через сеть SWIFT. В качестве аппаратной базы используется одиночный компьютер IBM PS/2 либо локальная сеть Ethernet или TokenRing с компьютерами PS/2.
Система взаимодействия со SWIFT - SAFE фирмы WANG, успешно продававшаяся в Латинской Америке и Азии, получает все меньшее финансирование для своего развития из-за внутренних проблем.
Фирма Manof предлагает интересные системы для взаимодействия со SWIFT, ориентированные на большие компьютеры IBM: MBS на IBM Series/I и новый продукт MINT, рассчитанный на IBM Stratus или S/88.
Фирма Logica разрабатывает пакет Fastwire для компьютеров компании Digital, а ее филиал Data Architects - пакет Bess для компьютеров компании Tandem, достаточно экзотичных, особенно для украинского рынка. Оба интерфейса используют единое программное ядро.
Система TIP/SWIFT, разработанная фирмой Telematic Information Systems из Швейцарии, позволяет строить интерфейс между банковскими программайи, работающими под управлением операционной системы UNIX, в локальных сетях Ethernet или TokenRing. TIP/SWIFT разработана для UNIX-машин, таких фирм, как Hewlett-Packard-HP9000/800, IBM-RS6000, SUN-Sparc, Motorola серии 3000 и 8000, Siemens-Nixdorf-МХЗОО.
Первоначально система SWIFT ориентировалась только на работу с телеграфными и телефонными линиями. Программы управления телексной связью, которая и сегодня остается важнейшим типом связи, встроены в интерфейсы SWIFT. В настоящее время ведутся работы по подключению факсимильной связи. В 1980 г. была создана компания STS (SWIFT Terminal Service), которая и разработала программно-технические комплексы нескольких уровней.
Терминальный комплекс ST-200 обеспечивает только прием и передачу сообщений. Комплекс рекомендуется для небольших банков (10 сообщений в день), включает две машины UNISYS и один стриммер (в Киеве это оборудование поставляется фирмой ЮНИМАС). В настоящее время ST-200, хотя и был усовершенствован, исчерпал возможности компьютера UNISYS B-series.
ST-400 рекомендуется для больших банков и дает возможность работы в SWIFT на телексных сетях. Он позволяет подсоединять программные средства собственной разработки (например, MERVA IBM), включаться в локальные или национальные сети (CHIPS - США; FEDWARE - США;
SIC - Швейцария; SAGITTAIRE - Франция; CHAPS - Великобритания и др). ST-400 может работать на всех моделях ЭВМ семейства VAX 11. Он обеспечивает автоматический прием сообщений и их передачу, рассылку информации по адресам, подготовку отчетов и выполнение аудита. Уровень безопасности данных в ST-400 выражается пределом допустимых потерь, который составляет 4% (в ST-200 он равен 24%). Комплекс ST-400 позволяет строить систему, содержащую оболочку, генератор документов и электронную почту (Х.400).
Оболочка следит за тем, чтобы операции выполнялись согласно денным инструкциям.
Генератор документов позволяет использовать конверторы документов для приведения их к стандартному виду.
Наиболее простая система - на базе ST-500, где в качестве управляющих центров могут быть использованы большие ЭВМ типа IBM-370. Такая технология требует больших расходов (в 2-3 раза выше, чем при использовании других вариантов) на обслуживание и телекоммуникации. Насыщенная технология на базе ST-500 с различными устройствами, позволяющими преобразовывать формы документов, также опирается на централизованную обработку на базе компьютеров IBM и UNISYS, а также на передачу данных методом коммуникации каналов. ST-500 уходит с рынка из-за снятия в 1994 г. компьютеров IBM Series/I с производства и сервисного обслуживания. Другая компания, также созданная в рамках SWIFT, - SSP (SWIFT Service Partner) обеспечивает сервис для выполнения расчетов в ECU (European Currency Units). Помимо этого основная ассоциация, занимающаяся системами оценки банковских рисков SHARP, совместно с SSP поставляет систему STREAM для контроля рисков, связанных с международной торговлей. В Швейцарии (Union Bank of Swizerland) используется система SPOT-TOPAS - финансово-расчетный модуль для системы SWIFT *. В 1993 г. SWIFT объявила о выпуске нового семейства финансовых интерфейсов, названных SWIFTAlliance. Продукт обеспечивает пользователям простоту ST-200, масштабируе-мость ST-400 и возможности графика ST-500. Соответствие SWIFTAlliance стандартам открытых систем дает возможность облегчить интеграцию финансовых приложений в сеть SWIFT, в другие национальные и частные финансовые сети.
Кроме того, этот продукт обеспечивает интерфейс к системе Interbank File Transfer (IFT), телексу и факсимильной связи.
Изначально семейство SWIFTAlliance ориентировано на IBM RISK System/6000. В ближайшем будущем намечен его перенос на платформы Bull, Digital и Hewlett-Packard. Другие крупные производители компьютерных платформ, такие, как Sun, Tandem и UNISYS, сейчас обсуждают со SWIFT эту возможности. Множество поставщиков финансовых приложений намереваются обеспечить' совместимость и интеграцию своих продуктов с SWIFTAlliance. Среди них такие известные фирмы в области разработки финансовых (в том числе банковских) приложений, как BIS, Biveroni, International Systems, Kapiti, McDonnel Douglas Information Systems (MDIS), Montran, Provida и Winter-Partners.
В последнее время получил широкое распространение мобильный продукт, поддерживающий взаимодействие со SWIFT, - Turbo SWIFT.
Система межбанковских расчетов обеспечивает выполнение следующих категорий банковских операций :
• клиентские переводы;
• банковские переводы;
• валютные операции;
• документарные операции.
В рамках этих категорий операций осуществляются подготовка и обработка соответствующих категорий сообщений по классификации ISO (табл. 14). SWIFT использует все возможности для поддержки уже существующих стандартов ISO и ICC. Стандарты разрабатываются группами представителей уполномоченных банков и сотрудниками SWIFT. Постоянные группы собираются четыре раза в год, а временные - оперативно для решения конкретных проблем (ценные бумаги, дорожные чеки, золото, драгметаллы).
Таблица 4.
Категории, группы и типы сообщений в SWIFT
|
Категория 0 системные сообщения |
|
Категории 1- 3 банковские сообщения |
|
Общая группа сообщений — N9M, где N— категория, а М — см. ниже: N90 — инструкция об оплате, процентах и др. N91 — справки (поручения) об оплате, процентах и др. N92 — отмены N95 — запросы N96 — ответы N99 — свободный формат |
|
Категория 1 — обслуживание клиентов тип 100—клиентский перевод средств |
|
Категория 2 — межбанковские операции типы 200,201 — операция по своему счету типы 202,203 — операция в пользу третьего банка |
|
Категория 3 — валютные операции тип 300 — подтверждение валютной сделки типы 320,324 — подтверждение валютных кредитов или вкладов тип 330 — подтверждение специальных видов валютных кредитов и вкладов тип 350 — оплата валютных сделок |
|
Категория 4 — аккредитивы тип 400 — извещение об оплате тип 410 — подтверждение тип 420 — извещение о получении и т.д. |
|
Категория 5 — ценные бумаги тип 500 — предложение купить тип 501 — предложение продать тип 510 — подтверждение тип 519 — уведомление и т.д. |
|
Категория 6 — зарезервирована |
|
Категория 7 — документарный кредит тип 700/701 — содержание документарного кредита тип 705 — предварительные условия тип 707 — приложения тип 710/711 — условия третьего банка тип 720/721 — передача документарного кредита и т.д. |
|
Категория 8 — зарезервирована |
|
Категория 9 — специальные сообщения тип 900 — подтверждение прихода тип 910 — подтверждение расхода тип 920 — запрос о сообщении тип 940 — сообщение об инструкциях клиента тип 941 — балансовый отчет тип 942 — отчет о пересылках тип 950 — сообщения об инструкциях |
Каждое сообщение структурно состоит из заголовка, текста, удостоверения, окончания. Абсолютно все сообщения шифруются для передачи по сети.
Сейчас определено семь категорий сообщений (см. табл.14), включающих более 70 их типов. Текст сообщения состоит из полей, часть которых является обязательными, некоторые поля могут опускаться или кодироваться различными способами, но все поля заранее пронумерованы. Обязательные поля содержат информацию, необходимую для правильной обработки этого сообщения. Дополнительная информация (для сложных транзакций или полных указаний) при необходимости располагается в полях «опционных» (необязательных). Системные сообщения (в отличие от чисто информационных) используются для работы с системой.
В подготовку и обработку сообщений вовлечены следующие подразделения валютного управления коммерческого банка: группа клиентских операций, отделы расчетов, депозитов и международных расчетов и платежей. Группа клиентских операций генерирует или получает сообщения для идентификации клиента, проверки сальдо счета, регистрации сообщения, заполнения мемориального ордера. Отдел корреспондентских счетов обеспечивает определение даты валютирования и банка-корреспондента исходящие сообщения : МТ 100, МТ 200, МТ 202, а входящие - МТ 950 (сверка счетов НОСТРО)}. В отделе депозитов осуществляется подготовка исходных документов (МТ 300, МТ 320, МТ 330). В отделе международных расчетов и платежей определяются цепочки банков, через которые осуществляется платеж, заполняются и передаются в SWIFT электронные формы сообщений, архивируются обработанные сообщения и обрабатываются невыясненные сообщения.
Клиентские платежные поручения (Customer Transfer) могут поступать от клиентов коммерческого банка, от клиентов его филиалов либо от клиентов других банков, имеющих валютные корреспондентские счета (счета ЛОРО), а также от бухгалтерии банка. Соответственно исходные документы могут поступать на бумажном бланке от клиента из филиала или по почте из банка-корреспондента, из филиала или банка-корреспондента в электронной форме по телексу, а также в виде распоряжения бухгалтерии банка. Если платежное поручение клиента принимается к оплате, формируется сообщение МТ 100 либо МТ 202. Схема прохождения клиентского платежного поручения по подразделениям банка приведена на рис. 13.
Платежные поручения клиентов банка принимаются операционистами отдела клиентских операций.
Каждый операционист обслуживает свою группу клиентов. Он сверяет подписи и печати организации (для физических лиц только подписи) с образцом, находящимся в отделе клиента, и, если они верны, осуществляет проверку сальдо счета клиента. Если поручение регистрируется, создается его электронная форма, в которой заполняются следующие поля : исходящий номер и дата платежного поручения, тип сообщения (МТ 100),
валюта и сумма платежа (М320), клиент-перевододатель (М50). Код валюты и наименование клиента (по номеру счета клиента) заносятся из справочных файлов или заполняются вручную, при этом проверяется наличие введенного кода в справочнике. В номере транзакции (TRN) операционист заполняет поле кода платежа. Поля кода филиала и порядкового номера заполняются автоматически. Поле "код группы" на этом этапе не заполняется. Сообщение вводится в базу данных со статусом "зарегистрировано", одновременно автоматически формируются запись файла данных бухгалтерских проводок и мемориальный ордер.

. Рис. 13. Прохождение клиентского платежного поручения
В проводке по основному платежу кредитуемый счет НОСТРО не указывается. Операционист имеет возможность проконтролировать правильность сформированных проводок, внести коррективы (например, произвести оплату комиссии и почтовых расходов с другого счета клиента), добавить дополнительные проводки (за дополнительные услуги). Дебетуемые суммы блокируются на счете клиента.
Автоматическая конверсия валюты (по текущему курсу) через счет конверсии проводится только в том случае, если эквивалентная сумма в долларах не превышает заранее определенного максимума. При необходимости перевода большей суммы клиенту предлагается произвести покупку валюты по специальному курсу (в отделе депозитов).
Если банк бенефициара имеет счет ЛОРО в валюте платежа, то формируется сообщение МТ 100 и получателем указывается банк бенефициара
Если бенефициар платежа имеет счет в банке в валюте платежа, то сообщение МТ 100 формируется, получателем указывается банк и сообщение не отправляется.
После регистрации платежное поручение направляется в отдел корреспондентских счетов. Операционист имеет возможность сопроводить платежное поручение произвольным текстовым комментарием (например, указать особенности обработки данного документа).
Далее клиентское платежное поручение проходит через отдел корреспондентских счетов на валютную позицию. Клиентское платежное поручение поступает в виде частично заполненного бумажного документа на специальном бланке, а также в виде электронного документа. В мемориальном ордере проставляется счет НОСТРО. Определяется также банк — получатель сообщения (он может не совпадать с банком-корреспондентом) и заносится как в бумажный документ, так и в электронный, уточняется также вид сети, по которой сообщение будет направлено получателю (TELEX, SWIFT - в зависимости от наличия ключей на обмен сообщениями).
На основании прогноза наличия средств на счете НОСТРО определяется дата валютирования для платежа, которая заносится в бумажный и электронный документ, после чего платежное поручение направляется в отдел международных платежей. К сообщению может быть добавлен произвольный текстовый комментарий.
В отделе международных расчетов и платежей оператором определяется по банковским справочникам цепочка банков, через которые будет выполняться платеж в том случае, если получатель сообщения не совпадает с корреспондентом. Затем оператор производит заполнение полей платежного поручения как в бумажной, так и в электронной форме, определяющих цепочку платежа (поля 053, 054, 056, 057; буква О обозначает сокращение слова optional - опционное, необязательное). В случае, если банк бенефициара совпадает с получателем сообщения, поле 057 не заполняется. Для SWIFT заполняется идентификатор банка (BIC) либо его наименование и адрес в зависимости от того, работает ли банк в сети SWIFT.
Для телекса всегда заполняются наименование и адрес банка, а также прочие поля электронного документа, которые не были заполнены в группе клиентских операций и отделе корреспондентских счетов ( поля М59 (буква М обозначает сокращение от слова mandatory - обязательное), 070, 071,072, Priority). При необходимости ввода в одно из полей сообщения идентификатора банка (BIC) он выбирается из файла-справочника (классификатор) или заносится вручную. В последнем случае проверяется наличие введенного кода в справочнике. Сообщение в электронной форме со всеми необходимыми заполненными полями, а также заполненный бланк платежного поручения направляются на контроль.
Контролер повторно вводит сообщения: дата валютирования, валюта, сумма (поле М32) и банк - получатель сообщения. В случае несовпадения контролируемых реквизитов соответствующие поля исправляются.
Контролер имеет возможность возвратить документ оператору на корректировку. При этом контролер объясняет причину возврата, вводя соответствующий текст в поле комментария.
Если ошибок в сообщении не обнаружено, оно направляется на АРМ коммуникаций для передачи в SWIFT. При этом сообщение в электронной форме о переводе направляется оператору.
Для отправки сообщения в SWIFT оно переводится в текстовую форму в соответствии со стандартами SWIFT или стандартом телексных сообщений ISO 7746. При этом текстовые комментарии, введенные исполнителями, в текст сообщения не вносятся. К текстовому файлу сообщения добавляется электронная подпись контролера, и сообщение через систему электронной почты автоматически или с помощью оператора электронной почты передается в SWIFT.
После прихода подтверждения из АРМ коммуникаций о передаче сообщения в сети SWIFT или по телексу сообщению присваивается статус "архивное". Подтверждение является основанием для выполнения бухгалтерских проводок, сформированных на основании платежного поручения.
Если из АРМ коммуникаций приходит отказ, платежное поручение направляется оператору, который рассматривает возможность его корректировки, после чего сообщение вновь направляется на контроль. Если сообщение не может быть откорректировано, то клиент извещается о невозможности выполнения платежа (с указанием причины ) и сообщение отправляется в архив. При этом в комментарии к сообщению указывается причина невыполнения платежа.
Платежные поручения, поступившие по почте, направляются в отдел корреспондентских счетов, где они регистрируются как входящие. Операционист отдела корреспондентских счетов проверяет правильность заполнения платежного поручения, наличие на нем отметки банка-корреспондента о приеме платежного поручения к исполнению. Затем проверяется сальдо счета ЛОРО банка-корреспондента. Если платежное поручение заполнено правильно и сальдо счета позволяет выполнить платеж, то платежное поручение регистрируется, в электронной форме заполняются исходящий номер и дата платежного поручения, определяется банк-корреспондент, через который будет выполняться платеж, заносятся дата валютирования, вид валюты и сумма платежа, в поле 052 заносятся наименование и адрес банка-перевододателя и формируется мемориальный ордер.
После этого электронная и бумажная формы платежного поручения передаются в отдел международных платежей, где заполняются поля: клиент-перевододатель (М50), бенефициар (М59), банк бенефициара (057). В поле 052 указываются наименование и адрес банка-перевододателя. После заполнения всех необходимых полей электронная и бумажная формы платежного поручения направляются на контроль и в дальнейшем - на отправку.
При прохождении клиентского платежного поручения, поступившего от банка-корреспондента по телексу, сообщение МТ 100 в телексном формате поступает в АРМ коммуникаций, откуда электронной почтой направляется в отдел международных расчетов и платежей. Там сообщение регистрируется как входящее и заносится в базу данных входящих сообщение. В электронном виде сообщение поступает в отдел корреспондентских счетов, где проверяются валюта и сальдо счета банка-корреспондента. Если валюта совпадает с валютой платежа, а сальдо счета позволяет выполнить платеж, то формируются проводки, в которых дебетуется счет ЛОРО банка-корреспондента и кредитуются счета банка: транзитный счет по перечислениям или доход банка за перевод средств.
На основе входящего сообщения генерируется исходящее сообщение МТ 100 в электронном виде, в котором не проставлен банк-получатель и могут быть не указаны поля, определяющие цепочку платежа. Из входящего сообщейия в исходящее переносятся поля: валюта, сумма (М32), клиент-перевододатель (М50), бенефициар (М59), банк бенефициара (057). В качестве исходящего номера и даты платежного поручения указываются TRN и дата телексного МТ 100.
В поле 052 указываются наименование и адрес банка перевододателя (из поля FROM входящего сообщения). Если бенефициар имеет счет в банке, исходящее сообщение не отправляется, проставляется дата валютирования, с банка не взимаются почтовые расходы.
В дальнейшем операционист указывает счет НОСТРО банка-корреспондента и дату валютирования. Дальнейшая схема прохождения документа такая же, как и для платежного поручения, поступившего непосредственно от клиента.
Распоряжение на перечисление средств поступает от бухгалтерии банка в отдел корреспондентских счетов. В распоряжении на перечисление средств указываются счет банка, с которого производится перечисление, бенефициар, банк бенефициара, валюта и сумма, а также назначение платежа.
Операционист отдела корреспондентских счетов проверяет валюту и сальдо дебетуемого счета. Если валюта совпадает с валютой платежа, а сальдо счета позволяет выполнить платеж, то определяются банк - получатель сообщения и банк-корреспондент, через который будет выполняться платеж. Далее формируются проводки, в которых дебетуется счет банка, указанный в распоряжении корреспондента, и кредитуется счет банка-корреспондента. На основе входящего сообщения генерируется исходящее сообщение МТ 100 в электронном виде, в котором не проставлен банк-получатель и могут быть не указаны поля, определяющие цепочку платежа. Из входящего сообщения в исходящее переносятся поля:
валюта, сумма (М32), клиент-перевододатель (М50), бенефициар (М59), банк бенефициара (057). В качестве исходящего номера и даты платежного поручения указываются TRN и дата телексного МТ 100. В поле 052 указываются наименование и адрес банка-перевододателя (из поля FROM входящего сообщения). Если бенефициар имеет счет в Инкомбанке, ис ходящее сообщение не отправляется, проставляется дата валютирования с банка не взимаются почтовые расходы, что отражается бухгалтерски ми проводками.
Затем операционист указывает счет НОСТРО банка-корреспондента и дат) валютирования. Дальнейшая схема прохождения документа такая же, как \ для платежного поручения, поступившего непосредственно от клиента.
Межбанковские валютные переводы (Bank Transfers) могут осуществляться как самостоятельно (регулирование сальдо корреспондентских счетов), так и быть следствием выполнения банковских транзакций других категорий (клиентские переводы, документарные операции, дилерские операции и др.).
В первом случае электронные документы по межбанковским переводам формируются валютной позицией (отдел корреспондентских счетов, только перевод средств на свой корреспондентский счет - МТ 200), во втором они генерируются автоматически на основе документов других категорий (клиентские платежные поручения, документарные аккредитивы, дилерские операции). Банк выполняет следующие типы банковских транзакций, связанных с межбанковскими переводами (соответственно формируют такие же типы сообщений ): перевод средств на свой корреспондентский счет (МТ 200); общий межбанковский перевод средств (МТ 202); локальный межбанковский перевод средств (МТ 205); уведомление о переводе средств (МТ 210).
Примером сообщения SWIFT могут служить сообщение МТ 202 и соответствующая ему транзакция межбанковского перевода, которая всегда генерируется автоматически как результат выполнения транзакций других категорий (клиентские переводы, валютные операции, документарные операции). Оно может быть сформировано как результат следующих банковских транзакций:
• Customer Transfer (клиентский перевод, сообщение МТ 100);
• Forein Exchange Confirmation (подтверждение обмена валюты, сообщение МТ 300);
• Fixed Loan/Deposit Confirmation (подтверждение размещения срочного кредита/депозита, сообщение МТ 320);
• Call/Notice Loan/Deposit Confirmation (подтверждение размещения кредита/депозита до востребования, сообщение МТ 330).
Сообщение о межбанковском переводе МТ 202 формируется в результате клиентского перевода тогда и только тогда, когда в сообщении о клиентском переводе МТ 100 заполнено поле 053 (Sender's Correspondent) с опцией А или Д.
В этом случае сообщение МТ 202 формируется по алгоритму:
• поле М20 (Transaction Reference Number) сообщения МТ 202 за исключением порядкового номера сообщения равно полю М20 сообщения МТ 100. Порядковый номер присваивается сообщению автоматически;
• поле М21 (Relatel Reference) сообщения МТ 202 равно полю М20 сообщения МТ 100;
• поле М32 (Value Date, Currency Code, Amount) сообщения МТ 202 равно полю М32 сообщения МТ 100;
• поле М58 (Beneficiary Institution) сообщения МТ 202 равно полю Receiver сообщения МТ 100;
• поле Receiver сообщения МТ 202 равно полю 053 сообщения МТ 100;
• если в сообщении МТ 100 присутствует поле 054 (Receiver's Correspondent) и в поле 072 (Sender to Receiver Information) сообщения МТ 100 отсутствует кодовое слово /RCB/ (Receiver's Correspondent), то поле 057 (Account With Institution) сообщения МТ 202 равно полю 054 сообщения МТ 100;
• если в сообщении МТ 100 присутствует поле 054 (Receiver's Correspondent) и в поле 072 сообщения МТ 100 присутствует кодовое слово / RCB/ (Receiver's Correspondent, только SWIFT), то:
• поле 057 (Account With Institusion) сообщения МТ 202 равно адресу, следующему за кодовым словом /RCB/ в поле 072 сообщения МТ 100;
• поле 056 (Intermediary) сообщения МТ 202 равно полю 054 сообщения МТ 100.
Формат сообщения МТ 202 (SWIFT или TELEX) зависит от того, какой вид связи установлен с банком-корреспондентом, адрес которого указан в поле 053 сообщения МТ 100.
Таким образом, сообщество S.W.I.F.T. поддерживает классификацию типовых сообщений и их стандартизацию при передаче по своей сети.
Информационные системы рынка ценных бумаг.
Рыночная экономика в классическом понимании базируется на пяти основных рынках: рынке средств производства, рынке предметов потребления, рынке рабочей силы, рынке недвижимости (включая землю) и финансовом рынке. Все рыночные элементы тесно связаны между собой. Формирование полноценного финансового рынка возможно при условии существования различных форм собственности, зависит от изменений в сфере производства и протекает параллельно с формированием других элементов общенационального рынка.
Финансовый рынок разделяется на денежный рынок и рынок капиталов. На денежном рынке осуществляются операции по предоставлению и заимствованию свободных денежных средств предприятий и населения на короткий срок, в отличие от рынка капиталов, на котором заимствование средств производится на длительные сроки. Различие между этими двумя частями финансового рынка определяется назначением заемных средств. Денежный рынок обслуживает сферу обращения, и капитал функционирует на нем как средство обращения и платежа, что определяет типы ценных бумаг и финансовых инструментов на этом рынке. Рынок капиталов обслуживает процесс расширенного воспроизводства: капитал функционирует как самовозрастающая стоимость. Составной частью как денежного рынка, так и рынка капиталов является рынок ценных бумаг, называемый также фондовым рынком.
К числу особенностей развития отечественного фондового рынка можно отнести:
• недостаточный уровень капиталонакопления, сопровождающийся форсированным учредительством и искаженной инвестиционной мотивацией участников;
• тесную зависимость фондового рынка от стратегии и механизма приватизации;
• неликвидный и в значительной мере монополистический характер отечественного рынка финансовых инвестиций;
• значительные инфляционные процессы;
• конкуренцию за сбережения между финансовыми институтами;
• чрезвычайно высокий уровень риска операций на фондовом рынке.
Основной функцией фондового рынка является распределение денежных средств, перелив капитала из одной отрасли в другую через инструменты рынка - ценные бумаги, которые имеют свою стоимость, являются предметом купли-продажи. Структура рынка ценных бумаг зависит от способа и характера размещения ценных бумаг, а также места их размещения и обращения. В соответствии с этими признаками производится деление рынка ценных бумаг, во-первых, на первичный и вторичный, во-вторых, на биржевой и внебиржевой рынки.
Первичный рынок ценных бумаг обслуживает выпуск (эмиссию) и начальное размещение ценных бумаг среди инвесторов (рис.28). На первичном рынке протекают два разнонаправленных процесса: первый - поступление ценных бумаг от эмитента в обращение среди инвесторов, второй - поступление финансовых ресурсов от инвесторов к эмитентам за вычетом стоимости услуг посредников, организующих первичное размещение. Для этой части рынка ценных бумаг характерно привлечение средств инвесторов для проектов эмитента путем размещения ценных бумаг последнего.

Рис. 14. Схема движения ценных бумаг, финансовых ресурсов и информации на первичном рынке (в схеме не приводится движение финансовых ресурсов, образованных от перечисления налогов юридическими и физическими лицами)
Вторичный рынок обслуживает обращение ранее выпущенных и размещенных на первичном рынке ценных бумаг (рис. 15). На вторичном рынке инвестор получает возможность перепродать купленные ранее ценные бумаги с целью получения дополнительного дохода или размещения полученных от продажи средств в более привлекательные активы. Такая возможность определяется ликвидностью рынка ценных бумаг. Это основное требование, предъявляемое к данному рынку, обеспечивает права инвестора на свободное владение и распоряжение ценными бумагами. Содержанием вторичного рынка является перераспределение финансовых ресурсов между отраслями производства и сферами финансово-хозяйственной жизни.

Рис. 15. Схема движения ценных бумаг, финансовых ресурсов и информации на вторичном рынке (в схеме не представлено движение финансовых ресурсов, образованных от перечисления налогов юридическими и физическими лицами).
Ценные бумаги выпускаются эмитентами, которыми являются государственные органы, муниципальные органы, акционерные общества, финансово-кредитные учреждения. Эмиссия ценных бумаг производится в рамках действующего законодательства. Условия выпуска, обращения, котирования и доходности ценной бумаги определяются ее типом и назначением.
Жизненный цикл акции ограничивается только жизненным циклом ее эмитента, а так как срок существования большинства компаний не ограничен, то и акция не имеет срока погашения; однако возможна ситуация, когда компания может выкупить свои акции по рыночной стоимости, хотя при их размещении таких гарантий не выдается.
Акции выпускаются двух типов: обыкновенные и привилегированные (табл. 5.); последние подразделяются на кумулятивные, некумулятивные, акции с долей участия, конвертируемые акции, акции с корректируемой ставкой дивидендов, отзывные акции.
Таблица 5.
Характерные различия двух типов акций
|
Характеристика |
Акции |
|
|
обыкновенные |
привилегированные |
|
|
Участие в управлении акционерным обществом |
Владельцы имеют право голоса на общем собрании акционеров, что дает им формальную возможность участвовать в выборах правления и ревизионной комиссии, определять направления деятельности акционерного общества, утверждать его годовой отчет |
Не дает права голоса |
|
Выплата дохода |
Не гарантирует величину дивиденда и вообще его получение, величина дивиденда определяется массой прибыли акционерного общества и решением руководства о величине части прибыли, направляемой на выплату дивидендов |
Приносит инвестору фиксированный доход независимо от результатов деятельности акционерного общества; при банкротстве имеет преимущество в возмещении потерь |
|
Привлекательность для инвестора |
Обусловлена не столько размерами дивиденда, сколько изменением рыночной стоимости или приростом капитала, что ввиду ликвидности рынка позволяет получить реальный доход в денежной форме при продаже растущей в цене акции |
Определяется величиной дохода на акцию |
|
Отрицательные стороны инвестирования |
Недостаточная стабильность дохода и цены, хотя из всех ценных бумаг могут принести наибольший доход в зависимости от прибыльности функционирования эмитента |
Дивиденды тем выше, чем менее надежна акция и меньше ее вероятная ликвидность |
Операции с ценными бумагами, приносящими фиксированный текущий доход, к которым относятся облигации, занимают на фондовом рынке значительное место.
Цель выпуска облигаций - заем средств для вложения в крупномасштабные государственные проекты, для дополнительного финансирования производственно-хозяйственной деятельности корпораций. Экономическим содержанием покупки облигации является кредитная операция, в которой покупатель облигации выступает как кредитор, а эмитент облигации - как заемщик средств.
Существует большое разнообразие типов облигаций, которые классифицируются по нескольким признакам (табл. 6).
Таблица 6.
Классификация облигаций
|
Признак классификации |
Типы облигаций |
|
Тип эмитента |
Займы государственных органов Банковские долговые обязательства Облигации акционерных обществ |
|
Способ обеспечения |
Обеспеченные гарантией правительства Корпоративные, обеспеченные залогом имущества (ипотечные, конвертируемые) |
|
Способ Погашения номинала |
Срочные С распределенным временем погашения С последовательным погашением . фиксированной доли (тиражные, лотерейные) |
|
Срок действия |
Краткосрочные ' Среднесрочные Долгосрочные |
|
Выплата дохода и способ погашения займа |
Купонные (с выплатой купонного дохода) Дисконтные Смешанные (размещаемые с дисконтом и имеющие купонную ставку) |
В течение периода жизни облигации ее характеризуют:
• номинальная стоимость, определяемая эмитентом при выпуске займа;
• купонный процент (при наличии купона) или дисконт;
• срок погашения облигации;
• срок выплаты процентов.
Обобщенная схема функциональных подсистем биржи, соответствующая традиционному ведению сделок с ценными бумагами и позволяющая реализовать все технологические этапы биржевого процесса представлена на рис. 16.
Подсистема формирования заявок и отчетов. Эта подсистема предваряет и завершает работу основной функциональной подсистемы биржи - торговой. В ней формируются ведомости (книги) заявок, затем информация передается в торговую подсистему, а по окончании торговой сессии формируется отчетная документация для брокеров.
Все ИСБТ поддерживают технологию ввода заявок непосредственно с рабочего места участника торгов, а некоторые (американская Pacific Stock Exchenge,) - ввод заявок с удаленного терминала.
В настоящее время ввод заявок осуществляется с клавиатуры и с бумажного носителя (маркируемых бумажных заявок).
Технология ввода заявок с клавиатуры является традиционной, тогда как технология применения маркируемых бумажных заявок используется лишь при наличии специальных устройств ввода (Нью-йоркская фондовая биржа. Американская фондовая биржа и Токийская фондовая биржа). Данная технология возникла в связи с тем, что брокеру не всегда удобно самому работать на компьютере, вследствие чего снижается эффективность по ряду сделок. На маркируемой бумажной заявке выделены позиции кода брокера, кода ценной бумаги, количества ценных бумаг, признака сделки (покупка-продажа), типа заявки, цены и прочих условий, которые могут присутствовать в заявке. Брокер помечает маркером позиции, характеризующие его заявку, и передает ее для ввода.
Для "электронных" бирж характерно использование принципа "обратной связи". На этапе ввода заявок это выражается в том, что после приема заявки система посылает подтверждение брокеру путем печати заявки на его терминале или передачи сообщения о прохождении заявки.

Рис. 16. Обобщенная схема функциональных подсистем биржи:
взаимосвязи 1 и 2 существуют в том случае, если расчетно-клиринговые и депозитарные функции осуществляют сторонние организации
Помимо информационных связей с торговой подсистемой данная подсистема имеет также информационные связи с расчетно-клиринговой и депозитарной подсистемами, откуда поступают данные о наличии денежных средств на счете брокера-покупателя и наличии ценных бумаг на счете-депо брокера-продавца.
Торговая подсистема. Данная подсистема в функциональном плане включает в себя собственно проведение биржевых торгов, начиная от анализа поступающих из подсистемы заявок и отчетов данных и заканчивая совершением сделки. Подсистема функционирует только в период торговой сессии, определенный правилами проведения торгов для данной биржи.
Технологическое решение биржевых торгов нашло свое отражение в торговле ценными бумагами по правилам простого или двойного аукциона. Простой аукцион - торг ведется по единому типу ценной бумаги; заявка удовлетворяется по предложенной наилучшей цене (аукцион продавца, получающего предложения покупателей, или аукцион покупателя, выбирающего лучшее предложение продавцов). Двойной аукцион - одновременная конкуренция и продавцов, и покупателей.
На "электронных" биржах управление торгами осуществляется при помощи компьютера. На ряде бирж (Нью-йоркская, Американская фондовые биржи) существует специальное лицо, управляющее торгом, - специалист (маклер, сайтори). На Нью-йоркской фондовой бирже специалист при работе с книгой заявок использует маркируемые карты, на которых указывает номера сцепленных заявок, а остальная информация берется из базы данных. На Американской фондовой бирже используется сенсорное устройство для ввода информации: специалисту достаточно прикоснуться к строке экрана с выведенной на него книгой заявок, чтобы "дать добро" на заключение соответствующей сделки. На Pacific Stock Exchenge -бирже, объединяющей два торговых зала (Лос-Анджелес и Сан-Франциско), в системе SCOREX специалист выдает для нелимитированных заявок определенную команду:
А - заявка реализуется по цене, назначенной системой исходя из спроса и предложения не только на данной бирже, но и на остальных биржах;
В - специалист вводит наиболее выгодную цену по данной заявке из предлагаемых брокерами в "толпе";
G - специалист приостанавливает заявку при возможности улучшения цены и реализации заявки по более выгодной цене.
По сцепленным заявкам оформляется сделка, данные по которой поступают в подсистему формирования заявок и отчетов, расчетно-клирин-говую и депозитарные подсистемы.
Раснетно-клиринговая и депозитарные подсистемы. Данные подсистемы осуществляют расчет текущих позиций участников торгов по денежным средствам, финансовым инструментам (ценным бумагам) и итоговым обязательствам участников по завершении торговой сессии. Основная цель данных подсистем - реализация принципа трех "п": "поставка против платежа", который означает единовременное осуществление расчетов по обязательствам участников (перевод денежных средств по счетам участников совпадает с переводом ценных бумаг по счетам-депо). По международным стандартам все взаимозачеты по сделке должны быть совершены в трехдневный срок, т.е. если сделка состоялась в день t, то расчеты завершаются в день (1+3).
Организационно данные подсистемы на бирже не обязательно оформляются в соответствующие подразделения. Поставщиками услуг, выполняемых этими подсистемами, могут быть сторонние организации, соединенные с биржевыми системами посредством телекоммуникаций. Функции депозитария, например, в Германии выполняют два акционерных общества «Deutscher Kassenverein» и «Deutscher Auslandskassenverein»: первое предназначено для ценных бумаг, выпущенных акционерными или государственными организациями Германии, а второе - для иностранных ценных бумаг. Поставщиками расчетно-клиринговых услуг по денежным средствам выступают банки, расчетно-клиринговые палаты.
Одно из главных требований, предъявляемое к этим подсистемам участниками рынка, - сведение к минимуму риска инвесторов при заключении сделки. Риск имеет организационную составляющую (она выражает степень урегулирования взаимодействия биржи и поставщиков соответствующих услуг), а также техническую составляющую (она определяется надежностью компьютерных систем и сетей). Для эффективного функционирования данных подсистем и реализации принципа трех "п" необходимо соблюдение следующих условий:
• расчеты по сделкам между участниками производятся не по каждой сделке, а по итоговому сальдо (данное условие не характерно для "электронных" бирж, где во время торгов наличие денежных средств и ценных бумаг у участника меняется в соответствии с его поведением во время торговой сессии);
• отслеживание позиций участников по денежным средствам и ценным бумагам во время торговой сессии;
• ценные бумаги учитываются на счетах-депо, т.е. существуют в безналичной форме;
• по возможности клиринг и депозитарное обслуживание осуществляются в одной организации или при наличии нескольких структур между ними должны быть четко налажены взаимоотношения.
Информационная подсистема. Ее основное функциональное назначение - накопление всей доступной информации, предшествующей и сопутствующей биржевому процессу, а также генерируемой им, и выдача биржевой информации или результатов анализа биржевого процесса внешним приемникам информации.
Исторически сложилось так, что именно в рамках данной подсистемы впервые стали применяться технические средства для распространения информации о заключенных сделках и курсах ценных бумаг.
Первопроходцем в этой области можно назвать Нью-Иоркскую фондовую биржу. Именно здесь в 1867 г. начал действовать тикер - биржевой телеграф для передачи данных о результатах торгов, а в 1881 г. результаты сделок отражались уже в ходе биржевой торговли на табло - электромеханической доске. Тогда же установился и определенный стандарт биржевого сообщения: код эмитента, цена открытия, цена закрытия, средневзвешенная цена, количество ценных бумаг. Именно в это время начался этап совершенствования технических средств в рамках информационной подсистемы с целью передачи информации и отражения результатов сделок в том темпе, который диктовала работа биржи. Тикер работал в 1867 г. со скоростью 50-60 символов/мин, а почти через столетие, в 1961 г. - до 900 символов/мин.
Для распространения биржевой информации часто используется страничный формат представления информации. Подсистема информации ИСБТ Лондонской фондовой биржи содержит 3000 страниц, информация в которых обновляется каждые 50 с. Пользователь, выбрав определенную страницу, видит на своем мониторе изменение данных в реальном масштабе времени. Норматив поступления данных в информационную сеть составляет 5 мин, у пользователя данные отражаются еще через 1 мин.
Таким образом, основными требованиями, предъявляемыми участниками рынка к информационной подсистеме биржи, являются способность поддерживать большие объемы динамично меняющейся информации и оперативность ее обновления на мониторе пользователя (время поступления информации пользователю). Вторая характеристика особенно важна, поскольку возможна игра на разнице курсов: тот, кто раньше получит информацию, оказывается в выигрышном положении. В связи с этим основной принцип, который соблюдается при создании информационной подсистемы ИСБТ, - принцип равных условий: информация поступает ко всем брокерам одновременно.
Информация о биржевых процессах представляется не только в режиме "распространения" информации брокерам, но и в режиме ответов на стандартные запросы пользователей с рабочего места.
Административно-контрольная подсистема. Одна из причин появления организованного рынка - стремление его участников снизить риск при заключении сделок. Таким образом, основная функция административно-контрольной подсистемы заключается в "надзоре" за деятельностью всех подсистем биржи и деятельностью участников биржевого процесса (брокеров). На NYSE "подозрительные" сделки выявляет электронная система мониторинга Stock Watch. По отобранным сделкам запрашивается информация у участников торгов, анализируется возможность получения ими "закрытой" информации. Кроме того, функцией административной подсистемы является и "настройка" подсистем и персонала биржи на определенный биржевой процесс.
Вычислительная техника в рамках функциональных биржевых подсистем применяется на различных биржах по-разному. Биржи могут иметь неодинаковый уровень автоматизации. Так, на Франкфуртской фондовой бирже компьютер применяется только для ввода информации о заключенных сделках, т.е. в рамках информационной подсистемы. Наряду с такой технологией известна и "электронная" биржа.
При реализации биржевых подсистем с использованием вычислительной техники и средств связи необходимо учитывать важнейшие характеристики каждой-из подсистем.
Наиболее важные характеристики торговой подсистемы:
• работа в режиме "on-line", обеспечение взаимодействия с пользователями в реальном масштабе времени;
• высокий уровень надежности, защищенности от сбоев;
• обеспечение расчетного потока транзакций, учитывающего "пиковые" нагрузки на рынке;
• интерфейс с другими подсистемами.
При создании подсистемы формирования заявок и отчетов (реализуется в рамках торговой подсистемы при "электронной" бирже) обязательно должен быть заложен принцип "обратной связи" - реагирование системы на действие брокера соответствующим сообщением на его терминал.
При разработке расчетно-клиринговой и депозитарной подсистем необходимо обеспечить:
• максимально возможную надежность технических и программных средств;
• высокий уровень защиты информации от несанкционированного доступа и возможных искажений;
• интерфейс с другими подсистемами;
• взаимодействие с торговой подсистемой при ориентации на реализацию транзакций.
Информационная подсистема ИСБТ должна обладать:
• достаточной пропускной способностью (информация по сделкам,
• передаваемая в единицу времени на абонентские места брокеров);
• минимальным временным лагом между временем появления информации о сделке и временем поступления данной информации к брокеру;
• различными режимами доступа к информации (запросный режим и режим вывода информации на терминал брокера);
• разнообразными возможностями по представлению информации в зависимости от типа абонента и условий участия данного брокера в торгах;
• интерфейсом с другими подсистемами и рабочими местами абонентов.
Торговая подсистема выполняет две основные задачи:
• осуществляет сбор данных по заявкам и запросам абонентов и представление ответной информации на запросы - решается на сервере доступа ("Hewlett-Packard" HP 9000 модели Н20);
• осуществляет регистрацию и сопоставление заявок, подготовку сделок в автоматическом режиме, регистрацию сделок и подготовку информации по запросам абонентов - выполняются на торговом сервере ("Hewlett-Packard" HP 9000 модели 890).
Оба сервера имеют дублирующие компьютеры таких же моделей. Такая конфигурация технических средств предназначена для решения задач торговой подсистемы и обеспечивает бесперебойную работу ИСБТ в ходе торгов с возможностью гибкого распределения задач по компьютерам в соответствии с потребностями и нагрузкой. Так, в "пиковые" моменты, нагрузка на сервер доступа и торговый сервер распределяется между компьютерами, а дублирующие машины выполняют роль "горячего" резерва; в период "затишья" задачи сервера доступа и торгового сервера могут выполняться только на одном компьютере.
Клиринговая подсистема в реальном масштабе времени отслеживает текущие позиции участников торгов по финансовым инструментам и денежным средствам с учетом начальных позиций перед торгами и изменений во время торговой сессии, а также производит расчет итоговых обязательств участников по окончании торгов.
• Депозитарная подсистема хранит данные о ценных бумагах и их владельцах, проводит расчеты по ценным бумагам между участниками сделки и подготавливает информацию в ответ на запросы пользователей.
Административная подсистема осуществляет настройку торговой подсистемы на определенный режим работы, управление ходом торгов и распределение прав абонентов. Данная подсистема позволяет:
• добавить сведения о новом абоненте, изменить его пароль, приостановить полномочия;
• запретить торги по финансовому инструменту и снять этот запрет, приостановить торги и возобновить их, изменить время проведения торгов;
• добавить, изменить, удалить данные об абоненте или финансовом инструменте;
• подготовить и послать сообщение абонентам.
Информационная подсистема хранит информацию, необходимую для проведения биржевых торгов, а также обеспечивает: запись в базы данных новой информации и генерируемой биржей в ходе работы; поиск информации в соответствии с запросами центрального узла и абонентов. Для принятия решения подсистема предоставляет участнику торгов следующую информацию:
• текущие цены покупки/продажи;.
• цены первой и последней сделки текущего дня, наименьшую и наибольшую цену по конкретному финансовому инструменту;
• объем последней сделки в единицах финансового инструмента и денежных средствах;
• изменение цены последней сделки по отношению к предыдущей, доходность к погашению в соответствии с установленной ценой и т.д.
Данные сведения сообщаются на терминалы всем абонентам. Кроме того, система реализует принцип "обратной" связи, т.е. в ответ на действия пользователя информационная подсистема предоставляет информацию конкретно для этого пользователя:
• данные по всем заявкам, введенным этим участником торгов;
• данные об отобранных заявках в соответствии с запросом (например, по конкретному виду ценной бумаги);
• текущие позиции участника по финансовым инструментам и денежным средствам с изменением этих показателей в ходе торговой сессии в соответствии с поведением участника,
Рабочие места абонентов ИСБТ ММВБ оборудованы компьютерами типа IBM PC AT 486 и более высокого класса.
Сетевые функции ИСБТ ММВБ реализованы как надстройка над сетевым Протоколом TCP/IP с использованием услуг сетевой службы ARPA, работающей в локальных и региональных сетях.
Телекоммуникационная сеть системы построена на основе высокоскоростных (пропускная способность не менее 64 Кбит/с) каналов телепередачи данных с применением Протокола Х.25, предоставляемых компанией Sprint-Net.
Программное обеспечение сервера доступа и торгового сервера написано на языке С в среде HP/UX (версия UNIX, разработанная Hewlett-Packard для своих компьютеров). Депозитарная подсистема разработана на основе СУБД Interbase в среде HP/UX, взаимодействие с расчетной подсистемой, функции которой выполняет система электронных межбанковских расчетов, осуществляется в формате DBF. Рабочие места абонентов написаны на языке Visual C++ в среде Windows for Workgroups. Для взаимодействия с центральным звеном абонентам предоставляется специальный стандартный интерфейс.
Аппаратно-программная архитектура ИСБТ ММВБ разработана таким образом, что наращивание мощности системы можно производить за счет увеличения производительности уже используемых средств и подключения дополнительных серверов доступа без глобального изменения конфигурации системы.
Итак, информационные системы фондового рынка должны:
• быть надежными и защищенными от сбоев;
• предусматривать возможность совмещения с международными и местными информационными системами.
Информационные системы фондового рынка поддерживают конкретные информационные технологии фондового рынка, развиваются вместе с ними и обладают возможностью адаптации к изменениям внешней среды.
Список литературы
Балабанов И. Т. “Основы финансового менеджмента. Как управлять капиталом ?” - М.: Финансы и статистика, 1995.
Гамидов Г. М. “Банковское и кредитное дело” – М.: Банки и биржи, ЮНИТИ, 1994.
Жуков Е. Ф. “Ценные бумаги и фондовые рынки” – М.: ЮНИТИ, 1995.
Кирьянова З. В. “Теория бухгалтерского учета” – М.: Финансы и статистика, 1995.
Козлова Е. П. “Бухгалтерский учет” – М.: Финансы и статистика, 1994.
Липис А. и др. “Электронная система денежных расчетов” – М.: Финансы и статистика, 1994.
Подольский В. И. , Дик В. В. “Бухгалтерский учет на персональных ЭВМ. Система автоматизированных рабочих мест бухгалтера” – М.: Бухгалтерский учет, 1993.
Рожнов В. С., Бегоцкая Г. К. “Автоматизированные системы обработки финансово-кредитной информации” – М.: Финансы и статистика, 1990.
Уткин Э. А. “Банковский маркетинг” – М.: ИНФО-М, Метаинформ, 1994.
Фельдман А. А. “Бухгалтерский учет на фондовом рынке” – М.: ИНФРА-М, 1994.
Положение об организации бухгалтерского учета и отчетности в Украине от 03.04.95 г. № 250.