Устройство парусного корабля
1
СПбГМТУ
Курсвая работа по дисциплине “Морская энциклопедия”
по теме:
Парусные суда
Преподаватель: Ляховицкий А.Г.
Выполнил: студент гр.91кс1
Михеев Пётр Ваджихович
2003/2004 уч. год
Оглавление:
1. Введение…………………………………3
2. Типы парусных судов…………………..3
3. Рангоут парусного корабля…………….6
4. Стоячий такелаж парусного корабля….9
5. Бегучий такелаж……………………….12
6. Парусное вооружение…………………15
Введение
На протяжении столетий неоднократно предпринимались попытки более или менее рационально разграничить типы судов. Вследствие бурного развития мирового флота и судоходства необходимость классифицировать суда по их назначению, способам постройки и техническому состоянию еще более возросла. Появляются специальные учреждения, в которых опытные в судовом деле служащие – сюрвейеры – должны наблюдать за постройкой судов и их техническим состоянием во время эксплуатации и классифицировать суда в соответствии с международными нормами.
Старейшим и знаменитейшим из подобных учреждений является английское классификационное общество Регистр Ллойда, образованное в XVIII в. Свое название общество получило по имени владельца кабачка Эдварда Ллойда, где начиная с 1687 года судовладельцы, капитаны и агенты заключали сделки, страховали грузы и устанавливали цену фрахта. В 1764 году было решено составить списки судов – регистры – с имеющимися сведениями по каждому из них, чтобы легче было оценивать качества судна и , следовательно определять сумму страховки.
В 1834 году общество было реорганизовано в Регистр Ллойда.
Не менее знаменито французское классификационное общество Бюро Веритас, основанное в 1828 году в Антверпене и с 1832 года по настоящее время находящееся в Париже..
Типы парусных судов
К парусным судом относятся суда и шлюпки (лодки), приводимые в движение силой ветра, действующего на паруса. При этом судно может нести паруса на одной, двух, трех или большем числе вертикальных мачт.
В зависимости от вида парусного вооружения различают следующие парусные суда:
Щелкните по ссылке, чтобы увидеть силуэт.
пятимачтовый корабль (пять мачт с прямыми парусами);
пятимачтовый барк (четыре мачты с прямыми парусами, одна, на корме, с косыми);
четырехмачтовый корабль (четыре мачты с прямыми парусами);
четырехмачтовый барк (три мачты с прямыми парусами, одна с косыми);
корабль (три мачты с прямыми парусами);
барк (две мачты с прямыми парусами, одна с косыми);
баркентина (шхуна-барк; одна мачта с прямыми и две с косыми парусами);
джекасс -шхуна, точнее, трехмачтовая марсельная шхуна (все мачты с косыми парусами и несколько верхних прямых парусов на фок мачте);
бриг (две мачты с прямыми парусами);
бригантина (шхуна-бриг: одна мачта с прямыми парусами, одна с косыми);
бомбарда (одна мачта почти по середине судна с прямыми парусами и одна, сдвинутая в корму, с косыми);
шхуна, точнее, гафельная шхуна (две мачты с косыми парусами);
шхуна, точнее, двухмачтовая марсельная шхуна (мачты с косыми парусами и несколько верхних прямых парусов на фок-мачте);
каравелла (три мачты: фок-мачта с прямыми парусами, остальные – с латинскими);
“трабакколо” (две мачты с люгерными, т.е. рейковыми, парусами);
шебека (три мачты: фок- и грот-мачты с латинскими парусами, бизань мачта с косыми);
фелюка (две мачты, наклоненные к носу, с латинскими парусами);
тартана (одна мачта с большим латинским парусом);
тендер (одна мачта с косыми парусами);
“бово” (две мачты: передняя с латинским парусом, задняя с гафельным или латинским парусом);
“нависелло” (две мачты: первая – в носовой части, сильно наклоненная вперед, несет парус трапециевидной формы, крепящийся за грот-мачту; грот-мачта – с латинским или иным косым парусом);
“баланселла” (одна мачта с латинским парусом);
шлюп (одна мачта с косыми парусами);
иол (две мачты с косыми парусами, меньшая – бизань-мачта - стоит позади руля);
кеч (две мачты с косыми парусами, причем бизань-мачта стоит перед рулем);
динги (одна мачта с гафельным парусом вынесена к носу);
люгер (три мачты с рейковыми парусами, применяется во Франции в прибрежном плавании).
Кроме перечисленных парусников существовали еще большие семи-, пяти- и четырехмачтовые шхуны, преимущественно американского происхождения, несущие только косые паруса.
Продольный разрез двухдечного парусного линейного корабля конца XVIII века.:
1 - киль; 2 - форштевень; 3 - княвдигед; 4 - старнпост ахтерштевня; 5 - кормовой дейдвуд; 6 - носовой дейдвуд; 7 - адмиральская каюта; 8 - кают-компания; 9 - руль; 10 - рулевое управление; 11 - кормовая крюйт-камера; 12 - кормовой бомбовой погреб; 13 - канатный ящик; 14 - носовая крюйт-камера; 15 - носовой бомбовой погреб.
Н
осовая
и кормовая части набора парусного судна:
1 - фальшкиль; 2 киль; 3 - фортимберсы; 4 - носовой дейдвуд; 5 - кильсон; 6 - фальстем-кница; 7 - фальстем; 8 - форштевень; 9 - греп; 10 - княвдигед; 11 - лисель-индигед (опора носовой фигуры); 12 - бимсы; 13 - пиллерсы; 14 - кормовой дейдвуд; 15 - пятка киля; 16 - ахтерштевень; 17 - старн-кница.
Средняя часть корпуса в поперечном сечении имеет почти круглые обводы. Фальшборт несколько завален внутрь, т.е. ширина ватерлинии несколько больше, чем в районе верхней палубы. Сделано это для того, чтобы орудия, установленные на верхней палубе, не выходили за ширину ватерлинии.
1
- киль; 2 - фаль орта шкиль; 3 - кильсон; 4 -
первый бархоут; 5 - второй бархоут; 6 -
третий бархоут; 7 - наружная обшивка
фальшбо
та;
8 - внутренняя обшивка; 9 - бимсы; 10 -
лац-порты.
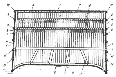
Фальшборт парусного корабля XVIII века:
1 - ватервейс; 2 - бимсы; 3 - фальшбортный бархоут; 4 - стойки фальшборта; 5 - коечная сетка; 6 - подвесные койки.
Главной частью набора корпуса парусного судна является киль - продольная балка прямоугольного сечения, идущая от носа до кормы. Вдоль боковых сторон киля проходят длинные выемки (шпунты), в которые заходит первый ряд досок наружной обшивки, которые называются шпунтовым поясом.
Для защиты от повреждений к килю снизу прикрепляли крепкую дубовую доску, фальшкиль. Носовая часть киля заканчивается форштевнем, представляющим из себя брус призмообразной формы. Нижняя часть форштевня могла быть изогнутой по дуге или под углом. К форштевню с внутренней стороны прикреплена внутренняя часть штевня - дейдвуд - сложная конструкция из толстых брусьев, образующая плавный переход от киля к корпусу. Спереди форштевня укреплен водорез, верхняя часть которого называется княвдигед. В верхней части княвдигеда устанавливали носовое украшение - фигуру.
В задней части киля вертикально к нему или с небольшим наклоном в корму установлен брус, называемый ахтерштевнем. Внешняя часть ахтерштевня несколько расширена для предохранения руля, навешенного на ахтерштевень. Ахтерштевень и форштевень деревянного парусного судна состоят из нескольких деталей.
Поверх и вдоль киля накладывали резенкиль. К нему и дейдвудам крепили шпангоуты, которые на старинных судах были составными. Посредине корпуса корабля, несколько ближе к носу, ставили наиболее широкий шпангоут - мидельшпангоут. Для поперечного крепления корабельного набора служили бимсы, на них настилали палубу. В продольном направлении шпангоуты скрепляли стрингерами.
После окончания сборки судового набора приступали к обшивке корпуса дубовыми досками. Размеры досок зависели от размеров корабля: длина их была 6-8 м., ширина 10-25 см. Во времена Колумба обшивка судов производилась внакрой (кромка на кромку), а к концу XVI века стали обшивать встык (вгладь). Крайние концы досок входили в шпунты фор- и ахтерштевня и крепились нагелями из оцинкованного железа или меди. В районе ватерлинии и под пушечными портами доски обшивки чередовались с утолщенными досками - бархоутами.
Палубный настил делали из сосновых или тиковых досок, к бимсам их крепили при помощи металлических нагелей или болтов, которые сверху утапливали и закрывали деревяннымит пробками.
Для обшивки фальшборта на деревянных судах использовали сравнительно тонкие доски, укрепленные на стойках. Опорой фальшборта является фальшбортный бархоут, его внешнюю поверхность принято было расписывать. Над фальшбортом находилась коечная сетка, в которую матросы складывали скатанные подвесные койки, защищавшие в бою от вражеских пуль.
Рангоут парусного корабля

Рангоутом называются все деревянные детали, служащие для несения парусов, флагов, подъема сигналов и т.п. К рангоуту относятся: мачты, стеньги, реи, гафели, гики, бушприты, утлегари, лисель спирты и выстрелы.
Рис. Рангоут трехдечного 126-пушечного корабля середины XIX века.
1 - бушприт; 2 - утлегарь; 3 - бом-утлегарь; 4 - мартин-гик; 5 - блинда-гафель; 6 - бушпритный эзельгофт; 7 - гюйс-шток; 8 - фок-мачта; 9 - топ фок-мачты; 10 - фор-трисель-мачта; 11 - стеньги; 12 - мачтовый эзельгофт; 13 - фор-стеньга; 14 - топ фор-стеньги; 15 - фор-салинг; 16 - эзельгофт фор-стеньги; 17 - фор-брам-стеньга, сделанная в одно дерево с фор-бом-ьрам-стеньгой; 18-19 - топ фор-бом-брам-стеньги; 20 - клотик; 21 - фока-рей; 22 - фор-марса-лисель-спирты; 23 - фор-марса-рей; 24 - фор-брам-лисель-спирты; 25 - фор-брам-рей; 26 - фор-бом-брам-рей; 27 - фор-трисель-гафель; 28 - грот-мачта; 29 - топ грот-мачты; 30 - грот-трисель-мачта; 31 - грот-марс; 32 - мачтовый эзельгофт; 33 - грот-стеньга; 34 - топ грот-стеньги; 35 - грот-салинг; 36 - эзельгофт грот-стеньги; 37 - грот-брам-стеньга, сделанная в одно дерево с грот-бом-брам-стеньгой; 38-39 - топ грот-бом-брам-стеньги; 40 - клотик; 41 - грота-рей; 42 - грот-марса-лисель-спирты; 43 - грот-марса-рей; 44 - грот-брам-лисель-спирты; 45 - грот-брам-рей; 46 - грот-бом-брам-рей; 47 - грот-трисель-гафель; 48 - бизань-мачта; 49 - топ бизань-мачты; 50 - бизань-трисель-мачта; 51 - крюйс-марс; 52 - мачтовый эзельгофт; 53 - крюйс-стеньга; 54 - топ крюйс-стеньги; 55 - крюйс-салинг; 56 - эзельгофт крюйс-стеньги; 57 - крюйс-брам-стеньга, сделанная в одно дерево с крюйс-бом-брам-стеньгой; 58-59 - топ крюйс-бом-брам-стеньги; 60 - клотик; 61 - бегин-рей; 62 - крюйс-марса-рей или крюйсель-рей; 63 - крюйс-брам-рей; 64 - крюйс-бом-брам-рей; 65 - бизань-гик; 66 - бизань-гафель; 67 - кормовой флагшток;
Мачта
М
ачта
– это вертикальное или слегка наклонное
в корму рангоутное дерево, служащее
основанием для крепления других частей
рангоута (стеньг, реев) и постановки
парусов. Мачты больших парусных кораблей
с прямым вооружением достигали высоты
60 м и более при толщине нижней части до
1 м.
Мачты делались составными из нескольких продолжающих друг друга в высоту деревьев. Нижнее дерево называлось колонной или просто мачтой, а продолжение стеньгами.
В зависимости от размеров судна и типа парусного вооружения, количество мачт может быть различным. Каждая мачта имеет свое наименование. Так, на трехмачтовом корабле первая от носа корабля мачта называется фок-мачтой, вторая – грот-мачтой, третья, самая маленькая, - бизань-мачтой.
Рис: Устройство мачты.
1 - Нижняя мачта (колонна); 2 - цапфа; 3 - железные бугели; 4 - чиксы; 5 - лонг-салинги; 6 - краспицы; 7 - эзельгофт; 8 - стеньга; 9 - брам-стеньга; 10 - бом-брам-стеньга; 11 - флагшток; 12 - клотик; 13 - вулинг; 14 - деревянный бугель; 15 - шкало; 16 - крепление шкало; 17 - вязка вулинга.
Самой высокой мачтой всегда являлась грот-мачта. Ее высота у трех мачтовых кораблей с прямым вооружением определялась длиной корабля по гондеку, сложенной с его наибольшей шириной и разделенной пополам. Высота фок- и бизань-мачт вместе с их топами определялась по высоте грот-мачты. Так длина фок-мачты составляла 8/9 , а бизань-мачты - 6/7 длины грот-мачты. Эти пропорции часто изменялись по усмотрению строителя.
Слово "фор", прибавляется к названиям рангоутных деревьев, частей такелажа и парусов относящихся к фок-мачте, но укрепленных выше марсовой площадки. "Брам" - слово, добавляемое к названиям рангоута, такелажа или паруса, указывает на их принадлежность к третьему колену снизу. "Бом" - указывает на принадлежность к четвертому колену снизу. Нижние мачты, а также бушприты для прочности делали составными из нескольких брусьев, стянутых бандажами - тросовыми вулингами. Нижний конец мачты - шпор оканчивался цапфой, которую вставляли в степс - гнездо, находящееся на кильсоне. Верхняя часть мачты называется топом. На его верхушке находится цапфа на которую одет эзельгофт, соединяющий мачту со стеньгой. С двух сторон мачты крепили фигурные наделки, называемые чиксами, к ним - два продольных бруса - лонг-салинга, а на лонг-салинги настилали марсовую площадку или просто марс.
Марс
Р
аньше
на парусных судах с прямыми парусами
марс имел вид круглой корзины. Около
середины XVIII в. марсы начинают делать
почти прямоугольными, закругленной
была лишь носовая часть. Трехмачтовые
суда несли по три марса, которые называли
по принадлежности к той или иной мачте:
на фок-мачте был фор-марс, на грот-мачте
- грот-марс и на бизань-мачте - крюйс-марс.
Рис. 1. Детали марса:
1 - нижняя мачта (колонна); 2 - чиксы; 3 - лонг-салинги; 4 - краспицы; 5 - собачьи дыры; 6 - марс; 7 - топ мачты; 8 - эзельгофт; 9 - стеньга.
Рис. 2. Соединение стеньги с брам-стеньгой:
1 - стеньга; 2 - чиксы; 3 - лонг-салинги; 4 - краспицы; 5 - брам-стеньга; 6 - эзельгофт; 7 - брам-ванты; 8 - швиц-сорвень-строп.
Все стеньги между собой тоже соединялись при помощи салингов и эзельгофтов, но меньших размеров.
Эзельгофт представляет собой деревянную обойму с двумя отверстиями: квадратным, в который вставляется топ нижней мачты, и круглое в которое пропускается последующая стеньга. Салинги и эзельгофты, в зависимости от их принадлежности к той или иной мачте, носят названия: фор-салинг, фор-брам-салинг, эзельгофт мачтовый, фор-стень-эзельгофт, крюйс-стень-эзельгофт, бушпритный эзельгофт (соединяющий бушприт с утлегарем) и т.д.
Бушприт
Б
ушприт
- это горизонтальный или несколько
наклонный брус (наклонная мачта),
выступающий с носа парусного судна и
служащий для вынесения прямых парусов
- блинда и бом-блинда. До конца XVIII в.
бушприт состоял только из одного дерева
с блинд-стеньгой. С конца XVIII в. бушприт
удлиняется с помощью утлегаря, а затем
и бом-утлегаря. Блинд и бом-блинд на нем
уже не ставится, он служит для выноса
штагов фок-мачты и ее стеньг, а также
для крепления носовых треугольных
парусов - кливеров и стакселей.
Сам бушприт крепили на носу судна при помощи ватер-вулинга из крепкого троса, а позже (XIX в) и цепей.
Рис. Бушприты.
а - XVIII в.; б - конца XVIII в.; в - первой половины XIX в.; 1 - бушприт; 2 - кница; 3 - бушпритный эзельгофт; 4 - марс; 5 - блинда-стеньга; 6 - блинда-брам-стеньга; 7 - флагшток; 8 - клотик; 9 - утлегарь; 10 - бом-утлегарь; 11 - эзельгофт; 12 - блинда-гафель; 13 - мартин-гик; 14 - гюйс-шток; 15 - тросовый вулинг.
Стоячий такелаж парусного корабля
Бушприты, мачты и стеньги на парусном судне закрепляются в определенном положении с помощью специальных снастей, называемых стоячим такелажем рангоута. К стоячему такелажу относятся: ванты, фордуны, штаги, бакштаги, перты, а также кливер и бом-кливер леера.
Будучи раз заведенным, стоячий такелаж всегда остается неподвижным. Его делают из толстого растительного троса.

Стоячий такелаж 90-пушечного двухдечного линейного корабля XVIII - XIX веков:
1 - ватер-штаги; 2 - мартин-штаг; 3 - мартин-штаг от бом-утлегаря (или нижний бакштаг); 4 - фока-штаг; 5 - фок-лось-штаг; 6 - фор-лось-стень-штаг (служит леером фор-стеньги-стакселя); 7 - фор-стень-штаг; 8 - кливер-леер; 9 - фор-брам-стень-штаг; 10 - бом-кливер-леер; 11 - фор-бом-брам-стень-штаг; 12 - грота-штаг; 13 - грот-лось-штаг; 14 - грот-лось-стень-штаг; 15 - грот-стень-штаг; 16 - грот-брам-стень-штаг; 17 - грот-бом-брам-стень-штаг; 18 - бизань-штаг; 19 - крюйс-стень-штаг; 20 - крюйс-брам-стень-штаг; 21 - крюйс-бом-брам-стень-штаг; 22 - ватер-бакштаги; 23 - утлегарь-бакштаги; 24 - бом-утлегарь-бакштаги; 25 - фок-ванты; 26 - фор-стень-ванты; 27 - фор-брам-стень-ванты; 28 - фор-стень-фордуны; 29 - фор-брам-стень-фордуны; 30 - фор-бом-брам-стень-фордуны; 31 - грот-ванты; 32 - грот-стень-ванты; 33 - грот-брам-стень-ванты; 34 - грот-стень-фордуны; 35 - грот-брам-стень-фордуны; 36 - грот-бом-брам-стень-фордуны; 37 - бизань-ванты; 38 - крюйс-стень-ванты; 39 - крюйс-брам-стень-ванты; 40 - крюйс-стень-фордуны; 41 - крюйс-брам-стень-фордуны; 42 - крюйс-бом-брам-стень-фордуны.
Вантами называют снасти стоячего такелажа, которыми укрепляют мачты, стеньги и брам-стеньги с боков и несколько сзади. В зависимости какое дерево удерживают ванты, они получают дополнительное название: фок-ванты, фор-стень-ванты и т.п. Ванты служат также для подъема матросов на мачты и стеньги при работе с парусами. С этой целью поперек вант на определенном расстоянии друг от друга пеньковые, деревянные или металлические выбленки. Пеньковые выбленки привязывали к вантам выбленочным узлом на расстоянии одна от другой 0,4 м. Нижние ванты (пеньковые) были на парусных кораблях самыми толстыми, их диаметр достигал 90-100 мм. Стень-ванты делали тоньше, а брам-стень-ванты еще тоньше. Выбленки были тоньше своих вант.
Стеньги и брам -стеньги дополнительно удерживаются с боков и несколько сзади фордунами. Верхние концы вант и фордунов крепят на мачте или стеньге при помощи огонов (петель), надеваемых на топы. Ванты, стень-ванты и брам-стень-ванты должны быть парными, т.е. выполненными из одного куска троса, который складывают пополам. Если количество вант с каждого борта нечетное, то последнюю ванту к корме делают разбивной, т.е. одинарной. Это же правило относится и к фордунам. Число вант и фордунов зависит от высоты мачты и грузоподъемности судна.
Ванты и фордуны набивали (обтягивали) тросовыми талями на юферсах - особых блоках без шкивов с тремя отверстиями для тросового талрепа. В прежние времена на всех военных парусных кораблях и крупных купеческих судах в целях увеличения угла, под которым нижние ванты и фордуны идут к мачтам, с внешней стороны борта корабля, на уровне палубы, укрепляли мощные деревянные площадки - руслени. Раскрепляли их вант-путенсами, выкованными из железных полос. Нижний конец вант-путенсов крепили к борту, а к их верхним концам крепили юферсы так, что последние почти соприкасались своей нижней частью с русленями.
Верхние юферсы ввязывают в ванты и фордуны с помощью огонов и бензелями (марками). Ванты стеньг оборудовали также, как и нижние ванты, но юферсы их были несколько меньше размером.
Снасти стоячего такелажа, поддерживающие рангоутные деревья в диаметральной плоскости спереди, называются штагами, которые, как и нижние ванты, делали из толстого троса. К стоячему такелажу относятся и перты - растительные тросы на реях, на которые становятся матросы во время работы с парусами на реях. Обычно один конец перта прикрепляют к ноку рея, другой - к середине рея. Перты поддерживаются подпертками - отрезками троса, прикрепленными к рею.
Стоячий
такелаж бушприта служит для поддержки
и укрепления рангоутных деревьев
бушприта. Он состоит из штагов, бакштагов,
пертов и т.д. 
Стоячий такелаж бушприта:
1 - ватер-штаги; 2 - ватер-бакштаги; 3 - утлегарь-штаг; 4 - утлегарь-бакштаг; 5 - бом-утлегарь-штаг; 6 - мартин-бакштаги; 7 - бом-утлегарь-бакштаги; 8 - верхний блинда-бакштаг; 9 - нижний блинда-бакштаг; 10 - перты бом-утлегаря; 11 - перты утлегаря; 12 - лоп-штаги.
Ватер-штаги - стоячий такелаж, удерживающий бушприт снизу, преднахначающийся для противодействия тяге фока и фок-стеньгаштагов и представляющий собой тали. Ватер-бакштаги - снасти стоячего такелажа бушприта, удерживающие его с боков. Утлегарь-штаг и бом-утлегарь-штаг - снасти поддерживающие утлегарь и бом-утлегарь снизу. Утлегарь-бакштаг, мартин-бакштаги, бом-утлегарь-бакштаги, верхний и нижний блинда-бакштаги - снасти , удерживающие рангоутные деревья бушприта с боков. Перты утлегаря и бом-утлегаря, лоп-штаги - снасти, служащая леером при передвижении матросов по бушприту.
Cнасти для управления парусами
Совокупность всех парусов корабля называют парусным вооружением. Все парусные корабли по типу их парусного вооружения делят на суда с прямым, косым и смешанным вооружением.
Прямым или корабельным называют парусное вооружение, в котором прямые паруса являются основными, а косые вспомогательными. Классическим примером прямого парусного вооружения являлись линейные корабли, имеющие три мачты, и военные корабля - фрегаты, корветы и бриги.
Косым называют вооружение, в котором основными являются косые паруса. К ним относятся шхуны, тендеры, кечи, иолы, яхты.
К судам смешанного вооружения относятся баркентины и бригантины.

Парусное вооружение корабля:
I - бом-кливер; II - кливер; III - фор-стеньги-стаксель; IV - фор-стаксель; V - фок - нижний прямоугольный парус на фок-мачте; VI - фор-марсель - второй снизу прямой парус, расположенный на фор-брам-стеньге; VII - фор-брамсель - третий парус, расположенный на фор-брам-стеньге фок-мачты; VIII - фор-бом-брамсель - четвертый парус, расположенный на фор-бом-брам-стеньге; IX - грот-стаксель; X - грот-стеньги-стаксель; XI - грот-брам-стаксель; XII - грот - нижний прямоугольный парус на грот-мачте; XIII - грот-марсель; XIV - грот-брамсель; XV - грот-бом-брамсель; XVI - апсель - косой парус между грот- и бизань-мачтами; XVII - крюйсель - прямой парус; XVIII - крюйс-брамсель; XIX - крюйс-бом-брамсель; XX - бизань - нижний косой парус (косая бизань).
Бегучий такелаж
- снасти для управления парусами:

1 - бом-кливер-фал; 2 - бом-кливер-шкот; 3 - кливер-шкот; 4 - фор-стеньга-стаксель-шкот; 5 - фор-стаксель-шкот; 6 - фока-шкот; 7 - фока-галс; 8 - фоковые нок-гордени; 9 - фоковые бык-гордени; 10 - фока-гитовы; 11 - фока-булинь; 12 - фор-марса-гитовы; 13 - фор-марса-булинь; 14 - риф-шкентель талей - конец снасти, основанный между блоками , для подтягивания парусов при взятии рифов; 15 - фор-брам-гитовы; 16 - фор-брам-булинь; 17 - фор-бом-брам-гитовы; 18 - риф-сезни (риф-штерты); 19 - грота-шкот; 20 - грота-галс; 21 - грот-нок-гордень; 22 - грота-бык-гордень; 23 - грота-гитовы; 24 - грота-булинь; 25 - грота-марса-гитовы; 26 - грота-марса-булинь; 27 - грота-брам-гитовы; 28 - грота-брам-булинь; 29 - грота-бом-брам-гитовы; 30 - бизань-гитовы; 31 - крюйсель-гитовы; 32 - крюйсель-булинь; 33 - крюйс-брам-гитовы; 34 - крюйс-брам-булинь; 35 - крюйс-бом-брам-гитовы;
К бегучему такелажу управления парусами относятся фалы, шкоты, галсы, гордени, гитовы и булини.
Фалами называют снасти, при помощи которых поднимают и опускают паруса (кливера и стаксели), флаги и сигналы.
Шкоты служат для управления прямыми (нижними) и косыми парусами, которые тянут их к корме. Кливера и стаксели имеют по два шкота, проходящих с одной и другой сторон борта или лееров. Эти шкоты делаются обычно двойные. У косых парусов с гиком, где шкотовый угол паруса крепят к ноку гика, для управления парусом служит гика-шкот, прикрепленный к гику.
Шкотовые углы фока и грота тянут помимо шкота галсами, которые предназначают для тяги углов нижних парусов в направлении к носу, противоположно к шкотам. Галсы бывают двойные (и тогда их проводят подобно шкотам) или одинарные. В последнем случае коренной конец галса крепят в шкотовом углу. Грота-галсы протягивают у бортов около фок-мачты, а фока-галсы на баке, через блок на галсе-боканце (коротком рангоутном горизонтальном дереве, выступающем в носу судна с каждого борта для вытягивания наветренного угла фока посредством фока-галса).
Гордени и гитовы служат для подбирания нижних и боковых шкаторин и шкотовых углов при уборке парусов и взятии рифов.
Булини - снасти, расположенные на боковых шкаторинах внизу прямых парусов, предназначены для растягивания паруса на ветер, чтобы судно могло идти круто к ветру.
Парусное вооружение
Совокупность всех парусов корабля называют парусным вооружением. Все парусные суда по типу их парусного вооружения делят на суда с прямым, косым и смешанным вооружением.
Прямым или корабельным называют парусное вооружение, в котором прямые паруса являются основными, а косые вспомогательными. Классическим образцом прямого парусного вооружения являлись линейные корабли, имеющие три мачты, и военные корабли меньших размеров - фрегаты, корветы и бриги.
Косым называют вооружение, в котором основными являются косые паруса. К ним относятся шхуны, тендеры, кечи, иолы, яхты.
К судам смешанного вооружения относятся баркентины и бригантины.

Рис. Парусное вооружение корабля:
I - бом-кливер; II - кливер; III - фор-стеньги-стаксель; IV - фор-стаксель; V - фок - нижний прямоугольный парус на фок-мачте; VI - фор-марсель - второй снизу прямой парус, расположенный на фор-стеньге; VII - фор-брамсель - третий парус расположенный на фор-брам-стеньге; VIII - фор-бом-брамсель - четвертый прямой парус, расположенный на фор-бом-брам-стеньге; IX - грот-стаксель; X - грот-стеньги-стаксель; XI - грот-брам-стаксель; XII - грот - нижний прямоугольный парус на грот-мачте; XIII - грот-марсель; XIV - грот-брамсель; XV - грот-бом-брамсель; XVI - апсель - косой парус между грот- и бизань-мачтами; XVII - крюйсель - прямой парус; XVIII - крюйс-брамсель; XIX - крюйс-бом-брамсель; XX - бизань - нижний косой парус (косая бизань).
Прямые паруса.
Прямые паруса имеют четырехугольную, прямоугольную или трапециевидную форму и своей верхней стороной крепятся к реям. Такие паруса устанавливают поперек судна. Нижняя часть паруса обычно несколько изогнута кверху. С помощью шкотов и галсов ее прикрепляют к нижележащему рею или к палубе судна. Повороты прямых парусов в нужное положение относительно ветра производят вместе с реями при помощи снастей, называемых брасами и закрепленных на ноках реев. Прямые паруса именуют по реям, к которым они прикреплены.
Паруса фок, грот и бизань называют нижними парусами, а остальные (марсели, брамсели и бом-брамсели) - верхними.
С ростом водоизмещения кораблей, мощности и количества артиллерии на них увеличивалась и площадь парусного вооружения. К примеру, в начальный период петровского кораблестроения (конец XVII века) корабли несли на фок- и грот-мачтах только по два прямых паруса, в начале XVIII века их ставили уже по три, а с конца XVIII века и первой половины XIX века - по четыре на трех мачтах. На чайных клиперах и барках количество прямых парусов достигало 6-7 на каждой мачте.
В
петровские времена и вплоть до конца
XVIII века в носу корабля (на бушприте)
поднимали еще два прямых паруса - нижний
блинд и бом-блинд.
Нижний блинд располагали под бушпритом
на блинда-рее, а бом-блинд на бом-блинда-рее,
установленном на стеньге бушприта. С
конца XVIII века эти паруса не ставят, а
вместо них м
ежду
фок-мачтой и удлиненным бушпритом (с
помощью утлегаря и бом-утлегаря) стаои
поднимать треугольные косые паруса -
кливеры и стаксели.
К прямым парусам относятся и добавочные паруса - лиселя, которые добавляют к основным прямым парусам при попутном ветре. Ставят их по сторонам основных прямых парусов на особых рангоутных деревьях - лисель-спиртах, выдыигаемых с реев. Лиселя ставили только на фок- и грот-мачтах.
Рис. Лиселя с левого борта:
I - ундер-лисель; II - марса-лисель; III - брам-лисель; 1 - выстрел; 2 - реек ундер-лиселя; 3 - марса-лисель-спирт; 4 - реек марса-лиселя; 5 - брам-лисель-спирт; 6 -реек брам-лиселя.


Р
ис.
Детали прямых
парусов:
а - нижний парус; б - верхний парус; 1- ликтрос; 2 - верхняя шкаторина; 3 - подшивка; 4 - боковые шкаторины; 5 - нижняя шкаторина; 6 - ванты; 7 - боуты; 8 - риф-сезни; 9 - риф-кренгельсы; 10 - кренгельсы риф-талей; 11 - кренгельсы шпрюйта буленей; 12-13 - угловые кренгельсы; 14 - кренгельсы из троса; 15 - кренгельсы с коушем.
Р
ис.
Крепление прямого
паруса к рею:
а - в XIX веке; б - в XVII веке; в - наложение шлагов вокруг рея; 1 - рей; 2 - верхняя шкаторина паруса; 3 - леер рея; 4 - люверсы; 5 - реванты; 6 - ноковый кренгельс; 7 - бензель нокового кренгельса; 8 - ликтрос.
1