Поляриметрические методы анализа
Министерство образования Республики Беларусь
Учреждение образования
«Гомельский государственный университет
имени Франциска Скорины»
Физический факультет
Кафедра оптики
-
Допущена к защите
Зав. кафедрой ____________С.А. Хахомов
"__" ___________ 2005г.
Поляриметрические методы анализа
Дипломная работа
|
Исполнитель: студент группы Ф-54 |
Д.С. Киселев |
|
|
Научный руководитель: доктор физ.-мат. наук, профессор |
В.В. Сытько |
|
|
Рецензент: |
ГОМЕЛЬ 2005
Реферат
Дипломная работа 31 с., 1 табл., 23 рис., 6 источников.
Ключевые слова: поляриметр, количественный анализ, лабораторная работа, закон Био, зависимость удельного вращения от длины волны.
Объекты исследования – законы поляриметрии, поляриметрические методы определения содержания вещества в растворе.
Цель исследования – разработка методических указаний к выполнению лабораторной работы “Поляриметрическое определение концентрации вещества в растворе. Проверка закона Био при разных длинах волн”, а также частичная модернизация поляриметра СМ-3.
Результаты исследований:
Рассмотрены основные методы поляриметрии и приборы поляриметрического анализа. Разработаны методические указания к выполнению лабораторной работы “Поляриметрическое определение концентрации вещества в растворе. Проверка закона Био при разных длинах волн”.
Проведена частичная модернизация поляриметра СМ-3, заключающаяся в том, что с целью расширения функциональных возможностей прибора проведена замена системы исходной освещения блоком, позволяющим проводить изменения как в белом свете, так и в синем, зеленом, желтом и красном диапазонах спектра.
|
Содержание |
||
|
Стр. |
||
|
Введение……………………………………………………………….. |
4 |
|
|
1 |
Поляризация света и связанные с ней явления…………………... |
5 |
|
1.1 |
Поляризация света……………………………………………………... |
5 |
|
1.2 |
Хроматическая поляризация света…………………………………… |
8 |
|
1.3 |
Двойное лучепреломление……………………………………………. |
9 |
|
1.4 |
Оптическая активность вещества…………………………………….. |
12 |
|
2 |
Поляризационные устройства и приборы…………………………. |
15 |
|
2.1 |
Простейшие поляризационные устройства………………………….. |
15 |
|
2.2 |
Поляризационные призмы…………………………………………….. |
16 |
|
2.3 |
Приборы для поляризационно-оптических исследований………….. |
19 |
|
3 |
Методические указания к выполнению лабораторной работы “Поляриметрическое определение концентрации вещества в растворе. Проверка закона Био при разных длинах волн”…………………………………………………. |
25 |
|
Заключение……………………………………………………………. |
30 |
|
|
Список использованных источников……………………………… |
31 |
Введение
Оптически активные вещества, имеющие асимметричную молекулярную или кристаллическую структуру, поворачивают плоскость поляризации линейно поляризованного света на угол угол вращения плоскости поляризации, который зависит от природы оптически активного вещества, концентрации (для растворов), длины волны света, температуры, природы растворителя. Величина, характеризующая зависимость угла поворота плоскости поляризации от длины волны d/dl , называется дисперсией оптического вращения. Величина пропорциональна толщине слоя вещества и концентрации раствора. Характеристика природы вещества учитывается удельным углом вращения >D>(20) . Угол поворота плоскости поляризации измеряют обычно при 20 0С и стандартной длине волны 589,3 нм (D-линия Na). Один из вариантов закона Био для растворов связывает все эти параметры уравнением >D>20=(l), l – длина кюветы, (20) – плотность жидкости при 20 0С. Измерения, как правило, проводят на приборах, называемых поляриметрами.
Поляриметрия широко применяется для исследования строения оптически активных веществ и измерения их концентрации. Оптическая активность эффект второго порядка, получаемый при учёте различия фаз световой волны в разных точках молекулы, который возникает в результате электронных взаимодействий в молекуле. Она чрезвычайно чувствительна к любым изменениям строения вещества и к межмолекулярному взаимодействию, поэтому она может дать ценную информацию о природе заместителей в молекулах (как органических, так и комплексных неорганических соединений), об их конформациях, внутреннем вращении и т.д. На оптическую активность веществ влияют межмолекулярного взаимодействия, которые модно рассматривать в модели молекулы как системы анизотропно поляризующихся атомных групп, между которыми в поле световой волны возникает специфическое электростатическое взаимодействие, индуцирующее дополнительное диполь-дипольное взаимодействие.
Трудности теоретических оценок оптической активности химических соединений определяются неаддитивностью явления, не позволяющей вести расчёты на основе простой схемы, как, например, в случае молекулярной рефракции. Перспективными здесь являются методы поляриметрии, основанные на измерении поляризационных свойств прошедшего через тестируемое вещество квазимонохроматического излучения различных спектральных диапазонов.
Цель работы разработка методических указаний к выполнению лабораторной работы “Поляриметрическое определение концентрации вещества в растворе. Проверка закона Био при разных длинах волн”. В связи с последней частью лабораторной работы возникла дополнительная задача модификации промышленного поляриметра, обусловленная необходимостью проведения измерений на разных длинах волн.
1 Поляризация света и связанные с ней явления
1.1 Поляризация света
Поляризация света – одно из фундаментальных свойств оптического излучения, состоящее в неравноправии различных направлений в плоскости, перпендикулярной световому лучу (направлению распространения световой волны). Поляризацией света называются также геометрические характеристики, которые отражают особенности этого неравноправия [13].
Впервые понятие о поляризации света было введено в оптику И. Ньютоном в 1704 г., хотя явления, обусловленные ею, изучались и ранее (открытие двойного лучепреломления в кристаллах Э. Бартолином в 1669 г. и его теоретическое рассмотрение Х. Гюйгенсом в 1678-1690 гг.). Сам термин “поляризация света” предложен в 1808 Э. Малюсом. С его именем и с именами Ж. Био, О. Френеля, Д. Араго, Д. Брюстера и др. связано начало широкого исследования эффектов, в основе которых лежит поляризация света. Существенное значение для понимания поляризации света имело её проявление в эффекте интерференции света. Именно тот факт, что два световых луча, линейно поляризованных под прямым углом друг к другу, при простейшей постановке опыта не интерферируют, явился решающим доказательством поперечности световых волн (Френель, Араго, Т. Юнг, 1816—19). Поляризация света нашла естественное объяснение в электромагнитной теории света Дж. К. Максвелла (1865—73).
Поперечность световых волн выражается в том, что колеблющиеся в них векторы напряжённости электрического поля Е и напряжённости магнитного поля Н перпендикулярны направлению распространения волны. Векторы Е и Н выделяют определённые направления в пространстве, занятом волной. Кроме того, Е и Н почти всегда (об исключениях см. ниже) взаимно перпендикулярны, поэтому для полного описания состояния поляризации света требуется знать поведение лишь одного из них. Обычно для этой цели выбирают вектор Е.
Световая волна, испускаемая отдельно взятым элементарным излучателем (атом, молекула) в единичном акте излучения, всегда поляризована полностью. Но макроскопические источники света состоят из огромного числа элементарных излучателей, что приводит к хаотическому распределению ориентаций вектора E в пространстве. Подобное излучение называется неполяризованным (естественным) светом, а вектор Е, как и всякий вектор, всегда можно представить в виде суммы его проекций на 2 взаимно перпендикулярных направления (выбираемых в плоскости, поперечной направлению распространения света). В естественном свете разность фаз между такими проекциями непрерывно и хаотически меняется. В полностью поляризованном свете эта разность фаз строго постоянна, т. е. взаимно перпендикулярные компоненты Е когерентны. Создав определённые условия на пути распространения естественного света, можно выделить из него поляризованную (полностью или частично) составляющую. Кроме того, полная или частичная поляризация света возникает в ряде природных процессов испускания света и его взаимодействия с веществом.
Полную поляризацию монохроматического света характеризуют проекцией траектории конца вектора Е в каждой точке луча на плоскость, перпендикулярную лучу (рисунок 1.1). В общем случае т. н. эллиптической поляризации такая проекция – эллипс, что связано с постоянством частоты колебаний и разности фаз между взаимно перпендикулярными компонентами Е в монохроматической волне. Для полного описания эллиптической поляризации света необходимо знать направление вращения Е по эллипсу (правое или левое), ориентацию осей эллипса и его эксцентриситет (рис. 2).

Рисунок 1.1 – Колебания проекций вектора Е световой волны в системе координат х, у, z,
z – направление распространения волны (а); б и в – мгновенные изображения колебаний
и соответствующей огибающей концов вектора Е в разных точках волны для случая,
когда колебания E>x> на четверть периода () опережают колебания E>y>

Рисунок 1.2 – Возможные направления вращения вектора E и направления осей
эллипса поляризации
Наибольший интерес представляют предельные случаи эллиптической поляризации света – линейная поляризация (разность фаз ±n, где n – целое число, эллипс вырождается в отрезок прямой – рисунки 1.2а и 1.2д) и круговая (циркулярная) поляризация (±(2n+1)/2, эллипс поляризации превращается в окружность, рисунок 1.2в). В сложных неоднородных световых волнах (например, в металлах или при полном внутреннем отражении, рис) мгновенные направления векторов Е и Н уже не связаны простым соотношением ортогональности, и для полного описания поляризации света в таких волнах требуется знание поведения каждого из этих векторов по отдельности (рисунки 1.2б, 1.2 г и 1.2е).
Если фазовое соотношение между компонентами Е>x> и Е>у> меняется за времена, много меньшие времени измерения поляризации света, нельзя говорить о полной поляризации света. Однако может случиться, что в составляющих пучок света монохроматических волнах Е меняется не совершенно хаотически, а между взаимно перпендикулярными компонентами Е существует некоторый преимущественный фазовый сдвиг (фазовая корреляция), сохраняющийся в течение достаточно длительного времени. Физически это означает, что в поле световой волны одна из компонент вектора Е всегда больше другой (Е>x>Е>у>). Степень подобной фазовой корреляции в таком (частично поляризованном) свете описывают степенью поляризации света р:
|
|
(1.1) |
где индексы 1 и 2 относятся к интенсивностям I света двух ортогональных поляризаций. Очевидно, что р может меняться от 0 до 100%, отражая все количественные градации состояния поляризации света. Однако следует иметь в виду, что свет, проявляющийся в одних опытах как неполяризованный, в других может оказаться полностью поляризованным – с поляризацией, меняющейся во времени, по сечению пучка или по спектру.
К частичной или полной поляризации света может приводить множество физических процессов. Это, например, отражение и преломление света, при которых поляризация света обусловлена различием оптических характеристик границы раздела двух сред для компонент светового пучка, поляризованных параллельно и перпендикулярно плоскости падения. Свет может поляризоваться при прохождении через среды, обладающие естественной или вызванной внешними воздействиями (индуцированной) оптической анизотропией (вследствие неодинаковости коэффициентов поглощения света при различных состояниях поляризации света, например при правой и левой круговых поляризациях т. н. круговой дихроизм, являющийся частным случаем плеохроизма; вследствие различия преломления показателей среды для лучей различных линейных поляризаций войного лучепреломления. Очень часто полностью поляризовано излучение лазеров; одной из основных причин поляризации света в лазерах является специфический характер вынужденного излучения, при котором поляризации испускаемого фотона и фотона, вызвавшего акт испускания, абсолютно тождественны; таким образом, при лавинообразном умножении числа испускаемых фотонов в лазерном импульсе их поляризации могут быть совершенно одинаковыми. Поляризация возникает при резонансном излучении в парах, жидкостях и твёрдых телах. Поляризация при рассеянии света столь характерна, что её исследование один из основных способов изучения как особенностей и условий самого рассеяния, так и свойств рассеивающих центров, в частности их структуры и взаимодействия между собой. В определённых условиях сильно поляризовано люминесцентное свечение, особенно при возбуждении его поляризованным светом. Поляризация весьма чувствительна к величине напряжённости и ориентации электрических и магнитных полей; в сильных полях компоненты, на которые расщепляются спектральные линии испускания, поглощения и люминесценции газообразных и конденсированных систем, оказываются поляризованными.
1.2 Хроматическая поляризация света
Одним из эффектов интерференции поляризованных лучей света является хроматическая поляризация света, связанная с зависимостью всех интерференционных явлений от длины волны излучения. Она проявляется, в частности, в окрашивании интерференционной картины, возникающей при интерференции белого света.
Обычная схема получения картины хроматической поляризации света в параллельных лучах приведена на рисунке 1.3.

Рисунок 1.3 Схема наблюдения интерференции поляризованных лучей
в параллельном световом потоке (N>1> поляризатор, N>2> анализатор; К пластинка
толщиной l, вырезанная из одноосного двулучепреломляющего кристалла параллельно
его оптической оси)
В пластинке К, вырезанной из двулучепреломляющего одноосного кристалла параллельно его оптической оси ОО и установленной перпендикулярно пучку, плоскополяризованный луч разделяется на составляющую А>е> с колебаниями электрического вектора, параллельными ОО (необыкновенный луч), и составляющую А>о>, колебания электрического вектора которой перпендикулярны ОО (обыкновенный луч). Показатели преломления материала пластинки К для этих двух лучей (n>e> и n>o>) различны, а следовательно, различны скорости их распространения в К, вследствие чего эти лучи, распространяясь по одному направлению, приобретают разность хода. Разность фаз их колебаний при выходе из К равна =(1/l(n>о>n>e>), где l толщина К, длина волны падающего света.
Поляризатор N>1> пропускает лишь одну линейно поляризованную в направлении N>1>N>1> составляющую исходного пучка, анализатор N>2> пропускает из каждого луча только его слагающую с колебаниями, лежащими в плоскости его главного сечения N>2>N>2>. Если оптические оси анализатора и поляризатора скрещены (N>1>N>1>), амплитуды слагающих А>1> и А>2> равны, а разность их фаз =+. Они когерентны и интерферируют между собой. В зависимости от величины на каком-либо участке пластинки К наблюдатель увидит этот участок тёмным, если =(2n+1), или светлым, если =2n, в монохроматическом свете и окрашенным в белом свете. Если пластинка неоднородна по толщине или по показателю преломления, её участки, в которых эти параметры одинаковы, видны соответственно одинаково тёмными или светлыми либо одинаково окрашенными. Линии одинаковой цветности называют изохромами.
Схема для наблюдения хроматической поляризации света в сходящихся лучах показана на рисунке 1.4 Лучи разного наклона проходят в К разные пути, приобретая разности хода (различные для обыкновенного и необыкновенного лучей). По выходе из анализатора они интерферируют, давая характерные интерференционные картины, показанные на рисунке 1.5.

Рисунок 1.4 Схема наблюдения хроматической поляризации в сходящихся лучах
(N>1> поляризатор, N>2> анализатор; К пластинка толщиной l, вырезанная из одноосного двулучепреломляющего кристалла параллельно его оптической оси; L>1>, L>2> линзы)
|
|
|
|
|
а |
б |
Рисунок 1.5 Интерференционные картины хроматической поляризации
в сходящихся лучах, когда оптические оси анализатора и поляризатора
скрещены (N>1>N>2>, см. рисунок 1.4). Cрез кристаллической пластинки К
перпендикулярен (а) и параллелен (б) её оптической оси.
1.3 Двойное лучепреломление
Двойное лучепреломление это явление расщепления пучка света в анизотропной среде на два слагающих, распространяющихся с разными скоростями и поляризованных в двух взаимно перпендикулярных плоскостях. Двойное лучепреломление впервые обнаружено и описано профессором Копенгагенского университета Э. Бартолином в 1669 г. в кристалле исландского шпата. Если световой пучок падает перпендикулярно к поверхности кристалла, то он распадается на два пучка, один из которых продолжает путь без преломления, как и в изотропной среде, другой же отклоняется в сторону, нарушая обычный закон преломления света (рисунок 1.6). Соответственно этому лучи первого пучка называются обыкновенными, второго необыкновенными. Угол, образуемый обыкновенным и необыкновенным лучами, называется углом двойного лучепреломления. Если в случае перпендикулярного падения пучка поворачивать кристалл вокруг пучка, то след обыкновенного луча остаётся на месте, в центре, а след необыкновенного луча вращается по кругу. Двойное лучепреломление можно наблюдать и при наклонном падении пучка света на поверхность кристалла. В исландском шпате и некоторых др. кристаллах существует только одно направление, вдоль которого не происходит двойное лучепреломление. Оно называется оптической осью кристалла, а такие кристаллы одноосными.

Рисунок 1.6 Двойное лучепреломление в одноосном кристалле
при перпендикулярном падении пучка света на переднюю грань кристалла
Направление колебаний электрического вектора у необыкновенного луча лежит в плоскости главного сечения (проходящей через оптическую ось и световой луч), которая является плоскостью поляризации. Нарушение законов преломления в необыкновенном луче связано с тем, что скорость распространения необыкновенной волны, а, следовательно, и её показатель преломления n>е> зависят от направления. Для обыкновенной волны, поляризованной в плоскости, перпендикулярной главному сечению, показатель преломления n>о> одинаков для всех направлений. Если из точки О (рисунок 1.6) откладывать векторы, длины которых равны значениям n>е> и n>о> в различных направлениях, то геометрические места концов этих векторов образуют сферу для обыкновенной волны и эллипсоид для необыкновенной (поверхности показателей преломления).
В прозрачных кристаллах интенсивности обыкновенного и необыкновенного лучей практически одинаковы, если падающий свет был естественным. Выделив диафрагмой один из лучей, получившихся при двойном лучепреломлении, и пропустив его через второй кристалл, можно снова получить двойное лучепреломление. Однако интенсивности обыкновенного и необыкновенного лучей в этом случае будут различны, т. к. падающий луч поляризован. Отношение интенсивностей зависит от взаимной ориентации кристаллов от угла , образуемого плоскостями главных сечений того и другого кристалла (плоскости, проходящие через оптическую ось и световой луч). Если =0° или 180°, то остаётся только обыкновенный луч. При =90°, наоборот, остаётся только луч необыкновенный. При 45° интенсивность обоих лучей одинакова. В общем случае кристалл может иметь две оптических оси, т. е. два направления, вдоль которых двойное лучепреломление отсутствует. В двуосных кристаллах оба луча, появляющиеся при двойном лучепреломлении, ведут себя, как необыкновенные.
Двойное лучепреломление, характеризуемое величиной и знаком n, может быть положительным и отрицательным; в соответствии с этим различают положительные и отрицательные (одноосные) кристаллы (таблица 1.1).
Таблица 1.1 Значения показателей преломления для различных кристаллов
|
Кристалл |
n>o> |
n>e>макс |
n=n>e>максn>о> |
|
Исландский шпат |
1,65836 |
1,48639 |
-0,17197 |
|
Кварц |
1,5442 |
1,5533 |
+0,0091 |
|
Каломель |
1,9733 |
2,6559 |
+0,6826 |
|
Натриевая селитра |
1,587 |
1,336 |
-0,251 |
Измерение n в тех случаях, когда двойное лучепреломление велико, может быть осуществлено непосредственным определением показателей преломления при помощи призм или специальных кристаллорефрактометров, позволяющих делать измерения n в разных направлениях. Во многих случаях (особенно для тонких слоев анизотропных тел), когда пространственное разделение двух лучей столь мало, что измерить n>о> и n>е> невозможно, измерения делаются на основании наблюдения характера поляризации света при прохождении его через слой анизотропного вещества.
Двойное лучепреломление объясняется особенностями распространения электромагнитных волн в анизотропных средах. Электрическое поле световой волны E, проникая в вещество, вызывает вынужденные колебания электронов в атомах и молекулах среды. Колеблющиеся электроны, в свою очередь, являются источником вторичного излучения света. Таким образом, прохождение световой волны через вещество результат последовательного переизлучения света электронами. В анизотропном веществе колебания электронов легче возбуждаются в некоторых определённых направлениях. Поэтому волны с различной поляризацией будут распространяться в анизотропном веществе с разными скоростями. Помимо кристаллов, двойное лучепреломление наблюдается в искусственно анизотропных средах (в стеклах, жидкостях и др.), помещенных в электрическое поле, в магнитное поле, под действием механических напряжений и т. п. В этих случаях среда становится оптически анизотропной, причём оптическая ось параллельна направлению электрического поля, магнитного поля и т. п.
1.4 Оптическая активность вещества
Оптическая активность способность среды вызывать вращение плоскости поляризации проходящего через неё света. Одним из первых исследований, приведших к обнаружению оптической активности, было исследование зависимость интенсивности линейно поляризованного света после его прохождения через анализатор от угла между плоскостями поляризации падающего света и анализатора, проведенное Э. Л. Малюсом. В 1810 г. им было установлена зависимость соотношения между интенсивностями падающего на анализатор I>0> и выходящего из него I света и углом , получившее название закона Малюса:
|
I=I>0>cos2 |
(1.2) |
Сама же оптическая активность впервые была обнаружена в 1811 г. Д.Ф. Араго в кварце. В 1815 г. Ж.Б. Био обнаружил ее у чистых жидкостей (скипидара), а затем растворов и паров многих, главным образом органических, веществ. Он же установил, что:
угол поворота плоскости поляризации линейно зависит от толщины l слоя активного вещества (или его раствора) и концентрации с этого вещества с (закон Био):
|
=lc , |
(1.3) |
где коэффициент называется удельной оптической активностью;
поворот плоскости поляризации света в данной среде происходит либо по часовой стрелке (>0), либо против неё (<0), если смотреть навстречу ходу лучей света. Соответственно оптически активные вещества, проявляющие естественную оптическую активность разделяют на правовращающие (положительно вращающие, >0) и левовращающие (отрицательно вращающие, <0).
Феноменологическую (макроскопическую) теорию оптической активности предложил в 1823 г. О. Ж. Френель, объяснивший ее различием преломления показателей среды n>+> и n>–> для право- и левополяризованных по кругу световых волн. Полученное Френелем выражение имеет вид
|
= ·l /(n>+>–n>–>), |
(1.4) |
где длина волны излучения в вакууме. Т. о., может быть значительным даже при очень малом различии n>+> и n>–>, если l, как это обычно, бывает много больше . Этим объясняется чрезвычайно высокая чувствительность методов, основанных на измерении оптической активности (например, при определении различий в показателе преломления в 10 000 раз точнее самых точных измерений с помощью интерферометров).
В 1896 г. французский учёный Э. Коттон, обнаружил, что в одном и том же веществе угол вращения плоскости поляризации имеет различные знаки по разные стороны от полос резонансного поглощения. Его исследования оптической активности веществ при прохождении через них света с длинами волн , близкими к длинам волн полос поглощения >0>, выявили аномальную оптическую активность увеличение с ростом , а также различие показателей поглощения при этих длинах волн для право- и левополяризованных по кругу лучей т. н. круговой дихроизм, или эффект Коттона. Вследствие кругового дихроизма вблизи полос собственного поглощения не только поворачивается плоскость поляризации света, исходно поляризованного линейно, но и одновременно этот свет превращается в эллиптически поляризованный.
Развитие теории оптической активности тесно связано с изучением её дисперсии зависимости от . Ещё Био установил, что в исследованных им случаях тем меньше, чем больше ( –2). Такая дисперсия характерна для т. н. нормальной оптической активности вдали от длин волн >0>, на которых в оптически активном веществе происходит резонансное поглощение. Дальнейшие исследования показали, что для объяснения оптической активности существен учёт изменения поля световой волны на расстояниях порядка размеров а молекулы (при описании многих других оптических явлений таким изменением можно пренебречь).
Одним из решающих этапов выяснения природы оптической активности явилось открытие Л. Пастером в 1848 г. оптических антиподов веществ, неразличимых по всем физическим (и многим химическим) свойствам, кроме направления вращения плоскости поляризации (отличаясь знаками, удельные оптическией активности двух антиподов равны по абсолютной величине). Оказалось, что оптические антиподы (кристаллические решётки в кристаллах, отдельные молекулы в аморфных, жидких и газообразных оптически активных веществах такие молекулы называются оптическими изомерами) являются зеркальными отражениями друг друга, так что никакими перемещениями и поворотами в пространстве не могут быть совмещены один с другим при полном тождестве образующих их элементов. Для молекул каждого из оптических изомеров характерна пространственная асимметрия они не имеют плоскости зеркальной симметрии и центра инверсии.
Оптически активные вещества это среды, обладающие естественной оптической активностью. Оптически активные вещества подразделяются на два типа. Относящиеся к первому из них оптически активны в любом агрегатном состоянии (сахара, камфора, винная кислота), ко второму активны только в кристаллической фазе (кварц, киноварь). У веществ первого типа оптическая активность обусловлена асимметричным строением их молекул, у веществ второго типа специфической ориентацией молекул (ионов) в элементарных ячейках кристалла (асимметрией поля сил, связывающих частицы в кристаллической решётке). Кристаллы оптически активных веществ всегда существуют в двух формах правой и левой; при этом решётка правого кристалла зеркально симметрична решётке левого и не может быть пространственно совмещена с нею (т. н. энантиоморфные формы). Оптической активности правой и левой форм оптически активные вещества второго типа имеют разные знаки (и равны по абсолютной величине при одинаковых внешних условиях), поэтому их называется оптическими антиподами (иногда так называют и кристаллы оптически активных веществ первого типа).
Молекулы правого и левого оптически активного вещества первого типа являются оптическими изомерами. Продукт химической реакции без участия такого агента всегда смесь оптических изомеров в равных количествах, т. н. рацемат. Физические свойства рацемата и чистых оптических изомеров зачастую различны [4]. Например, температура плавления рацемата несколько ниже, чем чистого изомера. Рацемат разделяют на чистые изомеры либо отбором энантиоморфных кристаллов, либо в химической реакции с участием асимметричного агента чистого изомера или асимметричного катализатора, либо микробиологически. Последнее свидетельствует о наличии асимметричных агентов в биологических процессах и связано со специфическим и пока не нашедшим удовлетворительного объяснения свойством живой природы строить белки из левых оптических изомеров аминокислот 19 из 20 жизненно важных аминокислот оптически активны. Применительно к оптически активным веществам первого типа термины “левый” (L) и “правый” (D) условны в том смысле, что не соответствуют непосредственно направлению вращения плоскости поляризации в них, в отличие от этих же терминов для оптически активных веществ второго типа или терминов “левовращающий” и “правовращающий”. Физиологическое и биохимическое действие оптических изомеров часто совершенно различно. Например, белки, синтезированные искусств, путём из D-aминокислот, не усваиваются организмом; бактерии сбраживают лишь один из изомеров, не затрагивая другой; L-никотин в несколько раз ядовитее D-никотина. Удивительный феномен преимущественной роли только одной из форм оптических изомеров в биологических процессах может иметь фундаментальное значение для выяснения путей зарождения и эволюции жизни на Земле.
2 Поляризационные устройства и приборы
На многих из перечисленных в разделе явлений основаны принципы действия разнообразных поляризационных приборов, с помощью которых не только анализируют состояние поляризации света, испускаемого внешними источниками, но и получают требуемую поляризацию и преобразуют одни её виды в другие.
2.1 Простейшие поляризационные устройства
В простейших поляризационных устройствах поляризаторах для получения полностью или частично поляризованного света используется одно из трёх физических явлений: поляризация при отражении света или преломлении света на границе раздела двух прозрачных сред; линейный дихроизм; двойное лучепреломление.
Свет, отражённый от поверхности, разделяющей две среды с разными показателями преломления n, всегда частично поляризован. Если же луч света падает на границу раздела под углом, тангенс которого равен отношению абсолютных показателей преломления второй и первой сред (их относительный показатель преломления n=n>2>/n>1>), то отражённый луч поляризован полностью. Недостатки отражательных поляризаторов малость коэффициента отражения и сильная зависимость степени поляризации р от угла падения и длины светова. Преломленный луч также частично поляризован, причём его степени поляризации монотонно возрастает с увеличением угла падения. Пропуская свет последовательно через несколько прозрачных плоскопараллельных пластин, можно достичь того, что степень прошедшего света будет значительна.
Среды, обладающие оптической анизотропией, по-разному поглощают лучи различных поляризаций. Если толщина пластинки, вырезанной из анизотропного кристалла (с полосами поглощения в нужной области спектра) параллельно его оптической оси, достаточна, чтобы один из лучей поглотился практически нацело, то прошедший через пластинку свет будет полностью поляризован. Такие поляризаторы называют дихроичными. К ним относятся и поляроиды, поглощающее вещество которых может быть как кристаллическим, так и некристаллическим. Важные преимущества поляроидов компактность, большие рабочие апертуры (максимальные углы раствора сходящегося или расходящегося падающего пучка, при которых прошедший свет ещё поляризован полностью) и практически полное отсутствие ограничений в размере.
Пластинки из оптически анизотропных материалов, вносящие сдвиг фазы между двумя взаимно перпендикулярными компонентами электрического вектора Е проходящего через них излучения (соответствующими двум линейным поляризациям), называют фазовыми, или волновыми, пластинками и предназначены для изменения состояния поляризации излучения. Так, циркулярные или эллиптическимие поляризаторы обычно представляют собой совокупность линейного поляризатора и фазовой пластинки. Для получения света, поляризованного по кругу (циркулярно), применяют фазовые пластинки, вносящую сдвиг фазы в 90° (пластинка четверть длины волны). Двулучепреломляющие фазовые пластинки изготовляют как из материалов с естественной оптической анизотропией (например, кристаллов), так и из веществ, анизотропия которых индуцируется приложенным извне воздействием электрическим полем, механическим напряжением и пр. Применяются также отражательные фазовые пластинки, например ромб Френеля. Принцип их
|
Рисунок 2.1 Ромб Френеля из оптического стекла. |
действия основан на изменении состояния поляризации света при его полном внутреннем отражении. Преимуществом отражательных фазовых пластинок перед двупреломляющими является почти полное отсутствие зависимости фазового сдвига от длины волны. В частности, в ромбе Френеля (рисунок 2.1) при близком к нормальному падении луча света, поляризованного линейно под углом 45° к плоскости падения, линейные составляющие луча, поляризованные параллельно и перпендику- |
лярно этой плоскости, при каждом из двух полных внутренних отражений приобретают разность фаз в одну восьмую периода световой волны. Итоговая разность фаз в одну четвертую периода (90°) даёт луч, поляризованный по кругу.
Поляризаторы, действие которых основано на явлении двойного лучепреломления поляризационные призмы рассмотрены в разделе 2.2. Их апертуры меньше, чем у поляроидов, а габариты, вес и стоимость больше; однако они всё же незаменимы в ультрафиолетовой области спектра и при работе с мощными потоками оптического излучения.
Все поляризаторы (линейные, циркулярные, эллиптические) могут использоваться не и как поляризаторы, и как анализаторы. Анализ эллиптически поляризованного света производят с помощью компенсаторов разности хода, простейшим из которых является четвертьволновая фазовая пластинка. Часто проблему деполяризации частично поляризованного излучения обычно решают не истинной деполяризацией (это сложная задача), а сводят её к созданию тонкой пространственной, спектральной или временной поляризационной структуры светового пучка.
2.2 Поляризационные призмы
Поляризационные призмы служат линейными поляризаторами с их помощью получают линейно поляризованное оптическое излучение. Обычно поляризационные призмы состоят из двух или более трёхгранных призм, по меньшей мере одна из которых вырезается из оптически анизотропного кристалла. Конструктивно поляризационные призмы выполняют так, что проходящее через них излучение должно преодолеть наклонную границу раздела даух сред, на которой условия преломления света для компонент светового пучка, поляризованных в двух взаимно перпендикулярных плоскостях, резко различаются [5, 6]. В частности, для одной из этих компонент на границе раздела могут выполняться условия полного внутреннего отражения, в результате чего через поляризационную призму проходит лишь др. компонента. Таковы, например, широко распространённые однолучевые призмы Николя и Фуко (рисунок 2.2).
|
|
|
|
а |
б |
|
Рисунок 2.2 Призма Николя (а, склейкалей канадским бальзамом, чернение нижней грани призмы поглощает полностью отражаемый от плоскости склейки о-луч) и укороченная поляризационная призма Фуко (б, с воздушным промежутком). Штриховка указывает направление оптических осей кристаллов в плоскости чертежа; направления вектора Е указаны на лучах стрелками (колебания в плоскости рисунка) и точками (колебания перпендикулярны плоскости рисунка) |
Двухлучевые поляризационные призмы пропускают обе взаимно перпендикулярно линейно поляризованные компоненты исходного пучка, пространственно разделяя их. Чаще всего их изготовляют из исландского шпата СаСОз, прозрачного в диапазоне длин волн = 0.22 мкм, и кристаллического кварца SiO>2>, прозрачного в диапазоне 0.1853.5 мкм. Призмы, из которых состоят однолучевые поляризационные призмы, склеивают прозрачным веществом с показателем преломления n(n>o>+n>e>)/2. В некоторых[ призмах их части разделены воздушной прослойкой, что снижает потери на поглощение.
|
Рисунок 2.3 Линейный поляризатор из стекла и исландского шпата (оптическая ось шпата перпендикулярна плоскости рисунка) |
Применяют поляризационные призмы, в которых кристаллическая пластинка вклеена между двумя призмами из стекла, показатель преломления которого близок к большему показателю преломления кристалла (рисунок 2.3). В таких поляризационных призмах проходит обыкновенный луч, а отражается необыкновен- |
ный. Для того чтобы один из лучей претерпевал на границе раздела (склейки) полное внутреннее отражение, выбираются определённые значения преломляющих углов трёхгранных призм и, как правило, определённые ориентации оптических осей кристаллов, из которых они вырезаны. Такое отражение происходит, если углы падения лучей на поляризационную призму не превышают некоторых предельных значений, как в призмах Глана-Томсона (рисунок 2.4), Глана (рисунок 2.5), Глазебрука (рисунок 2.6), Франка-Риттера ФранкаРиттера (рисунок 2.7) и др.
|
|
Рисунок 2.4 Поляризационная призма Глана Томсона. Обозначения на рисунке те же, что и на рисунке 1.8. Клей канадский бальзам (апертура полной поляризации =I>1>+I>2>=27,5°) или льняное масло (= 41°), =76.5°. Предельные углы I>1> и I>2>, сумма I>1>+I>2> называется апертурой полной поляризации поляризационной призмы; её величина существенна при работе с поляризационными призмами в сходящихся пучках излучения |
|
|
Рисунок 2.5 Поляризационная призма Глана. Обозначения те же, что и на рисунке 1.8, АВ воздушный промежуток; оптические оси обеих трёхгранных призм перпендикулярны плоскости рисунка |
|
Рисунок 2.6 Поляризационная призма Глазебрука. Обозначения те же, что и на рисунке 1.8; оптические оси кристаллов обеих прямоугольных призм перпендикулярны плоскости рисунка; при склейке в плоскости АВ канадским бальзамом угол =12.1°, льняным маслом 14°, глицерином 17.3° |
|
|
Рисунок 2.7 Поляризационная призма ФранкаРиттера: а вид сбоку, б вид по ходу луча. Обозначения те же, что и на рисунке 1.8; клей канадский бальзам; оптические оси кристаллических прямоугольных призм направлены под углом 45° к плоскости рисунка а и под углом 90° к плоскости колебаний вектора Е необыкновенного луча (его плоскости поляризации) |
Среди двухлучевых поляризационных призм распространены также призмы Рошона, Сенармона, Волластона и некоторые др. (рисунок 2.8). Один из двух пропускаемых лучей в поляризационных призмах Рошона и Сенармона не меняет своего направления, другой (необыкновенный) отклоняется на угол ~56°, сильно зависящий от длины волны света: =(n>о>n>e>)tg, где преломляющий угол трёхгранных призм. Поляризационная призма Волластона даёт удвоенный угол расхождения лучей 2 10°, причём при перпендикулярном падении отклонения лучей симметричны; эта поляризационная призма применяется в поляризационных фотометрах, спектрофотометрах и поляриметрах. Угол а в поляризационной призме из исландского шпата близок к 30°, из кристаллического кварца к 60°.
|
Рисунок 2.8 Двухлучевые поляризационные призмы: а Рошона; б Сенармона; в Волластона; г призма из исландского шпата и стекла; д Аббе. Штриховка указывает направление оптических осей кристаллов в плоскости рисунка; точки означают, что оптическая ось перпендикулярна плоскости рисунка; стрелки и точки на лучах указывают направления колебаний вектора Е |
Таким образом, для поляризационных призм, как правило, характерны незначительная апертура полной поляризации, однако они практически лишены хроматической аберрации. В поляризационных призмах со скошенными гранями проходящий луч испытывает параллельное смещение, поэтому при вращении призмы вокруг луча последний также вращается. От этого и некоторых иных недостатков свободны призмы в форме прямоугольных параллелепипедов. В то же время, не смотря на высокую стоимость и относительно большие размеры, поляризационные призмы незаменимы при работе в УФ области спектра и в мощных потоках оптического излучения и позволяют получать однородно поляризованные пучки, степень поляризации которых лишь примерно на 105 отличается от 1.
2.3 Приборы для поляризационно-оптических исследований
В настоящее время существует множество приборов для поляризационно-оптических исследований, которые отличает чрезвычайное разнообразие как сфер применения, так и конструктивного оформления и принципов действия. Их используют для фотометрических и пирометрических измерений, кристаллооптических исследований, изучения механических напряжений в конструкциях, в микроскопии, в поляриметрии и сахариметрии, в скоростной фото- и киносъёмке, геодезических устройствах, в системах оптической локации и оптической связи, в схемах управления лазеров, для физических исследований электронной структуры атомов, молекул и твёрдых тел и др. Описанию многих из этих приборов посвящены отдельные работы. Мы дадим лишь краткий обзор некоторых основных классов подобных приборов.
Элементом большинства поляризационных приборов является схема, состоящая из последовательно расположенных на одной оси линейного поляризатора и анализатора. Если их плоскости поляризации взаимно перпендикулярны, схема не пропускает света (установка на гашение). Изменение угла между этими плоскостями приводит к изменению интенсивности проходящего через систему света по Малюса закону (пропорционально квадрату косинуса угла). Особое удобство этой схемы для сравнения и измерения интенсивностей световых потоков обусловило её преимущественное применение в фотометрических поляризационных приборов фотометрах и спектрофотометрах (как с визуальной, так и с фотоэлектрической регистрацией). Поляризационные приборы представляют собой основные элементы оборудования для кристаллооптических и иных исследований сред, обладающих оптической анизотропией естественной или наведённой. При таких исследованиях широко применяются поляризационные микроскопы, позволяющие на основе визуальных наблюдений делать выводы о характере и величине оптической анизотропии вещества. Для прецизионного анализа оптической анизотропии и её зависимости от длины волны излучения применяются автоматические приборы с фотоэлектрической регистрацией. Практически всегда при количественном анализе анизотропии требуется сопоставить оптические свойства среды для двух ортогональных поляризаций линейных, если измеряется линейный дихроизм или линейное двулучепреломление, и круговых при измерении дихроизма или вращения плоскости поляризации. Это сопоставление в электронной схеме прибора производится на достаточно высокой частоте, удобной для усиления сигнала и подавления шумов. Поэтому поляризационные приборы такого назначения часто включают поляризационный модулятор.
Поляризационные приборы служат для обнаружения и количественного определения степени поляризации частично поляризованного света. Простейшими из них являются полярископы — двулучепреломляющие пластинки, в которых используется интерференция света в сходящихся поляризованных лучах (хроматическая поляризация). Типичный полярископ полярископ Савара, который состоит из двух склеенных пластинок кристаллического кварца одинаковой толщины d, вырезанных так, что их оптические оси составляют с осью полярископа углы в 45° (пластинка Савара), и жестко связанного с ней анализатора, плоскость поляризации которого направлена под углом 45° к главным сечениям этой пластинки.
Чрезвычайно существенную роль в химических и биофизических исследованиях играет обширный класс приборов, служащий для измерения вращения плоскости поляризации в средах с естественной или наведённой магнитным полем оптической активностью поляриметрыи дисперсии этого вращения спектрополяриметры). Относительно простыми, но практически очень важными являются сахариметры приборы для измерения содержания сахаров и некоторых других оптически активных веществ в растворах.
Самые точные из полярископов позволяют обнаружить примесь поляризованного света к естественному, составляющую доли процента.
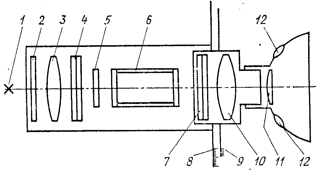
В качестве примера рассмотрим один из простейших круговых поляриметров поляриметр СМ-3, который предназначен для определения угла поворота плоскости поляризации в жидких оптически активных веществах (его оптическая схема показана на рисунке 2.9).

Рисунок 2.9 Опическая схема поляриметра СМ-3 (пояснения в тексте)
Осветитель 1 (лампа накаливания или натриевая лампа ДНаО140) устанавливается в фокальной плоскости оптической системы 8. В конструкции узла осветителя предусмотрены подвижки для установки нити накала лампы на оптической оси. При работе с лампой накаливания перед оптической системой 3 вводится желтый светофильтр 2. Параллельный монохроматический пучок лучей, выходящий из системы 3, проходит через поляризатор 4 (поляроид, заклеенный между двумя стеклами), кварцевую пластинку 5, создающую совместно с поляроидом полутеневую картину с тройным полем зрения, и кварцевую кювету 6 с исследуемым раствором. Обычно длина кюветы выбирается такой, чтобы концентрации 103 кг/см3 соответствовал угол поворота плоскости поляризации =1. После кюветы расположен анализатор 7, аналогичный поляризатору 4, и телескопическая система, состоящая из объектива 10 и окуляра 11, через который ведется наблюдение при уравнивании освещенностей частей поля зрения. Отсчет осуществляется по градусной шкале 8 неподвижного лимба (с оцифровкой от 0 до 360) с помощью двух диаметрально противоположных нониусов 9 (шкалы нониусов имеют по 20 делений; цена одного деления 0,05). Из показаний двух нониусов берут среднее значение (для учета эксцентриситета лимба). Отсчет снимается при наблюдении лимба и нониуса через лупы 12.
Достаточно просто устроен полярископ-поляриметр ПКС-56 (рисунок 2.10). Он состоит из источника света 1 (лампа накаливания), матового стекла 2, поляризатора 3 (поляроид, вклеенный между стеклами), четвертьволновой пластинки 5, анализатора 6 и светофильтра 7 (максимум пропускания при 0.54 мкм). Порядок измерения на приборе следующий: скрещивают поляризатор и анализатор (отсчет по лимбу анализатора 0, поле зрения темное); устанавливают образец 4 (если он обладает двойным лучепреломлением, то в поле зрения наблюдается просветление); поворачивают анализатор до максимального потемнения в середине образца; по лимбу отсчитывают угол поворота анализатора.

Рисунок 2.10 Опическая схема полярископа-поляриметра ПКС-56
(пояснения в тексте)
Определив , можно определить n>o>n>e> из соотношения
|
|
(1.4) |
где l — толщина образца. При l=10 мм погрешность измерения n>o>n>e> составляет 3107. С увеличением l погрешность уменьшается.
Несколько более сложную схему имеет малогабаритный поляриметр ИГ-86 (рисунок 2.11), предназначенный для визуального исследования напряженного состояния изделий с помощью оптически чувствительных покрытий. Он позволяет наблюдать интерференционную картину в условиях плоской и круговой поляризации и измерять оптическую разность хода как методом сопоставления цветов, так и компенсационным методом.

Рисунок 2.11 Опическая схема малогабаритныого поляриметра ИГ-86
(пояснения в тексте)
Источник света 1 (лампа СЦ-61) размещен в фокусе объектива 3. Защитные стекла 2, 7 и 12 предохраняют прибор от попадания в него загрязнений. Параллельный пучок лучей проходит поляризационный светофильтр (поляризатор 4), полупрозрачное зеркало 8 и, отразившись от светоделительного слоя, падает на оптически чувствительное покрытие 6, нанесенное на исследуемый объект 5. После отражения от покрытия свет попадает в анализаторный узел прибора, проходит компенсатор 9, анализатор 10 и попадает в зрительную трубу (сменное увеличение 2 и 10) со шкалой в совмещенной фокальной плоскости объектива 11 и окуляра 13. Перед глазной линзой окуляра и выходным зрачком 15 устанавливается светофильтр 14. Такая оптическая схема получила наименование Т-образной схемы. Предел измерения оптической разности хода от 0 до 5 интерференционных порядков. Погрешность измерения 0.05 интерференционных порядков.
Схема типичного фотоэлектрического модуляционного поляриметра, позволяющего измерять меняющуюся во времени разность фаз о- и е-лучей, показана на рисунке 2.12.

Рисунок 2.12 Опическая схема фотоэлектрическиого модуляционного поляриметра
(пояснения в тексте)
Лучистый поток источника света 1 сверхвысокого давления проходит через иитерференционный светофильтр 2, поляризатор 3 и исследуемый объект 4, ориентированный так, что направления колебаний в о- и е-лучах составляют углы /4 с направлением колебаний в луче, вышедшем из поляризатора. Выходящий из объекта 4 эллиптически поляризованный свет попадает на пластину 5, изготовленную из одноосного кристалла (например, кристалла ADP дигидрофосфата аммония NH>4>H>2>PO>4>, вырезанную так, что ее плоскости перпендикулярны оптической оси) позволяющего реализовать эффект Поккельса и обеспечить модуляцию проходящего светового потока. При приложении к пластине 5 переменного электрического напряжения в направлении, параллельном оси лучистого потока и оптической оси кристалла, последний становится двухосным. Новые оптические оси образуют симметричные углы /4 с прежним направлением оси, а проходящий через нее свет претерпевает двойное лучепреломление. Возникающая при этом разность фаз пропорциональна напряжению электрического поля и не зависит от толщины пластины 5. В связи с возникающей переменной разностью фаз эллиптически поляризованный свет периодически меняет форму эллипса поляризации. В результате на выходе компенсатора 6 плоскость линейно поляризованного света колеблется относительно среднего положения. После анализатора 11 модулированный поток света попадает на фотодетектор 10, сигнал с которого с основной частотой, соответствующей первой гармонике, поступает в усилитель 8 и приводит в действие сервомотор 9, поворачивающий анализатор 1l до тех пор, пока первая гармоника присутствует в сигнале. Остановка соответствует положению анализатора, при котором на фотодетектор падает минимальный поток излучения. Регистрирующее устройство 7 (например, самописец) фиксирует углы поворота анализатора, причем измеряемая разность фаз равна удвоенному углу поворота анализатора.
3. Методические указания к выполнению лабораторной работы
“Поляриметрическое определение концентрации вещества
в растворе. Проверка закона Био при разных длинах волн”
Цель работы: Изучение принципа работы поляриметра. Определение концентрации оптически активного вещества в растворе. Экспериментальная проверка закона Био на разных длинах волн.
Краткая теория
|
Рисунок 1 – “Мгновенный портрет” электромагнитной волны. |
Световые волны представляют собой поперечные электромагнитные волны. В такой волне вектор напряженности электрического поля E перпендикулярен вектору напряженности магнитного поля H и направлению распространения волны r (рисунок 1). Плоскость, содержащую луч и электрический вектор, называют плоскостью колеба- |
ний, а плоскость, содержащую луч и магнитный вектор - плоскостью поляризации. Плоскополяризованный свет можно получить из естественного света с помощью приборов, называемых поляризаторами. Эти приборы свободно пропускают колебания, параллельные плоскости, которую называют плоскостью поляризатора, и полностью задерживают колебания, перпендикулярные к этой плоскости.
|
Рисунок 2 - Прохождение плоскополяризованного света через поляризатор П |
Если пропустить через поляризатор П плоскополяризованный свет так, чтобы плоскость колебаний вектора Е составляла с плоскостью поляризатора ААугол (рисунок 2), то через него пройдет только параллельная составляющую Е>> вектора Е. Амплитуда прошедших через поляризатор колебаний будет равна Е>>=Еcos (1) |
На практике измеряют обычно интенсивность, а не амплитуду. Интенсивность пропорциональна квадрату амплитуды, тогда для прошедшей через поляризатор интенсивности I можно записать
|
I=I>0>cos2 |
(2) |
Соотношение (2) носит название закона Малюса.
При прохождении плоскополяризованного света через чистые жидкости (скипидар, никотин и др.) некоторые растворы (водные растворы сахара, винной кислоты и др.) и кристаллические вещества (кварц, рутил и др.) изменяется пространственная ориентация плоскости колебания вектора E, то есть плоскость поляризации поворачивается. Такие вещества называются оптически активными.
Явление вращения плоскости поляризации схематически показано на рисунке 3. Как видно из рисунка, ориентация плоскости колебаний вектора E после прохождения оптически активного вещества изменяется на угол . В этом случае говорят, что произошел поворот плоскости поляризации на угол .

Рисунок 3 - Явление вращения плоскости поляризации.
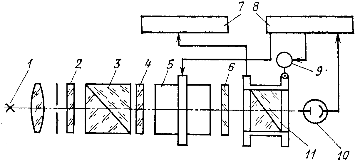
В работе используется экспериментальная установка (модифицированный поляриметр СМ-3), блок-схема которой показана на рисунке 4.

Рисунок 4 - Блок-схема экспериментальной установки:
1- источник излучения (светодиод), 2-поляризатор,
3-гнездо для кюветы с раствором оптически активного вещества,
4-анализатор, 5-шкала поворота поляризатора, 6-телескопическая система
Порядок выполнения работы
Приготовление растворов исследуемых веществ
и подготовка к измерениям
Используя лабораторные весы и мерные колбы (мензурки) приготовить требуемые серии растворов исследуемого оптического активного вещества и
рассчитать их концентрацию.
С помощью фильтрованной бумаги, смоченной растворителем, тщательно протереть внутреннюю часть кюветы поляриметра, после чего заполнить ее исследуемым раствором. Заполнять кювету раствором до тех пор, пока на верхнем ее конце не появится выпуклый мениск (от сдвигается в сторону при контакте с покровным стеклом). Положить на покровное стекло резиновую прокладку и все завернуть прижимной гайкой. После заполнения кюветы исследуемой жидкостью покровные стекла с наружной стороны кюветы тщательно протереть. В кювете не должно оставаться воздушных пузырей. Если же они имеются, их заводят в утолщенную часть кюветы, где они не будут мешать наблюдению.
Задание 1. Определение концентрации сахара по углу поворота
плоскости поляризации
Раствор сахара является оптически активным веществом. Как известно, величина угла поворота плоскости поляризации линейно поляризованного света прямо пропорциональна концентрации с оптически активного вещества и длине пути L, пройденного светом в этом веществе. Таким образом,
|
Рисунок 5 - График зависимости от с |
график зависимости от с представляет собой прямую линию, проходящую через начало координат (при постоянной L). Используя график этой зависимости (рисунок 5), можно определить неизвестную концентрацию оптически активного вещества. Для этого достаточно измерить величину при той же длине L и по графику найти значение концентрации С>х>, соответствующей измеренной величине . |
Порядок выполнения
Водный раствор сахара залить в четыре кюветы одинаковой длины. Концентрация сахара в трех кюветах известна, а концентрацию в четвертой кювете надо определить.
1. До размещения кюветы в гнезде поляриметра установите анализатор в положение =>0>. Это означает, что плоскость поляризации излучения совпадает с плоскостью пропускания анализатора. Определение нулевого отсчета производят с кюветой, наполненной дистиллированной растворителем, в котором в последующем будет растворяться оптически активное вещество.
2. Вставьте в гнездо поляриметра кювету с известной концентрацией раствора. Плавно поворачивая кювету вокруг ее оси, добейтесь максимального отклонения стрелки прибора. Наличие кюветы с раствором на пути излучения источника света приводит к повороту плоскости поляризации светового луча, поэтому теперь, при ориентации анализатора под углом =>0>, интенсивность прошедшего через анализатор светового пучка будет меньше максимальной. Медленно поворачивая анализатор, найдите такую его ориентацию, при которой интенсивность света будет максимальной. Зафиксируйте значение концентрации С и соответствующие значения =>1>. Рассчитайте величину угла поворота плоскости поляризации света в результате его прохождения через раствор:
|
=>0>>1>. |
(3) |
3. Повторите это действие, используя растворы с известной (не менее четрех) и неизвестной концентрацией сахара.
4. Постройте графики зависимости =f(C) для эталонных растворов, и по этому графику определите концентрацию С>х> а погрешность ее определения.
Задание 2. Экспериментальная проверка закона Био на различных
длинах волн. Исследование зависимости удельного вращения
от длины волны света
Закон Био определяет угол поворота плоскости поляризации линейно поляризованного света, проходящего через слой аморфного вещества с естественной оптической активностью (твёрдое тело, раствор или пары):
|
=lc , |
(3) |
где постоянная вращения, l толщина слоя вещества, с его концентрация. В зависимости от направления поворота плоскости поляризации различают право- и левовращающие вещества. Био закон выражает пропорциональность угла поворота числу молекул на пути светового луча. Значение определяется природой вещества, слабо зависит от температуры, существенно от длины волны света (в первом приближении 1/ 2, и изменяется более сложным образом вблизи полос поглощения вещества) и может значительно изменяться при изменении растворителя вследствие влияния последнего на внутримолекулярные процессы в растворённом веществе.
В области прозрачности и малого поглощения зависимость удельного вращения от длины волны может быть описана более точным выражением, получившим название формулы Друде:
|
|
(4) |
где B>i> весовые коэффициенты вкладов в оптическую активность >> на длине волны , связанную с наличием собственных полос поглощения с максимумами при длинах волн >i>.
Э. Коттон, изучавший оптическую активность для излучений с длинами волн, близкими к длине волны максимума полосы поглощения, обнаружил аномальную оптическую активность увеличение с ростом , а также различие показателей поглощения при этих длинах волн для право- и левополяризованных по кругу лучей так называемый круговой дихроизм, или эффект Коттона. Вследствие кругового дихроизма вблизи полос собственного поглощения не только поворачивается плоскость поляризации света, исходно поляризованного линейно, но и одновременно этот свет превращается в эллиптически поляризованный.
Порядок выполнения
1.
Выполнить действия 13
Задания 1, используя по пять растворов
известной концентрации заданного
оптически активного вещества; измерения
удельного вращения
провести для белого света, и в синем,
зеленом, желтом и красном диапазонах
спектра. Определить направление вращения
плоскости поляризации и рассчитать
средние значения удельного вращения
при различных длинах волн
.
2.
Построить графики зависимостей >>=f(C)
и
=f().
Проверить гипотезу о выполнимости
закона Био для каждой из использованных
спектральных областей. Определить
аналитическое выражение зависимости
=f(),
рассчитать коэффициент корреляции
экспериментальной и полученной
аналитической зависимости
=f()
и погрешность ее параметров.
3. Проанализировать полученные результаты.
Вопросы для контроля
Что такое поляризация света, ее виды и характеристики. Какие источники света испускают поляризованное излучение и почему излучение нагретых тел не является поляризованным?
Какие способы получения поляризованного света известны? Как можно отличить естественный свет с круговой поляризацией?
Объясните принцип поляририметрии. В чем заключается смысл законов Малюса и Био?
Каков механизм поворота поляризации в оптически активных средах? Объясните зависимость угла поворота плоскости поляризации от длины волны.
Дайте определение лучевой и нормальной скоростей для анизотропного кристалла.
Заключение
Поляриметрия широко применяется для исследования оптически активных веществ. Методами поляриметрии анализируются атмосфера и океаны, различные объекты окружающей среды, промышленные изделия и продукты переработки предприятий. Эффективно эти методы используется в электронной промышленности, в медицине, биологии, криминалистике и т.д. Большое значение они имеют в аналитическом контроле окружающей среды и решении экологических проблем. Методы поляриметрии методы рассматриваются в ряде предметов специальности “Физика”, например, в курсах “Оптические измерения” и “Строение и методы исследования вещества”.
В то же время имеется ряд особенностей исследования оптической активности химических соединений, что связано с неаддитивностью явления, не позволяющей вести расчёты на основе простой схемы, как, например, в случае молекулярной рефракции. Перспективными здесь являются методы поляриметрии, основанные на измерении поляризационных свойств прошедшего через тестируемое вещество квазимонохроматического излучения различных спектральных диапазонов.
В данной дипломной работе рассмотрены основные характеристики поляризованного излучения, методы поляриметрии и типовое оборудование. Разработаны методические указания к выполнению лабораторной работы “Поляриметрическое определение концентрации вещества в растворе. Проверка закона Био при разных длинах волн”.
С целью расширения функциональных возможностей промышленного поляриметра СМ-3 проведена его модификация, заключавшаяся в замене исходной системы освещения блоком, позволяющим проводить изменения как в белом свете, так и в синем, зеленом, желтом и красном диапазонах спектра.
Список использованных источников
Ландсберг Г. С. Оптика.- М.: Наука, 1976.- 928 с.
Шерклифф У. Поляризованный свет.- М.: Мир, 1965. 322 с.
Джерасси К. Дисперсия оптического вращения. М.: Мир, 1962.- 366 с.
Волькенштейн М. В. Молекула и жизнь. М.: Наука, 1965.- 289 с.
Шишловский А. А., Прикладная физическая оптика.- М.: Наука, 1961.- 340 с.
Васильев Б. И. Оптика поляризационных приборов.- М.: Наука, 1969.- 364 с.















,