Сцинтилляционные счетчики
Содержание
Принцип работы сцинтилляционного счетчика
Сцинтилляторы
Фотоэлектронные умножители
Конструкции сцинтилляционных счетчиков
Свойства сцинтилляционных счетчиков
Примеры использования сцинтилляционных счетчиков
Список использованной литературы
СЦИНТИЛЛЯЦИОННЫЕ СЧЕТЧИКИ
Метод регистрации заряженных частиц с помощью счета вспышек света, возникающих при попадании этих частиц на экран из сернистого цинка (ZnS), является одним из первых методов регистрации ядерных излучений.
Еще в 1903 г. Крукс и другие показали, что если рассматривать экран из сернистого цинка, облучаемый -частицами, через увеличительное стекло в темном помещении, то на нем можно заметить появление отдельных кратковременных вспышек света — сцинтилляций. Было установлено, что каждая из этих сцинтилляций создается отдельной -частицей, попадающей на экран. Круксом был построен простой прибор, названный спинтарископом Крукса, предназначенный для счета -частиц.
Визуальный метод сцинтилляций был использован в дальнейшем в основном для регистрации -частиц и протонов с энергией в несколько миллионов электронвольт. Отдельные быстрые электроны регистрировать не удалось, так как они вызывают очень слабые сцинтилляции. Иногда при облучении электронами сернисто-цинкового экрана удавалось наблюдать вспышки, но это происходило лишь тогда, когда на один и тот же кристаллик сернистого цинка попадало одновременно достаточно большое число электронов.
Гамма-лучи никаких вспышек на экране не вызывают, создавая лишь общее свечение. Это позволяет регистрировать -частицы в присутствии сильного -излучения.
Визуальный метод сцинтилляций позволяет регистрировать очень небольшое число частиц в единицу времени. Наилучшие условия для счета сцинтилляций получаются тогда, когда их число лежит между 20 и 40 в минуту. Конечно, метод сцинтилляций является субъективным, и результаты в той или иной мере зависят от индивидуальных качеств экспериментатора.
Несмотря на недостатки, визуальный метод сцинтилляций сыграл огромную роль в развитии ядерной и атомной физики. С помощью него Резерфорд регистрировал -частицы при их рассеянии на атомах. Именно эти опыты привели Резерфорда к открытию ядра. Впервые визуальный метод позволил обнаружить быстрые протоны, выбиваемые из ядер азота при бомбардировке их -частицами, т.е. первое искусственное расщепление ядра.
Визуальный метод сцинтилляций имел большое значение вплоть до тридцатых годов, когда появление новых методов регистрации ядерных излучений заставило на некоторое время забыть его. Сцинтилляционный метод регистрации возродился в конце сороковых годов XX века на новой основе. К этому времени были разработаны фотоэлектронные умножители (ФЭУ), позволяющие регистрировать очень слабые вспышки света. Были созданы сцинтилляционные счетчики, с помощью которых можно увеличить скорость счета в 108 и даже более раз по сравнению с визуальным методом, а также можно регистрировать и анализировать по энергии как заряженные частицы, так и нейтроны и -лучи.
§ 1. Принцип работы сцинтилляционного счетчика
Сцинтилляционный счетчик представляет собой сочетание сцинтиллятора (фосфора) и фотоэлектронного умножителя (ФЭУ). В комплект счетчика входят также источник электрического питания ФЭУ и радиотехническая аппаратура, обеспечивающая усиление и регистрацию импульсов ФЭУ. Иногда сочетание фосфора с ФЭУ производится через специальную оптическую систему (светопровод).
Принцип работы сцинтилляционного счетчика состоит в следующем. Заряженная частица, попадая в сцинтиллятор, производит ионизацию и возбуждение его молекул, которые через очень короткое время (10-6 — 10-9 сек) переходят в стабильное состояние, испуская фотоны. Возникает вспышка света (сцинтилляция). Некоторая часть фотонов попадает на фотокатод ФЭУ и выбивает из него фотоэлектроны. Последние под действием приложенного к ФЭУ напряжения фокусируются и направляются на первый электрод (динод) электронного умножителя. Далее в результате вторичной электронной эмиссии число электронов лавинообразно увеличивается, и на выходе ФЭУ появляется импульс напряжения, который затем уже усиливается и регистрируется радиотехнической аппаратурой.
Амплитуда и длительность импульса на выходе определяются свойствами как сцинтиллятора, так и ФЭУ.
В качестве фосфоров используются:
органические кристаллы,
жидкие органические сцинтилляторы,
твердые пластмассовые сцинтилляторы,
газовые сцинтилляторы.
Основными характеристиками сцинтилляторов являются: световой выход, спектральный состав излучения и длительность сцинтилляций.
При прохождении заряженной частицы через сцинтиллятор в нем возникает некоторое число фотонов с той или иной энергией. Часть этих фотонов будет поглощена в объеме самого сцинтиллятора, и вместо них будут испущены другие фотоны с несколько меньшей энергией. В результате процессов реабсорбции наружу будут выходить фотоны, спектр которых характерен для данного сцинтиллятора.
С
ветовым
выходом или конверсионной эффективностью
сцинтиллятора
называется отношение
энергии световой вспышки ,
выходящей наружу, к величине
энергии Е
заряженной частицы, потерянной в
сцинтилляторе,

г
де
— среднее
число фотонов, выходящих наружу,
— средняя энергия фотонов.
Каждый сцинтиллятор испускает не
моноэнергетические кванты, а сплошной
спектр, характерный для данного
сцинтиллятора.
Очень важно, чтобы спектр фотонов, выходящих из сцинтиллятора, совпадал или хотя бы частично перекрывался со спектральной характеристикой ФЭУ.
С
тепень
перекрытия внешнего спектра сцинтилляции
со спектральной характеристикой
.
данного ФЭУ определяется
коэффициентом согласования
г
де
— внешний спектр сцинтиллятора
или спектр фотонов, выходящих наружу
из сцинтиллятора. На практике при
сравнении сцинтилляторов, сочетаемых
с данными ФЭУ, вводят понятие
сцинтилляционной эффективности, которая
определяется следующим выражением:

Сцинтилляционная эффективность учитывает как число фотонов, испускаемых сцинтиллятором на единицу поглощенной энергии, так и чувствительность данного ФЭУ к этим фотонам.
Обычно сцинтилляционную эффективность данного сцинтиллятора определяют путем сравнения со сцинтилляционной эффективностью сцинтиллятора, принятого за эталон.
Интенсивность сцинтилляции изменяется со временем по экспоненциальному закону

где I>0> — максимальное значение интенсивности сцинтилляции; t>0> — постоянная времени затухания, определяемая как время, в течение которого интенсивность сцинтилляции уменьшается в е раз.
Число фотонов света n, испущенных за время t после попадания регистрируемой частицы, выражается формулой

г
де
— полное число фотонов, испущенных
в процессе сцинтилляции.
Процессы люминесценции (высвечивания) фосфора делят на два вида: флуоресценции и фосфоресценции. Если высвечивание происходит непосредственно во время возбуждения или в течение промежутка времени порядка 10-8 сек, то процесс называется флуоресценцией. Интервал 10-8 сек выбран потому, что он по порядку величины равен времени жизни атома в возбужденном состоянии для так называемых разрешенных переходов.
Хотя спектры и длительность флуоресценции не зависят от вида возбуждения, выход же флуоресценции существенно зависит от него. Так при возбуждении кристалла -частицами выход флуоресценции почти на порядок меньше, чем при фотовозбуждении.
Под фосфоресценцией понимают люминесценцию, которая продолжается значительное время после прекращения возбуждения. Но основное различие между флуоресценцией и фосфоресценцией заключается не в длительности послесвечения. Фосфоресценция кристаллофосфоров возникает при рекомбинации электронов и дырок, возникших при возбуждении. В некоторых кристаллах возможно затягивание послесвечения за счет того, что электроны и дырки захватываются «ловушками», из которых они могут освободиться, лишь получив дополнительную необходимую энергию. Отсюда очевидна зависимость длительности фосфоресценции от температуры. В случае сложных органических молекул фосфоресценция связана с пребыванием их в метастабильном состоянии, вероятность перехода из которого в основное состояние может быть малой. И в этом случае будет наблюдаться зависимость скорости затухания фосфоресценции от температуры.
§ 2. Сцинтилляторы
Неорганические сцинтилляторы. Неорганические сцинтилляторы представляют собой кристаллы неорганических солей. Практическое применение в сцинтилляционной технике имеют главным образом галоидные соединения некоторых щелочных металлов.
Процесс возникновения сцинтилляций можно представить при помощи зонной теории твердого тела. В отдельном атоме, не взаимодействующем с другими, электроны находятся на вполне определенных дискретных энергетических уровнях. В твердом теле атомы находятся на близких расстояниях, и их взаимодействие достаточно сильно. Благодаря этому взаимодействию уровни внешних электронных оболочек расщепляются и образуют зоны, отделенные друг от друга запрещенными зонами. Самой внешней разрешенной зоной, заполненной электронами, является валентная зона. Выше ее располагается свободная зона — зона проводимости. Между валентной зоной и зоной проводимости находится запрещенная зона, энергетическая ширина которой составляет несколько электронвольт.
Если в кристалле имеются какие-либо дефекты, нарушения решетки или примесные атомы, то в этом случае возможно появление энергетических электронных уровней, расположенных в запрещенной зоне. При внешнем воздействии, например при прохождении через кристалл быстрой заряженной частицы, электроны могут переходить из валентной зоны в зону проводимости. В валентной зоне останутся свободные места, обладающие свойствами положительно заряженных частиц с единичным зарядом и называемые дырками.
Описанный процесс и является процессом возбуждения кристалла. Возбуждение снимается путем обратного перехода электронов из зоны проводимости в валентную зону, происходит рекомендация электронов и дырок. Во многих кристаллах переход электрона из зоны проводимости в валентную происходит через промежуточные люминесцентные центры, уровни которых находятся в запрещенной зоне. Указанные центры обусловливаются наличием в кристалле дефектов или примесных атомов. При переходе электронов в две стадии испускаются фотоны с энергией, меньшей ширины запрещенной зоны. Для таких фотонов вероятность поглощения в самом кристалле мала и поэтому световой выход для него много больше, чем для чистого, беспримесного кристалла.
На практике, для увеличения светового выхода неорганических сцинтилляторов вводятся специальные примеси других элементов, называемых активаторами. Так, например, в кристалл йодистого натрия в качестве активатора вводится таллий. Сцинтиллятор, построенный на основе кристалла NaJ(Tl), обладает большим световым выходом. Сцинтиллятор NaJ(Тl) имеет значильтельные преимущества по сравнению с газонаполненными счетчиками:
большую эффективность регистрации -лучей (с большими кристаллами эффективность регистрации может достигать десятков процентов);
малую длительность сцинтилляции (2,5 •10-7 сек);
линейную связь между амплитудой импульса и величиной энергии, потерянной заряженной частицей.
Последнее свойство требует пояснений. Световой выход сцинтиллятора имеет некоторую зависимость от удельных потерь энергии заряженной частицы .


Рис. 1. Зависимость светового выхода
кристалла NaJ (T1) от энергии частиц.

При очень больших величинах возможны значительные нарушения кристаллической решетки сцинтиллятора, которые приводят к возникновению локальных центров тушения. Это обстоятельство может привести к относительному уменьшению светового выхода. Действительно, экспериментальные факты свидетельствуют о том, что для тяжелых частиц выход нелинеен, а линейная зависимость начинает проявляться только с энергии в несколько миллионов электронвольт. На рис. 1 приведены кривые зависимости от Е: кривая 1 для электронов, кривая 2 для частиц.
Кроме указанных щелочно-галоидных сцинтилляторов иногда используются другие неорганические кристаллы: ZnS (Tl), CsJ (Tl), CdS (Ag), CaWO>4>, CdWO>4> и др.
Органические кристаллические сцинтилляторы. Молекулярные силы связи в органических кристаллах малы по сравнению с силами, действующими в неорганических кристаллах. Поэтому взаимодействующие молекулы практически не возмущают энергетические электронные уровни друг у друга и процесс люминесценции органического кристалла является процессом, характерным для отдельных молекул. В основном электронном состоянии молекула имеет несколько колебательных уровней. Под воздействием регистрируемого излучения молекула переходит в возбужденное электронное состояние, которому также соответствует несколько колебательных уровней. Возможны также ионизация и диссоциация молекул. В результате рекомбинации ионизованной молекулы, она, как правило, образуется в возбужденном состоянии. Первоначально возбужденная молекула может находиться на высоких уровнях возбуждения и через короткое время (~10-11 сек) испускает фотон высокой энергии. Этот фотон поглощается другой молекулой, причем часть энергии возбуждения этой молекулы может быть израсходована на тепловое движение и испущенный впоследствии фотон будет обладать уже меньшей энергией по сравнению с предыдущим. После нескольких циклов испускания и поглощения образуются молекулы, находящиеся на первом возбужденном уровне; они испускают фотоны, энергия которых может оказаться уже недостаточной для возбуждения других молекул и, таким образом, кристалл будет прозрачным для возникающего излучения.

Рис. 2. Зависимость светового выхода
антрацена от энергии для различных частиц.
Благодаря тому, что большая часть энергии возбуждения расходуется на тепловое движение, световой выход (конверсионная эффективность) кристалла сравнительно невелик и составляет несколько процентов.
Для регистрации ядерных излучений наибольшее распространение получили следующие органические кристаллы: антрацен, стильбен, нафталин. Антрацен обладает достаточно большим световым выходом (~4%) и малым временем высвечивания (3•10-8 сек). Но при регистрации тяжелых заряженных частиц линейная зависимость интенсивности сцинтилляции наблюдается лишь при довольно больших энергиях частиц.
На рис. 2 приведены графики зависимости светового выхода (в произвольных единицах) от энергии электронов 1, протонов 2, дейтонов 3 и -частиц 4.
Стильбен хотя и обладает несколько меньшим световым выходом, чем антрацен, но зато длительность сцинтилляции у него значительно меньше (7•10-9 сек), чем у антрацена, что позволяет использовать его в тех экспериментах, где требуется регистрация очень интенсивного излучения.
Пластмассовые сцинтилляторы. Пластмассовые сцинтилляторы представляют собой твердые растворы флуоресцирующих органических соединений в подходящем прозрачном веществе. Например, растворы антрацена или стильбена в полистироле, или плексигласе. Концентрации растворенного флуоресцирующего вещества обычно малы и составляют несколько десятых долей процента или несколько процентов.
Так как растворителя много больше, чем растворенного сцин-тиллятора, то, естественно, регистрируемая частица производит в основном возбуждение молекул растворителя. Энергия возбуждения в дальнейшем передается молекулам сцинтиллятора. Очевидно, что спектр испускания растворителя должен быть более жестким, чем спектр поглощения растворенного вещества, или по крайней мере совпадать с ним. Экспериментальные факты показывают, что энергия возбуждения растворителя передается молекулам сцинтиллятора за счет фотонного механизма, т. е. молекулы растворителя испускают фотоны, которые затем поглощаются молекулами растворенного вещества. Возможен и другой механизм передачи энергии. Так как концентрация сцинтиллятора мала, то раствор оказывается практически прозрачным для возникшего излучения сцинтиллятора.
Пластмассовые сцинтилляторы имеют значительные преимущества по сравнению с органическими кристаллическими сцинтилляторами:
возможность изготовления сцинтилляторов очень больших размеров;
возможность введения в сцинтиллятор смесителей спектра для достижения лучшего согласования его спектра люминесценции со спектральной характеристикой фотокатода;
возможность введения в сцинтиллятор различных веществ, необходимых в специальных экспериментах (например, при исследовании нейтронов);
возможность использования пластмассовых сцинтилляторов в вакууме;
малое время высвечивания (~3•10-9 сек). Наибольшим световым выходом обладают пластмассовые сцинтилляторы, приготовленные растворением антрацена в полистироле. Хорошими свойствами обладает также раствор стильбена в полистироле.
Жидкие органические сцинтилляторы. Жидкие органические сцинтилляторы представляют собой растворы органических сцинтиллирующих веществ в некоторых жидких органических растворителях.
Механизм флуоресценции в жидких сцинтилляторах аналогичен механизму, происходящему в твердых растворах—сцинтилляторах.
Наиболее подходящими растворителями оказались ксилол, толуол и фенилциклогексан, а сцинтиллирующими веществами р-терфенил, дифенилоксазол и тетрафенилбутадиен. Наибольшим световым выходом обладает сцинтиллятор, изготовленный при растворении
р-терфенила в ксилоле при концентрации растворенного вещества 5 г/л.
Основные достоинства жидких сцинтилляторов:
возможность изготовления больших объемов;
возможность введения в сцинтиллятор веществ, необходимых в специальных экспериментах;
малая длительность вспышки (~3•10-9 сек).
Газовые сцинтилляторы. При прохождении заряженных частиц через различные газы в них наблюдалось появление сцинтилляций. Наибольшим световым - выходом обладают тяжелые благородные газы (ксенон и криптон). Большим световым выходом обладает также смесь ксенона и гелия. Присутствие в гелии 10% ксенона обеспечивает световой выход, даже больший, чем у чистого ксенона (рис. 3). Ничтожно малые примеси других газов резко уменьшают интенсивность сцинтилляций в благородных газах.

Рис. 3. Зависимость светового выхода газового
сцинтиллятора от соотношения смеси гелия и ксенона.
Экспериментально было показано, что длительность вспышек в благородных газах мала (10-9-10-8 сек), а интенсивность вспышек в широком диапазоне пропорциональна потерянной энергии регистрируемых частиц и не зависит от их массы и заряда. Газовые сцинтилляторы обладают малой чувствительностью к -излучению.
Основная часть спектра люминесценции лежит в области далекого ультрафиолета, поэтому для приведения в соответствие со спектральной чувствительностью ФЭУ используются светопреобразователи. Последние должны обладать высоким коэффициентом конверсии, оптической прозрачностью в тонких слоях, низкой упругостью насыщенных паров, а также механической и химической устойчивостью. В качестве материалов для светопреобразователей в основном используются различные органические соединения, например:
дифенилстильбен (эффективность преобразования около 1);
P>1>p’-кватерфенил (~1);
антрацен (0,34) и др.
Светопреобразователь наносится тонким слоем на фотокатод ФЭУ. Важным параметром светопреобразователя является его время высвечивания. В этом отношении органические преобразователи являются вполне удовлетворительными (10-9 сек или несколько единиц на 10-9 сек). Для увеличения светосбора внутренние стенки камеры сцинтиллятора обычно покрываются светоотражателями (MgO, эмаль на основе окиси титана, фторопласт, окись алюминия и др.).
§ 3. Фотоэлектронные умножители
Основными элементами ФЭУ являются: фотокатод, фокусирующая система, умножительная система (диноды), анод (коллектор). Все эти элементы располагаются в стеклянном баллоне, откаченном до высокого вакуума ( 10-6 мм рт.ст.).
Для целей спектрометрии ядерных излучений фотокатод обычно располагается на внутренней поверхности плоской торцевой части баллона ФЭУ. В качестве материала фотокатода выбирается вещество достаточно чувствительное к свету, испускаемому сцинтилляторами. Наибольшее распространение получили сурьмяно-цезиевые фотокатоды, максимум спектральной чувствительности которых лежит при = 39004200 А, что соответствует, максимумам спектров люминесценции многих сцинтилляторов.

Рис. 4. Принципиальная схема ФЭУ.
Одной из характеристик фотокатода является его квантовый выход в, т. е. вероятность вырывания фотоэлектрона фотоном, попавшим на фотокатод. Величина может достигать 10-20%. Свойства фотокатода характеризуются также интегральной чувствительностью, представляющей собой отношение фототока (мка) к падающему на фотокатод световому потоку (лм).
Фотокатод наносится на стекло в виде тонкого полупрозрачного слоя. Существенна толщина этого слоя. С одной стороны, для большого поглощения света она должна быть значительной, с другой стороны, возникающие фотоэлектроны, обладая очень малой энергией не смогут выходить из толстого слоя и эффективный квантовый выход может оказаться малым. Поэтому подбирается оптимальная толщина фотокатода. Существенно также обеспечить равномерную толщину фотокатода, чтобы его чувствительность была одинакова на всей площади. В сцинтилляционной -спектрометрии часто необходимо использовать твердые сцинтилляторы больших размеров, как по толщине, так и по диаметру. Поэтому возникает необходимость изготавливать ФЭУ с большими диаметрами фотокатодов. В отечественных ФЭУ фотокатоды делаются с диаметром от нескольких сантиметров до 1520 см. фотоэлектроны, выбитые из фотокатода, должны быть сфокусированы на первый умножительный электрод. Для этой цели используется система электростатических линз, которые представляют собой ряд фокусирующих диафрагм. Для получения хороших временных характеристик ФЭУ важно создать такую фокусирующую систему, чтобы электроны попадали на первый динод с минимальным временным разбросом. На рис.4 приведено схематическое устройство фотоэлектронного умножителя. Высокое напряжение, питающее ФЭУ, отрицательным полюсом присоединяется к катоду и распределяется между всеми электродами. Разность потенциалов между катодом и диафрагмой обеспечивает фокусировку фотоэлектронов на первый умножающий электрод. Умножающие электроды носят название динодов. Диноды изготовляются из материалов, коэффициент вторичной эмиссии которых больше единицы (>1). В отечественных ФЭУ диноды изготовляются либо в виде корытообразной формы (рис. 4), либо в виде жалюзи. В обоих случаях диноды располагаются в линию. Возможно также и кольцеобразное расположение динодов. ФЭУ с кольцеобразной системой динодов обладают лучшими временными характеристиками. Эмитирующим слоем динодов является слой из сурьмы и цезия или слой из специальных сплавов. Максимальное значение для сурьмяно-цезиевых эмиттеров достигается при энергии электронов 350400 эв, а для сплавных эмиттеров — при 500550 эв. В первом случае = 1214, во втором =710. В рабочих режимах ФЭУ значение несколько меньше. Достаточно хорошим коэффициентом вторичной эмиссии является = 5.
Фотоэлектроны, сфокусированные на первый динод, выбивают из него вторичные электроны. Число электронов, покидающих первый динод, в несколько раз больше числа фотоэлектронов. Все они направляются на второй динод, где также выбивают вторичные электроны и т. д., от динода к диноду, число электронов увеличивается в раз.
При прохождении всей системы динодов поток электронов возрастает на 5—7 порядков и попадает на анод — собирающий электрод ФЭУ. Если ФЭУ работает в токовом режиме, то в цепь анода включаются приборы, усиливающие и измеряющие ток. При регистрации ядерных излучений обычно необходимо измерять число импульсов, возникающих под воздействием ионизирующих частиц, а также амплитуду этих импульсов. В этих случаях в цепь анода включается сопротивление, на котором и возникает импульс напряжения.
Важной характеристикой ФЭУ является коэффициент умножения М. Если значение для всех динодов одинаково (при полном сборе электронов на динодах), а число динодов равно n, то
n = (Aue-Bu)n

A и B постоянные, u – энергия электронов. Коэффициент умножения М не равен коэффициенту усиления М', который характеризует отношение тока на выходе ФЭУ к току, выходящему из катода
М' = СМ,
где С<1 — коэффициент сбора электронов, характеризующий эффективность сбора фотоэлектронов на первый динод.
Очень важным является постоянство коэффициента усиления М' ФЭУ как во времени, так и при изменении числа электронов, выходящих из фото катода. Последнее обстоятельство позволяет использовать сцинтилляционные счетчики в качестве спектрометров ядерных излучений.
О помехах в фотоумножителях. В сцинтилляционных счетчиках даже при отсутствии внешнего облучения возможно появление большого числа импульсов на выходе ФЭУ. Эти импульсы обычно имеют небольшие амплитуды и носят название шумовых. Наибольшее число шумовых импульсов обусловливается появлением термоэлектронов из фотокатода или даже из первых динодов. Для уменьшения шумов ФЭУ часто используется его охлаждение. При регистрации излучений, создающих большие по амплитуде импульсы, в регистрирующую схему включается дискриминатор, не пропускающий шумовые импульсы.

Рис. 5. Схема для подавления шумов ФЭУ.
При регистрации импульсов, амплитуда которых сравнима с шумовыми, рационально использовать один сцинтиллятор с двумя ФЭУ, включенными в схему совпадений (рис. 5). В этом случае происходит временная селекция импульсов, возникших от регистрируемой частицы. В самом деле, вспышка света, возникшая в сцинтилляторе от регистрируемой частицы, попадет одновременно на фтокатоды обоих ФЭУ, и на их выходе одновременно появятся импульсы, заставляющие сработать схему совпадений. Частица будет зарегистрирована. Шумовые же импульсы в каждом из ФЭУ появляются независимо друг от друга и чаще всего не будут зарегистрированы схемой совпадений. Такой способ позволяет уменьшать собственный фон ФЭУ на 2—3 порядка.
Число шумовых импульсов растет с ростом приложенного напряжения, сначала довольно медленно, затем возрастание резко увеличивается. Причиной этого резкого возрастания фона является автоэлектронная эмиссия с острых краев электродов и возникновение обратной ионной связи между последними динодами и фотокатодом ФЭУ.
В районе анода, где плотность тока наибольшая, возможно возникновение свечения как остаточного газа, так и конструктивных материалов. Возникшее слабое свечение, а также обратная ионная связь обусловливают появление так называемых сопровождающих импульсов, отстоящих по времени от основных на 10-810-7 сек.
§ 4. Конструкции сцинтилляционных счетчиков
К конструкциям сцинтилляционных счетчиков предъявляются следующие требования:
наилучший сбор света сцинтилляций на фотокатоде;
равномерное распределение света по фотокатоду;
затемнение от света посторонних источников;
отсутствие влияния магнитных полей;
стабильность коэффициента усиления ФЭУ.
При работе со сцинтилляционными счетчиками всегда необходимо добиваться наибольшего отношения амплитуды импульсов сигнала к амплитуде шумовых импульсов, что принуждает оптимально использовать интенсивности вспышек, возникающих в сцинтилляторе. Обычно сцинтиллятор упаковывают в металлический контейнер, закрываемый с одного конца плоским стеклом. Между контейнером и сцинтиллятором размещается слой материала, отражающего свет и способствующего наиболее полному его выходу. Наибольшей отражательной способностью обладают окись магния (0,96), двуокись титана (0,95), гипс (0,85—0,90), используется также алюминий (0,55—0,85).
Особое внимание должно быть обращено на тщательную упаковку гигроскопичных сцинтилляторов. Так, например, наиболее часто используемый фосфор NaJ (Tl) очень гигроскопичен и при проникновении в него влаги желтеет и теряет свои сцинтилляционные свойства.
Пластмассовые сцинтилляторы нет необходимости упаковывать в герметические контейнеры, но для увеличения светосбора можно окружить сцинтиллятор отражателем. Все твердые сцинтилляторы должны иметь на одном из торцов выходное окно, которое и сочленяется с фотокатодом ФЭУ. В месте сочленения могут быть значительные потери интенсивности света сцинтилляции. Для избежания этих потерь между сцинтиллятором и ФЭУ вводится канадский бальзам, минеральные или силиконовые масла и создается оптический контакт.
В некоторых экспериментах, например при измерениях в вакууме, в магнитных полях, в сильных полях ионизирующих излучений сцинтиллятор не может быть помещен непосредственно на фотокатод ФЭУ. В таких случаях для передачи света от сцинтиллятора на фотокатод используется светопровод. В качестве светопроводов применяются полированные стержни из прозрачных материалов — таких, как люсит, плексиглас, полистирол, а также металлические или плексигласовые трубки, заполненные прозрачной жидкостью. Потери света в светопроводе зависят от его геометрических размеров и от материала. В некоторых экспериментах необходимо использовать изогнутые светопроводы.
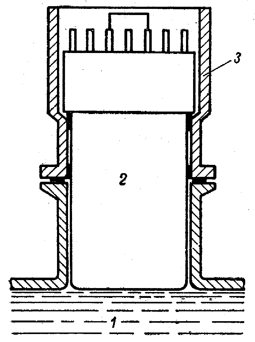
Лучше применять светопроводы с большим радиусом кривизны. Светопроводы позволяют также сочленять сцинтилляторы и ФЭУ разных диаметров. При этом используются конусообразные светопроводы. Сочленение ФЭУ с жидким сцинтиллятором производится либо через светопровод, либо непосредственным контактом с жидкостью. На рис.6 приведен пример сочленения ФЭУ с жидким сцинтиллятором. В различных режимах работы на ФЭУ подается напряжение от 1000 до 2500в. Так как коэффициент усиления ФЭУ очень резко зависит от напряжения, то источник питающего тока должен быть хорошо стабилизирован. Кроме того, возможно осуществление самостабилизации.
Питание ФЭУ производится с помощью делителя напряжения, который позволяет подавать на каждый электрод соответствующий потенциал. Отрицательный полюс источника питания подключается к фотокатоду и к одному из концов делителя. Положительный полюс и другой конец делителя заземляются. Сопротивления делителя подбираются таким образом, чтобы был осуществлен оптимальный режим работы ФЭУ. Для большей стабильности ток через делитель должен на порядок превышать электронные токи, идущие через ФЭУ.

Рис. 6. Сочленение ФЭУ с жидким сцинтиллятором.
1—жидкий сцинтиллятор;
2—ФЭУ;
3—светозащитный кожух.
При работе сцинтилляционного счетчика в импульсном режиме на выходе ФЭУ возникают короткие (~10-8 сек) импульсы, амплитуда которых может составлять несколько единиц или несколько десятков вольт. При этом потенциалы на последних динодах могут испытывать резкие изменения, так как ток через делитель не успевает восполнить заряд, уносимый с каскада электронами. Чтобы избежать таких колебаний потенциалов, несколько последних сопротивлений делителя шунтируются емкостями. За счет подбора потенциалов на динодах создаются благоприятные условия для сбора электронов на этих динодах, т.е. осуществляется определенная электроннооптическая система, соответствующая оптимальному режиму.
В электроннооптической системе траектория электрона не зависит от пропорционального изменения потенциалов на всех электродах, образующих данную электроннооптическую систему. Так и в умножителе при изменении напряжения питания изменяется лишь коэффициент усиления его, но электроннооптические свойства остаются неизменными.
При непропорциональном изменении потенциалов на динодах ФЭУ условия фокусировки электронов на участке, где нарушена пропорциональность, изменяются. Это обстоятельство и используется для самостабилизации коэффициента усиления ФЭУ. Для этой цели потенциал

Рис. 7. Часть схемы делителя.
одного из динодов по отношению к потенциалу предыдущего динода задается постоянным, либо с помощью дополнительной батареи, либо с помощью дополнительно стабилизированного делителя. На рис.7 приведена часть схемы делителя, где между динодами D>5> и D>6> включена дополнительная батарея (U>б> = 90 в). Для получения наилучшего эффекта самостабилизации необходимо подобрать величину сопротивления R'. Обычно R' больше R в 3— 4 раза.
§ 5. Свойства сцинтилляционных счетчиков
Сцинтилляционные счетчики обладают следующими достоинствами.
Высокая разрешающая способность по времени. Длительность импульса в зависимости от используемых сцинтилляторов простирается от 10-6 до 10-9 сек, т.е. на несколько порядков меньше, чем у счетчиков с самостоятельным разрядом, что позволяет осуществлять намного большие скорости счета. Другой важной временной характеристикой сцинтилляционных счетчиков является малая величина запаздывания импульса после прохождения регистрируемой частицы через фосфор (10-9—10-8 сек). Это позволяет использовать схемы совпадений с малым разрешающим временем (<10-8 сек) и, следовательно, производить измерения совпадений при много больших нагрузках по отдельным каналам при малом числе случайных совпадений.
Высокая эффективность регистрации -лучей и нейтронов. Для регистрации -кванта или нейтрона необходимо, чтобы они прореагировали с веществом детектора; при этом возникшая вторичная заряженная частица должна быть зарегистрирована детектором. Очевидно, что чем больше находится вещества на пути -лучей или нейтронов, тем большей будет вероятность их поглощения, тем большей будет эффективность их регистрации. В настоящее время при использовании больших сцинтилляторов добиваются эффективности регистрации -лучей в несколько десятков процентов. Эффективность регистрации нейтронов сцинтилляторами со специально введенными веществами (10В, 6Li и др.) также намного превышает эффективность регистрации их с помощью газоразрядных счетчиков.
Возможность энергетического анализа регистрируемого излучения. В самом деле, для легких заряженных частиц (электроны) интенсивность вспышки в сцинтилляторе пропорциональна энергии, потерянной частицей в этом сцинтилляторе.
С помощью сцинтилляционных счетчиков, присоединенных к амплитудным анализаторам, можно изучать спектры электронов и -лучей. Несколько хуже обстоит дело с изучением спектров тяжелых заряженных частиц (-частицы и др.), создающих в сцинтилляторе большую удельную ионизацию. В этих случаях пропорциональность интенсивности вспышки потерянной энергии наблюдается не при всяких энергиях частиц и проявляется только при значениях энергии, больших некоторой величины. Нелинейная связь амплитуд импульсов с энергией частицы различна для различных фосфоров и для различных типов частиц. Это иллюстрируется графиками на рис.1 и 2.
Возможность изготовления сцинтилляторов очень больших геометрических размеров. Это означает возможность регистрации и энергетического анализа частиц очень больших энергий (космические лучи), а также частиц, слабо взаимодействующих с веществом (нейтрино).
Возможность введения в состав сцинтилляторов веществ, с которыми с большим сечением взаимодействуют нейтроны. Для регистрации медленных нейтронов используют фосфоры LiJ(Tl), LiF, LiBr. При взаимодействии медленных нейтронов с 6Li идет реакция 6Li(n,)3Н, в которой выделяется энергия в 4,8 Мэв.
§ 6. Примеры использования сцинтилляционных счетчиков
Измерение времен жизни возбужденных состояний ядер. При радиоактивном распаде или в различных ядерных реакциях образующиеся ядра часто оказываются в возбужденном состоянии. Изучение квантовых характеристик возбужденных состояний ядер является одной из главных задач ядерной физики. Очень важной характеристикой возбужденного состояния ядра является время его жизни t. Знание этой величины позволяет получать многие сведения о структуре ядра.
Атомные ядра могут находиться в возбужденном состоянии различные времена. Для измерения этих времен существуют различные методы. Сцинтилляционные счетчики оказались очень удобными для измерения времен жизни уровней ядер от нескольких секунд до очень малых долей секунды. В качестве примера использования сцинтилляционных счетчиков мы рассмотрим метод задержанных совпадений. Пусть ядро A (см. рис.10) путем -распада превращается в ядро В в возбужденном состоянии, которое избыток своей энергии отдает на последовательное испускание двух -квантов (>1>,>2>). Требуется определить время жизни возбужденного состояния I. Препарат, содержащий изотоп A, устанавливается между двумя счетчиками с кристаллами NaJ(Tl) (рис.8). Импульсы, возникшие на выходе ФЭУ, подаются на схему быстрых совпадений с разрешающим временем ~10-8—10-7 сек. Кроме того, импульсы подаются на линейные усилители и далее на амплитудные анализаторы. Последние настраиваются таким образом, что они пропускают импульсы определенной амплитуды. Для нашей цели, т.е. для цели измерения времени жизни уровня I (см. рис. 10), амплитудный анализатор AAI должен пропускать только импульсы, соответствующие энергии квантов >1> а анализатор AAII — >2>.

Рис.8. Принципиальная схема для определения
времени жизни возбужденных состояний ядер.
Далее импульсы с анализаторов, а также с быстрой схемы совпадений подаются на медленную (~10-6 сёк) схему тройных совпадений. В эксперименте изучаются зависимость числа тройных совпадений от величины временной задержки импульса, включенной в первый канал схемы быстрых совпадений. Обычно задержка импульса осуществляется с помощью так называемой переменной линии задержки ЛЗ (рис.8).
Линия задержки должна включаться именно в тот канал, в котором регистрируется квант >1>, так как он испускается раньше кванта >2>. В результате эксперимента строится полулогарифмический график зависимости числа тройных совпадений от времени задержки (рис.9), и уже по нему определяется время жизни возбужденного уровня I (так же, как это делается при определении периода полураспада с помощью одиночного детектора).
Используя сцинтилляционные счетчики с кристаллом NaJ(Tl) и рассмотренную схему быстро-медленных совпадений, можно измерять времена жизни 10-7—10-9 сек. Если же использовать более быстрые органические сцинтилляторы, то можно измерять и меньшие времена жизни возбужденных состояний (до 10-11 сек).

Рис.9. Зависимость числа совпадений от величины задержки.
Гамма-дефектоскопия. Ядерные излучения, обладающие большой проникающей способностью, все чаще применяются в технике для обнаружения дефектов в трубах, рельсах и других больших металлических блоках. Для этих целей используется источник -излучения и детектор -лучей. Наилучшим детектором в этом случае является сцинтилляционный счетчик, обладающий большой эффективностью регистрации. Источник излучения помещается в свинцовый контейнер, из которого через коллиматорное отверстие выходит узкий пучок -лучей, освещающий трубу. С противоположной стороны трубы устанавливается сцинтилляционный счетчик. Источник и счетчик помещаются на подвижный механизм, позволяющий передвигать их вдоль трубы, а также поворачивать около ее оси. Проходя через материал трубы, пучок -лучей будет частично поглощаться; если труба однородна, поглощение будет всюду одинаковым, и счетчик будет всегда регистрировать одно и то же число (в среднем) -квантов в единицу времени, если же в каком-то месте трубы имеется раковина, то -лучи в этом месте будут поглощаться меньше, скорость счета увеличится. Местоположение раковины будет обнаружено. Примеров подобного использования сцинтилляционных счетчиков можно привести много.
Э
кспериментальное
обнаружение нейтрино.
Нейтрино — самая загадочная из
элементарных частиц. Практически все
свойства нейтрино получены из косвенных
данных. Современная теория -распада
предполагает, что масса нейтрино m>>
равна нулю. Некоторые эксперименты
позволяют утверждать,
что
.
Спин нейтрино равен 1/2,
магнитный момент <10-9
магнетона Бора. Электрический заряд
равен нулю. Нейтрино может преодолевать
огромные толщи вещества, не взаимодействуя
с ним. При радиоактивном распаде ядер
испускаются два сорта нейтрино. Так,
при позитронном распаде ядро испускает
позитрон (античастица) и нейтрино
(-частица).
При электронном распаде
испускается электрон
(частица) и антинейтрино (-античастйца).
Создание ядерных реакторов, в которых образуется очень большое количество ядер с избытком нейтронов, вселило надежду на обнаружение антинейтрино. Все нейтронноизбыточные ядра распадаются с испусканием электронов, а следовательно, и антинейтрино. Вблизи ядерного реактора мощностью в несколько сотен тысяч киловатт поток антинейтрино составляет 1013 см-2сек-1 — поток огромной плотности, и при выборе подходящего детектора антинейтрино можно было попытаться их обнаружить. Такая попытка была осуществлена Рейнесом и Коуэном в 1954 г. Авторы использовали следующую реакцию:
p n + e+ (1)
этой реакции частицами-продуктами являются позитрон и нейтрон, которые могут быть зарегистрированы.
Детектором и одновременно водородной мишенью служил жидкий сцинтиллятор, объемом ~1м3, с высоким содержанием водорода, насыщенный кадмием. Позитроны, возникающие в реакции (1), аннигилировали в два -кванта с энергией 511 кэв каждый и обусловливали появление первой вспышки сцинтиллятора. Нейтрон в течение нескольких микросекунд замедлялся и захватывался кадмием. При этом захвате кадмием испускалось несколько -квантов с суммарной энергией около 9 Мэв. В результате в сцинтилляторе возникала вторая вспышка. Измерялись запаздывающие совпадения двух импульсов. Для регистрации вспышек жидкий сцинтиллятор окружался большим количеством ФЭУ.
Скорость счета запаздывающих совпадений составляла три отсчета в час. Из этих данных было получено, что сечение реакции ( рис. 1) = (1,1 ± 0,4)10-43см2, что близко к расчетной величине.
В настоящее время жидкостные сцинтилляционные счетчики очень больших размеров используются во многих экспериментах, в частности в экспериментах по измерению потоков -излучений, испускаемых человеком и другими живыми организмами.
Регистрация осколков деления. Для регистрации осколков деления оказались удобными газовые сцинтилляционные счетчики.
Обычно эксперимент по изучению сечения деления ставится следующим образом: слой изучаемого элемента наносится на какую-то подложку и облучается потоком нейтронов. Конечно, чем больше будет использоваться делящегося вещества, тем больше будет происходить актов деления. Но так как обычно делящиеся вещества (например, трансурановые элементы) являются -излучателями, то использование их в значительных количествах становится затруднительным из-за большого фона от -частиц. И если акты деления изучаются с помощью импульсных ионизационных камер, то возможно наложение импульсов от -частиц на импульсы, возникшие от осколков деления. Только прибор, обладающий лучшим временным разрешением, позволит использовать большие количества делящегося вещества без наложения импульсов друг на друга. В этом отношении газовые сцинтилляционные счетчики обладают значительным преимуществом по сравнению с импульсными ионизационными камерами, так как длительность импульсов у последних на 2—3 порядка больше, чем у газовых сцинтилляционных счетчиков. Амплитуды импульсов от осколков деления много больше, чем от -частиц и поэтому могут быть легко отделены с помощью амплитудного анализатора.
Очень важным свойством газового сцинтилляционного счетчика является его низкая чувствительность к -лучам, так как часто появление тяжелых заряженных частиц сопровождается интенсивным потоком -лучей.
Люминесцентная камера. В 1952 г. советскими физиками Завойским и другими впервые было произведено фотографирование следов ионизирующих частиц в люминесцирующих веществах с помощью чувствительных электроннооптических преобразователей (ЭОП). Этот метод регистрации частиц, названный люминесцентной камерой, имеет высокую разрешающую способность по времени. Первые опыты были произведены при использовании кристалла CsJ (Tl).
В дальнейшем для изготовления люминесцентной камеры стали использовать пластмассовые сцинтилляторы в виде длинных тонких стерженьков (нитей). Нити укладываются в виде стопки рядами так, что нити в двух соседних рядах расположены под прямым углом друг к другу. Этим обеспечивается возможность стереоскопического наблюдения для воссоздания пространственной траектории частиц. Изображения от каждой из двух групп взаимно перпендикулярных нитей направляются на отдельные электроннооптические преобразователи. Нити играют также роль светопроводов. Свет дают только те нити, которые пересекает частица. Этот свет выходит через торцы соответствующих нитей, которые фотографируются. Изготовляются системы с диаметром отдельных нитей от 0,5 до 1,0 мм.
Литература:
Дж.Биркс. Сцинтилляционные счетчики. М., ИЛ, 1955.
В.О.Вяземский, И.И. Ломоносов, В.А. Рузин. Сцинтилляционный метод в радиометрии. М.,Госатомиздат, 1961.
Ю.А. Егоров. Стинцилляционный метод спектрометрии гамма излучения и быстрых нейтронов. М., Атомиздат, 1963.
П.А. Тишкин. Эксперементальные методы ядерной физики(детекторы ядерных излучений).
Издательство Ленинградского Университета, 1970.
5 Г.С. Ландсберга. Элементарный учебник физики ( том 3).М., Наука , 1971
1
Сцинтилляционные счетчики