Лекции по физике В.И.Бабецкого
Лекции по физике В.И.Бабецкого
(II курс факультета "Прикладная математика и физика" МАИ) 1999г.
1
Электромагнитное взаимодействие
Мир состоит из взаимодействующих частиц. Всё, что мы видим, построено из элементарных частиц, есть такие кирпичики мироздания. На макроскопическом уровне много взаимодействий, на самом деле, в основании всего лежит четыре типа фундаментальных взаимодействий. Они называются:
1) сильное,
2) электромагнитное,
3) слабое,
4) гравитационное.
Они перечислены в порядке убывания силы взаимодействия.
Сильное
взаимодействие определяет структуру
атомных ядер и более глубокие
структуры. Следующее - электромагнитное
взаимодействие. Оно послабее на два
порядка сильного. Сильное взаимодействие
проявляется на малых расстояниях,
см,
электромагнитное взаимодействие
проявляется на любых расстояниях. Далее
идёт слабое взаимодействие, вообще,
играющее незаметную роль на макроскопическом
уровне. И, наконец, самое слабое
гравитационное взаимодействие, примерно
на сорок порядков слабее электромагнитного.
Но почему именно гравитационное
взаимодействие мы ощущаем более часто,
например, вы хотите подпрыгнуть, а вас
тянет вниз. Это происходит за счёт того,
что в нём участвуют все частицы.
Эти взаимодействия характерны тем, что в них участвуют определённые частицы, частицы, обладающие определёнными свойствами.
На макроскопическом уровне электромагнитное взаимодействие самое важное, вот то, что мы видим на Земле - это всё электромагнитное взаимодействие.
Электрический заряд
Частицы, участвующие в электромагнитном взаимодействии, обладают специальным свойством - электрическим зарядом. Что такое электрический заряд? Первичное понятие. Нельзя его описать в других более понятных терминах. Электрический заряд - неотъемлемое свойство элементарной частицы. Если есть частица, обладающая электрическим зарядом, например, электрон, всем вам известный электрон, лишить его этого свойства невозможно. Электрон обладает и другими свойствами: массой, спином, магнитным моментом. Имеются частицы и не обладающие этим свойством. Если частица не участвует в электромагнитном взаимодействии (а как это определить? берём частицу, находим действующую на неё силу, есть книжки, в которых дано руководство для дальнейших действий), итак, если частица не участвует в электромагнитном взаимодействии, то она не обладает электрическим зарядом.
Заряды
всех тел кратны величине
Кл,
это заряд электрона. Это означает, что
в природе встречается минимальный
заряд, равный е.
Можно было бы принять е=1,
но в силу ряда причин, в частности, по
исторической причине, е
выражается таким числом.
Есть
такие частицы - кварки, заряд которых
дробный:
,

и т.д. То, что их заряд дробный не
противоречит тому, что я сказал, так как
кварки самостоятельно не наблюдаются.
Считается, что нельзя выделить кварки
индивидуально, чтобы получить частицу
с дробным зарядом. Чтобы было более
понятно, я приведу такой пример. Имеем
намагниченную спицу с южным и северным
полюсом, они ведут себя, как точечные
источники тока, но, сломав спицу пополам,
на одном конце остаётся южный полюс, а
на другом выскакивает северный. Так и
при делении кварков, они делятся, но
появляются новые кварки, а не их половинки.
Заряды бывают двух знаков: “+” и “–“. Как понимать отрицательный и положительный знак? Можно было бы назвать их другими символами, но которые входят в математические понятия, потому что математика - базовая наука.
Электромагнитное поле
Ещё раз повторю, мир состоит из взаимодействующих частиц, но частицы не взаимодействуют друг с другом. Этот вопрос занимал ещё Ньютона. Он считал, что сама идея взаимодействия через пустое пространство это абсурд. Нынешняя физика так же отвергает взаимодействие через пустое пространство. Например, откуда Земля "знает", что где-то от неё на расстоянии 150 млн. км находится Солнце, к которому она должна притягиваться? Поле является переносчиком взаимодействия, в частности, переносчиком электромагнитных взаимодействий является электромагнитное поле. Что такое поле? опять таки первичное понятие, невозможно его выразить более простыми словами. Надо понимать так: имеем частицу заряженную, одну единственную, и то, что создаёт частица в пространстве, это и есть электромагнитное поле. Некоторые формы этого электромагнитного поля мы видим, свет есть проявление электромагнитного поля. Другая заряженная частица погружена в это поле и взаимодействует с этим полем там, где она находится. Таким образом, решена проблема взаимодействия. Электромагнитное поле - это переносчик электромагнитного взаимодействия.
Опять таки, поле мы не можем описать обычными словами. Вот стол, он деревянный, коричневый и т.д., его можно описать бесконечно большим набором свойств. Электромагнитное поле гораздо более простая вещь. Движение частицы, находящейся в электромагнитном поле, описывается следующим уравнением.
Второй
закон Ньютона:

Заряженная частица,
обладающая зарядом q,
движется в электромагнитном поле
согласно этому уравнению. Видим, что
сила, действующая на частицу со стороны
электромагнитного поля, определяется
двумя векторными полями:
,
то есть в каждой точке пространства
задан вектор
,
который может меняться со временем
(математик может сказать, если в каждой
точке пространства задана скалярная
функция, что задано скалярное поле, если
задана векторная функция - задано
векторное поле), поле
называется напряжённостью
электрического поля, поле
- индукция магнитного поля.
Почему они так называются, нам сейчас
неважно, это термины. Почему они разделены?
Потому что влияние их на частицу различны.
Поле
не содержит никаких характеристик
частицы кроме заряда. Если v
= 0, то второе слагаемое
вылетает. Это означает, что магнитное
поле действует только на движущиеся
частицы. Неподвижные заряды не чувствуют
магнитного поля.
Когда
говорится о функциях координат, имеется
в виду, что мы находимся в некоторой
инерциальной системе. Если заряд
движется, то в другой инерциальной
системе он будет покоиться. Это означает,
что, если в одной инерциальной системе
отсчёта существует только
,
то в другой появится и
.
Вот эти два векторных поля полностью
описывают электромагнитное поле. Задать
электромагнитное поле означает задать
шесть функций от координат и времени.
Как задать поле в этом
помещении? Помещаем пробный заряд,
измеряем силу, делим на q,
получаем
.
Чуть сложнее измерить
.
Есть более изящные методы измерения,
основанные на этом уравнении. И получим
исчерпывающее описание этой вещи. Это
описание на много проще описания этого
стола.
Уравнения поля
Могу
ли я конкретно, физически соорудить
поле? Ответ, вообще говоря, нет. Не всякое
векторное поле
может представлять реальное
электрическое поле
,
и не всякое векторное поле
представляет магнитное поле
.
Реальное электромагнитное поле обладает
структурой, и эта структура и выражается
полевыми уравнениями, которые выступают
в роли фильтров.
Электромагнитное поле создаётся заряженными частицами, или, иначе говоря, заряженные частицы являются источниками электромагнитного поля.
Основная задача теории:
предъявлено распределение заряженных частиц, и мы должны найти поле, которое создаётся этими частицами.
Вопрос: как можно описать распределение частиц, как предъявить распределение зарядов? Кстати, никакие другие свойства кроме заряда не важны. Можно взять какую-то частицу, измерить её заряд и повесить на неё бирку, и так со всеми частицами. Но технически это сделать невозможно.
Вот
имеем некоторую систему координат. В
точке с радиус-вектором
выбираем некоторый элемент объёма V>i>,
определяем заряд этого элемента объёма.
Пусть внутри этого элемента объёма
находится заряд q>i>.
Теперь определяем такую величину:

.
Будем уменьшать объём, при этом окажется,
что отношение
стремится к некоторому пределу. Считается,
что элемент объёма очень мал, но число
частиц в нём велико, такова реальность.

Определённая
выше функция
,
называется плотностью
заряда. Понятно, что всё
распределение заряда описывается
функцией
.
Если имеются отдельные точечные заряды,
то они подпадают под эту функцию. И она
такова, что, если в точке
находится точечный заряд, то тогда
=
.
Скалярная функция
позволяет
полностью описать мир с точки зрения
электродинамики. Но не только она,
скорость заряда тоже влияет на
электромагнитное поле. Так как магнитное
поле создаётся движущимися зарядами,
нам нужно учесть ещё движение, и для
этого нужна ещё одна характеристика.
Берём в нашей системе координат точку
и вычисляем такую величину:
.
Формулы надо научиться читать
повествовательно! В этом случае: ловите
все частицы этого объёма, заряд частицы
умножаем на её скорость, делим на объём,
а потом переходим к пределу, получаем
некоторый вектор и этот вектор приписываем
точке, в окрестности которой производили
измерения... Получаем векторное поле.
- плотность тока.
Кстати, в механике аналогичная величина
- плотность импульса. Вместо заряда
возьмём массу, получим суммарный импульс,
если разделить его на объём, получим
плотность импульса.
Источники
электромагнитного поля полностью
характеризуются скалярной функцией
и векторной функцией
.
Вот
я уже говорил там о цветочках в саду,
птички летают… с точки зрения
электродинамики система должна быть
описана функциями
и
.
Действительно, если дать эти функции,
то по ним можно было бы дать цветную
картинку, кстати, телевизор это и делает,
а частью этого электромагнитного поля
являются волны, которые попадают вам в
глаз. Задание этих функций задаёт поле,
потому что, если известны источники, то
известно и поле.
Полевые уравнения




Всё
электричество сидит в этих уравнениях.
Они, на самом деле, симметричны и красивы.
Эти уравнения постулируются, они лежат
в основе теории. Это фундаментальные
уравнения теории. Вот, кстати, интересно.
Теория существует неизменно с семидесятых
годов XIX века по сей день, и никаких
поправок! Ньютоновская теория не
выдержала, а электродинамика стоит
около 1,5 века, работает на расстоянии
м
и никаких отклонений.
Для расшифровки этих уравнений потребуются некоторые математические конструкции.
2
Поток вектора.
З



адано
некоторое поле
,
в какой-то точке пространства задан
вектор
.
В окрестности этой точки
выбираем площадку dS,
площадку ориентированную,
её
ориентация характеризуется
вектором
.
Тогда конструкция
называется поток вектора
через площадку dS. При этом
площадка настолько мала, что вектор
может считаться в
пределах этой площадки постоянным.
Т


еперь
ситуация другая. Рассмотрим некоторый
кусок поверхности. Эту поверхность
разбиваем на элементы. Вот, например,
выделенный элемент под
номером i,
его площадь S>i>,
его нормаль
.
Где-то в пределах элемента выбираем
вектор
,
сам элемент задаётся радиус-вектором
,
то есть какая-то точка внутри элемента
имеет радиус-вектор
.
Сумма по всем
элементам поверхности
образует такую сумму:
,
а теперь
предел
обозначается так:
.
Ну, это стандартный опять
приём: интеграл есть предел суммы по
определению, предел этой суммы называется
поток вектора
через поверхность S.
Так,
если дует ветер, в каждой точке некоторой
поверхности определён вектор скорости,
тогда поток вектора скорости по этой
поверхности - будет объём воздуха,
проходящего через поверхность за единицу
времени. Если векторное поле
не поле скоростей, а нечто другое, то
ничего там не течёт. Это есть некий
термин, и не надо понимать его буквально.
Если поверхность замкнута, то разобьём её на маленькие элементы. Но берётся ограничение: вектор нормали выбирается наружу (выбор нормали влияет на знак). Если поверхность замкнута, то нормаль берётся наружу, а соответствующий интеграл снабжается кружочком. Это, что касается термина поток.
Если
- поле скоростей, то скалярное
произведение
отрицательно (см. рис.2.2 цифра 1), это
газ или воздух, втекающий в поверхность.
А берём площадку 2, здесь поток
положительный, это воздух, вытекающий
из поверхности. Если мы вычислим такую
штуку
для потока скорости ветра через замкнутую
поверхность, (это будет разность воздуха
втекающего и вытекающего) и, если течение
стационарное, то есть скорость со
временем не меняется, то такой интеграл
будет равен нулю, хотя и не всегда.
Если
взять
,
то такая штука
означает, что масса втекающего воздуха
равна массе вытекающего.
Циркуляция потока.
Л

инии,
вдоль которых направлено поле, называются
силовыми линиями, а для любого векторного
поля они носят название интегральных
кривых. Рассмотрим некоторую кривую
.
Последовательно разбиваем кривую на
элементы, вот один элемент, я выделяю
его, маленький вектор
.
В пределах этого элемента определяем
значение вектора
,
берём скалярное произведение
,
получаем число и суммируем
по всем элементам1.
В пределе получаем некоторое число:
,
которое
обозначаем
.
Берём замкнутую кривую
(интеграл тогда будет
снабжён кружочком), задаём
произвольно направление,
- это некоторое число, зависящее от
вектора
и
,
называется циркуляцией
вектора
по замкнутому контуру.
Если дует ветер, то циркуляция по замкнутому контуру, не всегда правда, равна нулю. А если возьмём вихрь, то циркуляция заведомо не равна нулю.
Статическое электромагнитное поле (электростатика)
В прошлый раз я нарисовал
четыре уравнения. Начнём их жевать
потихоньку. И сделаем упрощения. Прежде
всего, положим
.
от чего? От всего, то есть ничего со
временем не меняется.
Особенность физики в чём состоит? Не в предмете! Все науки имеют свой предмет рассмотрения, биология - наука изучающая жизнь на Земле и т.д. Физика отличается взглядом на мир. С точки зрения электричества он характеризуется двумя векторными полями, кстати, если задать эти штуки, например, дать описание зарядов в этой аудитории, то мы сможем восстановить всю ту картинку, которую вы сейчас наблюдаете.
Итак,
.
И второе
.
В каждой точке пространства ничего не меняется, и все заряды неподвижны, то есть все заряды прибиты просто гвоздями. Тогда уравнения принимают вид:




Вот
при такой подстановке
и
наши четыре фундаментальные уравнения
принимают такой вид.
Третье
уравнение означает, что поток вектора
через любую замкнутую
поверхность равен нулю, четвёртое -
циркуляция вектора
по любому замкнутому контуру равна
нолю. Из этих двух уравнений следует,
что
.
Это не очевидно, но мы ещё до этого
доберёмся. Магнитное поле отсутствует.
В статическом электромагнитном поле
отсутствует магнитное поле, а электрическое
описывается двумя уравнениями. В этих
уравнениях сидят все свойства
электростатического поля, то есть ничего
больше не надо. И мы эти свойства сейчас
извлечём.
Общие свойства электростатического поля
Прежде
всего, что означают эти уравнения? Первое
уравнение утверждает, что, если мы
возьмём некоторую замкнутую поверхность
S, V - объём этой поверхности, разбиваем
поверхность на элементы, определяем в
пределах каждого элемента напряжённость
поля и вычисляем такую вещь
,
суммируем, никто нам не запрещает это
сделать, это математическая вещь, физика
сидит в равенстве:
(поток
вектора напряжённости через замкнутую
поверхность) =

Таким
образом, поток вектора
через любую замкнутую поверхность равен
заряду внутри этой поверхности.
Например, стены, пол, потолок - это замкнутая поверхность. Можем сосчитать поток через эту замкнутую поверхность и получим число, и, если это число отлично от нуля, то это означает, что здесь находится заряд. Электромагнитное взаимодействие очень сильное, и в силу этого мы имеем нейтральное вещество. Ноль получим. Это не означает, что здесь нет электрических полей, но заряда нет.
Берём
замкнутый контур, вычисляем циркуляцию.
Второе уравнение утверждает, что, какой
бы контур мы не взяли, циркуляция равна
нулю. Отсюда следует, что силовые линии
электромагнитного поля не могут быть
замкнутыми. Мы могли бы взять контур,
совпадающий с этой линией, скалярное
произведение
не
меняет знак, следовательно, интеграл
не равен нулю. Силовые линии не могут
быть замкнуты, но тогда что с ними?
И
меется
некоторая область, из которой силовые
линии выходят, тогда берём замкнутую
поверхность S и по этой замкнутой
поверхности
.
Это означает, что q>0.
Если наоборот, силовые
линии входят в область, эту область
окружаем поверхностью, тогда интеграл
отрицательный. Нормаль направлена
наружу, в первом случае произведение
положительно,
а здесь отрицательно.
Можно сказать, что силовые линии электростатического поля начинаются на положительных зарядах и заканчиваются на отрицательных или уходят в бесконечность, но не может быть так, чтобы линия замкнулась на себя. Для магнитного поля, мы увидим дальше, что силовые линии всегда замкнуты, в отличие от электростатических, которые никогда не замкнуты.
Потенциал
Вот
такое математическое утверждение:
.

Вы,
вот, словами должны читать сами формулы.
Кстати, физику можно излагать без слов,
так же, как математику. Из того, что
циркуляция для любого контура равна
нулю, следует, что векторное поле
может быть выражено через некоторую
функцию от
,
называемую градиентом скалярного поля
:
.
Любому скалярному полю можно
поставить в соответствие векторное
поле
вот по такому рецепту. Это векторное
поле называется градиентом скалярного
поля .
Смысл
векторного поля.
- это вектор, направление вектора
это направление, в котором функция
меняется
наиболее быстро. Направление вектора
это направление быстрейшего изменения
функции ,
а величина вектора характеризует
скорость изменения функции в
этом направлении. Ну, скорость по
отношению к пространственному перемещению.
Температура,
заведомо скалярная величина. В данной
точке сунули термометр, он что-то показал,
сунули в другую, он покажет другую
температуру. А теперь, градиент от этого
скалярного поля. Температура в данной
точке такая, сместились в эту сторону
на метр - другая температура, и так во
все стороны, где температура выше, туда
будет направлен её градиент
,
а величина этого вектора
.
Другой пример - плотность. Имеем стационарную атмосферу. Направление градиента плотности воздуха будет по вертикали и именно сверху вниз (вниз плотность будет возрастать).
Вот смысл градиента.
Это
следствие
чисто математическое, это можно доказать.
Что физически означает уравнение
?
Какую физическую интерпретацию можем
ему дать?
Рассмотрим некоторую кривую с направлением. Вот имеем электрическое поле:
Возьмём
точечный заряд q
и будем перемещать заряд по заданной
кривой из точки (1) в точку (2). Поскольку
на заряд действует сила со стороны
электрического поля, работа электрического
поля при перемещении заряда вдоль кривой
равна:
.
Работа, которая совершается электрическим
полем при перемещении заряда, если я
взял и принёс заряд из точки (1) в точку
(2), а потом принёс его обратно (контур
замкнулся!). То тогда следует, что
.
Работа по перемещению заряда по замкнутому контуру равна нулю.
Это означает другое: что работа по перемещению заряда из точки (1) в точку (2) не зависит от пути перемещения.
Это, может быть, не очень очевидно. Вот я перешёл по некоторому пути из (1) в (2), поле совершило некоторую работу, кстати, эта работа положительна. Положу рельсы из точки (1) в точку (2). Поставлю на них вагончик от игрушечной железной дороги, помещу в вагончик заряд, и этот вагончик поедет, (избыток кинетической энергии перейдёт во внутреннюю). В точке (2) перевожу стрелки и пускаю вагончик по другому пути. Так вагончик будет ездить, к нему можно приделать вертушку... но известно, что циркуляция ноль, и построить вечного двигателя нельзя.
А
теперь мы имеем такой математический
результат:
.
Электростатическое поле – это градиентное
поле. Эта скалярная функция
,
градиентом которой является напряжённость
электрического поля, называется
потенциалом
электрического поля.
Не всякое векторное поле можно получить как градиент потенциала. Электростатическое поле представляется одной скалярной функцией координат, а не тремя, как можно было бы думать по его векторному характеру. Задать одну функцию координат – и получим картину электрического поля.
Какой физический смысл этого скалярного поля?
(*)
А
теперь займёмся тем, что у нас стоит под
интегралом.
,
вектор
- это есть:
,
а вся подынтегральная конструкция

есть полный дифференциал.
Тогда, возвращаясь к
формуле (*), мы пишем:

Мы придём из точки (1) в
точку (2), суммируя изменение потенциала.
Мораль такая: вот у нас начальная точка
,
заряд переносим в точку
,
здесь значение потенциала (
),
и работа равна
.
Работа по перемещению заряда из одной
точки в другую равна величине заряда,
умноженной на разность потенциалов.
Теперь
мы имеем два описания электростатического
поля. Либо мы задаём напряжённость
,
либо мы задаём в каждой точке потенциал
.
Слова «разность потенциалов» вы должны
понимать буквально – это разность. Вот
синоним разности потенциалов, который
употребляется в электротехнике, -
напряжение. Это означает, что многие из
вас склонные употреблять слова «напряжение
в цепи» не знали их значения. Это синоним
разности потенциалов.
Что
означают слова, что напряжение городской
сети 220 вольт? Вот есть две дырки (разность
потенциалов между дырками 220V), если вы
вырвете заряд из одной и будете с ним
ходить, а потом вернёте его в другую
дырку, то работа поля будет равна
V.
Нагляднее пример с аккумулятором: вы
взяли металлический шарик с клеммы
аккумулятора, положили его в карман,
ходили где-то с ним и потом приложили
его ко второй клемме, то работа будет
такая:
V.
3
Т
ам,
где у нас было напряжение и разность
потенциалов, добавьте такую формулу:
.
В

от
точка
,
вот точка
,
эта кривая
,
и смысл такой: вот эта формула –
универсальный железный рецепт для
нахождения разности потенциалов. Если
вы когда-нибудь сталкиваетесь с
требованием или потребностью найти
разность потенциалов между двумя
точками, значит, рука должна автоматически
писать эту формулу, а когда мы её напишем,
потом можно думать. Слова «разность
потенциалов» должны просто рефлекторно
вызывать вот эту формулу.
О
чём речь? В чём рецепт? Если вам надо
найти разность потенциалов между одной
точкой и другой, когда напряжённость
поля во всём пространстве задана (вектор
напряжённости поля), рецепт: соедините
точку 1 с точкой 2 кривой
и вычислите вот такой интеграл
.
Результат не зависит от выбора пути,
ну, и поэтому его можно всегда выбирать
наиболее разумным способом.
Ну,
к примеру, что значит разумная выборка?
Вот допустим у вас силовые линии поля
вот такие радиальные кривые:
И
вам надо найти потенциал вот точка 1 ну,
а, допустим, вот точка 2. Как выбрать
кривую, идущую из 1 в 2? Первая мысль,
конечно, взять её вот так: провести по
линейке, по ней вычислять. Мысль, конечно,
быстрая, но не очень правильная, потому
что во всех точках этой кривой вектор
переменный и направлен ещё под углом к
прямой, и угол ещё меняется – взять
интеграл сложно. Зато, через точку 2
проведёте сферу и путь такой: вдоль
радиуса – раз, и потом вот по этой дуге
– два. Вот разумный выбор кривой. Почему?
Потому что вот на этой ветке вектор
всюду параллелен прямой, интеграл
немедленно сводится просто к обыкновенному
интегралу, а вот на этой ветке вектор
всюду перпендикулярен кривой, и она
никакого вклада не делает. Вот разумный
выбор кривой для нахождения разности
потенциалов.
Ну, это в качестве примера. Если представлять себе конкретный вид поля, то такая кривая легко находиться, учитывая, что у вас поля произвольной конфигурации, сложной, не будут попадаться, ну, вот здесь у нас в процессе занятия электродинамикой. Ну, конечно, если задано какое-нибудь такое, очень произвольное, поле, то там нет возможности выбирать кривую специальным образом, ну и тогда надо там линейку приложить, но это математическая проблема, можно посчитать. Так, ладно, всё. Следующий пункт.
Поля, создаваемые распределениями зарядов с хорошей симметрией
Ну
и сразу такое определение:
при достаточно хорошей
симметрии напряжённость поля может
быть найдена из уравнения
.
Значит, при достаточно хорошей симметрии
поле всегда может быть найдено вот из
этой интегральной теоремы. Ну, у нас это
первое уравнение Максвелла. А теперь
частные случаи.
1)
Центральная (сферическая) симметрия.
Пусть плотность заряда
есть
.
Значит, плотность, которая, вообще,
функция координат точки
,
зависит только от
,
то есть только от расстояния до начала
координат, это означает, что начало
координат – центр симметрии. Вот эта
формулка
=
означает, что плотность на любой сфере
радиуса r
– константа, какая-то там плотность,
ну, и отличная от нуля, на любой сфере
она постоянна. Это означает, что
распределение обладает сферической
симметрией, и создаваемое им поле будет
также обладать сферической симметрией.
Отсюда следует, что
(потенциал как функция точки) это есть
.
Отсюда эквипотенциальные
поверхности – сферы с центром в начале
координат, то есть вот на
любой сфере потенциал –
константа. Отсюда далее
следует, что силовые линии поля, которые
являются всегда ортогональными к
эквипотенциальным поверхностям, силовые
линии поля – вот такие радиальные лучи:
К
онструкция
электрического поля может быть только
такая. А теперь заметьте, здесь никакой
специфики электричества не было, все
эти выводы получены только из соображений
симметрии. Любое векторное поле имело
бы такую структуру, какая бы физическая
природа у него ни была. Только
сила соображения симметрии очень часто
позволяет делать выводы безотносительно
к конкретному предмету разговора.
=
,
отсюда дальше следует, что напряжённость
поля на любой сфере
может
быть представлен так:
.
Вот это
,
радиус-вектор, делённый на собственный
модуль, есть единичный вектор
в направлении радиус-вектора. Всё. Пишем
дальше эту формулу
.
В качестве замкнутой поверхности,
которая фигурирует в интеграле (поток
вычисляется по замкнутой поверхности),
выбираем сферу
.
Мы её (поверхность)
можем брать любой, равенство от этого
не зависит, но удобно взять
.
Пишем:
.
Это равенство вследствие того, что
,
-
единичный вектор в направлении
радиус-вектора (это вектор нормали к
сфере, но нормаль к сфере в данной точке
совпадает по направлению с радиус-вектором
данной точки, эти векторы параллельны),
а проекция радиус-вектора на самого
себя – это его модуль, конечно,
.
Дальше,
во всех точках сферы одно и тоже, выносим
за знак интеграла:
(вот это всё была математика, она к физике
никакого отношения пока не имела, а
физика – это следующее равенство), эта
величина должна равняться интегралу
от плотности заряда по объёму сферы, по
которой вычисляется поток (интеграл от
плотности по объёму это есть полный
заряд внутри сферы):
,
где
– заряд внутри сферы радиуса
.
И это утверждение верно для сферы любого
радиуса. Отсюда вывод – при центральной
симметрии напряжённость поля во всех
точках сферы радиуса
равна:
,
где
- единичный вектор нормали к сфере. Эта
формула, одна единственная, добивает
все задачи центральной симметрии.
Проблема одна – найти заряд, который
находится внутри данной сферы, ну, это
не очень тяжёлая проблема.
Можем
немножко продолжить это дело. Вследствие
того, что на любой сфере
,
интеграл по объёму можно свести, в
принципе, к однократному интегралу,
интегрируя по шаровым слоям, ну, напишу
тут без подробных комментариев
.
Вот это
объём шарового слоя радиуса
толщиной
.
Почему я тут штрихи поставил, понятно.
стоит в верхнем пределе интеграла, ну
тогда, чтоб не путать переменную
интегрирования с верхним пределом, там
я вместо
пишу
.
Значит, если вот эта функция
предъявлена, то такой интеграл вычисляется.
Так, всё, с центральной симметрией конец.
Второй случай.
2


)
Цилиндрическая симметрия.
Вводим цилиндрические координаты
,
переходит
в
.
Вот у нас в цилиндрических координатах
плотность
есть только функция от
,
то есть не зависит от
и не зависит от
.
Это означает, что имеется бесконечный
цилиндр, и на поверхности цилиндра
любого радиуса плотность заряда
постоянна, и всё это дело продолжается
до бесконечности по
,
вот такая ситуация. Сразу, конечно ясно,
что физически это не реализуется, но в
качестве некоторой идеализации это
разумно. Напишем снова
,
значит, эквипотенциальные поверхности
– это цилиндры с осью, совпадающей с
осью симметрии, то есть с осью
.
А силовые линии лежат в плоскостях
ортогональных оси
.
Так. В качестве замкнутой поверхности
выбираем цилиндрическую поверхность
радиуса
и высотой
,
цилиндрическая поверхность, закрытая
двумя крышками для того, чтобы она была
замкнутой. Нормаль всегда берётся
наружу. Из соображений симметрии ясно
(напряжённость поля в любой точке
цилиндрической поверхности направлена
вдоль вектора
,
а величина зависит только от расстояния
до оси симметрии). Поскольку у нас
поверхность теперь задана в виде
нескольких кусков, интеграл представится
как сумма интегралов по этим кускам:
.
И
нтеграл
по крышкам равен нулю, потому что вектор
скользит по крышкам, скалярное произведение
с нормалью – ноль.

.
В
нутренняя
начинка этого цилиндра
,
это интеграл по
.
,
где
- это заряд на единицу длины цилиндра
радиуса
,
то есть это заряд лепёшки радиуса
единичной толщины. Отсюда мы получаем
результат:

напряжённость
поля во всех точках цилиндрической
поверхности радиуса
.
Э
та
формула убивает все проблемы, связанные
с цилиндрической симметрией. И, наконец,
третий пункт.
3

)
Поле, создаваемое равномерно заряженной
плоскостью. Вот мы имеем
плоскость YZ,
заряженную до бесконечности. Эта
плоскость заряжена с постоянной
плотностью .
называется поверхностная
плотность заряда. Если
взять элемент поверхности
,
то в нём будет заряд
.
Значит, симметрия такова, что при сдвигах
вдоль y
и z
ничего не меняется, это
означает, что производные по y
и z
от чего угодно должны равняться нулю:
.
Это означает, что потенциал есть функция
x
только:
.
Вот такое следствие. Это означает, что
любая плоскость ортогональная оси x
является эквипотенциальной поверхностью.
На любой такой плоскости =const.
Силовые линии ортогональны этим
плоскостям, значит силовые линии –
прямые параллельные оси
x.
Из соображений симметрии следует, что,
если здесь они идут вправо от плоскости,
то слева они должны идти влево от
плоскости (ожидается, что имеется
зеркальная симметрия).
Вопрос, на самом деле, с зеркальной симметрией не такой простой. Вот ещё до не очень давнего времени, ещё на моей памяти, считалось, что зеркальная симметрия, конечно, имеет место в природе, что нет отличия между левым и правым. Но обнаружили в 60-х гг., что на самом деле такая симметрия не выполняется, природа отличает правое от левого. Будет ещё повод об этом поговорить. Но здесь это для нас выполняется.
П




усть
– единичный вектор вдоль оси x.
В качестве замкнутой поверхности берём
цилиндр, прорезающий плоскость с двумя
крышками. Напряжённости поля показаны
на рисунке.
Интеграл
по боковой поверхности ноль, потому что
силовые линии скользят по боковой
поверхности. Но как площади оснований
цилиндра
.
Если крышки взяты на одинаковых
расстояниях от плоскости, то опять
вследствие симметрии
- функция расстояния до плоскости, тогда
мы напишем так:
.
Тогда мы имеем:
,
а это заряд, который сидит внутри нашей
поверхности.
Отсюда
получается:
.
Что мы видим, что длина цилиндра, ну,
расстояние от крышек до плоскости,
выпало из формулы, то есть на любом
расстоянии от плоскости напряжённость
поля одна и та же. Значит поле однородное.
Напишем окончательно:

Эта формула автоматически учитывает и знак заряда: если. Вот эта формула даёт исчерпывающее описание поля заряженной плоскости. Если там не плоскость, а площадь конечной толщины, то поле надо разбить на тонкие пластины и вычислять.
Вот
заметьте, для точечного заряда
напряжённость поля убывает с расстоянием
как
,
для цилиндра – как
и для плоскости вообще не убывает.
Два последние случая практически нереализуемые. Тогда какой смысл в этих формулах? Такой: например, эта формула справедлива вблизи середины плоского заряженного куска. Строго такая формула (однородное поле заполняет всё пространство) ни в какой физической ситуации не реализуется.
Поле, создаваемое произвольным распределением заряда.
Поле точечного заряда.
Пусть
имеется один точечный заряд q.
Это частный случай сферической симметрии.
У нас есть формула:
,
где
– заряд внутри сферы радиуса r,
но если заряд точки, то для точечного
заряда
,
при любом r.
Понятно почему, на любом радиусе внутри
сферы точка остаётся точкой. И для
точечного заряда
.
Это поле точечного заряда. Потенциал
поля точечного заряда:
.
Поле системы точечных зарядов. Принцип суперпозиции.








Пусть
мы имеем систему зарядов
,
тогда напряжённость поля, создаваемая
системой точечных зарядов, в любой точке
равна сумме напряжённостей, создаваемых
каждым из зарядов. Я мог бы сразу написать
,
если бы вы свободно читали формулы.
Учитесь читать формулы повествовательно.
Заряд
умножьте на вектор
,
и разделите на модуль этого вектора, а
что такое модуль вектора это длина. Эта
вся штука даёт вектор, направленный
вдоль вектора
.
То,
что поля складываются это совершенно
не очевидно. Это следствие линейности
уравнений Максвелла. Уравнения линейны
по
.
Это означает, что, если вы нашли два
решения, то они складываются. Бывают ли
поля, для которых не выполняется принцип
суперпозиции? Бывают. Гравитационное
поле не в ньютоновской теории, а в
правильной, не удовлетворяет принципу
суперпозиции. Земля создаёт в некоторой
точке определённую напряжённость. Луна
тоже. Поставили Землю и Луну, напряжённость
в точке не равна сумме напряжённостей.
Уравнение поля не линейно, физически
это означат, что гравитационное поле
является само себе источником. Так. Всё,
конец.
4
В
прошлый раз мы остановились на обсуждении
поля, создаваемом системой зарядов. И
мы видели, что поля, создаваемые каждым
зарядом в отдельности в данной точке,
складываются. При этом я подчеркнул,
что это не самая очевидная вещь, - это
свойство электромагнитного взаимодействия.
Физически оно связано с тем, что поле
само для себя не является источником,
формально это следствие того, что
уравнения линейны. Есть примеры физических
полей, которые сами для себя являются
источником. То есть, если в каком-то
объёме это поле есть, так оно создаёт
само поле в окружающем пространстве,
формально это проявляется в том, что
уравнения не линейны. Я там написал
формулу для напряжённости
,
напишем ещё формулу для потенциала.
Потенциал системы точечных зарядов.
И

меется
система зарядов
и
т.д. И тогда для некоторой точки
мы напишем такую формулу:
.
Значит, вот такой рецепт для потенциала.
Напряжённость равна сумме напряжённостей,
потенциал равен сумме потенциалов.
З
амечание.
Практически всегда удобнее вычислять
потенциал, а не напряжённость, по понятным
причинам: напряжённость – это вектор,
и векторы надо складывать по правилу
сложения векторов, ну, правилу
параллелограмма, это занятие, конечно,
более скучное, чем складывать числа,
потенциал – это скалярная величина.
Поэтому, практически всегда, когда мы
имеем достаточно плотное распределение
заряда, ищем потенциал, напряжённость
поля потом находим по формуле:
.1)
Поле, создаваемое произвольным ограниченным распределением заряда1).
Ну, что тут означает эпитет «ограниченный»? То, что заряд локализован в конечной области пространства, то есть мы можем охватить этот заряд замкнутой поверхностью такой, что вне этой поверхности заряда нет. Понятно, что с точки зрения физики это не ограничение, ну, и, действительно, мы имеем дело практически всегда только с ограниченными распределениями, нет такой ситуации, чтобы заряд был размазан по всей вселенной, он концентрируется в определённых областях.
В


от
такая проблема: область занята
зарядом, по этой области размазан
электрический заряд, мы должны полностью
охарактеризовать этот заряд и найти
создаваемое им поле. Что значит полностью
охарактеризовать распределение заряда?
Возьмём элемент объёма
,
положение этого элемента задаётся
радиус-вектором
,
в этом элементе сидит заряд
.
Для того, чтобы найти поле, нам нужно
знать заряд каждого элемента объёма,
это означает, что нам нужно знать
плотность заряда в каждой точке. Вот
эта функция
предъявлена, она для нашей цели
исчерпывающе характеризует распределение
заряда, больше ничего знать не надо.
Пусть
нас интересует поле в точке
.
А дальше принцип суперпозиции. Мы можем
считать заряд dq,
который сидит в этом элементе объёма,
точечным2).
Мы можем написать сразу выражение для
потенциала, который создаёт этот элемент
в этой точке:
,
это потенциал, создаваемый элементом
в точке
.
А теперь понятно, что полный потенциал
в этой точке мы найдём суммированием
по всем элементам. Ну, и напишем эту
сумму как интеграл:
.3)
Этот
рецепт срабатывает железно для любого
предъявленного распределения заряда,
никаких проблем, кроме вычисления
интеграла, нет, но компьютер такую сумму
посчитает. Напряжённость поля находится:
.
Когда интеграл вычислен, то напряжённость
находится просто дифференцированием.
Поле на большом расстоянии от ограниченного распределения заряда.
Заодно
познакомимся со стандартным приёмом
получения приближённых решений. Проблема
такая опять. Имеем распределение
заряда1),
мы теперь попробуем получить более
точную формулу, не так радикально, а,
вот, если уйти достаточно далеко, но
ещё, когда это распределение не выглядит
совсем точечным, хотим получить более
точное приближение. Пусть у нас L
– характерный линейный размер системы,
будем считать, что
,
это можно оформить иначе:
,
это в пределах распределения,
– это малая величина.
А
теперь вот чем займёмся:
.
Стандартный приём: когда у вас имеется сумма, в которой одно слагаемое большое, а другие маленькие, то всегда есть смысл вынести большое слагаемое за скобку и получить в сумме единицу плюс какие-то маленькие добавки, которая разлагается в ряд.
Пишем
дальше:
2)
.
Мы избавились от корня, ну, потому что
.
А теперь, добывши этот результат, займёмся
формулой для потенциала:

3)
+
.
Тогда мы получаем такую формулу для
потенциала:
.
Если
бы мы произвели разложение поля в точке,
вот я там выкинул
,
если ещё взять следующие поправки, то
тут пошло бы слагаемое, которое
характеризовало бы не дипольный момент,
а, так называемый, квадрупольный момент
и дальше моменты более высоких порядков.
Вот сама такая процедура называется
разложением по мультиполям. Мультиполь
нулевого порядкам – это просто заряд,
дальше, мультиполь первого порядка –
это дипольный момент, дальше там
квадрупольный момент. Дипольный момент
задаётся вектором, квадрупольный бы
момент задавался квадратной матрицей
из девяти элементов, но вследствие
симметрии там было бы только шесть
отличных от нуля и так далее.
Это
мы нашли потенциал, ну, а теперь
поупражняемся в нахождении напряжённости.
– это даст напряжённость
поля точечного заряда, вычислим
.
=
1)=
=
2)
=
.
Тогда для напряжённости поля получаем:
.
П



оле
диполя.
Д
иполем
называется такое распределение заряда,
для которого полный заряд равен нулю,
однако дипольный момент не равен нулю:
.
Легко предъявить такое распределение.
Пусть мы имеем два одинаковых точечных
заряда, но противоположных знаков.
.
Дипольный момент у нас был определён:
.
это что означает? заряд в маленьком
элементе объёма dq
умножается на радиус-вектор
и суммируется по всем зарядам, если
записать это дело через сумму, то это
будет так:
.
Вот этот интеграл, если представить всё
это как совокупность точечных зарядов,
изображается вот такой суммой, каждый
заряд умножается на свой радиус-вектор
и всё складывается.
Между прочим, в механике, если мы брали бы массу частицы, умножали на радиус-вектор и суммировали, чтобы мы получили? Мы получили бы массу системы умноженную на радиус-вектор центра масс. Если начало координат выбрать в центре масс системы, то «дипольный момент – распределение масс» всегда равнялся бы нулю. Электрический заряд имеет разные знаки, здесь ситуация другая.
Значит,
дипольный момент для нашей системы
равняется:
.
Дипольный момент двух одинаковых по
величине и противоположных по знаку
зарядов – это вектор, идущий из
отрицательного заряда в положительный,
умноженный на заряд.
Т


еперь
найдём электрическое поле. Пусть
дипольный момент, вектор
,
в начале координат ориентирован вдоль
оси ОХ,
.
Вычислим поле в точке (х,0,0).


,
где
.
Тогда
.
Мораль
такая: на оси ОХ
напряжённость поля убывает как
,
то есть она обратно пропорциональна
кубу расстояния, от точечного заряда –
обратно пропорциональна квадрату
расстояния. Направление вектора
в точке (х,0,0)
задаётся направлением вектора
,
то есть напряжённость направлен вдоль
оси ОХ.


Теперь
возьмём точку (0,у,0).
.
Это что означает? Что для этого диполя
вектор
в точке (х,0,0)
такой, а здесь в точке (0,у,0)
вектор -
и по величине в два раза меньше, на том
же самом расстоянии, х=у.
Э
лектрический
диполь, ориентированный таким образом,
создаёт поле с такими силовыми линиями:
Вот такую структуру имеет поле диполя.
Многие молекулы обладают дипольным моментом, и с этим связаны свойства вещества, которые мы рассмотрим в следующий раз.
5
Сила, действующая на ограниченное
распределение заряда во внешнем поле
Проблема такая: имеем поле, имеем какой-то заряд, размазанный по некоторой области, локализованный заряд1). Нас интересует, какая сила будет действовать на заряженное тело, ну, или в конечном итоге, как оно будет двигаться, находясь во внешнем электрическом поле.
Вы должны, конечно, представлять, что, если это ограниченное распределение есть точечный заряд, то вы знаете, какая сила на него действует2). Наша задача найти силу, действующую на произвольное распределение заряда.
Ну, в общем-то, понятно, как это можно сделать, надо разбить распределение на совокупность точечных зарядов, находить силы, действующие на каждый из этих зарядов, и суммировать потом все силы по всему распределению. Вот такая программа. Ну, как она реализуется, мы сейчас увидим.
На
точечный заряд действует сила
,
где
,
оказывается, потенциальной
энергией заряда в
электрическом поле (мы видели в механике,
что, если сила представляется как
градиент от некоторой скалярной функции,
то эта функция интерпретируется как
потенциальная энергия), при этом имеет
место закон сохранения энергии
,
при этом заряд движется так:
,
это называется полной энергией (сумма
кинетической и потенциальной энергии).
Это для точечного заряда.
Потенциальная энергия ограниченного распределения заряда во внешнем поле.
Пусть
имеется распределение заряда, разобьём
заряд на малые элементы объёма dV,
в этом элементе объёма заряд
.
- это потенциальная
энергия заряда в элементе объёма dV,
энергия элементарного заряда. Тогда
вся потенциальная энергия этого
распределения будет равна
.
Это точная формула. Теперь мы займёмся получением приближённой формулы.
В

ыберем
некоторую точку внутри распределения,
радиус-вектор этой точки будет
,
радиус-вектор
– это вектор, идущий из выбранной точки
в этот элемент объёма,
.
Тогда потенциал в точке
– это
1)
.
Пока написано разложение с точностью
до первых производных, дальше там пойдут
слагаемые со вторыми производными и
так далее, это факт математический.
В
основе этого вычисления лежит следующее
предположение: будем считать, что
потенциал мало меняется в пределах
распределения, то есть распределение
не слишком велико. Это означает, что
второе слагаемое много меньше первого,
то есть значение потенциала в некоторой
точке внутри такое-то, а добавка к
потенциалу, когда мы доходим до края
распределения, мала, поэтому далее
слагаемые мы выкидываем вообще. Подставим
теперь это дело в формулу для потенциальной
энергии:
2)

.
Мы
добыли вот такую симпатичную формулу:
,
где
– радиус-вектор, идущий в некоторую
точку внутри распределения, это опять
разложение по мультиполям.
Ч
то
это физически означает? Главный вклад
в потенциальную энергию – полный заряд
на значение потенциала где-то внутри
распределения, поправочное слагаемое,
учитывающее дипольный момент распределения
(дипольный момент характеризует как
там размещены друг относительно друга
отрицательные и положительные заряды),
и др. характеристики, учитывающие моменты
более высоких порядков.
Чтобы
дальше эта буква
не вводила в заблуждение, перепишем
результат так:
.
А
теперь мы можем найти силу (сила – это
градиент потенциальной энергии), пишем:
.
И окончательно получим такой результат:


Сила, действующая на диполь во внешнем поле
П
усть
q=0,
но
.
Тогда сила равняется
.
Где это в физике может проявиться?
Очень многие тела
электрически нейтральны, то есть заряда
не имеют, но имеют отличный от нуля
дипольный момент. Простейший объект
такого рода – молекула. Молекула – это
такое образование, у которого положительные
и отрицательные заряды в сумме дают
ноль, но не совпадают в пространстве.
Такая система обладает дипольным
моментом
,
на который действует сила
.
Кстати,
легко понять, почему возникает сила,
действующая на диполь. Скажем, поле
создаётся положительным зарядом, имеем
диполь, систему, состоящую из отрицательного
заряда -q и положительного
+q. Результирующая
сила такая:
.
Если вы для такой ситуации примените
формулу, то увидите, что она даст
правильный результат.
М




омент
силы, действующей на диполь во внешнем
поле
Пусть
мы имеем однородное электрическое поле
и диполь, который изобразим как два
точечных заряда. На заряд +q
действует сила
,
на заряд -q
– сила
.
Если поле однородно, то эти силы в сумме
дадут ноль, но момент не равен нулю. Две
такие силы создают вращающий момент,
вектор этого момента направлен
перпендикулярно плоскости рисунка. На
электрически диполь в однородном поле
действует вот такой момент
,
этот момент сил стремится развернуть
диполь так, чтобы его дипольный момент
стал параллелен вектору
.
Э
то
вот что означает: если поле диполь
помещён в электрическое поле
,
как показано на рисунке 5.5,
то момент будет поворачивать его так,
чтобы диполь стал параллельным
,
а сила будет втягивать его дальше в
электрическое поле.
Теперь мы можем понять, как будет вести себя вещество в электростатическом поле.
Вещество в электростатическом поле
С точки зрения электричества, вещество делится на проводники и диэлектрики1). Проводники – это тела, в которых имеются свободные носители заряда, то есть заряженные частицы, которые могут свободно перемещаться внутри этого тела (например, электроны в металле, ионы в жидкости или газе). Диэлектрики – это тела, в которых нет свободных носителей заряда, то есть нет заряженных частиц, которые могли бы перемещаться в пределах этого диэлектрика. Поведение этих тел в электрическом поле различно, и сейчас мы эти различия рассмотрим.
Диэлектрики в электрическом поле
Диэлектрики – это тела, состоящие из нейтральных молекул. Молекулы бывают полярные (обладающие дипольным моментом) и неполярные (не обладающие дипольным моментом). Диэлектрик, состоящий из полярных молекул, во внешнем поле поляризуется, то есть приобретет дипольный момент за счёт преимущественной ориентации молекулярных диполей в направлении внешнего поля.
Вот имеем кусок диэлектрика, внешнее поле отсутствует. Дипольные моменты молекул ориентированы хаотически, и в среднем дипольный момент любого элемента объёма равен нулю (рис.5.6).
Однако, если мы поместим внешнее электрическое поле, появится преимущественная ориентация, все эти дипольные моменты сориентируются примерно так, как показано на рисунке 5.7. Они не смогут все построиться вдоль поля, потому что хаотическое тепловое движение разрушает структуру, но, по крайней мере, на фоне этого хаоса они будут все стремиться сориентироваться вдоль поля.
Д
иэлектрик,
состоящий из неполярных молекул, также
поляризуется, потому что
эти молекулы приобретают дипольный
момент во внешнем поле.
,
однако, если мы внесём эту молекулу во
внешнее электрическое поле, то внешнее
поле растаскивает положительный и
отрицательный заряды, и молекула
приобретает дипольный момент.
Поляризация
диэлектрика характеризуется вектором
.
Смысл этого вектора следующий: если мы
возьмём элемент объёма dV,
то дипольный момент этого объёма будет
равен
.
Значение дипольного момента малого
объёма диэлектрика пропорционально
объёму элемента, и коэффициентом стоит
вектор
,
короче
,
– это плотность дипольного момента.
Теперь
немного математики. У нас имеется
фундаментальное уравнение (первое
уравнение Максвелла, которое связывает
электрическое поле с зарядом)
.
Из этого интегрального закона следует
дифференциальный такой:
,
это по теореме Остроградского-Гаусса.
И
меет
место такая замечательная математическая
теорема для произвольного векторного
поля
.
Смысл
этой теоремы: имеем векторное поле,
имеем замкнутую поверхность, вычисляем
вектор
в каждой точке поверхности, умножаем
на нормаль, на площадь маленькой
поверхности и суммируем, этот интеграл
зависит, конечно, от поведения
на поверхности,
мы получили число, теперь, векторное
поле ведёт себя как-то внутри этой
поверхности, в каждой точке внутри
вычисляем эту самую дивергенцию, получим
число, интегрируем по объёму, получим
равенство. Поведение вектора на
поверхности, оказывается, связано с
начинкой этого объёма. Оставлю вектор
на поверхности прежним, а внутри я могу
продеформировать это поле, но, как бы
там ни деформировалось поле внутри,
интеграл не изменится (хотя, в каждой
точке дивергенция изменится).
Вот здесь действует такая хитрая связь поведения векторного поля на поверхности и поведения его внутри объёма..
Равенство
получается как следствие теоремы
Остроградского-Гаусса. Здесь справа
стоит плотность заряда, значит, дивергенция
напряжённости равна плотности заряда.
Поляризация диэлектрика
эквивалентна появлению заряда с
плотностью
.
Это не очень очевидно. Если вектор
поляризации постоянен, то никакой заряд
в объёме не появляется. Вот, если вектор
от точки к точке меняется, то это
проявляется в том, что в данном элементе
объёма появляется некий фиктивный
заряд.
С
учётом этого дела уравнение
перепишется в таком виде
,
где
– это плотность настоящих зарядов, а
– плотность связанных зарядов, вот
фиктивных зарядов, появляющихся в
результате поляризации диэлектрика.
Теперь мы это уравнение можем
преобразовать. Умножим всё
на и величину
перенесём влево, мы получим такое
уравнение:
,
где
– это плотность настоящих зарядов, или
.
Вектор
называется индукцией
электрического поля, и
для этой индукции мы получили вот такое
замечательное уравнение:
.
А
от него мы теперь с помощью теоремы
Гаусса вернёмся к интегральному
уравнению:
.
Для однородных диэлектриков
– линейная функция напряжённости поля
(
),
вообще, для произвольного диэлектрика
– это некоторая функция от напряжённости
поля (
).
Пишем тогда
,
где коэффициент
называется диэлектрическая
восприимчивость. Значит,
этот коэффициент характеризует склонность
диэлектрика к поляризации. Возвращаясь
к выражению для
,
мы получим для однородного диэлектрика:
.
Величина
называется диэлектрическая
проницаемость среды. Это
безразмерная величина, большая единицы.
Тогда связь между
и
:

П
ример.
Пусть мы имеем заряженный шар с зарядом
+Q,
помещённый в однородную бесконечную
среду с диэлектрической проницаемостью
.
Какое поле будет существовать внутри
этого диэлектрика?
Исходим
из уравнения
.
Окружаем этот заряд сферой радиуса r.
Вектор
должен быть направлен по радиусу, это
следствие сферической симметрии.
,
отсюда мы получаем:
;
.
М
ораль:
когда мы решали такую проблему для
пустоты, напряжённость поля равнялась,
когда шар поместили в диэлектрик,
напряжённость поля в раз меньше, чем в
пустоте. Легко понять, почему это
получается. Когда заряд помещают в
диэлектрик, то за счёт поляризации
диэлектрика заряд +Q
обволакивается отрицательным
зарядом -q’,
который выступает на поверхности шара.
Результирующий заряд оказывается меньше, чем Q, однако, что существенно, индукция определяется только настоящим зарядом. Заряд, проступающий на диэлектрике, не влияет на индукцию (этот вектор специально так введён). На напряжённость поля влияют все заряды, в том числе и -q’.
6
Проводники в электростатическом поле
Проводники – это тела, в которых имеются свободные носители заряда, то есть заряженные частицы, которые могут свободно перемещаться внутри этого тела. Ну, обычно, употребляется слово проводник, то в качестве синонима идёт слово металл, металлы замечательны тем, что в них имеются свободные электроны. Но, на самом деле, понятие проводника шире. Вода, например, является проводником, не сама по себе чистая вода Н>2>О, она состоит из нейтральных молекул, и никаких там свободных частиц нет, но в воде обычно присутствует в растворённом виде соль, то есть йод, и за счёт этого практически вся вода является проводником.
К
стати,
уже в связи с тем, что мы в прошлый раз
рассматривали, диэлектрики. Диэлектрическая
проницаемость воды очень велика по
сравнению с вот такой чистой водой,
поэтому, вода является очень эффективным
растворителем для многих веществ, ну,
скажем, для твёрдых тел, которые устроены
по ионной схеме. Так, если молекулы
скреплены в твёрдом теле за счёт
кулоновского взаимодействия (скажем,
один атом электрон приобретает, другой
теряет, вот эти атомы связаны кулоновскими
силами), то такие связи вода разрушает
очень эффективно за счёт своей большой
диэлектрической проницаемости.
Положительный и отрицательный заряды
обволакиваются связанными зарядами, и
эти связи разрушаются. Вода в этом плане
является очень хорошим растворителем.
Вода, вообще, замечательное вещество. Все тела при охлаждении сжимаются, то есть плотность растёт (при охлаждении плотность увеличивается, при нагревании падает). Вот имеется аномальное явление в этом: максимальная плотность воды при +4ОС, при температуре ниже +4ОС плотность опять падает, то есть дальнейшее падение температуры приводит к падению плотности, то есть к расширению воды. Вот это удивительное поведение связано с тем, что вода играет в нашей жизни вот такую выдающуюся роль: во-первых, хороший растворитель для различных минеральных солей, а во-вторых, вот такое аномальное поведение плотности. Если бы этого не было, то, к примеру, в водоёмах, озёрах, реках, жизни не было бы, водоёмы промерзали бы до дна, а так водоёмы не промерзают. Ну, почему промерзают? Верхний слой воды охлаждается и идёт книзу, поскольку у него больше плотность, тёплые слои снизу выталкиваются наверх и охлаждаются снова. И это охлаждение шло бы очень эффективно. На самом деле этого не происходит. Когда температура нижних слоёв +4ОС, они приобретают максимальную плотность и не всплывают. Охлаждение может идти только за счёт теплопроводности, не за счёт перемещения масс, а за счёт теплопроводности. Теплопроводность – медленный процесс, и, скажем, за зиму водоём не успевает промёрзнуть, а, вот, если бы плотность воды не вела себя так, то он бы промерзал до дна и, в конце концов, всё, что там живёт, отдавало бы концы, а так в этой воде +4ОС живёт.
Некоторые утверждения:
1.
Напряжённость внутри
проводника равна нулю (это
в электростатическом поле). По понятной
причине. Если бы существовало поле, то
на заряд е
действовала бы сила равная
,
и под действием этой силы заряды внутри
проводника двигались бы (электроны в
металле двигались бы). До каких пор они
могут двигаться? Ясно, что вечно двигаться
они не могут, ну, скажем, у нас кусок
железа лежит, и в нём они двигаются,
двигаются и двигаются, железо греется
при этом, а вокруг ничего не происходит.
Это, конечно, было бы нелепо. А происходит
следующее: имеем проводник и включается
внешнее электростатическое поле, заряды
начинают двигаться, при этом происходит
такое перемещение зарядов внутри, что
их собственное поле полностью гасит
внешнее приложенное поле, на этом процесс
останавливается. Это перемещение при
обычных мерках практически мгновенно.
Значение напряжённости электрического
поля внутри проводника равно нулю.
Отсюда следствие
2. Потенциал внутри проводника – константа. Ну, очевидно, напряжённость – это градиент потенциала, производная от потенциала, если напряжённость – ноль (это означает, что производная – ноль), сама функция – постоянная. Потенциал во всех точках проводника одинаков. Это утверждение верно для всех точек проводника вплоть до поверхности. Отсюда мораль:
3. Поверхность проводника является эквипотенциальной поверхностью. Ну, и отсюда:
4. Силовые линии поля ортогональны поверхности проводника.
В

сё
это можно резюмировать такой картинкой:
Скажем, имеем точечный заряд и проводник, внесённый в поле этого заряда. Произойдёт следующее: там, где силовые линии входят, сконцентрируется на поверхности проводника отрицательный заряд, скажем, электроны сюда подойдут, а на противоположной стороне появятся положительные заряды, это не скомпенсированные заряды ионов, из которых построена кристаллическая решётка.
Силовые линии поля будут ортогонально втыкаться в проводник, с другой стороны они будут исходить, опять же ортогонально к поверхности проводника. Ну, и, в общем-то, электрическое поле будет существенно изменено. Мы видим, что, если поверхность проводника будет внесена в поле заряда, вся конфигурация поля будет искажена. Если на проводник посадить заряд (либо снять с него часть электронов, либо насадить), этот заряд будет распределяться так, чтобы напряжённость внутри была равна нулю и чтобы поверхность проводника приняла во всех точках одинаковый потенциал.
Эту вещь полезно иметь в виду, тогда можно качественно представлять себе, как выглядит поле в окрестности заряженного проводника.
Я нарисую произвольный проводник и на него посажу заряд +q, ну, уединённый проводник (больше ничего нет). Какова будет структура поля? Соображения такие: поверхность эквипотенциальная, потенциал меняется непрерывно, значит, соседняя эквипотенциаль будет мало отличаться от этой. Вот, я могу более менее качественно нарисовать систему эквипотенциальных поверхностей. Дальше они будут так выпрямляться, и, в конце концов, на больших расстояниях орбитами будут сферы, как от точечного заряда. А теперь, силовые линии поля ортогональны этим поверхностям…
Вот такой ёж получился. Вот такая картина силовых линий.
Теперь немножко математики.
Мы
имеем уравнение
.
В пустоте
,
учитывая, что
,
мы получаем такое уравнение:
1).
Потенциал электрического поля в пустоте
удовлетворяет уравнению
,
которое называется уравнением Лапласа.
Математически
эта проблема сводится к решению такого
уравнения при заданных граничных
условиях, что
на заданной поверхности2).
Конденсаторы
Пусть
мы имеем отдельный проводник, на который
посажен заряд q,
этот проводник создаёт поле такой
конфигурации, как на рисунке 6.2.
Потенциал этого проводника одинаков
во всех токах, поэтому можно говорить
просто потенциал проводника, а, вообще-то,
слово потенциал требует указания точки,
в которой этот потенциал определяется.
Можно показать, что потенциал уединённого
проводника – линейная функция заряда,
который на него посажен,
,
увеличите заряд вдвое, потенциал
увеличится вдвое. Это не очевидная вещь,
и я не могу привести каких-нибудь
аргументов на пальцах, чтобы пояснить
вот эту зависимость. Получается так,
что структура поля не меняется, ну,
картина силовых линий не меняется,
просто растут напряжённости поля во
всех точках пропорционально этому
заряду, но общая картина не меняется.
Ещё раз повторяю – не очевидная вещь.
Ну, ладно, потенциал уединённого
проводника – линейная функция заряда,
.
Пишем тогда
,
вводя коэффициент пропорциональности
вот таким способом, где этот коэффициент
пропорциональности С
определяется геометрией проводника и
называется ёмкостью
уединённого проводника1).
Ёмкость проводника не является его
свойством, то есть на каком-то куске
железа нельзя написать «ёмкость
такая-то», потому что наличие или
отсутствие посторонних тел вблизи
меняет эту ёмкость. Его ёмкость,
коэффициент пропорциональности, ёмкость
отдельного проводника не является
свойством этого проводника, она ещё
зависит, помимо его, от наличия или
отсутствия других тел. Однако, имеются
устройства, которые называются
конденсаторы, специальные устройства,
для которых понятие ёмкости имеет
однозначный смысл.
Конденсатором, вообще говоря, называется система из двух проводников, из которых один полностью охватывает другой, то есть, в идеале, конденсатор – вот такая штука:
Если
на внутреннем проводнике заряд +q,
а на внешнем -q.
Внутри возникает электрическое поле
вот такой конфигурации (силовые линии
ортогональны поверхностям). И никакие
внешние заряды не оказывают влияния на
это поле, внешние поля не проникают
внутрь проводящей полости, то есть от
электростатического поля можно
заэкранироваться. Хотите жить без
электрического поля, вот, залезьте в
железную бочку, закройтесь крышкой и
всё, оно к вам туда не проникнет, скажем,
транзистор у вас там в руках в этой бочке
работать не будет, электромагнитные
волны туда не будут проникать. Почему,
кстати? А потому что внутри проводника
поле равно нулю, поскольку напряжённость
связана с распределением заряда на
поверхности, а начинка проводника уже
там не участвует, вы можете выкинуть
эту начинку, получить полость, ничего
от этого не изменится. Внутри проводника
поле определяется только конфигурацией
этих проводников и не зависит от внешних
зарядов, тогда, если на внутреннем
проводнике потенциал
,
а на внешнем
,
то мы снова будем иметь такую вещь, что
внутренняя энергия пропорциональна
заряду:
,
заряду q,
который сидит на картинке внутри
проводника. Тогда пишем:
.
Такое устройство называется конденсатором,
и величина С
называется ёмкостью
конденсатора. Вот это уже
свойство устройства, на нём можно
написать: «ёмкость С».
Конденсатор – это распространённые
элементы в электричестве, в электротехнике
и в радиотехнике, и на них прямо написано
«ёмкость такая-то», и эта величина уже
не зависит от того, что имеется вокруг.
По размерности ёмкость что такое?
,
ёмкость в одну фараду – это ёмкость
такого устройства, что, если на него
посадить заряд в 1Кл (это колоссальный
заряд), то разность потенциалов будет
1В. Нет таких конденсаторов на свете,
на Земле просто невозможно построить
такой конденсатор,
чтобы он имел ёмкость в фараду,
поэтому, подходя к этой ёмкости, мы будем
использовать микрофарады.
Энергия конденсатора
У


словно,
два проводника представляют конденсатор.
Каким образом можно посадить заряд на
эти проводники, ну, зарядить конденсатор?
Так, например: берём заряд
и переносим с одного проводника на
другой, допустим, с одного снимаем
несколько электронов и тащим на другой,
вот это процесс заряда конденсатора.
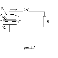
Как фактически это делается, как можно
перетащить электроны с одного проводника
на другой? Имеем два проводника,
подключается источник, батарейка, ключ
замыкается, батарея начинает перегонять
заряды с одного проводника на другой.
До каких пор нам удастся перегонять их
это отдельный вопрос, мы его в своё время
рассмотрим, а сейчас просто: внутри этой
батареи действуют силы, сторонние силы
по отношению к электростатике, и эти
силы перегоняют заряды с одного проводника
на другой. Ясно, чтобы это разделение
произвести, нужно затратить определённую
работу. Вот почему: мы сняли электрон,
появился положительный заряд, и этот
электрон начинает притягиваться к
положительному заряду, нам надо совершать
работу, чтобы оттащить его от этого
заряда. Эту работу можно сосчитать.
Пусть мы имеем два проводника, с
потенциалами
и
,
мы переносим заряд
,
при этом совершается работа, равная
.
Учтём теперь, что разность потенциалов
является функцией заряда:
,
тогда работа
,
и полная работа будет
.
Если мы добиваемся того, что на каждом
проводнике становится заряд, равный по
модулю q,
то совершается такая работа. Спрашивается,
куда эта работа девается? Запасается в
виде энергии конденсатора, и её можно
получить обратно. Энергия конденсатора
равняется:
.
Кстати, это поясняет слово конденсатор
(накопитель): с одной стороны это
накопитель заряда, с другой стороны это
накопитель энергии, и в качестве
накопителей энергии конденсаторы,
действительно, используются. Если
конденсатор разряжается, эта энергия
освобождается. Кстати конденсаторы
большой ёмкости (сооружения порядка
этой аудитории) при замыкании разряжаются
со страшным громом, это драматический
процесс.
Энергия электростатического поля
Проблема такая: заряженный конденсатор обладает энергией, где локализована эта энергия, с чем она связана? Энергия – это интегральная характеристика, просто устройство обладает такой энергией, вопрос, повторяю, стоит в локализации энергии, то есть это энергия чего? Ответ такой: энергия конденсатора – это, на самом деле, энергия электростатического поля, энергия принадлежит полю, ни обкладкам конденсатора, ни заряду. Мы дальше получим чёткую теорему для энергии электромагнитного поля, а сейчас некоторые простые соображения.
П

лоский
конденсатор. Вот устройство,
называемое плоским конденсатором, всем
хорошо известное:
Имеется
в виду, что расстояние между пластинами
много меньше характерного линейного
размера,
,
S
– площадь пластин. Пластины имеют
большую площадь, зазор маленький, в этом
случае силовые линии поля однородны и
внешние заряды на него не влияют.
Напряжённость поля равняется
,
где
.
Мы знаем формулу для пластины с
поверхностной плотностью
:
,
между пластинами поля складываются,
снаружи уничтожаются. Так как поле
однородное, разность потенциалов
равняется:
,
где d
– расстояние между пластинами. Тогда
мы получим, что
.
Действительно, обнаружили, что разность
потенциалов между пластинами – линейная
функция заряда, это частное подтверждение
общего правила. А коэффициент
пропорциональности связан с ёмкостью:
.
Если объём конденсатора заполнен
начинкой из диэлектрика, то будет более
общая формула:
1).
А
теперь займёмся формулой для энергии
конденсатора:
.
Эта формула справедлива всегда. Для
плоского конденсатора
мы получим:
,
где V
– это объём области между пластинами.
При наличии диэлектрика энергия плоского
конденсатора равна:
.
Напряжённость поля внутри плоского
конденсатора во всех точках одинакова,
энергия пропорциональна объёму, а эта
вещь
тогда выступает как плотность энергии,
,
э
нергия,
приходящаяся на единицу объёма внутри
конденсатора. Повторяю, дальше хорошее
доказательство увидим, это пока к
ак
наводящее соображение, но положение
таково. Электростатическое поле обладает
энергией, и, если мы возьмём элемент
объёма dV,
а внутри этого элемента напряжённость
поля равняется Е,
то внутри этого объёма будет содержаться
энергия
,
определяемая напряжённостью поля в
точке внутри этого элемента. В любом
конечном объёме V
будет содержаться энергия, равная
.
Что
это значит? Буквально вот что. Сейчас в
этой аудитории имеется электростатическое
поле, связанное с тем, что Земля обладает
некоторым зарядом, и заряд противоположного
знака в атмосфере, это поле однородное,
я уже упоминал, наверняка, напряжённость
такая: в точках, в которые я сейчас ткнул,
разность потенциалов порядка 100В, то
есть напряжённость этого поля порядка
100В/м.
Значит, в этой аудитории присутствует
энергия, вычисленная по этой формуле:
,
она размазана по всему пространству,
энергия принадлежит электрическому
полю. Можно ли её использовать? Тут
тонкость такая, скажем, я пришёл с
чемоданом, поставил тут чемодан, открыл
его, потом закрыл, в объёме чемодана
есть электрическое поле и, соответственно,
энергия. Я взял чемодан и ушёл, унёс ли
я эту энергию? Нет, потому что чемодан-то
я унёс, а поле как было здесь, так и
осталось. Тем не менее, можно ли эту
энергию как-нибудь добыть? Да. Надо
сделать так, чтобы энергия исчезла в
этом объёме, скажем, электрическое поле
исчезло в объёме этой аудитории, и тогда
эта энергия выделится, если мы уничтожим
поле, то энергия выделится.
П
роцедура,
например, такая: вот имеется однородное
поле, я беру металлическую пластину и
вдвигаю её в это поле перпендикулярно
силовым линиям, работа при этом не
совершается и ничего не происходит;
вдвигаю ещё одну пластину таким же
образом, тоже ничего не происходит, ну,
правда, внутри проводящей пластины поле
исчезает, на поверхности выступают
заряды, но это ерунда. А теперь я беру
проводничок к одной пластине, ключ и
проводничок к другой, тоже невинное
дело, ничего при этом не происходит. А
когда я замыкаю ключ, что произойдёт?
Эти две пластины соединяются, это один
проводник, это означает, что их потенциалы
должны уравняться. Вначале на одном
проводнике был потенциал
,
на другом
,
и разность потенциалов равнялась
,
где d
– это расстояние между пластинами, а
когда я их соединяю проводником
=
,
как это может быть? Исчезает поле между
пластинами, потому что разность
потенциалов – это интеграл
.
Когда я их закорачиваю проводником,
получается такая конфигурация:
Энергия этого исчезнувшего поля выделяется при замыкании. Я мог бы её даже утилизировать: не просто замкнуть, а мотор вставил бы, и при замыкании заряд перетекал бы по обмоткам электромотора, он прокрутится и совершит работу (если вы ключ разомкнёте, поле не восстановится).
Н
а
сколько этот процесс реализуется? Что
такое молния и гром? Имеем землю, имеем
облако (это обкладки конденсатора),
между ними такое электрическое поле:
Что такое молния? Пробой, это порводничок, он сам собой замыкается. Происходит разряд, исчезает поле между облаком и землёй. Гром, это что такое? Выделение энергии этого поля. Весь этот гром, треск и молния – это выделение энергии между облаком и землёй.
Энергия
конденсатора – это
.
Конечно, чтобы взять этот интеграл,
нужно знать всё поле во всём пространстве,
и каким же образом получается такая
простая формула
?
Ёмкость, на самом деле, это интегральная
характеристика, для того, чтобы найти
ёмкость какой-то системы зарядов, нужно
знать поле во всём пространстве. Вся
трудность вычисления интеграла
эквивалентна трудности вычисления
ёмкости.
Стационарные магнитные поля
Напомню,
как мы добыли электростатику. У нас есть
четыре уравнения Максвелла, в которых
сидит всё электричество. Мы там положили
,
,
получили электростатику. Мы теперь
ослабим эти наложенные условия, мы
теперь положим
,
но
,
получим стационарное магнитное поле.
То есть со временем ничего не меняется,
но плотность тока
,
а
связано с движением заряда. Заряды
двигаются, но стационарно, двигаются
так, что в любой точке пространства со
временем ничего не меняется. Наглядный
пример: течёт река, массы воды движутся,
но течение стационарно, скорость воды
в каждой точке одна и та же. Когда ветер
дует то туда, то сюда порывами, это не
стационарное течение, а, если ветер дует
без порывов: в ушах свистит и всё, а
ничего не меняется со временем, то это
пример стационарного течения.
Уравнения электростатики (первое и второе уравнения Максвелла) остаются без изменения, а третье и четвёртое будут иметь вид:

Стационарное означает неменяющееся со временем. Ладно, свойства этого поля мы обсудим в следующий раз.
7
Мы
изучаем стационарное магнитное поле.
Напомню исходные положения:
,
то есть заряды движутся, но стационарно.
Это поле будет описываться двумя
уравнениями (третьим и четвёртым
уравнениями Максвелла):

.
Что
означает третье уравнение?
Что поток вектора
через любую замкнутую поверхность равен
нулю, где бы эта поверхность ни была
взята и какую бы форму она не имела. Это
означает, что вклады в поток знакопеременны,
то есть где-то вектор направлен внутрь
поверхности, а где-то наружу. Формально
из равенства 3. можно показать, что,
сколько линий выходит из поверхности,
столько в неё и входит. Иначе, никакая
силовая линия не заканчивается внутри
замкнутой поверхности и никакая не
начинается. Как это может быть? Это может
быть только так: все силовые линии
замкнуты. Короче говоря, из третьего
уравнения следует, что силовые
линии индукции магнитного поля замкнуты.
То есть силовая линия может как-то идти,
идти, но она обязательно вернётся и
укусит себя за хвост.
Для
электрического поля мы имели такую
вещь:
.
Слева конструкция такая же, но справа
стоял заряд внутри поверхности. Отсюда
следствия: 1) силовые линии замкнуты и
2) отсутствуют магнитные заряды, то есть
нет таких частиц, из которых выходили
бы таким образом (см. рис.7.1)
линии индукции, такие частицы называются
магнитными монополями.
М
агнитные
монополи отсутствуют. Это специальная
проблема физики. Физика вслед за природой,
которую она отражает, любит симметрию,
и уравнения максвелла обладают симметрией,
но ограниченно, в частности, для
напряжённости справа стоит сумма
зарядов, для магнитной индукции здесь
стояла бы сумма магнитных монополей.
Вот такое нарушение симметрии раздражает,
повторяю, природа любит симметрию. Были
попытки лет двадцать назад обнаружить
монополи, так кажется, из соображений
симметрии должны они быть, но не
обнаружили. Теории приходилось искать
причины, почему их нет. Соображения
симметрии настолько довлеют, что её
нарушения требуют какого-то объяснения.
Ну, разные есть гипотезы, в которых
фигурируют эти монополи, но почему мы
не обнаруживаем их здесь, тоже там разные
объяснения, вплоть до того, что на ранних
стадиях возникновения Вселенной они
были и попросту оказались вытолкнутыми
за пределы окружающего нас пространства.
В общем, есть теории, в которых они
фигурируют, и в рамках тех теорий ищутся
объяснения, почему мы их не находим на
Земле. Пока мы, ссылаясь на то, что они
не обнаружены, пишем здесь ноль и имеем
дело только с замкнутыми силовыми
линиями.
Т
еперь
обратимся к четвёртому уравнению. Читаем
его: возьмём замкнутый контур, зададимся
направлением обхода (обход и нормаль
должны образовывать правый винт), в
каждой точке определяем
,
берём скалярное произведение
,
получаем число, для всех элементов
находим эти скалярные произведения,
получаем циркуляцию
по контуру, это некоторое число. Уравнение
утверждает, что, если эта циркуляция
отлична от нуля, то отлична от нуля
правая часть. А здесь что? Плотность
тока
связана с движущимися зарядами, скалярное
произведение
- это заряд, который проскакивает через
эту площадку за единицу времени. Если
циркуляция по контуру отлична от нуля,
то это означает, что какие-то заряды
пересекают поверхность, натянутую на
этот контур. Это смысл четвёртого
уравнения.
Т

огда
мы можем сделать такой вывод: силовые
линия магнитного поля замкнута, возьмём
в качестве контура какую-то линию
магнитного поля, по этой линии
,
потому что произведение
не меняет знак. Это означает, что, если
я возьму поверхность S,
натянутую на силовую линию магнитного
поля, то, заведомо, эту поверхность
пересекают заряды таким образом:
Можно
сказать, что силовая линия магнитного
поля всегда охватывает ток, иначе говоря,
это выглядит так: если мы имеем проводник,
по которому течёт ток ,
для любого контура, который охватывает
проводник с током,
;
если имеется несколько проводников,
опять я возьму контур, поверхность, на
него натянутую, её протыкают два
проводника, тогда
,
при чём с учётом знаков: ток >1>
- положительный, >2>
-отрицательный. Мы имеем тогда
.
Вот это сразу общие такие свойства
магнитного поля и тока. Значит, силовая
линия всегда охватывает ток.
Магнитное поле бесконечного прямого проводника с током
П
усть
вдоль оси OZ
расположен бесконечно
длинный проводник, по которому течёт
ток с силой .
А сила тока это что такое?
,
- заряд, который пересекает поверхность
S
за время
.
Система обладает осевой симметрией.
Если мы введём цилиндрические координаты
r,,
z, то цилиндрическая
симметрия означает, что
и, кроме того,
,
при смещении вдоль оси OZ,
мы видим то же самое. Таков источник.
Магнитное поле должно быть таким, чтобы
удовлетворялись эти условия
и
.
Это означает вот что: силовые линии
магнитного поля – окружности, лежащие
в плоскости ортогональной проводнику.
Это немедленно позволяет найти магнитное
поле.
П
усть
у нас это проводник.
Вот ортогональная плоскость,
вот окружность радиуса r,
я возьму тут касательный вектор, вектор, направленный вдоль , касательный вектор к окружности.
Тогда,
,
где
.
В
качестве замкнутого контура выбираем
окружность радиуса r=const.
Пишем тогда
,
сумма длин по всей окружности (а интеграл
это ни что иное, как сумма) – это длина
окружности.
,
где
– сила тока в проводнике. Справа стоит
заряд, который пересекает поверхность
за единицу времени. Отсюда мораль:
.
Значит, прямой проводник создаёт
магнитное поле с силовыми линиями в
виде окружностей, охватывающих проводник,
и эта величина В
убывает как
при удалении от проводника, ну, и стремится
к бесконечности, если мы приближаемся
к проводнику, когда контур уходит внутрь
проводника.
Э
тот
результат только для случая, когда
контур охватывает ток. Понятно, что
бесконечный проводник нереализуем.
Длина проводника, – наблюдаемая величина,
и никакие наблюдаемые величины не могут
принимать бесконечных значений, не
такой линейки, которая позволила бы
измерить бесконечную длину. Это
нереализуемая вещь, тогда какой толк в
этой формуле? Толк простой. Для любого
проводника, будет справедливо следующее:
достаточно близко к проводнику силовые
линии магнитного поля – вот такие
замкнутые окружности, охватывающие
проводник, и на расстоянии
(R
– радиус кривизны
проводника), будет справедлива эта
формула.
Магнитное поле, создаваемое произвольным проводником с током.
Закон Био-Савара.
П
усть
мы имеем произвольный проводник с током,
и нас интересует магнитное поле,
создаваемое куском этого проводника в
данной точке. Как, кстати, в электростатике
находили мы электрическое поле,
создаваемое каким-то распределением
заряда? Распределение разбивали на
малые элементы и вычисляли в каждой
точке поле от каждого элемента (по закону
Кулона) и суммировали. Такая же программа
и здесь. Структура магнитного поля
сложнее, чем электростатическое, кстати,
оно не потенциально, замкнутое магнитное
поле нельзя представить как градиент
скалярной функции, у него другая
структура, но идея та же самая. Разбиваем
проводник на малые элементы. Вот я взял
маленький элемент
,
положение этого элемента определяется
радиус-вектором
,
а точка наблюдения задаётся радиус-вектором
.
Утверждается, что этот элемент проводника
создаст в этой точке индукцию
по такому рецепту:
.
Откуда берётся этот рецепт? Его нашли
в своё время экспериментально, трудно
мне, кстати, представить, как это можно
было экспериментально найти такую
достаточно сложную формулу с векторным
произведением. На самом деле это следствие
четвёртого уравнения Максвелла
.
Тогда поле, создаваемое всем проводником:
,
или, мы можем написать теперь интеграл:
.
Понятно, что вычислять такой интеграл
для произвольного проводника занятие
не очень приятное, но в виде суммы это
нормальная задача для компьютера.
Пример. Магнитное поле кругового витка с током.
П

усть
в
плоскости
YZ
располагается проволочный виток радиуса
R,
по которому течёт ток силы .
Нас интересует магнитное поле, которое
создаёт ток. Силовые линии вблизи витка
такие:
Общая картина силовых линий тоже просматривается (рис.7.10).







П
о
идее, нас интересовало бы поле
,
но в элементарных функциях указать поле
этого витка нельзя. Найти можно только
на оси симметрии. Мы ищем поле в точках
(х,0,0).
Направление
вектора
определяется векторным произведением
.
Вектор
имеет две составляющие:
и
.
Когда мы начнём суммировать эти вектора,
то все перпендикулярные составляющие
в сумме дадут ноль.
.
А теперь пишем:
,
=
,
а
.
,
и, наконец1),
.
Мы добыли такой результат:

А
теперь, в качестве проверки, поле в
центре витка равна:
.
Поле длинного соленоида.
Соленоидом называется катушка, на которую намотан проводник.
М
агнитное
поле от витков складывается, и не трудно
догадаться, что структура силовых линий
поля такая: они внутри идут густо, а
дальше разреженно. То есть для длинного
соленоида снаружи будем считать
=0,
а внутри соленоида
=const.
Внутри длинного соленоида, ну, в
окрестности. Скажем, его середины,
магнитное поле практически однородно,
а вне соленоида это поле
мало. Тогда мы можем найти это магнитное
поле внутри следующим образом: вот я
беру такой контур (рис.7.13),
а теперь пишем:
1)

.
- это полный заряд. Эту
поверхность протыкают витки
(полный
заряд)=
(число
витков, протыкающих эту поверхность).
Мы
получим такое равенство из нашего
закона:
,
или
.
8
Поле на большом расстоянии от ограниченного распределения тока.
Магнитный момент
Имеется в виду, что в ограниченной области пространства текут токи, тогда есть простой рецепт для нахождения магнитного поля, которое создаёт это ограниченное распределение. Ну, кстати, под это понятие ограниченное пространство подпадает любой источник, поэтому тут никакого сужения нет.
Если
характерный размер системы
,
то
.
Напомню, что мы решали аналогичную
проблему для электрического поля,
создаваемого ограниченным распределением
заряда, и там появилось понятие дипольного
момента, и моментов более высокого
порядка. Решать эту задачу я здесь не
буду.
П
о
аналогии (как делалось в электростатике)
можно показать, что магнитное поле от
ограниченного распределения на больших
расстояниях подобно электрическому
полю диполя. То есть структура этого
поля такая:
Распределение
характеризуется магнитным моментом
.
Магнитный момент
,
где
– плотность тока или, если учесть, что
мы имеем дело с движущимися заряженными
частицами, то вот эту формулу для сплошно
среды мы можем выразить через заряды
частиц таким образом:
.
Что эта сумма выражает? Повторяю,
распределение тока создаётся тем, что
движутся эти заряженные частицы.
Радиус-вектор i-ой
частицы векторно умножается на скорость
i-ой
частицы и всё это умножается на заряд
этой i-ой
частицы.
Такая
конструкция, кстати, у нас в механике
была. Если вместо заряда без множителя
написать массу частицы, то, что это будет
изображать? Момент импульса системы.
Если
мы имеем частицы одного сорта (
,
например, электроны), то тогда мы можем
написать
.
Значит, если ток создаётся частицами
одного сорта, то магнитный момент связан
просто с моментом импульса этой системы
частиц.
Магнитное поле, создаваемое этим магнитным моментом равно:
(8.1)
Магнитный момент витка с током
П


усть
у нас имеется виток и по нему течёт ток
силы .
Вектор
отличен от нуля в пределах витка. Возьмём
элемент этого витка
,
,
где S
– поперечное сечение
витка, а
– единичный касательный вектор. Тогда
магнитный момент определён так:
.
А что такое
?
Это вектор, направленный
вдоль вектора нормали к плоскости витка
.
А векторное произведение двух векторов
– это удвоенная площадь треугольника,
построенного на этих векторах. Если dS
– площадь треугольника, построенного
на векторах
и
,
то
.
Тогда мы пишем магнитный момент равняется
.
Значит,
(
магнитный
момент витка с током)=(сила
тока)
(площадь
витка)
(нормаль
к витку)1).
А теперь мы формулу (8.1) применим для витка с током и сопоставим с тем, что мы добыли в прошлый раз, просто для проверки формулы, поскольку формулу эту я слепил по аналогии.
Пусть
мы имеем в начале координат виток
произвольной формы, по которому течёт
ток силы ,
тогда поле в точке на расстоянии х
равно:
(
).
Для круглого витка
,
.
На прошлой лекции мы находили магнитное
поле круглого витка с током, при
эти формулы совпадают.
На больших расстояниях от любого распределения тока магнитное поле находится по формуле (8.1), а всё это распределение характеризуется одним вектором, который называется магнитный момент. Кстати, простейший источник магнитного поля это магнитный момент. Для электрического поля простейший источник это монополь, для электрического поля следующий по сложности это электрический диполь, а для магнитного поля всё начинается с этого диполя или магнитного момента. Это, ещё раз обращаю внимание, постольку, поскольку нет этих самых монополей. Был бы монополь, тогда было бы всё также как в электрическом поле. А так у нас простейший источник магнитного поля это магнитный момент, аналог электрического диполя. Наглядный пример магнитного момента – постоянный магнит. Постоянный магнит обладает магнитным моментом, и на большом расстоянии его поле имеет такую структуру:
Сила, действующая на проводник с током в магнитном поле
Мы
видели, что на заряженную частицу
действует сила, равная
.
Ток в проводнике есть результат движения
заряженных частиц тела, то есть равномерно
размазанного заряда в пространстве
нет, заряд локализован в каждой частице.
Плотность тока
.
На i-ую
частицу действует сила
.
В
ыберем
элемент объёма
и просуммируем силы, действующие на все
частицы этого элемента объёма
.
Сила, действующая на все частицы в данном
элементе объёма, определяется как
плотность тока на магнитное поле и на
величину элемента объёма. А теперь
перепишем её в дифференциальном виде:
,
отсюда
– это плотность силы,
сила, действующая на единицу объёма.
Тогда мы получим общую формулу для силы:
.
О
бычно
ток течёт по линейным проводникам, редко
мы сталкиваемся с случаями, когда ток
размазан как-то по объёму.
Хотя, между прочим, Земля имеет
магнитное поле, а от чего это поле?
Источник поля это магнитный момент, это
означает, что Земля обладает магнитным
моментом. А это означает, что тот рецепт
для магнитного момента показывает, что
должны быть какие-то токи внутри Земли,
они по необходимости должны быть
замкнутыми, потому что не может быть
стационарного разомкнутого поля. Откуда
эти токи, что их поддерживает? Я не
специалист в земном магнетизме. Какое-то
время назад определённой модели этих
токов ещё не было. Они могли быть там
когда-то индуцированы и ещё не успели
там затухнуть. На самом деле, ток можно
возбудить в проводнике, и потом он быстро
сам кончается за счёт поглощения энергии,
выделения тепла и прочего. Но, когда мы
имеем дело с такими объёмами как Земля,
то там время затухания этих токов,
однажды каким-то механизмом возбуждённых,
это время затухания может быть очень
длительным и длиться геологические
эпохи. Может быть, так оно и есть. Ну,
скажем, мелкий объект типа Луны имеет
очень слабое магнитное поле, это означает,
что оно затухло там уже, скажем, магнитное
поле Марса тоже значительно слабее поля
Земли, потому что и марс меньше Земли.
Это я к чему? Конечно, есть случаи, когда
токи текут в объёмах, но то, что мы здесь
на Земле имеем это обычно линейные
проводники, поэтому эту формулу сейчас
трансформируем применительно к линейному
проводнику.
П
усть
имеется линейный проводник, ток течёт
с силой .
Выберем элемент проводника
,
объём этого элемента dV,
,
.
Сила, действующая на элемент проводника
перпендикулярна плоскости треугольника,
построенного на векторах
и
,
то есть направлена перпендикулярно к
проводнику, а полная сила находится
суммированием. Вот, две формулы решают
эту задачу.
Магнитный момент во внешнем поле
Магнитный
момент сам создаёт поле, сейчас мы
собственное его поле не рассматриваем,
а нас интересует, как ведёт себя магнитный
момент, помещённый во внешнее магнитное
поле. На магнитный момент действует
момент силы, равный
.
Момент силы будет направлен перпендикулярно
к доске, и этот момент будет стремиться
развернуть магнитный момент вдоль
силовой линии. Почему стрелка компаса
показывает на северный полюс? Ей, конечно,
нет дела до географического полюса
Земли, стрелка компаса ориентируется
вдоль силовой линии магнитного поля,
которая, в силу случайных причин, кстати,
направлена примерно по меридиану. За
счёт чего? А на неё действует момент.
Когда стрелка, магнитный момент,
совпадающий по направлению с самой
стрелкой, не совпадает с силовой линией,
появляется момент, разворачивающий её
вдоль этой линии. Откуда у стрелки
компаса берётся магнитный момент, это
мы ещё обсудим.
К
роме
того, на магнитный момент действует
сила
,
равная
.
Если магнитный момент направлен вдоль
,
то сила втягивает магнитный момент в
область с большей индукцией. Эти формулы
похожи на то, как действует электрическое
поле на дипольный момент, там тоже
дипольный момент ориентируется вдоль
поля и втягивается в область с большей
напряжённостью. Теперь мы можем
рассмотреть вопрос о магнитном поле в
веществе.
Магнитное поле в веществе
А
томы
могут обладать магнитными моментами.
Магнитные моменты атомов связаны с
моментом импульса электронов. Уже была
получена формула
,
где
– момент импульса частицы создающей
ток. В атоме мы имеем положительное ядро
и электрон е,
вращающийся по орбите, на самом деле, в
своё время мы увидим, что эта картина
не имеет отношения к реальности, так
нельзя представлять электрон, который
вращается, но остаётся то, что электрон
в атоме обладает моментом импульса, и
этому моменту импульса будет отвечать
такой магнитный момент:
.
Наглядно, заряд, вращающийся по окружности,
эквивалентен круговому току, то есть
это элементарный виток с током. Момент
импульса электрона в атоме квантуется,
то есть может принимать только определённые
значения, вот по такому рецепту:
,
,
где вот эта величина
– это постоянная Планка. Момент импульса
электрона в атоме может принимать лишь
определённые значения, мы сейчас не
будем обсуждать, как это получается.
Ну, и вследствие этого магнитный момент
атома может принимать определённые
значения. Эти детали нас сейчас не
волнуют, но, по крайней мере, будем
представлять, что атом может обладать
определённым магнитным моментом, есть
атомы, у которых нет магнитного момента.
Тогда вещество, помещённое во внешнее
поле намагничивается, а это означает,
что оно приобретает определённый
магнитный момент вследствие того, что
магнитные моменты атомов ориентируются
преимущественно вдоль поля.
Элемент
объёма dV
приобретает магнитный момент
,
при чём вектор
имеет смысл плотности магнитного момента
и называется вектором намагничивания.
Имеется класс веществ, называемых
парамагнетики,
для которых
,
намагничивается так, что магнитный
момент совпадает с направлением
магнитного поля. Имеются диамагнетики,
которые намагничиваются, так сказать,
«против шерсти», то есть магнитный
момент антипараллелен вектору
,
значит,
.
Это более тонкий термин. То, что вектор
параллелен вектору
понятно, магнитный момент атома
ориентируется вдоль магнитного поля.
Диамагнетизм связан с другим: если атом
не обладает магнитным моментом, то во
внешнем магнитном поле он приобретает
магнитный момент, при чём магнитный
момент антипараллелен
.
Этот очень тонкий эффект связан с тем,
что магнитное поле влияет на плоскости
орбит электронов, то есть оно влияет на
поведение момента импульса. Парамагнетик
втягивается в магнитное поле, диамагнетик
выталкивается. Вот, чтобы это не было
беспредметно, медь – это диамагнетик,
и алюминий – парамагнетик, если взять
магнит то алюминиевая лепёшка будет
притягиваться магнитом, а тогда медная
будет отталкиваться.
Понятно,
что результирующее поле, когда вещество
внесено в магнитное поле, это есть сумма
внешнего поля и поля, создаваемого за
счёт магнитного момента вещества. Теперь
обратимся к уравнению
,
или в дифференциальной форме
.
Теперь такое утверждение:
намагничивание вещества эквивалентно
наведению в нём тока с плотностью
.
Тогда это уравнение мы напишем в виде
.
Проверим
размерность: М
– это магнитный момент в единице объёма
,
размерность
.
Когда вы пишете какую-нибудь формулу,
то размерность всегда полезно проверять,
особенно если формула эта собственной
выводки, то есть вы её не срисовали, не
запомнили, а получили.
9
Н
амагниченность
характеризуется вектором
,
он так и называется вектор намагниченности,
это плотность магнитного момента или
магнитный момент в единицу времени. Я
говорил, что намагниченность эквивалентна
появлению тока
,
так называемого молекулярного тока, и
это уравнение эквивалентно такому:
,
то есть мы можем считать, что нет
намагниченности, а есть такие токи.
Зададимся таким уравнением:
,
-
это настоящие токи, связанные с конкретными
носителями зарядов, а
это токи, связанные с намагниченностью.
Электрон в атоме это круговой ток,
возьмём область внутри, внутри образца
все эти токи уничтожаются, но наличие
таких круговых токов эквивалентно
одному общему току, который обтекает
этот проводник по поверхности, отсюда
и такая формула. Перепишем это уравнение
в таком виде:
,
.
Этот
тоже отправим влево и обозначим
,
вектор
называется напряжённостью
магнитного поля, тогда
уравнение приобретёт вид
.
(циркуляция
напряжённости магнитного поля по
замкнутому контуру) = (сила
тока через поверхность этого контура).
Ну,
и, наконец, последнее. Мы имеем такую
формулу:
.
Для многих сред намагниченность зависит
от напряжённости поля,
,
где
– магнитная восприимчивость,
это коэффициент, характеризующий
склонность вещества к намагничиванию.
Тогда эта формула перепишется в виде
,
– магнитная проницаемость,
и мы получаем такую формулу:
.
Если
,
то это парамагнетики,
- это диамагнетики, ну, и, наконец, имеются
вещества, для которых это
принимает большие значения (порядка
103),
- это ферромагнетики (железо, кобальт и
никель). Ферромагнетики замечательны
тем. Что они не только намагничиваются
в магнитном поле, а им свойственно
остаточное намагничивание, если он уже
однажды был намагничен, то, если убрать
внешнее поле, то он останется намагниченным
в отличии от диа- и парамагнетиков.
Постоянный магнит – это и есть
ферромагнетик, который без внешнего
поля намагничен сам по себе. Кстати,
имеются аналоги этого дела в электричестве:
имеются диэлектрики, которые поляризованы
сами по себе без всякого внешнего поля.
При наличии вещества наше фундаментальное
уравнение приобретает такой вид:
,
,
.
А
вот ещё пример
ферромагнетика, бытовой пример магнитного
поля в средах, во-первых, постоянный
магнит, ну, и более тонкая вещь –
магнитофонная лента. Каков принцип
записи на ленту? Магнитофонная лента -
это тонкая лента, покрытая слоем
ферромагнетика, записывающая головка
- это катушка с сердечником, по которой
течёт переменный ток, в зазоре создаётся
переменное магнитное поле, ток отслеживает
звуковой сигнал, колебания с определённой
частотой. Соответственно, в контуре
магнита имеется переменное магнитное
поле, которое меняется вместе с этим
самым током. Ферромагнетик намагничивается
переменным током. Когда эта лента
протягивается по устройству такого
типа, переменное магнитное поле создаёт
переменную э.д.с. и воспроизводится
опять электрический сигнал. Это
ферромагнетики на бытовом уровне.
Квазистационарные поля
Приставке
«квази-» русский эквивалент «якобы»,
то есть имеется в виду, что поле переменное,
но не очень. Теперь мы полагаем, наконец,
,
но оставим одно:
,
чтобы не учитывать влияния электрического
поля на магнитное. Уравнения Максвелла
приобретают такой вид:
,
,
,

3)
и 4) уравнения не изменились, это означает,
что связь магнитного поля с токами в
каждой точке осталась такой же, только
мы теперь допускаем изменяющиеся со
временем токи. Ток со временем может
меняться, но связь магнитного поля и
тока остаётся та же самая. Поскольку
магнитная индукция
связана с током линейно,
будет меняться синхронно с током
проводника: ток нарастает, магнитное
поле нарастает, но связь между ними не
меняется. А вот для электрического поля
появляется новшество: циркуляция связана
с изменением магнитного поля.
Явление электромагнитной индукции
Обнаруживается
связь между электрическими и магнитными
полями, если магнитное поле меняется
со временем. Переменное магнитное поле
является источником вихревого (замкнутого)
электрического поля. Эпитет «вихревой»
это не какая-нибудь метафора, а это
просто означает, что силовые линии
электрического поля замкнуты. Явление
электромагнитной индукции описывается
уравнением
.
М
агнитный
поток
,
«поток» – это термин, вы не должны
думать, что там течёт, это просто такая
величина. Если поле однородное, а площадка
перпендикулярна силовым линиям, то для
этого случая
;
если площадка ориентирована так, что
нормаль к ней перпендикулярна силовым
линиям, то есть магнитное поле скользит
по этой поверхности площадки, то поток
будет равен нулю. Наглядно величина Ф
– это число силовых линий, пересекающих
данную площадку. Это число на самом деле
зависит от того, как густо мы их нарисуем,
но тем не менее эти слова имеют смысл.
Имеем однородное магнитное поле. Вот,
я возьму площадку 1, тут поток один,
теперь я возьму ту же самую площадку,
но расположу в точке 2. Здесь (в точке 1)
её пересекает пять силовых линий, а
здесь (в точке 2) – только две. И, как бы
я густо их ни рисовал, картина бы не
изменилась.
Что
утверждает закон? А закон утверждает
вот что: возьмём замкнутый контур
,
на этот контур опирается поверхность
S,
вычисляем магнитный поток через
поверхность, и закон утверждает, если
магнитный поток через поверхность,
опирающуюся на контур, изменяется со
временем, то есть
,
то циркуляция напряжённости по контуру
не равна нулю и равна
.
Это означает, что в среднем имеется
составляющая электрического поля вдоль
этого контура, направленная всё время
в одну сторону.
Если я возьму проволочный контур, магнитный поток через площадь будет меняться, то в этом контуре появится электрический ток. Вот такое явление и называется явлением электромагнитной индукции.
Явление электромагнитной индукции – это появление тока в контуре, если меняется магнитный поток через этот контур.
Электродвижущая сила
Интеграл
обозначают
и называется эта величина электродвижущая
сила. Какой смысл имеет термин? В своё
время силами называли что ни попадя,
сейчас слово «сила» употребляется в
одном смысле: правая часть Второго
закона Ньютона. И как раз наследие этих
старых времён электродвижущая сила
применительно к этой величине
.
Квазистационарные токи
В


от
условие квазистационарности для тока:
.
О чём говорит это уравнение? Уравнение
утверждает, что циркуляция напряжённости
магнитного поля равняется полному току,
который течёт через поверхность этого
контура. А я теперь сделаю вот что: возьму
поверхность (пузырь), опирающуюся на
контур, а теперь стягиваю горловину.
Когда я стягиваю этот контур к точке,
вот эта левая часть стремится к нулю,
потому что
нигде не может достигать бесконечных
значений, а что делается с правой частью?
Поверхность становится замкнутой при
стягивании контура в точку. Из этих
рассуждений мы получаем, что
.
Вот это есть условие квазистационарности
тока. Физически это означает вот что:
какой заряд за единицу времени втекает
в замкнутую поверхность, такой заряд и
вытекает. Это означает в частности вот
что: если имеется три проводника,
следствие из утверждения будет, что
.
Охватим точку пересечения замкнутой
поверхностью, поскольку токи втекающие
за единицу времени и вытекающие равны,
это и означает, что
.
Закон Ома
Для
металлических проводников с хорошей
точностью выполняется такой закон:
,
где величина
называется проводимость, это некоторая
константа, характеризующая способность
проводника проводить ток. Это закон в
дифференциальной форме, какое отношение
он имеет к закону, который вы хорошо
знаете
?
Это следствие, кстати, получите его для
цилиндрического проводника.
Закон Ома для цепи с э.д.с.
Е
сли
присутствуют сторонние силы, то закон
Ома можно написать так:
.
Эквивалент
этого дела для такой цепи (см. рис.9.5)
.
Для замкнутой цепи
.
10
Закон сохранения заряда
В прошлый
раз мы рисовали такую картинку (рис.
9.1). У нас есть такое
уравнение:1)
.
При стягивании контура к точке получим
такое уравнение:
,
сократим на магнитную постоянную и
представим интеграл суммы как сумму
интегралов:
.
Если поверхность фиксирована, то
,
а из первого уравнения Максвелла
,
и мы имеем:
-
закон сохранения заряда.
Разрядка конденсатора


,
с другой стороны мы уже знаем, что для
конденсатора
,
отсюда
.
q,
– функции времени, чисто
формально нужно изгнать одну функцию.
Охватим пластину замкнутой
поверхностью,
(плотность тока в проводнике на сечение
проводника – это сила тока). Составляем
систему уравнений
, откуда получаем дифференциальное
уравнение
,
которое немедленно решается:. Начальные
условия у нас такие: t=0,
q(0)=q>0>,
следовательно A=q>0>.
.
Явление самоиндукции
Это частный случай
электромагнитной индукции. По контуру
течёт ток, возникает переменное магнитное
поле, Ф=
,
э.д.с., которая наводится в контуре равна:
,
.
Это явление называется самоиндукцией.
,
L – коэффициент
самоиндукции (самоиндуктивность),
зависящий от геометрии контура и от
окружающей среды. Тогда мы получили
такой закон:
.
Индуктивность длинного соленоида
Р
ассмотрим
один виток:
,
,
следовательно
.
Это в одном витке, а полная э.д.с. находится
суммированием по всем виткам:
,
коэффициент перед – коэффициент
самоиндукции
.
Вот вопрос: имеем катушку, что будет, если концы этой катушки всунуть в розетку? Меня этот вопрос интересовал с детства вот в связи с чем: это было давно и там всякие были проекты космических полётов, в качестве одного из проектов был такой: сделать длинный соленоид (такая магнитная пушка) в нём снаряд (металлический космический корабль), и в таком магнитном поле в длинной трубе он должен был бы разгоняться, выстреливаться и лететь. Была у меня такая книжка, там был этот один из проектов, ну, и я решил посмотреть. Взял соорудил картонную трубку, намотал на неё проволоку, посадил туда железную штучку и сунул в розетку посмотреть, будет ли оно лететь. Эффект был, конечно, впечатляющий, когда это всё со страшной вспышкой горело. Но сама проблема, что будет, если обмотку катушки всунуть в розетку, меня с тех пор занимает. Вот вопрос: что будет, если взять обмотанную катушку и сунуть в розетку? Ответ такой: если намотано там достаточно много витков, тогда сопротивление этой намотки будет равно нулю, будет течь переменный ток такой, что э.д.с. самоиндукции в каждый момент времени будет уравновешивать напряжение на клеммах розетки, чем больше индуктивность катушки, тем меньше будет ток, и ничего пикантного не произойдёт, при постоянном токе она сгорит, для постоянного тока такая катушка будет коротким замыканием. Переменный ток – катушку со сколь угодно малым сопротивлением, если у неё достаточно большая индуктивность, можно втыкать, и ничего страшного не произойдёт.
Энергия магнитного поля
Мы уже задавались подобным вопросом для электрического поля и обнаружили, что дарового электрического поля создать нельзя, для этого требуются энергетические, а, следовательно, и финансовые затраты. С магнитным полем точно также: создать даром магнитное поле нельзя. Для того, чтобы создать магнитное поле, необходимо совершить определённую работу, мы сейчас её вычислим.
При
нарастании тока в цепи возникает э.д.с.,
равная
.
Эта э.д.с. направлена «против шерсти»
(против тока). Для поддержания этого
тока требуется мощность
.
Значит, работа, которую надо совершить
за время dt
равна:
.
Мораль: для того, чтобы сила тока
увеличилась на d,
надо совершить работу dA
такую (она определяется уже наличным
током к моменту времени t).
Полная работа это будет интеграл:
.
Для того, чтобы создать силу тока ,
необходима работа
,
где L
– коэффициент самоиндукции.
А теперь спрашивается, куда эта работа девается? Ответ: запасается в виде энергии магнитного поля. Наглядно: имеем генератор с ручкой, мы крутим эту ручку. Работа, которую мы совершаем, крутя эту ручку, переходит в энергию магнитного поля и размазывается по всему пространству.
Пусти
магнитное поле локализовано в длинном
соленоиде, тогда работа равняется:
,
но
,
а
,
и мы получаем:
.
Эта работа равняется энергии магнитного
поля:
,
величина
имеет смысл плотности энергии. В элементе
объёма содержится энергия
,
а в объёме V
-
.
Магнитное
поле обладает энергией, и плотность
энергии
,
можно ли её высвободить? Да, конечно,
если магнитное поле исчезает, то эта
энергия выделяется в той или иной форме.
Создание тока в цепи с индуктивностью
Это
создание тока в любой цепи, потому что
любая цепь обладает индуктивностью.
Имеем такую систему: батарейка, ключ, R
– сопротивление цепи, L
– индуктивность цепи
(не обязательно, чтобы была катушка,
потому что, повторяю, любая цепь обладает
индуктивностью, но мы нарисуем её). У
нас есть правило для замкнутого контура:
.
В данном случае, если ток в цепи меняется,
то у нас присутствует э.д.с. батарейки,
сосредоточенные там сторонние силы, а
кроме того, за счёт самоиндукции
развивается э.д.с. Пишем:
( - это э.д.с. самоиндукции), мы получаем
такое уравнение:
,
или
,
или
.
Такое дифференциальное уравнение,
линейное, первой степени, неоднородное,
решается:
.
Определим А
из начальных условий:
,
это означает, что
.
Мы тогда получаем окончательно:
.
При
получаем
– разумное решение, а начальная стадия
– экспоненциальное нарастание:
Почему, спрашивается, когда вы включаете свет, то он вспыхивает мгновенно? Ответ такой: просто мала индуктивность. Если, например, последовательно с лампочкой поставить хорошую катушку и пустить переменный ток, то лампа вообще гореть не будет, если же подсоединить к аккумулятору, то лампочка будет медленно загораться, а зато, когда вы её выключать будете, там тоже интересная вещь произойдёт: выключение магнитного поля – это выделение энергии, гром, молния и т.д.
11
Мы закончили обсуждение квазистационарных процессов. Теперь движемся дальше, и последняя тема у нас в электричестве – нестационарные поля.
Нестационарные поля
Ток смещения
Нестационарные поля описываются полным набором уравнений Максвелла без всяких изъятий:
То, что мы до сих пор
рассматривали, это четыре уравнения.
Но в четвёртом было изъято слагаемое
.
Начнём выяснение роли этого слагаемого.
Кстати, весь набор
называется «уравнения Максвелла»,
почему? Первое уравнение – это фактически
закон Кулона; второе – закон электромагнитной
индукции, который открыл Фарадей; третье
– выражает тот факт, что линии магнитной
индукции замкнуты, тут трудно даже
указать авторство; вот, если выкинуть
это слагаемое
,
то четвёртое уравнение
– это закон Био-Савара. Что сделал
Максвелл? Одну вещь: он добавил в одно
уравнение это слагаемое, и весь набор
получил название «уравнения Максвелла».
А теперь, вот, я не могу
сказать, так ли Максвелл рассуждал, но
можно привести пример, на котором это
уравнение сломалось бы. Вот такой пример.
Рассмотрим сферически симметричное
распределение заряда, и пусть заряд
растекается таким образом: скажем, имеем
заряженный шар и заряд растекается из
этого шара по радиальным лучам.1)
А теперь спрашивается: какое магнитное
поле создаёт вот такой сферически
симметричный ток? Ну, поскольку у нас
источник сферически симметричный, то
магнитное поле должно также быть
сферически симметричным. Что это
означает? Картина поля должна быть
такая, что, если это поле повернуть
вокруг любой оси, проходящей через центр
симметрии, оно должно переходить в себя.
Прекрасно. Но из уравнения 3. следует,
что силовые линии магнитного поля
замкнуты, мы это уже обсуждали, и создать
конфигурацию таких замкнутых линий,
чтобы она обладала сферической симметрией,
нельзя. Осевую симметрию можно, то есть,
чтобы поле переходило в себя при поворотах
вокруг некоторой оси, а чтобы оно
переходило в себя при поворотах вокруг
любой оси… Если напрячь воображение,
ясно, что из замкнутых линий сферически
симметричного магнитного поля создать
нельзя. Из уравнения 3. следует, что для
вот такого сферически симметричного
тока
,
то есть магнитное поле не создаётся, то
есть магнитное поле не создаётся.
Возьмём такой контур
,
контур, площадь которого перпендикулярна
линиям тока. Применим вот к этому контуру
уравнение 4*. – циркуляция по этому
контуру не равна нулю. Почему? Потому
что уравнение говорит, что циркуляция
равна плотности тока, умноженной на эту
площадку. Через эту площадку ток течёт,
а, раз ток течёт, то циркуляция по этому
контуру равна силе тока через эту
площадку, во всяком случае, не ноль.
Значит, получается, из третьего уравнения
следует, что
,
а из уравнения 4*. следует, что
.
Оказалось, что два уравнения конкурируют
применительно к этой ситуации. Какой
вывод, и что, вообще говоря, верно, создаёт
такая конфигурация магнитное поле или
не создаёт? Соображения симметрии –
это более мощные соображения, значит,
верно, что
,
то есть выигрывает третье уравнение.
Это означает, что четвёртое уравнение
со звёздочкой не верно. Но, если добавить
это слагаемое
,
тогда нет противоречий между этими
двумя уравнениями.
Ещё одно соображение,
повторяю, я не знаю, Максвеллу приходило
это в голову или нет, но могло приходить
в голову и, наверно, приходило. Для
электромагнитного поля в пустоте
уравнение 2. даёт:
.
Вот, когда пишется частная производная,
имеется в виду, что контур фиксирован
в пространстве, контур не движется.
Смысл его такой, что, если меняется со
временем (не то, что контур переехал
куда-нибудь), то возникает электрическое
поле. Уравнение 4*. даёт для пустого
пространства
,
потому что
в пустоте нет. Нарушается симметрия, то
есть, вообще говоря, здесь было бы
неплохо, если бы циркуляция по равнялась
бы потоку от производной
.
Какая физика стоит за этим уравнением?
Переменное магнитное поле создаёт
электрическое поле, а переменное
электрическое поле – ничего не создаёт.
Вот, соображения симметрии в нынешней
физике очень популярны, ну, потому что
это ключ ко многим проблемам, нарушение
симметрии раздражает и нуждается в
объяснении. На самом деле, если мы возьмём
полное уравнение 4., то настоящее уравнение
в пустоте даст следующее:
.
Уравнение 2. Фарадей открыл экспериментально,
а это – симметричное явление
электромагнитной индукции – это Максвелл
высосал из пальца. Никаких экспериментальных
данных для этого не было, потому что, на
самом деле, этот эффект очень трудно
наблюдаем (константа очень мала), и
практически создать переменное
электрическое поле и обнаружить
возникновение магнитного поля в те
времена было невозможно. Можно было
сыграть на очень больших производных,
короче говоря, просто двигая электрическим
зарядом, заметное магнитное поле не
создастся, скажем, если вы этот заряд
дёргаете с частотой миллион колебаний
в секунду, можно мыло бы заметить
магнитное поле. Если двигать заряд,
согласно уравнению 4., создастся магнитное
поле, но настолько маленькое при умеренных
частотах, что практически его обнаружить
нельзя. Максвелл написал его по аналогии,
следствием оказалось существование
электромагнитных волн, о которых до
Максвелла никто и не помышлял. И когда
примерно через двадцать лет электромагнитные
волны были обнаружены, вот тогда эта
Максвелловская теория и вот это уравнение
4. были признаны, наконец, и все эти
построения из гипотезы превратились в
теорию.
Величина
(это величина, по размерности равная
плотности тока) называется током
смещения. Название принадлежит
Максвеллу, название осталось, а
аргументация пропала: ничего там не
смещается, и название «ток смещения»
не должно вызывать в вас никаких
ассоциаций с тем, что там что-то смещается,
это термин, который остался по историческим
причинам.
Мораль такая: переменное электрическое поле само по себе создаёт магнитное поле. И всё замыкается! Переменное магнитное поле является источником электрического, переменное электрическое поле является источником магнитного, и уравнения в вакууме приобретают симметричный вид (отличие только в знаке перед производной, но это не столь страшное нарушение симметрии).
Введение этого тока
смещения в первом примере спасает дело:
на этой картине
и
.
Короче говоря, циркуляция
по любому контуру – ноль. Таким образом,
четвёртое уравнение для этого сферически
симметрично растекающегося тока даёт,
что магнитное поле равно нулю. Эта
Максвелловская поправка навела порядок,
и теория стала непротиворечивой.
Закон сохранения энергии для электромагнитного поля
Я напишу уравнения Максвелла в дифференциальной форме:




Теперь делаем следующее:
уравнение 2) я скалярно умножу на
,
уравнение 4) я скалярно умножу на
:


Теперь из второго уравнения вычтем первое:

Для однородного диэлектрика
.
Это были наводящие соображения, на самом
деле, в общем случае
,
точно также
.
Тогда уравнение приобретает такой вид:
или
.
Е
сть
теорема Гаусса, которая сводит интеграл
по объёму от дивергенции к поверхностному
интегралу1).
Имеет место тождество
,
буква у меня S у меня
уже занята, поэтому я пишу σ. Тогда
выбираем в пространстве некоторый объём
V, σ – ограничивающая
его поверхность, и мы получаем такую
вещь:
.
В пустоте тока нет, и мы получаем уравнение
(9.1).
Напомню закон сохранения
заряда:
.
Смысл какой? Если заряд убывает, то за
счёт того, что он вытекает через
поверхность, ограничивающую объём.
Теперь смотрим на
формулу (9.1): скорость изменения w
в объёме выражается через изменение
вектора
через эту поверхность. Структура
одинаковая, вопрос, что такое w
и что такое
?
Что такое w,
мы уже знаем:
это плотность энергии электромагнитного
поля, плотность энергии электромагнитного
поля в единице объёма. Тогда интеграл
– это полная энергия электромагнитного
поля в объёме.
это энергия, протекающая
через единицу площади за единицу времени,
а
это плотность потока энергии (вектор
Пойнтинга), по размерности [
]=Вт,
а [
]=
.
- это работа электромагнитного поля в
единице объёма. Эта работа может
проявляться в виде тепла или в виде
работы, если там стоит мотор, например.
А
теперь применение этой теоремы.
Такая цепь (см. рис.9.2.),
кружочком обозначен мотор. Ключ
замыкается, мотор вертится, и я желаю
применить эту теорему. Возьму замкнутую
поверхность σ, тогда мы получим
.
Интеграл – это мощность электродвигателя
или работа в единицу времени,
.
Мотор совершает работу за счёт энергии,
которая втекает в объём. Это я к чему
говорю? Мотор совершает работу за счёт
того, что через замкнутую поверхность,
которой его можно охватить, из вакуума
течёт энергия поля, которая представляется
вектором Пойнтинга. Это означает, что
для того, чтобы электромотор работал.
В окрестности должны присутствовать
два поля, так как
.
Энергия передаётся
через пустое пространство и втекает
внутрь этого объёма. Спрашивается тогда,
чего же электрика валяют дурака и тянут
провода от источника к потребителю?
Ответ очевиден: провода нужны для того,
чтобы создать такие поля
и
соответствующей конфигурации. Тогда
вопрос другой, а нельзя ли создать такие
поля, чтобы энергия передавалась через
пустоту без проводников? Можно, но это
в следующий раз. Так, всё, конец.
12
В
прошлый раз мы рассмотрели вектор
Пойтинга. Напомню, энергия электромагнитного
поля передаётся через пустое пространство,
не по проводам. В общем виде ситуация
тут такая: имеется некоторая область,
в эту область загоняется какая-то энергия
(скажем, из этой области торчит вал с
ручкой и тут человек этот вал крутит) и
дальше эта энергия через пустое
пространство втекает в другую область,
там, например, находится некоторое
устройство, которое перерабатывает
втекающую сюда энергию и на выходе
выдаёт снова какую-то работу (скажем,
здесь стоит генератор или электромотор).
Электромагнитные волны
Я уже говорил, что Максвелл усовершенствовал уравнения (добавил туда ток смещения), и получилась, наконец, замкнутая теория, и венцом постижения этой теории было предсказание существования электромагнитных волн. Надо понимать, что никто этих волн до Максвелла не видел, никто даже не подозревал, что такие вещи могут быть. Но, как только были получены эти уравнения, из них математически следовало, что должны существовать электромагнитные волны, и лет через двадцать после того, как это предсказание было сделано, они стали наблюдаемы, и тогда был триумф теории.
Уравнения Максвелла допускает существование вещи, которая называется электромагнитной волной. Но в природе оказывается так – то, что возможно в рамках правильной теории, то и на самом деле существует.
Сейчас мы должны будем усмотреть вслед за Максвеллом, что должны быть эти волны, то есть совершить такое математическое открытие, чтобы, глядя на уравнения Максвелла, сказать: «А, ну, конечно, должны быть волны».
Уравнения Максвелла в пустоте
Чем
замечательна пустота? В пустоте нет
зарядов
,
.
Уравнения приобретают вид:
Ну,
и сразу бросается в глаза замечательная
симметрия, симметрия нарушается только
тем, что в уравнении 4) константа размерная
и знак. Размерная константа – несущественно,
это связано с системой единиц, можно
выбрать такую систему единиц, где эта
константа просто единицей будет. Это
дифференциальные уравнения, но положение
осложняется тем, что переменные
перекрещиваются. Поставим для начала
скромную задачу – написать уравнение,
которое содержало бы только одну
неизвестную величину,
например.
Значит,
первая наша цель – исключить из уравнения
2)
.
Как исключит? А очень просто: мы видим,
что в четвёртом уравнении сидит переменная
,
если мы на это уравнение подействуем
векторно оператором
,
то в правой части выскочит
…
Второе
уравнение даёт:
.
Добавляя четвёртое уравнение мы получаем:
или1)
.
Мы
получили уравнение, которое утверждает,
что вторая производная по времени от
связана со вторыми производными от
компонент по координатам, то есть
изменение величины
в данной точке со временем увязано с
пространственным изменением этой
величины.
Волновое уравнение и его решение
Вот чисто математическая проблема:
уравнение
вида
,
где
– функция координат и времени,
и
константы, называется волновым
уравнением.
Не будем решать уравнение в частных производных, а я сейчас предъявлю одно важное частное решение, и будет доказано, что оно действительно является решением.
Утверждение.
Функция вида
удовлетворяет волновому уравнению
(частное решение).
Частное решение, вообще-то, угадывается и проверяется методом тыка. Вот, мы сейчас подставим это решение в уравнение и проверим. Что уравнение утверждает? Что вторая производная по времени от этой функции совпадёт с пространственными производными.
Пишем:
,
.
Вот чем замечательна комплексная экспонента: можно было бы записать действительные синусы и косинусы, но дифференцировать экспоненты гораздо приятнее, чем синусы и косинусы.
Дальше:
.

,
значит,
.
Опять замечательная вещь: оператор
действует на функцию
,
эта функция просто умножается на
,
тогда немедленно находим повторное
действие оператора1):
.
Подставим
в исходное уравнение:
,
отсюда получаем
.
Мораль
такая: функция вида
удовлетворяет нашему уравнению, но
только при таком условии:
.
Это факт математический. Нам остаётся сообразить теперь, что эта функция изображает.
Если
перейти в действительную область, то
есть взять сужение этого множества
функций на класс действительных функций,
это будет решение такого типа:
.
Чтобы не мучиться с тремя переменными,
можно это дело упростить: пусть
,
тогда
.
Заметим, что это никакое не ограничение
общности, ось х
мы всегда можем выбрать вдоль вектора
.
Мы получили функцию от двух переменных:
.
А теперь будем смотреть, что эта функция
представляет.
Делаем
мгновенную фотографию: фиксируем момент
времени
и смотрим пространственную конфигурацию.
П
ериод
синуса 2π, ясно, когда х
меняется на λ
– длину волны
(пространственный период), то синус
должен измениться на 2π, мы имеем такое
соотношение:
.
Мы проинтерпретировали константу
k
– волновое число,
а вектор – волновой вектор. Эта мгновенная
фотография показывает, как функция
зависит от пространства.
Теперь
будем следить за временным изменением,
то есть сидим в точке х
и смотрим, что делается с функцией
со временем. Фиксируем
,
тогда
,
значит, в фиксированной точке опять
синусоидальная функция времени. Мы
имеем, поскольку период синуса 2π,
,
то есть мы проинтерпретировали константу
,
называется частотой.
И остаётся, наконец, последнее: запустить обе переменные λ и t, что тогда эта функция будет изображать? Тоже легко понять.
Если
,
то
,
а
означает в свою очередь, что
.
Для событий, для которых координата –
линейная функция времени
,
функция всё время одна и та же. Это можно
проинтерпретировать так: если мы будем
бежать вдоль оси х со скоростью
,
то мы будем всё время видеть перед собой
одно и тоже значение этой функции.
Функция, которую мы получили – это синусоидальная волна, бегущая вправо вдоль оси х.
Если
мы запустим х
и t
одновременно, то окажется, что эта
синусоида бежит вдоль оси со скоростью
,
вот такое решение мы получили, ну и тогда
понятно, почему это называется волной.
Вот то, что я говорил, что, если мы будем бежать с такой скоростью, мы будем видеть одно и то же значение функции, наглядно:
волны на воде. Для волны на воде – это отклонение волны от горизонтального уровня. Когда вы будете бежать вдоль этой волны со скоростью её распространения, то вы всё время будете видеть перед собой одну и ту же высоту над поверхностью воды.
Другой пример – звуковая волна.
Имеем синусоидальную звуковую волну. Как её создать? Источник колеблется с одной частотой (такой гул на одной частоте мы редко воспринимаем, он, кстати, очень раздражает). Если идёт такая волна определённой тональности, то, когда вы стоите, у вас в ухе давление со временем меняется и создаёт силу, которая давит на перепонку в ухе, колебания перепонки передаются в мозги, с помощью там разных передаточных устройств, и мы будем слышать звук. А что будет, если вы будете бежать вдоль волны со скоростью её распространения? Будет постоянное давление на перепонку и всё, не будет никакого звука. Правда, пример гипотетический, потому что, если в воздухе бежать со скоростью звука, то у вас будет так свистеть в ушах, что вам не будет не до восприятия этой струны.
Волна
бежит со скоростью
,
но у нас такое соотношение:
.
Мы видим, что скорость – это та константа,
которая стоит в уравнении.
Решением волнового уравнения является синусоидальная волна, бегущая со скоростью с.
А
теперь вернёмся к уравнениям Максвелла.
Мы там получили, что
.
Для магнитного поля аналогично. Такая
функция
удовлетворяет этому уравнению. При
условии, что
.
Значит, должны быть электромагнитные
волны, распространяющиеся с такой
скоростью
.
И вот тут уже круг замкнулся. Максвелл
получил волновое уравнение и определил
скорость волны, а к тому времени было
известно экспериментальное значение
скорости света, и обнаружилось, что эти
скорости равны.
1 Компьютер так бы и считал: разбивал с заданной точностью кривую на элементы и суммировал. Как завести в компьютер векторное поле? Таблицей: пространство разбиваем на ячейки и заносим значение вектора в каждой ячейке, кривая так же заносится в виде таблицы. В анализе есть способы, как брать такие интегралы, но нас это сейчас не волнует, нам нужно понять смысл.
1)
Здесь я ввёл новый математический
символ
– частная производная, но чтоб не было
недоразумений:
.
Удобнее писать
вместо
,
потому что оно прямо содержит в себе
указание на то, что нужно делать.
Между прочим, вот, в порядке упражнения
полезно было бы для вас вычислить
,
и убедиться, что вы получите предыдущую
формулу для напряжённости поля. Это,
вот, для самопроверки (не в физике, а в
математической квалификации), если вы
её получите – это признак того, что вы
владеете соответствующим в математике,
если нет, –тогда пойдите к своему
преподавателю мат. анализа, и пусть он
вас там или научит, или накажет.
1) Поле, создаваемое заданным распределением заряда.
2) Любое распределение заряда, рассматриваемое из бесконечности, ну, или издалека, оно всегда ведёт себя как точечный заряд.
3)
Интегрирование ведётся по
,
когда по
интегрирование будет проведено, то эта
переменная вылетает вообще, мы получаем
число, это
сидит здесь как параметр, то есть
значение интеграла зависит от
,
от положения точки, в которой ищется
потенциал.
1) Очевидная вещь, что, если мы отойдём достаточно далеко от этого распределения, то какое станет поле? Как от точечного заряда. Значит, на большом расстоянии можно ответ писать сразу: потенциал как от точечного заряда.
2) Это пока точная формула, тут стоит малая величина и квадрат малой величины, вот, если б мы выкинули их, мы получили бы поле точечного заряда, мы же выкинем квадрат малой величины и сделаем формулу более аккуратной.
3)
Интегрирование ведётся по штрихованной
переменной, по координатам элемента
объёма, относительно этого интегрирования
.
1)
-
постоянный вектор, характеризующий
распределение заряда, постоянная
величина.
2)
Есть общий рецепт:
.
1) То есть мы можем охватить этот заряд замкнутой поверхностью такой, что вне этой поверхности заряда нет.
2) А если кто не знает, тогда пусть себя высечет, потому что должен знать.
1)
А дальше мы будем считать, что вектор
достаточно мал, и эту скалярную функцию
мы можем разложить
2)
Функцию плотности я переведу в функцию,
зависящую от
,
задаёт точку однозначно.
1) Там и по другим параметрам может быть разбиение, но здесь на проводники и диэлектрики.
1)
Скалярное произведение
это
есть
.
Значит,
обозначается
и называется оператор Лапласа.
2) Есть целый раздел мат. физики, специально посвящённый решению этого уравнения, и мы обсуждать это не будем.
1) Слово «ёмкость», в общем-то, неудачное, потому что оно наводит на ассоциации бытовые, вроде ёмкость ведра или ёмкость чашки, на самом деле, никакого такого смысла нет. Это я вас просто предупреждаю, потому что часто бывают недоразумения; возникает такое ощущение, что ёмкость проводника связана с зарядом, который можно посадить на этот проводник; на любой проводник можно посадить любой заряд, будет просто различный потенциал при этом, ёмкость будет коэффициентом пропорциональности между потенциалом и зарядом и всё.
1) Вы должны уметь находить ёмкость сферического и цилиндрического конденсаторов.
1)
Мы учитываем, что интегрируется по
и для всех
другие величины – константы.
1)
Интеграл по АD=интегралу
по ВС=0, так как
,
интеграл по CD=0, потому
что там
по предположению. А на отрезке АВ
векторы
и
параллельны.
1) направление нормали задаётся правилом правого винта (обход и нормаль должны образовывать правый винт).
1) Это даже можно сделать. Известно, есть радиактивный распад (когда из ядра вылетают заряженные α-частицы), возьмём шар вот такого радиактивного вещества, из которого вылетают по радиусу α-частицы (это положительно заряженные ядра гелия), эти заряженные частицы представляют вот такой радиальный ток. То есть, эта ситуация реализуема.
1) Физические законы такие вообще, что, когда в них встречается дивергенция какого-то вектора, то у всякого физика непременно возникает желание интегрировать по объёму эту дивергенцию.
1)
Имеет место такое математическое
тождество
.
Из первого уравнения
,
поэтому
.
1)
Воспользуемся формулой
и учтём, что
.