Химические способы очистки поверхностей полупроводниковых пластин
Содержание
Стр.
1. Введение 2
2. Подложки интегральных микросхем и их назначение 3
2.1. Назначение подложек 3
2.2. Кремний - основной материал полупроводникового производства 4
3. Виды загрязнений поверхности подложек и пластин 5
3.1. Возникновение загрязнений 5
3.2. Источники загрязнений 6
3.3. Виды загрязнений 6
4. Методы удаления загрязнений 8
4.1. Классификация методов очистки пластин и подложек 8
4.2. Способы жидкостной обработки пластин и подложек 9
4.2.1. Обезжиривание 9
4.2.2. Травление 10
4.2.3. Промывание пластин и подложек 13
4.2.4. Интенсификация процессов очистки 13
4.3. Способы сухой очистки пластин и подложек 15
4.3.1. Термообработка 15
4.3.2. Газовое травление 16
4.3.3. Ионное травление 17
4.3.4. Плазмохимическое травление 17
4.4. Типовые процессы очистки пластин и подложек 19
5. Заключение 20
6. Список литературы 20
1. Введение
Современный этап развития радиоэлектроники характеризуется широким применением интегральных микросхем (ИМС) во всех радиотехнических системах и аппаратуре. Это связано со значительным усложнением требований и задач, решаемых радиоэлектронной аппаратурой, что привело к росту числа элементов в ней. За каждое десятилетие число элементов в аппаратуре увеличивается в 5-20 раз. Разрабатываемые сейчас сложные комплексы аппаратуры и системы содержат миллионы и десятки миллионов элементов. В этих условиях исключительно важное значение приобретают проблемы повышения надежности аппаратуры и ее элементов, микроминиатюризации электро-радиокомпонентов и комплексной миниатюризации аппаратуры. Все эти проблемы успешно решает микроэлектроника.
Интегральная и функциональная микроэлектроника являются фундаментальной базой развития всех современных систем радиоэлектронной аппаратуры. Они позволяют создавать новый вид аппаратуры - интегральные радиоэлектронные устройства.
Микроэлектроника - одно из магистральных направлений в радиоэлектронике, и уровень ее развития в значительной степени определяет уровень научно-технического прогресса страны.
Применяют два основных метода изготовления ИМС - полупроводниковый и пленочный.
Первый метод заключается в локальной обработке микроучастков полупроводникового кристалла и придании им свойств, присущих функциям отдельных элементов и их соединений (полупроводниковые интегральные микросхемы).
Второй метод основан на использовании послойного нанесения тонких пленок различных материалов на общее основание (подложку) при одновременном формировании на них схемных элементов и их соединений (пленочные интегральные микросхемы).
В обоих случаях важное значение имеет качество обработки поверхности полупроводниковых пластин и подложек.
* Подложка - заготовка, предназначенная для нанесения на нее элементов гибридных и пленочных ИМС, межэлементных и (или) межкомпонентных соединений, а также контактных площадок.
2. Подложки интегральных микросхем и их назначение.
Подложки в технологии изготовления и конструировании пленочных и гибридных ИМС в микросборках играют очень важную роль. Подложки являются основанием для группового формирования на них ИМС, главным элементом конструкции ИМС и микросборок, выполняющим роль механической опоры, обеспечивают теплоотвод и электрическую изоляцию элементов.
2.1. Назначение подложек.
В технике ИМС подложки выполняют две функции:
а) являются основанием, на поверхности или в приповерхностном слое которого по заданному топологическому рисунку формируют структуры ИМС;
б) являются элементом конструкции, обеспечивающим практическое применение ИМС в корпусном или бескорпусном исполнении.
Подложки классифицируют как по структурным признакам, так и по назначению. По структурным признакам подложки подразделяют на аморфные, поликристаллические и монокристалличёские, а по назначению - на подложки для полупроводниковых, пленочных, гибридных ИМС и микросборок.
Для изготовления полупроводниковых ИМС применяют в основном полупроводниковые монокристаллические подложки (полупроводниковые пластины), а для пленочных и гибридных ИМС - аморфные поликристаллические (диэлектрические) подложки.
* Полупроводниковая пластина - заготовка из полупроводникового материала, используемая для изготовления полупроводниковых ИМС.
В отдельных случаях при изготовлении полупроводниковых ИМС используют диэлектрические подложки, а при изготовлении гибридных ИМС и микросборок - металлические подложки. К конструкции и материалу подложек предъявляется ряд требований, вытекающих из необходимости воспроизведения и обеспечения заданных электрических параметров элементов и ИМС, их надежности в самых различных условиях эксплуатации, и обусловленных также особенностями технологии изготовления и сборки ИМС.
Монокристаллические пластины из разных полупроводниковых материалов составляют основу для изготовления полупроводниковых ИМС различного конструктивно-технологического исполнения и функционального назначения.
Пригодность полупроводникового материала для использования в интегральных микросхемах определяется в основном параметрами, зависящими от его физических свойств: оптических, термических, термоэлектрических, зонной структуры, ширины запрещенной зоны, положения в ней примесных уровней и др.
Очень важны электрические свойства полупроводникового материала: тип электропроводности, концентрация носителей заряда, их подвижность, удельное сопротивление, время жизни неосновных носителей заряда и их диффузионная длина - существенно зависящие от технологии получения полупроводника.
2.2. Кремний - основной материал полупроводникового производства.
В настоящее время из всех полупроводниковых материалов наибольшее применение для изготовления полупроводниковых ИМС получил кремний.
Кремний - элемент IV группы Периодической системы элементов Д.И.Менделеева, один из самых распространенных элементов на Земле, содержание его в земной коре составляет 29,5%. В природе кремний встречается только в соединениях в виде окисла и в солях кремниевых кислот. Чистота природной окиси кремния в виде монокристаллов кварца иногда достигает 99,99%; в ряде месторождений чистота песка составляет 99,8-99,9%.
Технический кремний, получаемый
восстановлением двуокиси кремния SiO2
в электрической дуге между графитовыми
электродами, содержит около 1% примесей
и как полупроводник не может быть
использован; он является исходным сырьем
для получения кремния полупроводниковой
чистоты, примесей в котором должно быть
менее
.
Разработана промышленная
технология, позволяющая получать особо
чистый кремний с содержанием примесей


Более широкое применение кремния обусловлено преимуществом его физических и технологических свойств по сравнению с другими полупроводниками (в частности, с германием).
Для изготовления полупроводниковых приборов и ИМС используют выпускаемые промышленностью пластины кремния четырех |видов:
Однослойные p- и n- типов;
Двухслойные р- или n- типа с эпитаксиальным n-слоем, покрытые оксидом либо нитридом кремния;
Двухслойные р-типа с эпитаксиальным n- слоем и скрытым n+- слоем;
Гетероэпитаксиальные структуры типа кремний на сапфире.
Однослойные пластины кремния р- и n-типов получают резкой слитков монокристаллического кремния диаметром 50-150 мм на пластины толщиной 0,25-0,4 мм. Промышленностью выпускаются слитки монокристаллического кремния, которые в зависимости от типа электропроводности и значения удельного сопротивления подразделяются на пять групп.
Подготовка пластин, получаемых из слитков монокристаллического кремния, является одним из важнейших этапов производства ИМС и включает в себя следующие операции: ориентацию слитков по кристаллографическим осям, резку слитков на пластины, шлифование, полирование, травление и очистку поверхностей от загрязнений различных типов, приобретённых на предыдущих этапах обработки.
3. Виды загрязнений поверхности подложек и пластин.
3.1. Возникновение загрязнений.
Электрические характеристики ИМС и их надежность во многом обусловливаются степенью совершенства кристаллической решетки и чистотой обрабатываемой поверхности пластин и подложек. Поэтому обязательным условием получения бездефектных полупроводниковых и пленочных структур является отсутствие на поверхности пластин и подложек нарушенного слоя и каких-либо загрязнений.
Как известно, нарушенный приповерхностный слой полупроводниковых пластин является следствием их механической обработки. Используемые при подготовке пластин методы шлифования, полирования и травления позволяют удалить нарушенный слой (рис. 1).

Рис. 1.
Изменение толщины нарушенного слоя при механической обработке монокристаллических полупроводниковых пластин:
1) после резки; 2) после шлифования; 3)после полирования; 4) после травления.
Однако атомы материала пластины (подложки), расположенные на ее поверхности, имеют намного больше ненасыщенных связей, чем атомы в объеме. Этим объясняются высокие адсорбционные свойства и химическая активность поверхности пластин.
В условиях производства ИМС
пластины и подложки соприкасаются с
различными средами, и полностью защитить
их от адсорбции различного рода примесей
невозможно. В то же время получить
идеально чистую поверхность (без
посторонних примесей) тоже практически
невозможно. Поэтому применяемое в
технике понятие «чистая поверхность»
имеет относительный характер.
Технологически чистой считают поверхность,
которая имеет концентрацию примесей,
не препятствующую воспроизводимому
получению заданных значений и стабильности
параметров ИМС. Допустимая концентрация
примесей на поверхности пластин зависит
от сложности ИМС и способа ее формирования,
в худшем случае она не должна превышать
.
Для обеспечения эффективной очистки с целью получения технологически чистой поверхности пластин (подложек) необходимо знать источник и вид загрязнения, характер его поведения на поверхности, методы удаления.
3.2. Источники загрязнений.
Основными источниками загрязнений поверхности пластин и подложек являются: абразивные и клеящие материалы, кремниевая пыль при механической обработке; пыль в производственных помещениях; предметы, с которыми соприкасаются пластины и подложки (оборудование, инструмент, оснастка, технологическая тара); технологические среды; органические и неорганические реагенты, вода; одежда и открытые участки тела операторов и др.
Загрязнение пластин и подложек практически возможно на всех операциях технологического процесса изготовления кристаллов и сборки ИМС.
3.3. Виды загрязнений.
Возможные загрязнения на поверхности пластин и подложек классифицируют, как правило, по их физико-химическим свойствам, так как они определяют выбор методов удаления загрязнений. Наиболее распространенными являются загрязнения следующих видов:
Физические загрязнения - пылинки, ворсинки, абразивные материалы, силикаты, кремниевая пыль и другие посторонние частицы, химически не связанные с поверхностью пластин и подложек.
Загрязнения, химически связанные с поверхностью пластин и подложек - оксиды, нитриды и другие соединения.
Органические загрязнения - неполярные жиры, масла, силиконы и другие неионные примеси.
Растворимые в воде полярные загрязнения - соли, кислоты, остатки травителей, флюсы и пр.
Газы, адсорбированные поверхностью пластин и подложек.
На поверхности пластин и подложек одновременно могут присутствовать загрязнения различных видов. Типичные загрязнения и их источники, встречающиеся в технологии полупроводниковых ИМС, приведены в таблице 1.
Типичные загрязнения
полупроводниковых пластин и их источники
Таблица 1.
|
Загрязнения |
Возможные источники |
|
Волокна (нейлон, целлюлоза и т. д.) |
Одежда, ткани, бумажные изделия |
|
Силикаты |
Горные породы, песок, почва, зола, пепел |
|
Окислы и окалина |
Продукты окисления некоторых металлов |
|
Масла и жиры |
Масла от машинной обработки, отпечатки пальцев, жиры с открытых участков тела, средства для волос, мази, лосьоны |
|
Силиконы |
Аэрозоли для волос, кремы, лосьоны после бритья, лосьоны для рук, мыло |
|
Металлы |
Порошки и отходы машинной обработки и шлифовки; изготовление металлических частей; частицы из металлических банок для хранения и металлических контейнеров |
|
Ионные примеси |
Продукты дыхания, отпечатки пальцев (хлорид натрия); примеси из очищающих растворов, содержащие ионные детергенты; некоторые флюсы; примеси от предварительной химической операции, такой, как травление или металлизация |
|
Неионные примеси |
Неионные детергенты, органические материалы для обработки |
|
Растворимые примеси |
Очищающие растворители и растворы |
Наиболее трудно удаляются органические и химически связанные с поверхностью загрязнения, а также загрязнения от абразивных материалов, полярные газы и ионы, внедренные в приповерхностный слой пластин.
4. Методы удаления загрязнений.
4.1. Классификация методов очистки пластин и подложек.
Для удаления загрязнений используют различные методы, на физических принципах которых разрабатывают процессы очистки. По механизму протекания процессов все методы очистки классифицируют на физические и химические, а по применяемым средствам - на жидкостные и сухие (рис.2).
В основу каждого способа очистки положен один из трех методов удаления загрязнений с поверхности:
механическое удаление частиц загрязнителя потоком жидкости или газа;
растворение в воде;
химическая реакция.

Рис. 2.
Классификация методов очистки пластин и подложек
К физическим методам удаления загрязнений относят растворение, отжиг, обработку поверхности ускоренными до больших энергий ионами инертных газов. Эти методы используют в основном для удаления загрязнений, расположенных на поверхности. Для удаления загрязнений на поверхности и в приповерхностном слое, в том числе тех, которые находятся в химической связи с материалом пластины или подложки, используют химические методы удаления. Они основаны на переводе путем химической реакции загрязнений в новые соединения, которые затем легко удаляются (травление, обезжиривание).
* Очистка, при которой удаляется приповерхностный слой пластины или подложки, называется травлением.
Жидкостная очистка предусматривает использование водных и других растворов различных реактивов. Целый ряд органических жировых загрязнений не растворяется в воде и препятствует смачиванию водой и большинством растворов обрабатываемой поверхности (поверхность гидрофобная). Для обеспечения равномерной очистки поверхность пластин и подложек переводят в гидрофильное, т. е. хорошо смачиваемое водой, состояние.
* Процесс удаления жировых загрязнений, сопровождаемый переводом поверхности из гидрофобного состояния в гидрофильное, называется обезжириванием.
Сухая очистка основана на использовании отжига, газового, ионного и плазмохимического травления. Эти способы исключают применение дорогостоящих и опасных в работе жидких химических реактивов; они более управляемы и легче поддаются автоматизации. Процессы сухой очистки являются наиболее эффективными также при обработке локальных участков и рельефной поверхности.
4.2. Способы жидкостной обработки пластин и подложек.
К способам жидкостной обработки поверхности пластин и подложек относят физическое и химическое обезжиривание, химическое и электрохимическое травление, промывание в воде.
4.2.1. Обезжиривание.
Физическое обезжиривание основано на отрыве молекул жира от поверхности при ее взаимодействии с органическими растворителями. Отрыв вызывается собственными колебаниями молекул жира и притяжением их молекулами растворителя. Для этого пластины (подложки) погружают в резервуар (ванну) с растворителем. После отрыва молекулы жира равномерно распределяются по всему объему ванны, что приводит к загрязнению растворителя и обратному процессу - адсорбции молекул жира очищенной поверхностью. Во избежание последнего требуется постоянное освежение растворителя.
В качестве растворителей наиболее часто применяют четыреххлористый углерод, бензол, толуол, изопропиловый спирт, фреон и др., в которых эффективно растворяется большинство жировых загрязнений.
Определяющими параметрами процесса являются температура и время. Растворимость жиров увеличивается с повышением температуры. Поэтому обезжиривание осуществляют в горячих или кипящих растворителях.
Несмотря на высокую эффективность очистки в органических растворителях, технология такого обезжиривания связана с определенными трудностями (многократная очистка, большой расход, высокая стоимость и токсичность большинства растворителей).
Исключительными особенностями обладает фреон, который не токсичен и обеспечивает высокую эффективность очистки.
Химическое обезжиривание основано на разрушении молекул жира растворителями, не воздействующими на материал пластины (подложки). Его отличительной особенностью является отсутствие вероятности повторного загрязнения пластин.
Для химического обезжиривания
кремниевых пластин наиболее часто
применяют горячий (75-80°С) перекисно-аммиачный
раствор (водный раствор смеси пергидроля
и щелочи
),
который удаляет все жиры. Процесс
обезжиривания сопровождается выделением
атомарного кислорода в результате
разложения пергидроля (этому способствует
и наличие щелочи). Атомарный кислород
окисляет как органические, так и
неорганические загрязнения.
Для очистки, основанной на переводе омыляемых жиров в легко растворимые в воде мыла` (соли), применяют обработку поверхности в мыльных растворах. Этим способом удаляют растительные и животные жиры - загрязнения от остатков сложных эфиров глицерина и высокомолекулярных органических кислот. Химическое обезжиривание характеризуется низкими токсичностью и стоимостью.
4.2.2. Травление.
Процесс травления пластин и подложек состоит в растворении их поверхности при взаимодействии с соответствующими химическими реагентами (щелочами, кислотами, их смесями и солями). В результате удаляются приповерхностный слой и имеющиеся на поверхности загрязнения. Различают химическое и электрохимическое травление полупроводников.
4.2.2.1. Химическое травление пластин кремния происходит на границе твердой и жидкой сред, и его можно рассматривать как гетерогенную реакцию.
Процесс травления состоит из пяти стадий: диффузии реагента к поверхности; адсорбции реагента; поверхностной химической реакции; десорбции продуктов реакции; диффузии продуктов реакции от поверхности. Скорость всего процесса определяется скоростью наиболее медленной (контролирующей) стадии. При травлении кремния контролирующими стадиями могут быть либо диффузия реагента к поверхности, либо поверхностная химическая реакция, что определяется видом травителя и энергией активации стадий процесса.
* Травители, для которых контролирующей стадией является диффузия, называются полирующими.
Скорость травления
в полирующих травителях определяется
скоростью диффузии реагента
и зависит от градиента его концентрации:
(1)
где D - коэффициент диффузии
реагента, зависящий от природы и энергии
активации молекул реагента;
и
- концентрация реагента в объеме и на
поверхности;
- толщина приповерхностного слоя
травителя, в котором существует градиент
концентрации.
При этом скорость травления нечувствительна к физическим и химическим неоднородностям поверхности, слабо зависит от температуры. Вследствие более высокого градиента концентрации выступы на поверхности травятся быстрее впадин. Поэтому полирующие травители хорошо сглаживают шероховатости, выравнивая микрорельеф. Типичными полирующими травителями для кремниевых пластин являются смеси азотной и фтористоводородной (плавиковой) кислот.
Существуют две теории саморастворения кремния в травителях: химическая и электрохимическая. Согласно химической теории поверхностные химические реакции при полирующем травлении протекают в два этапа: окисление поверхностного слоя и перевод оксида в растворимую соль. Роль окислителя выполняет азотная кислота:
(2)
Фтористо-водородная кислота является комплексообразователем, который переводит оксид кремния в тетрафторид:
(3)
В соответствии с электрохимической теорией взаимодействие между полупроводником и травителем обусловлено тем, что на поверхности пластины при погружении ее в травитель существуют анодные и катодные микроучастки, между которыми возникают локальные токи.
На анодных участках происходит окисление кремния с последующим растворением оксида и образованием кремний-фтористоводородной кислоты, на катодных - восстановление окислителя (азотной кислоты). В процессе травления микроаноды и микрокатоды непрерывно меняются местами.
Результирующее уравнение реакции при этом имеет вид:
(4)
Следует отметить, что очистке поверхности полупроводниковых пластин путем их обработки в полирующих травителях предшествует обязательное обезжиривание поверхности.
Для ряда травителей энергия
активации химической реакции
на порядок и более превышает энергию
активации, определяющую скорость
диффузии реагента. В этом случае скорость
травления определяется скоростью
химической реакции
:
(5)
где
и
- концентрации реагирующих веществ; R -
универсальная газовая постоянная; а и
b -
показатели, численно равные коэффициентам
в уравнении химической реакции.
Поскольку энергия активации
химической реакции зависит от
неоднородности поверхности, скорость
травления чувствительна к состоянию
поверхности. Так как различные
кристаллографические плоскости структуры
кремния имеют разное значение
,
то скорость травления зависит от
ориентации пластин, а также от температуры.
* Травители, для которых контролирующей стадией является химическая реакция, называются селективными.
В качестве селективных травителей
пластин кремния используют водные
растворы щелочей (например, NaOH, КОН) и
гидразин гидрат '
.
Для селективных травителей характерная разница скоростей травления в различных кристаллографических направлениях достигает одного порядка и более. Так, для щелочных травителей изменение скорости травления соответствует схеме (100) >(110)> (111).
Травление с большой разницей скоростей травления в различных кристаллографических направлениях называют анизотропным.
Селективное травление используют для локальной обработки полупроводниковых пластин, в том числе для создания изолирующих областей при изготовлении ИМС.
4.2.2.2. Электрохимическое травление основано на химических превращениях, которые происходят при электролизе.
Для этого полупроводниковую пластину (анод) и металлический электрод (катод) помещают в электролит, через который пропускают электрический ток. Процесс является окислительно-восстановительной реакцией, состоящей из анодного окисления (растворения) и катодного восстановления.
Кинетика анодного растворения определяется концентрацией дырок, генерируемых на поверхности полупроводниковой пластины.
Электрохимическое травление
кремниевых пластин производят в
растворах, содержащих плавиковую
кислоту, при возрастающей плотности
тока. При этом вначале происходит
образование на поверхности пластины
слоя оксида кремния, в состав которого
входит фтористокремниевый комплекс
,
окисляющийся в водных растворах с
выделением водорода согласно реакции:
(6)
(7)
Затем происходит анодное растворение кремния в плавиковой кислоте:
(8)
Такой процесс называют также электрополировкой.
Электрохимическое травление применяют как для очистки поверхности пластин, так и для их локальной обработки.
4.2.3. Промывание пластин и подложек.
На различных этапах изготовления ИМС производят неоднократно промывание пластин и подложек. Для промывания применяют дистиллированную, бидистиллированную и деионизованную воду.
Промывание обязательно производится после обезжиривания и травления. Его назначение - удаление остатков загрязнений, продуктов реакции и остатков реагентов.
4.2.4. Интенсификация процессов очистки.
Для ускорения наименее медленных стадий процессов очистки с целью повышения качества очистки и производительности процессов используют различные способы их интенсификации, которые достигаются применением физических, химических и комбинированных средств.
К физическим средствам относятся нагрев, кипячение, вибрация, обработка струёй, гидроциркуляцией, протоком, гидромеханическая обработка, центрифугирование, ультразвуковая обработка, плазма.
К химическим средствам относятся поверхностно-активные вещества, комплексообразователи, катализаторы. Комбинированные средства основаны на использовании физических и химических средств.
Применение тех или иных средств позволило разработать наиболее эффективные способы обезжиривания, травления, промывания и создать необходимое для их осуществления оборудование.
Наиболее распространенными и эффективными способами жидкостной обработки в промышленных условиях являются ультразвуковая очистка в растворителях, химико-динамическое травление, анодно-механическое травление.
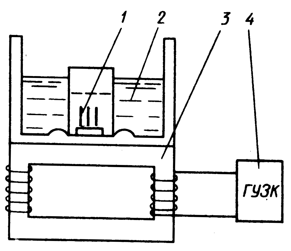
При ультразвуковой очистке (рис. 3) пластины 1 помещают в ванну с водой (эмульсией) 2, на которую передаются вибрации через вибратор 3 от генератора 4. Механические вибрации способствуют перемешиванию растворителя и тем самым ускоряют процесс.

Рис. 3
Принцип химико-динамического травления заключается в интенсивном перемешивании травителя непосредственно над поверхностью пластин (рис.4). При вращении приводом 1 фторопластового барабана 2 травитель 3 омывает пластины 4, закрепленные на специальном диске 5, чем достигается хорошее перемешивание травителя и равномерное травление.

Рис. 4
В основу анодно-механического травления положено электрохимическое травление, сопровождаемое механическим воздействием (рис. 5). Электролит 2 подается на освещенные мощной лампой 1 (для генерации дырок) пластины 3, которые предварительно закрепляются на аноде 4, и соприкасаются с вращающимся катодным диском 5, содержащим радиальные канавки. При этом скорость электрополировки достигает 400нм/с.

Рис. 5
Особый интерес с точки зрения производительности и качества очистки представляет способ, основанный на возникновении кавитации в пограничном слое очищаемой поверхности. Условия кавитации создают механическим путем (центрифугированием), а в качестве растворителя используют дистиллированную воду с растворенным кислородом.
Способы жидкостной очистки используют на различных стадиях изготовления ИМС.
4.3. Способы сухой очистки пластин и подложек.
Наряду с жидкостной обработкой в технологию изготовления ИМС в последнее время интенсивно внедряются различные способы сухой очистки. Наряду с традиционными термообработкой (отжигом) и газовым травлением успешно используют ионное и |плазмохимическое травление.
4.3.1. Термообработка.
Сущность термообработки состоит в нагреве пластины или подложки до температуры, при которой происходят удаление адсорбированных поверхностью загрязнений, разложение поверхностных загрязнений и испарение летучих соединений.
Отжиг осуществляют в вакуумных или термических установках непосредственно перед проведением основных операций формирования полупроводниковых или пленочных структур.
Эффективность очистки зависит от температуры, максимальное значение которой ограничено температурой плавления очищаемых материалов и процессами диффузии примесей.
4.3.2. Газовое травление.
Сущность газового травления заключается в химическом взаимодействии материала пластин с газообразными веществами и образовании при этом легко улетучиваемых соединений. В процессе газового травления загрязнения удаляются вместе со стравливаемым приповерхностным слоем пластин.
Газовое травление как метод
окончательной очистки применяют в
первую очередь непосредственно перед
теми технологическими процессами, в
которых определяющую роль играет
структура поверхностного слоя (например,
перед эпитаксиальным наращиванием). В
качестве травителей используют смеси
водорода или гелия с галогенами (фтор,
хлор, бром), галогеноводородами (HBr, HC1),
сероводородом
,
гексафторидом серы.
Молярное содержание этих веществ в водороде или гелии может изменяться от десятых долей процента до единиц процентов. Очистку осуществляют при температурах 800-1300°С в установках термического окисления либо непосредственно в реакторах эпитаксиального наращивания.
Наибольшее распространение получило травление кремниевых пластин хлористым водородом при температурах 1150-1250°С, при этом происходит реакция:
(9)
Скорость травления зависит от температуры и концентрации HC1 в водороде. Аналогично происходит травление кремния в HBr.
Травление кремниевых пластин в парах тетрахлорида кремния сопровождается реакцией
(10)
При хлорном травлении в качестве газоносителя используют гелий. Травление осуществляют при температуре около 1000°С и содержании хлора в гелии не более 0,2% в соответствии с реакцией:
(11)
Травление кремния в парах сероводорода происходит по реакции:
(12)

При этом получаются большие скорости травления (до 15 мкм/мин). Однако сероводород токсичен. Гексафторид серы, наоборот, не токсичен и обеспечивает хорошее качество поверхности при травлении кремния и сапфира. Травление кремния сопровождается реакцией:
(13)
Газовое травление обеспечивает получение более чистых поверхностей по сравнению с жидкостной, обработкой. Однако его применение ограничено из-за высоких температур процессов и необходимости использования газов особой чистоты.
4.3.3. Ионное травление.
Сущность ионного травления состоит в удалении поверхностных слоев материала при его бомбардировке потоком ионов инертных газов высокой энергии. При этом ускоренные ионы при столкновении с поверхностью пластин или подложек передают их атомам свою энергию и импульс.
* Ионное травление - процесс удаления загрязнений вместе с распыляемым в вакууме поверхностным слоем обрабатываемой поверхности при ее бомбардировке ускоренными ионами инертного газа.
Если во время столкновения энергия, передаваемая атому, превышает энергию химической связи атома в решетке, а импульс, сообщаемый атому, направлен наружу от поверхности, то происходит смещение атомов, их отрыв от поверхности - распыление. Для реализации этого процесса требуются определенные вакуумные условия, а ионы должны обладать определенными значениями энергий, достаточными для распыления материалов.
Разновидностью ионного травления является ионно-химическое (реактивное) травление, основанное на введении в плазму химически активного газа, обычно кислорода. При этом изменяется скорость травления вследствие химического взаимодействия между подложкой и добавленным газом.
4.3.4. Плазмохимическое травление.
В отличие от ионного плазмохимическое травление основано на разрушении обрабатываемого материала ионами активных газов, образующимися в плазме газового разряда и вступающими в химическую реакцию с атомами материала при бомбардировке поверхности пластин или подложек. При этом молекулы газа в разряде распадаются на реакционно-способные частицы - электроны, ионы и свободные радикалы, химически взаимодействующие с травящейся поверхностью. В результате химических реакций образуются летучие соединения.
Для травления кремния и его
соединений (оксида и нитрида кремния)
наиболее часто используют высокочастотную
плазму тетрафторида углерода
(возможно применение гексафторида серы
и фреона-12 -
).
При взаимодействии этих газов
с электронами плазмы происходит
разложение
и образуются ионы фтора и другие радикалы:

(14)

Ионы фтора, а в ряде случаев и
радикал
активно взаимодействуют с кремнием,
образуя летучее соединение
.
Уравнения, характеризующие химические
реакции травления кремния, оксида и
нитрида кремния в плазме
,
имеют вид
(15)
Характерно, что частицы, участвующие
в травлении, травят различные материалы
с разной скоростью. На этом основано
свойство плазмохимического травления.
Скорость травления определяется
концентрацией атомов фтора и постоянной
скорости химической реакции
:
(16)
Концентрация
обусловливается скоростью генерации
атомов, что определяется конструкцией
и мощностью реактора, а также временем
жизни частиц в реакторе, которое зависит
от скорости газового потока, давления
и условий рекомбинации частиц.
Скорость травления строго зависит
от температуры; ее влияние предопределяется
физическими свойствами травящегося
материала и газовым составом плазмы.
Так, добавка кислорода к чистой плазме
повышает скорость травления.
В плазме фторсодержащих газов можно травить некоторые металлы. Для травления применяют также плазму хлорсодержащих газов. Для удаления органических материалов используют кислородную плазму.
Промышленные конструкции реакторов рассчитаны на групповую обработку пластин с кассетной загрузкой и программным управлением.
В отечественной промышленности для различных целей плазмохимической обработки кремниевых пластин используются автоматизированные реакторы «Плазма 600» (для удаления фоторезиста и очистки поверхности пластин при изготовлении биполярных ИМС) и «Плазма 600Т» (для удаления фоторезиста, очистки поверхности пластин и травления диэлектрических слоев). Плазмохимическое травление применяют также для локальной обработки поверхностей.
Способы сухой очистки пластин и локальной их обработки наиболее эффективны при создании БИС и СБИС на элементах с микронными и субмикронными размерами.
4.4. Типовые процессы очистки пластин и подложек.
Выбор способа очистки зависит от вида загрязнений. Эффективная очистка достигается при сочетании нескольких способов очистки. В качестве примера в таблице 2 приведены данные по использованию различных способов очистки в зависимости от вида загрязнений.
Таблица 2
Виды загрязнений и способы их удаления
|
Виды загрязнений |
Способы очистки |
|
Физические включения (пылинки, пух, небольшие частицы полупроводника, металла, абразива) |
Растворение и одновременное ультразвуковое перемешивание |
|
Загрязнения ионами (остатки кислот, осадки, получаемые при электролитическом покрытии, ионы металлов) |
Промывка в деиониэованной или дистиллированной воде до установления постоянного сопротивления. Промывка в кислотах для удаления адсорбированных ионов. Ионная очистка |
|
Минеральные жиры и органические материалы |
Ультразвуковая промывка в нагретом органическом растворителе. Кипячение в органическом растворителе. Ионная очистка |
|
Сложные химические включения (полярный органический материал, окислы, сернистые соединения) |
Травление кислотами. Промывка кремниевых пластин в метиловом спирте |
|
Загрязнения парами |
Ионная очистка. Вакуумный отжиг. Термическое травление. Обработка в кислотах |
Однако при изготовлении ИМС возможные виды загрязнений проявляются комплексно, а на различных стадиях изготовления к качеству чистоты поверхности предъявляются различные требования. Поэтому для качественной и эффективной очистки пластин и подложек разрабатывают типовые процессы очистки, представляющие собой комбинирование различных способов очистки, выполняемых в определенной последовательности. В составе таких процессов основными операциями являются обезжиривание, травление, промывка, сушка.
На протяжении всех этапов изготовления кристаллов полупроводниковых ИМС очистку полупроводниковых пластин проводят многократно - после механической обработки пластин и перед основными операциями формирования структур: окислением, эпитаксиальным наращиванием, диффузией, металлизацией, фотолитографией (и после нее), защитой.
5. Заключение.
В заключении своего реферата приведу пример типового процесса обработки пластин кремния перед термическим окислением, который включает следующие операции:
обезжиривание в горячем (75-80°С) перекисно-аммиачном растворе;
промывание в проточной деионизованной воде (удаление продуктов реакции предыдущей обработки);
обработка в горячей (90-100°С) концентрированной азотной кислоте (удаление ионов металлов);
промывание в проточной деионизованной воде (удаление остатков кислот);
гидродинамическая обработка пластин бельичими кистями в струе деионизованной воды;
сушка пластин с помощью центрифуги в струе очищенного сухого воздуха;
травление в растворе фтористоводородной кислоты (снятие поверхностного слоя и удаление загрязнений).
6. Список литературы.
Ефимов И.Е., Козырь И.Я., Горбунов Ю.И. Микроэлектроника. Учебное пособие для ВУЗов. М., "Высшая школа", 1986.
Зи Ф.М. Технология СБИС. М., "Мир", 1986.
1