Результаты и перспективы использования технологии квантовой биофизики в подготовке высококвалифицированных спортсменов
Результаты и перспективы использования технологии квантовой биофизики в подготовке высококвалифицированных спортсменов
Доктор медицинских наук, профессор П.В. Бундзен, Доктор технических наук, профессор К.Г. Коротков, Кандидат педагогических наук О.И. Макаренко, Санкт-Петербургский научно-исследовательский институт физической культуры, Санкт-Петербургский технический университет информационных технологий, механики и оптики
Концепция развития физической культуры и спорта в Российской Федерации на период до 2005 г. специальное внимание уделяет использованию в практике подготовки высококвалифицированных спортсменов передовых научных технологий [1].
В настоящее время не вызывает сомнений тот факт, что одним из новейших научно-технических достижений на грани ХХI столетия являются технологии квантовой биофизики и медицины [2, 13, 18].
Как известно, основу квантовой биофизики составляет изучение электронной структуры биологически важных макромолекул и путей превращения энергии в организме на электронном уровне. Развитые методы регистрации спектров люминесценции используют для решения многих проблем биологии, медицины, сельского хозяйства и других отраслей.
В последние годы получило развитие еще одно направление квантовой биофизики - исследование функционирования биологических объектов, и в частности психофизиологического состояния человека, методом газоразрядной визуализации (ГРВ) [15, 16]. Метод ГРВ основан на регистрации оптоэлектронной эмиссии биологического объекта, стимулированной импульсами электромагнитного поля.
Протекание импульсного электрического тока в непроводящих биологических тканях может обеспечиваться межмолекулярным переносом возбужденных электронов по механизму туннельного эффекта с активированных перескоком электронов в контактной области между макромолекулами [20]. В связи с этим можно предположить, что формирование специфических структурно-белковых комплексов в толще эпидермиса и дермиса кожи обеспечивает образование каналов повышенной электронной проводимости, экспериментально измеряемых на поверхности эпидермиса как электропунктурные точки. Гипотетически наличие таких каналов в толще соединительной ткани может быть ассоциировано с "энергетическими" меридианами [17]. Иными словами, понятие переноса "энергии", характерное для представлений восточной медицины и режущее слух человеку с европейским образованием и научными традициями, может быть ассоциировано с транспортом электронновозбужденных состояний по молекулярным белковым комплексам. При необходимости совершения физической или умственной работы электроны, распределенные в белковых структурах, транспортируются в соответствующие структурно -функциональные комплексы и могут обеспечивать повышение коэффициента полезного действия окислительного фосфорилирования, то есть энергетического обеспечения функционирования локальной системы [12]. Таким образом, организм, по-видимому, может формировать функционально лабильные энергетические депо, являющиеся базисом для совершения работы, требующей мгновенной мобилизации и огромных энергоресурсов в условиях сверхбольших нагрузок, характерных, например, для спорта высших достижений.

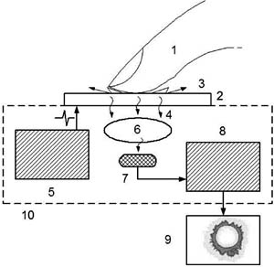
Рис. 1а. Схематическое изображение ГВР прибора. 1 - объект исследования; 2 - прозрачный электрод; 3 - газовый разряд; 4 - оптическое излучение; 5 - генератор; 6 - оптическая система; 7,8 - видеопреобразователь; 9 - компьютер; 10 - корпус
Принцип метода ГРВ заключается в следующем рис.1а): между исследуемым объектом (1) и диэлектрической пластиной (2), на которой размещается объект, подаются импульсы напряжения длительностью 10 мкс от генератора электромагнитного поля (5), из-за чего на обратной стороне пластины (2) развивается лавинный и/или скользящий разряд, параметры которого определяются свойствами объекта. Свечение разряда с помощью оптической системы и ПЗС-камеры (6-8) преобразуется в видеосигналы, которые фиксируются в памяти компьютера (9) в виде одиночных кадров биоэлектрограмм (БЭО-грамм). Обработка производится с помощью специализированного программного комплекса, который позволяет вычислять набор параметров БЭО-грамм и на их основе делать определенные диагностические заключения.
Аппаратный комплекс "Коррекс", используемый при проведении ГРВ-графии, соответствует требованиям нормативных документов безопасности и разрешен к применению Комитетом по новой медицинской технике МЗ РФ и Госстандартом России с 1999 года, регистрационный номер в государственном реестре медицинских изделий № 29/06111299/3064-02 от 23 января 2002 г.
Для характеристики БЭО-грамм используются следующие показатели: площадь газоразрядного изображения, нормализованная площадь, интегральный коэффициент площади, энтропия изображения и коэффициент фрактальности. Исследуются значения этих показателей для каждого пальца руки, средние значения показателей для пальцев обеих рук и отдельно для правой и левой, определяются величины параметров в секторах проекционных зон функциональных систем, предложенных P. Mandel (1986) в модификации К.Г. Короткова [15] (рис.1 б). У практически здоровых людей величины колебаний параметров БЭО-грамм (среднесуточная и средняя 10-минутная) составляют соответственно 6,6 и 4,1%. Сформированный в ходе совместных исследований со специалистами США, Швеции, Финляндии и Словакии банк данных позволил определить зону нормы для вышеуказанных параметров БЭО-грамм, характерных для практически здоровых людей разных возрастных групп и пола [16].
Апробация технологии ГРВ-биоэлектрографии в спорте была проведена в 1999 - 2002 гг. на базе Северо-Западной Олимпийской Академии России (президент - академик В.У. Агеевец) в совместных исследованиях СПбНИИФК и Академии физической культуры им. П.Ф. Лесгафта. В исследованиях приняли участие чемпионы Олимпийских игр и высококвалифицированные спортсмены училищ олимпийского резерва № 1, 2 и Центра олимпийской подготовки Санкт-Петербурга (средний возраст - 18,3±3,5 года), среди них 15 мастеров спорта международного класса, 26 мастеров спорта и 42 кандидата в мастера спорта. Всего в комплексных лонгитюдных исследованиях было проведено более 348 человеко-обследований. По данным углубленных медицинских обследований, все спортсмены были практически здоровы и активно выступали на международных соревнованиях и в сборных России и города в видах спорта, где тренировка на выносливость является доминирующей: в современном пятиборье, триатлоне, лыжных гонках, конькобежном спорте, академической гребле и плавании.

Рис 1б. ГРВ-диаграмма практически здорового человека. Сектора диаграммы соответствуют проекцион ным зонам функциональных систем организма. Левая и правая диаграммы построены по параметру JS пальцев левой и правой руки. Две кривые соответствуют состояниям человека в разные дни одной недели
Рис. 2а. Типизация БЭО-грамм у группы практически здоровых обследованных (слева) и высококва лифицированных спортсменов, тренирующихся в виде спорта на выносливость (справа). Выборки аналогичны по числу обследованных (65 человек), соотношению лиц женского и мужского пола (45-55%) и возрасту (18,1 ± 2,3 года)
Рис. 2б. Результаты кластерного анализа для группы высококвалифицированных спортсменов УОР-2 С.-Петербурга (директор - И.И. Комаров). По осям отложены ГРВ параметр JSL для левой руки и дисперсия этого параметра DJSR для правой руки. Ось R представляет рейтинг спортсменов по результатам годового соревновательного цикла. Видно, что разделение спортсменов на группы по величине ГРВ параметров коррелирует с эффективностью соревнова тельной деятельности
Полученные результаты свидетельствуют, что высококвалифицированные спортсмены имеют ряд характерных особенностей паттернов БЭО-грамм. Во-первых, их БЭО-граммы отличаются относительно высокой степенью структурированности по сравнению с испытуемыми (абитуриенты и студенты спортивных и неспортивных вузов того же возраста) контрольных групп. Максимальная структурированность БЭО-грамм обнаружена у спортсменов-пловцов высокой квалификации. Во-вторых, следует отметить, что с большой степенью вероятности (87% случаев) БЭО-граммы высококвалифицированных спортсменов, тренирующихся на выносливость, относятся к типам IIа и IIб по классификации, принятой в ГРВ-биоэлектрографии (рис. 2а). При этом крайне существенно, что как комбинаторика типов БЭО-грамм, так и их базовые параметры (площадь, фрактальные и энтропийные характеристики) достоверно различаются (р<0,05 - 0,01) у групп спортсменов, имеющих различную степень функциональной готовности, которая определялась по данным тестирования стандартными верифицирующими методами (рис. 2б). Многопараметрический (корреляционный и факторный) статистический анализ, проведенный с учетом экспертных оценок эффективности соревновательной деятельности спортсменов [14], подтвердил (р<0,05) дифференциально-диагностическую значимость параметров БЭО-грамм для определения их психофизической выносливости [6, 7].
Вторая важная закономерность, обнаруженная в ходе исследований, - устойчивая связь базовых параметров БЭО-грамм с генотипическими характеристиками спортсменов, определяющими их психофизическую выносливость. Для оценки генотипических возможностей спортсменов в совместных исследованиях со специалистами по молекулярной генетике и сотрудниками Академии физической культуры им. П.Ф. Лесгафта был использован метод определения генотипов ангиотензинпревращающего фермента (АПФ), внедренный в секторе биохимии спорта СПбНИИФКа В.А. Рогозкиным (патент РФ 2002 года).
Как видно из таблицы, обнаруживается статистически достоверная зависимость между генотипами АПФ, определяющими предрасположенность спортсменов к мышечной работе, и базовыми параметрами БЭО-грамм (см. подробнее [8]).
Различия базовых параметров БЭО-грамм в группах спортсменов с различными генотипами ангиотензинпревращающего фермента
|
Параметры |
Группа 1 |
Группа 2 |
Группа 3 |
Достоверность различия, р |
||
|
Генотип II |
Генотип ID |
Генотип DD |
1 -2 |
1 -3 |
2-3 |
|
|
Коэффициент формы |
2,15±0,03 |
2,30±0,06 |
2,50±0,13 |
р<0,05 |
р<0,02 |
р<0,05 |
|
Длина медианы |
2,03±0,31 |
2,29±1,11 |
6,51±1,43 |
- |
р<0,001 |
р<0,001 |
|
Площадь |
3942±1123 |
8108±1597 |
4134±1362 |
- |
р<0,001 |
р<0,001 |
|
Длина разрывов |
0,04±0,03 |
0,14±0,05 |
0,28±0,19 |
р<0,05 |
р<0,001 |
р<0,001 |
|
Энтропия |
3,32±0,11 |
2,08±0,11 |
1,95±0,41 |
р<0,05 |
р<0,01 |
- |

Рис. 3. Взаимосвязь рейтинга высококвалифи цированных спортсменов по психофизическому потенциалу с относительным количеством спортсменов, находящихся в благоприятных триместрах индивидуального года. Рейтинг определялся по программе GDV APPS (см. текст), группы включают по 25 спортсменов, межгрупповые различия достоверны по критерию Манна-Уитни

Рис. 4. Пример трансформации параметров БЭО-грамм высококвалифицированных спортсменов, прошедших курс ментальной подготовки, в условиях имитационного моделирования стартового состояния. Слева БЭО-граммы в состоянии покоя, справа - в условиях идеомоторного моделирова ния стартового состояния
Таким образом, параметры БЭО-грамм высококвалифицированных спортсменов, регистрируемые в состоянии относительного покоя, важны для объективизации психоэнергетических функциональных резервов спортсменов, характеризующих их психофизический потенциал 1.
При этом крайне важно подчеркнуть, что если с учетом хронобиологии [4, 11, 22] оценить психофизический потенциал спортсменов на момент проведения обследований, то обнаруживается другая закономерность - связь параметров БЭО-грамм с периодами их индивидуального года.
Проверка данной закономерности на большом контингенте юных высококвалифицированных спортсменов показала, что те из них, кто находится в так называемых благоприятных периодах индивидуального года, отличаются, по данным ГРВ-биоэлектрографии, наиболее высоким уровнем психоэнергетических функциональных резервов (рис. 3).
С учетом вышеизложенного, а также специфики современных стратегий подготовки спортсменов [3] есть все основания полагать, что параметры БЭО-грамм, отражающие как "консервативные" (генетические), так и "лабильные" признаки (актуальное функциональное состояние спортсмена на данный момент), можно использовать в качестве маркеров долгосрочного и краткосрочного прогнозов готовности спортсменов к соревнованиям.
Последнее тем более правомерно, что использование в исследованиях функциональной нагрузки в виде имитационного моделирования условий соревновательной деятельности ("вызванное стартовое состояние") свидетельствует о том, что высококвалифицированные спортсмены, отличающиеся оптимальной психофизической готовностью по данным психологического и психофизиологического обследований, обладают способностью к экстренной идеомоторной модуляции паттернов БЭО-грамм. Выявленный феномен выражается в усилении фрагментации БЭО-грамм и образовании в ряде случаев мощных выбросов дистантной эмиссии (рис. 4). Исследования, проведенные совместно со специалистами Скандинавского международного университета (Швеция) и Университета Куопио (Финляндия) [21], дают основания считать, что специфическим условием формирования дистантной эмиссии является способность спортсмена к произвольному экстренному и краткосрочному погружению в так называемое альтернативное состояние сознания (АСС) [5]. При этом необходимо отметить, что из практики олимпийского спорта известно: пик спортивного достижения во многих видах спорта связан именно со способностью спортсмена к краткосрочному погружению в АСС [9, 10, 21].
|
|
Имя |
GDVHIN |
ВеоР |
Endur |
GDVSIN |
Rating |
|
1 |
З-в И. |
0,72 |
1 |
0,83 |
0,52 |
0,71 |
|
2 |
Г-н А. |
0,5 |
0,75 |
0,83 |
0,72 |
0,69 |
|
3 |
Г-ш А. |
0,67 |
0,88 |
0,83 |
0,43 |
0,68 |
|
4 |
Д-н Р. |
0,62 |
1 |
0,83 |
0,46 |
0,67 |
|
5 |
К-а А. |
0,56 |
0,88 |
0,83 |
0,53 |
0,66 |
|
6 |
Х-в И. |
0,81 |
1 |
0,5 |
0,48 |
0,64 |
|
7 |
С-в Д. |
0,68 |
0,88 |
0,5 |
0,39 |
0,61 |
|
8 |
Р-в В. |
0,63 |
0,88 |
0,5 |
0,37 |
0,55 |
|
9 |
Ш-в О. |
0,55 |
0,63 |
0,5 |
0,37 |
0,52 |
|
10 |
К-а Л. |
0,59 |
0,63 |
0,67 |
0,29 |
0,51 |
|
11 |
Л-а Е. |
0,65 |
0,75 |
0,33 |
0,34 |
0,51 |
|
12 |
С-а Н. |
0,6 |
0,75 |
0,33 |
0,41 |
0,5 |
|
13 |
Г-а П. |
0,49 |
0,5 |
0,67 |
0,33 |
0,49 |
|
14 |
Н-а В. |
0,72 |
0,5 |
0,83 |
0 |
0,49 |
|
15 |
С-н М. |
0,72 |
0,75 |
0,5 |
0,05 |
0,48 |
|
16 |
П-в Д. |
0,75 |
1 |
0,33 |
0,01 |
0,47 |
|
17 |
Т-в А. |
0,51 |
0,5 |
0,67 |
0,25 |
0,46 |
|
18 |
Б-в В. |
0,48 |
0,5 |
0,67 |
0,25 |
0,46 |
|
19 |
С-в Р. |
0,57 |
0,5 |
0,67 |
0,07 |
0,45 |
|
20 |
М-а М. |
0,44 |
0,5 |
0,33 |
0,46 |
0,43 |
|
21 |
Ж-к М. |
0,31 |
0,5 |
0,5 |
0,49 |
0,43 |
|
22 |
Л-н Н. |
0,55 |
0,5 |
0,5 |
0,18 |
0,43 |
|
23 |
В-в А. |
0,71 |
0,63 |
0,33 |
0,09 |
0,43 |
|
24 |
Л-в Б. |
0,54 |
0,5 |
0,67 |
0,05 |
0,42 |
|
25 |
К-в М. |
0,66 |
0,25 |
0,67 |
0 |
0,42 |
|
26 |
Б-в А. |
0,59 |
0,63 |
0,33 |
0,25 |
0,42 |
|
27 |
З-в И. |
0,48 |
0,5 |
0,67 |
0 |
0,39 |
|
28 |
Ш-н А. |
0,63 |
0,5 |
0,5 |
0 |
0,39 |
|
29 |
К-я В. |
0,57 |
0,5 |
0,5 |
0 |
0,38 |
|
30 |
Е-в В. |
0,71 |
0,5 |
0,33 |
0 |
0,37 |
|
31 |
С-а О. |
0,56 |
0,5 |
0,33 |
0,13 |
0,36 |
|
32 |
С-н И. |
0,55 |
0,5 |
0,33 |
0 |
0,35 |
|
33 |
М-н Ю. |
0,59 |
0,5 |
0,33 |
0 |
0,34 |
|
34 |
Ф-а А. |
0,58 |
0,5 |
0,33 |
0,01 |
0,34 |
|
35 |
З-в Ю. |
0,57 |
0,38 |
0,33 |
0 |
0,33 |
|
36 |
Я-н Д. |
0,47 |
0,38 |
0,5 |
0 |
0,33 |
|
37 |
Т-в В. |
0,41 |
0,25 |
0,33 |
0 |
0,31 |
|
38 |
С-в А. |
0,49 |
0,38 |
0,33 |
0 |
0,29 |
|
39 |
Л-н Л. |
0,46 |
0,25 |
0,33 |
0,02 |
0,29 |
|
40 |
М-а А. |
0,44 |
0,25 |
0,33 |
0 |
0,28 |
Рис. 5. Пример построения рейтинга обследованных спортсменов УОР-1 (директор - В.М. Лебединский) по уровню психофизического потенциала (программа GDV APPS) . 1-18 - группа спортсменов с высокими психоэнергетическими возможностями, 19-31 - группа спортсменов со сниженными функциональ ными резервами, 32-40 - группа спортсменов с явлениями энергодефицита (снижение качества здоровья)
Основываясь на вышеизложенном, в 2000 - 2001 гг. специалисты кафедры проектирования компьютерных систем Санкт-Петербургского технического университета (ГИТМО) разработали прототип экспертной системы для скрининговой оценки психофизического потенциала высококвалифицированных спортсменов - "КВАНТУМ-ПРО". Основу комплекса составляет блок компьютерных программ "GDV APPS" [16], предназначенный для экспресс-анализа БЭО-грамм и определения следующих функциональных параметров: общего уровня биоэнергетического потенциала (в шкале "энергоизбыточность - норма - энергодефицит"); уровня психоэнергетического потенциала, непосредственно связанного с качеством психофизической выносливости; уровня стресс-толерантности и способности к психоэнергетической мобилизации. Ввод данных в компьютер осуществляется с помощью оптико-цифровой системы "Компакт" и занимает не более 10 мин на одного обследуемого. Обработка данных позволяет практически в реальном масштабе времени получить персонифицированные характеристики спортсмена по указанным выше функциональным параметрам и в дальнейшем групповой рейтинг по всем обследованным (рис. 5). Таким образом, система "КВАНТУМ-ПРО" способна оперативно предоставить тренерско-преподавательскому составу экспертную оценку, отражающую сравнительный уровень функциональной готовности обследованных спортсменов к соревновательной деятельности. Результаты апробации диагностического блока в училищах олимпийского резерва Санкт-Петербурга в 2001 - 2002 гг. дают основание считать, что метод скрининговой квантово-полевой диагностики может быть использован для оценки перспективности спортсменов и оптимизации управления учебно-тренировочным процессом при подготовке олимпийского резерва.
Заключение. Проведенные исследования свидетельствуют, что использование в системе спортивной функциональной диагностики ГРВ-биоэлектрографии, позволяющей оценить состояние квантово-полевого уровня биоэнергетики организма и биополевых механизмов психической саморегуляции, предоставляет принципиально новые возможности тестирования психофизического потенциала спортсменов.
К ним в первую очередь,следует отнести использование ГРВ-биоэлектрографии с целью экспресс-оценки функциональных резервов спортсмена и прогноза его психической (ментальной) готовности к достижению успеха в соревновательной деятельности. Принципиальное значение решения данной проблемы, включающее также учет индивидуальных биоритмологических особенностей организма спортсмена, не вызывает сомнений.
Второй важный фактор, определяющий значимость методов квантово-полевой диагностики в спорте высших достижений, - выявленная связь параметров БЭО-грамм с генетической предиспозицией качества психофизической выносливости. Последнее резко повышает прогностическую ценность использования технологии ГРВ-биоэлектрографии в отборе спортсменов олимпийского резерва и их специализации по видам спорта.
Кроме того, вполне вероятно, что именно на пути использования в спорте высших достижений квантовой биофизики и медицины лежат познание механизмов и разработка научно обоснованных здоровьесберегающих методов психофизической мобилизации, которые и составляют основу выдающихся достижений спортсменов в олимпийском спорте.
Авторы выражают глубокую благодарность инженерам-программистам Б. Крылову, О. Белобаба, М. Бабицкому и Д. Муромцеву за участие в разработке методов анализа БЭО-грамм, а также А. Коротковой и В. Мухину за помощь в подготовке материалов к печати.
Список литературы
1. Концепция развития физической культуры в Российской Федерации на период до 2005 года//Теория и практика физ. культуры. 2001, № 4, с. 2-10.
2. Артюхов В.Г., Ковалева Т.А., Шмелев В.П. Биофизика. Изд. Воронежского университета, 1994.
3. Бальсевич В.К. Контуры новой стратегии подготовки спортсменов олимпийского класса//Теория и практика физ. культуры. 2001, № 4, с. 9-10.
4. Барабаш Л.С., Барабаш О.Л., Барабаш Н.А. Хронобиологические аспекты кардиологии и кардиохирургии.- Кемерово: Летопись, 2001, с. 178.
5. Бундзен П.В., Загранцев В.В., Коротков К.Г. и др. Комплексный биоэлектрографический анализ механизмов альтернативных состояний сознания// Физиология человека. 2000. Т. 26, № 5, с. 68-77.
6. Бундзен П.В., Коротков К.Г., Баландин В.И. Инновационные процессы в развитии технологий психической подготовки и психодиагностики в олимпийском спорте//Теория и практика физ. культуры. 2001, № 5, с.12-18.
7. Бундзен П.В., Загранцев В.В., Назаров И.Б. и др. Генетическая и психофизическая детерминация квантово-полевого уровня биоэнергетики организма спортсмена//Теория и практика физ. культуры. 2002, № 6, с. 40-45.
8. Волков И.П. Спортивная психология и акмеология спорта. - СПб.: изд-во БПА, 2001, с.187.
9. Иванов К.П. Основы энергетики организма. Т. 2. - Биологическое окисление и его обеспечение кислородом. - СПб.: Наука, 1993, с. 269.
10. Каненнпасс-Риффар Р. Биология, медицина и квантовая физика. Изд-во Марко Пветтер, 1997, с.197.
11. Комарова М.И. Методика и организация отбора в училищах олимпийского резерва: Автореф. канд. дис. СПб., 1999. - 22 с.
12. Коротков К.Г. От эффекта Кирлиан к биоэлектрографии. - СПб., 1998. - 241 с.
13. Коротков К.Г. Основы ГРВ-биоэлектрографии. СПб., 2001. - 350 с.
14. Лиманский Ю.П. Гипотеза о точках акупунктуры как полимодальных рецепторах системы экоцептивной чувствительности//Физиологический журнал. 1990. Т. 36, № 4, с. 115-127.
15. Покровский В.Н. Квантовая медицина - медицина завтрашнего дня//Тр. конф. "Медэлектроника-2002". Минск, 2002, с. 28-35.
16. Рогозкин В.А. Геном человека и гены предрасположенности к мышечной деятельности //Матер. науч. итог. конф. СПбНИИФК. 2001, с. 31.
17. Рубин А.Б. Биофизика. - М.: Книжный дом, 1999.
18. Шапошникова В.И., Нарциссов Р.П., Белкина Н.В. Индивидуальный год - собственный календарь морфогенеза, заболеваний и устойчивости эффективной деятельности//Бюл. Всероссийского научного центра по безопасности БАВ. 1995, № 1, с. 60-68.
19. Bundzen P., Korotkov L., Massanova T. еt el. Diagnosis of Skilled Athletes Psycho-Physical Fitness by the Method of Dischage Visualization: 5th Annual Congres of the Sport Science/- Finland, Jyvaskyla, 2000.- P.186.
20. Gagne M. Mental Training in Sport. - Еrebro: Academy of Mental Training, 2000. - P. 56.
21. Dudnik Ad. Birth date and sporting success. - Nature, 1994, v. 368. - P. 592.
22. Unestahl L.-E. Integrerad Mental Training. Еrebro: Vieje., Int., 1996.- 240 p.
Для подготовки данной применялись материалы сети Интернет из общего доступа