Очистка газовых выбросов фильтрами
ОЧИСТКА ГАЗОВЫХ ВЫБРОСОВ ФИЛЬТРАМИ
Реферат по дисциплине «Экология»
Министерство образования РФ
Вятский государственный университет
Кафедра промышленной экологии и безопасности
Киров 2003
Введение
До определенного этапа развития человеческого общества, в частности индустрии, в природе существовало экологическое равновесие, т.е. деятельность человека не нарушала основных природных процессов или очень незначительно влияла на них. Экологическое равновесие в природе с сохранением естественных экологических систем существовало миллионы лет и после появления человека на Земле. Так продолжалось до конца XIX в. Двадцатый век вошел в историю как век небывалого технического прогресса, бурного развития науки, промышленности, энергетики, сельского хозяйства. Одновременно как сопровождающий фактор росло и продолжает расти вредное воздействие индустриальной деятельности человека на окружающую среду. В результате происходит в значительной мере непредсказуемое изменение экосистем и всего облика планеты Земля.
В настоящее время с ростом и бурным развитием промышленности большое внимание уделяется ее экологической обоснованности, а именно проблеме очистке и утилизации отходов. В данном реферате рассматривается один из видов отходов промышленности – газовые выбросы предприятий и их механическая очистка фильтрами.
1 Классификация газообразных промышленных выбросов
В газообразных промышленных выбросах вредные примеси можно разделить на две группы:
а) взвешенные частицы (аэрозоли) твердых веществ — пыль, дым; жидкостей — туман;
б) газообразные и парообразные вещества.
К аэрозолям относятся взвешенные твердые частицы неорганического и органического происхождения, а также взвешенные частицы жидкости (тумана). Пыль – это дисперсная малоустойчивая система, содержащая больше крупных частиц, чем дымы и туманы. Счетная концентрация (число частиц в 1 см3) мала по сравнению с дымами и туманами. Неорганическая пыль в промышленных газовых выбросах образуется при горных разработках, переработке руд, металлов, минеральных солей и удобрений, строительных материалов, карбидов и других неорганических веществ. Промышленная пыль органического происхождения – это, например, угольная, древесная, торфяная, сланцевая, сажа и др. К дымам относятся аэродисперсные системы с малой скоростью осаждения под действием силы тяжести. Дымы образуются при сжигании топлива и его деструктивной переработке, а также в результате химических реакций, например при взаимодействии аммиака и хлороводорода, при окислении паров металлов в электрической дуге и т.д. Размеры частиц в дымах много меньше, чем в пыли и туманах, и составляют от 5 мкм до субмикронных размеров, т.е. менее 0,1 мкм. Туманы состоят из капелек жидкости, образующихся при конденсации паров или распылении жидкости. В промышленных выхлопах туманы образуются главным образом из кислоты: серной, фосфорной и др. Вторая группа – газообразные и парообразные вещества, содержащиеся в промышленных газовых выхлопах, гораздо более многочисленна. К ней относятся кислоты, галогены и галогенопроизводные, газообразные оксиды, альдегиды, кетоны, спирты, углеводороды, амины, нитросоединения, пары металлов, пиридины, меркаптаны и многие другие компоненты газообразных промышленных отходов.
В настоящее время, когда безотходная технология находится в периоде становления и полностью безотходных предприятий еще нет, основной задачей газоочистки служит доведение содержания токсичных примесей в газовых примесях до предельно допустимых концентраций (ПДК), установленных санитарными нормами.
В таблице 1 выборочно приведены ПДК некоторых атмосферных загрязнителей./1,с.342/
Таблица 1 – ПДК некоторых атмосферных загрязнителей.
|
ВЕЩЕСТВА |
ПДК, мг/м3 максимальная разовая среднесуточная |
|
|
Аммиак |
0,2 |
0,2 |
|
Ацетальдегид |
0,1 |
0,1 |
|
Ацетон |
0,35 |
0,35 |
|
Бензол |
1,5 |
1,5 |
|
Гексахлоран |
0,03 |
0,03 |
|
Ксилолы |
0,2 |
0,2 |
|
Марганец и его соединения |
— |
0,01 |
|
Мышьяк и его соединения |
— |
0,003 |
|
Метанол |
1,0 |
0,5 |
|
Нитробензол |
0,008 |
0,008 |
|
Оксид углерода (СО) |
3,0 |
1,0 |
|
Оксиды азота (в пересчете на N2O5) |
0,085 |
0,085 |
|
Оксиды фосфора (в пересчете на P2O5) |
0,15 |
0,05 |
|
Ртуть |
0,0003 |
0,0003 |
|
Свинец |
— |
0,0007 |
|
Сероводород |
0,008 |
0,008 |
|
Сероуглерод |
0,03 |
0,005 |
|
Серы диоксид SO2 |
0,5 |
0,05 |
|
Фенол |
0,01 |
0,01 |
|
Формальдегид |
0,035 |
0,012 |
|
Фтороводород |
0,05 |
0,005 |
|
Хлор |
0,1 |
0,03 |
|
Хлороводород |
0,2 |
0,2 |
|
Тетрахлорид углерода |
4,0 |
2,0 |
При содержании в воздухе нескольких токсичных соединений их суммарная концентрация не должна превышать 1, то есть
с1/ПДК1 + с2/ПДК2 + ... + сn/ПДКn = 1,(1)
где c1, с2, …, сn – фактическая концентрация загрязнителей в воздухе, мг/м3;
ПДК1, ПДК2, …, ПДКn – предельно допустимая концентрация, мг/м3.
При невозможности достигнуть ПДК очисткой иногда применяют многократное разбавление токсичных веществ или выброс газов через высокие дымовые трубы для рассеивания примесей в верхних слоях атмосферы. Теоретическое определение концентрации примесей в нижних слоях атмосферы в зависимости от высоты трубы и других факторов связано с законами турбулентной диффузии в атмосфере и пока разработано не полностью. Высоту трубы, необходимую, чтобы обеспечить ПДК токсичных веществ в нижних слоях атмосферы, на уровне дыхания, определяют по приближенным формулам, например:
,(2)
где ПДВ – предельно допустимый выброс вредных примесей в атмосферу, обеспечивающий концентрацию этих веществ в приземном слое воздуха не выше ПДК, г/с;
Н — высота трубы, м; V – объем газового выброса, м3/с;
Dt –разность между температурами газового выброса и окружающего воздуха, °С;
A – коэффициент, определяющий условия вертикального и горизонтального рассеивания вредных веществ в воздухе, с2/3- (ОС)1/3 (например, для района Урала А = 160);
F— безразмерный коэффициент, учитывающий скорость седиментации вредных веществ в атмосфере (для Cl2, HCl, HF F = 1);
т — коэффициент, учитывающий условия выхода газа из устья трубы, его определяют графически или приближенно по формуле
,(3)
где
– средняя скорость на выходе из трубы,
м/с;
DT — Диаметр трубы, м.
Метод достижения ПДК с помощью «высоких труб» служит лишь паллиативом, так как не предохраняет атмосферу, а лишь переносит загрязнения из одного района в другие.
В соответствии с характером вредных примесей различают методы очистки газов от аэрозолей и от газообразных и парообразных примесей. Все способы очистки газов определяются в первую очередь физико-химическими свойствами примесей, их агрегатным состоянием, дисперсностью, химическим составом и др. Разнообразие вредных примесей в промышленных газовых выбросах приводит к большому разнообразию методов очистки, применяемых реакторов и химических реагентов.
2 Фильтрация
Основана на прохождении очищаемого газа через различные фильтрующие ткани (хлопок, шерсть, химические волокна, стекловолокно и др.) или через другие фильтрующие материалы (керамика, металлокерамика, пористые перегородки из пластмассы и др.). Наиболее часто для фильтрации применяют специально изготовленные волокнистые материалы — стекловолокно, шерсть или хлопок с асбестом, асбоцеллюлозу. В зависимости от фильтрующего материала различают тканевые фильтры (в том числе рукавные), волокнистые, из зернистых материалов (керамика, металлокерамика, пористые пластмассы).
Тканевые фильтры, чаще всего рукавные, применяются при температуре очищаемого газа не выше 60-65°С. В зависимости от гранулометрического состава пыли и начальной запыленности степень очистки (КПД) составляет 85-99%. Гидравлическое сопротивление фильтра DР около 1000 Па; расход энергии ~ 1 кВт*ч на 1000 м3 очищаемого газа. Для непрерывной очистки ткани продувают воздушными струями, которые создаются различными устройствами – соплами, расположенными против каждого рукава, движущимися наружными продувочными кольцами и др. Сейчас применяют автоматическое управление рукавными фильтрами с продувкой их импульсами сжатого воздуха.
Волокнистые фильтры, имеющие поры, равномерно распределенные между тонкими волокнами, работают с высокой эффективностью; степень очистки h = 99,5¸99,9 % при скорости фильтруемого газа 0,15-1,0 м/с и DР=500¸1000 Па.
На фильтрах из стекловолокнистых материалов возможна очистка агрессивных газов при температуре до 275°С. Для тонкой очистки газов при повышенных температурах применяют фильтры из керамики, тонковолокнистой ваты из нержавеющей стали, обладающие высокой прочностью и устойчивостью к переменным нагрузкам; однако их гидравлическое сопротивление велико – 1000 Па.
Фильтрация – весьма распространенный прием тонкой очистки газов. Ее преимущества – сравнительная низкая стоимость оборудования (за исключением металлокерамических фильтров) и высокая эффективность тонкой очистки. Недостатки фильтрации высокое гидравлическое сопротивление и быстрое забивание фильтрующего материала пылью.
3 Очистка газов в фильтрах
В основе работы пористых фильтров всех видов лежит процесс фильтрации газа через пористую перегородку, в ходе которого твердые частицы задерживаются, а газ полностью проходит сквозь нее.

Рисунок 1 - Динамический пылеуловитель: 1 - «улитка»; 2 - циклон; 3 - пылесборный бункер.
Фильтрующие перегородки весьма разнообразны по своей структуре, но в основном они состоят из волокнистых или зернистых элементов и условно подразделяются на следующие типы:
гибкие пористые перегородки - тканевые материалы из природных, синтетических или минеральных волокон: нетканыеволокнистые материалы (войлоки, клены и иглопробивные материалы, бумага, картон, волокнистые маты); ячеистые листы (губчатая резина, пенополиуретан,мембранные фильтры);
полужесткие пористые перегородки — слои волокон, стружка, вязаные сетки, положенные на опорных устройствах или зажатые между ними;
жесткие пористые перегородки — зернистые материалы ( пористая керамика или пластмасса, спеченные или спрессованные порошки металлов, пористые стекла, углеграфитовые материалы и др.); волокнистые материалы (сформированные слои из стеклянных и металлических волокон); металлические сетки и перфорированные листы.
В процессе очистки запыленного газа частицы приближаются к волокнам или к поверхности зерен материала, сталкиваются с ними и осаждаются главным образом в результате действия сил диффузии, инерции и электростатического притяжения.
Проходя через фильтрующую перегородку, поток разделяется на тонкие непрерывно разъединяющиеся и смыкающиеся струйки. Частицы, обладая инерцией, стремятся перемещаться прямолинейно, сталкиваются с волокнами, зернами и удерживаются ими. Такой механизм характерен для захвата крупных частиц и проявляется сильнее при увеличении скорости фильтрования. Электростатический механизм захвата пылинок проявляется в том случае, когда волокна несут заряды или поляризованы внешним электрическим полем.
В фильтрах уловленные частицы накапливаются в порах или образуют пылевой слой на поверхности перегородки, и таким образом сами становятся для вновь поступающих частиц частью фильтрующей среды. По мере накопления пыли пористость перегородки уменьшается, а сопротивление возрастает. Поэтому возникает необходимость удаления пыли и регенерации фильтра.
В зависимости от назначения и величины входной и выходной концентрации фильтры условно разделяют на три класса:
фильтры тонкой очистки (высокоэффективные или абсолютные фильтры) предназначены для улавливания с очень высокой эффективностью (>99%) в основном субмикронных частиц из промышленных газов с низкой входной концентрацией (<1 мг/м3) и скоростью фильтрования <10 см/с. Фильтры применяют для улавливания особо токсичных частиц, а также для ультратонкой очистки воздуха при проведении некоторых технологических процессов. Они не подвергаются регенерации;
воздушные фильтры - используют в системах приточной вентиляции и кондиционирования воздуха. Работают при концентрации пыли менее 50 мг/м3, при высокой скорости фильтрации - до 2,5-3 м/с. Фильтры могут быть нерегенерируемые и регенерируемые;
промышленные фильтры (тканевые, зернистые, грубоволокнистые) применяются для очистки промышленных газов концентрацией до 60 г/м3. Фильтры регенерируются.
3.1 Тканевые фильтры
Эти фильтры имеют наибольшее распространение. Возможности их использования расширяются в связи с созданием новых температуростойких и устойчивых к воздействию агрессивных газов тканей. Наибольшее распространение имеют рукавные фильтры (рис. 1-10).
Корпус фильтра представляет собой металлический шкаф, разделенный вертикальными перегородками на секции, а каждой из которых размещена группа фильтрующих рукавов. Верхние концы рукавов заглушены и подвешены к раме, соединенной с встряхивающим механизмом. Внизу имеется бункер для пыли со шнеком для ее выгрузки. Встряхивание рукавов з каждой из секций производится поочередно.
В тканевых фильтрах применяют фильтрующие материалы двух типов: обычные ткани, изготавливаемые на ткацких станках и войлоки, получаемые путем сволачивания или механического перепутывания волокон иглопробивным методом. В типичных фильтровальных тканях размер сквозных пор между нитями достигает 100—200 мкм.
К тканям предъявляются следующие требования: 1) высокая пылеемкость при фильтрации и способность удерживать после регенерации такое количество пыли, которое достаточно

Рисунок 2 - Рукавный фильтр:
1 - корпус; 2 - встряхивающее устройство; 3 - рукав;
4 - распределительная решетка.
К тканям предъявляются следующие требования:
1) высокая пылеемкость при фильтрации и способность удерживать после регенерации такое количество пыли, которое достаточно для обеспечения высокой эффективности очистки газов от тонкодисперсных твердых частиц;
2) сохранение оптимально высокой воздухопроницаемости в равновесно запыленном состоянии;
3) высокая механическая прочность и стойкость к истиранию при многократных изгибах, стабильность размеров и свойств при повышенной температуре и агрессивном воздействии химических примесей, находящихся сухих и насыщенных влагой газах;
4) способность к легкому удалению накопленной пыли;
5) низкая стоимость.
Существующие
материалы обладают не всеми указанными
свойствами и их выбирают" в зависимости
от конкретных условий очистки. Например,
хлопчатобумажные ткани обладают хорошими
фильтрующими свойствами и имеют низкую
стоимость, но обладают недостаточной
химической и термической стойкостью,
высокой горючестью и влагоемкостью.
Шерстяные ткани характеризуются большой
воздухопроницаемостью, обеспечивают
надежную очистку и регенерацию, но
стойкость к кислым газам, особенно к
SО
и туману серной кислоты, низкая. Стоимость
их выше, чем хлопчатобумажных. При
длительном воздействии высокой
температуры волокна становятся хрупкими.
Работают при температуре газов до 90 °С.
Синтетические ткани вытесняют материалы из хлопка и шерсти благодаря более высокой прочности, стойкости к повышенным температурам и агрессивным воздействиям, более низкой стоимости. Среди них нитроновые ткани, которые используют при температуре 120—130°С в химической промышленности и цветной металлургии. Лавсановые ткани используются для очистки горячих сухих газов в цементной, металлургической и химической промышленности. В кислых средах стойкость их высокая, в щелочных — резко снижается.
Стеклянные ткани стойки при 150—350°С.
Их изготовляют из алюмобо-росилнкатного бесщелочного или магнезиального стекла.
Аэродинамические
свойства чистых фильтровальных тканей
характеризуются воздухопроницаемостью
— расходом воздуха при определенном
перепаде давления
,
обычно разном 49 Па. Воздухопроницаемость
выражается м3/(м2×мин);
численно она равна скорости фильтрации
(в м/мин) при
49
Па. Сопротивление незапыленных тканей
при
нагрузках 0,3—2 м3/(м2×мин)
обычно составляет 5—40 Па.
По мере запыления аэродинамическое сопротивление ткани возрастает, а расход газа через фильтр уменьшается.
Ткань
регенерируют путем продувки в обратном
направлении, механического встряхивания
или другими методами. После нескольких
циклов фильтрации-регенерации остаточное
количество пыли в ткани стабилизируется;
оно соответствует так называемому
равновесному пылесодержанию ткани q
(в кг/м2) и остаточному сопротивлению
равновесно запыленной ткани
.
Значения этих величин зависят от типа
фильтрующего материала, размеров и
свойств пылевых частиц, относительной
влажности газов, метода регенерации и
других факторов.
В
общем случае аэродинамическое
сопротивление тканей постоянно изменяется
во времени в некоторых пределах: от
остаточного сопротивления равновесно
запыленной ткани
до заданного сопротивления перед
регенерацией ДРТП;
(4)
где
-
сопротивление слоя пыли, накопленной
после регенерации.
Средняя скорость фильтрации vср (в м/мин) для многосекционных тканевых фильтров
(5)
где
-
заданное сопротивление запыленной
ткани перед регенерацией Па;
-
продолжительность цикла фильтрации в
секции, мин;
с' - исходная концентрация пыли, г/м3;
Кпс - коэффициент удельного сопротивления пыли, Н×мин/(кг×м);
-
скорость фильтрации, м/мин (
определяют при
49 Па);
,(6)
где
-
количество пыли, накопленное при
увеличении сопротивления от
,

Коэффициент
Кис характеризует структуру слоя пыли
в реальных условиях работы фильтра и
представляет собой слой пыли массой 1
кг, накопленный на 1 м2 фильтрующей
поверхности и создающий сопротивление
1 Па при скорости фильтрации
=
1 м/мин.
Необходимая площадь ткани в м2 в одной секции
(7)
где
—
объем фильтруемого газа, м3/мин;
п — число секций.
Сопротивление
запыленной ткани
с
учетом продувочного воздуха в
регенерируемой секции определяется по
уравнению
(8)
где
—
скорость продувочного воздуха через
ткань в регенерируемой секции, м/мин.
Исходя из практических и экономических соображений, сопротивление фильтров не должно превышать 0,75—1,5 кПа, лишь в особых случаях оно может быть 2—2,5 кПа. При более высоком значении сопротивления резко увеличивается величина проскока и возможен срыв рукавов или их разрушение.
Для приближенного расчета площади фильтрации следует определить общий расход запыленных газов (с учетом подсоса) и расход продувочных
газов, поступающих из регенерируемой секции. Надо знать скорость фильтрования. Тогда общая площадь фильтрации установки (в м2) составит
(9)
где SР - площадь фильтрации в одновременно работающих секциях, м2;
SС - площадь ткани в регенерируемой секции, м2;
-
расход запыленных газов с учетом подсоса,
м3/мин;
—
расход
продувочных газов или воздуха, м3/мин.
По данным практики, остаточная концентрация пыли после тканевых фильтров составляет 10—50 мг/м3./2,с.42/
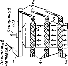
3.2 Волокнистые фильтры
Фильтрующий элемент этих фильтров состоит из одного или нескольких слоев, в которых однородно распределены волокна. Это фильтры объемного действия, так как они рассчитаны на улавливание и накапливание частиц преимущественно по всей глубине слоя. Сплошной слой пыли образуется только на поверхности наиболее плотных материалов. Для фильтров используют естественные или специально получаемые волокна толщиной от 0,01 до 100 мкм. Толщина фильтрующих сред составляет от десятых долей миллиметра (бумага) до 2 м (многослойные глубокие насадочные фильтры долговременного использования). Такие фильтры используют при концентрации дисперсной твердой фазы 0,5—5 мг/м3 и только некоторые грубоволокнистые фильтры применяют при концентрации 5—50 мг/м3. При таких концентрациях основная доля частиц имеет размеры менее 5—10 мкм.
Различают следующие виды промышленных волокнистых фильтров: 1) сухие - тонковолокнистые, электростатические, глубокие, фильтры предварительной очистки (предфильтры); 2) мокрые - сеточные, самоочищающиеся, с периодическим или непрерывным орошением.
Процесс фильтрации в волокнистых фильтрах состоит из двух стадий. На первой стадии (стационарная фильтрация) уловленные частицы практически не изменяют структуры фильтра во времени, на второй стадии процесса (нестационарная фильтрация) в фильтре происходят непрерывные структурные изменения вследствие накопления уловленных частиц в значительных количествах. В соответствии с этим все время изменяются эффективность очистки и сопротивление фильтра. Теория фильтрования в таких фильтрах еще недостаточно разработана.
Волокнистые фильтры тонкой очистки. Используются в атомной энергетике, радиоэлектронике, точном приборостроении, промышленной микробиологии, в химико-фармацевтической и других отраслях. Фильтры позволяют очищать большие объемы газов от твердых частиц всех размеров, включая субмикронные. Их широко применяют для очистки радиоактивных аэрозолей. Для очистки на 99% (для частиц 0,05—0,5 мкм) применяют материалы в виде тонких листов или объемных слоев из тонких или ультратонких волокон (диаметр менее 2 мкм). Скорость фильтрации в них составляет 0,01—0.15 м/с,сопротивление чистых фильтров не превышает 200—300 Па, а забитых пылью фильтров 700—1500 Па. Улавливание частиц в фильтрах тонкой очистки происходит за счет броуновской диффузии и эффекта касания.
Регенерация отработанных фильтров неэффективна или невозможна. Они предназначены для работы на длительный срок (0,5—3 года). После этого фильтр заменяют на новый. С увеличением концентрации пыли на входе >0,5 мг/м3 срок службы значительно сокращается.
Широко распространены фильтрующие материалы типа ФП (фильтры Петрянова) из полимерных смол. Они представляют собой слои синтетических волокон диаметром 1—2,5 мкм, нанесенные на марлевую подложку (основу) из скрепленных между собой более толстых волокон. В качестве полимеров для ФП используют перхлорвинил (ФПП) и диацетатцеллюлозу (ФПА), хотя возможно применение других материалов. Перхлорвиниловые волокна характеризуются гидрофобностью и высокой химической стойкостью в кислотах, щелочах и растворах солей. Но они не стойки против масел и растворителей и термостойкость их не велика (до 60 °С). Ацетатные волокна — гидрофильны, недостаточно стойки к кислотам и щелочам, но термостойкость их достигает 150 °С.
Материал ФП характеризуется высокими фильтрующими свойствами. Толщина слоев ФП (0,2—1 мм) дает возможность получить поверхность фильтрации до 100—150 м2 на 1 м3 аппарата. Пылеемкость материалов ФП (50—100 г/м2) выше, чем асбестоцеллюлозных картонов и стекловолокнистых бумаг.
Оптимальная конструкция фильтров тонкой очистки должна отвечать следующим основным требованиям: наибольшая поверхность фильтрации при наименьших габаритах; минимальное сопротивление; возможность более удобной и быстрой установки;, надежная герметичность групповой сборки отдельных фильтров. Этим требованиям соответствуют рамные фильтры (рисунок 3). Фильтрующий материал в виде ленты укладывают между П-образными рамками,

Рисунок 3 - Фильтры тонкой очистки:
а - рамный: 1 - П-обрэзная планка; 2 - боковая стенка; 3 - фильтрующий материал; 4 - разделитель;
б - с сепараторами клиновой формы типа Д-КЛ; 1 - фильтрующий материал; 2 - рамка-сепаратор клиновой формы;
в - комбинированный: 1 - секция с набивным слоем из волокон;
2 - секция тонкой очистки.
чередующимися при сборке пакета открытыми и закрытыми сторонами в противоположных направлениях. Между соседними слоями материала устанавливают гофрированные разделители, чтобы не допустить примыкания их друг к другу. Материал для рамок: фанера, винипласт, алюминий, нержавеющая сталь. Загрязненные газы поступают в одну из открытых сторон фильтра, проходят через материал и выходят с противоположной стороны.
Фильтры марки Д-КЛ (рисунок 3б) представляют собой набор цельно-штампованных гофрированных рамок-разделителей из винипластовой пленки, между которыми укладывается фильтрующий материал. Рамки имеют форму клиньев и установлены с чередованием открытых и закрытых сторон в противоположных направлениях.
Разработаны стекловолокнистые фильтры тонкой и грубой очистки производительностью от 200 до 1500 м3/ч с сопротивлением от 200 до 1000 Па.
Двухступенчатые или комбинированные фильтры (рисунок 3в). В одном корпусе размещают фильтры грубой очистки из набивного слоя лавсановых волокон толщиной 100 мм и фильтр тонкой очистки из материала ФП.
Глубокие фильтры. Это фильтры многослойные. Используются для очистки вентиляционного воздуха и технологического газа от радиоактивных частиц. Многослойные фильтры рассчитаны на работу в течение 10—20 лет. После этого их захороняют с цементированием./3,с.43/
3.3 Зернистые фильтры.
Применяются для очистки газов реже, чем волокнистые фильтры. Достоинства зернистых фильтров: доступность материала, возможность работать при высоких температурах и в условиях агрессивной среды, выдерживать большие механические нагрузки и перепады давлений, а также резкие изменения температуры. Различают насадочные и жесткие зернистые фильтры.
Насадочные (насыпные) фильтры. В таких фильтрах улавливающие элементы (гранулы, куски и т.д.) не связаны друг с другом К ним относятся:, статические (неподвижные) слоевые фильтры; динамические (подвижные) слоевые фильтры с гравитационным перемещением сыпучей среды; псевдоожиженные слои. В насыпных фильтрах в качестве насадки используется песок, галька, шлак, дробленые горные породы, древесные опилки, кокс, крошка резины, пластмассы, графит и др. Выбор материала зависит от требуемой термической и химической стойкости, механической прочности и доступности.
По мере накопления пыли в порах насадки эффективность улавливания возрастает. При увеличении сопротивления до предела производят рыхление слоя. После нескольких циклов рыхления насадку промывают или заменяют.
Фильтры имеют насадку с размером зерен 0,2—2 мм. Воздух направляется сверху вниз. При концентрации пыли на входе в фильтр 1—20 мг/м3 расход воздуха составляет 2,5—17,0 м3/(м2-мин); начальное сопротивление от 50 до 200 Па. Высота слоя на сетках находится в пределах от 0,1 до 0,15 м.
Имеются зернистые фильтры, регенерируемые путем ворошения или вибрационной встряски зернистого слоя внутри аппарата, а также фильтры с движущейся средой (рисунок 4). Материал перемещается между сетками или жалюзийными решетками.
Регенерацию материала от пыли проводят в отдельном аппарате - путем грохочения или промывки. Если фильтрующая среда состоит из того же материала, что и пыль, то загрязненные гранулы выводят из системы и используют в технологическом процессе.

Рисунок 4 - Фильтр с движущимися слоями зернистого материала: 1 - короб для подачи свежего зернистого материала: 2 - питатели; 3 -фильтрующие слои; 4 - затворы; 5 - короб для вывода зернистого материала.
Зернистые жесткие фильтры. В этих фильтрах зерна прочно связаны друг с другом в результате спекания, прессования или склеивания и образуют прочную неподвижную систему. К ним относятся: пористая керамика, пористые металлы, пористые пластмассы. Фильтры устойчивы к высокой температуре, коррозии и механическим нагрузкам и применяются для фильтрования сжатых газов. Недостатки таких фильтров: высокая стоимость, большое гидравлическое сопротивление и трудности регенерации, которую проводят четырьмя способами: 1) продуванием воздухом в обратном направлении; 2) пропусканием жидких растворов в обратном направлении; 3) пропусканием горячего пара; 4) простукиванием или вибрацией трубной решетки с элементами./3,с.45/
3.4 Очистка газов в электрофильтрах
В электрофильтрах очистка газов от пыли происходит под действием электрических сил. В процессе ионизации молекул газов электрическим разрядом происходит заряд содержащихся в них частиц (коронирующий электрод). Ионы абсорбируются на поверхности пылинок, а затем под действием электрического поля они перемещаются и осаждаются к осадительным электродам. Зарядка частиц в поле коронного разряда происходит по двум механизмам: воздействием электрического поля (частицы бомбардируются ионами, движущимися в направлении силовых линий поля) и диффузией ионов. Первый механизм преобладает при размерах частиц более 0,5 мкм, второй — менее 0,2 мкм. Для частиц диаметром 0,2—0,5 мкм эффективны оба механизма. Максимальная величина заряда частиц размером более 0,5 мкм пропорциональна квадрату диаметра частиц, а частиц размером меньше 0,2 мкм — диаметру частицы.
Величину заряда q (кА), приобретаемого проводимой частицей сферической формы под воздействием электрического поля, рассчитывают по формуле
(10)
где
—
диэлектрическая проницаемость (
=
Ф/м);
Е — напряженность электрического поля коронного разряда, В/м.
Величину заряда, приобретаемого непроводимой частицей, определяют по формуле
(11)
где
— относительная диэлектрическая
проницаемость частицы.

Рисунок 5 - Трубчатый электрофильтр:
1 - осадительный электрод; 2 - коронирующий электрод: 3 - рама; 4 - встряхивающее устройство; 5 - изолятор.
Таким образом, электроочистка включает процессы образования ионов, зарядки пылевых частиц, транспортирования их к осадительным электродам, периодическое разрушение слоя накопившейся на электродах пыли и сброс ее в пылесборные бункеры.
По конструктивным признакам электрофильтры различают по разным признакам: по направлению хода газов - на вертикальные и горизонтальные; по форме осадительных электродов - с пластинчатыми, С-образными, трубчатыми и шестигранными электродами; по форме коронируюших электродов - с игольчатыми, круглого или штыкового сечения; по числу последовательно расположенных электрических полей - на одно- и многопольные; по расположению зон зарядки и осаждения на одно- и двухзонные; по числу параллельно работающих секций - на одно- и многосекционные .
Наиболее распространены электрофильтры с пластинчатыми и трубчатыми электродами. В пластинчатых электрофильтрах между осадительными пластинчатыми электродами натянуты проволочные коронирующие. В трубчатых электрофильтрах. осадительные электроды представляют собой цилиндры (трубки), внутри которых по оси расположены коронирующие электроды.
Схема трубчатого электрофильтра представлена на рис. 5. Запыленный газ движется по вертикальным трубам диаметром 200—250 мм. Пыль оседает на внутренней поверхности труб. При помощи встряхивающего устройства ее удаляют в бункер.
Электрофильтры очищают большие объемы газов от пыли с частицами размером от 0,01 до 100 мкм при температуре газов до 400—450 °С. Гидравлическое сопротивление их достигает 150 Па. Затраты электроэнергии составляют 0,36—1,8 МДж на 1000 м3 газа.
Эффективность работы электрофильтров зависит от свойств пыли и газа, скорости и равномерности распределения запыленного потока в сечении аппаратов и т. д. Чем выше напряженность поля и меньше скорость газа в аппарате, тем лучше улавливается пыль.
Напряжение поля на расстоянии х метров от оси коронирующего электрода определяется по зависимости
(12)
где u — напряжение, приложенное к электродам, В;
и
—
радиусы коронирующего и осадительного
электродов, м.
Критическое напряжение электрического поля, при котором возникает корона, для воздуха определяется по формуле (в В/м)
(13)
отношение плотностей газа в рабочих и стандартных условиях
(14)
где
-
барометрическое давление, кПа;
Р - разряжение или избыточное давление в аппарате, кПа;
t - температура газов, °С.
Пыль
с малой электрической проводимостью
вызывает явление обратной короны,
которое сопровождается образованием
положительно заряженных ионов, частично
нейтрализующих отрицательный заряд
пылинок, вследствие чего последние
теряют способность перемещаться к
осадительным электродам и осаждаться.
На проводимость пыли оказывает влияние
состав газа и пыли. С повышением влажности
газов удельное электрическое сопротивление
пыли снижается. Наличие в очищенных
газах десятых и сотых долей процента
и >
значительно улучшает электрическую
проводимость пыли.
При высоких температурах газа понижается электрическая прочность межэлектродного пространства, что приводит к ухудшению улавливания пыли. С повышением температуры газов возрастает их вязкость и объем, а следовательно, увеличивается скорость потока в электрофильтре, что снижает степень обеспы-ливания. С увеличением скорости газа возрастает так называемый вторичный унос.
Для нормальной работы электрофильтров необходимо обеспечить чистоту осадительных и коронирующих электродов. Отложения загрязнений на коронирующем электроде способствуют повышению начального напряжения коронирования, но это не всегда возможно. Если пыль имеет большое электрическое сопротивление, то слой на электроде действует как изолятор и коронный разряд прекращается.
Теоретическая степень очистки газов в электрофильтре: для трубчатого электрофильтра
(15)
для пластинчатого электрофильтра
(16)
где
-
скорость движения частиц к осадительным
электродам (скорость дрейфа частиц),
м/с;
-
скорость газов в активном сечении
электрофильтра, т. е. в свободном сечении
для прохода газов, м/с;
L - активная длина электрофильтра, т. е. протяженность электрического поля в направлении хода газов (в вертикальных электрофильтрах совпадает с высотой электродов), м;
R - радиус трубчатого осадительного электрода, м;
h - расстояние между короннруюшим электродом и пластинчатым осадительным электродом (межэлектродный промежуток), м.
В
пределах применимости формулы Стокса
скорость
(в м/с) рассчитывают по следующим формулам:
для частиц диаметром

(17)
для
частиц диаметром

(18)
где
-
коэффициент, равный

(А
= 0,815 -
1,63);
-
длина среднего свободного пробега
молекул газа (
=
м)./4,с.96/
Заключение
Наиболее надежным и самым экономичным способом охраны биосферы от вредных газовых выбросов является переход к безотходному производству, или к безотходным технологиям. Термин «безотходная технология» впервые предложен академиком Н.Н. Семеновым. Под ним подразумевается создание оптимальных технологических систем с замкнутыми материальными и энергетическими потоками. Такое производство не должно иметь сточных вод, вредных выбросов в атмосферу и твердых отходов и не должно потреблять воду из природных водоемов.
Конечно же, понятие «безотходное производство» имеет несколько условный характер; это идеальная модель производства, так как в реальных условиях нельзя полностью ликвидировать отходы и избавиться от влияния производства на окружающую среду. Точнее следует называть такие системы малоотходными, дающими минимальные выбросы, при которых ущерб природным экосистемам будет минимален.
В настоящее время определилось несколько основных направлений охраны биосферы, которые в конечном счете ведут к созданию безотходных технологий:
разработка и внедрение принципиально новых технологических процессов и систем, работающих по замкнутому циклу, позволяющих исключить образование основного количества отходов;
создание бессточных технологических систем и водооборотных циклов на базе наиболее эффективных методов очистки сточных вод;
переработка отходов производства и потребления в качестве вторичного сырья;
создание территориально-промышленных комплексов с замкнутой структурой материальных потоков сырья и отходов внутри комплекса.
Таким образом, разработка и внедрение принципиально новых технологических процессов и систем, работающих по замкнутому циклу, позволяющих исключить образование основного количества отходов, является основным направлением технического прогресса.
Список литературы
Глинка Н.Л. Общая химия. Изд. 17-е, испр. — Л.: «Химия», 1975. – 728 с.
Экология и промышленность России.Журнал №11,2002 – 48с.
Техника защиты окружающей среды/Родионов А.И.,Клушин В.П., Торочешников И.С..Учебник для вузов. – М.Химия,1989 – 512с.
Очистка воздуха.Учебное пособие/Е.А.Штокман – Изд.60 АСВ,1998.– 320с.