Проблемы защиты окружающей среды Свердловской области
Содержание
Введение....................................................................................................................3
1. Экологическая обстановка в Свердловской области...….................................6
1.1. Специфика области........................................................................................6
1.2. Экологические проблемы региона...............................................................6
1.2.1. Атмосферный воздух.........................................................................7
1.2.2. Водные ресурсы..................................................................................7
1.2.3. Качество хозяйственно - питьевого водоснабжения.......................8
1.2.4. Земельные ресурсы.............................................................................9
1.2.5. Радиационная обстановка.................................................….............9
1.2.6. Промышленные и бытовые отходы..................................................10
1.2.7. Лесосырьевые ресурсы.......................................................................11
1.2.8. Животный мир.....................................................................................11
1.2.9. Особо охраняемые природные территории......................................11
1.3. Районы экологического неблагополучия.....................................................12
1.3.1. Нижний Тагил.....................................................................................12
1.3.2. Екатеринбург.......................................................................................13
1.3.3. Каменск-Уральский............................................................................14
1.3.4. Первоуральск. Ревда. Техногенная Пустыня...................................15
1.3.5. Восточно-Уральский радиоактивный след......................................16
2. Анализ наиболее острых экологических проблем.............................................17
2.1. Промышленное загрязнение воды................................................................17
2.2. Загрязнение воздушного бассейна................................................................20
2.3. Шумовые нагрузки на население..................................................................21
2.4. Проблема утилизации отходов......................................................................22
3. Возможные пути решения проблем.....................................................................24
3.1. Улучшение состояния водных ресурсов.......................................................24
3.1.1. Сточные воды......................................................................................24
3.1.2. Очистка питьевой воды. Флотационный метод................................24
3.2. Загрязнения воздушного бассейна................................................................25
3.3. Утилизация отходов........................................................................................26
Заключение..................................................................................................................26
Список литературы.....................................................................................................29
Введение
Данная курсовая работа посвящена описанию проблемы защиты окружающей Свердловской области. Актуальность данной темы не вызывает сомнения, поскольку данная проблема затрагивает каждого жителя ежедневно, ежечасно и, даже, ежеминутно. Воздух, которым мы дышим, с большим трудом можно назвать пригодным; воду, которую мы употребляем, с большим трудом можно назвать питьевой. Кроме того, есть и другие проблемы, которые также пагубно влияют на наше здоровье. Например, проблема шума в городах и неблагоприятная радиационная обстановка.
Моей задачей в данной работе было охарактеризовать проблемы защиты окружающей среды Свердловской области, проанализировать наиболее острые из них и выявить возможные пути их решения. На данную тему написано уже много работ, статей и докладов, но, наверное, еще нет работы, которая бы характеризовала экологию Свердловской области в условия углубляющегося экономического кризиса. Работа по оздоровлению экологии ведется уже давно. Разрабатываются программы, проектируются технологии. Но осуществление этих программ тормозится их финансовой стороной. Внедрение новых технологий требует средств, которых явно не хватает. При определении приоритетов в области охраны окружающей среды возможны два принципиально разных подхода - "технократический" и "экологический". В первом основной акцент делается на различного рода инженерных природоохранных мероприятиях (переработка старых отвалов, совершенствование систем очистки питьевой воды и пр.).Но это борьба со следствиями, а не устранение причин. Важно добиться устойчивого (самоподдерживающего) развитие системы "общество-природа", когда не требуется постоянного привнесения энергии извне для устранения постоянно возникающих перекосов. Учитывая ограниченность централизованных финансовых ресурсов, вряд ли целесообразно планировать широкомасштабные инженерные мероприятия: они хотя и дают быстрый и видимый результат, но требуют колоссальных затрат, а поэтому чаще всего не реализуются на практике. Более реалистично основные усилия и централизованные финансовые ресурсы сосредоточить на организации и обеспечении эффективности системы управления природопользованием, что вытекает из "экологического" подхода. При этом основная тяжесть финансового бремени переносится с бюджетного уровня на плечи самих природопользователей.
Эта проблема замечательна еще и тем, что ее масштабы не уменьшаются, даже если ослабевают причины, ее вызывающие. В последние годы значительно сократились объемы производства, но остались навсегда последствия загрязнений. Примером того может являться техногенная пустыня неподалеку от Ревды и Первоуральска или Восточноуральскй радиоактивный след (ВУРС).
Кроме того в последние годы резко увеличилась загрязняемость воздушного бассейна от передвижных объектов. Увеличился автомобильный парк. Загрязнение питьевой воды с резким сокращением производства (а то и с полным закрытием ряда предприятий) не только не исчезло, но, больше того, даже не уменьшилось.
История данной проблемы уходит корнями к началу XVIII столетия - ко времени правления Петра I. Одним из важнейших преобразований Петра стало создание Горнозаводской промышленности Урала. Проводилась политика поощрения промышленной деятельности, свободы предпринимательства, предоставлялись земли под заводы. Именно тогда родилась и осталась навсегда фраза "Урал - опорный край державы". Уральский регион, и, в частности, Свердловская область всегда играли решающую роль в производстве страны. Это значит, что по загрязнению окружающей среды Урал также находился в числе первых.
Говоря о проблемах защиты окружающей среды, нельзя не упомянуть о проблеме защиты флоры и фауны. В этом направлении тоже ведется работа со стороны областной власти. Согласно Постановлению Областной Думы Законодательного Собрания Свердловской области от 16.12.97 № 537 к особо охраняемым природным территориям относятся два государственных природных заповедника (“Висимский” и “Денежкин камень”), национальный парк “Припышминские боры”, государственный минералогический заказник “Режевской”, 19 государственных охотничьих заказников, 8 заказников по охране лекарственных растений, муниципальный природный парк “Оленьи ручьи”, 549 памятников природы, 110 генетических резерватов, 2 ботанических сада, 3 дендрологических парка, 5 лечебно-оздоровительных местностей и курортов, а также лесопарковые территории зеленых зон городов. Общая площадь особо охраняемых природных территорий всех категорий составляет 2 111 125 гектаров, из них площадь территорий, имеющих наиболее строгий режим охраны (государственные природные заповедники и национальный парк), составляет 136 931 гектаров при “индексе заповедности” равном 0,7 процента.
Однако, деятельность существующих особо охраняемых природных территорий, их режим охраны в настоящее время не соответствуют возложенным на них задачам и предъявляемым требованиям из-за недостаточного уровня их финансирования. Так, из федерального бюджета фактически выделяются средства только на заработную плату сотрудникам государственных природных заповедников, причем уровень заработной платы составляет 150–200 рублей в месяц. В областном бюджете предусматривается выделение средств только на лесоохранные и лесовосстановительные работы национального парка “Припышминские боры”, финансирование проводится через Свердловское управление лесами. Таких примеров, к сожалению, масса. Все проблемы экологии, как правило, проанализированы, больше того, разработаны четкие программы по их решению и нормативные документы, но поскольку средств нет, то и программы не приводятся в действие.
Мою работу условно можно разделить на две части: в первой я охарактеризую основные экологически неблагоприятные районы Свердловской области, а также районы экологического бедствия; во второй я охарактеризую и проанализирую основные, наиболее острые экологические проблемы региона в целом.
В своей работе я использовал аналитические данные, взятые мною из Государственного доклада о состоянии окружающей среды Свердловской области за 1996 год, а также с различных информационных WEB-сайтов во всемирной компьютерной сети Internet.
1. Экологическая обстановка в Свердловской области.
1.1. Специфика области.
Свердловская область занимает площадь 194300км2. Население - 4.7 млн. человек, в основном городское - 87%. Оно сосредоточено в 45 городах и 95 поселках городского типа.
Города и поселки области связаны железными дорогами протяженностью 2099 км и автомобильными - длиною около 19530 км. В области более 3.5 тысяч промышленно-хозяйственных организаций, из них около 600 крупных и средних промпредприятий, оказывающих неблагоприятное воздействие на окружающую природную среду.
Большая часть территории области занята лесами, что способствует поддержанию экологической стабильности климата, гидрогеологического режима, сохранению растительного и животного мира. В то же время ряд природных факторов снижает возможности области для поддержания экологического равновесия. Среди них - низкий уровень водообеспеченности территории, отсутствие крупных речных систем, частые засухи, распространение низкоплодородных почв, большая изрезанность рельефа в предгорьях, определяющая эрозию почвы, своеобразный режим воздухообмена, обуславливающий "смоговые" ситуации в атмосфере.
Интенсивное развитие в области горнорудной и металлургической промышленности, большие масштабы лесозаготовок и другие факторы привели к Истощению ее минеральных и лесных ресурсов. Использование экстенсивных методов в промышленности обусловило высокий уровень загрязненности природной среды вредными ингредиентами, достигшего критического значения в большинстве промышленных центров области.
1.2. Экологические проблемы региона.
1.2.1. Атмосферный воздух.
Уральский экономический регион по количеству вредных выбросов в атмосферу стоит на первом месте среди других регионов России, а на Свердловскую область приходится около трети всех выбросов Урала, поэтому в большинстве городов области сложилась неблагоприятная экологическая обстановка, а такие города, как Асбест, Екатеринбург, Каменск - Уральский, Кировград, Краснотурьинск, Первоуральск, Ревда, Серов близки к чрезвычайной экологической ситуации. Самый загрязненный город в Свердловской области - Нижний Тагил - объявлен зоной чрезвычайной экологической ситуации.
Загрязняющие вещества (окись углерода, окислы азота, сероводород, фенол, соединения металлов и другие) выбрасывают в атмосферу области более 1500 предприятий. Среди них основная доля выбросов приходится на предприятия металлургии (около 50%) и теплоэнергетики (около 30%). Это Нижне-Тагильский металлургический комбинат, Высокогорское рудоуправление, Качканарский ГОК, Богословский алюминиевый завод; Среднеуральский, Кировградский и Красноуральский медеплавильные комбинаты; Рефтинская, Верхне-Тагильская и Серовская ГРЭС.
За 6 последних лет в целом по области выброшено 12222 тыс. т загрязняющих веществ, в том числе в 1990 г. - 2720; 1991 г. - 2439; 1992 г. - 2114; 1993 г. - 1873, в 1994 г. - 1566 тыс. т. и в 1995 г. - 1510 тыс. т. В пересчете на одного жителя области это составляет 2604 кг или почти по 434 кг ежегодно.
В общем объеме выбросов в атмосферу велика доля выбросов вредных веществ от передвижных источников, особенно автотранспорта. Если в 1991 году автопарк области состоял из 293783 единиц, то в 1995 г. он достиг 500 тысяч, в основном за счет частных легковых автомобилей. Однако выбросы от автотранспорта в 1995 году снизились до 226 тыс. т., вместо 564 тыс. т. в 1991 году и 254 тыс. т. в 1994 году: уменьшился пробег грузового транспорта, часть машин переведена на газовое топливо, подействовали и другие факторы.
Загрязнение атмосферы выбросами от автотранспорта становится основным бедствием для населения многих городов, поэтому снижение их стало основной экологической проблемой, над которой сегодня работают специалисты различных предприятий и организаций, природоохранных учреждений области.
1.2.2. Водные ресурсы
В Свердловской области 18414 рек общей протяженностью свыше 68 тыс. км. На них построено 135 водохранилищ с суммарным объемом воды 2482 млн. куб.м; 1200 прудов с объемом от 50 до 700 тыс. куб. м. В области 2500 озер с площадью зеркала 1100 кв. км, кроме того146 шламозолонакопителей, прудов-отстойников токсичных вод с суммарным объемом 990 млн. куб. м с площадью зеркала 141,2 кв. км.
Поверхностные водные ресурсы области распределены неравномерно по территории и времени года. Так, на бассейны рек Исеть и Пышма с наибольшей концентрацией населения и промышленности приходится лишь 5% стока рек, а на бассейн реки Тавды, где проживает 3% населения области-55% стока.
В целом по области водохозяйственный баланс рек положительный, однако низкие величины минимального стока в маловодные годы на большинстве рек, повышенное загрязнение отдельных участков рек обусловили дефицит водных ресурсов требуемого качества до 25% в Екатеринбурге, Нижнем Тагиле, Кировграде, Невьянске, Асбесте, Березовском, Байкалово, Ирбите, Талице и других городах и поселках области.
Запасы подземных вод расположены преимущественно в малообжитых районах, естественные эксплуатационные ресурсы их составляют около 2,5 куб. км в год.
Водопотребление свежей воды в народном хозяйстве области в 1995 году составило 2701,5 млн. куб. м. Наиболее крупными потребителями свежей воды являются города Екатеринбург, Нижний Тагил, Каменск-Уральский и Серов. В Екатеринбурге основное использование воды приходится на хозпитьевые нужды, что составляет около трети всей свежей воды, забираемой из источников в этом регионе; в Нижнем Тагиле - на производственные нужды, что составляет более половины от общего забора воды по городу; в Каменске-Уральском половина воды также используется на производственные нужды, а в Серове - более 90%.
В водоемы Свердловской области в 1995 году сброшено 1772 млн. куб. м промышленных и хозяйственно-бытовых сточных вод (на 51 млн. куб. м меньше, чем в 1990 г.), из них 120 млн. куб. м загрязненных сточных вод сброшено без очистки. В прошлом году в водоемы сброшено 684 тыс. т (на 103 тыс. т. больше, чем в 1994 году) загрязненных веществ. Наибольшее количество сточных вод поступило от городов Серова, Екатеринбурга, Нижнего Тагила, Каменска-Уральского и Первоуральска. Поэтому самыми загрязненными реками стали Чусовая, Исеть, Пышма, Тура, Нейва, Салда и Ляля, на которых расположены основные промышленные центры. В этих реках обнаруживаются медь, никель, цинк, мышьяк, сероводород, фенолы, хром шестивалентный, нефтепродукты и другие загрязняющие вещества, в десятки, даже сотни раз превышающие ПДК для водоемов рыбохозяйственного назначения.
1.2.3. Качество хозяйственно - питьевого водоснабжения.
Из поверхностных источников области вода забирается 49 водопроводными системами, обеспечивающими водой около половины населения.
Значительное загрязнение питьевых водоемов органическими соединениями, металлами и прочими отходами отрицательно влияет на качество питьевой воды. Так, в Волчихинском водохранилище - основном источнике водоснабжения Екатеринбурга - обнаружены нитраты, медь, марганец, цинк и другие вредные вещества, а также микробные загрязнения. Из-за неэффективной очистки воды на фильтровальных станциях и плохого состояния водопроводной сети в отдельные периоды в питьевой воде содержание хлороорганических веществ превышает допустимые уровни до 10 раз.
Водопроводная вода в Екатеринбурге признана технической и перед употреблением в пищу подлежит локальной доочистке.
Подобные недостатки в хозпитьевом водоснабжении наблюдаются в городах Верхней Салде, Полевском, Первоуральске, Ревде, Нижнем Тагиле, Каменске-Уральском, Сухом Логу, Краснотурьинске. Поэтому проблема улучшения качества питьевого водоснабжения Свердловской области в последние годы стала наиболее острой и неотложной.
1.2.4. Земельные ресурсы.
Для области характерна сравнительно низкая сельскохозяйственная освоенность территории. В структуре земельного фонда земли сельхозназначения в 1995 году составляли 4164800 га, то есть 21,4%, в том числе 1498300 га пашни.
В области остра проблема заболачивания сельхозугодий, в том числе пашни, особенно в Слободо-Туринском, Байкаловском, Тавдинском, Таборинском, Гаринском, Алапаевском районах. Имеют кислую реакцию и требуют известкования почти половина сельхозугодий.
В результате разработки полезных ископаемых, их переработки и проведения геолого-разведочных работ, а также отвалами вскрышных пород, шлаков, шламо- и хвостохранилищами нарушено 51136 га земель, что составляет около 0,3% от общей площади области. Значительная площадь земель загрязнена тяжелыми металлами. Наиболее высокий уровень загрязнения почвы выявлен на территории городов
Кировграда (100%), Верхней Пышмы (96%), Екатеринбурга (69%), по 50% - в Верхней Салде, Реже и Полевском.
1.2.5. Радиационная обстановка.
Радиационная нагрузка на территории области достаточно плотная. На ней сосредоточено 1030 скоплений естественной радиоактивной минерализации урановой, ториевой и урано- ториевой природы; расположено 352 водопункта и групп водопунктов, содержащих экологически значимые концентрации урана, радия и радона.
Потенциально опасными в радиоэкологическом отношении являются 120 объектов, расположенных в основном вблизи населенных пунктов, среди них скопление радионуклидов в рудах, разрабатываемых или законсервированных месторождений (железа, меди, никеля, золота, редких металлов), в горных породах кислого состава (гранитах, гнейсах, пегматитах, кварцевых порфирах), известняках, речных рыхлых отложениях, торфах, которые разрабатываются на стройматериалы или могут быть объектом добычи.
На территории области также находятся скопления техногенных радионуклидов. В радиоэкологическом отношении наиболее опасны территории Восточно-Уральского радиоактивного следа (ВУРС), пос. Озерный Режевского района, Красноуфимского филиала комбината "Победа", промплощадки Ключевского завода ферросплавов. Кроме того, радиационную обстановку в области формируют более 1500 объектов, где используются источники ионизирующего излучения, радиоактивные материалы в технологическом процессе. Эти объекты расположены в Новоуральске, Лесном, Заречном, Екатеринбурге и других городах области.
Специальными проверками Екатеринбурга, Нижнего Тагила, Каменск-Уральского и Первоуральска во всех городах выявлено около 850 локальных участков радиоактивного загрязнения антропогенного происхождения; на некоторых из них дозы гамма-излучения достигали 90 р/ч. Проводится дезактивация этих участков.
1.2.6. Промышленные и бытовые отходы.
На начало 1996 года в хранилищах и на территории промпредприятий области накоплено 34 млрд.т отходов, около 3,9 млн. штук отработанных ртутных ламп, более 30 млн. куб. м бытовых отходов. Значительная часть отходов производства и вскрышных пород складируется в отвалах, шламохвостохранилищах, занимающих большие площади и являющихся источниками вторичного загрязнения природной среды. В общем объеме промышленных отходов - 35 млн. куб. м. токсичных отходов.
В результате недостаточных природоохранных мер, слабого внедрения малоотходных технологий, отсутствия упорядоченной системы сбора, транспортирования, обезвреживания и складирования отходов производства, вокруг промышленных центров появляются неорганизованные свалки мусора, которых в области насчитывается сотни. Зарегистрированных, разрешенных объектов для хранения промышленных и бытовых отходов в области 647. Утилизируется и перерабатывается отходов очень мало - около 15%.
1.2.7. Лесосырьевые ресурсы.
Площадь лесного фонда в области занимает 13583600 га, что составляет около 69% от ее территории; лесами покрыто 10740600 га.
Лесозаготовки в области ведутся более 300 лет. В южных и центральных районах идет четвертый оборот рубок. Леса Свердловской области составляют 1,5% от площади всех лесов России, по запасам спелой древесины - 1,4%, а по объему лесозаготовок - около 5%. Поэтому запасы спелой древесины за последние 20 лет уменьшились с 877 млн. куб. м до 600. Реальные же запасы, пригодные для промышленной заготовки, определяются в 290-310 млн.куб.м.
С 1991 по 1996 г. в области вырублено леса на 220500 га, а посадка леса проведена на территории 381000 га, что вселяет надежду на восстановление уральских лесов. Но увеличилось количество лесных пожаров: по сравнению с 1991 г. - в 1,5 раза.
1.2.8. Животный мир
На территории области обитает 40 видов млекопитающих, не считая мышевидных, и 210 видов птиц, из которых 30 видов млекопитающих и 57 видов птиц являются объектами охоты. В лесах наиболее часто встречаются белка, заяц-беляк, лось. В результате ведения сплошных рубок леса и по другим причинам численность многих пушных зверей и ценных птиц заметно снижается, особенно куницы, ондатры, норки, соболя и бобра.
Рыбохозяйственный фонд области составляют озера, водохранилища и реки. Промысловая площадь озер 65090 га, водохранилищ и прудов - 34980 га. В них водится промысловая рыба: щука, карп, карась, линь, толстолобик, частиковые и другие. Загрязнение водоемов промышленными стоками, а также нарушение мест нерестилищ, нагула рыб ведет к разрушению естественного процесса разведения и обитания рыб, снижению улова.
1.2.9. Особо охраняемые природные территории.
На 01.01.96 в Свердловской области 511 памятников природы. Организованы два резервата по охране редких видов птиц, орнитологический заказник по охране редких видов птиц, орнитологический заказник по охране мест гнездования орла-могильника площадью 230 га и памятник природы по охране места гнездования беркута площадью 600 га. По охране всего комплекса флоры и фауны организован ландшафтный заказник "Среднинский бор" на площади 8209 га.
В области действуют два природных заповедника: "Висимский" площадью 13500 га и "Денежкин Камень" площадью 78435 га. В западной части области создается Среднеуральский национальный природный парк "Река Чусовая" с площадью 45000 га. Всего же в области 31 заповедников, заказников и национальных парков с общей площадью, включая памятники природы, 1032000 га. Площадь действующих заповедников и природных парков составляет чуть больше 1% от площади Свердловской области, поэтому перед нами стоит задача значительно расширить площадь охраняемых территорий.
1.3. Районы экологического неблагополучия.
1.3.1. Нижний Тагил.
8 октября 1702 года - дата выпуска первого завода на реке Выя, 25 октября 1725 года заработал прообраз НТМК - железоделательный и чугуноплавильный комбинаты. Продукция этих предприятий подняла Россию. Родилась и навсегда осталась фраза: "Урал - опорный край державы".
Но окружающая среда в результате оказалась испорченной настолько, что даже после сокращения более чем на треть твердых выбросов, закрытия мартена и обжимного цеха предельно допустимая концентрация вредных веществ не сокращается. По 7 показателям, наоборот, увеличивается. Природа не в состоянии уже регенерироваться, накоплено большое количество токсичных отходов. Идет отток жителей.
Город, приносящий огромные прибыли стране, выплавляющий металл, строивший танки, нуждается в экстренной экологической помощи. В 1995 году была составлены и принята целевая программа на период до 2000 года. Стоимость данной программы более 26 трлн. рублей (по расценкам 1995 года), но за весь 1996 год было освоено всего 842,2 млрд. Единственная причина неудовлетворительного исполнения данной программы - недофинансирование. Данная программы могла бы быть выполнена, если бы хоть часть налогов, собираемых в городе, оставлялись на экологические нужды города, а не отправлялись в центр.
1.3.2. Екатеринбург.
Екатеринбургу 275 лет. Задуманный Петром Великим как крупный промышленный и административный центр Екатеринбург является таковым в течение почти трехвековой истории. С первых лет истории Екатеринбурга в нем было сосредоточено управление металлургическими и горнорудными предприятиями Урала и Сибири. В 1924 году имя Екатеринбург исчезло с карты страны. Укреплявшийся тоталитарный режим раздавал всем и вся имена новых вождей. Екатеринбург стал Свердловском, а в 1934 году - главным городом одноименной области.
В 20 - 30-к годы Свердловск сохранял значение индустриального и культурного центра Урала. Развернувшееся строительство заводов-гигантов обусловило рост населения более чем в 3 раза. В годы Великой Отечественной войны город превратился в мощный арсенал военной техники и вооружения. Ведущие предприятия города были перепрофилированы на военное производство. В Свердловске в кратчайшие сроки наладили выпуск боевой техники более 50 крупных предприятий, эвакуированных с запада. В послевоенный период город продолжал развиваться как крупный индустриальный центр Урала. Промышленность Свердловска являлась поставщиком важнейших видов продукции машиностроения, черной и цветной металлургии, химии, электроэнергетики, легкой и пищевой отраслей. Машиностроение и металлообработка сохраняли ведущее место в структуре индустрии города. Город рос. В 60-е годы на месте бывших пустырей выросли жилые массивы в районах Уралмаша, Эльмаша, Вторчермета, Химмаша, Втузгородка.
4 сентября 1991 года сессией городского Совета народных депутатов городу было возвращено его историческое имя Екатеринбург. Современный Екатеринбург - один из крупнейших индустриальный центров России. Его предприятия специализируются на производстве тяжелого, энергетического, транспортного и химического машиностроения, военной техники, качественных сталей, цветных металлов, продуктов химии. Верх-Исетский металлургический завод, Уралмаш, Электротяжмаш, ПО Турбомоторный завод широко известны в стране и за рубежом. Предприятия военно-промышленного комплекса переводятся на выпуск высокотехнологичной гражданской продукции. Успехов в конверсии производства достигли ПО Вектор, Уралтрансмаш, Уральский оптико-механический и Уральский электромеханический заводы.
Такие масштабы развития промышленности неизбежно влекут за собой загрязнения окружающей среды. Экологическая обстановка любого российского развитого промышленного города усугубляется еще и тем, что основным способом развития производства в России, увы, остается экстенсивный способ.
В последние годы, в связи с экономическим кризисом, вышеперечисленные предприятия резко сократили объемы производств. Несмотря на общую тенденцию снижения валовых выбросов, концентрации загрязняющих веществ в атмосферном воздухе - диоксидов азота и серы, оксида углерода, бенз(а)пирена, формальдегида, фенола, фтористого водорода и других - превышают гигиенические нормативы. Существенно выросла роль автотранспорта как источника загрязнения окружающей среды. Увеличивается автомобильный парк. Удельный вес выбросов транспортной техники в атмосферный воздух в Екатеринбурге составляет 72% от валовых.
Население Екатеринбурга использует для питьевых целей хлорированную воду открытых водоемов. Хлорирование питьевой воды приводит к образованию высокотоксичных и канцерогенных веществ.
1.3.3. Каменск-Уральский.
Город Каменск-Уральский относится к числу населенных мест Урала с наиболее неблагополучной экологической обстановкой. В 1957 и в 1967 годах он попал в радиоактивный след от аварии на НПО "Маяк" в Челябинской области. Радиоактивного загрязнения, угрожающего сегодня жителям города, не обнаружено. Существует около 200 небольших радиоактивных аномалий техногенного и природного происхождения, основную которых легко устранить. Основным источником загрязнения в последние годы являются предприятия цветной металлургии, энергетика и транспорт. Величина выбросов загрязняющих веществ в атмосферу составляет 88тыс. тонн в год. Средние за год концентрации основных вредных веществ в виде бенз(а)пирена и фтористого водорода превышают в 5 раз ПДК.
Около 335га жилой застройки находится в границах санитарно-защитных зон. В этих зонах проживает 19 тыс. человек. 117тыс. человек проживают в зонах сверхнормативного загрязнения.
Площадь зеленых насаждений общего пользования составляет 5,3 кв.м. на человека при норме 12 кв.м. Вместе с тем Каменск-Уральский - просторный и озеленённый город. Площадь лесов на территории города почти в 2 раза превышает минимальные нормативы.
Однако по сравнению с мировым образцом города-сада Милтоном Кейнсом (Англия) в Каменске-Уральском почти в 2 раза больше промышленных и в 3 раза меньше рекреационных территорий.
1.3.4. Первоуральск. Ревда. Техногенная Пустыня.
Первоуральск - крупный индустриальный центр Среднего Урала. Его экономический потенциал составляют более 40 заводов, фабрик, рудников, строительных организаций.
Первоуральск включен в число наиболее экологически неблагоприятных городов Уральского региона. Высоким уровнем загрязнения характеризуется атмосферный воздух. Так, в 1989 году в воздух было выброшено 4105,8 тонны загрязняющих веществ.
Крупными источниками загрязнения атмосферного воздуха являются такие предприятия, как ПО "Хромпик", Новотрубный завод и асфальтно-бетонный завод. На многих предприятиях устарело оборудование, нет достаточно эффективных очистительных сооружений. Требования по формированию санитарнозащитных зон не соблюдаются. В этих зонах проживает около 800 человек.
Река Чусовая в пределах города загрязнена сточными водами предприятий Первоуральска и Ревды. В объеме 56,3млн. куб. м. сточных вод от предприятий 704,8 тонн сбрасываются без очистки. Загрязнителями воды являются Новотрубный завод и ПО "Хромпик".
Очистные сооружения с мощностью 68,5 тыс. куб. м. в сутки не в состоянии очистить до нормативных величин объемы сточных вод, которые доходят до 100 тыс. куб. м. в сутки.
Лес в пригородной зоне подвержены деградации, насыщены бытовыми отходами и промышленным мусором. Почвы загрязнены медью, цинком, никелем.
В пяти километрах к югу от Первоуральска находится город Ревда. Показатель интенсивности загрязнения атмосферы Ревды - 171 тыс. тонн, т.е. более чем в 3 раза выше по сравнению с показателем загрязнения атмосферы Первоуральска.
Наиболее ощутимый ущерб среде Ревды и Первоуральска наносит Среднеуральский Медеплавильный Завод (СУМЗ), Расположенный между этими городами.
По данным института промышленной экологии УрО РАН (1990г.), на расстоянии четырех километров от источников выбросов этого предприятия зарегистрированы максимальные концентрации, превышающие ПДК: пыли в 13,5 раза, свинца в 11 раз, мышьяковистого ангидрида в 1,7 раза, сернистого газа в 10,4 раза, тумана серной кислоты в 2,8 раза, фтористого водорода в 4,8 раза, фторидов в 3 раза. Наблюдения также показали, что выбросы СУМЗа достигают центра Екатеринбурга. В реке Чусовой ниже площадки СУМЗа количество нефтепродуктов превышает норму в 7 раз, железа в 7,9 раз. В реке Ельчевке ниже площадки СУМЗа содержание нефтепродуктов превышает ПДК в 2,6 раза, железа в 2,7 раза.
Из-за большого количества выбрасываемых в атмосферный воздух вредных веществ в радиусе 2 км от СУМЗа образовалась так называемая техногенная пустыня, на которой нарушен почвенный покров и отсутствует растительность. Картину разрушения дополняют отвалы и карьеры.
1.3.5. Восточно-Уральский радиоактивный след (ВУРС).
Авария на ПО "Маяк" произошла в 1957 году. Все живущие в зоне ВУРСа (15 тысяч квадратных километров Челябинской, Свердловской, Тюменской областей) в течение 40 лет были подопытными кроликами. И только 7-8 лет тому назад, когда кыштымская авария была рассекречена, они узнали, какую научную миссию выполняют. Все четыре десятилетия у "микроскопа" стояли ученые челябинского филиала Института биофизики МЗ СССР, не допуская местных медиков к изучению влияния радиации на здоровье людей. Но местные радиологи тоже все эти годы работали. Их лабораторией стали 42 населенных пункта в Каменском, Богдановичском и Камышловском районах, а также город Каменск-Уральский - как наиболее пострадавший от радиации. Попавшие в кресло к стоматологу пациенты, даже не подозревали, что, расставшись с больным зубом, они делают большое одолжение исследователям. Зубы, как и другие костные ткани, подобно губке, впитывают стронций-90, поглощаемый с пищей. Сколько его накопилось, потом выявляется лабораторным путем. Количество стронция в зубах каменцев в первые годы наблюдений превышало среднее значение до 20 раз. Общая дозовая нагрузка на детей (а детский организм накапливает радиацию в 10 раз быстрее) оказалась выше нормы в полтора раза.
Даже сегодня на территории города и района есть весьма "грязные" участки с загрязнением выше 0,5 кюри на квадратный километр. В наиболее радиоактивных точках зоны содержание стронция-90 в овощах остается более высоким, а в молоке его в несколько раз выше среднеобластных показателей. В таблице 1 показано содержание радионуклидов в продуктах питания зоны ВУРСа Свердловской области в 1996 году в беккерелях на килограмм (Бк/кг).
Таблица 1
|
Наименование продукта |
Суммарная |
Стронций-90 |
Цезий-137 |
|
Молоко |
29 – 59 |
0,10 – 1,44 |
0,02 – 0,12 |
|
Мясо |
74 – 89 |
0,07 – 0,18 |
0,07 – 0,26 |
|
Картофель |
102 – 115 |
0,02 – 0,06 |
0,02 – 0,04 |
|
Рыба |
140 – 270 |
46 – 100 |
1,0 – 2,9 |
2. Анализ наиболее острых экологических проблем.
2.1. Промышленное загрязнение воды.
Таблица
2
Сброс
загрязненных сточных, шахтно-рудничных
и коллекторно-дренажных вод основными
объектами-загрязнителями Свердловской
области, имеющими сброс в количестве
3000м3/год
и более, за 1996 год
|
Объекты |
Сброшено загрязненных сточных вод тыс.м3 |
||
|
Всего |
В том числе |
||
|
Без очистки |
Недостаточно очищенные |
||
|
АООТ “Уральский алюминиевый завод” (г. Каменск-Уральский) |
9375 |
9375 |
- |
|
АООТ “Берёзовский рудник” (г. Березовский) |
10000 |
10000 |
- |
|
АООТ “Полевской криолитовый завод” |
Выведены на нормативный режим работы |
||
|
Белоярская
АЭС |
3735 |
- |
3735 |
|
Среднеуральская
ГРЭС |
6050 |
- |
6050 |
|
АООТ “Новотрубный завод” (г.Среднеуральск) |
4816 |
715 |
4101 |
|
МУП
“Управления водоснабжения” |
30089 |
386 |
29703 |
|
АООТ
“Северский трубный завод” |
16707 |
- |
16707 |
|
АООТ
“Синарский трубный завод” |
4678 |
10 |
4668 |
|
Шахтоуправление
“Егоршинское” |
8702 |
- |
8702 |
|
АООТ
“КУМЗ” |
3215 |
711 |
2504 |
|
МП
“Водоканал” |
252978 |
10520 |
242458 |
|
МП
ПТО ЖКХ |
6700 |
- |
6700 |
|
АОЗТ
“Известняк” |
4028 |
- |
4028 |
|
ТОО
“Экология” |
32464 |
- |
32464 |
|
ТОО “Агидель” (г. Реж) |
4327 |
- |
4327 |
|
МП ЖКХ (г. Сысерть) |
3172 |
- |
3172 |
|
АООТ
“Уралхимпласт” |
42112 |
4029 |
38083 |
|
ГПО
“Уралвагонзавод” |
11518 |
1796 |
9722 |
|
АООТ “Верхнесалдинское металлургическое производственное объединение” |
21630 |
144 |
21486 |
|
АООТ
“Кировградский медькомбинат” |
3943 |
157 |
3786 |
|
МП ЖКХ (г. Кировград) |
5813 |
- |
5813 |
|
АО “Салдинский металлургический завод” (г. Нижняя Салда) |
3132 |
1749 |
1383 |
|
АООТ
“Качканарский ГОК “Ванадий” |
14257 |
4401 |
9856 |
|
Горноблагодатское
рудоуправление (ГБРУ) |
3704 |
3234 |
470 |
|
МП ЖКХ (г. Кушва) |
Нормативный режим работы |
||
|
МП
“Руджилсервис” |
6175 |
- |
6175 |
|
МУП
“Хозбытканал” |
4306 |
- |
4306 |
|
МП
ПТО ЖКХ |
6412 |
- |
6412 |
|
АООТ
“Ивгид” |
7292 |
- |
7292 |
|
АООТ
“Высокогорский ГОК” |
10047 |
3923 |
6124 |
|
МП
“Энергия” |
5001 |
- |
5001 |
|
МПП
“Горэнерго” |
13413 |
1280 |
12133 |
|
Уральский
автомоторный завод |
Сброс меньше 3000 |
||
|
“Уральский
электрохимкомбинат” |
19306 |
18568 |
748 |
|
Комбинат |
17925 |
2334 |
15591 |
|
АООТ
“Лобвинский гидролизный завод” |
5727 |
- |
5727 |
|
АООТ “Новолялинский ЦБК” (г. Новая Ляля) |
6907 |
- |
6907 |
|
АООТ
“Металлургический завод им.
А.К.Серова” |
4050 |
- |
4050 |
|
АООТ
“Богословский алюминиевый завод” |
4342 |
- |
4342 |
|
АООТ
“Севуралбокситруда) |
11717 |
- |
11717 |
|
Разрез
“Волчанский” ПО “Вахрушевуголь” |
3454 |
3369 |
58 |
|
ТОО
фирма “Экофонд” |
11681 |
- |
11681 |
|
АООТ
“Туринский ЦБЗ” |
7532 |
136 |
7396 |
|
АООТ
“Тавдинский гидролизный завод” |
4970 |
- |
4970 |
|
Талицкий
биохимзавод |
3624 |
888 |
2736 |
|
АООТ “Нижнетагильский металлургический комбинат “Ником” (г. Нижний Тагил) |
93863 |
125 |
93738 |
|
ООО
“Фанплитпром” |
3156 |
- |
3156 |
|
ГУ
ЖКХ (г. Алапаевск) |
5757 |
- |
5757 |
|
ИТОГО: |
763812 |
77877 |
685935 |
По данным таблицы 2 получается, что за 1996 год было сброшено 763812 кубометров недостаточно очищенных сточных вод. Причем 77877 кубометров были сброшены без всякой очистки. Следующие города внесли наибольший вклад в загрязнение воды. Екатеринбург – его доля в общей массе выброшенных сточных вод – 33,12%. Нижний Тагил – 20,6%. Каменск-Уральский – 6,5%. Первоуральск – 4%.
2.2. Загрязнение воздушного бассейна.
Таблица
3
Вклад
городов в валовый выброс загрязняющих
веществ за 1996 год
|
Города области |
Количество загрязняющих веществ тыс.т |
||
|
От стационарных источников |
От автотранспорта |
Всего |
|
|
Екатеринбург |
28,014 |
54,325 |
61,952 |
|
Нижний Тагил |
210,983 |
14,208 |
61,952 |
|
Первоуральск |
6,353 |
6,295 |
61,952 |
|
Ревда |
102,397 |
2,778 |
61,952 |
|
Каменск-Уральский |
30,241 |
7,861 |
61,952 |
|
Асбест |
233,579 |
5,738 |
61,952 |
|
Краснотурьинск |
77,382 |
3,991 |
61,952 |
|
Красноуральск |
88,673 |
1,257 |
61,952 |
|
Кировград |
88,074 |
1,457 |
61,952 |
|
Серов |
58,616 |
3,336 |
61,952 |
|
1025,558 |
1025,558 |
1025,558 |
Исходя из данных таблицы 3, можно сказать, что стационарные источники пока остаются основным загрязнителем воздушного бассейна в малых городах областного подчинения. Это связано, во-первых, с большой плотностью промышленных предприятий в этих городах, и, во-вторых, с малым количеством населения, имеющим личный автотранспорт. Исключение составляет, пожалуй, Первоуральск. Вклад в загрязнение от автотранспорта здесь составил в 1996 году 49,77% от валового выброса. Это связано с тем, что Первоуральск расположен на главной автомагистрали, соединяющей Екатеринбург и Москву. Автотранспорт, загрязняющий воздушный бассейн Первоуральска, в основном, проходящий.
Иная ситуация сложилась в Екатеринбурге. Поскольку Екатеринбург – это крупный город и областной центр, то автотранспорт создает наибольшие загрязнения. Это обусловлено большим количеством населения в городе. Екатеринбург занимает среди российских городов четвертое место по численности населения после Москвы, Санкт-Петербурга и Нижнего Новгорода. А, как уже было сказано, от численности населения зависит и автомобильный парк. Кроме того, в Екатеринбурге загрязнения от автотранспорта (54,325 тыс. т) превысили почти в два раза загрязнения от промышленных предприятий (28,014 тыс. т)
В целом по области было выявлено 1025,558 тыс. т загрязняющих веществ. Примерно 10% из них от автотранспорта. С каждым годом доля автотранспорта будет расти. Усугубляется это еще тем, что население старается покупать автомобили отечественного производства в силу их относительно небольшой цены, а многие из них не отвечают экологическим требованиям. Кроме того, из-за слабой обновляемости автомобильного парка в России, по сравнению с другими развитыми странами, и из-за износа транспорта увеличивается количество выбрасываемых отходов.
Ситуация с автомобильным парком, тесно связана с экономикой России, жизненным уровнем народа. Люди стараются покупать товары длительного пользования (в частности автомобили). Особенно сильно это проявилось после начала экономического кризиса 17 августа 1998 года.
2.3. Шумовые нагрузки на население.
Основным физическим фактором окружающей среды, который может реально влиять на состояние здоровья городского населения области является шум. Основным источником шума являются автотранспортные средства. Вторым по значимости являются железнодорожные магистрали и аэропорты. Шум предприятий практически не влияет на шумовой климат. В таблице 4 представлены данные о количестве жителей разных городов области, которые проживают в различного рода неудовлетворительном шумовом климате.
Таблица
4
Оценка
уровней шума и шумовой нагрузки на
население.
|
Территория / обследованная часть населения |
Количество жителей, подверженных неблагоприятному воздействию повышенных уровней шума |
||||
|
70-75 |
65-70 |
60-65 |
55-60 |
Количество жителей, проживающих в неудовлетво-рительном шумовом климате |
|
|
Г. Екатеринбург (26000 чел.) |
4557 |
12160 |
20907 |
9381 |
47005 18,07% |
|
Г. Полевской (48011 чел.) |
В зоне шумовой нагрузки 50 – 55 дБА находится 5501 чел., остальные в зоне нагрузки до 50 дБА |
2987 |
2987 6,22% |
||
|
Г. Ивдель (32159 чел.) |
517 |
9183 |
9700 30,2% |
||
|
Г. Арти (16500 чел.) |
1740 |
300 |
3450 |
5490 33% |
|
|
Г. Кировград (25300 чел.) |
2200 |
2100 |
2200 |
3300 |
9800 38,7% |
|
Г. Верхняя Пышма |
830 |
153 |
363 |
237 |
1583 |
|
Г. Туринск |
4222 |
1162 |
374 |
5758 |
|
|
Г. Карпинск |
Все жители в удовлетворительном шумовом климате |
||||
|
Г. Невьянск |
1100 |
1100 |
В 1996 году на ряде территорий области (взяты типичные территории с одинаковым набором источников шума) определен уровень шума в жилых районах населенных мест и выполнен расчет шумовой нагрузки на население. Анализ полученных данных показал, что значительная часть населения крупных городов области проживает в неудовлетворительном “шумовом климате”.
2.4. Проблема утилизации отходов.
Данная проблема характерна для всей России. Она связана с технологической и экономической невозможностью утилизации отходов. Для свердловской области это одна из самых серьезных проблем. В таблицах 5 и 6 представлены данные за 1996 год, характеризующие накопленные в регионе отходы. В таблице 6 я отдельно выделил бытовые отходы.
Таблица
5
Размер
площадей, занимаемых хранилищами
отходов.
|
Тип хранилища |
Количество зарегистрированных хранилищ |
Количество хранилищ, представивших данные о площади |
Площадь, га |
|
Хранилища промышленных отходов |
401 |
271 |
11487,4 |
|
Из
них: |
42 |
30 |
2860,1 |
|
Сельскохозяйственные |
108 |
51 |
48,0 |
|
Свалки бытовых отходов |
450 |
364 |
889,2 |
|
Прочие типы хранилищ |
18 |
14 |
30,2 |
|
Итого по области |
869 |
649 |
12406,8 |
Таблица
6
Характеристика
свалок бытовых отходов.
|
Характеристика свалок |
Количество |
% |
|
Всего |
450 |
100 |
|
Из
них: |
9 |
2,0 |
|
Несанкционированных |
328 |
72,9 |
|
Имеют разрешения на землеотвод |
117 |
26,0 |
|
Имеют проект на строительство свалки |
22 |
4,9 |
|
Имеют заключение гидрогеологии |
42 |
9,3 |
|
Представили данные о занимаемой площади |
364 |
80,9 |
|
Представили данные о накопленных отходах |
165 |
36,7 |
Вообще, цифры из таблицы 6 не нуждаются в каких-либо комментариях. Но некоторые из них меня насторожили особенно. Например, из всех четырехсот пятидесяти свалок только сорок две (!) из них имеют заключение гидрогеологии. Это значит, что все остальные бесконтрольно загрязняют подземный пласт воды – один из немногих чистых источников последней. Всего 5% свалок имеют только проект на строительство (!) таковой. Число несанкционированных свалок сразу бросается в глаза – их 72,9% от общего числа.
На основании таблицы 5 я сделал следующий расчет, дающий образное представление о количестве отходов в Свердловской области. Итак, площадь Екатеринбурга примерно 490км2. Площадь, занимаемая отходами (на основании таблицы 5) 124,068км2. Получается, что площадь всех отходов Свердловской области составит примерно 25,32% от площади всего Екатеринбурга, или, грубо говоря, четверть. То есть, если все отходы Свердловской области собрать в Екатеринбурге, то ¼ часть города окажется полностью заполненная отходами!
Тот факт, что площадь свалок бытовых отходов составляет целых 7% от общей площади накопленных отходов, говорит о том, что система утилизации бытовых отходов как таковая отсутствует. Бытовые отходы: пищевые и не пищевые, сгораемые и несгораемые, токсичные и нетоксичные, все накапливаются вперемешку. Бытовой мусор не сортируется.
3. Возможные пути решения проблем.
3.1. Улучшение состояния водных ресурсов.
3.1.1. Сточные воды.
В городах Свердловской области качество воды, и в частности питьевой, страдает от следующих факторов: во-первых, от загрязнения источников, во-вторых, от плохого качества труб, и, в-третьих, от неправильной очистки. Чтобы улучшить состояние питьевой воды в городах, необходимо начинать с ликвидации выброса сточных вод. Моя идея в этом плане не новая, она широко используется на западе, но для ее внедрения в жизнь необходимо действие законов и контроль их исполнения, а также важно, чтобы предприятия были переданы в частные руки.
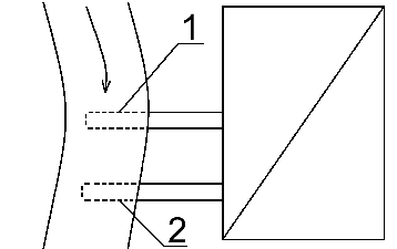
На рисунке 1 показано, как должны быть законодательно организованы потребление и сток воды (условно). Данный завод представляет собой саморегулирующуюся систему. Любой производитель заинтересован в потреблении чистой воды, но он не сможет ее потреблять, если будет выбрасывать много отходов. Труба стока (1) должна быть расположена выше трубы забора воды (2). Производитель (владелец завода) сделает все возможное, чтобы максимально очистить сточные воды. Он заинтересован в этом материально.


1 - Труба стока. 2 - Труба водозабора.
рис.
1. Метод
введения саморегуляции потребления
и стока воды на предприятиях (условно).
3.1.2. Очистка питьевой воды. Флотационный метод.
Данный метод очистки питьевой воды широко используется на Западе. Он включает в себя три процесса очистки: коагуляцию, флотацию и фильтрацию с постоянной промывкой фильтров. В России производством таких систем занимается компания “КРОФТА”. Преимущества новой технологии состоят в том, что эти системы сравнительно недорогие, их производительность намного выше, чем производительность фильтров старых конструкций.
Принцип работы типовой флотационной установки следующий. Очищаемая вода через коагуляционную камеру, встроенную в агрегат, поступает в верхнюю камеру, где смешивается с циркулирующей водой, насыщенной воздухом под давлением 0,7Мпа. Смешанные воды поступают в зону флотации, где загрязненные вещества флотируются мельчайшими пузырьками воздуха к поверхности воды. Флотошлам непрерывно удаляется специальным устройством, а осветленная вода поступает в зону фильтрации.
Безусловно, использование такой установки несет большие затраты, чем использование старых методов. Увеличиваются затраты на электроэнергию, на обслуживание и ремонт, но на мой взгляд ее внедрение целесообразно.
3.2. Загрязнения воздушного бассейна.
Проблема загрязнения воздушного бассейна, как уже говорилось выше, стоит особенно остро. Как показали данные таблицы 3, эта проблема имеет разный характер для Екатеринбурга и городов областного подчинения. В Екатеринбурге основная часть загрязнения идет от автотранспорта, в других городах – от предприятий. Одна из наиболее серьезных проблем для здоровья населения – это сброс в атмосферу твердых загрязняющих веществ (городской пыли). Твердые вещества, наряду с газообразными, наносят колоссальный вред здоровью жителей. Для ликвидации этой проблемы необходимо внедрение газоочистных систем, газоулавливающих и пылеулавливающих установок, фильтров и накопителей. Их внедрять необходимо в любом случае, поскольку только одним размещением проблема не решается.
Для снижения загрязненности городов от автотранспорта необходимо:
Улучшение организации движения транспортных потоков в городе, создание новых дорожных “развязок” и высокоскоростных дорог, рациональное транспортное планирование новых районов.
Повышение качества моторных бензинов.
Использование альтернативного газового топлива.
В настоящее время ведутся разработки электромобиля. Но внедрение данной идеи экономически и экологически нецелесообразно, поскольку для создания самих электромобилей и энергии для них приведет к таким же (если не большим) загрязнениям.
Правильная организация автомобильного движения также решает проблему шумовой нагрузки. К вопросу о шумовом климате в городах необходимо добавить еще и то, что для благоприятного шумового климата необходимо плавильное размещение транспортной инфраструктуры относительно жилых районов.
3.3. Утилизация отходов.
Как я уже говорил, накопленных отходов в Свердловской области уже достаточно много. Здесь есть две проблемы: во-первых, необходимо утилизировать уже накопленные, и, во-вторых, остановить дальнейшее накопление. Для уничтожения отходов наиболее эффективным является метод экономического стимулирования. На основе этого метода в 1996 году была предложена программа “Переработка техногенных образований Свердловской области”. Рекомендуемая система стимулирования предусматривает:
установление налоговых и иных льгот, предоставляемых организациям, перерабатывающим техногенные образования и предоставляющим инвестиции;
применение льготного кредитования;
передачу части средств, подлежащих перечислению во внебюджетные экологические фонды, на договорных условиях в виде субсидий или ссуд организациям, осуществляющим переработку техногенных образований.
Вопрос утилизации бытовых отходов – вопрос особый. Его решение, в отличие от всех остальных, зависит не только от экономической ситуации в стране, а он, прежде всего, зависит от самого населения, от его экологического воспитания. Для качественной утилизации бытового мусора необходимо его сортировать. Так делают на Западе, и ничего лучше пока не придумано. Например, пищевой мусор собирается отдельно и уничтожается соответствующе (служит удобрением или пищей скоту); консервные банки закапываются в землю и тоже служат удобрением; стеклянные и пластмассовые бутылки принимаются в магазинах и снова запускаются в производство. У нас же, в силу исконно-русского менталитета, количество мусора не считает никто.
Заключение.
Итак, в своей курсовой работе я охарактеризовал проблемы защиты окружающей среды Свердловской области. По четыре из них я привел количественные данные.
По данным таблицы 2 получается, что за 1996 год было сброшено 763812 кубометров недостаточно очищенных сточных вод. Причем 77877 кубометров были сброшены без всякой очистки. Следующие города внесли наибольший вклад в загрязнение воды. Екатеринбург – его доля в общей массе выброшенных сточных вод – 33,12%. Нижний Тагил – 20,6%. Каменск-Уральский – 6,5%. Первоуральск – 4%. Важнейшим способом искоренения данной проблемы является правильная организация стока и забора воды из водоёмов. Этот способ является больше экономическим, чем техническим, поскольку он ставит производителя в такие условия, что он сам вынужден внедрять новые технологии. Для очистки питьевой воды предложен флотационный метод как наиболее действенный и относительно выгодный.
Изучая проблему загрязнения воздушного бассейна, можно сказать, что основным источником загрязнения пока являются стационарные источники. Это связано с большой концентрацией промышленных предприятий в регионе. Роль автотранспорта в валовом загрязнении имеет тенденцию к увеличению, поскольку автопарк растет. Если рассматривать отдельно Екатеринбург, то можно увидеть иную ситуацию. Здесь – наоборот – доля автотранспорта в валовом выбросе составляет примерно 72%. Для ликвидации этой проблемы необходимо внедрение газоочистных систем, газоулавливающих и пылеулавливающих установок, фильтров и накопителей. Их внедрять необходимо в любом случае, поскольку только одним размещением проблема не решается. Для уменьшения загрязнений от передвижных источников необходима правильная организация движения транспорта и работа над качеством моторного топлива и над внедрением альтернативных видов топлива.
Основным физическим фактором окружающей среды, который может реально влиять на состояние здоровья городского населения области является шум. Основным источником шума являются автотранспортные средства. Вторым по значимости являются железнодорожные магистрали и аэропорты. В 1996 году на ряде территорий области (взяты типичные территории с одинаковым набором источников шума) определен уровень шума в жилых районах населенных мест и выполнен расчет шумовой нагрузки на население. Анализ полученных данных показал, что значительная часть населения крупных городов области проживает в неудовлетворительном “шумовом климате”. Для улучшения “шумового климата” также необходима правильная организация движения транспорта в городах, а также работа по разработке новых бесшумных типов двигателей.
Для Свердловской области одна из самых серьезных проблем – проблема утилизации отходов. На основании приведенных данных произведен следующий расчет. Площадь Екатеринбурга примерно 490км2. Площадь, занимаемая отходами (на основании таблицы 5) 124,068км2. Получается, что площадь всех отходов Свердловской области составит примерно 25,32% от площади всего Екатеринбурга. Если все отходы Свердловской области собрать в Екатеринбурге, то ¼ часть города окажется полностью заполненная отходами. Площадь всех бытовых отходов составляет 7% от общей площади отходов. Это говорит о плохом показателе утилизации. Все отходы должны сортироваться и утилизироваться раздельно. Для особо вредных отходов необходима разработка технологий безопасного хранения и вторичного использования.
Информация получилась действительно, весьма неутешительная. Для решения проблем требуются колоссальные затраты, и, по крайней мере, в ближайшем будущем их решить не удастся. Больше того, на сегодняшний день они остаются не решаемыми в связи с углубляющимся экономическим кризисом, который усугубляется еще и невыполнением законов на всех уровнях.
Изучая возможные пути решения проблем, я заинтересовался некоторыми предложениями, но их внедрение, опять же требует больших затрат и действующего закона. Мы можем сказать, что улучшение экологической обстановки в Свердловской области произойдет только тогда, когда укрепится национальная экономика и укрепится законодательная база.
Список литературы
1. Постановление Областной Думы Законодательного Собрания Свердловской области “Об информации Правительства Свердловской области об экологической обстановке и состоянии здоровья населения в связи с деятельностью Среднеуральского медеплавильного завода в 1997 году” от 05.11.97 № 490.
2. Постановление Областной Думы Законодательного Собрания Свердловской области “Об исполнении Областного закона “Об особо охраняемых природных территориях Свердловской области” от 16.12.97 № 537.
3. Государственный доклад о состоянии окружающей среды. Екатеринбург. Администрация Свердловской области 1996г.
4. Проблема охраны окружающей среды Уральского региона: Тезисы докладов. – Екатеринбург, 1997.
5. Евсеев Б. Резонанс в унисон с природой // Наука Урала. 1998. №19. С.4-5.
6. Колбина Л. XXI век без свалок // Уральский рабочий. 1997. 2 декабря.
7. Колясников В. Каменск-Уральский – зона чрезвычайной экологической ситуации // Стройкомпекс Среднего Урала. 1998. №2-3. С. 14-15.
8. Колясников В. Первоуральск – Ревда и техногенная пустыня // Стройкомплекс Среднего Урала. 1998. №5. С.15-16.
9. Ларионов А., Шаповалова Л. // Уральский рабочий. 1997. 2 октября.
10. Микушин В. Урал превращается в свалку токсичных и ядерных отходов // Деловой урал. 1997. №17. С.2.
11. Терлецкий В. Экологическая обстановка в Свердловской области // Курсив. 1996. №2. С102-104.
12. Якубовский А. Урал атомный – Урал экологический // Наука Урала. 1998. №19. С.6.