Производство водорода из твердых топлив
Производство водорода из твердых топлив
А.М. Дубинин, доктор техн. наук, Г.Р. Кагарманов, А.В. Финк, инженеры ГОУ ВПО «Уральский государственный технический университет - УПИ», Екатеринбург
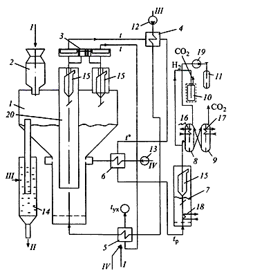
В настоящее время водород применяется в проходных металлургических печах для создания в них безокислительной среды. В будущем он будет использоваться как экологически чистое топливо, например, в двигателях внутреннего сгорания. Принципиальная схема производства водорода из твердого топлива приведена на рис. 1. Подготовленное твердое топливо (просушенное, размолотое и рассеянное) поступает через шлюзовой питатель 2 в газогенератор 1 с кипящим слоем и самообогревом [1]. Под кипящий слой подается насыщенный пар в соотношении с углеродом топлива 2 : 1. В газогенераторе протекает эндотермическая реакция (1) c увеличением объемов продуктов реакции в 2 раза.
|
C + 2H3O = H3O + CO + H3 |
(1) |
Тепловой эффект этой реакции qx1 = 3146 кДж/кг пара. В верхнюю зону кипящего слоя вводится воздух, необходимый для сгорания части полученного продукта и обеспечения автотермичности процесса газификации по реакции (2), идущей с уменьшением объема продуктов в 1, 15 раза с экзотермическим тепловым эффектом qx2 = 14446 кДж/кг исходного водяного пара.
|
H3O + CO + H3 + (O2 + 3, 76N2) = CO2 + 2H3O + 3, 76N2, |
(2) |
Оставшаяся часть продукта из газогенератора 1 по центральной трубе направляется в реактор 7, где на дисперсном железохромовом катализаторе протекает экзотермическая реакция (3) водяного газа [2] без увеличения объема продуктов с экзотермическим тепловым эффектом qx3 = 1140 кДж/кг пара.
|
H3O + CO + H3 = CO2 + 2H3 |
(3) |
Далее из реактора 7 продукты поступают на разделение либо в абсорбер 8, либо в газовую центрифугу 10, где углекислый газ отделяется от водорода. Схема предусматривает полную утилизацию теплоты отходящих газов. Водород компримируют в компрессоре 19 и закачивают в баллоны 11 для дальнейшего использования.

Рисунок 1 - Принципиальная технологическая схема производства водорода из углей
1 - газогенератор с кипящим слоем и самообогревом; 2 - шлюзовый питатель; 3 - регулятор поддержания равенства давлений в камерах газификации и сгорания; 4 - выносной экономайзер кипящего типа парового котла 5; 6 - воздухоподогреватель; 7 - реактор с кипящим слоем катализатора; 8 - абосорбер; 9 - десорбер; 10 - центрифуга; 11 - баллоны для водорода; 12 - питательный насос; 13 - воздуходувка; 14 - гидрозатвор для вывода золы; 15 - циклоны для возврата уноса; 16 - холодильник; 17 - нагреватель (холодильник); 18 - теплообменник; 19 - компрессор; 20 - труба; I - подача угля; II - вывод золы; III - питательная вода; IV - подача воздуха
ВЫВОДЫ
Производство водорода по рассмотренной технологии происходит в три стадии:
1-я — в газогенераторе с самообогревом на никелевом дисперсном катализаторе с получением Н2О, СО и Н2 при температуре 650 °С;
2-я — в реакторе на железохромовом дисперсном катализаторе с получением на выходе СО2 и Н2 при температуре 400 °С;
3-я — разделение СО2 и Н2 в абсорбере или газовой центрифуге либо на адсорбенте при меняющемся давлении с последующим компремированием и закачиванием Н2 в баллоны.
Оптимальные параметры газогенератора с самообогревом: доля полезно отводимого продукта х — 0, 65, температура кипящего слоя — 650 °С, диаметр частиц угля — 4 мм, рабочая скорость продуктов газификации — 4, 6 м/с при рабочих параметрах на полное сечение газогенератора.
В газогенератор с самообогревом для обеспечения производительности реактора v — 0, 1 м/с следует подать 0, 039 кг/с угля с содержанием углерода 70 %, 0, 0825 кг/с водяного пара, 0, 242 кг/с воздуха в зону горения. Выход водорода из реактора (при rH3 = 66, 7 %) — 0, 0667 м3/с. Диаметр газогенератора в зоне ввода пара — 0, 39 м, патрубка для отвода полезного продукта — 0, 254 м, в зоне выхода продуктов сгорания — 0, 628 м, высота кипящего слоя — 1м. Диаметр реактора при рабочей скорости продуктов конверсии 0, 268 м/с и диаметре частиц железнохромового катализатора 0, 5 мм равен 1 м. Площадь поверхности пучка для отвода избыточной мощности и поддержания температуры в кипящем слое 400 °С равна 0, 5 м2, высота абсорбера — 4 м, диаметр — 0, 16 м, расход абсорбента (воды) — 0, 354 л/с, концентрация водорода на выходе из абсорбера — 94 %.
При разделении Н2 и СО2 в газовых центрифугах при производительности каждой по исходной смеси 1, 34 м3/ч потребуется 269 центрифуг. Концентрация Н2 на выходе из одной ступени — 88, 5 %. Потребляемая мощность одной газовой центрифуги при диаметре 0, 2 м, высоте 1 м и частоте вращения 1115с-1 равна 0, 16 кВт.
Список литературы
А.М. Дубинин, А.П. Баскаков, А.Г. Алексее / А.с. 1328296 АЛ. Газогененратор для газификации в кипящем слое. - Открытия. Изобретения, 1987, № 29.
Химические вещества из угля: Пер. с нем./Под ред. И.В. Калечица. - М.: Химия, 1980.
Для подготовки данной применялись материалы сети Интернет из общего доступа