Автоматизация процесса прокалки кокса
АВТОМАТИЗАЦИЯ ПРОЦЕССА ПРОКАЛКИ КОКСА ВО ВРАЩАЮЩИХСЯ ПЕЧАХ
Краткое описание технологического процесса прокаливания кокса
Прокаленный кокс используется для изготовления электродов, применяемых в электролизерах для электролиза алюминия. Кокс прокаливается с целью удаления влаги и летучих компонентов для улучшения качественных показателей углеродистого сырья (нефтяных и пековых коксов): повышения плотности (d>i>) и увеличения механической прочности. Технологическим агрегатом для прокаливания служит трубчатая вращающаяся печь, установленная с уклоном в сторону горячей головки.
В качестве топлива используется мазут.
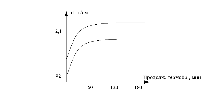
Загружается сырой кокс в печь через холодную головку из расходного бункера ленточным весоизмерителем. Процесс прокаливания проходит по принципу противотока. Кокс по мере прохождения печи нагревается. При этом из него вначале удаляется влага, а затем при температуре 300-700 0С – большая часть летучих. Качество прокаленного кокса зависит от температурного режима в печи и времени нахождения материала в ней. Для коксов, используемых для анодов в производстве алюминия, наилучшей контрольной величиной является действительная плотность. Действительная плотность прокаленного кокса тем выше, чем ниже его удельное электрическое сопротивление. Динамика изменения действительной плотности нефтяного кокса приведена на графике (рисунок 2).
d>i>,> >г/см3
1200 0С
1300 0С
Рисунок 2 – Динамика изменения действительной плотности
нефтяного кокса
Нагретый до 1200-1450 0С кокс поступает в водоохлаждаемый холодильник, установленный под печью, где охлаждается до температуры 70-100 0С.
Процесс прокалки кокса во вращающейся печи
как объект автоматизации
На основании опыта эксплуатации и экспериментальных данных систематизируем основные параметры прокалочной печи по признаку: входные, режимные, выходные.
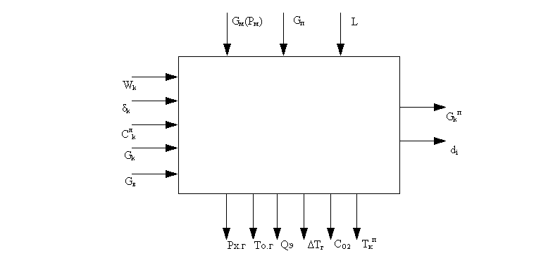
К входным параметрам процесса можно отнести качественные показатели (влажность – W>k>, крупность – δ>k>, содержание летучих – Cл>k>), загружаемого сырого кокса и его количество – G>k>, расход вторичного воздуха – G>в>, а также действующие на печь возмущения (рисунок 3).

Рисунок 3 – Процесс прокалки кокса во вращающейся печи как объект управления
Основными возмущениями являются: изменение расхода (давления) мазута – G>м>(Р>м>), геометрические размеры топливного факела, которые зависят от расхода пара G>п>, изменение положения печи (L), а также изменения W>k>, δ>k>, Cл>k>.
Второстепенные параметры (изменение толщины футеровки, изменение теплотворной способности мазута, изменение температуры вторичного воздуха и т.д.) из рассмотрения были исключены.
Режимными параметрами можно считать: разрежение в холодной головке печи – Р>х.г.>; содержание кислорода в отходящих газах – С>О2>; температуру отходящих газов – Т>о.г.>; разность температур в газоходе - ΔТ>г>; температуру прокаленного кокса на выходе из печи – Т>к>п и нагрузку электродвигателя главного привода печи – Q>э>.
Выходными параметрами процесса прокалки являются: количество прокаленного кокса на выходе их печи – G>k>п, истинная плотность прокаленного кокса – d>i> и удельное электросопротивление кокса в порошке.
В качестве управляющих воздействий используется: расход сырого кокса в печь – G>k>, расход мазута – G>м>, расход пара (геометрические размеры топливного факела) – G>п>, расход вторичного воздуха в печь – G>в>, разрежение в холодной головке печи – Р>х.г>.
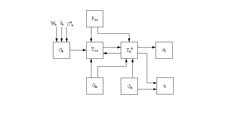
На рисунке 4 приведена схема взаимосвязей основных параметров процесса прокаливания кокса.

Рисунок 4 – Схема взаимосвязей основных параметров процесса прокаливания кокса
Неравномерность подачи сырого кокса, изменение влажности, крупности и содержание летучих в нем неблагоприятно сказывается на протекании процесса прокалки. Так увеличение количества загружаемого кокса G>k>, повышение его влажности W>k>, содержания летучих Cл>k> и снижение крупности δ>k> ведет к уменьшению длины зоны прокаливания и сдвигу ее к нижней головке печи.
Существенно влияют на распределение температуры по длине печи и колебания тягового режима. При увеличении разрежения Р>х.г>, зона прокаливания смещается к верхней головке печи и общая длина ее увеличивается, что способствует получению высококачественных прокаленных коксов при повышении производительности. Однако при увеличении разрежения значительно увеличивается унос мелких частиц кокса, т.е. возрастают потери кокса. К этому же приводит и избыток подачи воздуха в печь (G>в>), т.к. увеличивается угар кокса (q).
Температура прокаленного кокса Т>к>п оказывает воздействие на температуру отходящих газов. С другой стороны Т>о.г.>, характеризующая состояние зоны подсушки по тракту материала, влияет на Т>к>п.
АСУ ТП прокалки кокса
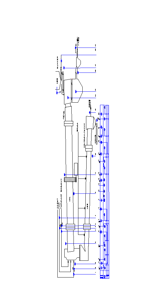
АСУ ТП прокалки кокса во вращающейся печи (рисунок 5, 6) построена по двухуровневому принципу. На нижнем уровне, выполненном на базе микропроцессорного контроллера Simatic S5 – 155, осуществляется автоматический контроль основных параметров процесса прокалки (расходов: сырого кокса, мазута, пара на распыление мазута, вторичного воздуха, прокаленного кокса; температуры: отходящих газов, прокаленного кокса на выходе из зоны прокалки, перед котлом-утилизатором; разрежения в холодной головке печи, концентрации кислорода в отходящих газах) и автоматическое регулирование некоторых из них (температуры прокаленного кокса на выходе из зоны прокалки, температуры отходящих газов, расходов сырого кокса, мазута и пара, а также соотношения расходов мазута и воздуха). Основные возмущения (изменение влажности и гранулометрического состава загружаемого кокса, сегрегация его в бункере) компенсируются, в основном, системой автоматической стабилизации расхода сырого кокса с коррекцией по мгновенному весу фиксированного объема кокса на ленте транспортера весоизмерителя и автоматического регулирования температуры отходящих газов, которые и стабилизируют положение зоны прокалки. Между температурой отходящих газов и температурой кокса на выходе из зоны прокалки существует достаточно тесная связь (коэффициент корреляции r ≈ - 0,6). Поэтому при стабилизации температуры отходящих газов не будет значительных отклонений от заданного значения температуры кокса на выходе из зоны прокалки. А те отклонения, которые возникнут, будут скомпенсированы системой стабилизации данной температуры изменением расхода мазута в печь.
Таким образом, для уменьшения отклонений температуры кокса на выходе из зоны прокалки вследствие изменения состава и крупности загружаемого кокса необходимо изменять разрежение в холодной головке печи, расход мазута и подачу воздуха при автоматическом поддержании необходимого соотношения расходов мазута и воздуха.
Системы автоматической стабилизации расходов: прокаливаемого кокса, мазута и пара стабилизируют подачу материальных и энергетических потоков на требуемом уровне и, тем самым, способствуют стабильному протеканию процесса прокалки.






























































|
Рис. 4 Структурная схема АСУ ТП прокалки |


|
Рисунок 6 – Функциональная схема АСУ ТП прокалки |
Системы автоматического регулирования (АСР) в целом обеспечивают стабилизацию температурного режима процесса прокалки, что позволяет использовать их в автономном режиме без верхней иерархической ступени. Они выполнены по схеме одноконтурного регулирования по отклонению, однако в автоматической системе стабилизации расхода сырого кокса введена коррекция по мгновенному весу фиксированного объема кокса на ленте транспортера весоизмерителя, который косвенно характеризует крупность и влажность загружаемого кокса.
На верхнем уровне, реализованном на базе рабочей станции, с помощью нейросетевой математической модели осуществляется прогнозирование истинной плотности прокаленного кокса и расчет оптимальных уставок (заданий) локальным АСР.
Для создания нейросетевой математической модели использовалась система (пакет программ) моделирования нейросетей «Qnet v2.1».
При решении прямой задачи (прогноз качества прокаленного кокса) использовалась нейросеть (НС) на базе многослойного персептрона с полными связями, имеющая четыре скрытых слоя нейронов (рисунок 7).


Рисунок 7 – Нейросеть прямой задачи (НС-1)
Для обучения сети применялся оптимизированный алгоритм обратного распространения с использованием момента. В качестве входных данных на модель подавались значения основных технологических параметров процесса (давление мазута (Р>М>) и пара (Р>П>), разрежение в холодной головке печи (Рх.г.), температура кокса на выходе из зоны прокалки, разность температур отходящих газов в газоходе (Т2-Т1), температура отходящих газов, расход сырого кокса, влажность и содержание летучих в прокаливаемом коксе). На их основе модель (после обучения) рассчитывала значение истинной плотности, прокаливаемого кокса (d>ист.>). Обученная нейросеть имеет высокую точность (ошибка расчета d>ист. >не превышает 1%).
Для решения обратной задачи – нахождения оптимальных уставок регуляторам локальных АСР, в зависимости от качества сырого кокса и требуемой d>ист.> (2,03 г/см3), во входном слое обратной НС 3 нейрона, в выходном – 7, а количество скрытых слоев – 2 (рисунок 8).


Рисунок 8 – Нейросеть обратной задачи (оптимизации) - НС-2
Подавая на входы обученной обратной НС параметры, характеризующие качество прокаливаемого кокса (W>k>, Сл>k>) соответствующего поставщика и требуемое по технологическому регламенту значение d>ист. >= 2,03 г/см3, получают требуемые режимы прокалки (уставки задания регуляторам локальных АСР).
Использование для создания управляющей математической модели нейросети позволяет повысить точность прогнозирования истинной плотности прокаленного кокса и управления процессом, упростить процедуру нахождения оптимальных значений режимных параметров (заданий для АСР) и подстройки модели при изменении характеристик прокалочной печи.