Виды гидроусилителей
РЕФЕРАТ
По курсу «Гидроприводы и гидромоторы»
Тема: «Виды гидроусилителей»
Содержание
1. Принцип действия и области применения
2. Классификация гидроусилителей
3. Типы гидроусилителей
4. Чувствительность, точность и устойчивость гидроусилителей
Список литературы
1. Принцип действия и области применения
Гидроусилитель - совокупность гидроаппаратов и объемных гидродвигателей, в которой движение управляющего элемента преобразуется в движение управляемого элемента большей мощности, согласованное с движением управляющего элемента по скорости, направлению и перемещению.
Следящим называется регулируемый гидропривод, в котором скорость движения выходного звена изменяется по определенному закону в зависимости от задающего воздействия на звено управления. Выходное звено — это обычно шток гидроцилиндра или вал гидромотора, а звено управления — устройство, на которое подается управляющий сигнал. Название такого привода - "следящий Гидроусилитель" или "следящий гидропривод" - обоснованы тем, что выход такого гидроусилителя автоматически устраняет через обратную связь возникающее рассогласование между управляющим воздействием (входным сигналом) и ответным действием (выходным сигналом).
В большинстве случаев использования следящего гидропривода к функциям слежения добавляются также функции усиления управляющего сигнала по мощности, поэтому следящий гидропривод часто называют гидроусилителем. Гидравлические следящие приводы нашли широкое применение в различных отраслях техники и в особенности в системах управл6ения современными транспортными машинами, включая автомашины, морские суда, самолеты и прочие летательные аппараты.
Следящий гидропривод применяют в тех случаях, когда непосредственное ручное управление той или иной машиной является для человека непосильным (на самолетах кораблях тяжелых автомобилях и тракторах, строительнодорожных и других машинах, а такжё в системах гидроавтоматики металлорежущих станков).
Принцип работы следящего привода заключается в следующем. Изменение условий работы машины или параметров технологического процесса вызывает перемещение задающего устройства, которое создает рассогласование в системе. Сигнал рассогласования воздействует на усилитель, а через него и на исполнительный механизм. Вызванное этим сигналом перемещение исполнительного механизма через обратную связь устраняет рассогласование и приводит всю систему в исходное положение.
Блок-схема следящего привода (рис.1) состоит из следующих основных элементов:
задающего устройства ЗУ, которым формируется сигнал управления, пропорциональный требуемому перемещению исполнительного механизма (датчики, реагирующие на изменение условий работы или параметров технологического процесса);сравнивающего устройства СУ, или датчика рассогласования, устанавливающего соответствие сигнала воспроизведения, поступающего от исполнительного механизма, сигналу управления; усилителя У, которым производится усиление мощности сигнала управления за счет внешнего источника энергии ВИЭ;
исполнительного механизма ИМ, которым перемещается объект управления и воспроизводится программа, определяемая задающим устройством;
обратная связь ОС, которой исполнительных механизм соединен со сравнивающим устройством или с усилителем. Обратная связь является отличительным элементом следящего привода.

Рис.1. Блок-схема следящего привода
Величина x = f (t) (перемещение или скорость), сообщаемая задающим устройством сравнивающему устройству, называется "входом", а y = φ (t)(перемещение или скорость), воспроизведенная исполнительным механизмом, - "выходом". Разность (x - y) = ε называется ошибкой слежения или рассогласования системы.
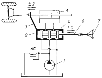
Рассмотрим работу следящего привода на примере принципиальной схемы рулевого управления автомобиля (рис.2).

Рис.2. Принципиальная схема следящего рулевого привода автомобиля: 1 - насос (внешний источник энергии); 2 - втулка усилителя; 3 - обратная связь; 4 - исполнительный механизм; 5 - золотник усилителя; 6 - винт; 7 - рулевое колесо (задающее устройство)
При прямолинейном движении автомашины все элементы системы рулевого управления находятся в исходном положении. Жидкость из насоса 1 поступает к гидроусилителю золотникового типа. Золотник 5 усилителя занимает нейтральное положение, а в обеих полостях исполнительного механизма 4 установилось одинаковое давление. При необходимости изменить направление движения автомобиля водитель поворачивает рулевое колесо 7. Связанный с рулевым колесом винт 6 перемещает золотник усилителя на величину x, вызывая рассогласование в системе. При этом проходные сечения одних рабочих окон усилителя уменьшаются, а других увеличиваются. Это создает перепад давлений у исполнительного механизма, а его поршень приходит в движение, перемещаясь на величину y и поворачивая колеса автомобиля. Одновременно через обратную связь 3 движение поршня передается на втулку 2 усилителя. Совокупность 2 и 3 является сравнивающим устройством. Втулка перемещается в том же направлении, что и золотник 5 до тех пор, пока рассогласование в гидросистеме, вызванное поворотом рулевого колеса, не будет устранено. При непрерывном вращении водителем рулевого колеса поршень со штоком будет также непрерывно перемещаться, вызывая соответствующий поворот колес. При этом небольшие усилия водителя, прикладываемые к рулевому колесу, гидроприводом преобразуются в значительные усилия на штоке поршня, необходимые для управления автомобилем.
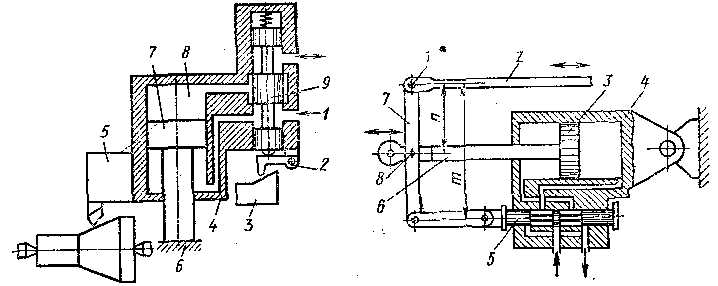
Схема простейшёго следящего гидропривода поперечной подачи суппорта копировального токарного станка показана на рас. 3. Суппорт 5 объединен с выходным звеном гидропривода — подвижным корпусом 4 гидроцилиндра, в котором размещено также звено управления — золотниковый гидрораспределитель 9. Поршень 7 гидроцилиндра закреплен на корпусе 6 суппорта. При продольной подаче суппорта щуп 2 скользит по копиру 3 и смещает гидрораспределитель, который открывает доступ жидкости из подводящей гидролинии 1 в большую полость 8 гидроцилиндра. Это вызывает смещение корпуса 4 с закрепленным на нем резцом, повторяющее смещение гидрораспределителя. При этом щель, соединявшая полость 8 с подводом 1 перекрывается, чем осуществляется прямая обратная связь выходного и задающего звеньев. Она восстанавливает равновесие в системе после исполнения управляющего сигнала. Непрерывное протекание процессов рассогласования и восстановления представляет слежение выходного звена за командой задающего.
Схема широко распространенного гидроусилителя с рычажной связью между звеньями показана на рис. 3.1. В нем выходному звену, штоку 6, сообщаются движения, согласованные с определенной точностью с перемещением звена управления, Тяги 2, при требуемой усилении входной мощности.
Для обеспечения сложения выходного звена 6 за перемещёнием звена управления 2 обычно применяют отрицательную обратную связь, передающую движения выходного звена на звено управления для уменьшения, управляющего сигнала. Действие этой связи сводится к тому, что движение звена управления в сторону открытия расходных окон распределителя - 5 вызывает движение выходного звена, направленное на их закрытие.
Обратная связь в схеме, представленной на рис. 3.1, осуществляется с помощью дифференциального рычага 7, охватывающего распределитель (звено управления) 5 и поршень гидродвигателя 3 со штоком 6 (выходное звено). При перемещении тяги 2, связанной с ручкой управления, перемещается точка 1 дифференциального рычага 7, о которым связаны штоки силового цилиндра 4 и распределителя 5. Так как силы, противодействующие смещению золотника распределителя, несравненно меньше соответствующих сил, действующих в системе силового поршня 3, точку 6 штока можно рассматривать в начале движения тяги 2 как неподвижную, ввиду чего перемещение тяги вызовет через рычаг 7 смещение золотника распределителя 5. В результате при смещении его из центрального положения на величину превышающую перекрытие (m -t)/2 (рис. 3.66, а), жидкость поступит в соответствующую полость цилиндра 4, что вызовет перемещение поршня 3(а, следовательно, и движение точки 8 выходного звена б) на некоторое расстояние, пропорциональное перемещению тяги 2.

Рис. 3. Схема следящего гидропривода копировального станка,

Рис. 3.1. Схема гидроусилителя с механической обратной связью
Если движение тяги 2 прекратится, продолжающий перемещаться поршень 3 сообщит через рычаг 7 золотнику распределителя 5 перемещение, противоположное тому, которое он получал до этого при смещении тяги 2. При атом расходные окна распределителя будут в результате обратного движения его плунжера постепенно прикрываться, скорость поршня 3 будет уменьшаться до тех пор, пока золотник не придет в положение, при котором окна распределителя полностью перекроются и движение поршня прекратиться. При смещении золотника распределителя в противоположную сторону движение всех элементов регулирующего устройства происходит в обратном направлении.
В действительности отдельных (ступенчатых) этапов движения управляющего и выходного звеньев рассматриваемого следящего привода не существует, а оба движения протекают почти одновременно, т. е. имеется не ступенчатое, а непрерывное слежение исполнительным механизмом за перемещением звена управления. После того как выходной сигнал, переданный через обратную связь, становится равным управляющему сигналу, питание гидродвигателя прекращается.

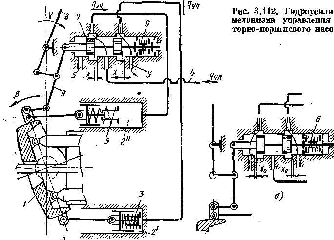
Рисунок 3.2
Примером использования
такого гидроусилителя может служить
показанный па рис. 3.2., а механизм
управления для
отклонения люльки в крупных
регулируемых роторно-поршневых насосах.
Гидроусилитель питается по линии 4
от вспомогательного насоса,
встроенного в корпус основного насоса.
Отклонение и удерживание люльки 1
в отклоненном положении
производится поршнями гидроцилиндров
и
.
При отклонении внешнего
рычага 8 управления
золотник 7 смещается
из среднего положения на ход Х и открывает
доступ жидкости из линии 4
в один из гидроцилиндров,
а другой в то же время соединяет с
областью слива 5. Так
как люлька 1 связана
с золотником 7 и
рычагом 8 управления
двуплечим рычагом 9 обратной связи,
наполнение цилиндра будет происходить
только при условии, что скорость смещения
золотника, вызываемого поворотом рычага
8, больше
скорости перемещения, вызываемого
отклонением люльки 1. Если
рычаг остановлен при отклонении
,
то люлька продолжает двигаться, пока
не вернет золотник в среднее положение
и остановится при угле отклонения
,
пропорционально
.
При остановке насоса и прекращении
подачи питания
из линии 4 центрирующая
пружина 6 приводит золотник в среднее
положение (рис. 3. 2, б). При этом золотник
соединяет полости обоих цилиндров с
областью слива 5 через
щели
и пружины 3 нульустановителя
устанавливают люльку также в положение,
подготавливая насос к следующему пуску.
Управление смещением золотника и его обратная связь с люлькой могут быть электрическими. В этом случае работа насоса может регулироваться дистанционно и автоматически, например, по командам ЭВМ. Гидроприводы, в которых входным воздействием является электрический сигнал, преобразуемый в перемещение гидрораспределителя называют электрогидравлическими. В них выходное звено отслеживает изменение электрического сигнала, поступающего на звено управления. Рассмотрим простейшие системы для преобразования электрического сигнала в гидравлический.
2. Классификация гидроусилителей
Применяемые в автоматизированных гидроприводах гидроусилители классифицируют по следующим признакам.
По методу управления различают гидроусилители без обратной связи и с обратной связью между управляющим элементом и ведомым звеном исполнительного механизма.
По конструкции управляющего элемента гидроусилители подразделяют на усилители с дросселирующими гидрораспределителями золотникового типа, с соплом и заслонкой, со струйной трубкой, крановые, с игольчатым дросселем.
По числу каскадов усиления гидроусилители подразделяют на одно-, двух- и многокаскадные. Многокаскадные применяют в тех случаях, когда требуется получить на выходе большую мощность и сохранить при этом высокую чувствительность гидроусилителя.
По виду сигнала управления гидроусилители подразделяют на усилители с механическим и электрическим сигналами управления.
Важными характеристиками усилителей являются коэффициенты усиления: по мощности k>N>, по расходу k>Q>, по скорости k>υ> и по давлению k>P>
:
где N>вых>, N>вх> - мощности на ведомом звене исполнительного элемента гидроусилителя и мощность, затрачиваемая на его управление; δQ, δυ, δP - изменение расхода, скорости движения ведомого звена исполнительного элемента и давления жидкости на выходе при изменении положения управляющего элемента гидроусилителя на величину δx.
3. Типы гидроусилителей
3.1 Гидроусилитель золотникового типа
Гидроусилители золотникового типа получили наибольшее распространение. Они просты по конструкции, разгружены от аксиальных статических сил давления жидкости, легко управляемы, имеют высокий КПД и обеспечивают достижение значительных коэффициентов усиления по мощности.
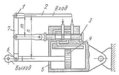
Схема следящего гидроусилителя золотникового типа с гидродвигателем прямолинейного движения и жесткой рычажной обратной связью представлена на рис.4.

Рис.4. Схем гидроусилителя золотникового типа с обратной связью:
1 - шарнир; 2 - тяга; 3 - золотник распределителя; 4 - поршень;
5 - корпус силового цилиндра; 6 - шарнир; 7 - дифференциальный рычаг
Этот гидроусилитель состоит в основном из тех же элементов что и рассмотренный выше усилитель рулевого привода автомобиля. При перемещении тяги 2, связанной с ручкой управления, перемещается шарнир 1 дифференциального рычага 7 обратной связи, с которым вязаны штоки силового цилиндра 5 и золотника распределителя 3. Так как силы, противодействующие смещению золотника распределителя, значительно меньше соответствующих сил, действующих в системе силового поршня 4, то шарнир 6 может рассматриваться в начале движения тяги 2 как неподвижный, ввиду чего движение его вызовет через рычаг 7 смещение плунжера золотника распределителя 3. В результате при смещении золотника из нейтрального положения, жидкость поступит в соответствующую полость цилиндра 5, что вызовет перемещение поршня 4, а следовательно, и шарнира 6, связанного с "выходом". При этом выходное звено сместится пропорционально перемещению тяги 2.
После того как движение тяги 2 будет прекращено, продолжающийся выдвигаться поршень 4 сообщит через рычаг 7 обратной связи плунжеру золотника распределителя 3 перемещение, противоположное тому, которое он получал до этого при смещении тяги 2 управления. Так как при этом расходные окна золотника будут в результате обратного движения плунжера постепенно прикрываться, количество жидкости, поступающей в цилиндр 5, уменьшится, вследствие чего скорость его поршня будет уменьшаться до тех пор, пока плунжер золотника не придет в положение, в котором окна полностью перекроются, при этом скорость станет равной нулю.
При перемещении плунжера золотника в противоположную строну движение всех элементов регулирующего устройства будет происходить в обратном направлении.
В действительности отдельных этапов движения "входа" и "выхода" рассматриваемого следящего привода с жесткой обратной связью не существует, и оба движения протекают практически одновременно, т.е. имеет место не ступенчатое, а непрерывное "слежение" исполнительным механизмом за перемещением "входа".
3.2 Гидроусилитель с соплом и заслонкой
.

Рис.5. Схема гидроусилителя типа сопло-заслонка
Гидроусилитель типа сопло-заслонка показан схематически на рис. 5. состоит из сопел 1 и 4, которые вместе с подвижной заслонкой 2 образуют два регулируемых щелевых дросселя, и нерегулируемых дросселей 5 и 12, установленных на пути подвода жидкости из точки 6, куда она подается от насоса. Работа такой дроссельной системы, являющейся первым каскадом гидроусилителя. Исполнительным механизмом гидроусилителя служит гидроцилиндр 9.
Первый каскад управляет смещением золотника 8, который является вторым каскадом гидроусилителя и непосредственно управляет гидроцилиндром.
Вся система нужна для
того, чтобы на входе мог быть использован
маломощный электрический командный
сигнал от задающей электронной аппаратуры.
Этот сигнал подается на подается обмотки
миниатюрного электромеханического
преобразователя 3 (поворотного
электродвигателя) в виде разности
напряжений
и
в результате чего происходит отклонение
заслонки 2,
до ее
отклонения обе дросселирующие ветви А
и Б имели
одинаковые сопротивления и пропускали
одинаковые расходы
и
.
После отклонения сопротивление
сопла, к которому приблизилась заслонка,
увеличивается
и расход через него
уменьшается. Расход в другой ветви
возрастает. При этом возникает неравенство
давлений
и
в узловых точках ветвей. Эта разница
давлений вызывает смещение золотника
8 центрируемого
пружинами 7 в 11, что
в конечном итоге приводит в действие
гидроцилиндр.
Если в такой системе па выходе исполнительного механизма, предусмотрен датчик обратной связи 10, сигнализирующий об исполнении подавной команды напряжением, ослабляющим сигнал на входе, то она будет представлять электрогидравлическую следящую систему.
Главным преимуществом
такого гидроусилителя является применение
простейших квадратичных дросселей, но
чувствительных к засорениям и к изменению
вязкости жидкости. Такие дроссели, имея
нелинейные характеристики, позволяют
при взаимодействии получить характеристики
со взаимосвязью входных и выходных
параметров близкой к линейной. В
рассматриваемой системе, входной
параметр — отклонение заслонки 3 ,а
выходной — различие давлений
и
,
смещающее золотник 8.
Линейность таких взаимосвязей
всегда желательна, так как упрощает
применение гидроусилителя в качестве
составной части сложных автоматических
систем.
Уравнения пропускной способности ветвей А и В гидроусилителя, в которых нерегулируемый дроссель и регулируемое сопло пропускают одинаковый расход, имеют вид


где
коэффициент расхода дросселя;
— коэффициент расхода сопла.
Значения коэффициентов
и
для этих элементов в ветвях А
и Б, вообще
говоря, могут быть различны из-за различия
расходов
и смещений
,
ведущего к различию в
.
Смещения
заслонки по отношению к двум соплам
взаимосвязаны:

Максимальное смещение
не может превышать для упрощении
.
Для упрощения записи введем понятия
проводимости элементов: для нерегулируемых
дросселей
-
близкая к постоянной величина, изменяющаяся
только с изменением
;
для регулируемых дросселей сопел -
-переменная
величина из-за переменности
и
.
Примем выработанные практикой рекомендации для соотношений размеров и проводимостей таких гидроусилителей:

Решая совместно уравнения
для
и
с применением принятых обозначении и
предпосылок, получаем уравнения
статической характеристики гидроусилителя
(предположено, что заслонка приближается
к соплу 4 и
открывает сопло1):


Характеристики, построенные по этим уравнениям показаны на рис. 6.
Рис.6. Характеристика гидроусилителя типа сопло заслонка
График
относительного различия
давлений симметричен относительно оси,
соответствующей среднему положению
заслонки
.
При любом соотношении взаимосвязанных
смещений
и
по графику
можно
найти полный расход
через ветви гидроусилителя. При среднем
положении заслонки это расход максимален.
Рис. 6. показывает, что при
соблюдении приведенных выше рекомендаций
о размерах и проводимостях элементов
дроссельной системы, гидроусилитель
способен обеспечить взаимосвязь между
смещением заслонки
и
величиной
относительного различия давлений,
близкую к линейной.
Двустороннее воздействие струй на заслонку позволяет использовать для ее отклонения поворотные электродвигатели, расходующие весьма малую электрическую мощность.
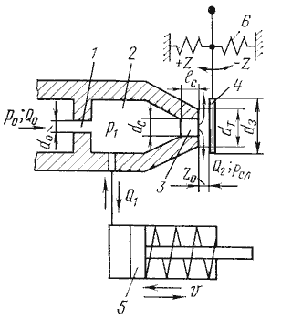
Гидроусилитель с соплом и заслонкой (рис.7) состоит из управляющего элемента в виде нерегулируемого дросселя 1, междроссельной камеры 2, регулируемого дросселя, выполненного в виде сопла 3, заслонки 4 и задающего устройства 6, а также из исполнительного элемента 5.

Рис.7. Гидроусилитель с соплом и заслонкой:
1 - нерегулируемый дроссель; 2 - междроссельная камера; 3 - сопло;
4 - заслонка; 5 - исполнительный элемент; 6 - задающее устройство
Жидкость подается к гидроусилителю со стороны нерегулируемого дросселя. Из междроссельной камеры одна часть жидкости Q>2> вытекает через щель, образованную торцом сопла и заслонкой, а другая Q>1 >поступает к исполнительному элементу. При изменении положения заслонки изменяются давление в междроссельной камере и расход через сопло. Одновременно изменяются усилие на исполнительный элемент, расход Q>1> и скорость υ движения выходного звена. Нерегулируемый дроссель может быть выполнен в виде пакета тонких шайб с круглыми отверстиями.
Сопло гидроусилителя выполняется в виде цилиндрического насадка или в виде капиллярного канала. Увеличение диаметра сопла приводит к увеличению расхода и быстродействия системы. Заслонка имеет плоскую форму и перемещается от воздействия на нее сигнала управления.
Гидроусилитель типа сопло-заслонка отличается простотой конструкции, надежностью в работе и быстродействием. К нему можно подводить жидкость с большим давлением питания P>0>. В устройстве сопло-заслонка отсутствуют трущиеся пары, что обеспечивает его высокую чувствительность. Недостатком является непроизводительный расход жидкости через сопло, низкий КПД и невысокий коэффициент усиления по мощности.
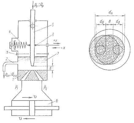
3.3 Гидроусилитель со струйной трубкой
Гидроусилитель со струйной трубкой (рис.8.) состоит из трубки 5 с коническим насадком на конце, сопловой головки 1 с двумя наклонными коническими расходящимися каналами и устройства управления. Устройство управления струйной трубкой состоит из задающего устройства 4 в виде регулируемой пружины, толкателя 6 и ограничителя 3 хода струйной трубки. Каналы сопловой головки соединены с исполнительным элементом 8 гидроусилителя. Жидкость с параметрами P>0> и Q>0> подается к трубке от источника питания. По трубе 2 жидкость отводится от гидроусилителя на слив.
Принцип работы гидроусилителя со струйной трубкой основан на преобразовании удельной потенциальной энергии давления в удельную кинетическую энергию струи, вытекающей из конического насадка, и последующем преобразовании этой энергии в удельную потенциальную энергию давления в каналах сопловой головки.
Гидроусилитель работает следующим образом. При отсутствии сигнала управления струйная трубка занимает нейтральное положение по отношению к отверстиям в сопловой головке. Вытекающая из насадка струя в одинаковой мере перерывает оба отверстия (рис.8., б), вследствие чего давления в каналах сопловой головки одинаковы, а выходное звено исполнительного элемента неподвижно. При подаче сигнала управления на толкатель струйная трубка смещается из нейтрального положения, равенство площадей отверстий, перекрытых струей, и равенство давлений в каналах сопловой головки нарушается. В результате выходное звено исполнительного элемента начинает перемещаться. При изменении знака сигнала управления выходное звено будет двигаться в другую сторону. Вытесняемая из исполнительного элемента жидкость попадает через канал в сопловой головке в полость 7 усилителя и далее на слив. Для того чтобы в каналы сопловой головки вместе с жидкостью не попал воздух, насадок струйной трубки делают погруженным в жидкость.

Рис.8. Гидроусилитель со струйной трубкой:
1 - сопловая головка; 2 - сливной трубопровод; 3 - ограничитель хода;
4 - задающее устройство; 5 - струйная трубка; 6 - толкатель;
7 - внутренняя полость; 8 - исполнительный элемент
3.4 Двухкаскадные усилители
Для повышения чувствительности усилителя и обеспечения одновременно увеличения мощности выходного сигнала применяют двухкаскадные устройства, первой ступенью усиления которых является обычно усилитель типа сопло- заслонка, а второй - золотник. Принципиальная схема такого устройства показана на рис.9. Междроссельная камера a этой схемы соединена с правой полостью основного распределительного золотника, плунжер 2 которого находится в равновесии под действием усилия пружины 4 и давления жидкости в этой камере. Жидкость постоянно подводится в штоковую полость b силового цилиндра, поршень которого при одновременной подаче жидкости в противоположную полость перемещается вследствие разности площадей поршня влево, и при соединении этой полости с баком - в правую сторону.

Рис.9. Двухкаскадный усилитель типа сопло-заслонка:
1 - заслонка; 2 - плунжер; 3 - силовой цилиндр; 4 - пружина
На рис.9. усилитель показана в нейтральном положении, в котором правая полость цилиндра 3 перекрыта. При смещении заслонки 1 равновесие сил, действующих на плунжер 2 золотника, нарушится, и он, смещаясь в соответствующую сторону, соединит правую полость силового цилиндра 3 либо с полостью питания (давление P> Н>), либо с баком. Благодаря тому, что усилие, создаваемое давлением жидкости на плунжер 2 золотника, уравновешивается пружиной 4, перемещение распределительного золотника будет пропорционально перемещению заслонки (регулируемого дросселя), в результате чего достигается приближенная пропорциональность расхода жидкости через золотник и перемещения заслонки. Следовательно, в данном случае имеет место обратная связь по давлению.

Рис.10. Двухступенчатая следящая система с обратной связью по давлению:
1 - пружина; 2 - плунжер; 3 - дроссель; 4 - клапан; 5 - заслонка
Схема применения этого распределительного устройства в следящей системе приведена на рис.10. Плунжер золотника 2 в этой схеме находится в равновесии под действием усилия пружины 1 и давления жидкости в камере a, которая соединена с линией питания через дроссель 3 и со сливом - через сверление b в штоке плунжера. Сопротивление последнего канала, а следовательно, и давление в камере a можно изменять смещением заслонки 5; при этом вследствие нарушения равновесия сил натяжения пружины и давления жидкости плунжер золотника будет следовать за заслонкой. Для повышения чувствительности давление в камере a обычно понижается с помощью клапана 4 или путем питания этой камеры от отдельного источника и, в частности, от сливной магистрали.
4. Чувствительность, точность и устойчивость гидроусилителей
Гидроусилители следящего типа должны воспроизводить с минимальной ошибкой перемещение выходного звена в соответствии с заданным перемещением входного.
Ошибка слежения определяется в первую очередь передаточным числом кинематической цепи обратной связи, равным для схемы, изображенной на рис. З.1,

где
- длина плеча рычага 7 между
точками крепления золотника и тяги
управления;
-длина
между точками крепления штока и тяги
управлении.
Важный показатель качества следящих гидроусилителей – устойчивость, под которой понимается способность системы возвращаться в состояние установившегося равновесия после прекращения действия источника нарушившего его.
Одно из условий обеспечения
устойчивости гидравлической следящей
системы — жесткость с механических и
гидравлических элементов. При недостаточной
жесткости, в особенности при сочетании
ее с высокой чувствительностыо
распределительного устройства
устойчивость системы неизбежно
нарушается. Последнее можно видеть на
(рис.11.), а, на котором показана схема
упругого крепления цилиндра гидроусилителя
снабженного чувствительным (с малым
перекрытием) золотником. При каком-либо
импульсе вызывающее смещение выходного
звона гидроусилителя, при неподвижном
входе цилиндр из-за наличия упругого
звена (упругостью
)
сместится в сторону действия
импульса и повернет относительно точки
b
рычаг а обратной
связи, сместив при этом золотник.
Очевидно, при определенных значениях
упругости
и интенсивности импульса золотник
сможет сместиться настолько, что рабочая
жидкость поступит в соответствующего
полость гидродвигателя и приведет в
движение его поршень, в результате чего
направление движения рычага, а изменится.
При этом потенциальная энергия упругого
звена будет способствовать переходу
золотника через равновесное положение,
в результате цилиндр переместится в
обратном направлении и далее процесс
колебаний автоматизируется.
В реальных условиях на устойчивость гидроусилителя влияют и другие факторы, к которым относятся упругость жидкости в плоскостях системы и трубопроводов присутствие в жидкости нерастворенного воздуха, люфты в механических сочленениях, колебания гидродинамических сил золотниковом распределителе.

Рис.11. Схемы:
а – гидроусилитель с упругим звеном;
б - гидравлического демпфера.
Наиболее простым способом повышения устойчивости системы является увеличение перекрытия окон и уменьшение передаточного числа i. Однако этот способ снижает точность работы гидроусилителя.
Надежным способом гашения колебаний служит гидравлическое демпфирование, с помощью которого кинетическая энергия колебаний рассеивается в виде тепла. Конструктивно демпфер представляет собой цилиндр, поршень З которого (рис. 11., 6) связан с золотником 1 распределителя. В поршне выполнено дроссельное отверстие 2. При перемещениях поршня жидкость вытесняется через отверстие и радиальную щель между поршнем и цилиндром из одной полости цилиндра в другую. Сечение дроссельного отверстия 2 выбирают таким, чтобы ого сопротивление не увеличивало чрезмерно усилий при рабочих перемещениях золотника, в режиме управления, но чтобы при высокочастотных вибрационных перемещениях золотника создавалось сопротивление, способное поглотить энергию, возбуждающую колебания.
Список литературы
1. Андреев А.Ф., Барташевич Л.В., Боглан Н.В. и др. Гидропневмоавтоматика и гидропривод мобильных машин. Объемные гидро и пневмомашины и передачи. - Минск: Высшая школа, 1987. 310 с.
2. Анурьев В.И. Справочник конструктора-машиностроителя. В 3-х Т. - 5-е изд., перераб. и доп. Том 3 - М.: Машиностроение, 1980 г. - 559 с.
3. Башта Т.М., Руднев С.С., Некрасов Б.Б. и др. Гидравлика, гидромашины и гидроприводы: Учебник. 2-е изд., перераб. - М.: Машиностроение, 1982.
4. Васильченко В.А. Гидравлическое оборудование мобильных машин: Справочник. - М.: Машиностроение, 1983. - 301 с., ил.
5. Кононов А.А., Ермашонок С.М. Гидравлика. Гидравлические машины и гидроприводы СДМ: Методические указания к выполнению курсовой работы. - Братск: ГОУ ВПО "БрГТУ", 2003. - 61 с.
1