Виды смазочных систем
Система Смазки
Для обеспечения работоспособности двигателей последние должны быть оборудованы устройствами для хранения масла, подвода его к трущимся поверхностям, очистки масла от загрязняющих веществ, охлаждения, а также контроля смазывания и состояния масла. Совокупность всех этих устройств образует смазочную систему двигателя. Основное ее назначение — уменьшение потерь на трение, износа трущихся поверхностей и отвода от них теплоты.
а) сухое трение; б) жидкостное трение
Сухое трение вызывает повышенный нагрев деталей и ускоряет их износ. Чтобы уменьшить силу трения и одновременно охладить детали, между их трущимися поверхностями вводят слой масла. Жидкостное трение в десятки раз меньше, чем сухое. При жидкостном трении износ деталей во много раз меньше.
В зависимости от способа организации подвода масла к трущимся поверхностям смазочные системы делят на системы с разбрызгиванием масла, принудительные и комбинированные.
Смазочная система с разбрызгиванием масла применяется в простейших двигателях, имеющих, как правило, в качестве подшипников коленчатого и распределительного валов подшипники качения. В этом случае смазочное масло заливается в картер двигателя до уровня, при котором специальный выступ-черпак на шатуне или крышке шатунного подшипника погружается в масло при нахождении поршня вблизи НМТ.
Образующиеся при этом мелкие брызги масла (масляный туман) разносятся картерными газами по всему объему картера и, оседая на рабочих поверхностях цилиндров, подшипников качения, поршневых пальцев и толкателей газораспределительного механизма, смазывают их; стекая с них, масло уносит теплоту. В таких двигателях коромысла клапанного механизма, регуляторы частоты вращения и другие агрегаты смазываются из отдельных масленок консистентным смазочным материалом или жидким маслом, заливаемым в соответствующие полости.
Если в двигателе используются в качестве шатунных подшипники скольжения, то в крышке около черпака и вкладыше подшипника сверлят отверстие, через которое при ударе черпака о поверхность масла последнее нагнетается в подшипник.
Иногда двигатели снабжают простейшим шестеренным насосом, подающим масло в специальные лотки под шатунами. Это уменьшает затраты энергии на излишний барботаж масла при высоком уровне сразу после заливки и повышает надежность двигателя, так как интенсивность смазывания не зависит от запаса масла в картере.
В карбюраторных двухтактных двигателях с кривошипно-камерной схемой газообмена масло добавляют в топливо в пропорции 1:40—1:50; при заполнении картера топливовоздушной карбюрированной смесью масляный туман осаждается на трущихся поверхностях и смазывает их.
Принудительную смазочную систему (смазка под давлением) применяют в форсированных двигателях, в которых для устранения перегрева трущихся поверхностей и масла с помощью специальных насосов создается его интенсивная циркуляция не только через подшипники коленчатого вала, но и через подшипники поршневого пальца, распределительного вала, валов передач, охладители и фильтры. Кроме того, масло подается в поршни для их охлаждения, к приводам агрегатов, в устройства для управления двигателем и его агрегатами (серводвигатели механизмов реверсирования судовых двигателей, управления лопатками направляющих аппаратов и диффузоров компрессоров и регулятора топливных насосов).
Помимо подвода масла, для охлаждения поршней через шатун с помощью телескопических или шарнирных механизмов осуществляется также орошение внутренней поверхности днища поршней из форсунок, смонтированных в картере двигателя с помощью корпуса 2 шарикового клапана 4 и винта 3. По достижении в главной масляной магистрали 5 определенного давления шарик клапана отжимается, и масло начинает поступать в форсунку 1.
Комбинированные смазочные системы позволяют упростить конструкцию двигателя, так как часть трущихся поверхностей смазывается разбрызгиваемым маслом, а под давлением оно подводится только к наиболее напряженным узлам трения, главным образом к подшипникам коленчатого и распределительного валов.
В зависимости от места хранения запаса масла, необходимого для циркуляции, принудительные смазочные системы, в свою очередь, делят на системы с мокрым картером, в которых запас масла хранится в поддоне картера или раме двигателя, и на системы с сухим картером, в которых запас масла находится в циркуляционных баках или цистернах, а поддон картера или рама двигателя являются только сборниками масла, стекающего со смазываемых поверхностей или из полостей охлаждаемых поршней, серводвигателей, передач или агрегатов.
С мокрым картером

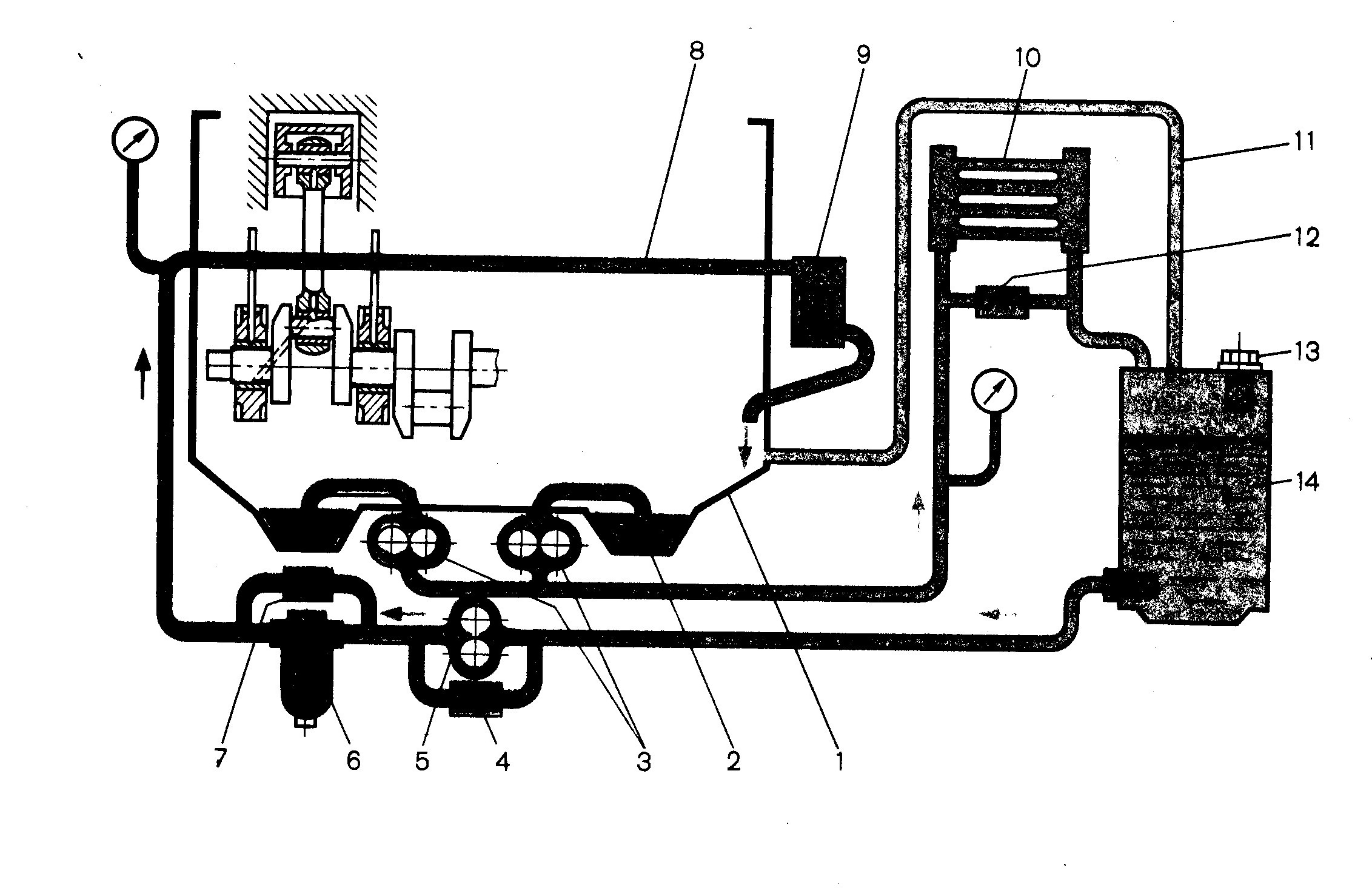
Принципиальная схема смазочной системы:
1 - масляный поддон, 2 - масляный насос, 3 - редукционный клапан масляного насоса, 4 - масломерный щуп, 5 - промежуточная шестерня, 6 - масляный фильтр, 7- редукционный (температурный) клапан, 8 - масляный радиатор, 9 - сливной клапан, 10 - распределительный вал, 11 - манометр, 12 - ось коромысел, 13 - главный масляный канал, 14 - полость шатунной шейки, 15 - коленчатый вал, 16 - масло заливная горловина
По наклонным каналам коленчатого вала масло попадает в полость 14 шатунных шеек, где дополнительно очищается и, выходя на поверхность шеек, смазывает шатунные подшипники. От первого коренного подшипника масло поступает к пальцу промежуточной шестерни 5 и втулке шестерни топливного насоса.
По каналу в одной из шеек распределительного вала масло пульсирующим потоком подается в вертикальный канал блока и по каналам в головке и наружной трубке - в пустотелую ось 12 коромысел. Через отверстия в валике коромысел масло поступает к втулкам коромысел и, стекая по штангам, смазывает толкатели и кулачки распределительного вала.
Стенки цилиндров и поршней, поршневые пальцы, распределительные шестерни смазываются разбрызгиванием. Масло, вытекающее из подшипников коленчатого вала и стекающее с клапанного механизма, разбрызгивается быстровращающимся коленчатым валом на мелкие капли, образуя масляный туман. Капельки масла, оседая на поверхности цилиндров, поршней, кулачков распределительного вала, смазывают их и стекают в поддон картера, откуда масло вновь начинает свой путь. Поршневой палец смазывается капельками масла, которые забрызгиваются в отверстие верхней головки шатуна. В двигателях, имеющих канал в стержне шатуна, поршневой палец смазывается под давлением.
Работу смазочной системы контролируют по манометру 11, показывающему давление в главной магистрали. На некоторых двигателях, кроме того, устанавливают термометр, измеряющий температуру масла в смазочной системе и датчики аварийного падения давления масла.
С сухим картером

Схема смазочной системы с сухим картером:
1 — поддон картера; 2 — маслозаборник; 3 — откачивающие секции насоса; 4—редукционный клапан нагнетательной секции насоса; 5 — нагнетательная секция насоса; 6 — полнопоточный фильтр; 7 — перепускной клапан; 8 — главная масляная магистраль; 9 — сливной клапан; 10 — масляный охладитель; // — труба, соединяющая циркуляционный бак с картером; 12 — предохранительный клапан; 13 — маслозаливная горловина; 14 — циркуляционный бак
В высокофорсированных двигателях применение системы с сухим картером объясняется также тем, что масло меньше времени соприкасается с картерными газами и нагретыми деталями, меньше вспенивается, медленнее окисляется и насыщается водой и топливом, что способствует сохранению свойств масла, сокращению расхода и увеличению сроков между сменами масла.
На рисунке видны дополнительные устройства смазочной системы с сухим картером, которых нет в системе с мокрым картером. Поддон картера или рама имеют по концам углубления, из которых масло откачивается двумя секциями 3 насоса с помощью двух маслозаборников 2 в наружный циркуляционный бак 14 через охладитель 10 по общему нагнетательному трубопроводу, что предотвращает засасывание пены одной из секций. Из циркуляционного бака в главную магистраль 8 двигателя масло подается с помощью нагнетательной секции 5 масляного насоса через полнопоточный фильтр 6.
Состав системы смазки
Масляный насос
Шестеренчатый насос создает циркуляцию масла в смазочной системе двигателя. Он установлен обычно на блок-картере или на крышке коренного подшипника коленчатого вала.
Насосы смазочной системы выполняют двухсекционными (рис. а) и односекционными (рис. б). Двухсекционный насос имеет две секции: основную и радиаторную. Секции разделены между собой проставкой 2. Каждая секция работает независимо от другой как односекционный насос.
Односекционный насос состоит из маслоприемника 9, корпуса 6, крышки и двух шестерен. В корпусе насоса выполнены два цилиндрических колодца для установки шестерен. Ведущая шестерня 4 насоса крепится шпонкой на валу, который опирается на втулки, запрессованные в корпусе и крышке насоса. Ведомая шестерня 5, находясь в зацеплении с ведущей, свободно вращается на пальце, запрессованном в корпусе. Вращаясь в разные стороны, шестерни зубьями перегоняют масло от входного канала корпуса к нагнетательному 7.

Принципиальная схема смазочной системы:
а - двухсекционный, б - односекционный, в - предпусковой, 1 - ведущая шестерня радиаторной секции, 2 - проставка, 3 - ведущий вал, 4 - ведущая шестерня основной секции, 5 - ведомая шестерня основной секции, 6 - корпус, 7 - нагнетательный канал, 8 - сетка маслоприемника, 9 - маслоприемник, 10 -редукционный клапан, 11 - регулировочный винт, 12 - выходное отверстие, 13 - впускное отверстие, 14 - крышка, 15 - корпус, 16 - шестерня привода насоса.
В корпусе насоса есть прилив, в расточке которого смонтирован редукционный клапан 10. Последний предотвращает чрезмерное повышение давления, которое создается масляным насосом при пуске холодного двигателя, т.е. когда масло имеет большую вязкость. С помощью регулировочного винта 11 можно изменить силу давления пружины клапана.
Привод масляного насоса осуществляется у тракторных двигателей от, коленчатого вала через приводную шестерню, а у автомобильных - от шестерни, выполненной заодно с распределительным валом.
Для подачи масла в смазочную систему во время запуска пускового двигателя некоторые тракторные двигатели имеют предпусковой насос (рис. в). Шестерня 16 привода предпускового насоса находится в постоянном зацеплении с шестерней пускового двигателя. Поэтому после его запуска шестерни предпускового насоса забирают масло через заборную трубку из поддона картера и подают через обратный клапан в масляную магистраль. После запуска основного двигателя давление в масляной магистрали повышается и срабатывает обратный клапан, перекрывая поступление масла из блок-картера в предпусковой насос.
Масляный радиатор
Масляный радиатор охлаждает масло в летнее время. Он представляет собой неразборный узел, состоящий из ряда стальных трубок овального сечения и двух бачков: нижнего и верхнего. Для увеличения поверхности охлаждения на каждой трубке навита спираль из тонкой стальной ленты. У масляных радиаторов некоторых двигателей трубки радиатора проходят через охлаждающие пластины, бачки разделены перегородками. К бачкам приварены штуцера, к которым монтируют маслоподводящую и маслотводящую трубки и ушки для крепления радиатора. Масляный радиатор установлен впереди водяного радиатора. У двигателей с воздушным охлаждением масляный радиатор выполнен из единой многократно изогнутой трубки с навитой на нее ленточной спиралью. Масло, двигаясь по трубкам радиатора, обдуваемого снаружи воздухом, охлаждается при полностью открытых жалюзи или шторки на 10-12°С.
Масляный фильтр
Для очистки от механических примесей масла, циркулирующего в системе двигателя, служит масляный фильтр. У большинства современных автотракторных двигателей в качестве фильтра применяют центробежный очиститель (реактивную центрифугу).
В центрифугах (рис. а) масло очищается под действием центробежных сил, возникающих при вращении ротора.

Схема работы центрифуги:
а - реактивной, б – полнопоточной активно-реактивной, 1 - ротор, 2 - механические примеси, 3 - ось, 4 - маслозаборная трубка, 5 - маслоподеодящий канал, 6 - жиклер (форсунка), 7 - корпус ротора, 8 - насадок, 9 - пустотелая ось, 10 - маслоотводящая трубка, 11-корпус фильтра, А, Б - каналы, В-кольцевая полость.
Основные части центрифуги - ротор 1 и ось 3 которая нижней частью ввернута в корпус фильтра. Масло в центрифуге очищается следующим образом. Из масляного насоса оно под давлением поступает через продольное и радиальное отверстия оси и центрирующей колонки внутрь ротора 1. Из ротора масло подходит через трубки к калиброванным отверстиям - жиклерам (форсункам) 6 и вытекает из них с большой скоростью. Отталкивающее действие (реакция) вытекающих струй масла вызывает вращение ротора в обратную сторону. Масло, вытекающее из ротора в корпус фильтра, сливается в картер двигателя.
При нормальном давлении масла ротор вращается с частотой вращения около 630 рад/с (6ccc об/мин). При быстром вращении ротора тяжелые примеси, содержащиеся в масле, под действием центробежной силы отбрасываются к стенкам ротора и оседают на них в виде плотного смолистого слоя.
На двигателях последних выпусков применяется полнопоточная масляная центрифуга. Особенность ее состоит в том, что все масло очищается в роторе реактивной центрифуги. В отличие от рассмотренной центрифуги в пустотелую ось 9 ротора вставлена маслоотводящая трубка 10, имеющая выход к масляной магистрали.
Во время работы двигателя масло от насоса поступает через каналы корпуса фильтра в кольцевой зазор между осью и трубкой, попадая затем через радиальные отверстия оси и корпуса внутрь ротора В нем поток очищенного масла разделяется. Часть масла (около 20%) идет на привод ротора во вращение и стекает через жиклеры 6 в картер. Основная же часть масла по верхнему ряду радиальных отверстий в корпусе ротора и его оси поступает в маслоотводящую трубку 10 и далее в масляную магистраль. В роторе полнопоточной центрифуги маслозаборные трубки отсутствуют.
В некоторых двигателях применена новая активно-реактивная центрифуга. В отличие от реактивной активно-реактивная центрифуга не имеет жиклеров (форсунок). Струи масла, под действием которых вращается ротор, не сливаются в поддон, а поступают для смазывания трущихся деталей двигателя. К оси 9 неподвижно прикреплен насадок 8, имеющий каналы А, касательные к его окружности. В верхней части корпуса 7 ротора выполнены касательно расположенные каналы Б.
Неочищенное масло под давлением 0,6-0,7 МПа от масляного насоса поступает через кольцевую полость В (между осью и трубкой) в каналы А. Вытекая из этих каналов под давлением, струи масла, направленные касательно к стенкам колонки ротора, образуют активный момент, который заставляет ротор вращаться в направлении движения струи, как показано на рисунке стрелкой. Механические примеси, содержащиеся в масле, под действием центробежных сил отлагаются на внутренних стенках вращающегося ротора в виде смолистого слоя. Очищенное масло с большой скоростью выбрасывается через тангенциально расположенные каналы Б в верхней части ротора и через радиальные отверстия поступает в канал неподвижной оси и далее в масляную магистраль. При этом возникает реактивная сила, которая тоже вращает ротор. Таким образом, вращение ротора центрифуги происходит за счет суммарной энергии двух потоков масла: активного действия струй при поступлении в ротор по каналам А и реактивного действия - при выходе из ротора по каналам Б.

Полнопоточный масляный фильтр:
1 - маслоотводяшая трубка, 2 - трубка охлажденного в радиаторе масла, 3 - трубка отвода горячего масла в радиатор, 4 - радиаторный клапан, 5, 6 - каналы отвода очищенного неохлажденного и охлажденного масла в магистраль, 7 - канал подвода неочищенного масла в фильтр, 8 - сливной клапан, 9- полость слива масла в картер двигателя, 10 - регулировочные винты клапанов, 11- корпус фильтра, 12- перепускной клан, 13 - пустотелая ось, 14 - крышка, 15 - насадок (завихритель масла), 16 - корпус ротора, 17- стакан, 18- упорная шайба, 19 - колпак.
В центробежных масляных фильтрах ротор состоит из корпуса 16 и стакана 17. Площадь верхнего днища ротора больше площади нижнего, поскольку диаметр верхней шейки оси меньше диаметра нижней. Общая сила давления масла, направленная вверх, больше силы, действующей на нижнее днище ротора. Вследствие этого при работе двигателя ротор всплывает и разгружает опорный торец. При увеличении давления в роторе больше нормального он перемещается еще выше. От перемещения вверх ротор удерживается упорной шайбой 18, а от перемещения вниз - буртом оси 13. Осевой разбег 0,3-1,5 мм.
В корпусе фильтра установлены три клапана: перепускной 12, сливной 8 и радиаторный 4.
Перепускной клапан поддерживает давление масла в роторе. Если давление масла при входе в ротор повышается до 0,65 МПа (при густом масле или загрязненном роторе), клапан открывается, и неочищенное масло стекает в картер двигателя. У некоторых двигателей перепускной клапан при открытии пропускает масло в масляную магистраль, минуя центрифугу. Перепускной клапан регулируют на давление 0,65-0,70 МПа регулировочным винтом 10.
Радиаторный клапан служит для перепуска холодного масла, которое, минуя масляный радиатор, поступает в масляные каналы двигателя. Открытие клапана должно происходить при разности давлений 0,06-0,07 МПа. Радиаторный клапан не регулируют.
Сливной клапан 8 предназначен для слива излишков очищенного масла в картер при повышении давления в масляных каналах двигателя. Клапан регулируют регулировочным винтом 10 до нормального давления масла в смазочной системе.
Масляные фильтры некоторых двигателей снабжены вместо радиаторного клапана краном-переключателем, с помощью которого масляный радиатор в зимнее время отключают.
Устройство масляного насоса судового реверсивного дизеля показано на рисунке. В корпусе 4 насоса расположены откачивающая 10 и нагнетательная 11 секции, нижние зубчатые колеса которых приводятся в движение зубчатым колесом 9. В клапанных коробках 2 и 5 смонтированы по четыре нагнетательных / и 3 и всасывающих 6 и 8 клапана. При указанном стрелками направлении вращения зубчатых колес секция 10 откачивает масло из картера дизеля через нижний клапан 8 и нагнетает его через верхний клапан 3 в масляную цистерну. Секция 11 при этом нагнетает масло из цистерны через нижний всасывающий и верхний нагнетательный клапаны в дизель. При обратном направлении вращения зубчатых колес в случае реверсирования двигателя откачивающая и нагнетательная секции засасывают масло из дизеля и цистерны через верхние всасывающие клапаны и нагнетают его через нижние нагнетательные клапаны соответственно в цистерну и дизель.

Масляный насос:
1 и 3 — нагнетательные клапаны; 2 и
5 — клапанные коробки; 4 — корпус насоса; 6 и
8 — всасывающие клапаны; 7 — редукционный
клапан; 9 — зубчатое колесо;
10 — откачивающая секция;
11 — нагнетательная секция
Редукционные клапаны устанавливают, как правило, в масляных насосах на стороне нагнетания и регулируют на максимально допустимое давление (0,2...1,5 МПа). Открываясь при большем давлении, возникающем в период пуска холодных двигателей, когда вязкость масла высокая, они обеспечивают слив масла в картер или перепуск его на всасывание в насос. Кроме того, эти клапаны предохраняют масляный насос и его привод, фильтры, магистрали, манометры от поломок и разрушений.
Редукционный клапан 7 в смазочной системе судового дизеля выполняют в отдельном корпусе и устанавливают в масляном насосе. В случае чрезмерного повышения давления масла на стороне нагнетания клапан отодвигается, и через открывшиеся щели масло перетекает в полость всасывания нагнетательной секции насоса.
Предохранительные и перепыскные клапаны (3 и 7) устанавливают параллельно полнопоточным фильтрам и охладителям. Они регулируются на давление соответственно 0,2...0,25 и 0,08...0,15 МПа. Назначение этих клапанов — обеспечить доступ хотя бы неочищенного масла в главную масляную магистраль и неохлажденного масла в поддон или циркуляционный бак, минуя фильтры и охладители в случае их засорения или чрезмерной вязкости масла при пуске двигателя. В последних конструкциях двигателей стали устанавливать перепускные клапаны с сигнализатором-контактом, включающим контрольную лампочку на приборном щите при перемещении золотника. Это позволяет сократить время работы двигателя без фильтрации масла.
Сливные клапаны (12 и 9), соединенные с главной масляной магистралью, поддерживают в ней постоянное давление 0,4...1,0 МПа, вследствие чего масло подводится к трущимся поверхностям в необходимом количестве; при избыточном давлении лишнее масло (циркуляционный запас) через сливной клапан отводится в картер. Кроме того, сливные клапаны являются сигнализаторами состояния сопряженных трущихся пар: по мере изнашивания зазоры увеличиваются, через сливной клапан сливается все меньше масла, затем слив прекращается, и давление в главной масляной магистрали начинает падать, так как расход масла через зазоры превышает подачу его насосом. При достижении в главной масляной магистрали минимально допустимого давления двигатель следует ремонтировать.
Контрольными устройствами в смазочных системах двигателей являются:
указатели количества масла в емкостях (картерах, циркуляционных баках), изготовляемые в виде стальных круглых или плоских стержней с метками, соответствующими нижнему и верхнему уровням масла; масломерных стеклянных трубок, устанавливаемых на циркуляционных и запасных цистернах; электрических дистанционных указателей уровней;
манометры и дифференциальные манометры, позволяющие контролировать давление в главных масляных магистралях, перед отдельными агрегатами, например, турбокомпрессорами, и перепад давлений в фильтрах и охладителях;
термометры для определения температуры масла в маслосборнике или в главной масляной магистрали (после охладителя).
Кроме перечисленных выше устройств, в смазочные системы двигателей входят также следующие дополнительные устройства:
спускные отверстия с пробками и краны в поддонах картеров, корпусах фильтров и охладителей, а также в циркуляционных баках, позволяющие сливать масло при замене его или чистке внутренних полостей соответствующих устройств от отложений и отстоя;
пеногасители в виде сеток, располагаемых в картерах и циркуляционных баках;
горловины (10 и 13 )для заливки масла в картеры и баки, имеющие устройства, соединяющие полости картеров и баков с атмосферой (труба 11) и предотвращающие выброс масляного тумана при колебании давления в картере и попадание пыли в него вместе с воздухом (суфлеры);
системы вентиляции картеров, с помощью которых из последних отсасываются и направляются во впускную систему двигателя газы, пары воды и топлива, что улучшает условия работы масла, маслосъемных колец, фильтров, сальников и уменьшает выброс токсичных составляющих в атмосферу;
предохранительные клапаны с пламягасительными сетками, предотвращающие разрушение двигателя и пожар при взрывах картерных газов; эти клапаны устанавливают на крышках смотровых люков и на стенках картеров и рам судовых, тепловозных и стационарных двигателей;
устройства (козырьки, ребра, фильтры), предотвращающие попадание масла с продувочным воздухом в цилиндры двухтактных дизелей и калоризаторных двигателей с кривошипно-камерной схемой газообмена;
подогреватели масла и маслозакачивающие устройства включают в смазочную систему для облегчения провертывания вала двигателя при пуске и уменьшения износа его деталей в периоды пуска и прогрева.
Подогрев масла осуществляется электрическими подогревателями, нагревательные элементы которых монтируют в циркуляционных баках или поддонах двигателей и работают от электрических аккумуляторов, или специальными пусковыми подогревателями — котлами, прогревающими систему охлаждения и работающими на том же топливе, что и двигатель.
Маслозакачивающие устройства предназначены для создания давления в главной масляной магистрали перед пуском двигателя и представляют собой масляные насосы с ручным или электрическим приводом.
Классификация автомобильных масел
Моторные масла, как и любой другой продукт, нуждаются в классификации. Все моторные масла делят на группы по трем основным признакам: тип (синтетическое, минеральное, полусинтетическое); вязкость (сезонное или всесезонное, густое или низковязкостное); качество (дизельное, бензиновое, универсальное, масло высокого или низкого качества).
Рассмотрим первый признак – тип масла:
Синтетическое. Создается с использованием дорогостоящего оборудования и дорогого сырья. Такие масла обладают высокими эксплуатационными характеристиками, могут использоваться в любое время года при любых погодных условиях. Основной минус – высокая цена.
Минеральное. Такой продукт получают путем смешивания базовых дистилятных и (или) остаточных масел. Имеют более низкую стоимость, нежели синтетические масла, однако, обладают достаточно узким кругом применения.
Полусинтетическое – продукт, полученный в результате смешивания синтетических и минеральных масел. Используется во всех типах двигателей и способствует экономии топлива. Обладает прекрасными техническими характеристиками.
Вязкость - это одна из важнейших характеристик масел, которая характеризует внутреннее трение, определяет текучесть и способность обеспечить гидродинамический (жидкостной) режим смазывания. Вязкость зависит от температуры, в диапазоне рабочих температур (обычно от минус 30°С до 150°С) вязкость минеральных масел изменяется в тысячи раз.
Синтетические масла обладают несколько большей текучестью, поэтому легче просачиваются через неплотности в соединениях. Течь сальника свидетельствует не об агрессивности масла, а о том, что рабочая кромка манжета уже основательно изношена и вскоре сквозь него потекло бы любое масло. В двигателях устаревших конструкций (с сальниковой набивкой) синтетическое масло применять нельзя.
Рекомендации по подбору масел по вязкости
Для дизельных двигателей - категория C (Commercial)
CA* Минеральные масла без присадок, для старых маломощных типов двигателей, выпускаемых в 1940-1950 годах, без наддува, работающих при умеренных нагрузках на малосернистом топливе.
CB* Минеральные масла без присадок, для старых маломощных типов двигателей, выпускаемых в 1950-1960 годах, без наддува, работающих при умеренных нагрузках на сернистом топливе.
CC* Масла для старых типов двигателей, выпускаемых в 1960-1970 годах, как с наддувом, так и без него, работающих в умеренных и тяжелых режимах. Содержат присадки против старения, коррозии и высокотемпературных отложений.
CD* Масла для старых высокооборотистых типов двигателей, выпускаемых в 1970-1983 годах, как с наддувом, так и без него, работающих на сернистом топливе в тяжелых условиях. Содержат присадки против старения, коррозии и высокотемпературных отложений.
CD-II* Те же характеристики масла, что и в группе CD, только для 2-тактных двигателей.
CE* Масла для старых форсированных типов двигателей, выпускаемых с 1983 года, с турбонаддувом, работающих в тяжелых условиях. Могут быть использованы вместо моторных масел групп CC, C