Вольтамперометрия, полярография, амперометрическое титрование, инверсионная вольтамперометрия
Вольтамперометрия, полярография, амперометрическое титрование, инверсионная вольтамперометрия
Электpохимические методы анализа (ЭМА) основаны на процессах, пpотекающих на электpодах или межэлектpодном пpостpанстве. ЭМА являются одними из стаpейших ФХМА (некотоpые описаны в конце 19 века). Их достоинством является высокая точность и сpавнительная пpостота как обоpудования, так и методик анализа. Высокая точность опpеделяется весьма точными закономеpностями используемыми в ЭМА, напpимеp закон Фаpадея. Большим удобством является то, что в ЭМА используют электpические воздействия, и то, что pезультат этого воздействия (отклик) тоже получается в виде электрического сигнала. Это обеспечивает высокую скоpость и точность отсчета, откpывает шиpокие возможности для автоматизации. ЭМА отличаются хорошей чувствительностью и селективностью, в pяде случаев их можно отнести к микpоанализу, так как для анализа иногда достаточно менее 1 мл pаствоpа.
Инстpументом для ЭМА служит электpохимическая ячейка, пpедставляющая собой сосуд с pаствоpом электpолита, в котоpый погpужены как минимум два электpода. В зависимости от решаемой задачи pазличными могут быть фоpма и матеpиал сосуда, число и пpиpода электpодов, pаствоpа, условия анализа (пpилагаемое напpяжение (ток) и регистрируемый аналитический сигнал, температура, перемешивание, продувка инертным газом и т.п.). Опpеделяемое вещество может входить как в состав электpолита, заполняющего ячейку, так и в состав одного из электpодов. Если аналитическая окислительно-восстановительная реакция протекает на электродах ячейки самопроизвольно, то есть без приложения напряжения от внешнего источника, а только за счет разности потенциалов (ЭДС) ее электродов, то такую ячейку называют гальваническим элементом. При необходимости ячейку можно подсоединить к внешнему источнику напряжения. В этом случае, приложив достаточное напряжение, можно изменить направление окислительно-восстановительной реакции и тока на противоположное тому, что имеет место в гальваническом элементе. Окислительно-восстановительную реакцию, протекающую на электродах под действием внешнего источника напряжения, называют электролизом, а электрохимическую ячейку, являющуюся потребителем энергии, необходимой для протекания в ней химической реакции, называют электролитической ячейкой.
Полная электрическая цепь прибора для ЭМА состоит из внутренней цепи (электрохимической ячейки) и внешней цепи, включающей проводники, регуляторы тока (напряжения) и измерительные приборы.
По разновидностям аналитического сигнала ЭМА подразделяют на:
1) кондуктометрию - измерение электропроводности исследуемого раствора;
2) потенциометрию - измерение бестокового равновесного потенциала индикаторного электрода, для которого исследуемое вещество является потенциоопределяющим;
3) кулонометрию - измерение количества электричества, необходимого для полного превращения (окисления или восстановления) исследуемого вещества;
3) вольтамперометрию - измерение стационарных или нестационарных поляризационных характеристик электродов в реакциях с участием исследуемого вещества;
5) электрогравиметрию - измерение массы вещества, выделенного из раствора при электролизе.
ЭМА можно подразделить по признаку применения электролиза. На принципах электролиза базируются кулонометрия, вольтамперометрия и электрогравиметрия; электролиз не используют в кондуктометрии и потенциометрии.
Электрод представляет собой систему, в простейшем случае состоящую из двух фаз, из которых твердая обладает электронной, а другая - жидкая - ионной проводимостью. Твердая фаза с электронной проводимостью считается проводником I рода, а жидкая фаза с ионной проводимостью - II рода. При соприкосновении этих двух проводников происходит образование двойного электрического слоя (ДЭС). Он может быть результатом обмена ионами между твердой и жидкой фазами, или результатом специфической адсорбции катионов или анионов на поверхности твердой фазы при погружении ее в воду или раствор.
При ионном механизме образования
ДЭС, например в случае когда химический
потенциал атомов на поверхности металла
(твердой фазы) больше химического
потенциала ионов в растворе, то атомы
с поверхности металла будут переходить
в раствор в виде катионов: Me
Mez+ + ze-.
Освободившиеся электроны при этом
заряжают поверхность твердой фазы
отрицательно и за счет этого притягивают
к поверхности положительно заряженные
ионы раствора. В результате на границе
раздела фаз образуются два противоположно
заряженных слоя, являющихся как бы
обкладками своеобразного конденсатора.
Для дальнейшего перехода заряженных
частиц из одной фазы в другую им необходимо
совершить работу, равную разности
потенциалов обкладок этого конденсатора.
В случае, если химический потенциал
атомов на поверхности твердой фазы
меньше химического потенциала ионов в
растворе, то катионы из раствора переходят
на поверхность твердой фазы, заряжая
ее положительно: Mez++ze-Me.
Как в первом, так и во втором случае
указанные процессы протекают не
бесконечно, а до установления динамического
равновесия, которое можно изобразить
обратимым редоксипереходом типа Мe -
Мez+ или в общем случае Ох +
Redz+.
Процессы, при которых отдача или присоединение электронов происходит на электродах, называются электродными.
Нернстом была получена формула, связывающая разность внутренних потенциалов ДЭС с активностями (концентрациями) частиц, участвующих в обратимом редоксипереходе:
,
где (Me) - потенциал заряженного слоя твердой фазы;
(раствор) - потенциал прилегающего к твердой фазе слоя раствора;
0 - константа, равная
разности (Me) - (р-р), при
(Ох)
=
(Red)
= 1 моль/л;
R - универсальная газовая постоянная (8,31 Дж/К моль);
T - температура, К;
F - число Фарадея (96 488 Кл/моль);
Z - число электронов, участвующих
в редоксипереходе;
(Ох)
и
(Red)
- активности окисленной (Ох) и восстановленной
(Red) форм вещества в редоксипереходе,
моль/л.
Вольтамперометрия основана на изучении поляризационных или вольтамперных кривых (кривых зависимости силы тока I от напряжения Е), которые получают в процессе электролиза раствора анализируемого вещества при постепенном повышении напряжения с одновременной фиксацией при этом силы тока. Электролиз проводят с использованием легкополяризуемого электрода с небольшой поверхностью, на котором происходит электровосстановление или электроокисление вещества.
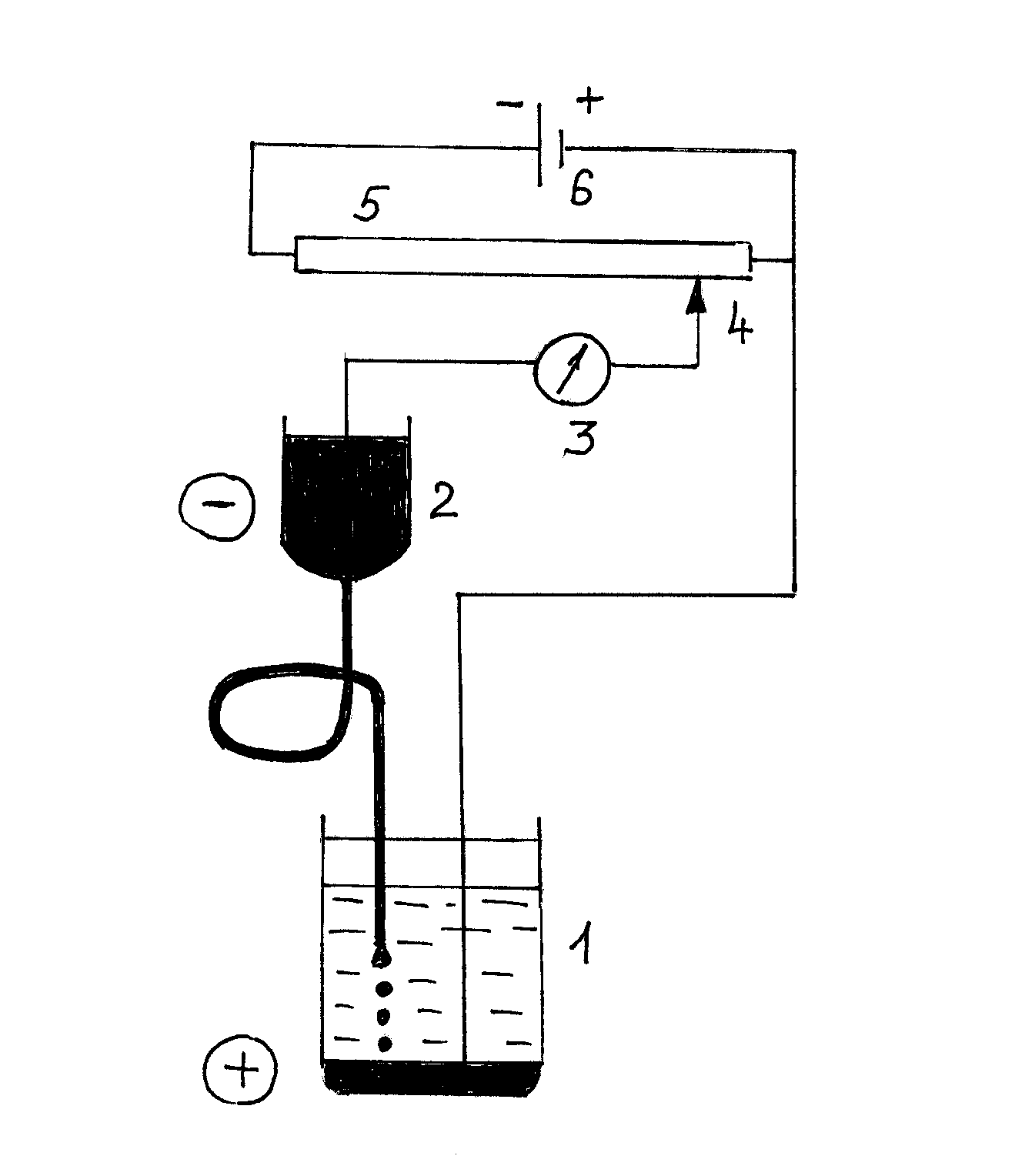
Вольтамперометрию, связанную с использованием ртутного капающего электрода (РКЭ), называют полярографией. Ее открытие в 1922 г. принадлежит чешскому ученому Я. Гейровскому, который в 1959 г. получил за этот метод Нобелевскую премию. Характерной особенностью полярографического метода является применение электродов с разной площадью поверхности. Поверхность одного из электродов, называемого микроэлектродом, должна быть во много раз меньше поверхности другого электрода. В качестве микроэлектрода чаще всего применяют РКЭ, представляющий собой капилляр, из которого равномерно с определенной скоростью вытекают капли металлической ртути. Скорость прокапывания определяется высотой подвески емкости с ртутью, соединенной шлангом с капилляром. Второй электрод, поверхность которого во много раз больше поверхности микроэлектрода, служит электродом сравнения. В качестве него используют ртуть, налитую на дно электролитической ячейки, или насыщенный каломельный электрод. На эти электроды от внешнего источника напряжения подают плавно изменяющееся напряжение. Плотность тока (А/см2) на электроде сравнения, имеющего большую поверхность, ничтожно мала, поэтому потенциал его практически не изменяется, т.е. этот электрод не поляризуется. Плотность тока на РКЭ вследствие его малой поверхности высока. РКЭ изменяет свой равновесный потенциал, т.е. поляризуется. Реализацию метода осуществляют на приборах, называемых полярографами. Принципиальная схема полярографа приведена на рис. 1. Ток от аккумулятора поступает на реостат, при помощи которого через очень чувствительный гальванометр подается плавно повышающееся напряжение на электролитическую ячейку, содержащую ртутный (или каломельный) электрод, РКЭ и анализируемый раствор.
Рис. 1. Схема полярографической установки: 1 - электролизёр; 2 - сосуд с ртутью; 3 - гальванометр; 4 - передвижной контакт; 5 - реохорд; 6 - ак - кумулятор.
Фиксируя силу тока, проходящего через ячейку, в зависимости от поданного напряжения, получают вольтамперные кривые, называемые в полярографии полярограммами (рис. 2). Форма полярограмм напоминает волну. Первый участок волны (АБ) соответствует начальному моменту процесса, когда протекает только остаточный (конденсаторный или емкостной) ток, связанный с расходом некоторого количества электричества на заряжение двойного электрического слоя на поверхности капли ртути и восстановлением следовых количеств электроактивных примесей.

Рис. 2. Типичный вид полярограмм
определяемого элемента при концентрациях

Если в растворе присутствуют ионы, способные восстанавливаться на РКЭ (катоде), то при достижении определенного значения внешнего напряжения, обеспечивающего потенциал, равный потенциалу восстановления данных ионов, на полярограмме наблюдается резкое увеличение тока. Потенциал, соответствующий точке Б на полягрограмме, называют потенциалом выделения. Восстановление иона металла на РКЭ сопровождается растворением восстановившегося металла в ртути, т.е. образованием амальгаммы:
Mez+ + ze - + Hg Me(Hg).
С этого момента рост потенциала электрода как бы отстает от роста налагаемого внешнего напряжения - электрод деполяризуется. Вещество, участвующее в электрохимической реакции и вызывающее деполяризацию электрода, называется деполяризатором. Ток, обусловленный электрохимической реакцией на электроде, называют фарадеевским, подчеркивая его связь с процессом электролиза. Подвод ионов деполяризатора к электроду осуществляется путем диффузии в приэлектродный слой раствора, концентрация в котором СЭ меньше концентрации в глубине С. Скорость диффузии, и тем самым сила тока, определяется разностью (градиентом) концентраций С - СЭ, поэтому ток называют диффузионным током.
IД = К(С - СЭ).
Дальнейшее увеличение напряжения вызывает уменьшение СЭ и усиление диффузии, следовательно, также и увеличение тока (участок БВ). Так продолжается до тех пор, пока СЭ не становится практически равной нулю. Это означает, что все ионы деполяризатора, которые подходят к электроду, сразу разряжаются. Дальнейшее увеличение напряжения не вызывает роста тока - достигается предельный диффузионный ток. Он зависит от концентрации деполяризатора в растворе
IД = КС (так как
).
На коэффициент пропорциональности К оказывают влияние многие факторы. Д. Ильковичем было получено уравнение, в котором отражено влияние некоторых из них:
,
где z - число электронов, участвующих в электродной реакции;
D - коэффициент диффузии ионов деполяризатра;
m - масса ртути (мг), вытекающей из капилляра за одну секунду;
t - промежуток времени между двумя каплями, с.
Для обратимого восстановления деполяризатора Гейровским-Ильковичем было выведено уравнение полярографической волны
.
Когда сила тока равна половине предельного диффузионного тока
(I = 1/2 IД), получают Е = Е1/2. Следовательно, половине высоты волны всегда соответствует одно и то же напряжение, независимо от концентрации деполяризатора. Оно называется потенциалом полуволны.
Качественный анализ проводят по потенциалам полуволн деполяризаторов. При этом необходимо иметь в виду, что на значение этой величины оказывают влияние фоновый электролит, рН раствора, присутствие комплексообразующих агентов. Определив в процессе полярографирования потенциалы полуволн ионов, находящихся в растворе, и сравнив их величины с табличными данными, можно установить, какие именно ионы находятся в растворе. Уравнение обратимой полярографической волны дает удобный графический способ нахождения важной качественной характеристики полярограммы - потенциала полуволны Е1/2. Построенная в координатах “ lgХ - [I/(Iд - I)] - Е” полярограмма будет выглядеть в виде прямой, точка пересечения которой с осью абсцисс - соответствует потенциалу, когда ток равен ½Iд (рис. 3).

Рис. 3. Графический способ определения потенциала полуволны Е1/2 по уравнению полярографической волны.
По этому же графику можно определить число электронов z, участвующих в электрохимической реакции. Сделать это можно, найдя котангенс (мВ) и сравнив его с теоретическим значением. Из уравнения полярографической волны следует, что теоретические величины равны соответственно: 59,16 мВ для n = 1; 29,58 мВ для n = 2; 19,7 мВ для
n = 3. Если же число электронов, участвующих в электрохимической реакции известно, то по этому критерию можно установить, обратимо ли протекает данная реакция на электроде. При совпадении экспериментальной величины наклона с теоретической можно полагать, что электрохимическая реакция протекает обратимо.
Для количественных определений уравнение Ильковича, как правило, не используют, поскольку определение численных значений всех его параметров - слишком трудоемкая работа. На практике чаще всего для целей количественного анализа пользуются высотой полярографической волны h, выраженной в мм. В количественном полярографическом анализе могут быть использованы все приемы определения концентрации: сравнение с эталоном, метод стандартных серий, метод добавок.

Рис. 4. Полярограмма раствора, содержащего цинк, никель и кадмий.
Если в растворе присутствуют несколько деполяризаторов с достаточно большой разностью потенциалов полуволн (не менее 0,2...0,3 В), например, кадмий, никель, цинк, полярографическая волна каждого элемента возникнет последовательно друг за другом и высота волны каждого элемента не зависит от присутствия других элементов (рис. 4). Концентрация определяемого деполяризатора может быть в
пределах 10-2...10 - 6 моль/л. Различные виды полярографии позволяют работать еще при более низких концентрациях деполяризаторов. При правильном выборе среды (фоновый электролит, рН, комплексообразующие агенты) с РКЭ можно определять ионы почти всех металлов, даже щелочно-земельных и щелочных. В вольтамперометрии с успехом применяют также твердые микроэлектроды, изготовленные из благородных металлов (Pt, Au и т.д.) или графита. Основным достоинством твердых электродов является возможность работы в более положительной области потенциалов (до 1,3 В), чем с РКЭ (от 0,3... -2,0 В) и их нетоксичность. Однако стационарные твердые электроды не нашли широкого применения из-за медленности установления предельного тока, невысокой чувствительности и других недостатков. Большее применение имеют вращающиеся и вибрирующие платиновые микроэлектроды, у которых предельный ток устанавливается быстро за счет непрерывного перемешивания раствора. Благодаря этому ионы к поверхности электрода доставляются не только за счет диффузии, но и перемешивания. Это в 10...20 раз увеличивает предельный ток по сравнению с диффузионным.
Практическому применению твердых электродов в качестве катодов мешает восстановление водорода, которое на твердых электродах происходит при значительно меньших потенциалах, чем на РКЭ. Например, из кислых растворов на платине водород выделяется при - 0,1 В, а на РКЭ при - 2,0 В.
Капающий ртутный анод пригоден для определения некоторых анионов, например,
2 Hg + 2 Br - Hg2Br2 + 2 e -
Hg + 4 CN - [Hg(CN) 4] 2 - + 2 e - и т.п.
Органические вещества восстанавливаются и окисляются на РКЭ, как правило, необратимо, часто ступенчато. Несмотря на это, разработаны методы определения многих органических веществ - галогенопроизводных альдегидов, кетонов, тиолов, нитрилов, хинонов, нитро- и азосоединений и т.д.
Основное условие правильного проведения полярографического анализа - подавление миграционного и конвективного токов. Эти токи возникают вследствие того, что кроме диффузии доставка деполяризатора к РКЭ может осуществляться миграцией, обусловленной действием электрического поля, и конвекцией при механическом перемешивании раствора или вследствие различий в плотности внутри раствора, вызванных перепадами концентрации или температуры. Поэтому в общем случае предельный ток складывается из диффузионного, миграционного и конвекционного токов. Но миграционный и конвекционный токи, в отличие от диффузионного, не связаны с концентрацией деполяризатора. Миграция и конвекция мешают диффузии ионов к РКЭ, следовательно, мешают полярографированию. Поэтому чтобы получить простую функциональную зависимость тока от концентрации, миграционную и конвекционную составляющую тока устраняют.д.ля этого в раствор добавляют приблизительно стократный избыток посторонних индиферентных (т.е. электрохимически неактивных) ионов сильного электролита, называемого фоном. В присутствии избытка ионов фона электрод будет экранизирован этими ионами, и доля миграционного тока будет ничтожно мала. Если в процессе регистрации полярограммы раствор не перемешивать и поддерживать постоянной его температуру, то практически исчезнет механическая и тепловая конвекция. В качестве фона применяют различные соли, кислоты, основания или буферные смеси, ионы которых имеют более отрицательные потенциалы выделения, чем определяемые ионы. Особенно часто применяют растворы солей щелочных и щелочно-земельных металлов (KСI, КСNS, NH4Cl, Na2SO4 и т.д.). Иногда в качестве фона применяют комплексообразующие реагенты (NH4ОН, цитраты, тартраты и т.д.), которые не только подавляют миграционный ток, но и изменяют потенциалы полуволны анализируемых ионов, позволяя определять ионы с близкими значениями Е 1/2.