Аналіз імпеллерної флотаційної установки
Розрахункова робота №2
Тема роботи: Аналіз імпеллерної флотаційної установки
Загальні відомості
Застосування імпеллерних установок доцільно при очищенні стічних вод з великою (до 2…3г/л) концентрацією нерозчинених забруднень і густиною приблизно 1000 кг/м3, які зустрічаються в потоках нафто-, жировмісних і ряду інших вод.
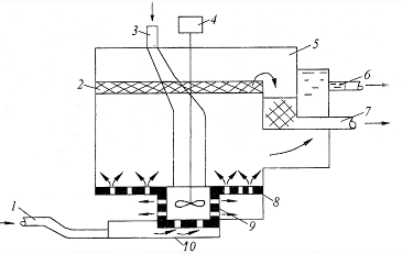
В імпеллерних установках утворення бульбашок повітря у водному середовищі здійснюється турбіною (імпеллером) діаметром di . Імпеллер розміщується в статорі, який представляє собою циліндр з верхньою і нижньою кришками. Вода підводиться по трубі до нижньої частини статора (рис.2), де всмоктується в нього через отвори із загальною площею So.

Рис.2. Схема імпеллерної однокамерної флотаційної установки: 1 – подача забрудненої води; 2 – піна; 3 – подача повітря; 4 – привід імпллера; 5 – пінозбірник; 6 – відвід очищеної води 7 – відвід піни; 8 – решітка; 9 – статор; 10 – приймальна кишеня
Повітря подається через верхню кришку. Після перемішування цих двох фаз імпеллером водоповітряна суміш виходить через отвори в стінках та верхній кришці і за допомогою направляючих решіток розподіляється по всій площі флотаційної камери. Напір, з яким вода входить в отвори статора, дорівнює висоті стовпчика водоповітряної суміші, що знаходиться у флотаційній камері.
Зона обслуговування одним імпеллером не повинна перевищувати розміри квадрата із стороною 6di . Глибина води у флотаційній камері hст , тривалість флотації τ, витрати стічної води, що надходять на очищення Q.
Вихідні дані для розрахунку установки:
Q=1,2 тис м3/год
hст=2,2 м
di=55 см
τ=14 хв
γвп=730 кг/м3
So=0,07 м2
Розв’язок
1. Розрахункова глибина флотаційної камери дорівнює
Нф=1,1 hстНф=1,1 2,2=2,42 (м)
2. Кількість води, що засмоктується турбіною, становить
, м3/с,
де μ – коефіцієнт витрати води (0,65);
So – загальна площа отворів, крізь які вода надходить до турбінки, м2;
g – прискорення вільного падіння, м2/с; (g=9,8)
Н - напір, під яким вода надходить у турбіну, м, який в свою чергу визначається за формулою:
Н=γвп·Нф·103,м,
де γвп- густина водно-повітряної суміші, кг/м3.
H=730·2.42·10-3=1.77 (м)
=0,268
3. Об'єм флотокамери становить
Vф=q·τ , м3,
де τ – час перебування води в камері, с
Vф=0,268·14 60=225,12 (м3)
4. Площа поверхні камери дорівнює

=93,02
(м2)
5. Площу поверхні, що обслуговується однією турбіною, визначають за формулою:
S1=36d2S1=36·0,552=10,89
6. Тоді число турбін становитиме
n=S/S1n=
=8,54=9
7. Об'єм повітря, що засмоктується турбіною за 1 секунду становить
W=Qn·S, м3/год,
W=40·93,02=3720,8 (м3/год)
де Qn – витрата повітря на одиницю площі S, яка зазвичай дорівнює 40...50 м3/м2год.
8. Необхідну кількість флотаційних камер знаходять за формулою:


Отриману розрахункову кількість камер округлюють до цілого числа.