Використання безвідхідних технологій в промисловості
Зміст
Вступ
Розділ 1 Безвідхідні технологічні процеси
1.1 Поняття про безвідхідне виробництво
1.2 Особливості технологічного процесу
1.3 Системи водоочищення
1.4 Основні принципи створення оборотних систем водопостачання
Розділ 2 Комплексне використання сировини і вторинних матеріальних ресурсів
Розділ 3 Системи переробки и утилізації відходів хімічних виробництв
Висновки
Список літератури
Вступ
Необхідність охорони навколишнього середовища приводить до істотних змін у загальних підходах до забезпечення екологічної ефективності виробництв. Під екологічною ефективністю розуміють мінімізацію впливу на навколишнє середовище при заданих продуктивності і якості продукції, що випускається, відповідним виробництвом. Замість мір тимчасового характеру, спрямованих на боротьбу з наслідками забруднень, тепер усі частіше на стадії проектування і будівництва підприємств уживають заходів довгострокового характеру, в основі яких закладений принцип: не боротьба з наслідками забруднень, а ліквідація причин цього несприятливого явища.
Використовувані раніше процеси й установки для уловлювання і знешкодження відходів виробництв характеризують пасивний підхід до охорони навколишнього середовища. При такому підході кількість відходів, що утворяться в процесі виробництва, залишається практично незмінним, що не відповідає новим підвищеним вимогам охорони природи. Необхідно змінювати й удосконалювати самі технологічні процеси для того, щоб комплексно і найбільше повно переробляти в процесі виробництва вихідні матеріали, скорочувати тим самим обсяг відходів, переводити них у форми, найменш шкідливі для навколишнього середовища або легко піддаються вторинній переробці або спеціальному збереженню, тобто необхідно створювати маловідхідні і безвідхідні технологічні процеси. Уведемо деякі основні поняття, що необхідні при розгляді активного підходу до удосконалювання технологічних процесів з метою охорони навколишнього середовища.
Метою роботи є – аналіз можливостей використання безвідхідних технологій в промисловості.
Завдання роботи:
дати характеристику безвідхідним технологічним процесам;
проаналізувати комплексне використання сировини та втор ресурсів;
розглянути системи переробки і утилізації відходів хімічних виробництв.
Розділ 1 Безвідхідні технологічні процеси
1.1 Поняття про безвідхідне виробництво
Безвідхідне виробництво - форма організації технологічних процесів, при якій відходи виробництва зведені до мінімуму або цілком переробляються у вторинні матеріальні ресурси. При безвідхідному виробництві необхідне використання збалансованих по основних компонентах технологічних схем із замкнутими матеріальними й енергетичними потоками. Збалансованість технологічних схем може бути проілюстрована на прикладі електрохімічного виробництва: при електролізі NaCl утворяться NaOH і С1>2>, що є основними кінцевими продуктами. Разом з тим потреба в першому продукті істотно більше, і для збалансованості технологічної схеми по хлорі до складу виробництв у такій схемі включаються процеси одержання хлорорганічних і інших продуктів, що використовують отриманий при електролізі надлишок хлору.
Термін "безвідхідне виробництво" до деякої міри умовний, тому що в реальній практиці неможливо цілком позбутися як від відходів, так і від, хоча б, мінімального впливу виробництва на навколишнє середовище. Усе-таки цей термін досить корисний, тому що орієнтує розроблювачів процесів на підвищення екологічної ефективності знову створюваних виробництв. Технологічні цикли в безвідхідних виробництвах організовані таким чином, що всі повітряні, газові або водні потоки, що містять забруднення, ізольовані від навколишнього середовища, знаходяться в замкнутих контурах і при виході з них обов'язково проходять через спеціальні очисні пристрої.
Операції очищення від забруднення - допоміжні і випливають за основними виробничими операціями, але в безвідхідних технологічних схемах нерозривно з ними зв'язані. При цьому відходи найчастіше переробляють у корисну продукцію, що служить для задоволення потреб основного виробництва, є сировиною або напівфабрикатами для інших підприємств. Допоміжні процеси очищення і переробки відходів організаційно являють собою продовження основного виробничого циклу, а пристрою й установки для здійснення таких процесів інтегруються в особливу специфічну частину усього виробничого комплексу.
Комплексне використання сировини - основний принцип створення безвідхідних і маловідхідних виробництв. У випадку комплексного використання сировини основним технологічним операціям супроводжують: витяг корисних, але не потрібних основному виробництву речовин, переробка цих речовин у цільові продукти або напівфабрикати, що поставляються власному основному виробництву або іншим підприємствам.
Збільшення обсягів виробленої продукції, розширення її асортименту, а також підвищення якості цієї продукції необхідно здійснювати з максимально повним використанням природної сировини, енергії і з мінімальним впливом на навколишнє природне середовище. Шляхи рішення цієї надзвичайно складної проблеми різноманітні, серед них варто виділити трохи основних:
- створення безстічних технологічних систем на базі існуючих, впроваджуваних у даний час і перспективні способи очищення водних систем від розчинених і зважених забруднюючих домішок;
- розробка і впровадження систем утилізації відходів основного виробництва;
- створення принципове нових технологічних процесів одержання традиційних видів продукції зі скороченням стадій, на яких утвориться основна кількість відходів;
- створення територіально-виробничих комплексів із замкнутої усередині них структурою матеріальних потоків сировини, продукції і відходів.
1.2 Особливості технологічного процесу
Вибір шляхів удосконалювання процесів охорони навколишнього середовища в кожній виробничій системі залежить від економічної обґрунтованості технічних рішень, а також від природних особливостей конкретного регіону. Наприклад, у південних регіонах нашої країни, у яких розташоване велике число хімічних підприємств, мається гострий дефіцит водних ресурсів. У таких умовах першочерговою задачею є упровадження водооборотних циклів. Ряд старих хімічних підприємств, розташованих часто в чорті міської забудови, гостро має потребу в скороченні викидів летучих компонентів, зокрема пар розчинників. При впровадженні адсорбційної рекуперації розчинників не тільки запобігається викид в атмосферу токсичних компонентів, але і повертається значна їхня частина в основне виробництво. Таким чином, шляхи і методи поступового створення маловідхідних, а потім і безвідхідних виробництв на діючих підприємствах насамперед ґрунтуються на специфіці цих виробництв.
Для знову споруджуваних підприємств організація безвідхідних технологічних процесів повинна бути закладена на пошуковій і передпроектної стадії, потім конкретизована при проектуванні і реалізована в ході будівельно-монтажних робіт.
Принципова технологічна схема комбінату безвідхідного виробництва приведена на мал.1. Агресивні пило-газові, рідкі і тверді відходи промислових підприємств за допомогою спеціальних засобів їхнього забору, перемішування і переміщення нейтралізуються в підземному реакторі, сполученому із системою промислової каналізації.
Пило-газові викиди направляються в реактор за рахунок розрядження, створюваного могутньою вентиляційною установкою. У скруберах і самому реакторі гарячі пило-газові викиди проходять через що розприскується, за допомогою системи розпилення (зрошувачів), слабколужний оборотний розчин, що розчиняє в собі хімічно активні газові компоненти, а також насичує гази водяною парою й осаджує пил. Багатокомпонентна газова суміш, що виходить у реакторі, містить (у порівнянні з повітрям) знижена кількість О>2>, і підвищене СО>2>. Ця суміш охолоджується розчином і по плоскому наземному газоводу надходить на біологічну обробку, по шляху обігріваючи тепличне господарство. Біологічна обробка газів може бути сполучена з виробництвом біомас.
Агресивні промислові стоки надходять у реактор і змішуються зі стікаючим потоком оборотного розчину, заповнюючи його збиток через упарювання і втрати з осадом. Основна маса твердих відходів (різні шлаки) транспортуються до наземних пристроїв реактора - нейтралізаторові, де лужні шлаки промиваються поданим наверх і проясненим у відстійнику оборотним розчином. Після промивання шлаків розчин відстоюється і знову подається на зрошення.

Рис. 1. Технологічна схема комбінату безвідхідного виробництва
Визначена частина твердих відходів (пил, шлам) подається на знешкодження в реактор, минаючи нейтралізатор.
Промислові стоки, забруднені нерозчинними речовинами, минаючи реактор, подаються в загальний відстійник, де звільняються від суспензій і заново направляються в систему водообороту.
Горючі відходи йдуть на спалювання в піч, недогарки - на комплексну переробку твердих продуктів, газ - у реактор, тепло - утилізується.
Побутові стічні води піддаються попередньому знешкодженню, а потім природній обробці в ставках, де доводяться до стану, близького до природного. Вода використовується для технічного водопостачання і йде на зрошення.
У результаті всі промислові і побутові стічні води замикаються в загальній системі водокористування. Їхнє скидання в природні водойми ліквідується.
Тверді речовини - осад з реактора, виробничий і бытовый сміття, шлаки, недогарки, органічні залишки від біологічного очищення побутових і промислових стічних вод надходять у блок цехів для комплексної переробки - у добриво, будматеріали і різні види сировини. Такий комбінат безвідхідного виробництва у визначеній мері моделює, з погляду використання природних ресурсів, біогеохімічні системи, що розвилися на Землі.
1.3 Системи водоочищення
На ряді підприємств існує ще допотопна система прямоточного водопостачання, тобто всю споживану у виробництві воду без очищення скидають у водойми. При невеликих масштабах виробництва прямоточна система влаштовує промисловість, вважаючи, що ступінь забруднення водойм не є загрозливої, хоча це абсурдно. В міру росту обсягів виробництва потреба у воді збільшується, води не вистачає, забруднення водойм стало неприпустимої. Нагадаємо, що сучасний великий хімічний комбінат споживає до 1 млн. м3 води в добу. Тому виникла думка не скидати у водойми усю відпрацьовану воду, а частина її повертати у виробництво після деякої обробки (очищення, охолодження, зм'якшення й ін.). Почалося це повернення води в оборот з умовно чистих вод, - тому що їх легше привести в необхідний стан. Потім поступово стали братися і за інші більш забруднені води, що відходять, і нарешті було поставлене питання про повернення в цикл водопостачання усіх відпрацьованих вод підприємства, тобто створення цілком замкнутого циклу водопостачання. Принципова схема водооборота представлена на мал. 2.
Оборотна вода, що циркулює по замкнутій системі, після використання в технологічних процесах і для охолодження устаткування прохолоджується в градирнях. Частина оборотної води із системи направляється на очищення, причому більш "брудні" стоки проходять через станцію очищення (нейтралізації) і станцію біохімічного очищення, де вони очищаються разом з побутовими стоками, після чого попадають у басейн додаткового очищення загального стоку. Порівняно "чисті" стічні води приділяються із системи безпосередньо в басейн. Відтіля очищена вода подається на повторне використання через фільтрувальну і насосну станцію.
Неминучі утрати води за рахунок її випару компенсуються через водозабір. Надлишки води в системі (виникнення яких може бути викликано, наприклад, залповими скиданнями окремих споживачів) з басейну скидаються у водойму.
На перший погляд може здатися, що перехід до цілком замкнутого циклу водопостачання вимагає тільки капітальних витрат на будівництво відповідних очисних споруджень. Але, на жаль, справа вирішується не так просто. Щоб була ясна послідовність переходу від неповних оборотних систем до цілком замкнутої оборотної системи водопостачання всього підприємства, звернемося до мал. 3, на якому показана в самому спрощеному виді схема системи роздільної каналізації підприємства з використанням частини виробничих відпрацьованих вод для оборотного водопостачання.
Атмосферні води по мережі зливової каналізації 1 скидаються безпосередньо у водойму. Побутові води по мережі господарсько-побутової каналізації 2 направляються на очисні пристрої 3, після чого на даному підприємстві надходять у водойму.
Водойма
Підпитка свіжою
водой
Злив
Рис. 3. Схема системи роздільної каналізації хімічного підприємства:
А, Б, В, Г, Д - цехи підприємства, що скидають стічні води; 1 - мережа дощової каналізації; 2 - мережа господарсько-побутової каналізації; 3, 4- очисні пристрої; 5,6 - локальні очисні пристрої; 7 - насосна станція; 8 - охолоджувальні пристрої
З цехів А и Б (а можливо, і з інших цехів) стоки, що поки ще не можна включити в оборотну систему, після очисних пристроїв 4 скидаються у водойму. Цехи В и Г мають свої замкнуті (локальні) оборотні системи: ці стоки очищаються відповідно у своїх очисних пристроях 5 і 6 (можливо, з утилізацією забруднюючих речовин) і у водойму не скидаються, а повертаються в систему до свого споживача. Пристрій таких локальних систем очищення доцільно з ряду причин: при розведенні стоку іншими водами, у тому числі умовно чистими, концентрація забруднюючої речовини зменшується, а чим менше концентрація, тим сутужніше його видалення з води; очищення від одного інгредієнта простіше, ніж від суміші різних речовин; вода, багаторазово використовувана в одному технологічному циклі, може бути очищена в меншому ступені, чим для скидання у водойму.
У цеху Д, де використовувана вода тільки нагрівається, але не забруднюється (умовно чиста вода), вона надходить через насосну 7 на охолоджувальні пристрої 8 (градирні, бризкальні басейни, АВО) і знову повертається у свій цех. Таким чином, обсяг оборотного водопостачання на даному підприємстві обмежується кількістю води, що звертається в цехах В, Г и Д. Для повного замкнутого обороту води на всьому підприємстві, мабуть, необхідно знайти прийнятний для включення в оборотну систему спосіб очищення стічних вод з цехів А и Б, можливість включення в оборот побутових вод, а у випадку недоліку води у водоймах - способи використання дощових вод шляхом нагромадження їх у штучних водоймах. У цих напрямках і ведеться науково-практична робота в промисловості по створенню максимально замкнутих оборотних систем.
Зміст замкнутої оборотної системи полягає в об'єднанні водопроводу і каналізації й у виключенні зі схеми водойми. Один раз узята з водойми вода увесь час звертається в цій об'єднаній системі; забруднена в технологічних процесах - очищається, робиться придатної для обслуговування технологічних процесів, знову забруднюється, знову очищається і так продовжується безперервно. У цієї оборотної системи є деяка подібність із системою кровообігу в людському організмі. Кров, рухаючи по артеріях ("водопровідна система"), забезпечує фізіологічні процеси організму, починаючи від мозку і кінчаючи шкірними покривами, потім по венах ("каналізаційна система") несе "відходи" фізіологічних процесів, звільняється від них у легень ("очисний пристрій") і під дією серця ("насосна станція") знову повертається в артеріальну систему. Правда, ця людська "оборотна система" не цілком замкнута: вона забирає з навколишньої атмосфери кисень для дихальних процесів і має "відходи", виділювані в атмосферу (двоокис вуглецю і пари води, виділювані при подиху). Але й оборотна система водопостачання і каналізації в промисловості в сучасному її стані також не обмежується тільки кількістю один раз узятої води в систему, їй приходиться покривати утрати води, що звертається у виробництві, з водойми і скидати в нього деякі відходи.
Справа в тім, що при циркуляції води в системі частина її губиться. Утрати походять від випару в охолодних пристроях - градирнях, бризкальних басейнах, від природного випару з водяної поверхні ставків і відкритих очисних споруджень, при видаленні опадів і шламів, що мають сильну зволоженість, від фільтрації води з трубопроводів і інших пристроїв у ґрунт, при продувці водою системи або окремих її ділянок, нарешті в технологічних процесах, де вона безпосередньо бере участь в основних хімічних реакціях, наприклад при виробництві водню, соди, у реакціях гідратації і гідролізу. Оскільки кількість води в системі оборотного водопостачання повинне підтримуватися постійним, збиток води із системи повинна відшкодовуватися додатковою водою.
Крім кількісних компенсацій утрат необхідна ще і якісна компенсація циркулюючої в системі води. Справа в тім, що при циркуляції в системі вода піддається різним фізико-хімічним впливам (розпарюванню, нагріванню, охолодженню, аерації й ін.). Вода мінералізується, у ній збільшується концентрація солей і вона здобуває здатність до відкладень шумовиння на внутрішніх стінках водоводів. Утворення шумовиння зменшує теплопередачу, звужує прохідний перетин труб, викликає необхідність застосування підвищеного тиску, збільшує витрата води, змушує робити трудомістку роботу по очищенню від шумовиння. Є способи зробити домішки, що утримуються у воді, більш розчинними й виносними при її циркуляції без утворення шумовиння (про неї буде сказано далі), але й у цьому випадку воду, що містить розчинені солі, прийдеться якось видаляти із системи. Практично зараз це досягається освіженням циркулюючої води або, як прийнято називати цей процес, підживленням, скидаючи деяку її кількість у водойми і забираючи, замість скинутої, свіжу воду з водойми. Кількість такого підживлення в залежності від технології виробництва і якості споживаної води складає 5-10% від загальної кількості води, що циркулює в системі. Підживлення може бути постійну або періодичної (кожну добу або через кілька доби). Як видно, для підтримки нормального балансу води, збереження її якості і попередження утворення шумовини приходиться все-таки брати з водойми чисту і скидати в нього мінералізовану воду.
Таким чином, для створення цілком замкнутої оборотної системи треба вирішити дві основні задачі: першу - знайти спосіб усунення мінералізації оборотної води, що звертається в системі, без використання для її розведення води водойми і другу - знайти спосіб покривати втрати оборотної води знову ж без забору води з водойми. Власне кажучи, це навіть одна задача - треба знайти джерело води, що не залежить від водойми. Таких джерел два: це побутові стічні води й атмосферні дощові води.
Побутові міські стічні води скидаються після їхнього очищення у водойми є величезним резервом води, яку можна використовувати і уже використовують для нестатків промисловості. У якомусь ступені це теж завуальований забір води з водойми, тому що побутові стічні води були узяті з водойми і повертаються в нього назад. Але треба врахувати, що задоволення потреби у воді для побутового споживання є неминучим, крім того, у ряді випадків комплексне очищення й обробка побутових стічних вод і промислових стоків доцільна й економічна, тому що при цьому можна об'єднати деякі каналізаційні системи й очисні спорудження.
Побутові стічні води після біологічного очищення мають БПК>5> близько 15 мг О>2>/л і містять 15-25 мг/ л зважених речовин, у тому числі особливо неприємних рослинних і тварин мікроорганізмів. Безпосереднє використання таких вод у системах оборотного водопостачання може привести до інтенсивного розвитку біологічних обростань у водоймах і до посилення процесу мінералізації води, що звертається. Тому побутові води, використовувані для заповнення втрат в оборотних системах, необхідно додатково очищати, щоб довести БПК>5> додаткової води до 5 мг О>2>/л, а концентрацію зважених речовин до 5-10 мг/л. Атмосферні дощові води є нерегулярним джерелом водопостачання, тому що їхня кількість залежить від кліматичних умов району. Але в умовах нашої країни (крім південних безводних районів) зливові і поталі води можуть дати значне поповнення водних ресурсів підприємства. Раніш часто при проектуванні каналізації передбачали відвід зливових вод із промислової площадки в загальну систему каналізації. Це перевантажувало каналізаційну систему і погіршувало ступінь очищення стічних вод особливо під час сильних злив і в період сезонного танення снігів. Тепер зливові і поталі води направляють із площадки підприємства по скидних каналах у самостійну систему каналізації з наступним відведенням у ставки-нагромаджувачі. Після попереднього очищення на очисних спорудженнях ці води можна брати на підживлення оборотних систем. Потрібно відзначити, що дощові води в момент виникнення зовсім чисті і не містять солей, оскільки вони утворяться конденсацією пар води. Забруднюються вони тільки в невеликому ступені від атмосферного пилу і газів, що знаходяться в повітрі, і звичайно, більш сильно від забруднень на поверхні проммайданчики в залежності від того, наскільки чистої підтримується територія підприємства, по якій вони стікають у стічні канали.
Тепер можна підвести деякі підсумки сказаному в цій главі. Для того щоб створити цілком замкнуту систему водопостачання, необхідно:
- знайти способи підтримувати сталість води, що обертається в системі, як по кількості, так і по складу;
- здійснювати боротьбу з забрудненням системи як мінеральними, так і біологічними відкладеннями;
- забезпечити захист устаткування від корозії;
- організувати на всіх етапах системи, де відбувається забруднення води, її очищення до потрібного ступеня;
- не скидати у водойми те, що потрібно видаляти із системи, а ліквідувати іншими способами.
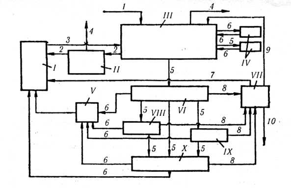
Щоб підтримати постійна кількість води в системі, необхідно покривати її втрати підживленням. Іноді це можна зробити, використовуючи побутові стічні або атмосферно-дощові води. Але, незалежно від цього, якщо взагалі зменшити кількість води, що звертається, у системі, то зменшиться і потреба в підживленні і можна буде ця невелика кількість підживлення брати з водойми без повернення, як це роблять інші галузі промисловості, що споживають воду. Нові системи замкнутого оборотного водопостачання так і проектують: із забором невеликої кількості води на підживлення з водойми, але без скидання в нього стічних вод. Сильно мінералізовану воду, яку потрібно було б скинути із системи замість підпитуючої води, знищують відомими способами. Таким чином, і кількісний і якісний склад води, що звертається в системі, залишається постійним. Узагальнюючи все сказане, побудуємо модель безстічного оборотного водопостачання промислового підприємства. Така модель системи очищення стічних вод і підготовки їх до використання в оборотній системі водопостачання без якого-небудь скидання стічних вод у водойми показана на малюнку 4. Частина стічних вод від технологічних установок підприємства надходить на системи локального очищення ІV, інша частина - умовно чисті води - прохолоджується і повертається у виробництво через вузол оборотного водопостачання 1; інші стічні води (лінії 5) проходять очищення: механічних, фізико-хімічних або біохімічну і надходять очищеними (по лініях 6) у вузол додаткової (остаточного очищення) V і потім у вузол оборотного водопостачання 1, відкіля (по лінії 3) повертаються у виробництво, замикаючи в такий спосіб цикл. Сильно зволожені відходи від очисних установок (по лініях 8), а також мінералізовані стоки, вилучені в процесі підживлення (на малюнку не показані), надходять у вузол підготовки відходів VІІ. Тут від них відокремлюється вода, що повертається у виробництво (по лінії 7); тверді збезводнені відходи, якщо вони можуть бути використані у виробництві, повертаються туди (лінія 9) або йдуть у відвали, але не скидаються у водойми. Воду для підживлення системи беруть з водойми (або інших джерел) по лінії 1.
Звичайно, це тільки спрощена схема оборотного водопостачання, в окремих виробництвах вона відповідно змінюється, у неї можуть бути введені інші елементи або деякі з приведених частин схеми - опущені, але в загальному вона дає представлення про умови створення оборотного водопостачання без скидання стоків у водойми. Основним показником гарної роботи виробництва є кратність використання води. Цей показник визначається як відношення загального обсягу споживаної підприємством води до обсягу свіжої води за той самий час.

Рис.4. Модель системи очищення стічних вод і підготовки їх до використання в системі оборотного водопостачання без скидання стічних вод у водойми:
І - вузол оборотного водопостачання; ІІ - вузол охолодження умовно чистої води; ІІІ - технологічні установки; ІV - механічне очищення; V - вузол додаткового очищення; VІ - механічне очищення; VІІ - вузол підготовки відходів; VІІІ - фізико-хімічне очищення; ІX- хімічне очищення; X - біологічне очищення; 1 - лінія додаткової води; 2 - оборотна охолоджувана вода (умовно чиста); 3 - лінія чистої води, що повертається в технологічні установки; 4 - утрати води; 5 - лінії стічних вод; 6 - лінії очищених стічних вод; 7 - лінія подачі чистої води з вузла підготовки відходів; 8 - лінії відводу з очисних пристроїв відходів, що містять воду; 9 - лінія повернення корисних відходів у технологічні установки; 10 - лінія відводу відходів на знищення
Кратність використання води в промисловості нашої країни ще досить невелика. У легкій промисловості кратність біля одиниці, у теплоенергетиці і виробництві папера - біля двох, у харчовій і вугільній промисловості - не набагато більше трьох. У хімічній і нафтопереробній промисловості, що займає ведуче положення по обороті води, кратність її використання складає, у залежності від підгалузі, від 5 до 7. Для окремих хімічних підприємств у результаті організації оборотного водопостачання і вторинного використання стічних вод забір води з відкритих водойм знижений у 15-20 разів у порівнянні з забором води при прямостоковому водопостачанні. Одночасно значно скорочується скидання забруднених стічних вод у водойми, а при безстічному - цілком відсутні стічні води.
На більшості підприємств хімічної і нафтохімічної промисловості для підвищення ефективності водопостачання створюються одночасно трохи (мінімум дві) системи оборотного водопостачання, що розрізняються вимогами до якості води. Наприклад, системи, у яких циркулює умовно чиста вода, використовувана, в основному, для охолодження в теплообмінних апаратах, і системи, у яких утворяться забруднені стічні води, застосовувані для інших цілей. При цьому існують наступні варіанти використання стічних вод: у системах оборотного водопостачання підприємств або цехів (найбільш розповсюджений випадок); для технічного водопостачання очищеними водами одних підприємств, інших підприємств або цехів; у технічному водопостачанні підприємств або цехів очищених і знешкоджених міських стічних вод.
До води, що циркулює в оборотній системі, висувають вимоги не тільки у відношенні забезпечення нормального технологічного процесу виробництва, але і дотримання санітарно-гігієнічних нормативів. Оборотна вода повинна бути нешкідлива для обслуговуючого персоналу і не мати дурного запаху. Особливо важлива відсутність в оборотній воді бактеріальних забруднень. Що залишаються після біологічного очищення забруднення, у тому числі біогенні елементи (з'єднання азоту і фосфору), можуть, певною мірою , становити небезпеку для здоров'я обслуговуючого персоналу.
У залежності від галузевих вимог до якості повторно використовуваних вод глибоке очищення стічних вод роблять, в основному, від зважених речовин, нафтопродуктів і олій, а також від органічних речовин, що окисляються легко, токсичних іонів і органічних речовин. У зв'язку з необхідністю створення замкнутих систем великого значення набуває очищення високомінералізованих стічних вод. Найбільше поширення одержали методи фізико-хімічного глибокого очищення стічних вод у сполученні з методами біологічного очищення.
1.4 Основні принципи створення оборотних систем водопостачання
Можна сформулювати загальні принципи створення оборотних систем водопостачання підприємств:
- для підвищення ефективності очищення від забруднень водооборотних систем вони повинні бути багатоконтурними: стічні води з забруднюючими речовинами, близькими по властивостях, повинні знаходитися в окремому замкнутому контурі;
- локальні системи очищення в оборотних системах водопостачання повинні забезпечувати демінералізацію стічних вод, звільнення від механічних домішок, відсутність біозабруднень;
- з метою боротьби з біообростанням у системах оборотного водопостачання і корозією устаткування, що контактує з водою, у цих системах повинне бути передбачене введення у воду відповідних інгібіторів.
У комплексній схемі стічні води технологічних процесів хімічного комбінату і ТЭЦ замкнуті в локальних циклах водного господарства з очищенням виробничих стічних вод на визначеній ступіні циклу. В окремі мережі каналізації випускаються тільки потоки, очищення яких передбачена на загальнозаводських очисних спорудженнях. Для окремих потоків передбачені різні мережі каналізації: зі змістом органічних забруднень, мінеральних забруднень з великою мінералізацією (більш 3 г/л), побутових, умовно чистих і дощових.
Для ілюстрації ефективності водооборотних систем у табл. 1 наведені порівняльні дані про водоспоживання і використання стічних вод до і після впровадження комплексної схеми оборотного водопостачання й очищення стоків. З табл. 1 випливає, що загальна витрата в промисловому регіоні свіжої води знизився в 6 разів, а безпосередньо на хімічному комбінаті - більш ніж у 30 разів, скидання стічних вод у ріку припинений, повернення стічних вод у виробництво складає 95,6%.
Використання в комплексній схемі окремих потоків дозволяє застосовувати локальне очищення стічних вод. Локальне очищення стічних вод має велику перевагу в порівнянні з загальної, тому що очищенню піддається стічна вода, що містить одне забруднення або кілька близьких по хімічних властивостях. Технологія такого очищення простіше, економічне і невимірно ефективніше, ніж технологія очищення стічних вод, що містять багато різних забруднень. Локальне очищення повинне проводитися на виході технічних стічних вод з підприємства, з його окремих цехів або з виробничих ліній. При цьому не допускається змішування стічних вод, що містять різнорідні забруднення.
Важливим принципом формування систем оборотного водопостачання є комбінування потреб ряду підприємств і організацій (хімкомбінат, ТЭЦ, житловий масив і ін.) у воді й очисних спорудженнях у рамках одного промислового регіону. Тільки в цьому випадку можливе створення економічно ефективних схем водооборотних систем. Масштаб водокористування для сучасних систем і устаткування очисних споруджень можна умовно оцінити, як економічний при споживанні води, аналогічному споживанні містом з населенням 1 млн. чіл. Природно, що при промисловому споживанні води (як чистої, так і оборотної) ці потреби включаються в загальну оцінку, і сама ця оцінка дуже приблизна. Однак вона дає наочне представлення про обсяги водогосподарчого використання. Такий принцип масштабності часто застосовують у передпроектних проробленнях.
Замкнуте оборотне водопостачання промислових підприємств одержує в нашій країні усе більше застосування. Воно дає економічний ефект, але набагато більше значення має екологічний ефект - припинення забруднення рік, у які раніше скидалися не повністю очищені стічні води.
Таблиця 1
Порівняльні дані про водоспоживання і використання стічних вод до і після впровадження комплексної схеми очищення стоків і оборотного водопостачання, тис.м3/год
|
Показники |
До впровадження |
Після впровадження |
|
Загальна витрата свіжої води |
175,6 |
29,4 |
|
У тому числі хімічним комбінатом |
150,7 |
4,5 |
|
Загальна кількість води в обороті |
551,2 |
688,4 |
|
Загальна кількість стічних вод, що надходять на біологічне очищення |
137,2 |
16,8 |
|
У тому числі хімічного комбінату |
128,1 |
7,6 |
|
Скидання стічних вод у ріку |
137,2 |
- |
|
Закачування стічних вод у підземні шари |
- |
1,8 |
|
Повернення стічних вод у виробництво, % |
- |
95,7 |
Розділ 2 Комплексне використання сировини і вторинних матеріальних ресурсів
Комплексне використання сировини - одна з найважливіших задач економії ресурсів, рішення якої допоможе також істотно поліпшити охорону навколишнього середовища. Таке використання сировини досягається, в основному, поділом порід (мінералів) на складові, тобто відповідним збагаченням сировини, поділом рідкої і газоподібної сировини на велике число самостійних фракцій (сублімація нафти і газофракціонування) і поглибленням хімічної переробки складної сировини з виділенням його складових частин у виді коштовних кінцевих продуктів.
В даний час значна кількість гірських порід, мінералів, багатокомпонентних сумішей органічних речовин піддають комплексній переробці. При цьому з однієї гірської породи можна одержувати різні метали, неметалічні елементи, кислоти, солі, будівельні матеріали. Тим самим знижується обсяг відходів відповідного виробництва, що забруднюють навколишнє середовище (зменшується обсяг відвалів, кількість шламів і ін.). У більшості випадків комплексна переробка сировини приводить до комбінування різних виробництв.
Як приклад комплексного використання сировини можна привести схему переробки апатито-нефелиновой породи (мал. 6).
Породу подрібнюють і розділяють методом флотації на апатит Ca>5>F(PO>4>)>3> і нефелін K>2>Na>2>O.Al>2>O>3>.2SіО>2>. Нефелінова фракція містить нефелін, невеликі кількості апатиту і титано-магнетіту і ще менші кількості мінералів, включаючи рідкі метали. З нефеліну одержують поташ, соду, алюміній, галій, цемент; інші компоненти (наприклад, ванадій, титан) дотепер практично не витягаються і викидаються у відвали, що погіршують стан навколишнього середовища поблизу таких підприємств. З апатиту одержують фосфорні добрива, фториди, гіпс, але, як правило, не витягають коштовні рідкоземельні елементи. Хімічна переробка апатиту і нефеліну розроблена і здійснюється на підприємствах, що роблять мінеральні добрива, і на алюмінієвих заводах, що, власне кажучи, є металургійно-хімічно-цементними комбінатами.
Прикладами комплексного використання природних матеріалів, що є сумішами органічних речовин, можуть служити коксохімічна переробка вугілля, переробка нафти, сланців, торфу і деревини. В даний час з кожного виду палива одержують сотні коштовних продуктів. Раніш же при коксуванні вугілля єдиним продуктом цього процесу був кокс, газ спалювався, забруднював продуктами згоряння атмосферу, а смолу просто викидали, забруднюючи водойми і ґрунт. На сучасних коксохімічних підприємствах з коксового газу виділяють ароматичні вуглеводні, аміак, інші коштовні продукти, а потім частина газу піддають глибокому охолодженню з поділом його на фракції (водень, метан, етилен і ін.). Смолу, що містить більш трьохсот органічних речовин, розділяють на компоненти і переробляють з метою одержання коштовних продуктів. Таким чином, потенційні забруднювачі навколишнього середовища перетворилися в сировинне джерело багатьох нових хімічних виробництв.

Рис. 6. Схема комплексного використання апатито-нефелінової породи:
1 - процеси, здійснені в промисловості; 2 - потенційні промислові процеси
Комбінування декількох виробництв на основі комплексного використання того самого сировини є найбільш прогресивною формою організації промисловості з урахуванням вимог охорони навколишнього середовища. Існує кілька форм комбінування при комплексному використанні сировини.
Типовий приклад комбінування підприємств із використанням відходів основного виробництва - об'єднання заводів кольорової металургії з хімічними, у першу чергу із січанокислими. Виробництво сірчаної кислоти, об'єднане з металургійним, базується на відходах останнього - флотаційному колчедані (хвостах флотації поліметалевих сульфідних руд) і грубних газах, що відходять, утримуючих двооксид сірки. Комбінування сприяє і технічному прогресові - упровадженню на підприємствах нової техніки і технології, більш прогресивних у відношенні охорони навколишнього середовища. Так, при комбінуванні металургійних підприємств із січанокислими необхідно удосконалювати випалювальну систему для одержання газів з високим змістом диоксиду сірки. Тому для випалу концентратів кольорових металів тепер застосовують найбільш інтенсивні печі киплячого шару з відповідним очисним устаткуванням, герметизуючи апаратуру і комунікації і проводять інші заходи, у результаті яких поліпшується стан навколишнього середовища.
Безвідхідні виробництва створюються при максимально повному технологічному використанні всіх компонентів, що утримуються в сировину.
Удосконалювання охорони навколишнього середовища тісно зв'язано зі створенням перспективних технологічних процесів, що вимагає значного часу і колосальних капітальних витрат. Тому задача дня - пошук оптимального співвідношення кардинальної перебудови технології й оснащення традиційних виробництв зробленими засобами знешкодження забруднень і відходів, комбінування виробництв для комплексної переробки сировини. Обмеженням при такій оптимізації служить загальний обсяг ресурсів (капітальних витрат, устаткування й ін.), а цільовою функцією - мінімізація навантаження на природне середовище з урахуванням її здатності до самоочищення (рекреаційної ємності).
Розділ 3 Системи переробки и утилізації відходів хімічних виробництв
Безвідхідні виробництва, створювані на базі досягнень науково-технічного прогресу, відкривають необмежені можливості для оздоровлення навколишнього середовища. У той же час, мається безліч діючих підприємств, що через застарілі технологічні рішення не можуть бути переведені на безвідхідні схеми виробництва, і єдиний шлях зменшити їхнє навантаження на навколишнє середовище - створювати системи уловлювання, утилізації і переробки відходів у корисні продукти.
Відходи утворяться в основному технологічному процесі виробництва продукції, при очищенні технологічних газів, що відходять, промислових стічних вод, ремонтних роботах і ін. Розрізняють відходи виробництва і - відходи споживання; у хімічній промисловості переважають відходи першого типу. Однак останнім часом перед хіміками-технологами поставлена задача розробки технології утилізації і відходів другого типу, зокрема використаної полімерної тари, інших відходів синтетичних матеріалів.
Відходи бувають газоподібної, рідкої і тверді; відповідно до цієї класифікації розробляють і системи їхнього уловлювання, збереження, переробки й утилізації. Розроблено різні методи утилізації промислових газоподібних відходів і переробки їх у товарну продукцію. Наприклад, у сучасному сірчонокислому виробництві в результаті поглинання або промивання диоксиду сірки з залишкових газів шкідливі викиди в атмосферу скорочуються до сотих часток відсотка від загальної кількості одержуваної кислоти. Для зниження таких викидів використовують різні технології утилізації сірчистих газів: адсорбційну, аміачну, содову, кислотно-каталітичну й ін. Наприклад, кислотно-каталітичний метод заснований на окислюванні диоксиду сірки в розчині сірчаної кислоти в присутності іонів марганцю, при цьому виходить розведена сірчана кислота, використовувана у виробничому циклі підприємства.
Таким чином, виробництво сірчаної кислоти при впровадженні технології поглинання диоксиду сірки з залишкових газів не тільки стає маловідходним, але й одержує додаткове джерело сировини.
Найбільш багатотоннажні відходи хімічних підприємств - це розкривні породи, хвости флотаційного збагачення, колчеданні недогарки, фосфогіпс, опади з очисних споруджень і виробничі шлами. Так, при флотаційному збагаченні сірки утилізується менш чверті відходів. Розроблено і впроваджуються системи утилізації, що дозволяють збільшити використання цих відходів до 50%. Половина відходів буде використовуватися як мінеральні добрива, а галечник - для виробництва будматеріалів.
Велика кількість відходів одержують при переробці і збагаченні калійних руд (тверді галітові відходи і рідкі глинясто-сольові шлами). Обсяг цих відходів досягає 70% від добутої руди і виміряється десятками мільйонів тонн. В даний час основна маса таких відходів направляється в шламосховища, солевідвали або на підземне поховання. Однак розроблені системи утилізації таких відходів, що поступово впроваджуються на підприємствах. Так, із глинясто-сольових шламів одержують глиносольовий порошок, використовуваний при буравленні нафтових шпар. Мінеральні й органомінеральні добрива включають значну частину таких відходів. Галітові відходи, що складаються на 95% із хлориду натрію, використовують для одержання харчової, технічної і кормової солі.
Найбільш характерними і велико об`ємними є виробничі шлами содового виробництва. Вони акумулюються в спеціальних нагромаджувачах, які одержали назву "білі моря". З розвитком виробництва кальцинованої соди обсяг таких шламів у недалекому майбутньому збільшиться приблизно в 1,5 рази. Ці відходи поки використовуються дуже незначно. Разом з тим створені системи, що дозволяють переробляти до 50% подібних відходів для використання у виробництві будівельних матеріалів і в сільському господарстві. Відповідно повинні скоротиться площі, займані "білими морями", що звільнилися нагромаджувачі будуть піддаватися біологічної рекультивації.
Відходи хімічних виробництв досить різноманітні, методи їхньої переробки й утилізації також досить різні, їхній детальний розгляд передбачений в інших дисциплінах. Для охорони навколишнього середовища важливо, що багато речовин і матеріали, що вважаються звичайно відходами, насправді такими не є і можуть бути використані як побічні продукти або вторинні матеріальні ресурси.
Побічні продукти утворяться при фізико-хімічних процесах переробки сировини поряд з основними продуктами, але не є метою виробничого процесу. Вони в значному числі випадків можуть бути товарними, використовуваними як готову продукцію. Найчастіше те, що утримується в сировині компонента, не використовуване в даному виробництві, або продукти, що утворюються в результаті хімічних перетворень. Побічні продукти, що виходять при видобутку або збагаченні основної сировини, прийнято називати побіжними продуктами (наприклад, газ).
Вторинні матеріальні ресурси (BMP) - сукупність відходів виробництва і споживання (зокрема, виробничого споживання), які можна використовувати в якості основного або допоміжного матеріалу для випуску продукції. BMP можна розділити на реальні і потенційні.
До реального відносяться BMP, для використання яких створені ефективні методи і потужності по переробці, забезпечений ринок збуту; до потенційних - ресурси, що не ввійшли в групу реальних, які утворюються в достатніх для економічно ефективної переробки кількостях. До категорії BMP умовно можна віднести також побічні продукти, що у даний час використовуються недостатньо повно і являють собою потенційний резерв матеріальних ресурсів для промисловості. Переклад відходів у реальні BMP - ефективний шлях охорони навколишнього середовища.
Розробка принципово нових процесів, речовин і матеріалів у технології, пов'язаних зі створенням безвідхідних виробництв, ведеться постійно, але остаточне рішення цієї проблеми проглядається лише у віддаленій перспективі. Разом з тим до істотного зниження обсягу викидів і інших забруднень може привести зміна технологічних принципів діючих виробництв. У результаті цих змін при збереженні виду і якості продукції зменшується число технологічних операцій, удосконалюється схема процесу, укрупнюються системи поглинання й очищення викидів і стоків, що робить їхній більш ефективними й економічними. Стосовно до конкретних виробництв подібні технологічні зміни розбираються у відповідних курсах.
Для охорони навколишнього середовища в промисловості важливі два правила. Перше правило зв'язане з вибором механізму реакцій в основному технологічному циклі виробництва конкретної продукції. Відомо, що той самий хімічний продукт може бути зроблений різними способами, з різних видів сировини і з витратою різної кількості реагентів і енергії. Вибір того або іншого способу вироблявся, часто і зараз виробляється, без обліку екологічних наслідків. Разом з тим можливості поліпшення навколишнього середовища за допомогою технологічних змін в основному виробництві величезні і далеко ще не вичерпані.

Рис. 7. Схема викидів у навколишнє середовище великотонажного виробництва аміаку:1 - компресія і сіркоочистка природного газу; 2 - конверсія метану 1-й ступіні; 3 - конверсія метану 2-й ступіні; 4 - конверсія СО; 5 - очищення від СО2; 6,7 - вузол синтезу і конденсації аміаку
Для оцінки впливу масштабу виробництва на можливість створення безвідхідної або малотоннажної технології корисно використовувати друге правило: при росту масштабів виробництва питомі кількості відходів і стоків на одиницю продукції зменшуються, однак зниження цих кількостей має природні і технічні обмеження.
З малюнка видно, що на цьому виробництві повинні бути передбачені різні системи очищення стоків і викидів, щоб запобігти забруднення навколишнього середовища. Таким чином, безвідхідні технологічні процеси є фактично "маловідхідни виробництвами", що дають такі мінімальні викиди, при яких здатність природи, що самоочищується, у достатньому ступені перешкоджає виникненню необоротних екологічних змін.
Висновки
Європейською економічною комісією сформульовано визначення поняття «безвідходна технологія». Безвідходна технологія — це практичне застосування знань, методів і коштів для того, щоб забезпечити в межах людських потреб якнайраціональніше використання природних ресурсів і енергії та захист навколишнього середовища. У широкому розумінні поняття «безвідходна технологія» охоплює й сферу споживання. Ця технологія передбачає, щоб виготовлені вироби служили довго, легко могли бути відновлені (відремонтовані), а після закінчення терміну служби поверталися в антропогенний ресурсний цикл після відповідної переробки або знешкоджувалися та захоронялися як неутилізовувані відходи.
За законом розвитку довкілля, будь-яка природна система розвивається лише за рахунок використання матеріально-енергетичних та інформаційних можливостей навколишнього середовища. Абсолютно ізольований саморозвиток неможливий — це висновок із законів термодинаміки. Із цього закону випливає наслідок: абсолютно безвідходне виробництво неможливе.
Виділено чотири основні напрями, за якими розвиваються безвідходні технології:
1) розроблення різних видів безстічних технологічних схем і водооборотних циклів;
2) створення і впровадження систем перероблення відходів виробництва та їх споживання як вторинних матеріальних ресурсів;
3) розроблення і впровадження принципово нових процесів добування речовин зі зменшеним обсягом відходів;
4) створення територіально-виробничих комплексів (ТВК) із замкненою структурою матеріальних потоків сировини та відходів у середині комплексу, включаючи комплексну переробку сировини та раціональне використання енергоресурсів та енергозбереження.
Список літератури
Алпатьев А. М. Развитие, преобразование и охрана природной среды. — Л., 1983. — 240 с.
Атлас природных условии и природных ресурсов Украинской ССР. — М., 1978. — 174 с.
Бакинский Г. А. Социоэкология. — К., 1991. — 154 с.
Брылов С. А., Штродка К., Грабчак Л. Г. и др. Охрана окружающей среды. — М., 1986. — 272 с.
Будыко М. И. Эволюция биосферы. — Л., 1984. — 488 с.
Владимиров А, М., Ляхин Ю. И., Матвеев Л. Т. и др. Охрана окружающей среды.— Л., 1991.— 423 с.
Воронов А. Г. Биогеография с основами экологии. — М., 1987. — 206 с.
Григорьев А. А. Экологические уроки прошлого и современности. — Л., 1991. — 249 с.
Злобін Ю.А., Кочубей Н.В. Загальна екологія: Навч. посібник. – Суми: ВТД “Університетська книга”, 2003. – 416 с.
Коммонер Б. Замыкающийся круг. — Л., 1974. — 134 с.
Куценко А. М., Писаренко В. Н. Охрана окружающей среды в сельском хозяйстве. — К., 1991. — 200 с.
Лаптев А. А., Приемов С. И., Родичкин И. Д. и др. Охрана и оптимизация окружающей среды. — К., 1990. — 254 с.
Назарук М. М., Сенчина Б. В. Практикум із основ екології та соціології. Навчальний посібник. — Львів, 1999. — 116 с.
Новиков Ю. В. Природа и человек. — М., 1991. — 222 с.
Охрана и оптимизация окружающей среды. / Под ред. А.А.Лаптева. – К.: Лыбидь, 1990. – 256 с.
Примак А. В. Экологическая ситуация на Украине и ее мониторинг: анализ и перспективы. — К., 1990. — 44 с.
Сытник К. М., Брайон А. В., Гордецкий А. В. Биосфера, экология, охрана природы. — К., 1987. — 523 с.
Теоретические и методические исследования /Под ред. А. М. Маринича, М. М. Паламарчука. — К., 1990. — 200 с.
Юдасин Л. С. Энергетика: проблемы и надежды. — М., 1990. — 205 с.
Экология города: Учебник. – К.: Либра, 2000. – 464 с.