Механизм поворота башенного крана КБ-160.2
Содержание
Введение
1. Назначение, устройство, принцип действия механизма поворота башенного крана КБ-160.2
2. Неисправности механизма поворота
2.1 Техническое обслуживание
3. Обязанности крановщика перед началом работы
4. Экономический раздел
Список использованной литературы
Введение
Механизация тяжелых и трудоемких процессов – один из важнейших путей повышения производительности труда в промышленном строительстве. Недаром непременным элементом современного пейзажа стал подъемный кран.
С развитием сборного железобетона производить строительно-монтажных работы без механизации просто невозможно, так как вес отдельных деталей, из которых складывается здание, нередко достигает сотен тонн.
Краны башенные занимают наибольший удельный вес в составе парка грузоподъемных машин организаций любых форм. В СССР производство башенных кранов было начато в 30-х годах прошлого столетия. До ВОВ башенных кранов было изготовлено около 200 шт. бурное развитие производства башенных кранов началось после окончания ВОВ.
До 60-х годов прошлого столетия башенные краны выпускались в основном неспециализированными заводами, что привело к разнотипности парка. В 1960 году был разработан и внедрен в производство ряд унифицированных кранов из 8 базовых типоразмеров вместо существовавших в то время 80 моделей. Это позволило повысить надежность работы механизмов, снизить стоимость их изготовления, внедрить агрегатный метод ремонта, сократить сроки проектирования и освоения новых машин.
Конструкции башенных кранов совершенствовались в соответствии с направлением развития строительства. Так, для крупнопанельного строительства были созданы краны большой грузоподъемности; повышение темпов строительства потребовало создание механизмов с высокими скоростями рабочих движений и увеличения мобильности для ускорения ввода их в эксплуатацию.
В 80-х годах ХХ века начали выпускать башенные краны с грузовым моментом до 1000 т.м высотой подъема от 12 до 150 м. грузоподъемность кранов в массовом жилищном строительстве достигает 10 т. Башенный кран становится ведущей машиной и выполняет монтажные работы, укладку материалов на этажных ярусах, вертикальный транспортер материалов. Обновление парка башенных кранов сопровождается совершенствованием их конструкций, улучшением эксплуатационных качеств.
Современные ряды типоразмеров башенных кранов представляют собой совокупность весьма сложных и высокопроизводительных грузоподъемных машин, конструкции которых объединены общими признаками по исполнению и назначению.
Башенные краны подразделяются на массовые размерные группы. Внутри каждой размерной группы связующие сборные единицы превращены в унифицированные блок-модули, а между видами и схемами приводов достигнута общность принципов исполнений, обеспечивающая последовательность изучения всех звеньев в конструкции несущей системы, рабочих механизмов, силовых передач, электропривода, гидросистемы, аппаратуры управления, рабочих органов, приборов и устройств безопасности.
Для поддержания кранов работоспособном состоянии создана разветвленная сеть эксплуатационных баз. Большое внимание уделяется улучшению условий труда машиниста на кранах: краны оборудованы просторными кабинами с повышенной обзорностью; высотные краны снабжены подъемниками для машиниста.
Производительная и безопасная работа башенного крана во многом зависит от квалификации машиниста. Каждый крановщик, стропальщик, слесарь – все, кто имеет дело с кранами – должен систематически изучать и устройство подъемных кранов, и технологию грузоподъемных кранов, и технику безопасности, и правила технического ухода за вверенным ему оборудованием.
1. Назначение и устройство, принцип действия механизма поворота башенного крана КБ – 160.2
Механизм поворота башенного крана КБ – 160.2 предназначен для вращения поворотной части крана совместно с башней и стрелой крана.
Устройство поворотной части крана состоит из следующих механизмов:
а) цилиндрический редуктор – передаточное число И-121 У 3515.42С;
б) электродвигатель – тип MTF – 112-6 N = 5 кВм;
в) опорно-поворотное устройство [ОПУ] в виде однорядного роликового круга диаметром 2240 мм;
г) тормозное устройство.
Поворот башни крана со стрелой осуществляется за счет электродвигателя, редуктора, опорно-поворотного устройства и тормозного устройства. Редуктор механизма поворота с вертикально расположенным электродвигателем, на верхнем конце которого располагается тормоз.
Механизм поворота, закрепленный на поворотной платформе, позволяет осуществлять поворот крана за счет вращения выходной шестерни, находящейся в зацеплении с венцом поворотного устройства, закрепленным на ходовой раме.
Крепление механизма поворота на поворотной платформе осуществляется в протоке нижнего листа платформы с помощью двух крепежных болтов с регламентированным зазором в соединении 2…3 мм. Такое соединение не требует выверки соосности при установке, что упрощает монтаж механизма. Тормоз, расположенный на выходном верхнем конце электродвигателя с вертикальной осью вращения, выполнен двухколодочным специальной конструкции.
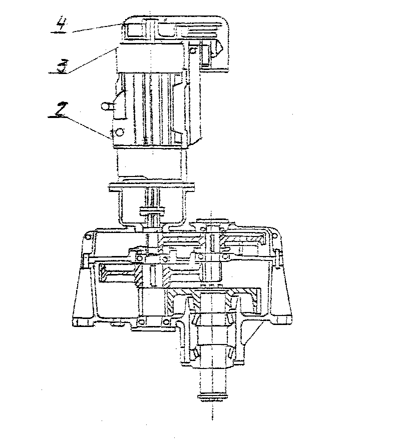
Механизм поворота (рис.1) состоит из: вертикального трехступенчатого редуктора 1, выходной вал которого заканчивается шестерней, фланцевого электродвигателя 2, со шкивом 3, охватываемым колодками специального тормоза 4 и кожуха 5.

Рисунок 1 – Продольный разрез механизма поворота
Кинематическая схема механизма показана на рис.2.
Редуктор состоит из корпуса, имеющего в нижней части лапы с 4-мя отверстиями, диаметром 40 мм для крепления механизма к поворотной платформе.
Нижний конец вала электродвигателя соединен через зубчатую муфту с вал-шестерней Z>1>, закрепляющейся с зубчатым колесом в свою очередь Z>2>. В свою очередь зубчатое колесо Z>2 >через вал-шестерню Z>3> соединяется с зубчатым колесом второй ступени Z>4>. Через вал-шестерню Z>5 >соединяется зубчатое колесо Z>6 >и шлицевой вал третьей ступени, на который насаживается выходное колесо.
Выходной вал установлен на двух конических подшипниках, все остальные опоры вала выполнены на шарикоподшипниках. В крышке редуктора имеется отверстие для заливки масла, закрываемое пробкой отдушиной со щупом. В нижней части корпуса имеется отверстие с пробкой для слива масла.

Рисунок 2 – Кинематическая схема
Тормоз механизма закреплен на лапах электродвигателя посредством рейки. Торможение механизма поворота осуществляется специальным тормозом с горизонтально-расположенными и раздельно действующими колодками на тормозную муфту (рис.3).
Колодки, рычаги, пружины, регулирующие штифты, пальцы и электромагниты типа МО 100-Б смонтированы на кронштейне 7, привернутом к лапам электродвигателя. Тормозной шкив и тормозное устройство закрываются съемным кожухом 5 (см. рис.1).

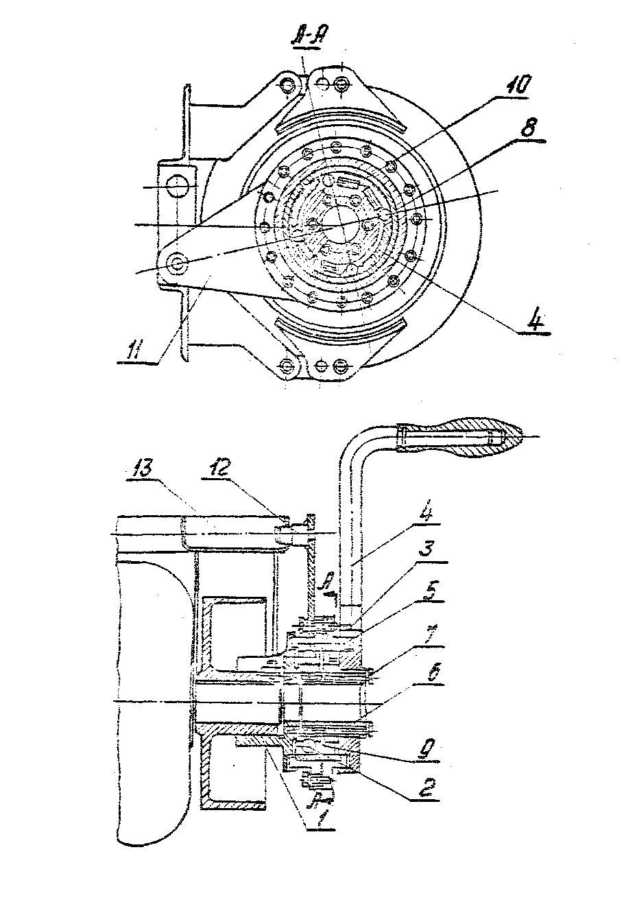
Рисунок 3 - Механизм поворота. Разрез по тормозу
Для разворота поворотной платформы вручную, как при транспортировке крана в составе автопоезда, так и при возникновении случайной необходимости во время эксплуатации крана, предусмотрена съемная безопасная «рукоятка механизма поворота», которая надвигается на ступицу тормозного шкива механизма поворота.
Безопасная рукоятка (рис.4) состоит из рукоятки роликовой муфты свободного хода и стопорного рычага. Ступица 1 смонтирована на подшипнике 2, в разъемном корпусе 3. Вращение ступицы 1 рукояткой 4 производится через двухстороннюю роликовую обгонную муфту. Муфта состоит из наружной обоймы 5, внутренней обойму 6, связанной со ступицей болтами 7. Четыре ролика 8 уложенные на кольцо 9 между наружной и внутренней обоймами подпружены гильзами 10. Корпус 3 удерживается от вращения стопорным рычагом 11, палец которого входит в одно из отверстий рамы тормоза 13.
При вращении рукоятки 4 ее вилка, нажимая на ролики 8, растормаживает обгонную муфту и передает движение внутренней обойме 6 и связанной с ней ступице 1. При обратном движении ролики 8 муфты заклиниваются, и крутящийся момент со стороны механизма поворота замыкается стопором 11 на раму тормоза.
Такая конструкция безопасной рукоятки обеспечивает поворот ходовой части крана при транспортировке и исключает самопроизвольное вращение рукоятки на уклонах и неровностях пути.

Рисунок 4 – Безопасная рукоятка
Оттягивание колодок тормоза на период работы безопасной рукояткой производится путем подклинивания хвостовой части рычагов тормоза специально встроенными в них поворотными распорками 23 (см. рис.3). По окончании работ, связанных с ручным разворотом поворотной платформы, установленные в рабочее положение для расклиновки, поворотные распорки 23 рычагов тормоза, должны быть немедленно выведены в нейтральное, т.е. нерабочее положение и колодки тормоза наложены на тормозной шкив.
Для восприятия нагрузок опрокидывающих моментов от поворотной части крана, поднимаемого груза, ветровых нагрузок, массы противовеса и передачи этих нагрузок на неповоротную часть крана – ходовую раму на кранах устанавливается опорно-поворотное устройство [ОПУ] в виде однорядного роликового круга диаметром 2240 мм.
На кране КБ – 160.2 установлены шариковые двухрядные круги диаметром 2240 мм, при этом венец жестко крепится к ходовой раме, а верхняя и нижняя полуобоймы – к поворотной платформе. Оси вращения смежных роликов расположены под углом 900. благодаря этому четные ролики воспринимают нагрузку, направленную от верхней полуобоймы к венцу, а нечетные ролики от нижней полуобоймы к венцу.
С целью снижения ветровых нагрузок на кран в нерабочем состоянии предусмотрено устройство для растормаживания механизма поворота при уходе машиниста с крана, благодаря чему кран может поворачиваться по ветру. Механизм оборудован двухступенчатым тормозом с раздельно управляемыми колодками. Двухступенчатая конструкция тормоза позволяет повысить плавность работы механизма. Первая ступень торможения (одна колодка накладывается на шкив) осуществляется при работающем электродвигателе и служит для предварительного притормаживания механизма; вторая ступень (вторая колодка накладывается на шкив) выполняется при остановке двигателя. Совместная работа обеих колодок позволяет удерживать кран в заданном положении.
2. Неисправности механизма поворота башенного крана КБ-160.2
1. Редуктор:
а) течь масла по разъему редуктора;
б) износ зубьев шестерен в редукторе;
в) прослаблены шпоночные соединения на валах шестерен в редукторе;
г) щуп не правильно показывает уровень масла по трещинам;
д) течь масла по трещинам в корпусе редуктора;
е) прослаблены болты крепления редуктора;
ж) прослаблены болты крепления разъемного соединения редуктора;
з) ослаблены болты крепления смотрового лючка или прокладка разрешена – течь масла из-под лючка.
2. Электродвигатель привода:
а) прослаблены болты крепления электродвигателя;
б) прослаблены болты крепления торцевых крышек электродвигателя;
в) клемная коробка открыта, нет крышки;
г) крышка контактных колец не закрыта;
д) контактные кольца на роторе имеют износ недопустимый;
е) щетки изношены, траверсы задевают до контактные кольца;
ж) нет смазки в подшипниках или неисправен подшипник – нагрев более 900С;
з) чрезмерный нагрев статора электродвигателя – руку нельзя держать более 3 секунд или перегруз, или неисправность в обмотке;
и) сильный шум в нутрии электродвигателя или развалились (разрушились) подшипники и цепляет ротор о статор;
к) сильный шум в соединительной муфте:
- штопочные соединения разрушились;
- соединительные пальцы раскрутились или резинки на пальцах износились;
- зубья разрушились из-за отсутствия смазки.
л) нет ограждения на муфте;
м) нет заземления на корпусе электродвигателя;
н) провода или кабель не защищены при подходе к электродвигателю.
3. Тормозная система:
а) тормозное устройство плохо закреплено, болты крепления прослаблены;
б) износ тормозных накладок;
в) износ шкива тормозного;
г) износ пальцев стоек тормозных колодок;
д) течь масла из гидротолкателя;
е) сильно гудит электромагнит. Тормоза – разрегулировался электромагнит.
4. Опорно-поворотное устройство:
а) прослаблены болты крепления ОПУ;
б) скрип роликоподшипника ОПУ - нет смазки в подшипнике;
в) появился люфт в башне при повороте – износ в подшипниковом узле.
2.1 Техническое обслуживание
Согласно ГОСТ-18322-73, техническое обслуживание - это комплекс работ для поддержания исправности или только работоспособности изделия при подготовке и использовании по назначению, при хранении и транспортировании.
Цель технического обслуживания в крановом хозяйстве — это обеспечение постоянной исправности крана и готовности его к работе с высокой производительностью; устранение причин, вызывающих преждевременный износ и поломки деталей и сборочных единиц крана; удлинение межремонтных сроков и предупреждение аварийных ремонтов; безопасность работы, а также обеспечение минимальных расходов топлива, электроэнергии и эксплуатационных материалов.
Система технического обслуживания и ремонта — это комплекс взаимосвязанных положений и норм, определяющих организацию и порядок проведения работ по техническому обслуживанию и ремонту изделий для заданных условий эксплуатации с целью обеспечения показателей качества, предусмотренных в нормативной документации.
Плановое техническое обслуживание — это техническое обслуживание, предусмотренное в нормативной документации и осуществляемое в плановом порядке.
Продолжительность технического обслуживания — это время проведения одного технического обслуживания изделия.
Цикл технического обслуживания — это наименьший повторяющийся период эксплуатации изделия, в течение которого выполняются в определенной последовательности установленные виды технического обслуживания, предусмотренные нормативной документацией.
Наработка, или время между двумя последовательно проводимыми техническими обслуживаниями одного вида, есть периодичность технического обслуживания.
В зависимости от периодичности и объема работ различают ежесменное техническое обслуживание (ЕО), периодическое техническое обслуживание (ТО) и сезонное техническое обслуживание (СО).
В ежесменное техническое обслуживание (ЕО) грузоподъемных кранов включаются следующие работы:
очистка механизмов, узлов и сборочных единиц крана от пыли, грязи и снега, проверка уровня масла в картерах и в баке масляной системы;
смазка деталей и узлов крана;
проверка креплений всех узлов, механизмов и сборочных единиц;
проверка состояния канатов и их крепления к канатному барабану;
проверка состояния крюка и его крепления к крюковой подвеске.
Кроме того, необходимо проверить: действие всех педалей и рукояток управления, работу двигателей, действие всех приборов управления и электрооборудования, работу тормозов исполнительных механизмов крана; исправность приборов и устройств безопасности, руководствуясь техническим описанием и инструкцией по эксплуатации крана.
В первичное периодическое техническое обслуживание грузоподъемного крана (ТО-1) включаются следующие работы:
очистка крана от пыли и грязи, проверка состояния сварных швов на основной металлоконструкции, поворотной и неповоротной рамах, проверка ходовых тележек крана, крепления кольца катания к поворотной и неповоротной рамам и смазки на поверхностях зубьев;
проверка соединения тележек к неповоротной раме;
проверка состояния поворотной платформы, стрелы, стойки поддержки стрелы и башни у башенных кранов;
проверка состояния грузовой и стреловой лебедок и механизма поворота крана;
проверка состояния грузовых и стреловых канатов и их крепления;
проверка состояния крюка и его крепления к подвеске;
проверка состояния портала (убедиться в отсутствии трещин в сварке и в основном металле); проверка состояния подвижных и неподвижных блоков грузового и стрелового полиспастов;
проверка состояния тормозных колодок, накладок, ленты и регулировки тормозов; проверка состояния приборов безопасности (особое внимание обратить на состояние крепления ограничителя грузоподъемности);
проверка уровня смазки в механизмах (при необходимости долить или заменить смазку согласно карте смазки крана и инструкциям заводов-изготовителей);
проверка состояния электрооборудования, надежности крепления пускорегулирующей аппаратуры, крепления проводов и кабелей;
удаление пыли, влаги и нагара с рабочих контактов;
проверка четкости срабатывания выключателей, работоспособности приборов контроля, сигнальных ламп и подсвета;
проверка исправности пневмосистемы и гидросистемы крана;
проверка состояния крановых путей и их заземления; проверка заземления крана, заправка его топливом.
Во второе периодическое техническое обслуживание крана (ТО-2) включаются следующие работы: очистка крана от пыли и грязи; тщательная проверка состояния металлоконструкций неповоротной и поворотной рам, портала, башни (башенных кранов) и стрелы (убедиться в отсутствии трещин в сварке, в основном металле, а также в отсутствии погнутости в металлоконструкции); проверка крепления кольца катания к неповоротной и поворотной рамам; проверка состояния зубьев зубчатого венца и бегунковой шестерни; проверка состояния деталей и крепления их к грузовой и стреловой лебедкам, механизма поворота и передвижения (обратить внимание на соосность зубчатых соединений); проверка крепления стрелы к проушинам поворотной рамы (башни); проверка полиспастов и блоков портала; тщательная проверка состояния грузовых, стреловых и вантовых канатов и их соединения в барабанах и других местах; проверка состояния подвижных и неподвижных блоков грузового и стрелового полиспастов; проверка состояния и крепления деталей крюковой подвески (особое внимание обратить на состояние крюка и его крепление к траверсе крюковой подвески); проверка состояния всех тормозных систем крана (обратить внимание на состояние тормозных шкивов, колодок, накладок, лент, пружин и рычагов, при необходимости отремонтировать их); проверка установки рабочей длины пружины тормоза всех лебедок, механизма поворота и передвижения (при необходимости отрегулировать); проверка состояния стабилизаторов; проверка износа пальцев и отверстий; проверка состояния и крепления узлов дополнительных опор и их гидравлических приводов; очистка от пыли и грязи двигателя внутреннего сгорания (самоходные краны); проверка уровня смазки в механизмах (при необходимости долить или заменить смазку согласно карте смазки крана и инструкции заводов-изготовителей); очистка от пыли и грязи внешней поверхности электродвигателей (открыть смотровые люки и очистить камеры контактных колец от металлической и угольной пыли, протереть кольца сухой и чистой тряпкой). При обнаружении масла или грязи тряпку смочить бензином. Если кольца подгорели, допускается зачистка их мелкой стеклянной шкуркой.
При осмотре щеткодержателей необходимо проверить давление щеток на кольца в соответствии с инструкцией по эксплуатации двигателя, а также проверить эластичность хода рычагов щеткодержателей; проверить плотность прилегания крышек смотровых люков и коробок выводов; проверить надежность крепления электродвигателей; осмотреть пульт управления крана; проверить надежность крепления проводов, кабелей, удалить пыль, влагу и нагар с рабочих контактов; убедиться в четкости срабатывания выключателей и надежности их крепления к пульту; проверить состояние комплектного устройства (башенных кранов); удалить пыль и влагу, проверить надежность подсоединения проводов и креплений электроаппаратов; очистить от пыли и грязи магнитные пускателе и контакторы, проверить плотность прилегания подвижных и неподвижных частей магнитной системы, при механическом повреждении рабочих поверхностей магнитной системы подшлифовать их, удалить нагар с контактов, в случае их сильного износа — заменить; проверить надежность работы блокировочного механизма, загрязненные места камеры главных контактов протереть чистой сухой тряпкой; проверить срабатывание контактов и точность фиксации механизмов силовых контроллеров и командоконтроллеров в каждом положении, проверить крепление кабеля и проводов к клеммам силовых контроллеров и командоконтроллеров; удалить нагар с контактов, а также пыль и влагу; проверить состояние и крепление приборов безопасности, а концевые выключатели, кроме того, на четкость срабатывания контактов, отсутствие пыли, грязи и нагара на контактах; проверить герметичность крышек; проверить пускорегулирующие сопротивления, убедиться в чистоте их, надежности крепления к раме и подключения к проводам.
Сухой тряпкой очистить от пыли и грязи изоляторы сопротивления; проверить надежность подключения - кабелей к контактам щеткодержателей и выводам статорных обмоток; проверить сопротивление изоляции электродвигателей. При сопротивлении изоляции ниже 0,5 МОм электродвигатель просушить; осмотреть все кабели и провода. Участки с нарушенной изоляцией заменить; удалить пыль и грязь с поверхностей кабеля и проводов, проверить электрооборудование крана. При сопротивлении изоляции ниже 0,5 МОм просушить. Если при повторной проверке сопротивление изоляции будет тоже ниже 0,5 МОм, поврежденные участки необходимо заменить.
Очистить от пыли и масла токоприемник тряпкой, смоченной в бензине; проверить состояние стоек, колец, щеток и соединения кабелей с токоведущими частями, а также наличие контактов между токоведущими частями; проверить заземление крана и крановых путей; проверить состояние крановых путей и при необходимости отремонтировать их; проверить состояние гидравлической системы крана, фильтрующие элементы, отрегулировать предохранительные клапаны и, если необходимо, заменить рабочую жидкость; проверить состояние пневмосистемы крана; заправить кран топливом; опробовать действие отдельных узлов, механизмов, рабочего оборудования и крана в целом.
Сезонное техническое обслуживание грузоподъемных кранов проводится при переводе крана с зимней эксплуатации на летнюю, и наоборот. При этом кроме замены масел и смазок следует промыть топливные и масляные баки и фильтры, систему охлаждения и картеры всех узлов крана. Кроме того, провести техническое обслуживание №2 (ТО-2) в полном объеме.
Приведенный перечень работ по техническим обслуживаниям кранов не является обязательным, а только ознакомительным.
Обязателен перечень работ, рекомендованный в техническом описании и инструкции по эксплуатации крана, составленных заводом — изготовителем крана.
Ежесменное техническое обслуживание должен производить крановщик. Периодические технические обслуживания лучше всего поручить квалифицированной бригаде слесарей и электриков с участием крановщика и под руководством опытного инженерно-технического работника.
Ремонт грузоподъемных кранов представляет собой комплекс мероприятий, направленных на устранение неисправностей, возникающих в процессе работы, и восстановление работоспособности крана.
В состав работ по ремонту грузоподъемных кранов входят: очистка крана от пыли и грязи, мойка, разборка крана, составление ведомости дефектов, лимона изношенных деталей, узлов и агрегатов новыми или отремонтированными, сборка узлов и агрегатов крапа и восстановление посадок в сопряжениях; стендовые или ходовые испытания отремонтированных узлов, агрегатов и крана в целом; окраска крана.
Ремонтные работы включают в себя также различные виды обработки деталей для их восстановления — сварку, слесарные и станочные работы, нанесение металла на изношенные детали и т.д.
Ремонты грузоподъемных кранов подразделяются на текущий (Т) и капитальный (К).
Ремонт, осуществляемый в процессе эксплуатации для гарантированного обеспечения работоспособности изделия и состоящий в замене и восстановлении его отдельных частей и их регулировке, называется текущим. При текущем ремонте грузоподъемного крана выполняются следующие работы: частичная разборка крана, устранение неисправностей в агрегатах, узлах и в сборочных единицах, возникающих в процессе эксплуатации крана и препятствующих их нормальной работе; замена отдельных агрегатов, узлов и деталей (кроме базовых) новыми или заранее отремонтированными.
Ремонт, осуществляемый с целью восстановления исправности и полного или близкого к полному восстановления ресурса изделия с заменой или восстановлением любых его частей, включая базовые, и их регулировки, называется капитальным ремонтом. При капитальном ремонте грузоподъемного крана выполняются следующие работы: полная разборка грузоподъемного крана, восстановление всех начальных посадок и сопряжении и соответствии с указаниями по капитальному ремонту крат; замена изношенных агрегатов и узлов новыми или заранее отремонтированными.
Сроки периодических технических обслуживаний и текущего ремонта, а также продолжительность одного технического обслуживания и ремонта указаны в техническом описании и инструкции по эксплуатации крана.
3. Обязанности крановщика перед началом работы
1. К управлению и обслуживанию башенного крана допускаются обученные и имеющие на руках удостоверение на право управления башенными кранами машинисты (крановщики), назначенные приказом по предприятию (строительству), в ведении которого находится кран.
2. Машинист башенного крана должен:
а) знать настоящую Инструкцию, а также инструкцию завода-изготовителя по монтажу и эксплуатации крана;
б) знать устройство крана, устройство и назначение его механизмов и приборов безопасности;
в) владеть навыками, требующимися для управления механизмами крана и ухода за ними;
г) знать факторы, влияющие на устойчивость крана, и причины потери устойчивости;
д) знать ассортимент и назначение смазочных материалов, применяемых для смазки трущихся частей крана;
е) знать установленный на строительстве (предприятии) порядок обмена сигналами со стропальщиком;
ж) знать безопасные способы строповки или зацепки грузов;
з) уметь определять пригодность к работе канатов и съемных грузозахватная приспособлений (стропов, траверс, тары);
и) знать правила безопасного перемещения грузов краном;
к) знать требования, предъявляемые к подкрановым путям и их содержанию;
л) знать приемы освобождения от действия тока лиц, попавших под напряжение, и способы оказания им первой помощи;
м) знать лиц, ответственных за исправное состояние грузоподъемных кранов и за безопасное производство работ по перемещению грузов кранами.
3. Машинист контролирует работу стропальщика и отвечает за действие прикрепленного к нему для прохождения стажировки ученика, а также за нарушения требований, изложенных в данной Инструкции.
4. Прежде чем приступить к работе, машинист должен ознакомиться с записями в вахтенном журнале и произвести приемку крана, убедившись в исправности его и подкранового пути.
Для этого машинист должен:
а) осмотреть подкрановые пути и концевые упоры;
б) осмотреть гибкий токоподводящий кабель, а также заземляющие проводники;
в) осмотреть механизмы крана, их крепление и тормоза, а также ходовую часть и противоугонные захваты;
г) проверить наличие и исправность ограждений механизмов и электрооборудования; наличие в кабине диэлектрических ковриков;
д) проверить, смазаны ли передачи, подшипники и канаты, а также состояние смазочных приспособлений и сальников;
е) осмотреть в доступных местах металлоконструкцию крана (башню, стрелу, портал) и состояние соединений отдельных секций башни и стрелы, и элементов ее подвески (канаты, растяжки, блоки, серьги и т. п.);
ж) осмотреть в доступных местах состояние канатов и их крепление на барабане, стреле или в других местах, а также укладку канатов в ручьях блоков и барабанов;
з) осмотреть крюк, его крепление в обойме и замыкающее устройство на нем или другой сменный грузозахватный орган, установленный вместо крюка;
и) проверить комплектность противовеса и надежность его крепления;
к) проверить наличие приборов и устройств безопасности на кране (концевых выключателей, указателя грузоподъемности в зависимости от вылета стрелы, сигнального прибора, аварийного рубильника, ограничителя грузоподъемности и др.);
л) проверить исправность освещения крана;
м) проверить наличие пломбы или замка на защитной панели;
н) проверить наличие проходов (шириной не менее 700 мм) между краном и выступающими частями строящегося здания или другими наземными постройками, а также штабелями груза, уложенного вдоль подкрановых путей на всем их протяжении.
5. Машинист обязан совместно со стропальщиком проверить исправность съемных грузозахватных приспособлений и наличие на них клейм или бирок с указаниями грузоподъемности, даты испытания и номера.
6. При приеме работающего крана осмотр крана должен производиться совместно с машинистом, сдающим смену. Для осмотра крана администрация обязана выделить необходимое время.
7. Осмотр крана должен осуществляться только при неработающих механизмах и при отключенном рубильнике в кабине машиниста. Осмотр гибкого кабеля должен производиться при отключенном рубильнике, подающем напряжение на кабель.
8. При осмотре крана машинист должен при необходимости пользоваться переносной лампой напряжением не выше 12 в.
9. Включение рубильника в кабине перед пуском крана машинист должен производить лишь убедившись, что на кране никого нет, а штурвалы и рукоятки всех контроллеров находятся в нулевом положении.
10. После осмотра крана перед пуском его в работу машинист обязан опробовать вхолостую все механизмы крана и проверить при этом исправность действия:
а) механизмов крана и электрической аппаратуры;
б) приборов и устройств безопасности, имеющихся на кране. Исправность действия ограничителя грузоподъемности башенных кранов проверяется при помощи контрольного груза в следующие сроки на строительных и монтажных башенных кранах, грузоподъемностью до 5 тс - перед началом каждой смены; на монтажных кранах, грузоподъемностью более 5 тс - в сроки, установленные администрацией строительства или предприятия.
Проверка ограничителя грузоподъемности должна производиться в присутствии лица, ответственного за безопасное производство работ по перемещению грузов кранами. О результатах проверки должна быть сделана соответствующая запись в вахтенном журнале;
в) тормозов;
г) указателя вылета стрелы.
11. При обнаружении во время осмотра и опробования крана неисправностей или недостатков в его состоянии, препятствующих безопасной работе, и невозможности их устранения своими силами машинист, не приступая к работе, производит запись в вахтенном журнале, докладывает об этом лицу, ответственному за исправное состояние крана, и ставит в известность лицо, ответственное за безопасное производство работ по перемещению грузов кранами.
Машинист не должен приступать к работе на кране при наличии, в частности, следующих неисправностей:
а) имеются трещины или деформации в металлоконструкции крана; ослаблены болты в местах разъемных стыков;
б) в элементах подвески стрелы (серьгах, тягах и т. и.) обнаружены трещины, отсутствуют шплинты, отсутствуют ранее имевшиеся зажимы крепления канатов или ослабление крепления;
в) стреловой или грузовой канат имеет количество обрывов проволок или поверхностный износ, превышающий установленную норму, оборванную прядь или местное повреждение;
г) механизм подъема груза или механизм подъема стрелы имеют дефекты;
д) детали тормоза механизма подъема груза или стрелы имеют повреждения;
е) уменьшен вес противовеса или балласта;
ж) износ крюка в зеве, превышающий 10% первоначальной высоты сечения, неисправно устройство, замыкающее зев крюка, нарушено крепление крюка в обойме;
з) неисправен или отсутствует ограничитель высоты подъема крюка, ограничитель грузоподъемности, ограничитель вылета стрелы или сигнальный прибор;
и) отсутствует ограждение механизмов или голых токоведущих частей электрооборудования, а также отсутствует или повреждено заземление;
к) неисправны подкрановые пути;
л) повреждены или отсутствуют рельсовые захваты.
12. Для устранения неисправностей электрооборудования, подключения башенного крана к источнику питания, замены плавких предохранителей, подключения электропечей машинист должен вызвать электромонтера. Выполнять эти работы машинисту запрещается.
13. Производя приемку крана, машинист делает соответствующую запись в вахтенном журнале о результатах осмотра и после получения задания от лица, ответственного за безопасное производство работ кранами приступает к работе.
14. Машинист, перед началом работы, должен проверить наличие удостоверения на право производства работ у стропальщика, если последний впервые приступает к работе с ним. Если для производства строповки грузов выделены рабочие, не имеющие прав стропальщика, машинист не должен приступать к работе.
15. Перед началом работы крана машинист обязан убедиться в достаточной освещенности рабочей площадки в зоне действия крана. При недостаточном освещении, сильном снегопаде или тумане машинист, не приступая к работе, должен сообщить об этом лицу, ответственному за безопасное производство работ кранами.
4. Экономический раздел
Организация и учет работы башенного крана
Производительность башенного крана зависит от ряда постоянных и переменных факторов. Постоянными для данного крана факторами являются:
грузоподъемность;
высота подъема;
максимальный и минимальный вылет;
скорости рабочих механизмов крана;
наличие посадочной скорости;
способ изменения вылета;
возможность прохода крана по криволинейному пути;
расположение кабины управления, определяющее обзор машинистом рабочего места, удобство управления механизмами крана.
Переменные факторы:
характер выполняемой краном работы — монтаж, погрузочно-разгрузочные, подъемно-транспортные; фронт работ;
организация монтажных работ на строительной площадке;
расположение приобъектных складов и материалов на них;
вид грузов, с которыми работает кран, — сыпучие, штучные, пакетированные» крупноразмерные;
наличие грузозахватных приспособлений, обеспечивающих быструю и удобную строповку и расстроповку груза;
высота подъема груза, определяемая высотой строящегося здания;
конструкция и форма здания;
организация работы крана;
на строительной площадке — увязка его работы с работой подъемников, погрузчиков, автотранспорта, квалификация машиниста) монтажников, такелажников, сигнальщиков и т.п.
Режим работы крана по времени в течение смены зависит от времени полезной работы и перерывов в работе.
Организационные перерывы вызваны необходимостью обслуживания крана (профилактические осмотры и ремонты, а также прием и сдача крана в начале и конце смены). Продолжительность этих перерывов зависит от организованности и опыта машиниста и обслуживающего кран персонала.
К технологическим перерывам относят перерывы, связанные со сменой грузозахватных приспособлений, изменением вылета у кранов с установочным вылетом и т. п.
Время, затрачиваемое краном на перенос груза, начиная от момента его строповки и кончая опусканием порожнего крюка к месту строповки очередного груза на приобъектном складе (автотранспорте), называется циклом работы крана. Продолжительность цикла Тц складывается из машинного времени и времени выполнения ручных операций.
Машинное время состоит из времени, затрачиваемого на вертикальное и горизонтальное перемещение груза, и зависит от рабочих скоростей крана, возможности совмещения операций, длины пути перемещаемого груза и квалификации машиниста.
Время ручных операций включает время, затрачиваемое на строповку груза, установку, закрепление груза в рабочее положение на здании (складе) и отсоединение от груза грузозахватных приспособлений.
Производительность крана, которая может быть достигнута в конкретных производственных условиях, называется эксплуатационной производительностью. Применительно к башенным кранам различают годовую и сменную эксплуатационную производительность.
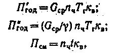
Годовая эксплуатационная производительность П'год или П''год определяется в т/год или в м2 жил. площади/год, сменная Псм - число циклов/смена

где Gcp — средняя масса элементов здания, т; п>ч> — число циклов подъема в час, п>ч> =s 60/Тц, Тц — время цикла, мин; Тц — годовое фонд времени, Тг≈3000 ч; кв — коэффициент внутрисменных потерь, учитывающий организационные и технологические простои; простои; к>В>=0,8; у — масса 1 м2 жилой площади, у = 1,6 - 1,9 т/м2; t — число рабочих часов в смене, t = 8,2 ч при пятидневной рабочей неделе, t = 6,83 ч — при шестидневной.
Сменная производительность, цикл/смена, и годовая, м2/год, наиболее удобные показатели для учета работы крана. Учет работы может также производиться по объему кирпичной кладки или по выполнению сменного задания, выданного бригаде строителей, которую обслуживает башенный кран.
Первичным документом для учета времени работы крана и машиниста является сменный рапорт, заполняемый машинистом и заверяемый прорабом строительной площадки. Существуют различные формы сменных рапортов, в том числе «Акт учета работы строительных машин», который может быть обработан на машиносчетной станции. По акту учитывают работу машиниста за неделю, кроме того, на нем производят расчеты с заказчиком и расчет заработной платы машиниста за это время.
Передовые методы труда
Производительность башенного крана в значительной степени зависит от организации работ на строительстве и опыта машиниста.
При прогрессивной схеме организации работ и высокой квалификации машиниста годовая производительность крана может достичь 50 тыс. т. возведенного здания, что соответствует 30 тыс. м2 жилой площади. Наиболее прогрессивной схемой организации работ является схема, предусматривающая монтаж с транспортных средств. Ликвидация промежуточных складов повышает темп строительства, так как разгружает башенный кран от дополнительных погрузочно-разгрузочных работ на складе.
Большое значение для повышения производительности труда имеет совмещение операций. Наибольшее время в течение цикла отнимают операции подъема (опускания) груза и поворота крана, поэтому их совмещают в первую очередь. При этом необходимо, чтобы при повороте крана на угол (рис.1) к моменту подхода груза к ближайшей стене здания, груз был бы уже поднят над строящимся этажом здания на безопасную высоту. При повороте крана с грузом над зданием (>2>) можно совмещать поворот с передвижением крана или изменением: вылета. Число совмещаемых операций указывается в инструкции по эксплуатации крана. Для ускорения подачи груза к месту монтажа стараются максимально уменьшить угол поворота крана (следовательно, и время поворота). Для этого грузы располагают на площадке так, чтобы угол поворота не превышал 90-120°.

Рисунок 18 - Схема подачи груза к месту монтажа:
1 — склад, 2 — место монтажа, 3 — кран, 4 — дорога для автотранспорта; ее, а>1> — угол поворота крана при совмещении с подъемом груза, а>2> — угол поворота крана при совмещении с изменением вылета, S — величина изменения вылета шеи стене здания, груз был бы уже поднят над строящимся этажом здания на безопасную высоту
При подаче груза к месту монтажа машинист должен стремиться остановить его без больших колебаний, чтобы монтажники не тратили время на успокоение и точную наводку груза. При наличии многоскоростных лебедок машинисты должны выбирать скорость подъема в зависимости от массы поднимаемых грузов: чем меньше груз, тем с большей скоростью его можно перемещать. Опускание пустой крюковой подвески за новым элементом должно осуществляться на максимальной скорости. Передвижение крапа при подаче груза к месту монтажа, как правило, используют редко, так как скорость передвижения крана мала и при этом возникают повышенные колебания груза. Чаще груз к месту подводят, сочетая два движения — поворот и изменение вылета.
Список использованной литературы
Вергазов В.С. В помощь крановщикам и стропальщикам / В.С. Вергазов. – М.: Высшая школа, 1982. – 416 с.
Невзоров Л.А. Краны башенные и автомобильные / Л.А. Невзоров, М.Д. Полосин. - М.: Высшая школа, 2008. – 326 с.
Невзоров Л.А. Справочник молодого машиниста башенных кранов / Л.А. Невзоров, Г.Н. Пазельский. - М.: Высшая школа, 1985. – 326 с.
Невзоров Л.А. Справочник молодого машиниста башенных кранов / Л.А. Невзоров, Г.Н. Пазельский, В.А. Романюха. - М.: Высшая школа, 1986. – 422 с.
Романюха В.Л. Башенные краны / В.Л. Романюха. – М.: Московский рабочий, 1980. – 224 с.
Романюха В.Л. Справочник молодого машиниста башенных кранов / В.Л.Романюха, И.М.Смирнов. – М.: Высшая школа, 1978. – 192 с.
Станевский В.П. Строительные краны: Справочник / В.П. Станевский, В.Г. Моисеенко, Н.П. Колесник и др. - К.: Будівельник, 1984.-240 с.
Чернышев Н.И. Справочник молодого машиниста башенных кранов / Н.И. Чернышев, В.Л. Романюха. – М.: Высшая школа, 1967. – 248 с.