Монтаж строительных конструкций (работа 3)
МИНИСТЕРСТВО ОБРАЗОВАНИЯ РФ
КАФЕДРА технологии организации экономики строительства и управления недвижимостью
Курсовой проект по дисциплине:
«Технология возведения зданий и сооружений»
Тема: Монтаж строительных конструкций
2009 г.
Содержание
Введение
1 Определение исходных данных
2Ввыбор методов монтажа и монтажных приспособлений
2.1 Выбор методов и схем монтажа зданий
2.2 Выбор приспособлений и вспомогательного оборудования
3 Выбор монтажных кранов по техническим параметрам
4 Деление на участки, захватки, ярусы
5 Разработка калькуляции трудовых затрат
6 Расчет требуемого числа машин
7 Технико-экономические исследования вариантов механизации монтажных работ
7.1 Продолжительность работ
7.2 Трудоемкость единицы работ
7.3 Себестоимость единицы работ
7.4 Удельные приведенные затраты
8 Расчет состава комплексной бригады
8.1 Первый ЧП
8.2 Второй ЧП
Результаты расчета комплексной бригады
9.Описание принятой технологии монтажа
10 Разработка мероприятий по технике безопасности
11 Исследования по усовершенствованию технологии
Список литературы
1 Определение исходных данных
Проектирование начинается с установления по заданию числа и масс монтажных элементов и внесения их в таблицу.
Таблица 1 Спецификация сборных железобетонных конструкций
|
№ п/п |
Наименование элементов, марки |
Размеры элементов, м |
Площади элементов, м2 |
Число элементов |
Массы элементов, т |
||||
|
длина |
ширина |
высота |
на 1 этаж |
на все здание |
на 1 этаж |
на все здание |
|||
|
1 |
Наружные стеновые панели, НС-1 |
3,305 |
0,400 |
2,730 |
9,023 |
34 |
136 |
99,96 |
399,84 |
|
2 |
Наружные стеновые панели, НС-2 |
3,305 |
0,400 |
2,730 |
9,023 |
8 |
32 |
29,12 |
116,48 |
|
3 |
Наружные стеновые панели, НС-3 |
5,985 |
0,400 |
2,730 |
16,339 |
4 |
16 |
21,68 |
86,72 |
|
4 |
Балконная плита, БС-1 |
0,900 |
0,140 |
2,520 |
2,268 |
12 |
48 |
10,20 |
40,80 |
|
5 |
Внутренние стеновые панели, ВС-1 |
3,750 |
0,140 |
2,520 |
9,450 |
12 |
60 |
38,16 |
190,80 |
|
6 |
Внутренние стеновые панели, ВС-2 |
3,275 |
0,140 |
2,520 |
8,253 |
6 |
30 |
17,40 |
87,00 |
|
7 |
Внутренние стеновые панели, ВС-3 |
5,950 |
0,140 |
2,520 |
14,994 |
33 |
165 |
50,16 |
250,80 |
|
8 |
Внутренние стеновые панели, ВС-4 |
5,950 |
0,140 |
2,520 |
14,994 |
9 |
45 |
29,70 |
148,50 |
|
9 |
Плиты перекрытия, П-1 |
6,080 |
3,220 |
0,140 |
19,578 |
36 |
180 |
249,12 |
1245,60 |
|
10 |
Плиты перекрытия, П-2 |
4,850 |
3,220 |
0,140 |
15,617 |
3 |
15 |
12,66 |
63,30 |
|
11 |
Элементы лестницы, ЛП-1 |
1,670 |
3,280 |
0,350 |
5,478 |
4 |
16 |
7,36 |
29,44 |
|
12 |
Элементы лестницы, ЛМ-1 |
2,625 |
1,950 |
0,350 |
5,119 |
6 |
27 |
12,06 |
54,27 |
|
13 |
Верхние наружные стены, НФ-1 |
3,305 |
0,400 |
3,310 |
10,940 |
34 |
34 |
84,66 |
84,66 |
|
14 |
Верхние наружные стены, НФ-2 |
3,305 |
0,340 |
3,310 |
10,940 |
8 |
8 |
29,12 |
29,12 |
|
15 |
Верхние наружные стены, НФ-3 |
5,985 |
0,340 |
3,310 |
19,810 |
4 |
4 |
19,68 |
19,68 |
|
|
ИТОГО |
|
|
|
|
|
|
|
2847,01 |
По данным таблицы 1 составим ведомость объемов работ в форме таблицы 2.
Таблица 2 Ведомость объемов работ
|
№ п/п |
Наименование процессов |
Ед. изм. |
Шифр норм. докум. (ЕНиР) |
Количество |
Примечание |
|
|
на 1 этаж |
на все здание |
|||||
|
1 |
2 |
3 |
4 |
5 |
6 |
|
|
1 |
Укладка плит перекрытий площадью до 20м2 при помощи строп или специальных траверс, стропуемых в необходимом количестве точек, а также крепление их анкерами к стенам и между собой |
1 элемент |
§ Е4-1-7 5а, б |
39 |
195 |
П-1, П-2 |
|
2 |
Установка панелей наружных и внутренних стен бескаркасно-панельных зданий с площадь полелей до 15м2 на постель из готового раствора с одновременной раскладкой маяков при необходимости и временным креплением подкосами или струбцинами |
1панель |
§ Е4-1-8 13а, б |
144 |
510 |
НС-1, НС-2, НФ-1, НФ-2, ВС-1, ВС-2, ВС-3, ВС-4, |
|
3 |
Установка панелей наружных и внутренних стен бескаркасно-панельных зданий с площадь полелей до 20м2 на постель из готового раствора с одновременной раскладкой маяков при необходимости и временным креплением подкосами или струбцинами |
1панель |
§ Е4-1-8 14а, б |
8 |
20 |
НС-3, НФ-3 |
|
4 |
Электросварка стыков панелей наружных и внутренних стен односторонняя шовная, толщиной 10мм |
10 м шва |
§ Е22-1-2 8в |
152х4/10=60,8 |
530х4/10=212,0 |
НС-1, НС-2, НС-3, НФ-1, НФ-2, НФ-3, ВС-1, ВС-2, ВС-3, ВС-4, |
|
5 |
Электросварка плит перекрытий односторонняя шовная, толщиной 10мм |
10 м шва |
§ Е22-1-2 14в |
39х4/10=15,6 |
195х4/10=78,0 |
П-1, П-2 |
|
6 |
Покрытие поверхности сварных соединений стыков панелей наружных и внутренних стен площадью св. 0,01м2 газопламенным нанесением антикоррозионного цинкового покрытия установкой УПН-6-63 слоем 0,1-0,15 мм по ранее очищенной поверхности до металлического блеска |
10 стыков |
§ Е4-1-22 1а |
152х4/10=60,8 |
530х4/10=212,0 |
НС-1, НС-2, НС-3, НФ-1, НФ-2, НФ-3, ВС-1, ВС-2, ВС-3, ВС-4 |
|
7 |
Покрытие поверхности сварных плит перекрытий площадью св. 0,01м2 газопламенным нанесением антикоррозионного цинкового покрытия установкой УПН-6-63 слоем 0,1-0,15 мм по ранее очищенной поверхности до металлического блеска |
10 стыков |
§ Е4-1-22 1а |
39х4/10=15,6 |
195х4/10=78,0 |
П-1, П-2 |
|
8 |
Установка лестничных маршей или укладка плит лестничных площадок массой до 2,5т в бескаркасных зданиях |
1 элемент |
§ Е4-1-10 5а,б |
10 |
43 |
ЛП-1, ЛМ-1 |
|
9 |
Укладка балконных плит массой до 1т на постель из готового цементного раствора |
1 элемент |
§ Е4-1-12 1а,б, ПР-1 |
12 |
48 |
БС-1 |
|
10 |
Заливка швов плит перекрытий механизированным способом легкой бетонной смесью или раствором пневмонагнетателем |
100 м шва |
§ Е4-1-26 3а |
9,3х36/100=3,35 |
9,3х180/100=16,74 |
П-1 |
|
11 |
Заливка швов плит перекрытий механизированным способом легкой бетонной смесью или раствором пневмонагнетателем |
100 м шва |
§ Е4-1-26 3а |
8,07х3/100=0,24 |
8,07х15/100=1,21 |
П-2 |
|
12 |
Заливка швов панелей стен (наружных) высотой до 3м механизированным способом легкой бетонной смесью или раствором пневмонагнетателем |
100 м шва |
§ Е4-1-26 1а |
2,73х46/100=1,26 |
2,73х184/100=5,02 |
НС-1, НС-2, НС-3 |
|
13 |
Заливка швов панелей стен (наружных) высотой до 6м механизированным способом легкой бетонной смесью или раствором пневмонагнетателем |
100 м шва |
§ Е4-1-26 2а |
3,31х46/100=1,52 |
3,31х46/100=1,52 |
НФ-1, НФ-2, НФ-3, |
|
13 |
Заливка швов панелей стен (внутренних) высотой до 3м механизированным способом легкой бетонной смесью или раствором пневмонагнетателем |
100 м шва |
§ Е4-1-26 1а |
2,52х72/100=1,81 |
2,52х348/100=8,77 |
ВС-1, ВС-2, ВС-3, ВС-4 |
|
14 |
Герметизация горизонтальных стыковых швов панелей стен (наружных) пороизолом и гернитом, нарезанным на прокладки необходимой длины (прокладки наклеиваются на грани панелей с помощью мастики "Изол") |
10 м шва |
§ Е4-1-27 10 |
2,73х46/10=12,6 |
2,73х184/10=50,2 |
НС-1, НС-2, НС-3 |
|
15 |
Герметизация горизонтальных стыковых швов панелей стен (наружных) пороизолом и гернитом, нарезанным на прокладки необходимой длины (прокладки наклеиваются на грани панелей с помощью мастики "Изол") |
10 м шва |
§ Е4-1-27 10 |
3,31х46/10=15,2 |
3,31х46/10=15,2 |
НФ-1, НФ-2, НФ-3, |
|
16 |
Конопатка швов панелей стен снаружи здания выполняемая одновременно с зачеканкой и расшивкой |
10 м шва |
§ Е4-1-28 1,2 |
2,73х46/10=12,6 |
2,73х184/10=50,2 |
НС-1, НС-2, НС-3 |
|
17 |
Конопатка швов панелей стен снаружи здания выполняемая одновременно с зачеканкой и расшивкой |
10 м шва |
§ Е4-1-28 1,2 |
3,31х46/10=15,2 |
3,31х46/10=15,2 |
НФ-1, НФ-2, НФ-3, |
|
18 |
Конопатка швов примыканий панелей стен и перегородок внутри зданий |
10 м шва |
§ Е4-1-28 5 |
2,52х72/10=18,1 |
2,52х348/10=87,7 |
ВС-1, ВС-2, ВС-3, ВС-4 |
|
19 |
Зачеканка швов примыканий панелей стен и перегородок внутри зданий |
10 м шва |
§ Е4-1-28 6 |
2,52х72/10=18,1 |
2,52х348/10=87,7 |
ВС-1, ВС-2, ВС-3, ВС-4 |
2 Выбор методов монтажа и монтажных приспособлений
2.1 Выбор методов и схем монтажа зданий
При выборе следует стремиться к тому, чтобы методы монтажа и способы установки и закрепления отдельных элементов обеспечивали:
безопасность монтажных и послемонтажных работ с учётом их производства по совмещённому графику.
устойчивость и геометрическую неизменяемость смонтированной части здания (сооружения) на всех стадиях возведения.
надёжность монтажных соединений
возможность комплексной механизации строительства
поточность выполнения процессов
наиболее раннее открытие фронта для послемонтажных работ
возможно меньшую трудоёмкость и стоимость работ.
2.2 Выбор приспособлений и вспомогательного оборудования
Строповка конструкций должна производиться так, чтобы при подъёме они находились в положении, близком к проектному (колонны - в вертикальном; плиты – в горизонтальном и т.д.).
Число ветвей стропа принимают в зависимости от вида и массы поднимаемого элемента. При этом учитывают, что углы между ветвью и вертикалью не более 45.
Для уменьшения высоты строповки и сжимающего усилия в конструкциях для их подъёма применяют траверсы.
Результаты работы по выбору монтажных приспособлений для установки всех основных сборных элементов оформляют в виде таблице.
Таблица 3 – Ведомость монтажных приспособлений и оборудования
|
Наименование и краткая характеристика |
Эскиз |
Грузоподъемность, т |
Масса кг |
Расчетная Высота (L), м |
Назначение |
№ источника |
|
1 |
2 |
3 |
4 |
5 |
6 |
7 |
|
Грузозахватные приспособления |
||||||
|
Строп двухветвевой ГОСТ 19144-73 Тип 2 СК-2,5 |
|
5 |
18 |
2,2 |
Установка стеновых панелей длиной до 6м |
|
|
Строп 4-х ветвевой ПИ, Промстальконструкция., 21059М-28 |
|
7 |
48 |
4,5 |
Выгрузка, раскладка и установка плит перекрытий, лестничных площадок, балконных плит |
|
|
Приспособления для временного закрепления |
||||||
|
Подкос (чертеж ПСК) Индустстрой |
|
- |
34 |
6,2 |
Для выверки и временного закрепления стеновых панелей |
|
|
24 |
4,0 |
|||||
|
Приспособления для организации работ на высоте |
||||||
|
Подвесная люлька Стальконструкция Ленинградский отдел №21059 М |
|
0,1 |
60 |
- |
Для законопачивания швов снаружи здания |
|
|
Приставная лестница с площадкой (Промсталь-конструкция) |
|
- |
26,9 |
7,3 |
Обеспечение рабочих мест на высоте при монтаже |
|
|
Площадки для работы на высоте Стальконструкция Ленинградский отдел №21059 |
|
- |
48 |
2,7 |
Для работ в пределах этажа |
3 Выбор монтажных кранов по техническим параметрам
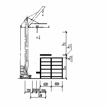
Выбор крана для монтажа плит перекрытия и стеновых панелей. Рассмотрим вариант монтажа здания башенным передвижным краном с одной стороны здания (см. рисунок 1).

Рисунок 1 – Схема расположения крана относительно здания
Тип крана предусматриваем с нижним расположением противовеса.
Максимальная масса плиты перекрытия 6,92т, наружной стеновой панели 5,42т. Для монтажа конструкций принимаем один кран. Кран подбираем по следующим параметрам:
Требуемая грузоподъёмность
т.
где Q>э>- масса монтируемого элемента (плиты покрытия),
Q>ГР>- масса грузозахватного устройства (Строп 4-х ветвевой ПИ, Промстальконструкция.,
21059М-28)
Высота подъёма крюка крана

где h>0>=10,82м – превышение монтажного горизонта,
h>з>=0,8м – запас по высоте для обеспечения безопасности монтажа,
h>э>=0,014м – высота монтируемого элемента (плиты покрытия),
h>стр>=4,5м –высота строповки.
Требуемый вылет крюка
Принимаем два крана:
КБ-308А
м.;
т.;
м
(ширина рельсовой колей башенного крана
- d=6;
радиус окружности, описываемый хвостовой
частью крана, «задний габарит» - r=3,8м)
КБ-403Б
м.;
т.;
м
(d=6;
r=4,35м)
Проверим возможность использования крана на монтаже других конструкций. Данные проверки сводим в таблицу.
Таблица 4 – Проверка возможности использования крана КБ-403Б на монтаже других конструкций
|
Наименование (марка) элемента |
Вылет крюка крана (Lтр), м |
Грузоподъемность, т |
Высота подъема крюка, м |
||||
|
КБ-308 |
КБ-403Б |
Qтр |
КБ-308 |
КБ-403Б |
Н>к>тр |
||
|
Стеновая панель ВС-4 |
14,9 |
8 |
8 |
4,438 |
21 |
24 |
16,55 |
Окончательно для монтажа конструкций заданного здания кран КБ-308А. Схема крана изображена на рисунке 2

.Рисунок 2 – Схема башенного крана
4 Деление на участки, захватки, ярусы
Для обеспечения основных принципов поточного производства работ здание разбивают на ярусы, захватки и участки. При невозможности из-за малых размеров в плане разбить здание на захватки, производство совмещённых с монтажом работ должно предусматриваться в ту смену суток, когда монтажные работы не ведутся. Обычно в качестве участков принимают температурные блоки. Назначим размеры участков 70х6м. Высоту яруса берем равную высоте этажа 2,7м, ширину захватки - 12м. (см. рисунок 3).

Рисунок 3 – Деление здания на ярусо-захватки
5 Разработка калькуляции трудовых затрат
Калькуляция затрат труда и заработной платы составляется на основе ЕНиР, ВНиР, МНиР и ежегодных дополнений к ним. В таблице 5 представлена калькуляция затрат труда и заработной платы по монтажу здания на основные процессы, в таблице 6 – на дополнительные процессы (на монтаж балконной плиты).
Таблица 5 – Калькуляция трудовых затрат на основные процессы
|
№ п/п |
Наименование процессов |
Шифр норм. докум. (ЕНиР) |
Ед. изм. |
Н.вр
|
Объем работ |
Нормативные затраты
|
Расценки, руб.-коп |
Зарплата на весь объем, руб.-коп |
Состав звена по нормам (специальность, разряд, число рабочих) |
||||||||
|
по ярусо-захваткам |
всего |
по ярусо-захваткам |
На весь объем |
||||||||||||||
|
Торцевая (последняя) |
рядовая |
||||||||||||||||
|
Торцевая (последняя) |
рядовая |
||||||||||||||||
|
Типового этажа |
Верхнего этажа |
Типового этажа |
Верхнего этажа |
Типового этажа |
Верхнего этажа |
Типового этажа |
Верхнего этажа |
||||||||||
|
1 |
2 |
3 |
4 |
5 |
6 |
7 |
8 |
9 |
10 |
11 |
12 |
13 |
14 |
15 |
16 |
17 |
18 |
|
1 |
Укладка плит перекрытий площадью до 20м2 при помощи строп или специальных траверс, стропуемых в необходимом количестве точек, а также крепление их анкерами к стенам и между собой |
§ Е4-1-7 5а, б |
1 элемент |
1,1 0,28 |
13 |
13 |
13 |
13 |
195 |
15,02 3,82 |
15,02 3,82 |
15,02 3,82 |
15,02 3,82 |
225,33 57,33 |
0-77,8 0-29,7 |
159-29,6 60-81,1 |
Монтажники конструкций 4 разр. - 1 3 разр. - 2 2 разр. - 1 Машинист крана 6 разр.- 1 |
|
2 |
Установка панелей наружных и внутренних стен бескаркасно-панельных зданий с площадь полелей до 15м2 на постель из готового раствора с одновременной раскладкой маяков при необходимости и временным креплением подкосами или струбцинами |
§ Е4-1-8 13а, б |
1панель |
1,1 0,28 |
34 |
34 |
34 |
34 |
510 |
39,27 9,99 |
39,27 9,99 |
39,27 9,99 |
39,27 9,99 |
589,05 149,94 |
0-83,6 0-29,7 |
447-67,8 159-04,4 |
Монтажники конструкций 5 разр. - 1 4 разр. - 1 3 разр. – 1 2 разр. - 1 Машинист крана 6 разр.- 1 |
|
3 |
Установка панелей наружных и внутренних стен бескаркасно-панельных зданий с площадь полелей до 20м2 на постель из готового раствора с одновременной раскладкой маяков при необходимости и временным креплением подкосами или струбцинами |
§ Е4-1-8 14а, б |
1панель |
1,2 0,3 |
2 |
2 |
- |
- |
20 |
2,52 0,63 |
2,52 0,63 |
- |
- |
25,2 0,63 |
0-91,2 0-31,8 |
19-15,2 6-67,8 |
Монтажники конструкций 5 разр. - 1 4 разр. - 1 3 разр. – 1 2 разр. - 1 Машинист крана 6 разр.- 1 |
|
4 |
Электросварка стыков панелей наружных и внутренних стен односторонняя шовная, толщиной 10мм |
§ Е22-1-2 1,5в |
10 м шва |
8,1 |
14,4 |
14,4 |
13,6 |
13,6 |
212,0 |
122,47 |
122,47 |
115,67 |
115,67 |
1803,06 |
8-59 |
1912-13,4 |
Электросварщик ручной сварки 6 разр. |
|
5 |
Электросварка плит перекрытий односторонняя шовная, толщиной 10мм |
§ Е22-1-2 11,15в |
10 м шва |
9,7 |
5,2 |
5,2 |
5,2 |
5,2 |
78 |
52,96 |
52,96 |
52,96 |
52,96 |
794,43 |
10-28 |
841-93,2 |
Электросварщик ручной сварки 6 разр. |
|
6 |
Покрытие поверхности сварных соединений стыков панелей наружных и внутренних стен площадью св. 0,01м2 газопламенным нанесением антикоррозионного цинкового покрытия установкой УПН-6-63 слоем 0,1-0,15 мм по ранее очищенной поверхности до металлического блеска |
§ Е4-1-22 1а |
10 стыков |
0,64 |
14,4 |
14,4 |
13,6 |
13,6 |
212,0 |
9,68 |
9,68 |
9,14 |
9,14 |
142,46 |
0-50,6 |
112-63,6 |
Монтажники конструкций 4 разр. - 1 |
|
7 |
Покрытие поверхности сварных плит перекрытий площадью св. 0,01м2 газопламенным нанесением антикоррозионного цинкового покрытия установкой УПН-6-63 слоем 0,1-0,15 мм по ранее очищенной поверхности до металлического блеска |
§ Е4-1-22 1а |
10 стыков |
0,64 |
5,2 |
5,2 |
5,2 |
5,2 |
78 |
3,49 |
3,49 |
3,49 |
3,49 |
52,42 |
0-50,6 |
41-44 |
Монтажники конструкций 4 разр. - 1 |
|
8 |
Установка лестничных маршей или укладка плит лестничных площадок массой до 2,5т в бескаркасных зданиях |
§ Е4-1-10 5а,б, ПР-1 |
1 элемент |
1,7 0,42 |
1 |
1 |
1 |
1 |
43 |
1,79 0,44 |
1,79 0,44 |
1,79 0,44 |
1,79 0,44 |
76,76 18,96 |
1-24,0 0-44,5 |
55-98,6 20-09,2 |
Монтажники конструкций 4 разр. - 2 3 разр. – 1 2 разр. - 1 Машинист крана 6 разр.- 1 |
|
9 |
Укладка балконных плит массой до 1т на постель из готового цементного раствора |
§ Е4-1-12 1а,б |
1 элемент |
2 0,5 |
4 |
4 |
4 |
4 |
48 |
8,4 2,1 |
8,4 2,1 |
8,4 2,1 |
8,4 2,1 |
100,8 25,2 |
1-46 0-53 |
73-58,4 26-71,2 |
Монтажники конструкций 4 разр. - 2 3 разр. – 1 2 разр. - 1 Машинист крана 6 разр.- 1 |
|
10 |
Заливка швов плит перекрытий механизированным способом легкой бетонной смесью или раствором пневмонагнетателем |
§ Е4-1-26 3а |
100 м шва |
4 |
1,12 |
1,12 |
1,12 |
1,12 |
16,74 |
4,7 |
4,7 |
4,7 |
4,7 |
70,31 |
2-98 |
52-37,9 |
Монтажники конструкций 4 разр. - 2 3 разр. – 1 |
|
11 |
Заливка швов плит перекрытий механизированным способом легкой бетонной смесью или раствором пневмонагнетателем |
§ Е4-1-26 3а |
100 м шва |
4 |
0,08 |
0,08 |
0,08 |
0,08 |
1,21 |
0,34 |
0,34 |
0,34 |
0,34 |
5,08 |
2-98 |
3-78,6 |
Монтажники конструкций 4 разр. - 2 3 разр. – 1 |
|
12 |
Заливка швов панелей стен (наружных) высотой до 3м механизированным способом легкой бетонной смесью или раствором пневмонагнетателем |
§ Е4-1-26 1а |
100 м шва |
12 |
0,44 |
- |
0,38 |
- |
5,02 |
5,54 |
- |
4,79 |
- |
63,25 |
8-94 |
47-12,3 |
Монтажники конструкций 4 разр. - 1 3 разр. – 1 |
|
13 |
Заливка швов панелей стен (наружных) высотой до 6м механизированным способом легкой бетонной смесью или раствором пневмонагнетателем |
§ Е4-1-26 2а |
100 м шва |
28 |
- |
0,53 |
- |
0,46 |
1,52 |
- |
15,58 |
- |
13,52 |
44,69 |
20-86 |
33-29,3 |
Монтажники конструкций 4 разр. - 1 3 разр. – 1 |
|
13 |
Заливка швов панелей стен (внутренних) высотой до 3м механизированным способом легкой бетонной смесью или раствором пневмонагнетателем |
§ Е4-1-26 1а |
10 м шва |
12 |
0,50 |
0,50 |
0,50 |
0,50 |
8,77 |
6,3 |
6,3 |
6,3 |
6,3 |
110,5 |
8-94 |
82-32,2 |
Монтажники конструкций 4 разр. - 1 3 разр. – 1 |
|
14 |
Герметизация горизонтальных стыковых швов панелей стен (наружных) пороизолом и гернитом, нарезанным на прокладки необходимой длины (прокладки наклеиваются на грани панелей с помощью мастики "Изол") |
§ Е4-1-27 10 |
10 м шва |
0,19 |
4,37 |
- |
3,82 |
- |
50,2 |
0,87 |
- |
0,76 |
- |
10,01 |
0-14,2 |
7-48,5 |
Монтажники конструкций 4 разр. - 1 3 разр. – 1 |
|
15 |
Герметизация горизонтальных стыковых швов панелей стен (наружных) пороизолом и гернитом, нарезанным на прокладки необходимой длины (прокладки наклеиваются на грани панелей с помощью мастики "Изол") |
§ Е4-1-27 10 |
10 м шва |
0,19 |
- |
5,3 |
- |
4,63 |
15,2 |
- |
1,06 |
- |
0,92 |
3,03 |
0-14,2 |
2-26,6 |
Монтажники конструкций 4 разр. - 1 3 разр. – 1 |
|
16 |
Конопатка швов панелей стен снаружи здания выполняемая одновременно с зачеканкой и расшивкой |
§ Е4-1-28 1,2 |
10 м шва |
2,7 |
4,37 |
- |
3,82 |
- |
50,2 |
12,39 |
- |
10,83 |
- |
142,32 |
2-14 |
27-84 |
Монтажники конструкций 4 разр. - 1 |
|
17 |
Конопатка швов панелей стен снаружи здания выполняемая одновременно с зачеканкой и расшивкой |
§ Е4-1-28 1,2 |
10 м шва |
2,7 |
- |
5,3 |
- |
4,63 |
15,2 |
- |
15,03 |
- |
13,13 |
43,09 |
2-14 |
34-15,4 |
Монтажники конструкций 4 разр. - 1 |
|
18 |
Конопатка швов примыканий панелей стен и перегородок внутри зданий |
§ Е4-1-28 5 |
10 м шва |
0,62 |
5,04 |
5,04 |
5,04 |
5,04 |
87,7 |
3,28 |
3,28 |
3,28 |
3,28 |
57,09 |
0-49 |
45-12,2 |
Монтажники конструкций 4 разр. - 1 |
|
19 |
Зачеканка швов примыканий панелей стен и перегородок внутри зданий |
§ Е4-1-28 6 |
10 м шва |
0,6 |
5,04 |
5,04 |
5,04 |
5,04 |
87,7 |
3,18 |
3,18 |
3,18 |
3,18 |
55,25 |
0-47,4 |
43-64,8 |
Монтажники конструкций 4 разр. - 1 |
|
4414,13 233,1 |
4043-25,6 253-24,5 |
Примечание: 1 Нормами выпуска Е4-1 предусмотрено производство работ на высоте до 15 м, от уровня планировочных отметок. При производстве работ на высоте св. 15м, Н.вр. и Расц. умножать на следующие коэффициенты в зависимости от высоты: до 20м .... 1,05 (ВЧ-1), " 30м ....1,1 (ВЧ-2), " 40м….1,2 (ВЧ-3), св.40м.…1,3 (ВЧ-4)
2 Нормами также предусмотрен монтаж конструкций при помощи кранов: башенных, на гусеничном ходу и козловых. При выполнении работ кранами на пневмоколесном ходу и автомобильными кранами Н.вр. и Расц. умножать на 1,1, (ТЧ-1), а при монтаже конструкций с помощью мачт, оборудованных электрическими лебедками - на 1,3 (ТЧ-2).
3 При производстве работ в зимних условиях необходимо Н.вр. и Расц. умножать на 1,05
Таблица 6 – Калькуляция трудовых затрат на дополнительные процессы (на монтаж балконной плиты)
|
№ п/п |
Наименование процессов |
Шифр норм. докум. (ЕНиР) |
Ед. изм. |
Н.вр
|
Объем работ |
Нормативные затраты
|
Расценки, руб.-коп |
Зарплата на весь объем, руб.-коп |
Состав звена по нормам (специальность, разряд, число рабочих) |
||||||||
|
по ярусо-захваткам |
всего |
по ярусо-захваткам |
На весь объем |
||||||||||||||
|
Торцевая (последняя) |
рядовая |
||||||||||||||||
|
Торцевая (последняя) |
рядовая |
||||||||||||||||
|
Типового этажа |
Верхнего этажа |
Типового этажа |
Верхнего этажа |
Типового этажа |
Верхнего этажа |
Типового этажа |
Верхнего этажа |
||||||||||
|
1 |
2 |
3 |
4 |
5 |
6 |
7 |
8 |
9 |
10 |
11 |
12 |
13 |
14 |
15 |
16 |
17 |
18 |
|
1 |
Устройство лесов высотой до 12 м |
§ Е4-1-33., 5 |
100 м стоек |
21 |
0,216 |
0,072 |
0,108 |
0,036 |
0,432 |
4,536 |
1,512 |
2,268 |
0,756 |
9,072 |
15-33 |
5-41,3 |
Плотник 4 разр. – 1 3 разр. - 2 |
|
2 |
Загрузка ковша бетоносмесителя цементом и песком при помощи ручных приспособлений на расстоянии до 10м |
§ Е4-14-7, А, 1а,б, 2а,б. |
1м3 бетонной смеси |
0,615 |
0,432 |
0,144 |
0,216 |
0,072 |
0,864 |
0,266 |
0,089 |
0,132 |
0,042 |
0,531 |
0-39,7 |
0-34 |
Бетонщик 2 разр-1 |
|
3 |
Приготовление бетонной смеси в бетоносмесителе вместимость до 100л в течение 90с |
§ Е4-14-7, Б, 1в |
1м3 бетонной смеси |
0,54 |
0,432 |
0,144 |
0,216 |
0,072 |
0,864 |
0,233 |
0,078 |
0,117 |
0,039 |
0,467 |
0-37,8 |
0-20,4 |
Машинист бетоносмеси теля передвижного 3разр.-1 |
|
4 |
Подача бетонной смеси башенными кранами грузоподъемностью до10т в ящиках и бункерах емкостью до 0,25м3 при высоте на высоту до 12м |
§ Е1-7 |
1м3 |
0,36 1,44 |
0,432 |
0,144 |
0,216 |
0,072 |
0,864 |
0,156 0,622 |
0,052 0,207 |
0,078 0,311 |
0,026 0,104 |
0,311 1,244 |
1-44 0-36 |
0-31,1 1-24,4 |
Машинист 5разр.-1 Такелажники на монтаже 2разр. -2 |
|
5 |
Подача бетонной смеси к месту устройства постели из раствора для укладки плит |
§ Е4-1-48, В,1 |
1м3 бетонной смеси |
0,27 |
0,432 |
0,144 |
0,216 |
0,072 |
0,864 |
0,117 |
0,039 |
0,058 |
0,019 |
0,233 |
0-19,3 |
0-16,7 |
Машинист бетононасосной установки 4 разр.-1 Бетонщик 2 разр.-1 |
|
6 |
Укладка бетонной смеси в постель из раствора для укладки плит |
§ Е4-1-49, Г |
1 м3 бетона |
2,1 |
0,432 |
0,144 |
0,216 |
0,072 |
0,864 |
0,907 |
0,302 |
0,454 |
0,151 |
1,814 |
1-50 |
1-29,6 |
Бетонщик 4 разр. - 1 2 разр. - 1 |
|
7 |
Подача балконных плит массой до 1т башенными кранами грузоподъемностью до10т на высоту до 12м |
§ Е1-7 |
100т |
6,4 13 |
0,204 |
0,069 |
0,103 |
0,034 |
0,413 |
1,306 2,652 |
0,442 0,897 |
0,659 1,339 |
0,218 0,442 |
2,643 5,369 |
5-82 8-32 |
2-40,0 3-43,6 |
Машинист 5разр.-1 Такелажники на монтаже 2разр. -2 |
|
8 |
Заливка швов балконных плит механизированным способом легкой бетонной смесью или раствором пневмонагнетателем |
§ Е4-1-26 3а |
100 м шва |
4 |
0,216 |
0,072 |
0,108 |
0,036 |
0,432 |
0,864 |
0,288 |
0,432 |
0,144 |
1,728 |
2-98 |
1-28,7 |
Монтажники конструкций 4 разр. - 2 3 разр. – 1 |
|
9 |
Герметизация горизонтальных стыковых швов балконных плит пороизолом и гернитом, нарезанным на прокладки необходимой длины (прокладки наклеиваются на грани панелей с помощью мастики "Изол") |
§ Е4-1-27 10 |
10 м шва |
0,19 |
2,16 |
0,72 |
1,08 |
0,36 |
4,32 |
0,410 |
0,137 |
0,205 |
0,068 |
0,821 |
0-14,2 |
0-61,3 |
Монтажники конструкций 4 разр. - 1 3 разр. – 1 |
6 Расчет требуемого числа машин
Общее число монтажных машин в комплекте определяем по формуле:
машина,
где
– общая затрата времени на работу
монтажных машин (маш.-смен),
здесь
-
общая затрата времени на работу монтажных
машин, принятая по калькуляции без учета
затрат на вспомогательные работы,
-
коэффициент, учитывающий затраты на
вспомогательные работы.
-
заданный срок монтажных работ принимаемый
по (2)
с-коэффициент, учитывающий сдвиг во времени начала и окончания работ монтажными машинами в комплекте. Значение с принимается в зависимости от к’
,
принимаем с=1 ,

Значит требуемое число монтажных машин – одна.
7 Технико-экономические исследования вариантов механизации монтажных работ
При сравнении вариантов комплексной механизации монтажных работ рассматриваются следующие показатели:
а) продолжительность монтажных работ П;
б) трудоемкость единицы монтажных работ Т>е>;
в) себестоимость единицы монтажных работ С>е>;
г) удельный приведенные затраты на монтаж конструкций П>уд>.
Технико-экономические показатели сравниваемых вариантов сводятся в таблицу.
Предпочтение, как правило, отдается варианту с наименьшей величиной П>уд.>
7.1 Продолжительность работ
, где
–
продолжительность
установки конструкции, смен
N>i> – число элементов i-й разновидности;
t>см> – продолжительность смены;
к>пр >=0,85– коэффициент, учитывающий неизбежные внутрисменные перерывы в работе крана по конструктивно-техническим причинам;
к>перех>=0,75 – переходный коэффициент от производственной нормы выработки к сменной, учитывающей внутренние перерывы по метеорологическим и организационным причинам;
t>ц>>i> =t>м>>i>> >+ t>pi> - продолжительность монтажного цикла при установке сборного элемента i-й разновидности состоит из машинного времени цикла t>м>>i> (мин) и времени, затрачиваемого на выполнение ручных операций t>pi> (мин).
Машинное время t>м> складывается из продолжительности вертикального и горизонтального перемещений крюка, передвижения крана с одной стоянки на другую, а также включения и выключения механизмов крана с учётом возможного совмещения отдельных движений крана
, где
Н>пк>, Н>ок> – соответственно высота подъёма и опускания крюка, м. При выполнении расчётов для монтажа многоэтажных зданий рекомендуется высоту подъёма и опускания крюка принимать по одноимённым элементам средних этажей;
V>1>, V>2> – соответственно скорости подъёма и опускания крюка [1, 2], таблицы 1...3, м/мин;
h>пос> =0,5м – дополнительная высота подъёма (опускания) крюка, необходимая для посадки сборного элемента на место;
V>пос> – посадочная скорость крана [1, 2], таблицы 1...3, м/мин;
n>1> – число подъёмов (опусканий) крюка на дополнительную высоту в течение цикла, зависящее от рабочих скоростей крана и уровня опытности рабочих монтажников конструкций и машиниста крана (можно принять n>1> = 1...6 соответственно при V>пос> =0,5...5 м/мин);
t>уз> – время на ускорение и замедление при пуске и остановке движения груза, а также время на включение и выключение двигателя, фрикциона и тормозов; t>уз> для средних условий может быть принято от 0,05 до 0,15 мин;
– средний суммарный угол поворота стрелы с грузом и без груза за один цикл, определяемый по схеме монтажа, град;
n>об> – частота вращения стрелы [1, 2], таблицы 1...3, об/мин;
S>1> – среднее расстояние перемещения груза за счёт изменения вылета крюка или перемещения грузовой каретки (определяется по схеме монтажа), м;
V>3> – скорость перемещения груза при изменении вылета крюка (можно принимать для автомобильных кранов 30 – 40; пневмоколёсных – 20 – 30; гусеничных – 10 – 20; башенных – 10 при Н>пк> = 25...50 м и 25 при Н>пк> < 25) или скорость перемещения грузовой каретки [1, 2], таблицы 1...3, м/мин;
S>2> – расстояние перемещения крана (с грузом и без груза) в среднем за цикл, м;
V>4> – скорость передвижения крана [1, 2], таблицы 1...З, м/мин;
К>пов>, К>ор>, К>кр> – коэффициенты, характеризующие ту долю времени, в течение которой рассматриваемое движение не совмещается с временем выполнения основного движения – подъёма и опускания крюка. Для башенных кранов при возведении зданий средней этажности (5-8 этажей) можно принимать К>кр >=0,6; К>пов> =К>ор> =0,75 (с увеличением высоты здания коэффициенты уменьшаются). Для стреловых кранов общего назначения грузоподъёмностью до 30 т допускается с основной операцией по подъёму и опусканию груза совмещать только поворот стрелы (К>пов> = 0,75; К>кр> = 1 и К>кран> = 1). Современные модели кранов грузоподъёмностью более 20 т, предназначенные в основном для выполнения специальных монтажных работ, допускают в большей степени совмещение рабочих операций, в том числе передвижение крана с грузом при минимальной длине стрелы. Для последних можно принять К>пов> = К>кран> = 0,75, а К>кр> = 1; t>доп >– машинное время на дополнительные операции, связанные с характером конструктивного элемента и условиями его монтажа, например, кантовка колонны перед её подъёмом, мин.
Продолжительность ручных операций, выполняемых монтажниками, состоит из продолжительности строповки элемента, установки его на опоры, выверки, временного закрепления и расстроповки. Время это устанавливают методами технического нормирования и приводят его в картах трудовых процессов. Для некоторых элементов t>pi> приведено в таблице 4 [3].
Приведем расчет t>м>>i> в табличной форме
Таблица 7 – Расчет t>м>>i>
|
Наименование и марка элемента |
Н>пк> |
Н>ок> |
V>1>= V>2,> м/мин |
|
|
V>пос,> м/мин |
n>1> мин -1 |
t>уз> |
|
|
n>об> |
К>пов> |
|
S>1> |
V>3> |
К>ор> |
|
S>2> |
V>4> |
К>кр> |
|
|
|
КБ-308А |
||||||||||||||||||||||
|
Наружная стеновая панель НС-1 |
8,42 |
7,92 |
20 |
0,421 |
0,40 |
2,5 |
3 |
0,1 |
0,6 |
63 |
0,77 |
0,75 |
0,17 |
18,23 |
27,2 |
0,75 |
0,50 |
3,85 |
18,5 |
0,6 |
0,12 |
|
|
Наружная стеновая панель НС-3 |
8,42 |
7,92 |
20 |
0,421 |
0,40 |
2,5 |
3 |
0,1 |
0,6 |
63 |
0,77 |
0,75 |
0,17 |
17,60 |
27,2 |
0,75 |
0,49 |
3,85 |
18,5 |
0,6 |
0,12 |
|
|
Плита перекрытия П-1 |
10,73 |
10,23 |
20 |
0,54 |
0,51 |
2,5 |
3 |
0,1 |
0,6 |
63 |
0,77 |
0,75 |
0,17 |
15,61 |
27,2 |
0,75 |
0,43 |
3,85 |
18,5 |
0,6 |
0,12 |
|
|
Балконная плита БС-1 |
10,73 |
10,23 |
20 |
0,54 |
0,51 |
2,5 |
3 |
0,1 |
0,6 |
63 |
0,77 |
0,75 |
0,17 |
17,38 |
27,2 |
0,75 |
0,48 |
3,85 |
18,5 |
0,6 |
0,12 |
|
|
КБ-403Б |
||||||||||||||||||||||
|
Наружная стеновая панель НС-1 |
8,42 |
7,92 |
40 |
0,21 |
0,18 |
5 |
6 |
0,1 |
0,6 |
77 |
0,6 |
0,75 |
0,27 |
16,85 |
18 |
0,75 |
0,70 |
5,74 |
18 |
0,6 |
0,19 |
|
|
Наружная стеновая панель НС-3 |
8,42 |
7,92 |
40 |
0,21 |
0,18 |
5 |
6 |
0,1 |
0,6 |
77 |
0,6 |
0,75 |
0,27 |
16,00 |
18 |
0,75 |
0,67 |
5,74 |
18 |
0,6 |
0,19 |
|
|
Плита перекрытия П-1 |
10,73 |
10,23 |
40 |
0,27 |
0,26 |
5 |
6 |
0,1 |
0,6 |
77 |
0,6 |
0,75 |
0,27 |
14,98 |
18 |
0,75 |
0,62 |
5,74 |
18 |
0,6 |
0,19 |
|
|
Балконная плита БС-1 |
10,73 |
10,23 |
40 |
0,27 |
0,26 |
5 |
6 |
0,1 |
0,6 |
77 |
0,6 |
0,75 |
0,27 |
15,67 |
18 |
0,75 |
0,65 |
5,74 |
18 |
0,6 |
0,19 |
Таблица 8 - Средневременная продолжительность цикла по подъему и установке элемента t>ц>>i>
|
Наименование и марка элемента |
t>м>>i>, мин |
t>pi>, мин |
t>ц>>i>, мин |
|||
|
КБ-308А |
КБ-403Б |
КБ-308А |
КБ-403Б |
КБ-308А |
КБ-403Б |
|
|
Наружная стеновая панель НС-1 |
2,31 |
2,52 |
44 |
44 |
46,31 |
46,52 |
|
Наружная стеновая панель НС-3 |
2,31 |
2,22 |
77,5 |
77,5 |
79,81 |
79,72 |
|
Плита перекрытия П-1 |
2,47 |
2,31 |
11,5 |
11,5 |
13,97 |
13,81 |
|
Балконная плита БС-1 |
2,52 |
2,34 |
3,5 |
3,5 |
6,02 |
5,84 |
КБ-308А

КБ-403Б

П>мд> – продолжительность монтажа-демонтажа крана (по таблице 2.3),
П>м> =0,6 П>мд >- продолжительность монтажа крана,
П>д> =0,4 П>мд> - продолжительность демонтажа крана,
Для крана КБ-308А П>мд>=3,3смены

Для крана КБ-403Б П>мд>=5,6смены

-
продолжительность пуска-подъема крана,
Для крана КБ-308А

Для крана КБ-403Б

П>т> – неизбежные технологические перерывы в работе крана, связанные с производством других видов работ, смен.
Продолжительность монтажных работ в сменах:
Для крана КБ-308А
П=34+1,98+1,32+0,198+0=38смен
Для крана КБ-403Б
П=34+3,36+2,24+0,336+0 = 40 смен
7.2 Трудоемкость единицы работ
,
где
V=2847,01т – объем монтажных работ,
>
>- общая трудоемкость
работ,
–
затраты труда на монтаж
конструкций,
Т>о >- продолжительность монтажных работ на данном объекте
Для крана КБ-308А
Т>о> =38чел.-смен
Для крана КБ-403Б
Т>о>=40чел.-смен
Т>мд >– продолжительность монтажа-демонтажа крана
Для крана КБ-308А
17чел.-смен
Для крана КБ-403Б
39чел.-смен
Т>пп> – трудоемкость пуска-подъема крана
Для крана КБ-308А
Для крана КБ-403Б
–
трудоемкость устройства
и разборки подкранового пути
N>зв>=11 звеньев – число звеньев,
Длина подкранового пути:
Для крана КБ-308А

- длина здания,
- база крана,
- длина тормозного пути крана.

12,5м –длина одного звена кранового пути.
Для крана КБ-403Б


Трудоемкость устройства и разборки подкранового пути
Для крана КБ-308А
Для крана КБ-403Б

- затраты труда на
перебазирование крана (складываются
из затрат труда на погрузку-разгрузку
крана и из затрат труда на перевозку)
Для крана КБ-403Б
Для крана КБ-308А
- затраты труда на текущий
ремонт
Для крана КБ-403Б
Для крана КБ-308А

- затраты труда на
использование сигнального щита, если
работы выполняются вне видимости
машинистом монтажного горизонта.
Для крана КБ-403Б
Для крана КБ-308А

Трудоемкость единицы работ для крана КБ-403Б
Для крана КБ-308А

7.3 Себестоимость единицы работ
,
где
V=2847,01т – объем монтажных работ,
>
>- общая себестоимость
работ по выгодному варианту,
>
>- общая себестоимость
работ по невыгодному варианту,
>
>- полная плановая
себестоимость монтажных работ.
1,08 – коэффициент накладных расходов,
1,5 – коэффициент накладных расходов на заработную плату,
З>м> =4043-25,6руб.– заработная плата рабочих, выполняющих работу, руб,
–
стоимость единовременных
затрат
- стоимость единовременных
затрат на перебазирование крана
(складываются из стоимость единовременных
затрат на погрузку-разгрузку крана и
из на перевозку)
Для крана КБ-403Б
Для крана КБ-308А

С>мд >– стоимость единовременных затрат на монтаж-демонтаж крана
Для крана КБ-308А
Для крана КБ-403Б
С>пп> – стоимость единовременных затрат пуска-подъема крана
Для крана КБ-308А
Для крана КБ-403Б

Трудоемкость устройства и разборки подкранового пути
Для крана КБ-308А
Для крана КБ-403Б

-
плановая себестоимость маш.-смен.
-годовая
сумма амортизационных отчислений на 1
час работы крана, руб;
- Эксплуатационные затраты
на 1 час работы, руб.
Для крана КБ-308А
Для крана КБ-403Б

Полная плановая себестоимость монтажных работ:
Для крана КБ-308А

Для крана КБ-403Б

Берем полную себестоимость монтажных работ крана КБ-403Б за эталонную.
Экономия накладных расходов за счет уменьшение трудоемкости монтажных работ, руб.


Себестоимость единицы работ
Для крана КБ-308А

Для крана КБ-403Б

7.4 Удельные приведенные затраты
,
где
Е>н>=0,15..0,12 – нормативный коэффициент эффективности,
- удельные капиталовложения
на приобретение монтажных мащин и
приспособлений,
С>ин> – инвентарная расчетная стоимость, руб,
Для крана КБ-403Б
С>ин>=34300руб.
Для крана КБ-308А
С>ин>=54500руб.
t>ч >=8ч– продолжительность смены в часах,
Т>год>=3030ч – число часов работы крана в году (для крана КБ-403Б и КБ-308А)
Удельные приведенные затраты
Для крана КБ-403Б

Для крана КБ-308А

Таблица 9– Основные технико-экономические показатели
|
Основные технико-экономические показатели |
Значение показателей по вариантам |
|
|
КБ-308А |
КБ-403Б |
|
|
Продолжительность монтажных работ, сменах |
38 |
40 |
|
Трудоемкость единицы работ, чел.-смен |
0,11 |
0,19 |
|
Себестоимость единицы работ, руб. |
8,32 |
10,83 |
|
Удельные приведенные затраты, руб. |
1,21 |
2,02 |
По всем показателям на подходи 1-й вариант крана КБ-308А
8 Расчет состава комплексной бригады
Необходимо рассчитать состав комплексной бригады для специализированного потока на типовую захватку или ярусозахватку по монтажу комплексным методом. Необходимость расчета вызывается: различием составов звеньев, рекомендуемых ЕНиР для установки различных элементов, заливки швов и других процессов, как по числу, так и квалификации и профессиям рабочих; целесообразность проектирования ритмичного потока. При этом профессиональный и квалифицированный состав должен обеспечивать выполнение всех процессов. Квалификацию машинистов кранов устанавливают по типам и параметрам кранов.
Целесообразно предусмотреть 2 частных потока (ЧП):
- установка элементов и электросварка стыков;
- антикоррозионное покрытие, заделка стыков, заливка, изоляция, герметизация, конопатка, зачеканка швов и др.
8.1 Первый ЧП
Определяем нормативную
продолжительность
работ звена №1, выполняющего установку
элементов в сменах:
,
где
- суммарная нормативная трудоемкость
установки элементов;
- число рабочих в звене
устанавливающем элементы.
Преобразуем нормативную
продолжительность в ритм потока
.
Определим уровень продолжительности труда:
,
где
- проектируемая продолжительность
процесса, чел.-ч.
Затем устанавливаем расчетное число электросварщиков:
.
8.2 Второй ЧП
Определяем расчетное число рабочих в звене №2:

8.3 Результаты расчета комплексной бригады
Результаты расчета сводим в таблицу 10.
Таблица 10 – Результаты расчета комплексной бригады
|
№ ЧП |
Наименование процессов |
Специальность рабочих |
Разряд |
Число рабочих |
|
|
в смену |
в сутки |
||||
|
1 |
Установка (укладка) плит перекрытий, панелей наружных и внутренних стен, лестничных маршей и площадок, балконных плит, электросварка стыков |
монтажники конструкций (МК) … … электросварщик машинист крана |
5 4 3 2 6 6 |
1 1 1 1 1 1 |
2 2 2 2 2 2 |
|
2 |
Антикоррозионное покрытие, заделка стыков, заливка, изоляция, герметизация, конопатка, зачеканка швов плит покрытия, балконных плит, панелей стен. |
плотник МК – плотник МК |
4 3 4 |
1 1 2 |
2 2 4 |
9. Описание принятой технологии монтажа
Монтаж железобетонных конструкций – это комплексный метод, который состоит из простых процессов и операций: строповки, подъема и установки конструкций в проектное положение; их выверки, временного и окончательного закрепления.
Монтаж стеновых панелей и перегородок.
Стеновые панели стропуют траверсами, тросовыми стропами за две или четыре петли. Панели выверяют и окончательно выверяют и окончательно закрепляют сразу же после установке, затем снимают стропы. Монтируют стеновые ограждения с приставных или навесных подмостей.
Монтаж плит перекрытий, балконных плит, лестничных площадок и мершей.
Для монтажа данных конструкции используют четырехветвевой строп. После установки на место плиты прихватывают электросваркой панелям стен.
Разработка мероприятий по технике безопасности
В проекте предусмотрено безопасное расстояние между краном и монтируемым зданием. Масса поднимаемого груза с учетом такелажных приспособлений и тары не превышает максимальной грузоподъемности крана при данном вылете стрелы. При горизонтальном перемещении груз должен быть поднят не менее чем на 0,5 м выше встречающихся на пути препятствий. Для облегчения устойчивости колонн используем кондукторы.
Перед началом работ тщательно осматриваем стропы и при обнаружении дефектов бракуем. Расстроповку элементов конструкций, установленных в проектное положение, производим после постоянного или временного надежного закрепления.
11. Исследования по усовершенствованию технологии
Оценив проделанную работу, я предлагаю внести следующие изменения:
- для уменьшения числа монтируемых конструкций применять балконные плиты с характеристиками 5400х140х900, вместо указанных ранее, т.к. балконы монтируются вплотную. Возможности принятого крана это позволяют;
- для устройства ограждений верхнего этажа использовать панели стен, используемых для возведения нижних этажей, по причине, указанной в предыдущем пункте.
Список литературы
Методические указания «Монтаж строительных конструкций». -2-е изд., переработанное и дополненное . Краснодар: изд. КПИ, 2008.-52с.
ЕНиР. Сборник Е-4. Монтаж сборных и устройство монолитных железобетонных конструкций. Вып. I. Здания и промышленные сооружения. / Госстрой СССР. - М.: Стройиздат, 1987.-64 с./.
ЕНиР. Сборники: Общая часть:Е-1;Е5-1;Е-22;Е-25.-М: Прейскурант, 1987г.
СНиП 1.04.03.-85. Нормы продолжительности и задела в строительстве предприятий, зданий и сооружений. Госстрой СССр, Госплан СССР.-М.: Стройиздат, 1987.-522 с.
Краткий справочник строителя. /А.И. Никифоров, В.В. Рудаков, А.Д. Квасницкий. - К.: Будивельник, 1987.-288с.
Справочник мастера-строителя. /Д.В. Коротеев, Л.А.Фейгин, И.Н.Терновский и др.; Под редакцией Д.В. Коротеева. – М.: Стролйиздат. 1986.-440с.
Монтаж строительных конструкций : Методические указания к выбору средств механизации монтажных работ . /Сост. Р.Р.Степанов, И.М.Степанов, В.С.Дрешпак; КубГТУ Кафедра технологии, организации и экономики строительства.-Краснодар: изд.КубГТУ,2001г.-43с.
Монтаж строительных конструкций : Методические указания к практическим занятиям по теме: «Производительность монтажных машин» . /Сост. Р.Р.Степанов, И.М.Степанов, В.С.Дрешпак; КубГТУ Кафедра технологии, организации и экономики строительства.-Краснодар: изд.КубГТУ,2000г.-20с.













