Двигатели внутреннего сгорания (работа 5)
Практическая работа № 2
1.Тема: Ознакомление с устройством кривошипно-шатунного механизма
2. Цель работы: Ознакомление с устройством деталей кривошипно-шатунного механизма двигателя.
3. Содержание работы.
1. Изучение конструкции деталей кривошипно-шатунного механизма двигателя.
2. Ознакомление с размером монтажных зазоров между юбкой поршня и цилиндром, поршневым пальцем и верхней головкой шатуна, поршневым пальцем и бобышкой поршня.
Оборудование, приспособления и инструмент.
Рабочее место должно быть оснащено стендом с разрезным двигателем, комплектом деталей кривошипно-шатунного механизма и плакатами.
Последовательность выполнения работы.
1. Ознакомиться с общим устройством кривошипно-шатунного механизма, с расположением его деталей в блок-цилиндре и их креплением.
2. Рассмотреть конструкцию элементов поршня: днища, уплотняющей части и направляющей части.
3. Рассмотреть конструкцию поршневого пальца и установить тип сопряжения его с поршнем.
4. Рассмотреть конструкцию поршневых колец.
5. Рассмотреть конструкцию элементов шатуна: верхней головки, стержня, нижней головки, вкладышей, шатунных болтов.
6. Рассмотреть конструкцию элементов коленчатого вала: носка (передний конец), коренных и шатунных шеек, щек с противовесами и хвостовика.
7. Рассмотреть конструкцию маховика. Установить способ его крепления к заднему концу коленчатого вала.
8. Рассмотреть конструкцию блок-цилиндра. Установить места крепления генератора, стартера, насосов, фильтров и других агрегатов.
9. Рассмотреть конструкцию головки цилиндров.
10. Рассмотреть конструкцию гильз цилиндров.
4.1. Коленчатый вал и маховик
Коленчатый вал предназначен для восприятия усилий от шатунов и передачи крутящего момента через механизмы трансмиссии к ведущим колесам.
В процессе работы коленчатый вал воспринимает периодические нагрузки от сил давления и от сил инерции поступательно движущихся и вращающихся масс. Поэтому коленчатый вал должен обладать высокой прочностью, жесткостью износостойкостью трущихся поверхностей (шеек) при относительно малой массе.
Коленчатый вал состоит из следующих основных элементов: носка (передний конец), коренных шеек, шатунных шеек, щек с противовесами и хвостовика (задний конец).
На носке коленчатого вала устанавливают маслоотражательное устройство, шестерню газораспределения, шкив привода вентилятора, храповик для запуска двигателя с помощью рукоятки и иногда гаситель крутильных колебаний.
Коренные шейки являются опорами вала, они опираются на коренные подшипники, установленные в блок-картере. Коренные шейки выполняют обычно все одинакового диаметра. Последняя коренная шейка или средняя имеет буртики для фиксации коленчатого вала от осевых перемещений. В дизелях, работающих с высокими давлениями сгорания, коленчатые валы обычно имеют число коренных шеек на одну больше числа шатунных шеек, т. е. илы изготовляют полноопорными.
Шатунные шейки служат для соединения вала с нижними головками шатунов. Они, как правило, имеют меньший диаметр, чем коренные шейки, и выполняются полыми.
Щеки коленчатого вала соединяют вместе коренные и шатунные шейки. Их изготовляют прямоугольной, эллиптической и круглой форм. Щеки валов автотракторных двигателей чаще всего выполняют эллиптической формы, обеспечивающей высокую жесткость при изгибе и кручении. Переходы (галтели) от щек к шейкам выполняют с большим радиусом закруглений для уменьшения концентрации напряжений.
Противовесы предназначены для разгрузки коренных подшипников от центробежных сил инерции. Их изготовляют заодно со щеками, они имеют обычно форму неполного сектора или сегмента.
Хвостовик коленчатого вала имеет фланец, к которому крепят маховик. Уплотнение заднего конца коленчатого вала достанется применением маслоотражательных колец вместе с фетровыми или резиновыми сальниками и лабиринтовой винтовой нарезкой.
Для подвода масла к коренным и шатунным подшипникам в коленчатом валу делают сверления.
Коренные подшипники, прилегающие к коренным шейкам, выполняют преимущественно скользящими. В качестве подшипников используют тонкостенные вкладыши, которые по устройству подобны шатунным и внутри покрыты тем же антифрикционным металлом, что и шатунные. В верхней половине вкладыша имеется отверстие для подвода масла. Верхние вкладыши устанавливают в гнезда поперечных перегородок блок-картера, а нижние — в съемные крышки.
Коленчатые валы изготовляют ковкой или литьем. Материал для валов, изготовленных ковкой, — высококачественные среднеуглеродистые или легированные стали, для литых валов — легированные чугуны.
4.2. Маховик служит для обеспечения равномерного вращения коленчатого вала, для вывода поршней из мертвых точек и для облегчения пуска двигателя. Маховик представляет собой чугунный диск с ободом, который крепят к фланцу коленчатого вала с помощью болтов. На обод маховика напрессовывают стальной зубчатый венец для пуска двигателя от электростартера или пускового двигателя.
Коленчатый вал в сборе с маховиком подвергают балансировке.
4.3. Блок-картер, поддон картера и гильзы цилиндров
Блок-картер в однорядных и У-образных автотракторных двигателях с жидкостным охлаждением представляет собой отливку коробчатой формы, верхняя часть которой образует блок цилиндров, а нижняя — верхнюю часть картера коленчатого вала. Блок-картер при работе двигателя воспринимает большие нагрузки от сил давления газов и сил инерции движущихся масс, поэтому он должен обладать повышенной жесткостью и малой массой. Жесткость блок-картера повышают путем постановки перегородок и оребрения внутренней поверхности и понижения плоскости крепления поддона картера относительно оси коленчатого вала.
Блок-картер представляет собой отлитую из серого чугуна жесткую монолитную коробку, к которой крепят и в которой размещены различные механизмы, агрегаты и отдельные детали. Верхняя часть отливки является блоком цилиндров, а нижняя - картером. К верхней обработанной плоскости блок-картера на шпильках крепят головку цилиндров, к обработанной части передней торцовой плоскости блок-картера - крышку распределительных шестерен, а к задней — картер маховика. В стенках блок-картера расположены каналы для подвода масла к трущимся поверхностям деталей и отверстия для установки подшипников распределительного вала. На наружных поверхностях стенок блок-картера имеются обработанные площадки для крепления различных механизмов и агрегатов.
В верхней части блок-картера предусмотрены вертикальные расточки цилиндров, в которые вставляют гильзы цилиндров. Пространство между внутренними стенками блок-картера и наружной поверхностью цилиндра (гильзы) называют водяной рубашкой, оно заполнено охлаждающей жидкостью. Водяная рубашка блок-картера соединена с водяной рубашкой головки цилиндра посредством водопропускных отверстий. Нижняя часть блок-картера имеет поперечные перегородки, количество которых равно числу коренных опор коленчатого вала. В каждой перегородке расположены гнезда коренных подшипников коленчатого вала. К нижней обработанной плоскости крепят поддон картера. Материалом для изготовления блок-картеров служат серый и легированный чугуны и алюминиевые сплавы. Блок-картеры двигателей могут быть гильзованными и негильзованными. У автотракторных двигателей блок-картеры выполняют со вставными гильзами.
4.4. В поддон картера предназначен для предохранения механизмов и агрегатов двигателя снизу от попадания в них пыли и грязи и служит резервуаром для масла. Поддон в автомобильных двигателях, как правило, штампуется из листовой стали, а в тракторных двигателях поддоны изготовляют как литые, так и штампованные. Поддон имеет маслосливной штуцер и трубку для масломерной линейки. Его крепят к блок-картеру болтами или шпильками. Уплотнение между блок-картером и поддоном достигается установкой прокладки из пробки или паронита.
Гильзы цилиндров представляют собой тонкостенные пустотелые цилиндры с тщательно отполированной рабочей поверхностью. Рабочую поверхность гильзы цилиндра, по которой перемещается поршень с кольцами, называют зеркалом цилиндра. В зависимости от способа установки в блок-картере гильзы цилиндров делят на мокрые и сухие. Гильзы, непосредственно омываемые снаружи охлаждающей жидкостью, называют мокрыми, а гильзы, не омываемые охлаждающей жидкостью и установленные в предварительно расточенные цилиндры блок-картера, — сухими.
Наибольшее распространение имеют мокрые гильзы, так как они обеспечивают лучшую теплоотдачу охлаждающей жидкости. Мокрая гильза в верхней части имеет обработанный буртик, которым она входит в кольцевую выточку блока. На наружной цилиндрической поверхности гильзы расположены верхний и нижний посадочные пояса, которыми она плотно входит в центрирующие отверстия блок-картера. Между гильзой и пенками блок-картера образуется водяная рубашка, по которой циркулирует охлаждающая жидкость. Уплотнение нижней части гильзы от просачивания охлаждающей жидкости достигается резиновыми кольцами, верхней части — буртиком и прокладкой. Для уменьшения износа гильзы в ее верхнюю часть запрессовывают короткую вставку из
специального антикоррозионного чугуна (двигатели ЗИЛ-130, ГАЗ-53 и др.).
Материалом для изготовления гильз служит кислотоупорный высоколегированный чугун.
4.5 Головка цилиндров
Головка цилиндров вместе с поршнями и стенками цилиндров образует замкнутое пространство, в котором совершается рабочий цикл двигателя. Головка цилиндров при работе двигателя воспринимает механические нагрузки от сил давления газов и тепловые нагрузки от нагрева стенок горячими газами, поэтому она должна обладать высокой прочностью и жесткостью при относительно малой массе.
Конструкция головки цилиндров зависит от формы камеры сгорания, числа и расположения клапанов, свечей зажигания, форсунок, впускных и выпускных каналов и системы охлаждения. Головка цилиндров двигателей с жидкостным охлаждением имеет сложную форму и состоит из следующих элементов: камеры сгорания, гнезд для впускных и выпускных клапанов, впускных и выпускных каналов, стенок и полостей для охлаждающей жидкости и наклонных отверстий для форсунок.
Форма камеры сгорания в головке цилиндров оказывает существенное влияние на рабочий цикл двигателя. В карбюраторных двигателях при верхнем расположении клапанов широкие распространение получили полусферическая камера с двусторонним размещением клапанов и клиновая с односторонним расположением клапанов.
В дизелях с неразделенными камерами с непосредственным впрыском топлива камеры сгорания имеют простые формы и размещаются в поршне. Головки цилиндров дизелей с вихрекамерным смесеобразованием более сложные, у них камера сгорания состоит из двух частей! верхнюю часть камеры отливают заодно с головкой, а нижнюю часть изготовляют из жароупорной стали и вставляют со стороны опорной плоскости головки. Головки цилиндров отливают из легированного чугуна или алюминиевого сплава.
Преимущество головки цилиндров, отлитых из алюминиевых сплавов, по сравнению с чугунными — меньшая масса и более высокая теплопроводность, что позволяет несколько повысить степень сжатия. Чтобы предотвратить прорыв газов между головкой цилиндров и блок-картером, устанавливают стаде" или медно-асбестовые прокладки толщиной 1,4—2,0 мм.
4.6. Поршни, поршневые кольца и пальцы
Поршень предназначен, для восприятия сил давления газов и передачи их через поршневой палец и шатун коленчатому валу и для отвода теплоты в стенки цилиндра. В процессе работы двигателя поршень воспринимает механические нагрузки от сил тления газов и сил инерции движущихся масс, а также тепловые нагрузки от нагрева днища горячими газами. Поэтому поршень должен обладать необходимой прочностью и жесткостью при минимальной массе, повышенной износоустойчивостью трущихся поверхностей, высокой теплопроводностью, хорошим отводом теплоты от днища поршня в стенки цилиндра.
Поршень имеет форму стакана и состоит из днища, уплотняющей и направляющей частей или юбки. Днище вместе с уплотняющей частью составляет головку поршня. Днище поршня образует с внутренней поверхностью головки цилиндров камеру сгорания и воспринимает давление газов. Днище поршня наполняется плоским, выпуклым, вогнутым или фасонным в зависимости от формы камеры сгорания, степени сжатия, способа смесеобразования, расположения клапанов, расположения форсунок и от других факторов. У большинства четырехтактных карбюраторных двигателей применяют днище поршня плоское. Оно имеет минимальную поверхность нагрева и просто в изготовлении. У дизелей большое распространение получили днища с полостями. Для увеличения прочности и лучшего отвода теплоты днище поршня с внутренней стороны снабжают ребрами.
На уплотняющей части поршня расположены кольцевые канавки и для поршневых колец. В канавки устанавливают компрессионные и маслосъемные кольца. В канавках маслосъемных колец расположены сквозные отверстия для отвода излишков масла в поддон картер. Юбка поршня служит для направления его движения в цилиндре и для передачи пальца зависит от типа сопряжений пальца с поршнем и шатуном. По этому признаку различают: палец, вращающийся в бобышках поршня и закрепленный в головке шатуна;
палец, свободно вращающийся как в головке шатуна, так и в бобышках поршня. Палец, свободно вращающийся в головке шатуна и в бобышках, называют плавающим. Широкое распространение в двигателях получили плавающие поршневые пальцы. Преимущество плавающего пальца — незначительный и равномерный износ Как по длине, так и по окружности благодаря меньшей относительной скорости скольжения, а недостаток его -свободное перемещение в осевом направлении. От осевых перемещений плавающие пальцы удерживаются пружинящими кольцами круглого сечения, вставленными в бобышки поршня, или заглушками, изготовленными из алюминиевого или магниевого Сплава. Материалом для изготовления пальцев служат малоуглеродистые цементируемые и легированные цементируемые стали.
4.7. Шатуны
Шатун служит для соединения поршня с коленом вала и для передачи усилия от поршня т коленчатому валу. Шатун при работе двигателя совершает сложное качательное движение и подвергается воздействию переменной по величине и направлению нагрузке от давления газов и сил инерции. Поэтому шатун должен обладать высокой прочностью и жесткостью при относительно малой массе, высокой износостойкостью и плавностью переходов от стержня шатуна к его головкам.
Шатун состоит из верхней головки, стержня и нижней головки. Конструкция верхней (поршневой) головки зависит от способа крепления поршневого пальца и условий его смазки. При плавающем пальце верхнюю головку выполняют не разъемной и в нее запрессовывают бронзовую втулку, которая служит подшипником поршневого пальца. Смазка к бронзовой втулке подводится под давлением от шатунной шейки коленвалала по каналу в стержне шатуна или разбрызгиванием через отверстия в верхней головке.
Стержень шатуна имеет двутавровое сечение, что обеспечивает ему необходимую прочность и жесткость при относительно малой массе. Нижнюю (кривошипную) головку обычно выполняют разъемной. Разъем головки осуществляется в плоскости оси шатунной шейки. Съемную часть нижней головки называют крышкой. Крышку крепят к телу шатуна, двумя шатунными болтами, гайки которых от отворачивания фиксируются шплинтами. Чтобы придать большую жесткость, крышки головок выполняют с ребрами и
приливами. От смещений в поперечном направлении крышка фиксируется выступами в ней или теле шатуна, треугольными шлицами в плоскости стыка или призонными болтами.
При больших размерах нижней головки, когда шатун не проходит через цилиндр (верх), плоскость разъема головки располагается под углами 30, 45 и 60° к продольной оси стержня шатуна. Для двухрядных У-образных автотракторных двигателей применяют, как правило, шатуны с последовательным расположением их на одной шейке вала. Их конструкция ничем не отличается от ранее описанной.
В нижней головке шатунов устанавливают подшипники скольжения, представляющие собой взаимозаменяемые тонкостенные биметаллические вкладыши, изготовленные из стальной ленты толщиной 1—3 мм, покрытой антифрикционным сплавом. Тонкостенные вкладыши от проворачивания и осевых перемещений удерживаются усиками, входящими в канавки шатуна и его нижней крышки. Вкладыши устанавливают в нижнюю головку с натягом, величина которого зависит от диаметра шатунной шейки и составляет 0,03—0,04 мм.
Шатуны изготовляют штамповкой из углеродистой или легированной стали. В качестве антифрикционного материала вкладышей подшипников карбюраторных двигателей применяют свинцовые и оловянистые баббиты, алюминиевые сплавы АСМ-НАТИ, а для дизелей — свинцовистую бронзу БрС-30 или сплав из алюминия, сурьмы и магния(АСМ). бокового усилия от шатуна на стенку цилиндра. Юбка поршня имеет бобышки с отверстиями для установки поршневого пальца. Изготовляют юбку поршня большего диаметра, чем днище, так как она во время работы двигателя меньше нагревается, а, следовательно, и меньше расширяется. Чтобы уменьшить передачу теплоты от головки поршня к юбке, в поршнях карбюраторных двигателей иногда делают прорезь по части окружности между головкой и юбкой. Для нормальной работы поршня без стуков и заеданий % свободного перемещения его в холодном и нагретом цилиндре, необходимо иметь

Материалом для изготовления поршней служат алюминиевые сплавы и иногда чугун. Преимущество поршней, изготовленных из алюминиевых сплавов, по сравнению с чугунными — меньшая масса и более высокая теплопроводность (в 3—4 раза выше).
Поршни из алюминиевых сплавов изготовляют в основном отливкой. Чтобы сократить период приработки поршня с цилиндром, боковую поверхность поршня покрывают тонким слоем (0,002—0,006 мм) олова.
Поршневые кольца по назначению разделяют на компрессионные (уплотнительные) и маслосъемные (масло отбрасывающие).
Компрессионные кольца предназначены для уплотнения зазора между поршнем и цилиндром от прорыва газов из камеры сгорания в поддон картера и для отвода теплоты от головки поршня к стенкам цилиндра. Уплотняющее действие компрессионных колец основано на создании ими в зазоре между поршнем и цилиндром лабиринта. Поршни карбюраторных двигателей имеют два-три компрессионных кольца, а поршни дизелей вследствие более высоких давлений в камере сгорания - три-четыре кольца.
Конструкция компрессионных колец определяется формой поперечного сечения и формой их замка. Форма сечения колец может быть прямоугольной и трапецеидальной. В автотракторных двигателях применяют также иные кольца с выемкой по внутреннему диаметру, которые лучше прирабатываются к зеркалу цилиндра и меньше пригорают, чем прямоугольные. Замок кольца выполняют прямым или Косым. Наиболее широко применяются кольца с прямыми замками, которые просты в изготовлении и надежны в работе. Чтобы предотвратить прорыв газов через замки, последние располагают под углом 90—120° относительно друг друга.
Маслосъемные кольца служат для удаления со стенок цилиндра излишков масла и направления их в картер с целью предотвращения попадания в камеру сгорания. Маслосъемные кольца выполняют различной формы. Наиболее широко применяются конические, скребковые и составные маслосъемные кольца. Составное маслосъемное кольцо имеет два кольцевых диска и два расширителя — осевой и радиальный. При перемещении поршня вниз Излишки масла со стенок цилиндра снимаются кромками маслосъемных колец и через щели в кольце и отверстия в поршне отводятся в поддон картера.
Поршни двигателей обычно имеют одно-два маслосъемных кольца, которые устанавливают или непосредственно под компрессионными кольцами, или одно кольцо помещают в нижней части юбки поршня. Материалом для изготовления колец служат серый чугун, сталь и легированные чугуны. Чтобы повысить износостойкость и ускорить приработку, рабочую поверхность верхнего компрессионного кольца покрывают пористым хромом (толщина 0,1—0,14 мм), а трущиеся поверхности остальных колец — слоем олова (толщиной 0,005—0,01 мм).

Поршневой палец представляет собой отрезок тонкостенной трубы с прямыми цилиндрическими или коническими внутренними поверхностями. Конструкция поршневого.
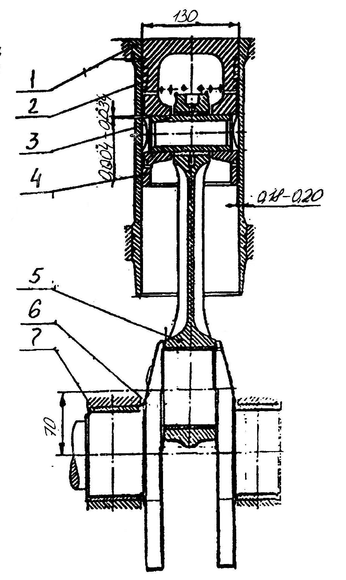
1
-гильза
2-головка поршня
3-поршневой палец
4-поршневая юбка
5-шатун
6-щека
7-коренная шейка
Рисунок 1.Кривошипно-шатунниймеханызм.ЯМЗ-238
Вывод: Ознакомились с устройством деталей кривошипно-шатунного механизма двигателя.