Исследование особенностей технической эксплуатации ходовой части автомобилей "Toyota"
Министерство образования Республики Беларусь
Белорусский национальный технический университет
Автотракторный факультет
Кафедра "Техническая эксплуатация автомобилей"
Расчётно-пояснительная записка
к курсовой работе
по дисциплине «Научные исследования и решение инженерных задач»
Тема:
«Исследование особенностей технической эксплуатации ходовой
части автомобилей "Toyota"»
Выполнил студент группы
101452
Колесникович А.С.
Проверил Самко Г.А.
Минск-2005
Введение
В жизни человека автомобиль играет важную роль. Практически с момента своего изобретения он сразу занял одно из ведущих мест в народном хозяйстве. Автомобильная промышленность развивается очень быстрыми темпами. В производстве автомобилей используются самые передовые технологии.
Следует отметить, что характерной особенностью производства автомобилей, особенно в последнее время, является ориентация его на конкретного потребителя. Благодаря этому появляется большое количество модификаций одной и той же базовой модели, различающихся по небольшому количеству параметров. Особенно это тенденция проявляется у зарубежных фирм, где комплектацию автомобиля может определять покупатель. Для отечественного автомобилестроения, а особенно для производства легковых автомобилей, это не характерно. Хотя в последнее время появляется множество «семейств» автомобилей (как, например, у Волжского автомобилестроительного завода), остается значительное количество старых моделей. В этих условиях становится актуальной «переделка» машин. Владелец самостоятельно вносит изменения в конструкцию автомобиля, стараясь максимально приспособить его под условия эксплуатации. Это может быть изменение типа кузова, установка нового агрегата взамен выработавшего свой ресурс старого и отличающегося от последнего по ряду показателей и т. п. Внесение изменений в первоначальную конструкцию автомобиля влечет за собой изменение режимов работы, нагрузок на его составные части. Новые условия работы будут отличаться от тех, которые были определены при проектировании автомобиля. Поэтому появляется потребность в проверке работоспособности агрегатов автомобиля в этих новых режимах.
Анализ состояния вопроса по теме исследования
В процессе эксплуатации из-за трения, деформации, появления трещин, ослабления болтовых и заклепочных соединений, потери упругости поломок возникают различные неисправности и происходят отказы ходовой части, которые ухудшают техническое состояние автомобиля.
В передней подвеске легкового автомобиля возможны изгибы балки, верхнего и нижнего рычагов, износ верхнего и нижнего шаровых пальцев, сухарей, вкладышей, резиновых втулок. Все это приводит к изменению углов установки управляемых колес, вызывающему ухудшение управляемости автомобилем, перерасходу топлива, износу шин. Неполадки элементов подвески влияют на плавность хода, устойчивость автомобиля в период его движения. Ниже приведены основные неисправности ходовой части и их причины.
Отклонение автомобиля от направления прямолинейного движения. Основные причины: различные углы продольного и поперечного наклона осей поворота левого и правого колес; различный развал левого и правого колес; неодинаковое давление воздуха в шинах левого и правого колес; перетянут один из подшипников передних колес, что приводит к повышению сопротивления; деформация нижнего и верхнего рычагов передней подвески; нарушение параллельности осей переднего и заднего мостов; притормаживание одного из колес автомобиля на ходу из-за отсутствия зазора между тормозным барабаном и фрикционной накладкой; неодинаковая упругость пружин подвески; повышенный дисбаланс передних колес.
Частичное отклонение автомобиля от направления прямолинейного движения («виляние») в диапазоне скоростей 50...90км/ч. Основные причины: увеличенные зазоры между шаровыми пальцами и вкладышами, пальцами и подшипниками; большие зазоры во втулках сайлент-блоков, шарнирах рулевых тяг, подшипниках передних колес; износ втулок маятникового рычага; ослабление крепления в рулевом управлении.
Раскачивание передней части автомобиля при движении по неровной дороге. Основная причина: неудовлетворительная работа передних амортизаторов.
Автомобиль «бросает» из стороны в сторону по дороге, имеющей продольные волновые выпуклости и впадины Основные причины: износ втулок или слабая затяжка гаек оси маятникового рычага; большие люфты в шарнирных соединениях рулевой трапеции и подшипниках передних колес.
Стук в передней подвеске. Основные причины: отсутствие смазки в шарнирных соединениях; большой износ элементов шарнирных соединений; ослабление болтов крепления; износ резиновых втулок усиков амортизатора; ослабление затяжки гайки резервуара амортизатора; повышенный зазор в подшипниках ступиц колес; повышенный дисбаланс колес; деформация обода или колеса; осадка или поломка пружины; разрушение буферов хода сжатия; неисправность стоек подвески*; ослабление болтов крепления кронштейнов растяжек или болтов, крепящих штангу стабилизатора поперечной устойчивости к кузову; износ резиновых подушек растяжек или штанги*; ослабление крепления верхней опоры стойки подвески к кузову; осадка, разрывы, отслоение резины от корпуса опоры стойки.
Слабый стук, передающийся на рулевое колесо. Основные причины: большой дисбаланс передних колес (колеса); деформация дисков передних колес.
Стуке задней подвеске. Основные причины: износ втулок амортизаторов; ослабление мест крепления; перегрузка задней оси.
Повышенный износ внутренней части протектора шины. Основная причина: избыточное давление воздуха в шине.
Повышенный износ крайних частей протектора шины. Основная причина: недостаточное давление воздуха в шине.
Неравномерный (пятнами) плюс протектора. Основные причины: большой остаточный дисбаланс колес; большие зазоры в шарнирных соединениях рулевого привода и передней подвески; неисправность амортизаторов.
Пилообразный износ протектора шины в поперечном направлении. Основная причина: неправильное схождение колес.
Односторонний износ протектора шины. Основная причина: отклонение угла развала колес от номинального значения.
Не поддаются регулировке углы установки колес. Основные причины: деформация оси нижнего рычага; деформация поперечины подвески в зоне передних болтов крепления осей нижних рычагов; износ резинометаллических шарниров; деформация поворотного кулака, рычагов подвески или элементов передней части кузова.
Биение колес. Основная причина: нарушение балансировки колес.
Теоретическое обоснование и анализ физической сущности изучаемого вопроса
Основные дефекты переднего (неведущего) моста; нарушенный натяг подшипников ступиц колес, погнутость балки моста, поворотных рычагов, износ посадочного места под шкворень, самих шкворней и их втулок, посадочных мест под подшипники поворотных цапф. Износ и деформация деталей переднего моста нарушают установку передних колес, вызывают односторонний износ шин, затрудняют управление автомобилем.
Регулировку подшипников ступиц колес грузовых автомобилей проверяют при свободно вращающемся тормозном барабане (не должно быть задевания тормозных колодок). Регулировочную гайку ступицы затягивают ключом до отказа усилием одной руки и отпускают на три-четыре прорези коронки в автомобилях ГАЗ и на 1/5 оборота в автомобилях ЗИЛ до совпадения с отверстием для шплинта или ближайшего отверстия в замочном кольце с штифтом. Подшипники качения и внутреннюю полость ступицы заполняют предварительно тугоплавкой смазкой, ставят колпаки ступиц.
Износ шкворневого узла определяют прибором модели Т1. Индикатор прибора закрепляют струбциной на балке моста автомобиля. Колесо вывешивают, и измерительный стержень индикатора подводят к нижней части опорного тормозного диска (щита). Если есть износ шкворневого узла, то при опускании колеса до соприкосновения с опорной поверхностью будет выбран зазор, и индикатор покажет его значение. Сопряжение с зазором до 1,5 мм считается годным к дальнейшей эксплуатации,
Передние мосты разбирают на специальных стендах или подставках. Для выпрессовки шкворней, шаровых пальцев, наружных и внутренних колец подшипников качения применяют съемники. Изношенные подшипники, шарниры рулевых тяг заменяют новыми. Погнутость балки переднего моста определяют различными приспособлениями, шаблонами, линейками, угольниками. Балки правят под прессом в холодном состоянии.
Изношенные втулки шкворней заменяют новыми с последующим их развертыванием. Вначале запрессовывают и развертывают одну втулку, вставив направляющий хвостовик развертки в специально оставленную для этого старую втулку. Затем запрессовывают и обрабатывают вторую втулку. При запрессовке следят за совмещением отверстий для смазки. После обработки втулок их поверхности и масляные канавки очищают от стружки.
К числу наиболее распространенных неисправностей переднего моста относится нарушение углов установки колес. Конструктивно у грузовых автомобилей и автобусов предусмотрена регулировка только угла схождения, у легковых - углов развала продольного наклона шкворни (оси поворота), соотношения углов последовательность является технологически необходимой. Несоблюдение ее приводит к нарушению ранее отрегулированного угла.
Изменение углов развала и продольного наклона шкворня грузового автомобиля может быть вызвано деформацией балки. Если балку невозможно выправить, ее заменяют на новую.
У легковых автомобилей отечественного производства с 2-рычижной передней подвеской угол развала изменяют поперечным смещением оси верхнего или нижнего рычага подвески. Для этого под каждый болт крепления оси добавляют (или изымают) одинаковое количество регулировочных прокладок (скоб). Изменение продольного наклона шкворня производят незначительным поворотом оси рычага в горизонтальной плоскости. Для этого регулировочные прокладки переставляют от одного болта к другому. Количество заменяемых прокладок зависит от того, насколько надо изменить регулируемые углы.
Регулировки
развала и продольного наклона оси
поворота предусмотрены как две
самостоятельные операции. Но оба
рассматриваемых параметра имеют одни
и те же точки воздействия. Поэтому
регулировку этих углов можно совместить
в одну операцию. Для этой цели создана
номограмма (рис. 1.2). Первоначально
измеряют угол развала а
и
определяют его отклонение от нормы. Эту
величину откладывают на соответствующей
оси номограммы. Также поступают с умом
продольного наклона оси поворотов
.
Затем находят точку пересечении а
и
смещают
ее до ближайшего пересечения сетки
номограммы (точка б). Координаты этой
точки относительно осей “скобы переднего
болта” и “скобы заднего болта” позволяют
определить количество скоб, которое
необходимо добавить (знак +) или изъять
(знак —) под соответствующий болт.

Рис. 1.2.1 Номограмма выбора технологических воздействий при совместной регулировке развала и продольного наклона оси поворота
В приведенном на рисунке примере для ГАЗ-24, чтобы изменить у шествующее значение угла рaзвала на +45", а продольного наклона оси поворота на +40", надо од передний болт добавить 5 скоб, а под задний 2 скобы.
Для легковых автомобилей с подвеской типа Макферсон («качающая веча») технология регулировки углов развала и продольного наклона оси поворота зависит от конструктивных особенностей конкретной марки автомобиля. Так для автомобиля АЗЛК-2141 развал изменяют поворотом эксцентрикового регулировочного ползуна 1 (рис. 1.2.2), установленного в бобышке поворотного кулака, а продольный наклон оси поворота изменяют постановкой или изъятием регулировочных шайб 3 между чашкой 4 шарнира стабилизатора и уступом на самом стабилитроне 2. Перед регулировкой необходимо отсоединить стабилизатор от места его крепления к поперечине передней опоры двигателя, отвернуть гайку и извлечь конец стабилизатора из проушины рычага. Регулировочная шайба толщиной 3 мм (конструктивно предусмотрено две шайбы) изменяет угол примерно на 20'. Соотношение углов поворота регулируют обычно взаимным изменением длин боковых тяг - одну укорачивают, другую на такую же величину удлиняют. Несоблюдение этого условия вызовет изменение угла схождения.

Рис.1.2.2 Угол регулировки развала и продольного наклона оси поворота колеса
В отличие от других углов для соотношении углов поворота, так как они конструктивно связаны с углом схождения, обычно нет численного значения норматива. При регулировке надо добиться равенства углов недоворота наружного (от центра поворота) колеса по отношению к внутреннему, повернутому на 20". На новых подвесках, как правило, это достигается при равенстве длин обеих боковых тяг. При остаточных деформациях в подвеске равенство углов недоворота достигают поэтапно подбором, вращением регулировочных муфт каждой тяги по пол-оборота по ходу движения автомобиля или против, каждый раз измеряя при этом значение параметра.
Для некоторых моделей автомобилей разработаны номограммы, но которым в зависимости от фактических значений углов недоворота каждого колеса определяют, в какую сторону и на сколько оборотов следует повернуть регулировочные муфты.
Угол схождения является наиболее важным параметром. Несоответствие его оптимальным значениям вызывает интенсивны неравномерный износ протектора. Регулировка угла схождения грузовых автомобилей производится изменением длины поперечной рулевой тяги, легковых с червячным рулевым механизмом одной из двух боковых тяг, а легковых с реечным рулевым механизмом обязательна регулировка угла схождения каждого колеса в отдельности соответствующей рулевой тягой.
При движении заднеприводного автомобиля под действием сил дорожного сопротивления передние колеса расходятся (у переднеприводных автомобилей в тяговом режиме, как правило, сходятся) на величину существующих зазоров в рулевой трапеции и становятся параллельно друг другу. Нормативное схождение не всегда обеспечивает это условие. Причина — в индивидуальном техническом состоянии каждого автомобиля, особенно с независимой подвеской передних колес. Этот недостаток устраним применением нового способа регулировки угла схождения легковых автомобилей при нагружении их силами, имитирующими условия движения: вертикальной силон ил передний мост (500—600 Н) и разжимной силой на передние колеса между боковинами передних шин на уровне центров колес. Разжимную силу определим по номограмме (рис. 1.2.3) с учетом фактического развала а, наиболее часто используемой скорости движения автомобиля, степени износа (в %) протектора, модели установленных на автомобиле шин и периодичности регулировок. Угол схождения при регулировке устанавливают в интервале 0±5', что обеспечивает такое же положение колес при движении автомобиля.

Рис. 1.2.2 Номограмма выбора нагрузки, имитирующей воздействие дороги на передние колеса.
КАБИНА, КУЗОВ, ОПЕРЕНИЕ
Основные неисправности кабин и оперения: перекос, вмятины, разрывы, коррозийные разрушения, ослабления заклепочных и болтовых соединения. Приемы ремонта следующие: удаление продуктов коррозии, сварка, правка и выравнивание поверхности, постановка дополнительных деталей, восстановление защитных покрытий.
Продукты коррозии удаляют металлическими щетками, растворителями ржавчины. Сварку применяют главным образом газовую, ручную и полуавтоматическую электродуговую, контактную. Часто используют пайку твердыми припоями.
Трещины заваривают непосредственно, а пробоины и разрывы наложением заплат. Ремонтные детали кабин и заплаты приваривают внахлестку с перекрытием краев на 20—24 мм. Сварные швы проковывают пневматическим или ручным рихтовальным молотком сразу после сварки в горячем состоянии. Длинные трещины и большие заплаты во избежание коробления участка заваривают не сплошными швами, а отдельными участками. Трещины в панелях кабины устраняют лайкой припоем ПМЦ-54, бронзовой или латунной проволокой, используя специальный аппарат НИИАТР Р-477.
Вмятины, разнообразные перекосы устраняют правкой в холодном состоянии или с предварительным подогревом поврежденного места газовой горелкой до 600—650 С.
Подогрев применяют для устранения вмятин с перегибами и складками, когда правка в холодном состоянии не удается.
Выравнивание вмятины в два приема. Сначала делают выколотку, (рис. 1.2.3) ведут на поддержке 1 или на плите ударами специального молотка 2 до выравнивания вмятины, затем оставшиеся бугорки подравнивают деревянной или резиновой киянкой 3.
Выколотку глубоких вмятин без острых краев и загибов начинают с середины и постепенно переносят удары молотка или киянки к краям. Вмятины с острыми углами выбивают, начиная с острого угла или с выправки складки. Пологую вмятину выколачивают, начиная с краев к середине. Одну выпуклость устраняют за счет растяжения металла ударами молотка по концентрическим кругам (рис. 1.2.3 в) по мере уменьшают. Чем больше будет сделано кругов (цепочек), тем успешнее будет сглаживание. При нескольких близкорасположенных выпуклых местах (рис. 1.2.3 г) вначале растягивают участок между ними и сводят их в одну выпуклость, а затем в зависимости от формы получившейся выпуклости определяют место в направлении дальнейшей растяжки.
Рихтовку делают на поддержках (рис. 1.2.3 6), подобранных по профилю восстанавливаемой панели, рихтовальными молотками 3 вручную или при помощи специальных станков и механизированных приспособлений. При рихтовке наносят частые несильные удары один возле другого, постепенно выравнивая бугорки и вогнутости, до полного устранения неровности поверхности. Качество рихтовки проверяют личным напильником, слегка зачищая место рихтовки. Если остаются углубления, рихтовку повторяют.

Рис. 1.2.3 Выколотка и рихтовка вмятин
Сильно растянутые участки, например на крыльях автомобилей. восстановить правкой, как правило, не удается. В этом случае часть растянутого металла вырезают, а кромки выравнивают и сваривают.
Перекосы и прогибы выправляют при помощи специальных приспособлений и струбцин с механическим или гидравлическим приводом.
Небольшие вмятины, дефекты рихтовки, сварочные швы и другие неровности выравнивают заполнителями — термопластическими массами ИФН-12, ТПФ-37. эпоксидными клеевыми составами и мягкими припоями.
Постановка дополнительной детали применяется в том случае, если поврежденный участок детали (панели) нельзя восстановить сваркой и правкой. Поврежденную часть удаляют ножовкой, ножницами или другим инструментом. Новую часть изготавливают по шаблону и ставят ее на место удаленной, закрепляя заклепками, сваркой, болтами или клеем.
Для кузовов легковых автомобилей наиболее частой неисправностью является коррозионное разрушение. Долговечность деталей кузовов обусловлена двумя взаимосвязанными факторами: наработкой (пробегом) и календарным сроком службы (рис. 1.2.4). По долговечности детали кузова можно разделить на две группы: первая (/) передние и задние крылья, нижние части арок (брызговиков, задних колес, крайние части щита передка; вторая (2) — передние и задние панели, детали пола багажника и салона. Различие в ресурсах указанных групп составляет около 3 лет и 50 тыс. км пробега.

Рис. 1.2.4 Периоды разрушения кузова автомобилей ВАЗ
Разрушение деталей первой группы ухудшает внешний вид кузова, не вызывая изменения его прочностных характеристик. К моменту коррозионных разрушений деталей второй группы снижается жесткость и накапливаются усталостные разрушения в наиболее нагруженных деталях кузовов, к числу которых, например, относятся стойки боковин кузова, лонжероны.
Практика показывает, что любую деталь первой группы менять полностью (в сборе) нецелесообразно, так как места сварки к моменту разрушения деталей второй группы будут также разрушены. Коррозионное разрушение деталей первой группы, как правило, носит местный характер — повреждены небольшие зоны. Их ремонт возможен и целесообразен термопластическими массами, эпоксидными составами, мягкими припоями.
Для восстановления больших зон разрушения в настоящее время широкое распространение получает так называемый панельный метод ремонта. Поврежденный коррозией, а иногда и при аварии участок кузова удаляют, а на его место устанавливают аналогичную ремонтную деталь (панель), поставляемую в запасные части или оказавшуюся целой при аварии другого автомобиля.
Ресурс деталей первой группы, восстанавливаемых указанными способами, продлевается до ресурса второй, и при этом становится экономически оправданным обновление всех деталей кузова.
Восстановление кузовов, поврежденных при аварии, состоит в вытяжке правке и ремонте деформированных участков с заключительным контролем правильности геометрических параметров кузова в целом и его подрамника. Для этих целей существует стенд модели Р620, на раму которого крепят автомобиль и специальными приспособлениями для ручной и гидравлической правки выполняют работы по вытяжке и правке кузова.
Приемы ремонта металлических кузовов грузовых автомобилей аналогичны приемам ремонта кабин и оперения. Толщина металла кузова значительно больше толщины металла оперения, поэтому облегчаются сварочные работы, но затрудняется правка.
Сварочные работы обычно выполняют электродуговой сваркой, а правку ведут с предварительным подогревом места правки до 600-650С.
Ремонт кузовов неразрывно связан с окрасочными работами. Грунтовку к эмали в условиях ЛТП наносят краскораспылителями. Наибольшее распространение получило пневматическое распыление под давлением воздуха 0.3—0.7 МПа. Этот традиционный способ не требует специального оборудования, но обладает существенными недостатками. Для качественного распыления краска должна быть малой вязкости, что достигается добавлением значительного объема растворителя. При высыхании краски растворитель улетучивается, образуя между частицами пигмента поры, что снижает декоративные и особенно, защитные свойства покрытия.
Более прогрессивным способом окраски является нанесение эмалей с низким содержанием растворителя, но нагретых до 50—70 °С. При этом давление воздуха можно снизить до 0,15 МПа, на 25% уменьшается расход краски, можно наносить более толстые слои покрытий без потеков покрытия обладают высоким блеском и большей плотностью, так как содержание в них растворителя минимально.
Неисправности объекта исследования, причины их возникновения, формы проявления и способы их обнаружения с помощью современных средств диагностики
Амортизаторы и подвеска. Стенды для проверки амортизаторов и подвески
Амортизаторы наряду с другими системами и агрегатами оказывают существенное влияние на безопасность движения. Известно, что нарушение требования обеспечения надежного контакта колеса с опорной поверхностью, особенно при высоких скоростях движения автомобиля, приводит к снижению предельно допустимой скорости движения по условиям безопасности при повороте на 10…15 % и увеличению тормозного пути на 5…10 %.
Неисправные амортизаторы приводят к нестабильному и неравномерному освещению дороги, а также ослеплению встречных водителей автомобилей. Переднеприводной автомобиль с амортизаторами, изношенными на 50 % при движении с постоянной скоростью на дороге, покрытой слоем воды в 6 мм, может начать аквапланирование при скорости на 10% ниже, чем скорость такого же автомобиля, но с исправными амортизаторами.
В настоящее время амортизаторы по влиянию на безопасность движения ставят в один ряд с такими элементами и системами активной безопасности автомобиля, как шины, тормозные системы и рулевое управление. Причем при техническом обслуживании автомобиля должного внимания техническому состоянию амортизаторов, как правило, не уделяется.
Износ и старение деталей амортизаторов происходит медленно, вследствие чего постепенно снижается и эффективность. Водитель не чувствует резких изменений в поведении автомобиля, привыкая к постепенному ухудшению его характеристик. В связи с этим в процессе эксплуатации автомобиля весьма актуальным является периодическое диагностирование амортизаторов и оценка эффективности их работы.
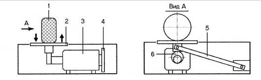
Для оценки состояния подвески (в первую очередь, амортизаторов) автомобиля в процессе эксплуатации применяются стенды имитирующие движение автомобиля по неровностям. Их действие основано на моделировании резонанса в подвеске автомобиля, который возникает в результате воздействия внешней силы от неровностей опорной поверхности. При этом частота подвески оказывается близкой к частоте свободных колебаний неподрессоренной массы. При резонансе амплитуды и ускорения вынужденных колебаний масс резко возрастают, их уровень зависит от качества (технического состояния) амортизаторов. Стенд для проверки амортизаторов представляет собой две площадки, на которых устанавливается автомобиль последовательно передними и задними колесами. Каждая из площадок 2 (рис.1.3.1) снабжена встроенными датчиками для измерения как статической, так и динамической нагрузки на колеса автомобиля. Колебания площадок производятся с помощью эксцентрика 6 электродвигателя 3 и рычага 5.

Рис.1.3.1 Схема стенда для проверки амортизаторов:
1 – колесо автомобиля; 2 – площадка; 3 – электродвигатель; 4 – маховик; 5 – рычаг; 6 – эксцентрик
При подключении стенда платформы начинают совершать вертикальные колебания с различными для выпускаемых стендов амплитудой (6, 7,5 или 9 мм) и частотой возбуждения, изменяющейся от максимальной (16 или 23 Гц), которая выше, чем резонансная частота колебаний неподрессоренной массы, до нулевой (при отключении стенда). За счет пружин малой жесткости в приводе стенда обеспечивается постоянный контакт колес автомобиля с платформами.
При достижении максимальной частоты источник питания электродвигателей отключается, и система начинает совершать свободные затухающие колебания. При приближении частоты собственных колебаний неподрессоренной массы к области высокочастотного резонанса происходит увеличение амплитуды колебаний, чем оно значительнее, тем хуже работает амортизатор.
Колебательный процесс при работе стенда автоматически обрабатывается и заносится в память компьютера, а по окончании измерений отдельно для подвески каждого колеса автомобиля распечатываются результаты проверки.
Оценка состояния подвески автомобиля производится по методу EUSAMA (Европейская комиссия по стандартизации вибрационных методов испытаний в машиностроении) в зоне высокочастотного резонанса посредством измерения изменяющейся при колебаниях платформы силы воздействия колеса на измерительную площадку.
Стенды для проверки амортизаторов, например фирмы Маха (серии FVT) могут быть предназначены для линейного поста, при этом заезжать на площадку нужно строго по продольной оси (рис.). Рычаги привода таких стендов качаются вокруг оси. Другая серия – SA, этой же фирмы благодаря параллелограммному рычагу под площадкой, позволяет площадке перемещать вверх и вниз в горизонтальной плоскости. Благодаря этому автомобиль может заезжать на площадку под любым углом, что позволяет более оптимально использовать площади, где производится проверка подвесок.
Методы диагностики амортизаторов и подвески
В практике диагностирования амортизаторов и подвески применяются метод измерения сцепления колес с дорогой и метод измерения амплитуды.
Метод диагностирования по сцеплению колес с дорогой представлен на рис. 1.3.2

Рис. 1.3.2 Метод диагностирования амортизаторов по сцеплению колес с дорогой
База колебаний при этом методе в нижней части жесткая и подпружинена только в верхней части. Технология проверки амортизаторов и подвески при методе сцепления колес с дорогой заключается в следующем. Сначала проверяемое колесо автомобиля устанавливается точно по середине площадки амортизаторного стенда. В состоянии покоя измеряется статический вес колеса. С помощью электродвигателя осуществляется периодическое возбуждение колебаний с частотой 25 Гц, при этом измерительная плата перемещается как жесткое звено. Получившийся в результате динамический вес колеса (вес на плате при частоте колебаний 25 Гц) сравнивается со статическим весом, путем деления первого на второе.
Пример расчета: пусть статический вес колеса при 0 Гц = 500 кг, динамический вес при 25 Гц =250 кг.
Тогда значение добротности амортизатора и подвески (в процентах) по методу сцепления колес с дорогой составит:
(250/500)*100=50%
Состояние амортизаторов характеризуется следующими соотношениями:
хорошее — не менее 70% (для спортивной подвески не менее 90%);
слабое — от 40% до 70% (от 70% до 90%);
дефектное — менее 40% (от 40% до 70%).
Результаты оценки состояния амортизаторов в процентах не должны отличаться более чем на 25% друг от друга.
Обработка результатов в процентах базируется на эмпирических значениях, которые были получены при помощи серийных исследований автомобилей различных производителей. При этом предполагается, что у среднего автомобиля жесткость амортизаторов, как правило, увеличивается с увеличением нагрузки на ось.
Недостатком метода является то, что данные измерений зависят от давления воздуха в шине диагностируемого автомобиля, при диагностировании обязательно расположение колеса точно посредине площадки амортизаторного стенда. Кроме этого приложение постоянных внешних сил, боковых сил (напряжение) оказывает влияние на боковое перемещение автомобиля, что сказывается на результатах тестирования.
Принцип диагностирования по методу измерения амплитуды применяемый на оборудовании фирм «Боге» и «Маха» - более прогрессивный и представлен на рис. Площадка стенда, подвешенная на гибком торсионе, база колебаний при этом методе подпружинена как в верхней, так и нижней части, что позволяет измерять не только вес, но и амплитуду колебаний на рабочих частотах.

Рис.1.3.3 Метод диагностирования амортизаторов по амплитудным колебаниям
Технология проверки амортизаторов и подвески при методе измерения амплитуды заключается в следующем. На колесо автомобиля, установленное на площадку стенда, производится возбуждение колебаний измерительной платы с частотой 16 Гц и амплитудой 7,5..9 мм. После включения электродвигателя стенда колесо автомобиля колеблется относительно покоящихся масс автомобиля, частота колебаний увеличивается до достижения резонансной частоты (обычно 6 …8 Гц).
После прохождения точки резонанса принудительное возбуждение колебаний прекращается, выключением электродвигателей стенда. При этом частота колебаний увеличивается и пересечет точку резонанса. В этой точке достигается максимальный ход подвески. С увеличением частоты амплитуда также увеличивается и при этом осуществляется измерение частотной амплитуды амортизатора.
Амплитуда колебаний (рис.1.3.4) определяется по движению следующей за колесом проверочной плиты и регистрируется при помощи электроники.

Рис.1.3.4 Амплитуда колебаний амортизатора
При этом измеряется максимальное отклонение (максимальная амплитуда колебаний), оно пересчитывается и показывается на экране монитора раздельно для левого и правого амортизатора. По графику колебаний на экране монитора можно оценить эффективность амортизаторов, даже не зная параметров, заложенных изготовителем: чем меньше амплитуда резонанса на графике, тем лучше работает амортизатор.
Измеренные для каждого колеса на резонансной частоте значения амплитуды колебаний выводятся в мм. Кроме этого для обоих амортизаторов одной оси выводятся разности длин в процентах. Благодаря этому возможно судить о взаимном влиянии обоих амортизаторов одной оси.
Состояние амортизаторов по амплитудному показателю определяется следующим образом:
хорошее – 11…85 мм (для веса задней оси до 400 кг – 11…75мм);
плохое – менее 11 мм;
изношенное – более 85 мм (для веса задней оси до 400 кг – более 75 мм). Разница хода колес не должна превышать 15 мм.
Стенды для проверки амортизаторов, например фирмы «Маха», могут производить поиск шумов подвески. В этом режиме оператор может сам задавать частоту вращения ротора (от 0 до 50 Гц). Без режима поиска шумов источник шума необходимо искать за доли секунды, пока затухают колебания подвески.
Электрогидравлический детектор зазоров ходовой части
Стенд (детектор) предназначен для обнаружения дефектов и зазоров в шарнирных соединениях, сайлент-блоках, креплении амортизаторов ходовой части легковых и грузовых автомобилей, а также выявить места возникновения разных посторонних стуков и скрипов.
Стенд представляет собой одну или две стационарно установленных платформы состоящих из неподвижных плит с антифрикционными наладками и подвижных площадок, перемещаемых вокруг угловой оси штоков цилиндра (рис. 1.3.5).

Рис. 1.3.5 Детектор люфтов
Площадки, на которых устанавливаются колеса автомобиля, передают в зависимости от модели стенда поперечные, поперечно-продольные или поперечно-продольные и диагональные (по диагонали 45°) колебания, с частотой примерно одно движение в секунду, создавая на колесах имитацию движения по неровностям дороги. Ход площадок в одном направлении, в зависимости от модели стенда составляет 40…150мм.
Контроль соединений осуществляется визуально с помощью подсветки, вмонтированной в переносной пульт управления (рис.1.3.6). Управление площадками производится кнопкой, размещенной на переносном пульте управления.

Рис.1.3.6 Пульт управления подвижными площадками 1- встроенный фонарь; 2 - выключатель фонаря; 3 - выключатель подвижных площадок.
Стенд может быть монтироваться на смотровой яме, эстакаде, подъемнике (в двух исполнениях—с заглублением либо установкой на поверхности).
Стенд для диагностики ходовой части автомобиля.
0 685 000 270

Шкаф управления, оснащенный IBM совместимым компьютером, 17" монитором и цветным принтером управляет несколькими приборами, например, газоанализатором, прибором диагностики блоков управления, дымомером, модулем измерения характеристик двигателя.Линия проверки технического состояния автомобиля может быть по выбору разукомплектована на отдельные комплектные и диагностические стенды, как например, тестер увода, тестер подвески, тормозной стенд, газоанализатор (бензин/дизель), сканер для диагностики блоков управления.


Объем поставки (комплектуется индивидуально):Блок управления и индикации О 685 000 270IBM-совместимый ПК Операционное программное обеспечение Дистанционное управление) Тестер увода колес 0 986 400 P50Тестер подвески колес с устройством взвешивания 0 986 400 P40Комплект тормозных барабанов для нешипованной резины 1 687034595или в качестве альтернативы Комплект тормозных барабанов для шипованной резины 1 687 034 599Комплект панелей перекрытия для тормозных барабанов 1 685519861Струйный принтер, PDR217 0 684 412 218Клавиатура (русская) 168702239517" монитор (по желанию) 1 687023288ПО русифицированоПри отсутствии в комплекте тестера подвески рекомендуется использовать тормозные барабаны с весами 1 687 034 604.
Технические характеристики:
Допустимая нагрузка на ось, т 2,0
Допустимая нагрузка на колесо, т 1,0
Мощность подключения, кВт 5,5Подключение к сети 3-х фазный ток
Напряжение, В 400Частота, Гц 50
Предохранитель на входе, АТ 20(25)
Операционная температура, 'С 5-40
Напольные конструкции оцинкованы
Установка только в закрытом помещении!
Тестер подвески:
Макс, нагрузка на ось, т 2,0
Макс, нагрузка на колесо, т 1,0
Значение измерения, %, вид 0-100,
Амплитуда колебаний, мм 6 (2 амплитуды)
Частота колебания,Гц 25
Мощность электродвигателя, кВт 2,5
Длительность цикла измерения, с -30Масса, кг 330
Тормозной стенд:
Тормозные барабаны BSA 250Макс, нагрузка на ось, т - 3Макс, сила торможения, кН - 5 Рабочая скорость, км/ч - 3.3
Коэфф.-т сцепления влаж/сух - >0,5/>0.7
Диаметр роликов, мм - 200Масса, кг – 370
Устройство управления и индикации:
Габариты (В х Ш х Г), мм 1340x565x535
Монитор 17", разворот на 30"Масса, кг <100
Тестер увода:Макс, нагрузка на ось, т - 2.5
Макс, нагрузка на колесо, т - 1.25
Значение измерения, м/км, вид - -15 до +15,
Разрешение, м/км - 0.1Масса, кг - <75
Прибор для анализа геометрии ходовой части автомобиля.
0 986 400 A07

Новое изделие от фирмы Бош - магнитные держатели FWA 007 - предназначены для монтажа измерительных датчиков при анализе геометрии ходовой части автомобиля на стенде FWA. Устанавливаются бесступенчато и размеры обода не имеют значения.
Объем поставки:
Магнитные держатели со встроенными спойлер-адаптерами - 4 шт.
Каждый держатель имеет 2 уровня, 4 магнита и 4 распорки для колес с углубленными гайками крепления колеса.
Стенд для определения коэффициента сцепления колеса с дорогой.
1 689 979 901

Общие сведения:
Стенд SDL 210 является самостоятельным тестером подвески легковых автомобилей, работающим по методу EUSAMA (определение коэффициента сцепления колеса с дорогой по соотношению сил давления колеса на опору в состоянии покоя и при колебаниях с частотой 25 Гц).
Максимальная нагрузка на ось тестируемого автомобиля – 2 т.
Максимальная статическая нагрузка (при проезде через стенд) – 4 т.
Результаты измерений выводятся на цифровой индикатор.
Коммутация с персональным компьютером через стандартный интерфейс (RS-232).
Возможность дооснащения тормозными роликами и тестером увода до SDL 260.
Дополнительное оборудование:
дистанционное управление;
принтер
Стенды анализа геометрии ходовой части - FWA 510/515
0
986 400 АОО/А01

Укомплектован 8-ми сенсорными измерительными датчиками с собственным индикатором и электронным ватерпасом, шкафом, фиксатором рулевого колеса и тормозов, PC, включая клавиатуру, стандартное программное обеспечение
Функциональные особенности:
Диапозон измерений измерительных датчиков +24°
Для стандартной измерительной программы не требуются поворотные платы
Регулировка возможна при помощи анимационных графиков (опция)
Версия FWA 510 - кабельное соединение
Версия FWA 515 - с радиоуправлением
Технические данные:Компьютер Celeron 1 ГГцЖесткий диск 20 ГБ, 64 МБ48xCD, Интерфейс RS 232USB интерфейсПО - WindowsЗажимное устройство для колес 10-21"Габариты, вкл. монитор (В х Ш х Г): 1600x900x600 мм

Проверка колес и шин.
Проверить маркировку шин и соответствие их установки конструкции, размеру и допустимой нагрузке.
Шины, установленные на автомобиле должны соответствовать «Правилам эксплуатации автомобильных шин» или рекомендации завода-изготовителя. Комплектование автомобилей шинами производится по размеру, модели, норме слойности (индексу грузоподъемности), типу рисунка протектора. На транспортное средство рекомендуется устанавливать шины (в том числе запасную) одного размера, одной модели и конструкции (диагональной, радиальной, камерной, бескамерной и других), с одинаковым рисунком протектора. На каждую шину при изготовлении наносится следующая маркировка, например, 165/80R13 МИ-16-1 Steel Radial S 82 Tubeless ГОСТ 4754 106 051072 Made in Belarus):
- 165/80R13 условное обозначение основных размеров и конструкции каркаса шины. Для шин радиальной конструкции ставится буквенный индекс R, для шин диагональной конструкции буквенный индекс не ставится. 165 – обозначение номинальной ширины профиля шины в миллиметрах, 80 – серия (номинальное отношение высоты профиля к его ширине в процентах), R – буквенный индекс радиальной шины, 13 – обозначение посадочного диаметра шины, соответствующее номинальному диаметру обода в дюймах;
- МИ-16-1 – торговая марка (модель шины), где МИ - условное обозначение разработчика шины, 16-1 - порядковый номер разработки;
- Steel – металлокорд в брекере;
- Radial – радиальная шина;
- S – индекс категории скорости;
- 82 – индекс несущей способности нагрузки;
- Tubeless – бескамерная шина;
- ГОСТ 4754 – обозначение стандарта по которому производится шина;
- 106 – дата изготовления (10 -порядковый номер недели с начала года, 6 - последняя цифра года изготовления 1996 г.);
- 051072 – порядковый номер шины;
- страна-изготовитель на английском языке (Made in Belarus - страна-изготовитель).
Проверить состояние шин.
Визуально осмотреть колеса и шины.
Шины не должны иметь:
- местных повреждений (пробоев, порезов, разрывов), обнажающих корд;
- расслоений каркаса;
- отслоения протектора и боковины;
- инородных предметов между сдвоенными колесами.
Транспортное средство должно быть укомплектовано шинами в соответствии с требованиями руководства по эксплуатации или «Правилами эксплуатации автомобильных шин».
Транспортное средство не соответствует техническим требованиям, если обнаружены:
- установка шин не рекомендованных размеров и конструкций;
- установка на одну ось автобусов, легковых автомобилей, прицепов и полуприцепов к ним шин различных размеров, конструкций (радиальной, диагональной, камерной, бескамерной), моделей с различными рисунками протектора, ошипованных и неошипованных, морозостойких и неморозостойких;
- установка на одну ось грузовых автомобилей, прицепов и полуприцепов к ним шин различных размеров, конструкций (радиальной, диагональной, камерной, бескамерной), с различными типами рисунков протектора, ошипованных и неошипованных, морозостойких и неморозостойких;
- несоответствие давления воздуха установленным нормам или невозможность замера давления из-за наличия заглушек или неисправности вентиля;
- замена золотников заглушками, пробками и другими приспособлениями;
отсутствие колпачков на вентилях шин.
Проверить состояние дисков и ободьев колес и наличие элементов их крепления.
Транспортное средство не соответствует техническим требованиям, если обнаружены:
- отсутствие хотя бы одного болта или гайки крепления дисков и ободьев колес, а также ослабления их затяжки;
- видимые нарушения формы и размеров отверстий в дисках колес под детали крепления;
- деформированные ободья;
- наличие трещин на дисках и ободьях
Измерить высоту рисунка протектора.
Высота рисунка протектора шин определяется на участке беговой дорожки, ограниченной прямоугольником со сторонами, размеры которых должны быть не менее половины ширины беговой дорожки и 1/6 длины ее окружности (1/6 длины окружности равна длине дуги, хорда которой равна радиусу). Измерение высоты рисунка протектора не должно производиться в местах расположения уступов у основания элементов рисунка протектора и полумостиков в зоне пересечения канавок.
Для шин имеющих сплошное ребро по центру беговой дорожки, измерение высоты рисунка производится по краям этого ребра.
Для шин повышенной проходимости измерение высоты рисунка производится между грунтозацепами по центру или в местах наименее удаленных от центра беговой дорожки.
Высота рисунка протектора должна быть не менее:
– для шин легковых автомобилей 1,6 мм;
– для шин грузовых автомобилей 1,0 мм;
– для шин автобусов 2,0 мм;
– для шин на прицепах и полуприцепах такая же, как и для шин автомобилей, с которыми они работают. На шинах с индикаторами износа предельно допустимая высота рисунка определяется по состоянию индикаторов. Шина считается непригодной к эксплуатации, если появился индикатор износа, расположенный по дну канавки протектора при равномерном износе или два индикатора в каждом из двух сечений – при неравномерном износе беговой дорожки.
Проверить наличие и крепление запасного колеса.
Кронштейны и детали запасного колес не должны иметь видимых механических повреждений. Запасное колесо должно крепиться надежно, крепление не должно быть ослаблено. Размер, модель, конструкция и рисунок протектора запасного колеса должны соответствовать шинам, установленным на транспортном средстве.
На шине запасного колеса не должно быть не отремонтированных местных повреждений (пробоин, порезов, сквозных и несквозных, местных расслоений протектора). На вентили должны быть установлены колпачки. Высота рисунка протектора шины запасного колеса должна соответствовать техническим требованиям.
Маркировка шин.
Новые шины должны не только нравиться, но и подходить автомобилю по своим характеристикам и особенностям эксплуатации. Поэтому на шине присутствует маркировка, дающая представление о размере шины, грузоподъемности, максимальной скорости и др.
Прежде всего, давайте разберемся с размерами шин. Если шине стоит маркировка: 195/70 R 14, то:
195 - ширина профиля баллона,
70 - отношение высоты профиля к его ширине с %. Здесь оно равно 70 %. Если это соотношение не указано, значит оно равно 80-82%. Начиная с 80% и ниже этот показатель обязательно входит в обозначение шины. Чем меньше это соотношение, тем шире шина и тем «приземистее» и динамичнее автомобиль, но все это хорошо только на сухих дорогах с идеальным покрытием. На российских дорогах рекомендуется использовать шины с соотношением 70-80%, и даже ценители не рискуют использовать шины с показателем меньше 65.
R - обозначение радиальной шины. Существую также диагональные шины, но радиальная резина более популярна.
14 - монтажный размер обода (посадочный диаметр) в дюймах.
После размеров на шине указывают индексы грузоподъемности и скорости. Выглядеть это может, к примеру, как 78 Р, где 78 - индекс грузоподъемности, а P - индекс скорости. Ниже приведены таблицы, в которых указывается максимально допустимая грузоподъемность и скорость для каждого значения индексов.
Значения индекса грузоподъемности (для нечетных индексов используйте среднее арифметическое двух соседних):
|
ИГ |
60 |
62 |
64 |
66 |
68 |
70 |
72 |
74 |
|
кгс |
250 |
265 |
280 |
300 |
315 |
335 |
355 |
375 |
|
ИГ |
76 |
78 |
80 |
82 |
84 |
86 |
88 |
90 |
|
кгс |
400 |
425 |
450 |
475 |
500 |
530 |
560 |
600 |
Индекс скорости шин:
|
ИС |
I |
K |
L |
M |
N |
P |
Q |
|
макс. скорость |
100 |
110 |
120 |
130 |
140 |
150 |
160 |
|
ИС |
R |
S |
T |
H |
V |
VR |
ZR |
|
макс. скорость |
170 |
180 |
190 |
210 |
240 |
210-240 |
>240 |
Далее указываются прочие характеристики шины. Так, если после размеров и индексов стоит надпись: «Steel Radial Tubeless», то Steel Radial означает, что это радиальная шина с металлическим кордом, а слово Tubeless укажет на бескамерную резину.
Если Вы покупаете шины с направленным рисунком протектора, то направление вращения будет указано стрелкой. Словом OUTSIDE на направленной резине обозначается наружная сторона - для правильной установки.
Кроме того, на шинах указываются стандарты качества (буква «Е» в кружочке - европейский стандарт, «DOT» - американский), назначение шин (M+S, M&S - «грязь + снег» - зимние и универсальные шины, AW, AS - «любая погода», «любой сезон» - всесезонная резина).
Некоторые производители вместо букв используют символы-рисунки: солнце, дождь, снежинка.
В Руководстве по эксплуатации каждой модели автомобиля обязательно указаны допустимые к применению размеры шин и колес, поэтому лучше всего при выборе шин руководствоваться рекомендованными производителем параметрами.

национальный знак соответствия шины, сертифицированной на соответствие требованиям государственного стандарта;
обозначение, указывающее, что шина соответствует Правилам ЕЭК ООН. Число - номер страны, выдавшей сертификат соответствия;
обозначение ALL SEASON для шине всесе-зонным рисунком протектора;
название страны-изготовителя на английском языке;
символ, обозначающий место расположения индикаторов износа (выступов на дне канавок протектора). При износе протектора до глубины расположения указателей эксплуатацию шины необходимо прекратить;
обозначение номера технических условий для шин, выпускаемых по ГОСТ;
обозначение RADIAL для шин радиальной конструкции. Может не указываться;
торговая марка;
обозначение шины;
дата изготовления (две последние цифры - год изготовления);
индекс «С», указывающий, что шина предназначена для легких грузовиков и автобусов особо малой вместимости и подлежит сертификации в соответствии с Правилом № 54 ЕЭК ООН;
индекс грузоподъемности;
индекс скорости;
обозначение STEEL для шин с металлокордным брекером. Обозначение ALL STEEL имеют шины с металлокордным бреке-ром и каркасом.
направление вращения шины (для шин с направленным рисунком протектора);
обозначение OUTSIDE (наружная сторона) для шин с направленным рисунком протектора;
обозначение M+S или M&S (грязь + снег) для шин с зимним рисунком протектора;
обозначение REINFORCED для усиленных шин. Может также встречаться обозначение REGROOVABLE - на шинах, имеющих возможность углубления рисунка протектора нарезкой;
обозначение TUBELESS для бескамерных шин. Камерные шины обозначаются TUBE TYRE. При отсутствии обозначения шину следует считать камерной;
обозначение номера технических условий для шин, выпускаемых по ТУ (без года утверждения);
товарный знак предприятия-изготовителя;
модель шины (условное обозначение шины, присваиваемое разработчиком).
Режимы и технология технического обслуживания объекта исследования
Подвеска Toyota Corolla
Предварительные проверки
Проверьте величину износа шин и давление в шинах. В зависимости от комплектации, условий эксплуатации и качества установленных шин давление в шинах в холодном состоянии 2,2 - 2,6 кПа
Проверьте осевой зазор подшипников ступиц.
Проверьте биение колеса. Биение менее 3,0 мм
Проверьте надежность крепления деталей подвески.
Проверьте состояние рулевых тяг.
Проверьте правильность работы амортизаторов.
Измерьте установочную высоту автомобиля:


Примечание:
Передняя подвеска: измерьте расстояние от земли до центра переднего болта крепления нижнего рычага подвески. Задняя подвеска: измерьте расстояние от земли до центра болта крепления продольного рычага. Перед проведением проверки регулировки углов установки колес, необходимо отрегулировать установочную высоту в соответствии с установленными нормами. Если величина установочной высоты не соответствует нормам, то следует попытаться скорректировать ее, нажимая на кузов вниз или приподнимая кузов вверх.
Установочная высота моделей до 95 г.
Размер шин
Передняя подвеска
Задняя подвеска
175/70R13 82S175/70R13 82H275/65R14 82H
185 мм
245 mm
185/65R14 85H
190 мм
250 mm
175/70R13 82S, 82Н (Усиленная подвеска)
206 mm
266 mm
Регулировка углов установки передних колес
Проверка и регулировка схождения.
Проверьте величину схождения. Если она не соответствует заданным условиям, то произведите регулировку.
Схождение при проверке:
А + B = 0,1° ± 0,2° C-D=1 ± 2мм

Для регулировки:
Снимите хомуты чехлов
Ослабьте контргайки наконечников рулевых тяг
Отрегулируйте величину схождения путем поворота левого и правого наконечников рулевых тяг на одинаковое число оборотов. Cхождение при регулировке:
A + В = 0,1° ± 0,1° C-D= 1 ± 1 мм

Примечание: убедитесь в том, что длины правой и левой тяг одинаковы. Разница длин тяг менее 1мм.
Затяните контргайки наконечников рулевых тяг. Момент затяжки 56 Н-м.
Установите на место чехлы и закрепите их хомутами.
Проверка углов поворота колес
Модели с усиленной подвеской:Внутреннее колесо: 40°00' ± 2°Внешнее колесо: 34°00' ± 2°
Остальные модели: Внутреннее колесо: 39°05' ± 2°Внешнее колесо: 33°00' ± 2°

Особенности текущего ремонта объекта исследования и специфика применяемого при этом технологического оборудования
Основные неисправности в подвеске и их устранение
|
Причина поломки |
Устранение или предотвращение |
|
Шум и стук в подвеске при движении автомобиля |
|
|
Неисправность амортизаторов |
Отремонтировать амортизаторы |
|
Ослабление затяжки болтов, крепящих штангу стабилизатора поперечной устойчивости на лонжеронах кузова или на нижних рычагах подвески |
Проверить состояние резиновых подушек, затем подтянуть болты и гайки крепления штанги, при износе резиновых подушек заменить их |
|
Износ резино-металлических шарниров рычагов подвески |
Снять и заменить шарниры |
|
Ослабление крепления амортизаторов или износ резиновых втулок проушин амортизаторов |
Затянуть болты и гайки крепления амортизаторов, заменить резино-металлические втулки в проушине амортизатора |
|
Износ деталей шаровых опор подвески |
Заменить шаровые опоры в комплекте |
|
Износ или повышенный зазор в подшипниках колес |
Снять колесо, ступицу с тормозным диском, проверить техническое состояние подшипников, при необходимости заменить их и отрегулировать зазор |
|
Деформация кронштейна буфера хода сжатия и стойки передней части кузова |
Выправить кронштейн истойку |
|
Деформация полки усилителя верхнего рычага подвески |
Заменить рычаг |
|
Полный износ резиновых втулок верхних или нижних рычагов |
Изношенные втулки заменить |
|
Отсутствие смазки в шарнирах стойки |
Смазать шарниры |
|
Не поддаются регулировке углы установки передних колёс |
|
|
Деформация оси нижнего рычага |
Заменить ось |
|
Деформация поперечины подвески в зоне передних болтов крепления осей нижних рычагов |
Отремонтировать или заменить поперечину |
|
Износ резино-металлических шарниров (сайленблоков) рычагов подвески |
Заменить шарниры (сайленблоки) |
|
Увод автомобиля от прямолинейного движения |
|
|
Разное давление воздуха в шинах |
Проверить и установить нормальное давление в шинах |
|
Нарушение углов установки передних колёс |
Проверить и отрегулировать установку колёс |
|
Неправильный зазор в подшипниках передних колёс |
Отрегулировать зазор |
|
Деформация поворотного кулака или рычагов подвески |
Разобрать подвеску и с помощью специального приспособления проверить кулак и рычаги; в случае большой деформации заменить их |
|
Неодинаковая упругость пружин подвески |
Заменить пружину, потерявшую упругость |
|
Неполное растормаживание тормозного механизма колёса |
Устранить неисправность |
|
Значительная разница в износе колёс |
Заменить изношенные шины |
|
Повышенный дисбаланс передних колёс |
Отбалансировать колёса |
|
Нарушение параллельности осей переднего и заднего мостов |
Проверить положение оси заднего моста по отношению к переднему и устранить причину непараллельности |
|
Деформация лонжерона рамы |
Выправить лонжерон или заменить раму |
|
Самовозбуждающееся угловое колебание передних колёс |
|
|
Давление воздуха в шинах не соответствует норме |
Установить нормальное давление воздуха в шинах |
|
Недопустимый зазор в подшипниках ступиц колёс |
Разобрать, заменить изношенные детали, смазать консистентной смазкой и отрегулировать зазор в подшипниках |
|
Не работают амортизаторы |
Отремонтировать и заправить жидкостью или заменить амортизаторы |
|
Ослабление крепления поворотного кулака или его деформация |
Подтянуть крепления кулака, при его деформации заменить поворотный кулак |
|
Нарушение углов установки передних колёс |
Проверить и отрегулировать углы развала, продольного наклона оси поворота и схождение колёс |
|
Износ резино-металлических шарниров (сайленблоков) рычагов подвески |
Заменить сайленблоки |
|
Большой дисбаланс колёс |
Проверить и отбалансировать колёса |
|
Износ шаровых опор |
Заменить опоры |
|
Вмятины и трещины на кромках, прорезы корпуса шаровой опоры от ударов пальца |
|
|
Увеличенный динамический ход рычагов подвески вследствие деформации кронштейна буфера сжатия |
Отремонтировать кронштейн и стойку |
|
Вертикальные колебания передних колёс (жёсткие удары) |
|
|
Большой дисбаланс колёс |
Проверить и отбалансировать колёса |
|
Осадка пружин подвески |
Заменить пружины новыми |
|
Не работают амортизаторы |
Отремонтировать или заменить амортизаторы |
|
Не работает стабилизатор поперечной устойчивости |
Проверить состояние резиновых подушек стабилизатора, при износе заменить; затянуть болты и гайки крепления штанги |
|
Увеличенный зазор в верхней шаровой опоре. Растрескивание корпуса нижней шаровой опоры |
|
|
Повышенный износ трущихся деталей шаровой опоры в результате её загрязнения из-за негерметичности или повреждения пыльника |
Заменить шаровую опору и защитный чехол (пыльник) |
|
Боковой крен ненагруженного автомобиля (разность высоты фар более 25 мм) |
|
|
Осадка или поломка пружины (рессоры). Оседание резиновой втулки сайленблока или деформация нижнего рычага |
Выявить дефектную деталь и заменить новой |
|
Проседание передней части автомобиля |
|
|
Поломаны листы торсионов или пружины передней подвески |
Заменить поломанные детали |
Замена амортизаторов на японском автомобиле
Исправно работающая подвеска - залог не только комфорта при движении на автомобиле, но еще и один из основных аспектов безопасности. Неисправные амортизаторы могут привести к порче и повышенному износу основных деталей подвески и рулевого управления. Как следствие, машина теряет устойчивость на дороге и становится просто небезопасна в эксплуатации.
На наших ухабах в первую очередь выходят из строя амортизаторы. Особенно это заметно на ямах и стыках дорожного полотна: новая машина «глотает» ямы, но по мере ухудшениия работы амортизаторов трещины, стыки и ямы воспринимаются более болезненно, все внутренности машины перетряхивает. Это признак того, что пора «лечить» вашего друга.
Первым делом необходимо провести тщательный осмотр деталей подвески. Для этого поднимаем машину. Желательно, чтобы оба колеса на оси были в воздухе - это позволит более точно определить, где появился ненужный люфт. Прежде чем залезть под машину, установите страхующие упоры, чтобы машина надежно стояла на полу. Если у вас под рукой есть подъемник, то эта процедура значительно упрощается.
Теперь пришло время не спеша приступить к осмотру подвески. Пока мы не сняли колеса (когда машина стояла на полу, мы только сорвали колесные гайки, чтобы потом легко их открутить), проверяем наличие люфтов в подвеске. Резкими движениями качаем колесо вокруг вертикальной оси; если определяется стук (его не обязательно слышно, это надо почувствовать руками) - значит, появились паразитные зазоры в рулевом управлении. Их устранение - тема для другой статьи.
Покачаем колесо в горизонтальной плоскости, тут мы можем оценить состояние нижней и верхней шаровых опор. У подвески системы Макферсон боковая нагрузка при поворотах передается на шток амортизатора, и со временем разбивается бронзовая направляющая втулка в колбе. Проявляется это как стук и увод автомобиля на неровностях дороги. Хотя в Макферсоне нет верхней шаровой опоры, ее функцию выполняет верхняя чашка амортизаторной стойки, которая тоже подвергается износу.
Если ступичные подшипники изношены, мы тоже можем это определить, покачивая колесо, но с меньшей амплитудой. Теперь, определившись со стуком, снимаем колесо и внимательно осматриваем нашу подвеску. Раз уж мы решили менять амортизаторы, давайте определим, что нам понадобиться для замены.
Смотрим на пыльник: если целый и без трещин - нам повезло; нет - надо купить новый.
Отбойник: при частых пробоях подвески все удары приходятся на отбойник. Смотрим: если живой - хорошо, мертвый - покупать новый.
Внимательно осматриваем верхнюю чашку. Если появились глубокие радиальные трещины - скорее всего, чашку придется заменить, иначе ее может оборвать во время движения по неровной дороге.
Оцениваем состояние пыльников шаровых соединений и рулевой рейки, внимательно смотрим на пыльник ШРУСа (гранаты привода), оцениваем состояние тормозных колодок.
Проверяем по списку, что необходимо докупить.
Если все готово, приступаем к замене амортизаторов. Демонтаж передней стойки.
Отсоединяем от стойки шланги тормозной системы (иногда для этого необходимо отсоединить шланг от тормозного суппорта, при сборке потребуется прокачка системы) и провода датчиков ABS, если они есть.
Откручиваем болты крепления стойки к ступице. Они затянуты, как правило, очень хорошо, поэтому с обычным рожковым ключом туда лучше не подходить.
Отдаем гайки крепления верхней чашки к кузову, они располагаются под капотом.
Выводим ступицу колеса в максимально наружное положение и вынимаем стойку.
Это будет сделать проще, если вы одновременно открутили противоположную ступицу. Теперь, чтобы не пачкаться сильно, стряхиваем-смываем дорожную грязь и разбираем амортизаторную стойку. Наша задача - добыть пружину и верхнюю поворотную чашку, сам амортизатор, пыльник и отбойник мы ставим новый. Очень часто, особенно на машинах старше пяти лет, пружины необходимо менять вместе с амортизаторами.
Просевшая пружина теряет упругость и плохо работает на неровностях дороги; основная нагрузка падает на кинематику амортизатора и на отбойник, что приводит к быстрому износу подвески, не говоря уже о том, что теряется клиренс автомобиля.
Проверив верхнюю чашку на предмет люфта поворотного подшипника (небольшой люфт допустим), приступаем к снятию пружины. Первым делом слегка отдаем центральную гайку, но не откручиваем, так как сжатая пружина стрельнет! Есть много способов заставить пружину сжаться, мы применим наиболее надежный и доступный метод - с помощью винтовых стяжек.
После откручиваем центральную гайку и разбираем стойку. Перед установкой пружины на новую стойку все еще раз внимательно осматриваем и сравниваем на предмет совместимости. Если все ОК, набиваем новую смазку в подшипник верхней опоры. Защитный пыльник должен быть целый; если он «умер», его заменит фетровый диск. Собрав стойку в обратном порядке, аккуратно устанавливаем ее на место.
После сборки проверьте, чтобы при вывороте колеса тормозные шланги не цеплялись за кузов, иначе со временем они протрутся и может случиться беда. Прикручиваем как следует колеса - и на тест. Не удивляйтесь, если вы не услышите стука амортизаторов, но при этом заметите много новых более тонких звуков. Так оно и бывает: устраняя основную боль, мы начинаем замечать другие неприятные моменты.
Регулировка развала-схождения
На автомобилях японского производства возможна регулировка только схождения передних колёс, а развал не регулируется. Стоит такая процедура недорого и занимает совсем немного времени.
Ну а если нет возможности обратиться к специалистам, тогда придётся выставить схождение передних колёс самому. Для этого заезжаете на эстакаду или яму, ставите колёса прямо и измеряете расстояние между ободами дисков передних колёс (диски должны быть обязательно ровные) спереди и сзади в одной горизонтальной плоскости. Разница этих расстояний свидетельствует о схождении, либо расхождении колёс. Необходимо сделать эти расстояния одинаковыми, либо с небольшой разницей (около 1 мм) в сторону схождения.
Для регулировки расконтрогайте одну из рулевых тяг и, удлиняя, либо укорачивая её, добейтесь необходимой точности положений колёс. Учтите, что длины рулевых тяг должны быть равны по длине между собой с точностью до 1 мм. Если одну тягу вы удлинили и она стала длиннее другой, скажем на 2 мм, то укоротите её на 1 мм, и, соответственно удлините вторую на 1 мм, таким образом, их длины выровняются. Затем законтрогайте рулевые тяги.
Измерять расстояние между дисками колёс можно рулеткой (сложно и неточно), но лучше использовать перископическую трубу или линейку. Измерили - поставили риску, измерили в другом месте - поставили ещё одну риску и расстояние между рисками показывает величину схождения, либо расхождения колёс.
После регулировки необходимо проверить машину на ходу. В движении по прямой дороге со скоростью около 60-70 км/ч, проверьте, не уводит ли руль в сторону и нет ли рысканья. Если эти признаки (хотя бы один) присутствуют, значит регулировка не правильная.
Внимание! Если у вас нет возможности производить измерения с точностью до 1 мм, то лучше самим не пытаться регулировать схождение, а найти возможность обратиться в автосервис.
Может возникнуть ситуация, когда вы правильно отрегулировали схождение колёс, а машина, всё равно, едет не ровно, или, что называется, "жрёт" резину, тогда следует так же обратится в сервис. Вполне возможно, что нарушена геометрия колёс, например, после сильной аварии или попадания колеса в глубокую яму.Самостоятельная диагностика передней подвески (на примере Toyota Corolla)
Передняя подвеска, а точнее совокупность деталей подвески, трансмиссии и рулевого управления, состоит из следующих составных частей, наиболее часто подверженных выходу из строя:
Амортизаторы;
Пружины;
Шаровые опоры;
Нижние рычаги с сайлент-блоками;
Верхние опоры подвески с подшипниками;
Тяги стабилизатора;
Опоры стабилизатора;
Рулевая рейка;
Рулевые тяги;
Рулевые наконечники;
Рулевой карданчик;
Подшипник ступицы;
ШРУС (внешний шарнир).
Прежде чем проверять детали подвески, следует осмотреть все резиновые чехлы и пыльники перечисленных деталей. Как правило, деталь, имеющая поврежденный чехол требует замены.
Исправный амортизатор не должен иметь подтеков масла, его шток должен иметь гладкую зеркальную поверхность без раковин и царапин, при раскачивании машины не должен издавать звуков, и почти сразу гасить колебания машины. При движении с неисправным амортизатором машина раскачивается, а со стороны кажется, что колесо не катиться по дороге, а прыгает как мячик. Подтеки масла возникают раньше других симптомов и с ними амортизатор еще может нормально работать некоторое время.
Изношенные (просевшие) пружины определяются по низкой посадке машины и невозможности правильно отрегулировать развал колес.
Шаровые опоры проверяются покачиванием нижних рычагов вверх-вниз при помощи монтировки на яме или подъемнике. При этом не должно быть ощутимого люфта.
Сайлент-блоки нижних рычагов не должны иметь люфта при нажатии на них монтировкой, не должны иметь выпученных и потрескавшихся кусков резины, резина не должна отслаиваться от внутренней или внешней втулок.
Для проверки шаровых опор и сайлент-блоков полезно на поднятой машине открутить крепление шаровой опоры к нижнему рычагу. После этого, при поворачивании корпуса шаровой опоры руками, он должен двигаться плавно, с усилием и без люфтов. Нижний рычаг в свободном положении должен стремиться занять горизонтальное положение, под действием упругости резины сайлент-блоков.
Неисправные подшипники верхних опор подвески могут иметь люфт при покачивании машины вверх-вниз. Кроме этого в опоре может быть разорвана резиновая часть, но выявить это без снятия опоры не всегда возможно.
Тяги и опоры стабилизатора проверяются осмотром и раскачиванием руками с усилием. Все сочленения не должны иметь никаких люфтов.
Рулевая рейка очень редко выходит из строя, за исключением тех случаев, когда изнашивается направляющая втулка со стороны, противоположной водителю. Это можно определить при раскачивании руками самой рейки, повернув колеса в сторону расположения руля, взявшись за рейку через чехол рулевой тяги.
Рулевые тяги и рулевые наконечники проверяются либо поворотами руками за колесо, либо поворотами руля вправо-влево, одновременно взявшись рукой за проверяемую деталь. Ни тяги, ни наконечники не должны иметь люфтов.
Неисправный рулевой карданчик может либо иметь люфт, причем иногда довольно большой, либо наоборот – проворачиваться с усилием. Если на Вашей машине рулевой карданчик не имеет никакого чехла или крышки, рекомендуется подобрать и надеть на него какой-либо чехол. Хорошо подходят чехлы от рулевых тяг, можно подобрать и чехол от отечественного автомобиля.
Неисправный подшипник ступицы может издавать гул при движении, что проверяется раскручиванием колес на хорошо закрепленном вывешенном автомобиле. Также он может иметь люфт, что проверяется раскачиванием колеса руками за его верхнюю точку от себя - к себе.
Неисправный внешний ШРУС издает характерный громкий треск при движении автомобиля с небольшим разгоном в крутом повороте.
Передняя подвеска может иметь и другие неисправности, здесь описаны лишь наиболее типичные.
Характеристики и показатели надежности объекта исследования
КЛАССИФИКАЦИЯ И КОНСТРУКЦИЯ ШИН
Шины являются важным и дорогостоящим элементом конструкции автомобиля. В зависимости от грузоподъемности автомобиля, его конструкции и условий эксплуатации на приобретение, обслуживание и ремонт шин приходится 6—15 % себестоимости транспортной работы.
Работы, связанные с монтажом -демонтажем шин, их обслуживанием, ремонтом (подкачкой, балансировкой и т. д.), составляют 3—7% общей трудоемкости ТО и ремонта автомобилей. От 3 до 6 чел. на АТП средней мощности заняты технической эксплуатацией шин. В зависимости от конструктивных особенностей шин расход топлива автомобиля может меняться на 4—7 %. Несоблюдение параметров технического состояния шин приводит к росту расхода топлива до 15 %, почти вдвое увеличивается вероятность дорожно-транспортных происшествий.
Шина устанавливается на обод и вместе с ним и диском образует автомобильное колесо (рис. 1.6.1).

Рис. 1.6.1. Камерная шина грузового автомобиля в сборе с ободом:
1 — каркас; 2 — брокер; 3 — протектор; 4 — боковина; 5 — камера; 6 — борт; 7 — ободная лента; 8 — обод; 9 — замочное кольцо (разрезное); 10 — бортовое кольцо (перазрезное); О — наружный диаметр; (I — посадочный диаметр; В — ширина профиля; Н — высота профиля
Основным элементом шины является каркас. Его изготавливают из кордной ткани: текстиля, синтетических волокон, стальной проволоки, стекловолокна и пр. Стоимость каркаса составляет примерно 60 % стоимости шины, а протектора 5 - 7 %. Долговечность каркаса в 2- 3 раза больше, чем протектора, поэтому при износе протектора шину целесообразно восстановить, наложив (привулканизировав) новый протектор.
В зависимости от назначения различают шины: для легковых автомобилей и прицепов к ним, грузовых автомобилей малой грузоподъемности, микроавтобусов; для грузовых автомобилей и прицепов к ним, автобусов, троллейбусов. Рисунок протектора может быть дорожный, универсальный, повышенной проходимости, зимний. Последний тип протектора можно оснащать шипами противоскольжения. Применение шин с рисунком протектора, не соответствующим конкретным условиям, приводит к снижению безопасности автомобиля, ресурса шины, увеличению расхода топлива, ухудшению комфортабельности автомобиля. Состав резиновой смеси протектора, его рисунок определяют ресурс шин. В последние годы ведутся работы по соединению резины с фторопластом, что возможно позволит увеличить ресурс автомобильных шин в 3 раза.
По конструкции каркаса шины могут быть: диагональные, характеризующиеся диагональным расположением нитей корда в каркасе и брекере; радиальные, характеризующиеся меридиональным расположением нитей корда в каркасе и диагональным в брекере.
По способу герметизации различают шины камерные, в которых воздушная полость создается камерой, и бескамерные, в которых воздушная полость создается ободом колеса и покрышкой, имеющей слой герметизирующей резины.
По конфигурации профиля поперечного сечения (отношение Н/В, см. рис. 11.1) шины подразделяются на: обычные (Н/В > 0,89); широкопрофильные (Н/В = 0,9-0,6); низкопрофильные (Н/В =0,88-0,70); сверхнизкопрофильные (0,5< Н/В < 0,70); арочные (Н/В = 0,5 – 0,39); пневмокатки (Н/В = 0,39-0,25).
Дополнительно сверхнизкопрофильные радиальные шины легковых автомобилей могут быть представлены сериями 70 и 60, указывающими отношение Н/В в процентах.
Радиальные шины имеют хорошие характеристики по качению. Их пробег на 25—75 % выше пробега аналогичных диагональных. Они способствуют снижению расхода топлива на 3—5 %. Однако радиальное расположение нитей корда каркаса снижает прочность боковой стенки покрышки. В тяжелых дорожных условиях, при движении по глубокой колее, особенно при пониженном давлении воздуха в шинах, они быстро разрушаются.
Бескамерные шины имеют пробег на 20 % выше по сравнению с аналогичными камерными. Это достигается лучшим температурным режимом шины за счет усиленной теплопередачи с шины на обод. Эти шины медленно «теряют» воздух при проколах, что делает их более безопасными.
У бескамерных шин легко повреждаются уплотнения при неаккуратном выполнении монтажно-демонтажных работ. Их можно устанавливать только на специальные герметичные ободья.
Тенденция развития конструкции шин свидетельствует о снижении профиля шин, т. е. уменьшении Н/В. Оптимальное отношение Н/В с точки зрения затрат энергии на качение 70—65 %. Снижение сопротивления качения на 20 % способствует снижению расхода топлива на 2,5—3 %. Низкопрофильные шины более устойчивы на дороге, обеспечивают меньший тормозной путь автомобиля.
Конструктивные особенности шины, ее основные размеры указаны в маркировке на боковинах (модель, слойность, номер, размер и т. п.).
Модель — условное обозначение разработчика шины и порядковый номер разработки. Например, ИН-251 — совместная разработка НИИШПа и Нижнекамского шинного завода № 251.
Норма слойности — условное обозначение прочности каркаса. Например, НС-10 для грузовых или 4PR —для шин легковых автомобилей, где цифра показывает, какому числу слоев каркаса из текстильного корда эквивалентна прочность каркаса данной модели шины. На современных моделях шин с учетом международных требований норма слойности заменена индексом грузоподъемности, например, 75, 88, 92 и др.
Заводской номер шины, например, ЯIII85 153624 означает следующее: Я — изготовлено на Ярославском шинном заводе; III85 — изготовлено в марте 1985 г., 153624 — порядковый номер шины. На шинах современных моделей изменена последовательность обозначения. Вместо месяца указывается порядковый номер недели в году, а сам год представлен одной цифрой. Например, 125Я 153624.
Размер грузовых шин обычного профиля указывается сочетанием двух параметров: В и d (см. рис. 11.1). Например, 320—508 (12,00—20). Здесь первая группа цифр обозначает размер в миллиметрах, а вторая в дюймах. Радиальные шины дополнительно имеют буквенное обозначение 320- 508R (12.00R20).
Размер широкопрофильных шин указывается сочетанием трех параметров: D*B — d. Так, шина с наружным диаметром 1080 мм, шириной профиля 425 мм и посадочным диаметром 484 мм имеет обозначение 1080X425 — 484. Крупногабаритные широкопрофильные шины дополнительно имеют обозначение В и d в дюймах: 20,5—25(1510X520—635).
Размер шин легковых автомобилей диагональной конструкции указывается сочетанием двух параметров (B — d) в миллиметрах и дюймах. Например, 6,15—13 (155 — 330). Тот же размер для радиальных шин 155R13. Для сверхнизкопрофильных радиальных шин должна быть указана серия — отношение Н/В в %. Например, 205/70R14.
Бескамерные шины имеют надпись Tubeless, камерные — Tub type (зарубежные) или без надписи (отечественные).
На шинах с протектором для грязи и снега нанесен знак «M+S».
Приведенные обозначения предусмотрены действующими стандартами. Если обозначения на шинах нанесены по-иному, значит эти шины выпускаются на пресс-формах, изготовленных до введения новых стандартов и не исчерпавших еще свой ресурс.
ВЗАИМОДЕЙСТВИЕ ШИНЫ С ДОРОГОЙ И ФАКТОРЫ, ОПРЕДЕЛЯЮЩИЕ РЕСУРС ШИН
Процессы в пятне контакта.
На
шину при движении действуют нормальная
нагрузка G
и
касательная сила Q.
Они
вызывают в пятне контакта шины с дорогой
площадью F
удельное
давление q
=G/F и
касательное напряжение t
= Q/F. Отношение
t
к q характеризует
напряженность элемента шины в контакта
=t/
q.
Если она равна или больше коэффициента
сцепления шины с дорогой, то начинается
проскальзывание. Это главная причина
износа протектора. В различных точках
контакта напряженность t неодинакова.
Она зависит от условий движения,
нагруженности шины, углов установки
колес, величины давления воздуха в шине
и др. (рис. 1.6.2).

Рис.
1.6.2. Распределение удельных сил в
центральном продольном сечении площади
контакта: 1 — скорость до 100 км/ч; 2
— скорость
свыше 100 км/ч; 3.7
— предел
сцепления (произведение удельных
давлении на коэффициент трения); 4
—
ведущий режим; 5 — ведомый режим; 6
— тормозной
режим;
/>2>
— зоны проскальзывания.
Несоответствие любого из перечисленных факторов оптимальным параметрам вызывает проскальзывание отдельных элементов пятна контакта и неравномерный износ протектора. Так, с уменьшением давления воздуха увеличивается и возрастает предрасположенность элементов протектора к проскальзыванию. Углы установки колес (особенно угол схождения) при отклонении их от норматива приводят к увеличению поперечных касательных напряжений. На выходе шины из пятна контакта превышается предел сцепления с опорной поверхностью и происходит проскальзывание.
Для радиальных шин и шин с изношенным рисунком протектора касательные напряжения всегда меньше.
Критическая скорость качения. Увеличение скорости качения приводит к изменению характера эпюры q (см. рис. 1.6.2) и проскальзыванию элементов протектора. С дальнейшим увеличением скорости шина подвергается действию инерционных сил. Частота деформации элементов шины начинает совпадать с их собственной частотой. Скорость восстановления формы шины после прохождения контактной зоны меньше скорости выхода элементов из контакта. В результате из контакта выходят невосстановленные элементы, которые под действием упругих и инерционных сил также начинают колебаться. Резонансные явления приводят к возникновению волн на боковинах и беговой дорожке. Наступает критическая скорость качения и, как следствие, разрыв шины.
Критическая скорость шины всегда выше максимальной скорости автомобиля, для которого она рекомендована. Однако нагружение автомобиля выше нормы, а особенно пониженное давление в шине резко снижают порог критической скорости, поэтому, согласно ГОСТ 4754— 80, при предстоящем движении легкового автомобиля (более 1 ч) со скоростью свыше 120 км/ч давление воздуха в шинах следует повысить на 0,03 МПа относительно нормы.
Аквапланирование. При движении по мокрой дороге на низких и средних скоростях выступы протектора шины успевают продавить водяную пленку. Из пятна контакта вода выводится через канавки протектора, которые выполняют роль дренажа. При больших скоростях количество выводимой в единицу времени воды растет, и дренаж с этим может не справиться. Между протектором и дорогой появляется водяной клин, нарушающий контакт шины с опорной поверхностью. Возникает аквапланирование, и автомобиль становится неуправляемым. Скорость аквапланирования зависит от скорости автомобиля, толщины водяной пленки вязкости (загрязнения) воды, конструкции шины (отношение Н/В), давления воздуха в шине достаточной высоты рисунка протектора.
Пониженное давление воздуха и изношенный протектор резко приближают момент возникновения аквапланирования.
Влияние технического состояния шины на топливно-экономические и тягово-сцепные свойства автомобиля. По мере износа протектора меняются характеристики шин, что отражается на эксплуатационных свойствах автомобиля. Высота рисунка протектора новых грузовых шин 16—20 мм, легковых 8—10 мм. С уменьшением высоты рисунка протектора возрастает вероятность дорожно-транспортных происшествий, ухудшаются тягово-сцепные качества шин на большинстве опорных поверхностей (особенно увлажненных или заснеженных).
Однако на сухих дорогах шины с изношенным протектором имеют меньшие потери при деформации, что уменьшает сопротивление качению и обеспечивает сокращение, расхода топлива (рис. 1.6.3).

Рис. 1.6.3.Изменение эксплуатационных свойств автомобиля при износе протектора:
1 —расход топлива; 2 —время разгона; 3 — сила тяги на крюке.
Поэтому замену изношенных шин, на новые целесообразно проводить в начале осенне-зимнего сезона. Это будет способствовать увеличению ресурса шин. Новые шины на начальном этапе эксплуатации имеют высокую интенсивность износа протектора. На мокрых и скользких, покрытиях износ в несколько раз меньше, чем на сухих дорогах особенно при летних температурах.
Факторы, определяющие ресурс шин. Шина считается исчерпавшей свой ресурс, если износ протектора достиг предельной величины или в покрышке возникли какие-либо повреждения — порезы (разрывы) нитей корда, расслоение каркаса, вздутие протектора или боковины, сквозные пробои, отрывы бортов и др. Предельная остаточная высота рисунка протектора установлена 1 мм для шин грузовых автомобилей, 2 мм для автобусов и 1,6 мм для легковых автомобилей. Некоторые шины имеют индикаторы износа — поперечные выступы по дну канавок протектора (в шести сечениях), высота которых равна предельной. Шина должна быть снята, если при равномерном износе протектора индикатор появился в одном сечении, при неравномерном — в двух.
При отсутствии индикаторов измерение остаточной высоты протектора следует проводить в местах наибольшего износа. Согласно Правилам эксплуатации автомобильных шин, предельным износом рисунка протектора считается такой износ, когда остаточная высота выступов рисунка протектора имеет минимально допустимую величину на площади, ширина которой равна половине ширины беговой дорожки протектора, а длина равна 1 /6 длины окружности шины по середине беговой дорожки протектора, или при неравна износе — на суммарной площади такой же величины (рис. 1.6.4).

Рис. 1.6.4. Плошадь предельного износа рисунка протектора:
R- радиус шины; B- ширина профиля.
В практической деятельности удобнее исходить из того, что площадь суммарного предельного износа протектора не должна превышать участка его беговой дорожки, равного по длине половине радиуса шины.
Первым циклом эксплуатации шины считается период ее работы до износа протектора или какого-либо повреждения, которое невозможно устранить в условиях АТП. Вторым (и последующим) циклом — работа шины на новой беговой дорожке, наваренной на изношенную покрышку при отсутствии серьезных повреждений ее конструктивных элементов. Эти шины принято называть восстановленными.
Основной причиной снятия шин легковых автомобилей является износ протектора до предельной величины. У грузовых автомобилей часты случаи повреждения шин, что приводит к списанию в утиль 60—70 % снимаемых с эксплуатации шин. Причины (если всё—100%): сквозные повреждения протектора 26 %; повреждения боковин 23 %; отрыв бортов 14 %; расслоение каркаса, брекера 12 %; износ протектора до нитей корда 9 %; заводской брак 7 %, прочие причины 9 %. В большинстве случаев эти повреждения являются следствием неаккуратного вождения автомобиля, его перегрузки, плохого состояния дорог. Остальные шины (30—40 %) остаются пригодными к восстановлению, но и они имеют потери ресурса. Равно износ протектора достигается только у четвертой части шин. У остальных — различные виды неравномерного износа: односторонний, по центру, по краям, пятнистый.
При правильной эксплуатации шины ее ресурс определяется главным образом темпом износа протектора, который зависит от ряда факторов (рис. 1.6.5), причем первые две группы вызывают, как правило, равномерный износ, а неудовлетворительная реализация третьей группы факторов — различные виды неравномерного износа.

Рис. 1.6.5. Управляемость факторов, определяющих преждевременный износ протектора.
Поэтому основным показателем правильной эксплуатации шины является равномерный износ протектора. Любые отклонения в работе шины вызывают перераспределение сил в пятне контакта, проскальзывание элементов протектора, их неравномерный износ по профилю и контуру.
Ухудшение дорожного покрытия сокращает ресурс шин. По сравнению с асфальтобетонными дорогами на гравийно-щебеночных дорогах ресурс снижается примерно на 25 %, на каменистых разбитых дорогах на 50%.
Температура окружающего воздуха также влияет на ресурс шин. Повышенная температура вызывает более интенсивный нагрев шины. При этом снижается сопротивление качению, но и сокращается ресурс. Наивыгоднейший температурный режим для шины с позиции указанных параметров 70—75 °С. Температура шины до 100 °С считается допустимой, при 120 °С опасной, выше — критической. При повышении температуры от нуля до 100 °С прочность резины снижается в 2—3 раза, а прочность связи между резиной и кордом в 1,5—2 раза. При низких отрицательных температурах (минус 40 °С и ниже) непрогретые при движении шины из обычной (неморозостойкой) резины при резком троганни с места, ударах о неровности могут разорваться.
Для современных транспортных потоков скорость движения в значительной степени зависит от интенсивности движения потока. При этом особое значение приобретает также качество вождения автомобиля. Неопытный водитель неправильно выбирает скоростной режим на поворотах, резко тормозит и разгоняет автомобиль. Все это снижает ресурс шин, так как интенсивность износа протектора по мере увеличения тяговой или тормозной сил возрастает в степенной зависимости (со степенью примерно 2.2 для тяговой и 2,6 для тормозной). При увеличении скорости с 50 до 100 км/ч ресурс снижается примерно на 40 %.
Нагрузка на шину и ее ресурс также взаимосвязаны. Перегрузка шины на 10 % снижает ресурс на 20 %. Под действием повышенных нагрузок повреждается каркас, протектор изнашивается по краям беговой дорожки. В технической документации задают нагрузку на шину обычно на 5—10 % меньше допустимой. Такую нагрузку называют экономичной. Уменьшение нагрузки приводит к увеличению пробега.
Остальные факторы (см. рис. 1.6.5; с позиции технической эксплуатации представляют особый интерес, так как на них можно воздействовать, в условиях автотранспортного предприятия.
Для каждого размера шин с учетом их конструкции и экономической нагрузки устанавливают норму давления воздуха. Отклонения от нормы приводят к снижению ресурс (рис. 1.6.6, а). Особенно нежелательно пониженное давление: интенсивно изнашиваются края беговой дорожки протектора (радиальные сверхнизкопрофильные шины такому виду износа подвержены в меньшей степени).
Основную нагрузку в шине (60-70 %) несет воздух. Снижение давления воздуха вызывает большее нагружение каркаса. Увеличивается деформация шины, возрастают усталостные напряжения в каркасе, рвутся нити (особенно металло-корда), у радиальных шин отрываются борта, увеличивается расход топлива (до 15 %).
При повышенном давлении интенсивней изнашивается центральная часть беговой дорожки. Нити корда находятся под большим напряжением. На плохих дорогах резко возрастает вероятность повреждения шины.
Различают два вида дисбаланса — статический и динамический.
Статический дисбаланс — это неравномерное распределение массы шины (колеса) относительно оси вращения. Если такое колесо имеет свободу вращения, тяжелая часть всегда опустится вниз. При движении статический дисбаланс вызывает биение (колебание) колеса в вертикальной плоскости, возникает вибрация кузова, ослабевают крепежные и сварочные соединения.
Динамический дисбаланс — это неравномерное распределение массы шины (колеса) относительно центральной продольной плоскости качения колеса. При движении биение колеса происходит в горизонтальной плоскости. На детали рулевого привода и механизма (при дисбалансе передних колес), на подшипники ступицы действует знакопеременная высокочастотная нагрузка, и они интенсивнее изнашиваются. Характерным признаком такого дисбаланса является биение (вибрация) рулевого колеса.
Почти в 90 % случаев автомобильное колесо имеет оба вида дисбаланса. Их причинами может быть некачественная сборка конструктивных элементов шины при изготовлении, неправильный монтаж, а также неравномерный износ протектора в эксплуатации.
Любой вид дисбаланса вызывает пятнистый износ протектора.
Обод (диск) автомобильного колеса при сильных боковых ударах деформируется. Возникает торцовое биение 3-6 мм. Примерно 15 % дисков легковых автомобилей-такси приобретают в процессе эксплуатации биение 3—6 мм. Ресурс шины, определяемый по глубине протектора в месте наибольшего износа, сокращается до 75 % (рис. 1.6.6 б).

Рис.1.6.6. Влияние давления воздуха в шине (а) и торцевого биения диска (б) на ресурс шины: 1- диск с биением; 2 - диск без биения на другой стороне заднего моста.
На заднем мосту автомобиля биение одного колеса через балку передается на другое и тоже сокращает его ресурс. Биение нового диска по заводским условиям не должно превышать 1,2 мм.
Для грузовых автомобилей и автобусов, имеющих бездисковые колеса, торцевое биение может возникнуть при неравномерной затяжке гаек крепления. Большое влияние на износ протектора оказывают углы установки колес. Наиболее важным является угол схождения. Несоответствие его оптимальной величине резко сказывается на ресурсе шин (рис. 11.7).
При больших положительных значениях схождения на обеих передних шинах возникает односторонний пилообразный износ по наружным дорожкам протектора. При недостаточном схождении или расхождении колес односторонний пилообразный износ возникает по внутренним дорожкам. При этом также возрастает расход топлива. У легкового автомобиля при схождении 1° расход топлива увеличивается на 1,5 %.Развал оказывает заметное влияние на темп износа при значительных отклонениях от нормы (см. рис. 1.6.7). На шине возникает гладкий односторонний износ без явных признаков «пилообразное».

Рис. 1.6.7. Влияние углов схождения и развала на ресурс шины
Отклонения развала от нормы, что характерно для автомобилей с неразрезной передней балкой при их длительной эксплуатации, требуют корректировки схождения. Если это не сделать, то появится односторонний износ, как при неотрегулированном угле схождения.
Конструктивно угол развала «жестко» связан с углом поперечного наклона шкворня (оси поворота). Изменение их при регулировке или в процессе эксплуатации происходит одновременно.
Наиболее часто интенсивный односторонний износ одной шины возникает при неравенстве между собой углов продольного наклона шкворня. При этом на прямолинейном участке дороги автомобиль «тянет» в сторону.
Соотношение углов поворотов заметно влияет на износ передних шин в тех случаях, когда автомобиль много движется по закруглениям, например в условиях большого города или на горных дорогах. Характерным признаком неправильного соотношения углов поворотов является интенсивный износ одной самой крайней дорожки, что особенно заметно у шин с дорожным рисунком протектора.
В процессе эксплуатации также меняется взаимное положение мостов — нарушается их параллельность и возникает смещение одного относительно другого. Наиболее часто бывает перекос заднего моста. При этом автомобиль располагается под углом к траектории движения. На задних шинах возникает односторонний пилообразный износ — по внутренним дорожкам протектора шин одной стороны автомобиля и наружным — другой.
Если любой из видов неравномерного износа не устранить на начальном этапе возникновения, то через некоторое время протектор будет изношен волнами по всей поверхности.
На износ шин оказывают влияние и другие факторы технического состояния автомобиля: осевой люфт маятникового рычага легкового автомобиля (будет повышенный износ правой передней шины), люфты в шкворнях (шаровых опорах), подшипниках ступиц, овальность рабочей поверхности тормозных барабанов и пр. Но влияние их меньше, чем рассмотренных выше, а обнаружение и устранение не вызывают особой сложности.
ОСОБЕННОСТИ ТЕХНИЧЕСКОГО ОБСЛУЖИВАНИЯ И РЕМОНТА ШИН
Техническое обслуживание и ремонт шин, как и автомобиля, производится в соответствии с планово-предупредительной системой, но имеет свои особенности. Обслуживание шин выполняют при соответствующих видах ТО автомобиля: текущий ремонт — на шиномонтажном участке; капитальный ремонт (а под ним следует понимать восстановление шины наложением нового протектора) на специализированных предприятиях. Восстановление шин проводят, как правило, обезличенным способом, т. е. на возвращаемые на АТП шины нет информации об их эксплуатации до восстановления.
В условиях АТП шины требуют проведения монтажно-демонтажных работ, контроля давления воздуха, балансировки, ремонта повреждении камеры и незначительных повреждений покрышки, а также некоторых работ, связанных с осмотром внешнего вида шин и ведением учета их работы.
Монтажно-демонтажные работы. Сборка (разборка) шины с ободом выполняется в основном при замене шин, исчерпавших свой ресурс, или при повреждении камер. Основная сложность при демонтаже — это отжать борта шин от закраин обода. Для этих целей выпускаются промышленностью или изготавливаются силами АТП различные стенды. К промышленным образцам для шин легковых автомобилей относятся стенды моделей Ш-501М, Ш-5Н-Они снабжены нажимными пневматическими устройствами, создающими усилия 2000—3000 Н для постепенного (по окружности обода) отжатия бортов шины.
Для шин грузовых автомобилей выпускаются стенды, моделей Ш-509, Ш-513. Они снабжены нажим гидравлическими устройствами создающими усилия до 250 кН для одновременного отжатия бортов шины но всей окружности обода.
При отсутствии стендов демонтаж вынуждены проводить с помощью подручных средств. При этом часто повреждают боковины, и шипы преждевременно выходят из строя. У бескамерных шин, кроме того, повреждается слой резины на бортах, обеспечивающий герметизацию.
Накачивание шин. Смонтированную шину накачивают воздухом до требуемого давления. При накачивании грузовых шин во избежание несчастного случая при самопроизвольном выскакивании замочного кольца колеса помещают в специальную металлическую клеть. Если накачивание происходит в пути, колесо кладут замочным кольцом вниз.
Накачивают шины на АТП различными способами. Наиболее прогрессивный — с применением воздухораздаточных колонок. Они не требуют постоянного присутствия оператора, автоматически отключаются при достижении нормативного давления. Сложнее обеспечить соблюдение допуска на нормативное давление между очередными обслуживаниями: ±0,02 МПа для грузовых автомобилей и ±0,1 МПа для легковых.
Проведенные наблюдения на АТП показали, что у 40—60 % шин давление воздуха не соответствует норме. Плотности вероятностей распределения давлений, с которыми эксплуатируются шины, имеют такие характеристики: математические ожидания на 5—10 % меньше норматива, коэффициенты вариации у = 0,06-0,15. Потери ресурса шин составляют 4—10%. Объясняется это сложностью измерения давления во внутренних колесах, порчей золотников при частом их вскрытии, закупоркой вентилей грязью и т. д. Для определения средних по конкретному предприятию потерь ресурса шин в зависимости от выявленных вероятностных характеристик разработана номограмма (рис. 1.6.8).

Рис.
1.6.8. Номограмма для определении средних
но ЛТП потерь ресурса шин:
р —
отклонение среднего по АТП давления
воздуха в шинах от норматива;
- потеря ресурса; V-коэффициент
вариации.
Перспективным направлением является создание средств экспресс-контроля давления без вскрытия вентиля, оценивающих давление, например, по усилию, с которым шина сопротивляется вдавливанию в протектор или боковину специального датчика, по величине деформации боковины или протектора (рис. 1.6.9) шины.

Рис. 1.6.9. Приспособление для контроля давления воздуха в шине без вскрытия вентиля а — установка автомобиля: 6—измерение давления;
1 — указатель давления; 2 — опорная плита; 3- несущая плита; 4 — подвижные упоры; 5 - неподвижный упор; 6 — датчики перемещений; 7 — балансир; 8 — пневмокамера.
Недостатком этих средств является зависимость показаний от жесткости шины. Однако если средства экспресс-контроля на нынешнем их техническом уровне обеспечат в целом по АТП разброс давления в шинах по сравнению с нормой на уровне и = 0,05 (см. рис. 11.8) т. е. не более ±0,025 МПа для легковых автомобилей и ±0,050— 0,075 МПа для грузовых, то средние потери ресурса шин не превысят 1,5%.
Нормы давления воздуха в шинах с учётом модели автомобиля и типа шин приведены в Правилах эксплуатации автомобильных шин, которые являются официальным документом. Данные заводов-изготовителей, приведенные в руководствах по эксплуатации, носят рекомендационный характер. Контроль давления воздуха проводится при каждом техническом обслуживании. Кроме того, водитель обязан ежедневно осматривать шины и при необходимости проверять давление.
Балансировка колес. По техническим условиям заводов-изготовителей шина грузового автомобиля может иметь статический дисбаланс, равный произведению 0,5—0,7 % массы шины на ее радиус, легкового 1000—2000 г*см. Поэтому смонтированное и накачанное колесо необходимо отбалансировать. Для балансировки существуют стационарные стенды К-121 (СССР), AMR-5 (ГДР) и другие требующие снятия колеса с автомобиля, а также передвижные (подкатные) стенды К-125 (СССР), EWK-15V Польша и другие, позволяющие проводить балансировку колеса непосредственно на автомобиле.
Устраняют дисбаланс специальными балансировочными грузиками, закрепляемыми на закраинах обода в наиболее легких частях колеса.
Принцип работы стационарных стендов следующий: колесо закрепляют на валу стенда (рис. 1.6.10) и раскручивают до скорости 650— 800 об/мин. От несбалансированных масс колеса возникает поворачивающий момент, в результате чего вал стенда совершает колебания: горизонтальные, вертикальные или конусообразные (в зависимости от конструкции стенда). Амплитуда этих колебаний зависит от значения дисбаланса. Она регистрируется специальными датчиками и выводится на приборную доску

Рис. 1.6.10. Схема работы стационарного балансировочного стенда;
Р1, Р2 — несбалансированные массы шины, Р1’,P2’ — массы балансировочных грузовиков
Современные стационарные стенды обеспечивают комплексную балансировку без разделения на статическую и динамическую. Первоначально определяются самое легкое место и требуемый вес балансировочных грузиков по внешней полуплоскости колеса, затем — по внутренней. На некоторых моделях стендов определение дисбаланса по каждой полуплоскости происходит одновременно.
Передвижные стенды обеспечивают только поэтапную балансировку — вначале статическую, затем динамическую.
Принцип работы передвижных стендов (рис. 1.6.11 а) следующий. Вывешенное автомобильное колесо 4 раскручивают фрикционным шкивом / электродвигателя стенда до частоты, соответствующей скорости 120— 170 км/ч.
Датчик 7, присоединенный к нижнему рычагу 6 подвески (при статической балансировке) или к опорному тормозному щиту 5 (при динамической), преобразует колебания колеса в электрический сигнал. На измерительное устройство стенда пропускаются импульсы от самых нижних точек этого сигнала, соответствующих моментам прохождения тяжелой точки колеса через плоскость установки датчика 7. По амплитуде импульсов на стрелочном индикаторе 3 определяют необходимый вес балансировочных грузиков. Импульсы также заставляют срабатывать стробоскопическую лампу 2, при вспышках которой колесо кажется неподвижным. Данное его положение запоминается оператором по какой-либо метке, находящейся на шине. После торможения колеса, если его остановить в том положении, при котором запоминалась метка, самая тяжелая масса колеса окажется в зоне установки датчика.
При устранении статического дисбаланса грузики 8 устанавливают равномерно на обе стороны обода, чтобы не вызвать динамического дисбаланса. При устранении динамического дисбаланса грузики устанавливают по диагонали, чтобы не вызвать статического дисбаланса (рис. 1.6.11, б, в). Амплитуда электрического сигнала зависит как от значения дисбаланса, так и от жесткости пружины, состояния амортизатора, размера колеса, поэтому вес балансировочных грузиков определяется приблизительно, что требует повторения балансировки (обычно 1—2 раза) до тех пор, пока показания стенда не окажутся в пределах допуска приблизительно 10 г (массы грузика).

Рис. 1.6.11. Схема работы передвижного балансировочного стенда
Динамическую балансировку проводить значительно труднее, так как сложно обеспечить надежный контакт датчика 7 с опорным тормозным щитом. Последнее время ряд зарубежных фирм выпускают передвижные стенды только для статической балансировки. Работа на передвижных стендах требует более высокой квалификации оператора.
Статический дисбаланс можно устранить без стенда. Колесо устанавливают на легко вращающуюся ступицу. Тяжелая масса колеса опустится вниз. На противоположную сторону подбором устанавливают грузики до тех пор, пока колесо станет неподвижным в любом положении. Этот способ можно рекомендовать для балансировки колес (особенно передних) автобусов и грузовых автомобилей, для которых наша промышленность пока стендов не выпускает, а также для наварных шин, часто чрезмерный дисбаланс которых может повредить оборудование.
Балансировку колес в обязательном порядке надо проводить при монтаже новых шин, затем при каждом ТО-2. Учитывая особенность работы стационарных и передвижных стендов, опыт работы крупных таксомоторных парков можно рекомендовать применять стационарные стенды на шиномонтажных участках и в зонах ТО-2, а передвижные — на поточных линиях ТО-1 для статической балансировки ведомых колес.
Клеймение шин. Отличительным знаком каждой шины является ее заводской номер. По нему ведут учет шин на АТП. Но в процессе эксплуатации номер может стать трудно различим. На восстановленных шинах его может вообще не быть, поэтому на АТП шины клеймят, т. е. на них выжигают так называемые гаражные номера. Для этого Применяют специальные приборы: понижающий до 6 В трансформатор держатель и сменные колодки с цифрами размером 34*20 мм, изготовленными из нихромовой проволоки. При включении напряжения цифра нагревается, ее прижимают к плечевой зоне боковины. Выжигание цифр по центру боковины радиальных шин не допускается, так как это приведет к их повреждению. Глубина выжженных номеров не должна превышать 1 мм. Существуют отечественные приборы для клеймения — моделей 6224 и Ш-309.
Ремонт камер и покрышек. Поврежденные камеры ремонтируют, если они не повреждены нефтепродуктами, отсутствуют пористость и затвердевание стенок, нет пролежней глубиной более 0,5 мм в местах сгиба, размеры повреждений не превышают габаритных возможностей вулканизационных аппаратов, т. е. примерно 150 мм.
Ремонтируемые места подвергают шерохованию шлифовальным кругом или рашпилем, очищают от пыли. Не рекомендуется применение шлифовальной шкурки, так как ее абразивные зерна трудно удаляются с обработанного места. Небольшие повреждения (до 30 мм) ремонтируют наложением заплат из невулканизированной (сырой) резины, большие — заплатами из вулканизированной.
Заплаты из сырой резины при длительном ее хранении и ремонтируемое место желательно промазать 1 раз клеем концентрации 1:8 (1 часть саженаполненной клеевой резины на 8 частей бензин: Калоша). Это условие особенно важно для камер из бутилкаучука (маркировка на камере БК). Они характерны медленным диффузионным проникновением для воздуха, но хуже вулканизируются обычными материалами.
После полного просыхания клея (чтобы не образовались паровые прослойки) заплату кладут на поврежденное место, прокатывают роликом и устанавливают в вулканизационный аппарат на 15—20 мин. Температура вулканизации 143 С. Аналогичным способом ремонтируют несквозные повреждения боковин покрышек.
Заплаты из вулканизированной резины надо шероховать по краям, проложить полосками сырой резины, промазать клеем. Дальнейший процесс аналогичен изложенному выше. Для ремонта камер в путевых условиях применяют пиротехнические брикеты или портативные электровулканизаторы, работающие от аккумуляторной батареи. Последнее время получают распространение самовулканизирующиеся материалы, для которых не требуется нагрев. Отремонтированные камеры проверяют на герметичность в ванне с водой.
Электровулканизаторы для ремонта камер и несквозных повреждений покрышек выпускаются моделей 6134, 6140, Ш-109, Ш-112, Ш-113. Бескамерные шины при проколе ремонтируют без снятия их с обода (чтобы случайно не повредить уплотнительный слой на бортах). Если прокол менее 3 мм, заполняют его специальной пастой-клеем при помощи шприца, прилагаемого к комплекту шин. Проколы от 3 до 10 мм ремонтируют с помощью пробок (рис. 1.6.12, б, д). Их смазывают клеем и при помощи специального стержня вводят в отверстие. Выступающую часть срезают на 2— 3 мм выше поверхности протектора. Через 10—15 мин шину можно накачивать.

Рис. 1.6.12. Приспособления для ремонта проколов покрышек:
а — грибок; 6 — пробка; в — установка грибка шилом с игольчатым ушком; г— петля дли установки грибка; д — стержень для установки пробки
Причиной некачественного ремонта бескамерных шин может быть нахождение в отверстии талька, которым на заводе припудривают внутреннюю полость шины. Поэтому желательно прокол прочистить круглым тонким напильником (надфилем) или в крайнем случае смочить несколькими каплями бензина. Проколы (пробои) более 10 мм ремонтируют только после демонтажа шины с обода. Специальным приспособлением в прокол изнутри покрышки вводят грибок из сырой резины (см. рис. 11.12, а, в), затем вулканизируют. Аналогично ремонтируют обычные камерные покрышки.
Примерно 20—25 % шин грузовых автомобилей получают легкие местные повреждения — пробои, порезы, трещины и т. д. Без своевременного ремонта через 5—6 тыс. км пробега они увеличиваются, и шины списывают в утиль. Ремонт местных повреждений в условиях АТП значительно увеличивает период эксплуатации шин.
Основой подготовки шины являются ее очистка и сушка для обеспечения качественной вулканизации. Влажность каркаса не должна превышать 5 %. Место повреждения чаще всего обнаруживают и обследуют визуально. Для этих целей существуют. Заделку повреждений производят различными способами в зависимости от используемого материала. В каждом конкретном случае существует своя технология.
Вулканизацию покрышек проводят на специальном оборудовании, в которое устанавливают покрышку, а внутрь покрышки помещают по ее профилю нажимное устройство. Обогрев поврежденного места может быть одно- или двусторонний, при котором время вулканизации снижается на 25—30 %. Наша промышленность выпускает электровулканизаторы моделей 111-116 и 111-117.
Шины с изношенным протектором восстанавливают наложением (па-варкой) нового протектора. Это экономически выгодно. Стоимость восстановления составляет примерно 25 % стоимости новой шины. Обычно ресурс восстановленных шин достигает 40-60 %, а при использовании высококачественных резиновых смесей почти 100 % ресурса новых шин. Есть технология восстановления также покровного слоя резины на боковинах.
Диагональные шины могут оставаться пригодными к повторному, а иногда и к третьему восстановлению. Радиальные, как правило, восстанавливаются не более 1 раза. Шины восстанавливаются по первому или второму классу (ранее использовался термин категория).
К первому классу относятся покрышки без повреждения кордной ткани с ограниченным числом проколов (до пяти в зависимости от их диаметра, но не больше 10 мм). Эти пневмодефектоскопы, ультразвуковые установки и т. д., но применение их ограничено из-за высокой стоимости и сложности конструкции.
В зависимости от степени повреждения шины обработка поврежденных мест может быть различного вида (рис. 1.6.13). Выполняется она с помощью набора инструмента шиноремонтника модели Ш-308.

Рис. 1.6.13. Схема вырезки повреждений.
Клей наносят кистью или пульверизатором. В последнем случае его концентрация должна быть 1: 10.
Покрышки можно устанавливaть без ограничения на все виды транспорта кроме передней оси междугородных автобусов.
Ко второму классу относятся покрышки, имеющие ограниченные повреждения каркаса, брекера.
Эти покрышки запрещается устанавливать на передние оси легковых автомобилей, городских автобусов, троллейбусов, а также на любую ось междугородных автобусов.
Покрышки радиальной конструкции для легковых автомобилей и покрышки диагональной конструкции с нормой слойности 4 принимаются к восстановлению только по первому классу. Кроме приведенных ограничений, шины легковых автомобилей принимаются на восстановление, если с момента их выпуска предприятием-изготовителем прошло не более 10 лет.
Организация технологического процесса.
Полнота выполнения необходимых операций, ритмичность работы участков, постов и исполнителей оказывают существенное влияние на ресурс шин. Проведенный МАДИ анализ в грузовых и автобусных ДТП показал, что из-за некачественного выполнения шинных работ при ЕО и ТО-1 (несистематический контроль за давлением воздуха) потери ресурса шин составляют в среднем 4 %, при ТО-2 (выполнение не в полном объеме регулировки углов установки колес, балансировки) 11 %; на шиномонтажный участок (ШМУ) (неаккуратный демонтаж покрышек отсутствие контроля за состоянием обода) 7%. Эти потери можно объяснить отсутствием должного контроля со стороны инженерно-технической службы, а также (и в основном) несовершенством технологии и методов организации производства.
В зоне ТО-2, состоящей в большинстве случаев из универсальных постов, сложно обеспечить обслуживание шин и углов установки колес в требуемых объемах. Нужен специализированный пост с диагностическим оборудованием, потребность в котором будет возникать только в конце рабочей смены.
На ШМУ в первую половину рабочего дня поступает 65—80 % сменного объема работ. Образуется очередь, автомобили простаивают. Это вынуждает исполнителей выполнять работы в сокращенном объеме, что отражается на их качестве. Во второй половине дня исполнители загружены неполностью.
Процесс замены изношенных (поврежденных) шин на ШМУ состоит из нескольких этапов (рис. 1.6.14).

Рис. 1.6.14. Этапы и продолжительность процесса замены шин
А - продолжительность простоя автомобиля при последовательном выполнении работ, Б+В – то же, при предварительном агрегатировании шин.
Отличительной чертой 2-го и 3-го является то, что перечисленные работы не требуют присутствия автомобиля. Они могут быть выполнены заблаговременно до прихода автомобиля на обслуживание.
Такая форма организации работ получила название метода предварительного агрегатирования шин. Смысл его заключается в том, что шину заранее монтируют на оборотный обод. Действия водителя заключаются только в сдаче изношенного колеса и получении агрегатированного при оформлении соответствующих документов. Простой автомобилей сокращается в 2—3 раза.
Пост, где производят замену шин в первую половину дня, во второй половине свободен. На нем организуют проведение шинных работ по автомобилям, завершающим ТО-2. Эти работы также выполняют работники ШМУ.
Пример реального специализированного участка по комплексному обслуживанию шин в объемах работ ШМУ и зоны ТО-2 применительно к АТП на 170 автобусов и 50 легковых автомобилей такси показан на рис. 1.6.15.
ШМУ состоит из четырех отделений, каждое из которых предназначено для выполнения законченного этапа технологического процесса.

Рис. 1.6.15. Планировочное решение специализированного участка по комплексному обслуживанию шин:
А — отделение приемки; Б — отделение подготовки; В — вулканизационное отделение; Г — склад для агрегатированных шин; Д — специализированный пост для автобуса;
/ — спредер; 2— стенд для демонтажа шин автобусов; 3—вешалка для камер (настенная); 4— ванна;.5—стол; 6—клеть для накачки шин; 7—стенд для демонтажа шин при замене камер; 8 — приспособление для очистки ободьев; 9 — балансировочный стенд; 10 — стеллаж; 11 — стенд для монтажа-демонтажа шин легковых автомобилей; 12 — площадка для монтажа шин автобусов; 13 — многопостовой электровулканизатор; 14 — шкаф; 15 — электронагревательный пресс для резинотехнических изделий; 16 — верстак; 17 — вешалка для камер (передвижная); 18 — шероховальный станок; 19 — воздухораздаточная колонка; 20 — канавный подъемник; 21 — приспособление для контроля углов установки колес автобусов; 22 — гайковерт.
В соответствии с годовой программой (трудоемкостью) работы выполняет группа исполнителей из 3 чел. Режим их работы организован так, чтобы был обеспечен быстрый выпуск автомобилей в утренние часы, а замену изношенных шин произвести с минимальными потерями линейного времени. Для автобусов — это дневные часы, когда плотность пассажиропотоков снижается.
Метод предварительного агрегатирования шин требует четкого взаимодействия участка с другими производственными подразделениями: группой учета шин, складом шин, окрасочным участком, зоной ТО-2. Поэтому технологический процесс разделен на ряд основных операций с закреплением их (с учетом трудоемкостей) по исполнителям, рабочим местам и времени выполнения. Для удобства пользования технологический процесс можно представить в виде линейного графика (рис. 1.6.16). При этом упрощается оценка своевременности качества выполняемых работ каждым исполнителем. Исполнители oпeрации могут друг друга заменят:, они же отвечают за качество и объем всего требуемого перечня шинных работ, включая установку колес на автомобиль. При выполнении этой операции водителем часто не соблюдаются правила комплектования автомобиля шинами, не выдерживаются нормативы на затяжку крепежа, что приводит к снижению безопасности, а у бездисковых колес к возникновению торцевого биения.

Рис. 1.6.16 Линейный график технологического процесса обслуживании шин.
Передача основного объема работ по обслуживанию шин конкретной группе исполнителей позволяет проводить оплату труда по конечному результату степени реализации ресурса шин. При этом создаются предпосылки для перевода шинного хозяйства АТП на внутрипроизводственный хозрасчет.
2 Разработка вероятностной математической модели распределения случайных величин по значениям показателя надежности
2.1 Построение интервального вариационного ряда случайных величин
Основной целью ТЭА снижение затрат на поддержание работоспособности автомобиля в заданных эксплуатационных условиях. Наиболее эффективному решению данной задачи способствует проведение экспериментальных исследований. Это позволяет получить достоверную информацию о параметрах технического состояния автомобиля, их надежности (т.е. о ресурсах агрегатов, узлов, деталей, межремонтных пробегах и т.п.), о фактическом расходовании материальных ресурсов и трудовых затратах на производство технического обслуживания (ТО) и ремонта. Под экспериментальными исследованиями понимается как постановка специальных экспериментов – стендовых, дорожных, полигонных, когда исследователь организует и влияет на ход эксперимента, задавая различные нагрузки, режимы и т.п., так и подконтрольная эксплуатация автомобилей, выполняющих обычную транспортную работу, фиксируется и накапливается информация о всех отказах и неисправностях, пробегах нагрузках, ремонтах и т.п., а также сбор статистических данных на основании различных отчетных документов по расходу запасных частей и эксплуатационных материалов, заявки на текущий ремонт и т.д.
Одной из важных особенностей практически всех показателей и характеристик процессов ТЭА является их формирование под влиянием многих переменных факторов, точное значение которых часто неизвестно. Это так называемые вероятностные процессы. Поэтому о конкретных значениях показателей, получаемых в результате проведения эксперимента, можно говорить лишь с определенной вероятностью, а сами показатели являются случайными величинами. В этой связи с целью их изучения используется математический аппарат прикладной статистики и теории вероятностей.
Особое значение в предварительной обработке результатов эксперимента имеет анализ грубых, резко выделяющихся значений, т.е. анализ однородности экспериментального распределения. Проверим однородность экспериментальных данных по критерию Романовского.
Расположим члены выборки X>i> в порядке возрастания.
Таблица 1.
Исходный вариационный ряд.
|
i |
1 |
2 |
3 |
4 |
5 |
6 |
7 |
8 |
9 |
10 |
11 |
12 |
13 |
|
X>i> |
14.9 |
16.5 |
19.4 |
19.7 |
22.1 |
22.2 |
23.9 |
24.1 |
25.2 |
27.2 |
28.9 |
29.0 |
29.1 |
|
i |
14 |
15 |
16 |
17 |
18 |
19 |
20 |
21 |
22 |
23 |
24 |
25 |
26 |
|
X>i> |
34.5 |
35.5 |
36.0 |
37.2 |
39.6 |
39.8 |
41.6 |
42.5 |
43.2 |
45.8 |
47.3 |
48.3 |
50.8 |
|
i |
27 |
28 |
29 |
30 |
31 |
32 |
|||||||
|
X>i> |
51.1 |
52.3 |
55.3 |
61.7 |
65.6 |
70.0 |
Результаты экспиримента должны отвечать трем основным статистическим требованиям:
- эффективности оценок, т.те. минимуму дисперсии отклонения неизвестного параметра;
- состоятельности оценок, т.е. при увеличении числа (объема) экспериментальных данных оценка параметра должна стремится к его истинному значению;
- несмещенности оценок, т.е. должны отсутствовать систематические ошибки в процессе вычисления параметров.
Для обеспечения указанных требований, а также для того, чтобы экспериментальные исследования соответствовали заданной точности и достоверности, необходимо определить минимальный, но достаточный объем N>min> экспериментальных данных, при котором исследователь может быть уверен в положительном исходе.
На основании результатов экспериментальных данных X>i> вычислим:
-
среднее значение
:
;
- среднее квадратическое отклонение:
;
- коэффициент вариации:
,
который
характеризует относительную меру
рассеивания X>i>
вокруг
;
- размах вариации, характеризующий абсолютную величину рассеивания результатов эксперимента:
,
где
-
соответственно максимальное и минимальное
значение результатов эксперимента.
Применяя формулу Стеджарса, находим приближенную ширину интервала:
.
Принимаем ширину интервала: 10
Определяем число интервалов группирования экспериментальных данных:
.
Принимаем число интервалов K = 6.
2.2 Расчет числовых характеристик распределения случайных величин
Более полное, а главное, обобщенное представление о результатах эксперимента дают не абсолютные, а относительные (удельные) значения полученных данных. Так, вместо абсолютных значений числа экспериментальных данных n>i>, целесообразно подсчитать долю рассматриваемых событий в интервале, приходящихся на одно изделие (деталь, узел, агрегат или автомобиль) из числа находящихся под наблюдением, т.е. на единицу выборки. Эта характеристика экспериментального распределения называется относительной частотой (частостью) m>i >появления данного события (значений признака X>i>):
.
Относительная
частота
m>i>
при этом, в соответствии с законом
больших чисел, является приближенной
экспериментальной оценкой вероятности
появления события
.
Значения
экспериментальных точек интегральной
функции распределения
рассчитывают как сумму накопленных
частостей m>i>
в каждом интервале K>i>.
В первом интервале
во втором интервале
и т.д., т.е.

Таким
образом, значение
изменяются в интервале [0;1] и однозначно
определяют распределение относительных
частот в интервальном вариационном
ряду.
Другим
удельным показателем экспериментального
распределения является дифференциальная
функция
,
определяемая как отношение частости
к длине интервала


и
характеризующая долю рассматриваемых
событий в интервале, приходящуюся на
одно испытываемое изделие и на величину
ширины интервала. Функция
также еще называется плотностью
вероятности распределения.
Полученные результаты расчета сводим в статистическую таблицу.
Таблица 2
Результаты интервальной обработки экспериментальных данных.
|
Наименование параметра |
Обозна- чение |
Номер интервала, K>i> |
|||||
|
1 |
2 |
3 |
4 |
5 |
6 |
||
|
Границы интервала |
[a;b] |
14.5;24.5 |
24.5;34.5 |
34.5;44.5 |
44.5;54.5 |
54.5;64.5 |
64.5;74.5 |
|
Середины интервала |
|
19.5 |
29.5 |
39.5 |
49.5 |
59.5 |
69.5 |
|
Частота |
m>i> |
8 |
6 |
8 |
6 |
2 |
2 |
|
Относительная частота |
|
0.25 |
0.1875 |
0.25 |
0.1875 |
0.0625 |
0.0625 |
|
Накопленная частота |
|
8 |
14 |
22 |
28 |
30 |
32 |
|
Оценка интегральной функции |
|
0.25 |
0.4375 |
0.6875 |
0.276 |
0.875 |
1 |
|
Оценка дифференциальной функции |
|
0.025 |
0.04375 |
0.06875 |
0.0276 |
0.0875 |
0.1 |
2.3 Анализ физических закономерностей формирования распределения случайных величин по значениям исследуемого показателя
Распределение Вейбулла.
Данное распределение проявляется в модели “слабого звена”, т.е. если система состоит, из которых приводит к отказу всей системы. Распределение времени до отказа, наработки до отказа хорошо описывается распределением Вейбулла.
Многие изделия (агрегаты, узлы, системы автомобиля) при анализе модели отказа могут быть рассмотрены как состояния из нескольких элементов (участков), разрушение которых происходит при разной наработке, однако ресурс изделия в целом определяется наиболее слабым его участком.
Распределение Вейбулла - очень гибкий закон для оценки показателей надежности автомобилей. В решении задач ТЭА V>x>=0.35…0.8. Закон Вейбулла хорошо описывает процессы, где на отказ действуют причины износа и усталости.
Математическая модель распределения Вейбулла задается двумя параметрами, что обуславливает широкий диапазон его применения на практике.
Дифференциальная функция имеет вид:

где
-случайная
величина (пробег)
-параметр
формы
-параметр
масштаба
Интегральная функция имеет вид:

2.4 Расчет параметров математических моделей
Распределение Вейбулла
Распределение Вейбулла - очень гибкий закон для оценки показателей надежности автомобилей. В решении задач ТЭА V>x>=0.35…0.8. Закон Вейбулла хорошо описывает процессы, где на отказ действуют причины износа и усталости.
Математическая модель распределения Вейбулла задается двумя параметрами, что обуславливает широкий диапазон его применения на практике. Дифференциальная функция имеет вид:

где
-случайная
величина (пробег)
-параметр
формы
-параметр
масштаба
Интегральная функция имеет вид:

Заготавливаем статистическую таблицу
Таблица 2.4
|
Наименование параметра |
Номер интервала |
|||||
|
1 |
2 |
3 |
4 |
5 |
6 |
|
|
1.Границы интервалов |
15 |
30 |
45 |
60 |
75 |
90 |
|
30 |
45 |
60 |
75 |
90 |
105 |
|
|
2.Середины интервалов |
22,5 |
37,5 |
52,5 |
67,5 |
82,5 |
97,5 |
|
3.Опытные числа попаданий в интервалы m |
6 |
2 |
6 |
2 |
1 |
1 |
|
4.Опытные частоты попаданий в интервалы |
0,333 |
0,111 |
0,333 |
0,111 |
0,056 |
0,056 |
|
5. Вход в статистическую таблицу |
0,4 |
0,7 |
1 |
1,3 |
1,6 |
1,9 |
|
6. Табличные значения функции α=f(x>i>) |
0,6685 |
0,8595 |
0,7485 |
0,484 |
0,244 |
0,0955 |
|
7. Теоретические вероятности попадания в интервалы P>i> |
0,191 |
0,245 |
0,213 |
0,138 |
0,07 |
0,027 |
|
8. Теоретические числа попаданий в интервалы m* |
3,438 |
4,41 |
3,834 |
2,484 |
1,26 |
0,486 |
|
9. Слагаемые критерия Пирсона |
1,9092 |
1,317 |
1,224 |
0,094 |
0,054 |
0,544 |
|
10. Вероятности исправной работы |
0,855 |
0,615 |
0,37 |
0,176 |
0,067 |
0,027 |
|
11. Теоретическая функция распределения F(x>i>) |
0,191 |
0,436 |
0,649 |
0,787 |
0,857 |
0,884 |
|
12.Экспериментальные значения интегральной функции F(x>i>)>э> |
0,333 |
0,444 |
0,777 |
0,888 |
0,944 |
1 |
Вычисляем статистическое математическое ожидание (генеральное среднее)


Вычисляем статистическую дисперсию


Находим несмещенное значение дисперсии



Находим коэффициент вариации

По
таблицам для найденного коэффициента
вариации находим значение первого
параметра закона- параметра формы,
равного

Находим второй параметр закона - параметр масштаба:


при этом значение, обратное параметру масштаба, составляет

Вычисляем теоретические вероятности попаданий в интервал.

Составляем
входы в статистические таблицы и
определяем




Заносим полученные входы в строку 5 табл. 2.4
С
помощью полученных входов для
,
находим (путем интерполяции) значения
функции

Указанные значения составляют:



Находим дифференциальную функцию распределения:




Находим теоретические вероятности попадания случайной величины в интервалы:




Таким образом заполняем строку 7 табл. 2.4
Вычисляем теоретические числа попадания в интервал:




Заполняем строку 8 табл. 2.4
Вычисляем слагаемые критерия Пирсона:




Заполняем строку 9 табл. 2.4
Суммируя слагаемые критерия Пирсона по интервалам, получаем

Проверяем правдоподобность принятия гипотезы о принадлежности опытных данных к закону Вейбулла.

Следовательно, по критерию Пирсона при уровне значимости α=0,05 гипотеза о принадлежности опытных данных к закону Вейбулла не отвергается.
Проверим правдоподобность по критерию Романовского:
- гипотеза не
отвергается.
Расчет критерия Колмогорова.
В каждом из интервалов определяем модуль разности между экспериментальными значениями интегральной функции F(x>i>)>э> и теоретическими F(x>i>), т.е.

и выбираем максимальное значение D>max>. Вычисляем расчетное значение критерия:



Таким образом, по критерию Колмогорова гипотеза не отвергается.
Заключение
При
выполнении данной курсовой работы были
просчитаны законы распределения:
Вейбулла, экспоненциальный и
-
распределение. Эти законы распределения
отвергаются по всем критериям и однозначно
не подходят к данному вариационному
ряду.
Выводы : В результате проделанных расчетов мы можем сделать вывод, что в нашем случае больше всего подходит нормальное распределение времени проверки состояния и крепления рулевых тяг автомобилей BMW. Мы это заключение сделали на основании рассчитанных критериев о принадлежности той или иной гипотезы. Выбранное распределение не отвергается не по одному из критериев и имеет наименьшее их значение:
-
критерий Романовского:

-
критерий Пирсона:

-
критерий Колмогорова:



