Выбор и расчёт схем электроснабжения завода
МО РФ АПТ
Специальность 1806
КУРСОВОЙ ПРОЕКТ
по дисциплине электроснабжение.
Тема: Выбор и расчёт схем электроснабжения завода.
Выполнил студент группы ЭОЭО- 33
Борисенко Андрей Александрович.
Руководитель: Осин Юрий Алексеевич.
2004 г.
Содержание
Введение…………………………………………………………………………...3
1. Пояснительная записка.
Выбор рода тока и напряжения……………………………………….….5
Выбор схемы внешнего и внутреннего электроснабжения……………6
2. Расчетная часть.
2.1. Определение расчетных электрических нагрузок……..............................7
2.2. Выбор числа и мощности цеховых трансформаторов и подстанции…14
2.3. Расчет потерь мощности в трансформаторах…………………………..19
2.4. Выбор марки и сечения кабелей………………………………………….23
2.5. Расчет токов короткого замыкания……………………………………….32
2.6. Проверка выбранных кабелей на термическую устойчивость…………42
2.7. Выбор аппаратуры и оборудования распределительных устройств и трансформаторных подстанций………………………………………………..45
2.8. Компенсация реактивной мощности…………………................................56
3. Литература.
3.1. Список литературы……………………………………………………….....57
Введение.
Развитие промышленности обеспечивается внедрением новейших технологий.
Первое место по количеству потребляемой электроэнергии принадлежит промышленности, на долю которой приходится более шестидесяти процентам всей вырабатываемой в стране электроэнергии. С помощью электрической энергии приводятся в движение миллионы станков и механизмов, освещаются помещения, осуществляется автоматическое управление производственными процессами. Сейчас существуют технологии, где электроэнергия является единственным энергоносителем.
Промышленные предприятия с мощностью выше 1000 кВ составляют девяносто семь процентов. Установленная мощность электрооборудования современных металлопрокатных цехов достигает 150-200 мВт около пятнадцати процентов от мощности электростанции. Энергоемкие предприятия обладают высокой степенью энерговооруженности и автоматизации. Основой развития электроэнергетики является сооружение электростанций большой мощности. В Российской федерации работают электростанции с мощностью выше 1000 МВт каждая.
В условиях ускорения научно-технологического прогресса потребления электроэнергии в промышленности значительно увеличивается благодаря созданию гибких роботизированных и автоматизированных производств, так называемых безлюдных технологий. Робототехника используется чаще всего на тех участках промышленного производства, которые представляют опасность для здоровья людей, а также на вспомогательных и подъемно-транспортных работах.
В 1920 году по заданию В. И. Ленина Государственной комиссией по электрификации России (ГОЭЛРО) был разработан первый единый государственный перспективный план восстановления и развития народного хозяйства. Планом ГОЭЛРО на пятнадцать лет было намечено строительство крупных предприятий и более тридцати районных электростанций. В 1935 году план ГОЭЛРО был перевыполнен по всем показателям.
Война 1941-1945 годов принесла огромный ущерб народному хозяйству, но благодаря самоотверженному труду советских людей уже к 1946 году мощность электростанций СССР достигла уровня 1940 года.
СССР является родиной ядерной энергетики. В 1954 году дала ток первая в мире атомная электростанция близ города Обнинска мощностью пять мега ват. Через двадцать лет мощность одного блока Ленинградской АЭС превысила мощность электростанции в Обнинске в двести раз. Такие блоки мощностью в 1000 МВт стали серийными для многих АЭС страны. Одновременно с атомными электростанциями строятся приливные геотермальные, ветровые, солнечные электростанции.
Производство электроэнергии в нашей стране базируется, главным образом, на работе атомных и тепловых электростанций.
1. Пояснительная записка.
Выбор рода тока и напряжения.
Исходя из задания экономически целесообразно для питания завода использовать линии с переменным током, а не с постоянным, так как для питания завода постоянным током требуется дополнительное оборудование, что увеличивает затраты на производство электроэнергии. Двигатели постоянного тока на заводе не применяется потому-то нет необходимости регулировать частоту вращения в больших пределах.
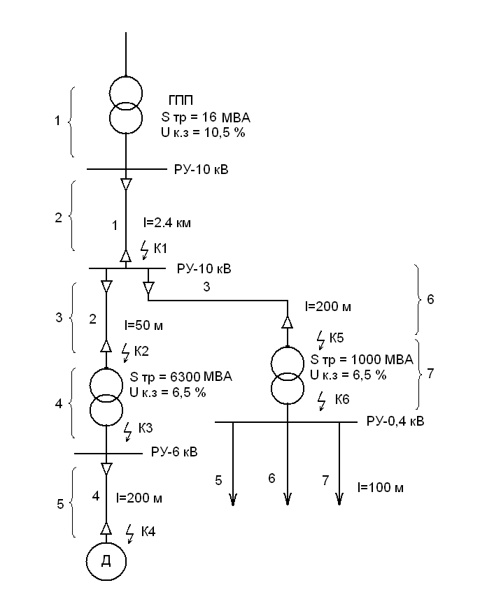
Завод можно питать напряжением 6 и 10 кВ, но так как расстояние от ГПП до завода два километра четыреста метров, экономически целесообразно использовать напряжение линии 10 кВ при этом потери электроэнергии будут меньше чем при напряжение 6 кВ.
На заводе присутствуют высоковольтные двигатели напряжением 10 кВ минимальной мощности. 800 кВт, а в задание сказано, что минимальная мощность двигателей меньше 800 кВт.
Низковольтные двигатели хорошо запитывать от сети напряжением 380 и 660 В. У двигателей напряжением 660 В минимальная мощность 200кВт. В задание максимальная мощность не превышает 100 кВт отсюда следует, что для питания низковольтных двигателей примем напряжение 380 В от этой же сети будем питать осветительную нагрузку.
1.2 Выбор схемы внешнего и внутреннего электроснабжения.
В задание говорится, что завод является потребителем первой категории. Из этого следует, что питание будет производится по двум линиям электропередач, от ГПП, где установлены два трансформатора, экономически целесообразно использовать кабельные линии проложенные в земле, так как расстояние от ГПП до распределительной подстанции меньше 10 километров. Каждый трансформатор подключен к отдельной линии, это связано с тем, что при аварии на первой линии работа будет продолжатся, так как вторая возьмет на себя всю нагрузку.
Для внутреннего электроснабжения цехов. Питание высоковольтные двигатели от трансформаторов с напряжением первичной обмотки10 кВ вторичной 6 кВ, а для низковольтных двигателей и осветительной нагрузки устанавливаем трансформатор с напряжением первичной обмотки10 кВ вторичной 0,4 кВ.
2. Расчетная часть
2.1 Определение расчетных электрических нагрузок.
а) Определим расчетные электрические нагрузки для первой подгруппы.
U ном = 6 кВ
Р ном = 380 кВт
Кu = 0.63
Cos = 0.82
= 0.87
n = 26
Здесь и далее по тексту формул использованы сокращения:
U ном - номинальное напряжение сети.
Р ном - номинальный мощность двигателя.
Кu - коэффициент использования активной мощности.
Cos - коэффициент мощности.
- коэффициент полезного действия.
n - количество двигателей.
S - полная мощность.
Q - реактивная мощность.
I - ток.
P ном. - алгебраическая сумма активных мощностей.
Найдем номинальный ток.

Найдем число приемников электроэнергии.
Зная число приемников электроэнергии найдем коэффициент максимума по таблице.

Найдем среднею мощность из формулы
.

Зная среднею мощность, определим максимальную.

Найдем полную мощность.

Зная полную мощность определим реактивную.

Найдем максимальный ток.

б) Определим расчетные электрические нагрузки для второй подгруппы.
U ном = 0,4 кВ
Р ном = 20 КВт
Кu = 0,46
Cos = 0,86
= 0,87
n = 84
Найдем номинальный ток.

Найдем число приемников электроэнергии.
Зная число приемников электроэнергии, найдем коэффициент максимума по таблице.

Найдем среднею мощность из формулы
.

Зная среднею мощность, определим максимальную.

Найдем полную мощность.

Зная полную мощность, определим реактивную.

Найдем максимальный ток.

в) Определим расчетные электрические нагрузки для третей подгруппы.
U ном = 0,4 кВ
Р ном = 16 КВт
Кu = 0,54
Cos = 0,82
= 0,86
n = 82
Найдем номинальный ток.


Найдем число приемников электроэнергии.
Зная число приемников электроэнергии, найдем коэффициент максимума по таблице.

Найдем среднею мощность
из формулы
.

Зная среднею мощность, определим максимальную.

Найдем полную мощность.

Зная полную мощность, определим реактивную.

Найдем максимальный ток.

г) Определим расчетные электрические нагрузки для четвертой подгруппы.
U ном = 0,4 кВ
Р ном = 70 КВт
Кu = 0,52
Cos = 0,87
= 0,83
n = 35
Найдем номинальный ток.

Найдем число приемников электроэнергии.

Зная число приемников электроэнергии, найдем коэффициент максимума по таблице.

Найдем среднею мощность из формулы
.

Зная среднею мощность, определим максимальную.

Найдем полную мощность.

Зная полную мощность, определим реактивную.

Найдем максимальный ток.

д) Определим расчетные электрические нагрузки для пятой подгруппы.
Р ном = 120 КВт
Cos = 0,89
U ном = 0,4 кВ
Принимаем Кu = 1, Кmax = 1.
Найдем среднею мощность из формулы
.

Зная среднею мощность, определим максимальную.

Найдем полную мощность.

Зная полную мощность, определим реактивную.

Найдем максимальный ток.

Все исходные и полученные данные заносим в таблицу
№1.Таблица №1.
|
№ п.п |
Р ном |
N |
Р ном |
К u |
Cos |
Tg |
N эф |
К max |
P ср |
P max |
Q max |
S max |
U ном |
I max |
|
кВт |
шт. |
кВт |
шт. |
кВт |
кВт |
кВА |
кВА |
кВ |
А |
|||||
|
1 |
320 |
26 |
9880 |
0,63 |
0,82 |
0,69 |
26 |
1,128 |
6224 |
7020 |
4843 |
8560 |
6 |
824 |
|
2 |
20 |
84 |
1680 |
0,46 |
0,86 |
0,59 |
84 |
1,114 |
772 |
844 |
507 |
1000 |
0,4 |
835 |
|
3 |
16 |
82 |
1312 |
0,54 |
0,82 |
0,69 |
82 |
1,104 |
708 |
776 |
539 |
952 |
0,4 |
1375 |
|
4 |
70 |
35 |
2450 |
0,52 |
0,87 |
0,57 |
35 |
1,154 |
1274 |
1466 |
838 |
1689 |
0,4 |
2440 |
|
5 |
120 |
- |
- |
1 |
0,89 |
0,51 |
- |
1 |
120 |
120 |
61 |
135 |
0,4 |
195 |
2.2 Выбор числа и мощности цеховых трансформаторов и подстанций.
Выбираем число подстанций и мощность трансформаторов для питания потребителей U=0.4 кВ, если установленная мощность на предприятии S=3776,в составе предприятия имеются потребители первой категории, так как в составе предприятия есть потребители первой категории, то для обеспечения надежности и бесперебойности электроснабжения на каждой трансформаторной подстанции необходимо предусмотреть установку двух одинаковых по мощности трансформаторов, загрузку трансформаторов нужно производить так, в нормальном режиме каждый трансформатор должен работать в экономически целесообразном режиме, то есть с загрузкой 60-70% от его номинальной мощности. В аварийном режиме, когда один трансформатор отключился, а оставшийся в работе трансформатор взял бы на себя нагрузку отключившегося трансформатора, и его перегрузка составляла 20-40%. для питания низковольтной нагрузки будем использовать трансформаторные подстанции, на которых устанавливается специальные силовые трансформаторы ТМЗ.
Эти трансформаторы выпускают напряжением на первичной обмотки 6-10 кВ, а вторичной 0,4 кВ. Номинальной мощности 630, 1000, 1600 кВА.
Допустим, что в нормальном режиме каждый трансформатор на подстанции работает с коэффициентом загрузки 0,65. Когда в аварийном режиме один трансформатор берет на себя двойную загрузку коэффициент загрузки 1,3. Так как ни один из выпускаемых трансформаторов ТМЗ с учетом допустимых перегрузок не может взять на себя всю нагрузку предприятия то необходимо выбрать несколько трансформаторных подстанций.
Здесь и далее по тексту формул использованы сокращения:
S max - максимальная полная мощность.
S п/ст. - мощность подстанции.
n - количество подстанций.
S тр. - мощность трансформатора.
К з.а - коэффициент загрузки в аварийном режиме.
К з.н - коэффициент загрузки в нормальном режиме.
Найдем необходимое число подстанций.
Определяем мощность для двух подстанций.

Определяем ореинтеровочную мощность трансформатора, считая, что в аварийном режиме его коэффициент загрузки должен быть 1,3.

Определим коэффициент загрузки в нормальном режиме для каждого подварианта.
1а) Трансформатор мощностью 1000 кВА.


1б) Трансформатор мощностью 1600 кВА.


2) Определяем мощность для трех подстанций.

Определяем ореинтеровочную мощность трансформатора, считая, что в аварийном режиме его коэффициент загрузки должен быть 1,3.

Определим коэффициент загрузки в нормальном режиме для каждого подварианта.
2а) Трансформатор мощностью 630 кВА.


2б) Трансформатор мощностью 1000 кВА.


Вывод: Из всех вариантов выбираем 2б. Ориентировочная мощность трансформатора 630 кВА, считаем, что в аварийном режиме его коэффициент загрузки должен быть от 0,6 до 0,7.
Марка трансформатора ТМЗ-1000/10-65 первичная обмотка напряжением 10 кВ вторичная 1 кВ.
Р х.х = 3,3 кВА
Р к.з =12,3 кВА
U к.з = 5,5 %
I х.х = 2,8 %
Для высоковольтной линии берем одну трансформаторную подстанцию, в аварийном режиме трансформатор возьмет на себя всю нагрузку и будет перегружен на 30%, то есть будет работать с коэффициентом загрузки 1,3.
Определяем ореинтеровочную мощность трансформатора.

Определим коэффициент загрузки.
а) Трансформатор мощностью 6300 кВА.


б) Трансформатор мощностью 10000 кВА.


Вывод: Из всех вариантов выбираем 2а. Ориентировочная мощность трансформатора 630 кВА считая, что в аварийном режиме его коэффициент загрузки должен быть от 0,6 до 0,7.
Марка трансформатора ТМ-6300/10 первичная обмотка напряжением 10 кВ вторичная 6,3 кВ.
Р х.х = 12,3 кВА
Р к.з = 46,5 кВА
U к.з = 6,5 %
I х.х = 3 %
2.5 Расчет потерь мощностей в трансформаторах.
Здесь и далее по тексту формул использованы сокращения:
Q - реактивная мощность.
X - индуктивное сопротивление.
P - активная мощность.
U - напряжение.
Рассчитываем потери мощности в силовом трансформаторе марки
ТМ-6300/10 напряжение питающей цепи 10 кВ.
S
max
= 417 кВА,

Найдем потери мощности холостого хода.

Найдем
потери мощности при коротком замыкании.

Определим индуктивное сопротивление.

Зная индуктивное сопротивление определим реактивные потери трансформатора.

Найдем потери мощности в трансформаторе.

Найдем потери полной мощности в трансформаторе.

Определяем полную мощность.

Зная полную мощность, найдем ток.

Рассчитываем потери мощности в силовом трансформаторе марки
ТМ-1000/10 напряжение питающей цепи 10 кВ.
Найдем потери мощности холостого хода.

Найдем потери мощности при коротком замыкании.

Определим индуктивное сопротивление.

Зная индуктивное сопротивление, определим реактивные потери трансформатора.

Найдем потери мощности в трансформаторе.

Найдем потери полной мощности в трансформаторе.

Определяем полную мощность.

Зная полную мощность, найдем ток.

Все исходные и полученные данные заносим в таблицу №2.
Таблица №2.
|
№ п.п |
S тр |
U н1 |
U н2 |
I х.х |
U к.з |
P х.х |
P к.з |
Q х.х |
К н |
К з.а |
X тр |
|
кВ |
кВ |
кВ |
% |
% |
кВт |
кВ |
кВар |
кВар кВар |
Ом |
||
|
1 |
6300 |
10 |
6 |
3 |
6,5 |
12,3 |
46,5 |
189 |
0,05 |
1,36 |
0,00103 |
|
2 |
1000 |
10 |
0,4 |
2,8 |
5,5 |
3,3 |
12,2 |
28 |
0,05 |
1,26 |
0,0055 |
Продолжение таблицы №2.
|
К з.н |
P тр |
Q тр |
S тр |
P max |
Q max |
S max |
S n |
I n |
|
кВар |
кВар |
кВА |
кВт |
кВар |
кВА |
кВа |
А |
|
|
0,68 |
140 |
755 |
769 |
7020 |
4843 |
8560 |
9329 |
534 |
|
0,63 |
28 |
115 |
118 |
1069 |
648 |
1258 |
1376 |
79 |
2.4 Выбор марки и сечения кабелей.

Принимаем следующие длины кабелей.
L>1 >= 2.4 км.
L>2 >= 50 м.
L>3 >= 200 м.
L>4 >= 200 м.
L>5-7 >= 100 м.
Поправочные коэффициенты на число кабелей лежащих рядом в земле или в трубах.
-
N
1
2
3
4
5
6
k
1
0,9
0,85
0,8
0,78
0,75
Для кабелей проложенных по воздуху поправочные коэффициенты не учитываются.
В качестве высоковольтных кабелей будем выбирать марку ААШВ. В качестве низковольтных АВВГ (5-7 кабель).
Примем экономическую плотность тока по ПУЭ jэк =1,8 А/мм2. Эта величина будет использоваться при выборе высоковольтных кабелей.
Для выбора низковольтных
кабелей табличное значение экономической
плотности тока увеличиваем на сорок
процентов
.
Принимаем Xо =0,08 Ом/км.
Здесь и далее по тексту формул использованы сокращения:
I - ток.
S эк. - сечение кабеля.
j эк - экономическую плотность тока.
n каб. - число кабелей.
U - потери напряжения.
r - активное сопротивление.
- коэффициент полезного действия двигателя.
К >ПК> – поправочный коэффициент.
Выбираем марку и сечения первого кабеля.
Найдем полный ток нагрузки.

Определяем экономическое сечение кабеля.
Зная полный ток нагрузки, находим ток кабеля.

Определим пропускной ток кабеля.

Выбираем наибольшее сечение кабеля, а по нему ближайшее стандартное и длительно допустимый ток по таблице.
S длит. доп. = 185 мм2, I длит. доп. = 310 А.
Найдем пропускной ток линии.
Рассчитаем активное сопротивление.

Находим коэффициент мощности.

Зная cos, находим при помощи калькулятора sin.

Рассчитаем потери напряжение.
Так как потери напряжения меньше пяти процентов значит кабель марки ААШВ-10-3(3185) выбран правильно и подходит по длительно допустимому току.
Выбираем марку и сечения второго кабеля.
Найдем полный ток нагрузки.

Определяем экономическое сечение кабеля.
Зная полный ток нагрузки, находим ток кабеля.

Определим пропускной ток кабеля.

Выбираем наибольшее сечение кабеля, а по нему ближайшее стандартное и длительно допустимый ток по таблице.
S длит. доп. = 240 мм2, I длит. доп. = 270 А.
Найдем пропускной ток линии.
Рассчитаем активное сопротивление.

Находим коэффициент мощности.

Зная cos, находим при помощи калькулятора sin.

Рассчитаем потери напряжение.
Так как потери напряжения меньше пяти процентов значит кабель марки ААШВ-10-2(3240) выбран правильно и подходит по длительно допустимому току.
Выбираем марку и сечения третьего кабеля.
Найдем полный ток нагрузки.

Определяем экономическое сечение кабеля.
Зная полный ток нагрузки, находим ток кабеля.

Выбираем наибольшее сечение кабеля, а по нему ближайшее стандартное и длительно допустимый ток по таблице.
S длит. доп. = 50 мм2, I длит. доп. = 105 А.
Найдем пропускной ток линии.
Рассчитаем активное сопротивление.

Находим коэффициент мощности.

Зная cos, находим при помощи калькулятора sin.

Рассчитаем потери напряжение.
Так как потери напряжения меньше пяти процентов значит кабель марки ААШВ-10-(350) выбран правильно и подходит по длительно допустимому току.
Выбираем марку и сечения четвертого кабеля.
Найдем полный ток нагрузки.

Определяем экономическое сечение кабеля.
Зная полный ток нагрузки, находим ток кабеля.

Выбираем наибольшее сечение кабеля, а по нему ближайшее стандартное и длительно допустимый ток по таблице.
S длит. доп. = 35 мм2, I длит. доп. = 85 А.
Найдем пропускной ток линии.
Рассчитаем активное сопротивление.

Находим коэффициент мощности.

Зная cos, находим при помощи калькулятора sin.

Рассчитаем потери напряжение.
Так как потери напряжения меньше пяти процентов значит кабель марки ААШВ-6-(335) выбран правильно и подходит по длительно допустимому току.
Выбираем марку и сечения пятого кабеля.
Найдем полный ток нагрузки.

Определяем экономическое сечение кабеля.
Зная полный ток нагрузки, находим ток кабеля.

Выбираем наибольшее сечение кабеля, а по нему ближайшее стандартное и длительно допустимый ток по таблице.
S длит. доп. = 16 мм2, I длит. доп. = 55 А.
Найдем пропускной ток линии.
Рассчитаем активное сопротивление.

Находим коэффициент мощности.

Зная cos, находим при помощи калькулятора sin.

Рассчитаем потери напряжение.
Так как потери напряжения меньше пяти процентов значит кабель марки АВВГ-1-(316+110) выбран правильно и подходит по длительно допустимому току.
Выбираем марку и сечения шестого кабеля.
Зная полный ток нагрузки, находим ток кабеля.

Определяем экономическое сечение кабеля.
Зная полный ток нагрузки, находим ток кабеля.

Выбираем наибольшее сечение кабеля, а по нему ближайшее стандартное и длительно допустимый ток по таблице.
S длит. доп. = 16 мм2, I длит. доп. = 55 А.
Найдем пропускной ток линии.
Рассчитаем активное сопротивление.

Находим коэффициент мощности.

Зная cos, находим при помощи калькулятора sin.

Рассчитаем потери напряжение.
Так как потери напряжения меньше пяти процентов значит кабель марки АВВГ-1-(316+110) выбран правильно и подходит по длительно допустимому току.
Выбираем марку и сечения седьмого кабеля.
Найдем полный ток нагрузки.

Определяем экономическое сечение кабеля.
Зная полный ток нагрузки, находим ток кабеля.

Выбираем наибольшее сечение кабеля, а по нему ближайшее стандартное и длительно допустимый ток по таблице.
S длит. доп. = 95 мм2, I длит. доп. = 155 А.
Найдем пропускной ток линии.
Рассчитаем активное сопротивление.

Находим коэффициент мощности.

Зная cos, находим при помощи калькулятора sin.

Рассчитаем потери напряжение.
Так как потери напряжения меньше пяти процентов значит кабель марки АВВГ-1-(395+135) выбран правильно и подходит по длительно допустимому току.
2.5 Расчет токов короткого замыкания.

Построим схему замещения для расчета токов короткого замыкания.

За базисную мощность принимаем мощность трансформатора установленного на ГПП Sб = 16 МВА.
Здесь и далее по тексту формул использованы сокращения:
Sб - полная базисная мощность.
Iб - базисный ток.
U ном. - номинальное напряжение.
Xб - базисное индуктивное сопротивление.
rб - базисное реактивное сопротивление.
Определим базисные токи для всех точек короткого замыкания.
Для точек К1; К2; K5 базисные токи равны.

Для точек К3 и К4 базисные токи равны.
Для точки К6 базисные токи равны.
Определяем относительные базисные сопротивления для элементов расчетной схемы:
Для первого трансформатора учитывается только индуктивные сопротивления.

Для первой кабельной линии необходимо рассчитывать активные и индуктивные сопротивления.


Для второй кабельной линии необходимо рассчитывать активные и индуктивные сопротивления.


Для третей кабельной линии необходимо рассчитывать активные и индуктивные сопротивления.


Для второго трансформатора учитывается только индуктивные сопротивления.

Для четвертого кабельной линии необходимо рассчитывать активные и индуктивные сопротивления.


Для третьего трансформатора учитывается только индуктивные сопротивления.

Определяем суммарные относительные базисные сопротивления для точек К1, К2, К3, К4, К5, К6 и рассчитываем токи и мощности коротких замыканий в этих точках.
Точка К1.
Определяем индуктивное сопротивление.

Находим ток в точки К1.

Определяем мощность короткого замыкания.

Находим ударный ток.

Точка К2.
Определяем индуктивное сопротивление.

Рассчитаем активное сопротивление.
- значит, активное сопротивление необходимо учитывать.
Полное сопротивление будет находится так:

Находим ток в точке К2.

Определяем мощность короткого замыкания.


Находим ударный ток.

Точка К3.
Определяем индуктивное сопротивление.

Рассчитаем активное сопротивление.
- значит, активное сопротивление необходимо учитывать.
Полное сопротивление будет находится так.

Находим ток в точке К2.

Определяем мощность короткого замыкания.


Находим ударный ток.

Точка К4.
Определяем индуктивное сопротивление.

Рассчитаем активное сопротивление.
- значит, активное сопротивление не учитывается.
Находим ток в точке К2.

Определяем мощность короткого замыкания.


Находим ударный ток.

Точка К5.
Определяем индуктивное сопротивление.

Рассчитаем активное сопротивление.
- значит, активное сопротивление необходимо учитывать.
Полное сопротивление будет находиться так.

Находим ток в точке К2.

Определяем мощность короткого замыкания.


Находим ударный ток.

Точка К6.
Определяем индуктивное сопротивление.

Находим ток в точки К1.

Определяем мощность короткого замыкания.


Находим ударный ток.

2.6 Проверка выбранных кабелей на термическую устойчивость к токам короткого замыкания.

Минимальное сечение кабеля по термической устойчивости и токам короткого замыкания определяется по формуле.
- коэффициент термической устойчивости, для алюминия он равен двенадцати.
Iк - ток короткого замыкания в конце кабеля.
tn - приведенное время которое определяется по кривым.
tn = ( t, " ).

Так как точки короткого замыкания находятся на большом расстояние от источника питания то можно считать Iк = I = I" = In
" = 1
t - действительное время протекания тока короткого замыкания от момента возникновения до момента отключения короткого замыкания, это время состоит из времени срабатывания защиты и времени срабатывания выключателя.
t = tзащиты + tвык.
Защита должна быть выполнена по ступенчатому признаку, то есть каждая последующая защита, считая от потребителя к источнику питание должно быть больше по времени на ступень времени (t).
Примем t = 0,5 с.
Примем время срабатывания защиты первой ступени tзащ.1=0,5 с.
Ориентируясь на использование вакуумных высоковольтных выключателей примем собственное время срабатывания выключателя при отключение tвык. = 0,1 с, тогда действительное время первой ступени защиты будет t1 = tзащ. + tвык. = 0,5 + 0,1 = 0,6 с.
Время второй ступени защиты t2 = t1 + t + tвыкл.= 0,6+0,5+0,1=1,2с.
Действительное время третей защиты t3 = t2 + t + tвыкл. = 1.2+0.5+0.1=1.8 c.
Пользуясь кривыми для определения приведенного времени, находим его.
Для первой ступени tn1 = 0,68 с,
второй ступени tn2 = 0.92 с,
третей ступени tn3 = 1,22 с.
Определим минимальное сечение первого кабеля по термической устойчивости.

По термической устойчивости первый кабель марки
ААШВ-10-3(3185) подходит, так как 107<3185.
Определим минимальное сечение второго кабеля по термической устойчивости.

По термической устойчивости первый кабель марки
ААШВ-10-2(3240) подходит, так как 79<3240.
Определим минимальное сечение третьего кабеля по термической устойчивости.

По термической устойчивости первый кабель марки
ААШВ-10-(350) не подходит, так как 53>50 значит выбираем кабель марки ААШВ-10-(370).
Определим минимальное сечение четвертого кабеля по термической устойчивости.

По термической устойчивости первый кабель марки
ААШВ-6-(335) не подходит, так как 60>35 значит выбираем кабель марки ААШВ-6-(370).
2.7 Выбор аппаратуры и оборудования распределительных подстанций.
Выбор аппаратуры и оборудования на РУ-10 кВ.
Ввод 1
Ввод 2


















РУ – 10 кВ
Секция 1
Секция 2


















































































































резерв
НТМИ - 10











РУ – 6 кВ
РУ – 0,4 кВ
(n штук)
На РУ-10 кВ выбираем высоковольтные выключатели и трансформаторы тока. Выключатели вбираются по номинальному току и номинальному напряжению, месту установки и проверяются на отключающую способность на термическую и динамическую устойчивость к токам короткого замыкания.
Ориентируемся на использование комплектных распределительных устройств типа КРУ и вакуумные выключатели тока ВВТЭ-М.
Вакуумные выключатели выпускаются на напряжение 6 кВ и 10 кВ.
Номинальные ток 630, 1000, 1600.
Выбираем вводной выключатель.
,
где I рас. - расчетный ток.
I n - ток кабеля.
S - мощность трансформатора.
Предварительно выбираем выключатель на 1000 ампер.
Составляем сравнительную таблицу.
Таблица № 3.
|
Расчетные величины |
Допустимые величины |
|
Uном = 10 кВ рас. = 771 А к.з = 8,07 кА iуд. = 20,48 кА Sк.з = 139 мВА
|
Uном. = 10 кВ ном. = 1000 А отк. = 20 кА iуд. = 51 кА Sотк. = 350 мВА
|
Так как ни один из расчетных величин не превышает соответствующего значения допустимой величины, то окончательно принимаем к установке выключатель ВВТЭ-М-10-20-1000.
Выбираем на ввод трансформатора тока.
Трансформаторы тока выбираемся по номинальному напряжению и номинальному току первой обмотки и проверяются на термическую и динамическую устойчивость к токам короткого замыкания. Трансформаторы тока изготавливаются на следующие номинальные токи первичной обмотки: 10, 20, 30, 40, 50, 75, 100, 150, 200, 300, 400, 600, 800, 1000, 1500, 2000 и при токе на вторичной обмотке пять ампер.
а ввод предварительно выбираем трансформатор тока на 800 ампер.
Составляем сравнительную таблицу.
Таблица № 4.
|
Расчетные величины |
Допустимые величины |
|
Uном = 10 кВ рас. = 771 А
|
Uном. = 10 кВ ном. = 800 А Кt = 120 Кд = 250 |
По термической и динамической устойчивости предварительно принятый трансформатор тока подходит, и окончательно принимаем
трансформатор марки ТВЛМ-10-р/р-800/5.
Выбираем секционный выключатель на РУ-10 кВ.
Определяем расчетный ток.

Предварительно выбираем выключатель на 630 ампер.
Составляем сравнительную таблицу.
Таблица № 5.
|
Расчетные величины |
Допустимые величины |
|
Uном = 10 кВ рас. = 385 А к.з = 8,07 кА iуд. = 20,48 кА Sк.з = 139 мВА
|
Uном. = 10 кВ ном. = 630 А отк. = 20 кА iуд. = 51 кА Sотк. = 350 мВА
|
Так как ни один из расчетных величин не превышает соответствующего значения допустимой величины, то окончательно принимаем к установке выключатель ВВТЭ-М-10-20-630.
Для этого выключателя предварительно выбираем трансформатор тока на 400 ампер.
Составляем сравнительную таблицу.
Таблица № 6.
|
Расчетные величины |
Допустимые величины |
|
Uном = 10 кВ рас. = 385 А
|
Uном. = 10 кВ ном. = 400 А Кt = 120 Кд = 250 |
По термической и динамической устойчивости предварительно принятый трансформатор тока подходит, и окончательно принимаем
трансформатор марки ТВЛМ-10-р/р-400/5.
Выбираем выключатель на трансформатор.
S = 6300 кВА
рас. = 534 А
Предварительно выбираем выключатель на 630 ампер.
Составляем сравнительную таблицу.
Таблица № 7.
|
Расчетные величины |
Допустимые величины |
|
Uном = 10 кВ рас. = 534 А к.з = 8,02 кА iуд. = 20,35 кА Sк.з = 138 мВА
|
Uном. = 10 кВ ном. = 630 А отк. = 20 кА iуд. = 51 кА Sотк. = 350 мВА
|
Так как ни один из расчетных величин не превышает соответствующего значения допустимой величины, то окончательно принимаем к установке выключатель ВВТЭ-М-10-20-630.
Для этого выключателя предварительно выбираем трансформатор тока на 600 ампер.
Составляем сравнительную таблицу.
Таблица № 8.
|
Расчетные величины |
Допустимые величины |
|
Uном = 10 кВ рас. = 534 А
|
Uном. = 10 кВ ном. = 600 А Кt = 120 Кд = 250 |
По термической и динамической устойчивости предварительно принятый трансформатор тока подходит, и окончательно принимаем
трансформатор марки ТВЛМ-10-р/р-600/5.
Выбираем выключатель на трансформатор.
S = 1000 кВА
рас. = 79 А
Предварительно выбираем выключатель на 630 ампер.
Составляем сравнительную таблицу.
Таблица № 9.
|
Расчетные величины |
Допустимые величины |
|
Uном = 10 кВ рас. = 79 А к.з = 8,02 кА iуд. = 20,35 кА Sк.з = 138 мВА
|
Uном. = 10 кВ ном. = 630 А отк. = 20 кА iуд. = 51 кА Sотк. = 350 мВА
|
Так как ни один из расчетных величин не превышает соответствующего значения допустимой величины, то окончательно принимаем к установке выключатель ВВТЭ-М-10-20-630.
Для этого выключателя предварительно выбираем трансформатор тока на 100 ампер.
Составляем сравнительную таблицу.
Таблица № 10.
|
Расчетные величины |
Допустимые величины |
|
Uном = 10 кВ рас. = 79 А
|
Uном. = 10 кВ ном. = 100 А Кt = 120 Кд = 250 |
По термической и динамической устойчивости предварительно принятый трансформатор тока подходит, и окончательно принимаем трансформатор марки ТВЛМ-10-р/р-600/5.
Для контроля изоляции и измерений на каждой секции РУ-10 кВ устанавливаем по одному трансформатору напряжения типа НТМ-10-66.
Для защиты этого трансформатора то коротких замыканий подключаем его через плавкий предохранитель ПКТ-10.
Для защиты аппаратуры и оборудования от перенапряжений на каждою секции устанавливаем по комплекту вентильных разрядников РВП-10.
Для защиты кабельных линий от однофазных замыканий на землю на каждый кабель устанавливаем трансформатор тока нулевой последовательности типа ТЗЛ. На каждой секций предусматриваем по одной резервной ячейки с таким же выключателем как на вводной ячейки.
Выбор аппаратуры и оборудования на РУ-6 кВ.



























РУ – 6 кВ
Секция 1
Секция 2

























































































резерв






НТМИ - 6
Д

Расчетный ток для выбора вводного выключателя будет.
,
где I рас.- ток расчетный.
n- количество двигателей.
I ном. дв. - номинальный ток двигателя.
Для контроля изоляции и измерений на каждой секции РУ-10 кВ устанавливаем по одному трансформатору напряжения типа НТМ-10-66.
Для защиты этого трансформатора то коротких замыканий подключаем его через плавкий предохранитель ПКТ-10.
Для защиты аппаратуры и оборудования от перенапряжений на каждою секции устанавливаем по комплекту вентильных разрядников РВП-10.
Для защиты кабельных линий от однофазных замыканий на землю на каждый кабель устанавливаем трансформатор тока нулевой последовательности типа ТЗЛ. На каждой секций предусматриваем по одной резервной ячейки с таким же выключателем как на вводной ячейки.
Рассчитываем ток для выбора вводного выключателя на РУ-6 кВ.

Предварительно выбираем выключатель на 1600 ампер.
Составляем сравнительную таблицу.
Таблица № 11.
|
Расчетные величины |
Допустимые величины |
|
Uном = 6 кВ рас. = 1326 А к.з = 5,34 кА iуд. = 13,55 кА Sк.з = 57 мВА
|
Uном. = 10 кВ ном. = 1600 А отк. = 20 кА iуд. = 51 кА Sотк. = 350 мВА
|
Так как ни один из расчетных величин не превышает соответствующего значения допустимой величины, то окончательно принимаем к установке выключатель ВВТЭ-М-10-20-1600.
Для этого выключателя предварительно выбираем трансформатор тока на 1500 ампер.
Составляем сравнительную таблицу.
Таблица № 12.
|
Расчетные величины |
Допустимые величины |
|
Uном = 6 кВ рас. = 1326 А
|
Uном. = 10 кВ ном. = 1500 А Кt = 120 Кд = 250 |
По термической и динамической устойчивости предварительно принятый трансформатор тока подходит, и окончательно принимаем
трансформатор марки ТВЛМ-10-р/р-1500/5.
Выбираем секционный выключатель.

Предварительно выбираем выключатель на 1000 ампер.
Составляем сравнительную таблицу.
Таблица № 13.
|
Расчетные величины |
Допустимые величины |
|
Uном = 6 кВ рас. = 663 А к.з = 5,34 кА iуд. = 13,55 кА Sк.з = 57 мВА
|
Uном. = 10 кВ ном. = 1000 А отк. = 20 кА iуд. = 51 кА Sотк. = 350 мВА
|
Так как ни один из расчетных величин не превышает соответствующего значения допустимой величины, то окончательно принимаем к установке выключатель ВВТЭ-М-10-20-1000.
Для этого выключателя предварительно выбираем трансформатор тока на 800 ампер.
Составляем сравнительную таблицу.
Таблица № 14.
|
Расчетные величины |
Допустимые величины |
|
Uном = 6 кВ рас. = 663 А
|
Uном. = 10 кВ ном. = 800 А Кt = 120 Кд = 250 |
По термической и динамической устойчивости предварительно принятый трансформатор тока подходит, и окончательно принимаем
трансформатор марки ТВЛМ-10-р/р-800/5.
Выдираем выключатель для питания двигателя.
рас.= дв.=51 А
Предварительно выбираем выключатель на 630 ампер.
Составляем сравнительную таблицу.
Таблица № 15.
|
Расчетные величины |
Допустимые величины |
|
Uном = 6 кВ рас. = 51 А к.з = 5,34 кА iуд. = 13,55 кА Sк.з = 57 мВА
|
Uном. = 10 кВ ном. = 630 А отк. = 20 кА iуд. = 51 кА Sотк. = 350 мВА
|
Так как ни один из расчетных величин не превышает соответствующего значения допустимой величины, то окончательно принимаем к установке выключатель ВВТЭ-М-10-20-630.
Для этого выключателя предварительно выбираем трансформатор тока на 100 ампер.
Составляем сравнительную таблицу.
Таблица № 16.
|
Расчетные величины |
Допустимые величины |
|
Uном = 6 кВ рас. = 57 А
|
Uном. = 10 кВ ном. = 100 А Кt = 120 Кд = 250 |
По термической и динамической устойчивости предварительно принятый трансформатор тока подходит, и окончательно принимаем трансформатор марки ТВЛМ-10-р/р-100/5.
Выбор аппаратуры и оборудования на РУ-0,4 кВ
Для питания низковольтных потребителей выбираем комплектные трансформаторные подстанции и соответственно к комплектным распределительным устройствам КРУ-0,4 кВ.
В качестве коммутационной аппаратуры используем автоматические выключатели на вводных и секционных ячейках используем выключатели типа Э-25 (электрон на 2500 А).
Для питания сосредоточенных нагрузок двигателей большой мощности используем автоматические выключатели марки АВМ (автомат воздушный модернизированный).
Для питания маломощных потребителей используем автоматические выключатели серии А-3000.
Для целей измерения и учета электроэнергии будем использовать трансформаторы тока катушечного типа марки ТК.
2.8 Компенсация реактивной мощности.
Согласно руководящих указаний по повышению cos в установках промышленных предприятий рекомендуется:
При необходимой мощности компенсирующих устройств менее 5000 кВар и напряжение 6 кВ необходимо использовать батареи статических конденсаторов, а при напряжение до 1000 В во всех случаях используются статические конденсаторы. При расчете необходимой мощности конденсаторных батарей предполагаем, что cos после компенсации должен быть cos=0,94
Высоковольтные нагрузки компенсируют установкой высоковольтных конденсаторов, а низковольтные низковольтными конденсаторами.
Выбираем компенсирующие устройства на РУ-6 кВ, необходимая компенсирующая мощность определяется по формуле.
,
кВар
=0,9 - коэффициент учитывающий возможное повышение cos способами не связанными с установкой конденсаторных батарей.
P- расчетная активная мощность установки.
tg1 - тангенс угла сдвига фаз соответствующий коэффициенту до коммутации.


Берем два комплекта конденсаторных установок марки УК-6-1125ЛУЗ; УК-6-1125ПУЗ.
Определяем действительный расчетный cos.
cos
= 0,99
Выбираем компенсирующие устройства на РУ-0,4 кВ, необходимая компенсирующая мощность определяется по формуле.

Берем один комплект конденсаторных установок марки УК-0,38-320Н.
Определяем действительный расчетный cos.
cos
= 0,96
3. Список литературы:
Б.Ю. Липкин: «Электроснабжение промышленных предприятий и установок». Москва. Высшая школа. 1990 год.
«Справочник по проектированию электроснабжения линии электропередачи и сетей». ( под редакцией Я. М. Большама, В. И. Круповича, М. Самоверова ). Москва. Энергия. 1984 год.
«Справочник по электроснабжению промышленных предприятии».
(под редакцией А. А. Федорова, Г. В. Сербиновского ). Москва. Энергия. 1991 год.
«Правила устройства электроустановок (ПУЭ)». Москва. Энергоатомиздат. 2000 год.
Федоров. А. А., Старнов. Л. Е. «Учебное пособие для курсового и дипломного проектирования». Москва. Энергоатомиздат. 1987 год.




















