Динамічне гальмування асинхронного двигуна на прикладі фрезерного деревообробного верстата
Тема: Динамічне гальмування асинхронного двигуна на прикладі фрезерного деревообробного верстата
Зміст
Вступ
Розділ I. Електрообладнання верстата ФВ та ФСШ
Розділ IІ. Електрична схема верстата ФВ та ФСШ при 380 В
Розділ IІІ. Будова і принцип дії апаратури управління
Розділ IV. Загальні відомості про асинхронні двигуни
Розділ V. Обслуговування електродвигунів
Розділ IV. Безпека праці
Список використаної літератури
Вступ
Технологія виробничого процесу промислових підприємств висуває різні вимоги до системи керування двигунами робочих механізмів. При цьому виникає необхідність у найрізноманітніших схемах керування, що забезпечують в одному випадку, гальмування електродвигуна, в іншому — визначену послідовність включення окремих двигунів, у третьому - своєчасні перерви в їхній роботі й ін.
Велике значення мають блокування між окремими вузлами, що виключають можливість неправильних включень електродвигунів. У ряді випадків виникає необхідність включення двигунів поштовхами, що, зокрема, властиво настановному і налагоджувальному режимам.
Електричні апарати здійснюють керування потоком енергії від джерела до приймача. Вони застосовуються в системах виробництва і розподілу електричної енергії й енергопостачання у всіх областях народного господарства, у схемах автоматичного і неавтоматичного керування електричними машинами і різноманітним устаткуванням.
Поряд з електричними машинами електричні апарати є основними засобами електрифікації й автоматизації. Вартість їх нерідко виявляється порівнянної з вартістю керованих ними електричних машин і устаткування або навіть перевищує неї. Електричні апарати складають самостійну і велику область електротехніки, до якої відноситься більшість засобів автоматики.
Науково-технічний прогрес безпосередньо зв'язаний з електроозброєністю виробництва, гак як продуктивність праці пропорційна його електроозброєності. Простий ріст кількості апаратів, що випускаються, не забезпечує темпи електрифікації країни. Необхідно безперервне їхнє удосконалювання на основі розвитку загальної теорії електроапаратобудування, поглиблення представлений про фізика явищ, що протікають в електричних апаратах, і уміння застосовувати закони електротехніки при їхньому проектуванні. При зниженні матеріалоємність електричних апаратів і працевтрат на їхнє виготовлення потребує підвищення рівнів їхніх напруг і струмів, швидкодії, надійності і ресурсу.
Розділ І. Електрообладнання верстата ФВ та ФСШ

Рис. 1. Схема розташування електрообладнання
Перелік до принципової схеми вказано у таблиці 1.
Таблиця 1.
|
Позначення |
Найменування |
Тип |
220В |
380В |
Примітки |
|
М |
Електродвигун з лівим розташуванням коробки виводов для верстатів моделей ФС, ФСШ N-3,3/4,1 квт п = 1500/3000 об/хв |
А02-41-4/2УЗ |
1 |
1 |
|
|
В1 |
Автомат змінного струму з відсіченням 14 1н, кріплення за панеллю на струм: 12,5 А 16 А В2, ВЗ, Мікроперемикач |
АК63-ЗМ |
1 |
1 |
|
|
В2,В3 |
Мікроперемикач МРТУ 16-526 012-65 ісп. 5 |
МП230-2У2 |
4 |
4 |
|
|
В5,В6 |
|||||
|
Д1 |
Вентиль кремнієвий |
В-50-7 |
4 |
1 |
|
|
В4 |
Перемикач исполне¬ние по довжині валу III МРТУ 16-526 013-65 |
ПКП25-2-115УЗ |
1 |
1 |
|
|
R1 |
Поле опору Резистор 1 ом 10% ГОСТ 6513-66 |
НС4Н-1.45 ПЭ-150 |
3 |
4 |
|
|
Р1 |
Магнітний пускач Р2 (110-2Н.0+2НЗ) МРТУ 16-529.008-65 |
ПМЕ-211У4 |
2 |
2 |
|
|
Р2 |
1 |
1 |
|
Р4 |
Р4 Реле часу пневматі-чеськоє з котушкою на 110в |
РВП22-Э122-00У4 |
1 |
1 |
|
|
КнС |
Кнопка управління ісп. 2 кр. ТУ 16-526.007-71 |
КЕ 04 1У2 |
1 |
1 |
|
|
КнП |
Кнопка управління ісп. 2 чер. ТУ 16-526.007-71 |
КЕ 03 1У2 |
1 |
1 |
|
|
Л1 |
Світильник верстатний |
НКС01Х Х100/П0О-01 |
1 |
1 |
|
|
В5 |
|||||
|
Пр1 |
Запобіжник різьбовий з плавкою вставкою ПВД-4 МРТУ 16-522.011-67 |
2 |
2 |
||
|
Пр2 |
|||||
|
Р5 |
Реле теплове струмове Р6 двополюсне з нагревательним елемєї струм: 8А 12,5А |
ТРН-25 ТРН-25 |
2 |
2 |
|
|
Р6 |
|||||
|
Тр1 |
Трансформатор однофазний ісп. 220 або 380 (5-22-110) 24 ТУ 16-517.259-72 |
ТБСЗ-0.16УЗ |
1 |
1 |
|
|
Тр2 |
ТБСЗ-0.4УЗ |
2 |
|||
|
Л2 |
Сигнальна арматура |
AC0 |
1 |
1 |
|
|
Л2 |
Лампа ГОСТ2204-69 |
МН6,3-0,22 |
1 |
1 |
|
|
Л1 |
Лампа ТУ 16-535 |
М024Х40 |
1 |
1 |
Розділ IІ. Електрична схема верстата ФВ та ФСШ при 380 В
Рис.
2.
Схема
електрична принципова верстата ФВ та
ФСШ при 380 В
Пуск електродвигуна відбувається кнопкою КнП пуск яка замикає коло котушки контактора Р1 та Р4 реле часу. Зупинка двигуна здійснюється кнопкою КнС Стоп. При цьому реле часу через деякий час здійснює включення пускача Р2 який здійснює динамічне гальмування електродвигуна М за допомогою кремнієвого вентиля Д1 та поля опору R1.
За допомогою перемикача В4 здійснюємо переключення обертів електродвигуна М з 1500 на 3000 об/хв.
З
|
Поз позначення |
Найменування апарату |
|
R1 |
Резистор |
|
B1 |
Автомат |
|
B2,B3,B5,B6 |
Мікроперемикач |
|
B4 |
Перемикач |
|
Д1 |
Вентиль кремнієвий |
|
КнС |
Кнопка керування «стоп» |
|
КнП |
Кнопка керування «пуск» |
|
Л1,В7 |
Світильник верстатний |
|
М |
Електродвигун |
|
Пр1,Пр2 |
Запобіжник різьбовий |
|
Р1,Р2 |
Пускач магнітний |
|
Р4 |
Реле |
|
Р5,Р6 |
Реле теплове |
|
Тр1 |
Трансформатор |
|
Л2 |
Арматура сигнальна |
Діаграма перемикача В4
|
Схема обмоток |
∆ |
Y Y |
|
|
З’єд- Нання рукоятки |
0 |
1 |
2 |
|
63-А4(1-2) |
- |
Х |
- |
|
63-А5(3-4) |
- |
- |
Х |
|
С4-А4(5-6) |
- |
- |
Х |
|
С4-4С2(7-8) |
- |
- |
Х |
|
В3-4С2(9-10) |
- |
Х |
- |
|
В3-2С2(11-12) |
- |
- |
Х |
|
С4-А3(13-14) |
- |
Х |
- |
|
С5-А3(15-16) |
- |
- |
Х |
В електросхемі передбачені блокувальні пристрої В2, В3, В5, В6, які здійснюють відключення верстата при відчиненні дверей електрошафи та при проведенні пусконалагоджувальних робіт.
Мережа керування електродвигуном живиться від трансформатора напруги Тр1. Захист кола керування та освітлювання верстата Л1 здійснюється запобіжниками Пр1 і Пр2. В коло керування включена сигнальна лампа Л2.

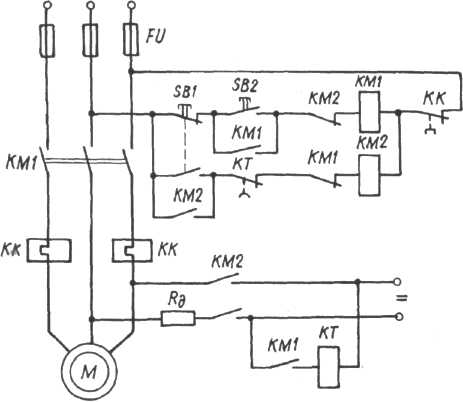
Рис. 3. Схема керування пуском і динамічним гальмуванням асинхронного двигуна з короткозамкненим ротором.
Блокувальні контакти контакторів КМ1 і КМ2 не допускають вмикання контакторів обох напрямків обертання двигуна при випадковому одночасному натисканні пускових кнопок SBI і SB2.
Крім того, у реверсивних магнітних пускачах інколи передбачається механічне блокування. Це — важільна система, яка запобігає вмиканню одного контактора, якщо увімкнуто інший. Використання в схемі автоматичного вимикача QF виключає можливість роботи привода при обриві однієї фази, при однофазному короткому замиканні, як це має місце при установці запобіжників; він також не потребує заміни елементів, як у запобіжниках при згорянні плавкої вставки.
При необхідності гальмування двигуна після його вимкнення з мережі застосовують динамічне гальмування. Динамічне гальмування асинхронного двигуна з короткозамкненим ротором реалізується внаслідок підмикання обмоток статора до джерела постійного струму через додатковий резистор R>n> (рис. 3). Гальмування двигуна здійснюється натисканням на кнопку SB1, яка вимикає контактор КМ1 і вмикає контактор КМ2. Двигун вимикається із мережі змінного струму і вмикається у мережу постійного струму. Відмикання мережі постійного струму здійснюється за допомогою реле часу КТ, яке через певний проміжок часу розриває коло контактора КМ2, а отже, й обмотки статора. Схема повертається у початкове положення.
Інтенсивність динамічного гальмування регулюється резистором Лд, з допомогою якого встановлюється необхідний струм у статорі асинхронного двигуна.
Для запобігання одночасному підключенню статора до джерел змінного і постійного струму в схемі використано вузол типового блокування за допомогою блок-контактів контакторів КМ1 і КМ2 у колах котушок цих апаратів.
Розділ IІІ. Будова і принцип дії апаратури управління
Двокнопкова станція (рис. 4.1,) складається із кнопки ПУСК і СТОП з нерухомими контактами 1 і рухливими 2. При натисканні на кнопку ПУСК відбувається замикання контактів, СТОП — розмикання контактів. Під впливом пружини 3 при відпусканні кнопки контактна система займає вихідний стан.

Рис. 3.1.
Схема керування трифазним асинхронним електродвигуном за допомогою контактора ( складається із двох частин - силового ланцюга (товсті лінії) і ланцюга керування (тонкі лінії). У силовий ланцюг послідовно в кожну фазу включені головні контакти контактора й обмотки мотора. У ланцюг керування який підключено на лінійну напругу живильної мережі, входять послідовно з'єднані кнопки SBS ПУСК і SBT СТОП і обмотка контактора КМ1. При натисканні кнопки ПУСК утворюється ланцюг керування: фаза А - Обмотка КМ1 — контакти кнопки SBS — контакти кнопки SBT — фаза С.
Перемикач ПКП (Рис. 3.2. а, б). Перемикач ПКП дозволяє одночасно перемикати два електричні кола. Механізм перемикача розташований у корпусі, утвореному з ізолюючих шайб, і принципово не відрізняється від пакетного вимикача.
Перевіряють цілісність корпусу перемикаючого механізму 2, ізоляцію пакету 3, рукоятки 1, які не повинні мати тріщин і великих пошкоджень. Оглядають вивідні затиски 4, які не повинні мати пошкоджень. Пошкоджені місця ізоляції проводів ізолюють ізоляційною стрічкою. Гвинти і гайки, зриви різьблення більше двох ниток, замінюють. Якщо порушені кріплення стрижня в пластині або антикорозійне покриття, перемикач підлягає ремонту.
Кулачки, які мають знос, замінюють. Металеві деталі не повинні мати тріщин, вм'ятин, забоїн, корозії і інших дефектів. Після ремонту необхідно заміряти опір ізоляції між струмопровідними частинами і частинами, до яких можливий дотик, а також заземленими частинами. Опір ізоляції повинен бути не меншого 50 МОм.
Перевіряють надійність кріплення апарату на місці установки. Кілька разів включають і вимикають перемикач вручну. Фіксація рукоятки у різних положеннях повинна бути чіткою, рукоятка повинна провертатися без додаткових значних зусиль.


Рис. 3.2. Перемикач ПКП: а - загальний вигляд, б - діаграма включень
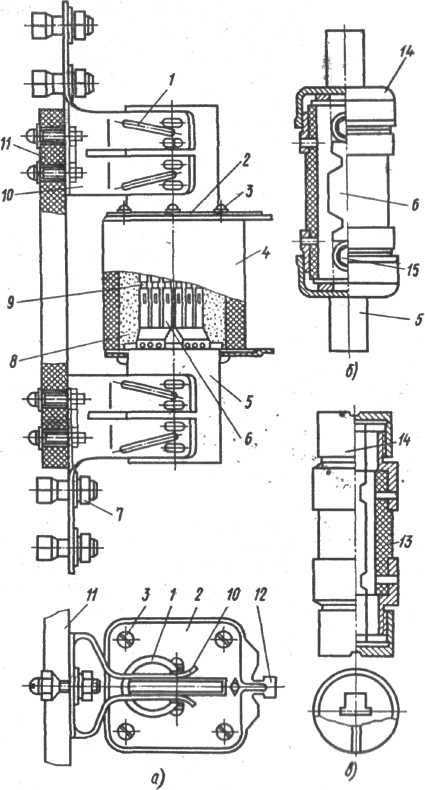
Магнітні пускачі
Магнітний пускач являється комбінованим апаратом дистанційного керування, що складається із контактора, додаткового теплового реле. Він застосовується для пуску, зупинки та зміни напрямку обертання електродвигуна. В якості апарата захисту він вимикає двигун при недопустимих навантаженнях, а також при відсутності напруги. Найбільш поширені контактори П6 і ПА (Рис. 3.3.).

Рис. 3.3. Магнітні пускачі 1 – стальна скоба, 2 – пластмасова колодка, 3 – осердя, 4 - пружина,5 – котушка, 6 – головка, 7 – рухомий контакт, 8 – циліндрична контактна пружина, 9 – амортизаційна пружина, 10 - траверса, 11 – плоска пружина, 12 – мостик, 13 – пластина з нерухомим контактом, 14 – гвинт для приєднання проводів(шин) зовнішньої мережі
Для автоматичного вмикання, вимикання або перемикання електричних мереж в залежності від проміжного або кінцевого положень рухомих робочих органів верстата застосовують і кінцеві вимикачі. Вимикач рис. 3.4. має корпус 7 з кришкою 8, в якому на стійці 1 з діелектрика закріплені нерухомі 2 і рухомі мостикові 4 контакти.

Рис. 3.4. Кінцевий вимикач
Запобіжники
Запобіжник - це апарат, призначений для захисту електричних ланцюгів при непередбачених збільшеннях струмового навантаження за рахунок розплавлення плавкої вставки, що калібрується, забезпечуючи розриви ланцюгів.
Найбільш частими пошкодженнями запобіжника є: оплавлення болтів і затисків унаслідок їх перегріву, руйнування, тріщини або поява нагару ізоляційної плити і перегоряння плавких вставок.
Контактні ножі і губки іноді мають сліди розплавленого металу, нагару, підгоряння, нещільне прилягання. Усунення цих дефектів досягається тими ж способами, що і у рубильників.
Потрібно стежити, щоб плавка вставка підбиралася у відповідності з навантаженням і номінальним струмом запобіжника (по довідниках). При струмі, що перевищує номінальний струм плавкої вставки на 25-30 %, остання розплавляється і відключає пошкоджену ділянку ланцюга. У трубчастих запобіжників ПН-2 (Рис. 3.5, а) фарфоровий патрон, що має сколи або тріщини, замінюють новим. При перегоранні плавкої каліброваної вставки, її замінюють таким чином: відкручують два гвинти, що кріплять контактну шайбу струмопровідного елементу однієї з кришок 2 патрони 4, відкручують чотири гвинта, що кріплять кришку до корпусу, і знімають кришку разом з азбестовою прокладкою; висипають з патрона кварцевий пісок 8, відкручують два гвинти, що кріплять другу контактну шайбу, і видаляють її з патрона. Внутрішню поверхню фарфорового патрона очищають і встановлюють нову плавку вставку. Пісок повинен бути свіжим. Використаний пісок можна залишити, якщо він не спікся і не відволожився. Контактну частину ремонтують аналогічно попереднім типам запобіжників.
При появі тріщин на фібровому патронові трубчастих запобіжників ПР-1 і ПР-2 (Рис. 3.5, б, в) запобіжник замінюють новим.

Рис. 3.5. Трубчасті запобіжники.
а - ПН з кварцовимнаповнювачем,б,в - ПР з патронами на струми 100 і 60 А; 1 - сталеві пружинячі кільця контактів, 2 - металеві кришки, 3 - гвинт, 4 - фарфоровий патрон, 5 - контактні ножі, 6 - плавкі вставки, 7 - контактні-болти, 8 - кварцевий пісок, 9 - олов'яна кулька (розчинник), 10- контактні стійки, 11 - ізоляційна плита, 12 - Т-образні виступи, 13 - фіброва трубка, 14 - латунні ковпачки, 15 – гвинт
Розділ ІV. Загальні відомості про асинхронні двигуни
Основними частинами асинхронного двигуна (Рис. 4.1.) є нерухомий статор і обертовий ротор, які розділені повітряним зазором. Статор складається із станини (або корпуса) з лапами; стального осердя із штампованих, ізольованих один від одного, листів електротехнічної сталі з пазами для укладання обмотки статора; обмотки статора, виготовленої з ізольованого мідного дроту, й укладеного в пази осердя. Обмотка призначена для утворення обертового магнітного поля.

Рис. 4.1 Асинхронний електродвигун з короткозамкненим ротором: 1, 9, 17 — болти, 2 і 23 — шпонки, 3 — вал ротора, 4 и 22 — роликовий і кульковий підшипники, 5,6 — зовнішня и внутрішня кришки підшипника, 7 — стопорне кільце, 8, 21 — підшипникові щити,10 — станина, 11 — статорна обмотка, 12 — осердя статора, 13 — гвинти кріплення осердя до станини, 14 — осердя ротора, 15 — замикаюче кільце, 16 — лопать вентилятора, 18 и 20 вентилятори, 19 — кожух вентилятора
Найпростішим елементом обмотки є виток . Декілька з'єднаних між собою витків, які містяться у двох пазах і мають спільну ізоляцію паза утворюють секцію.
Сукупність секцій, які належать до однієї фази, називається фазною обмоткою. Виводи фаз обмотки прийнято позначати: С1, С2, С3 — початки і С4, С5, С6 — кінці відповідно першої, другої і третьої фаз. Окремі фази обмотки статора можуть з'єднуватися зіркою або трикутником. На рис. 2.3 наведено схеми з'єднання фаз обмотки статора і відповідні цим з'єднанням перемикання на щитку машини.

Рис. 4.2. Схеми з'єднання фаз обмотки статора а — зіркою; б — трикутником.
Ротор асинхронного двигуна (рис. 2.4. ) складається з таких частин: стального циліндра, складеного із штампованих, ізольованих один від одного, листів електротехнічної сталі; вала ротора, на якому закріплено стальний циліндр ротора, підшипників, вентилятора. Залежно від типу обмотки ротори поділяються на короткозамкнені та фазні. У пази короткозамкнених роторів укладено стержні із струмопровідного матеріалу, які з торців замикаються кільцями, утворюючи так зване біляче колесо. У пази фазного ротора укладено провідники секцій трифазної обмотки, які з'єднують зіркою.
Трифазний струм, що проходить через обмотку статора асинхронного двигуна, створює обертове магнітне поле, яке перетинає провідники обмотки ротора, індукує в них є. р. с. У провідниках замкненої обмотки протікають струми і>2>. При взаємодії цих струмів та обертового магнітного поля виникають електромагнітні сили, які за правилом лівої руки спрямовані в бік обертання поля статора. Ротор починає рухатися в бік руху магнітного поля. Швидкість обертання ротора менша за швидкість обертання магнітного поля. Це можна пояснити так: якщо б ротор обертався із швидкістю поля, то через відсутність відносного руху провідників обмотки ротора та обертового магнітного поля останнє не перетинало б провідників обмотки ротора, у них не індукувалися б е. р. с і не було б струмів, а це означає, що електромагнітний момент дорівнював би нулю. Отже, обертове магнітне поле і ротор асинхронного двигуна принципово обертаються з різними швидкостями — асинхронно, що і визначило назву машини.
Розділ V. Обслуговування електродвигунів
Експлуатація електродвигунів
На електродвигунах та механізмах, які вони приводять у дію, повинні бути нанесені стрілки, що вказують напрямок обертання їх рухомих частин, а також написи з назвою агрегату, до якого вони належать.
На комутаційних апаратах (вимикачах, контакторах, магнітних пускачах, пускорегулювальних пристроях, запобіжниках тощо) повинні бути нанесені написи, що вказують, до якого електродвигуна вони належать.
Плавкі вставки запобіжників повинні бути калібровані із зазначенням на клеймі номінального струму вставки. Клеймо ставиться заводом-виробником або електротехнічною лабораторією. Застосовувати некалібровані плавкі вставки забороняється.
У разі короткочасного припинення електроживлення повинен бути забезпечений самозапуск електродвигунів відповідальних механізмів після повторної подачі напруги, якщо збереження механізмів у роботі необхідне за умов технологічного процесу і допустиме за умов безпеки та зниження напруги електромережі.
Перелік електродвигунів відповідальних механізмів, які беруть участь у самозапуску, із зазначенням уставок захистів і допустимого часу перерви живлення затверджує особа, відповідальна за електрогосподарство.
Захисти елементів електричної мережі споживачів, а також технологічне блокування вузлів електричної мережі виконується таким чином, щоб забезпечувався самозапуск електродвигунів відповідальних механізмів. Для полегшення самозапуску відповідальних механізмів, як правило, повинен бути передбачений захист мінімальної напруги, що вимикає на час зниження (зникнення) напруги електродвигуни, які не беруть участі в процесі самозапуску.
Електродвигуни, що тривалий час перебувають у резерві, та автоматичні пристрої увімкнення резерву повинні оглядатись та випробовуватись разом із механізмами відповідно до графіка, затвердженого особою, відповідальною за електрогосподарство. У цьому разі в електродвигунів зовнішнього розташування, які не мають обігріву, а також двигунів 6 кВ, що тривалий час перебувають у резерві, повинен бути перевірений опір ізоляції обмотки статора і коефіцієнт абсорбції.
Електродвигуни з короткозамкненими роторами дозволено запускати з холодного стану два рази поспіль, з гарячого - один раз, якщо інструкція заводу-виробника не передбачає більшої кількості пусків. Наступні пуски дозволяються після їх охолодження протягом часу, обумовленого інструкцією заводу-виробника для відповідного типу електродвигуна.
Повторні ввімкнення електродвигунів у разі їхнього вимкнення основними захистами дозволяються після обстеження, проведення контрольних вимірів опору ізоляції і перевірки справності захистів.
Для електродвигунів відповідальних механізмів, що не мають резерву, дозволяється одне повторне ввімкнення після дії основних захистів за результатами зовнішнього огляду двигуна.
Наступне ввімкнення електродвигунів у разі дії резервних захистів до з'ясування причин вимкнення заборонене.
Для спостереження за пуском і роботою електродвигунів, регулювання технологічного процесу яких здійснюється за значенням струму, а також усіх електродвигунів змінного струму потужністю більше ніж 100 кВт на пусковому щитку чи панелі керування встановлюють амперметр, який вимірює струм у колі статора електродвигуна. Амперметр установлюють також у колі збудження синхронних електродвигунів. На шкалі амперметра червоною рискою позначають значення допустимого струму (вище номінального струму електродвигуна на 5 %).
На електродвигунах постійного струму, призначених для приводу відповідальних механізмів, незалежно від їх потужності необхідно контролювати струм якоря.
Для контролю наявності напруги на групових щитках і збірках електродвигунів повинні бути встановлені вольтметри або сигнальні лампи.
Для забезпечення нормальної роботи електродвигунів напругу на шинах необхідно підтримувати в межах від 100 до 105 % від номінальної. За необхідності допускається робота електродвигуна з напругою 90 - 110 % від номінальної. У разі зміни частоти живильної мережі в межах ±2,5 % від номінального значення допускається робота електродвигунів з номінальною потужністю.
Вібрація, виміряна на кожному підшипнику електродвигуна, осьовий зсув ротора, розмір повітряного зазору між сталлю статора та ротора, а також в підшипниках ковзання не повинні перевищувати величин.
Постійний нагляд за навантаженням електродвигунів, щітковим апаратом, температурою елементів і охолоджувальних середовищ електродвигуна (обмотки і осердя статора, повітря, підшипників тощо), догляд за підшипниками і пристроями підведення охолоджувального повітря, води до повітроохолодників і обмоток, а також операції з пуску, регулювання швидкості і зупинки здійснюють працівники цеху (дільниці), які обслуговують механізм.
Електродвигуни, що продуваються і які встановлені в запилених приміщеннях і приміщеннях з підвищеною вологістю, повинні бути обладнані пристроями підведення чистого охолоджувального повітря, кількість якого і параметри (температура, вміст домішок тощо) повинні відповідати вимогам інструкції заводу-виробника.
Щільність тракту охолодження (корпусу електродвигуна, повітропроводів, засувок) необхідно перевіряти не рідше ніж один раз на рік.
Індивідуальні електродвигуни зовнішніх вентиляторів охолодження повинні автоматично вмикатися і вимикатися у разі ввімкнення та вимкнення основних електродвигунів.
Електродвигуни з водяним охолодженням статора чи ротора, а також з умонтованими водяними повітроохолодниками повинні бути обладнані пристроями, що сигналізують про появу води в корпусі. Організація експлуатації обладнання та апаратури систем водяного охолодження, якість конденсату та води повинні відповідати вимогам інструкцій заводу-виробника.
Аварійні кнопки електродвигунів повинні бути опломбовані. Зривати пломби з аварійних кнопок для вимкнення електродвигуна дозволено тільки в аварійних випадках. Опломбування аварійних кнопок виконують працівники, визначені особою, відповідальною за електрогосподарство.
Електродвигун (обертова машина) повинен бути негайно відімкнений від мережі у таких випадках:
нещасний випадок (чи загроза) з людиною;
поява диму, вогню або запаху горілої ізоляції з корпусу електродвигуна або його пускорегулювальної апаратури;
вібрація понад допустимі норми, яка загрожує виходу з ладу електродвигуна або механізму;
вихід з ладу привідного механізму;
нагрівання підшипників або контрольованих вузлів понад допустиму температуру, зазначену в інструкції заводу-виробника;
виникнення коротких замикань в електричній схемі;
значне зниження частоти обертання;
швидке зростання температури обмоток або сталі статора.
В експлуатаційній інструкції можуть бути вказані й інші випадки, за якими електродвигуни (обертові машини) повинні бути негайно вимкнені, а також указаний порядок усунення їх аварійного стану.
Періодичність капітальних і поточних ремонтів електродвигунів, залежно від умов у яких вони працюють, визначає особа, відповідальна за електрогосподарство. Залежно від місцевих умов поточний ремонт електродвигунів, як правило, здійснюють одночасно з ремонтом привідних механізмів, і його виконує навчений персонал споживача або підрядної організації.
Профілактичні випробування і вимірювання на електродвигунах повинні проводитись регулярно у відповідності до встановлених правил.
Експлуатація електродвигунів складається із слідуючих основних елементів: нагляду, своєчасного виявлення несправностей та їх усунення; профілактичних випробувань; пуску та зупинки.
Вказівки по експлуатації електроустаткування
При установці верстат повинен бути надійно заземлений і підключений до загальної
системи заземлення. Для цієї мети в нижній частині станини (біля ввідного отвору) є болт заземлення.
При огляді або ремонті електроапаратури ввідний автомат повинен обов’язково вимкнений.
При підключенні верстата до електромережі на місці його установки необхідно забезпечити напрям обертання ротора електродвигуна шпінделя так, як це показує стрілка на кожусі електродвигуна.
Не рекомендується проводити перемикання швидкості електродвигуна перекмикачем В4 під час роботи верстата, тобто розривати ним струм.
При експлуатації верстата слідує регулярно, не рідше за один раз в тиждень призводіть очищення електродвигуна і аппаратури від пилу і бруду.
Зміну мастила в підшипниках електродвигуна проводити через 2000 годин роботи
Таблиця 2. Рекомендовані змазки підшипників електродвигуна
|
Марка змащувального матеріалу |
Об'єм мастила |
Примітки |
|
Мастило жирове 1-13 ГОСТ 1631-61 |
2/3 об'єму камери |
Для помірного клімату |
|
ЦИАТІМ-203 ГОСТ 8773-73 |
2/3 об’єму камеры |
Для тропического клімату |
|
Марка змащувального матеріалу |
||
|
Масло індустріальне 12 ГОСТ 1707-51 |
Масло індустріальне 20 ГОСТ 1707-51 |
Солідол С ГОСТ 4366-64 |
|
ИС-12 ГОСТ 8675-62 Т-12 MNSZ 527747-63 R—12T6L 11871 |
ИС-20 ГОСТ 8675-62 Т-20 MNSZ 527747-63 R— 20 Т6L 11871 |
Таблиця 3. Несправності електричних машин
|
Ознаки несправності |
Можливі причини несправності |
|
Двигуни з короткозамкнутим ротором |
|
|
Електродвигун не розвиває номінальної частоти обертання і гуде |
Одностороннє тяжіння ротора унаслідок зносу підшипників, перекосу підшипникових щитів або вигину валу |
|
Електродвигун гуде, ротор обертається поволі, струм у всіх трьох фазах різний і навіть на холостому ході перевищує номінальний |
1. Обірвані один або декілька стержней обмотки ротора 2. Неправильно сполучені початок і кінец фази обмотки статора (фаза «перевернута»). |
|
Ротор не обертається або обертається поволі, двигун сильно гуде і нагрівається |
Обірвана фаза обмотки статора |
|
Електродвигун перегрівається при номінальних навантаженнях |
1. Виткове замикання в обмотці статора 2. Погіршення умов вентиляції унаслідок забруднення вентиляційних каналів |
|
Неприпустимо низький опір ізоляції обмотки статора електродвигуна |
1. Зволоження або сильне забруднення ізоляції обмотки 2. Старіння або пошкодження ізоляції |
|
Електродвигун вібрує під час роботи і після відключення при частоті обертання ротора, близькій до номінальної |
1. Порушена співвісності валів 2. Неврівноважені ротор, напівмуфти або шків |
|
Електродвигун сильно вібрує, але вібрація припиняється після відключення його від мережі, двигун сильно гуде, струм у фазах неоднаковий, одна з ділянок обмотки статора швидко нагрівається |
Коротке замикання в обмотці статора електродвигуна |
|
Двигуни зфазним ротором |
|
|
Електродвигун не розвиває номінальної частоти обертання |
Одностороннє тяжіння ротора унаслідок зносу підшипників, перекосу підшипникових щитів або вигину валу 2. Порушений контакт в двох або трьох фазах пускового реостата 3. Порушений електричний ланцюг між пусковим реостатом і обмоткою ротора електродвигуна |
|
У електродвигуна частота обертання збільшується самовільно. Ротор сильно нагрівається навіть при невеликому навантаженні |
1. Частина обмотки ротора замкнута на заземлений корпус електродвигуна 2. Порушена ізоляція між контактними кільцями і валом ротора |
Перевірка температури нагріва. Під час роботи двигунів перевіряють температуру їх нагріву. У двигунів потужністю до 100квт нагрів статора перевіряють дотиком. Нагрів електродвигунів потужністю більш ніж 100квт контролюють по термометру, встановленому на корпусі статора, або по термоопору, закладеному в обмотку двигуна.
|
Назва частин двигуна |
Найбільша допустима температура, оС |
Найбільше допустиме підвищення температури, оС |
|
Обмотка статора |
100 |
60 |
|
Обмотка ротора: Фазного короткозамкненого |
||
|
100 |
60 |
|
|
Не встановлюється |
60 |
|
|
Сталь статора |
100 |
60 |
|
Контактні кільця |
100 |
60 |
|
Підшипники ковзання |
80 |
40 |
|
Підшипники кочення |
100 |
60 |
Для контролю за пуском і навантаженням у двигунів потужністю 40квт та вище встановлюють амперметри. На шкалі амперметра червоним підкреслено величину номінального струму електродвигуна плюс 5%.
На зборках або групових щитках, до яких під’єднані електродвигуни, повинні бути вольтметри або сигнальні лампи для контролю наявності напруги.
Двигун слід завжди тримати в чистоті. Усі зайві предмети (ганчірки, куски металу та проводів) необхідно прибрати. Поруч із двигуном не повинно бути займаючихся матеріалів (бензин, олива та ін.) які можуть призвести до пожежі.
Несправності підшипників кочення
Однією з основних причин несправностей підшипників кочення являється їх перегрів.
Надмірний нагрів підшипників може відбуватися в результаті неправильного збирання, тугої посадки зовнішнього кільця підшипника у підшипниковому щиті, а також при відсутності осьового зазору в одному з підшипників, необхідного для компенсації температурного розширення вала при роботі машини щоб встановити нормальний осьовий зазор, необхідно проточити бортик кришки підшипника або встановити прокладки між його кришкою та корпусом. Іноді в підшипниках виникає ненормальний шум, що супроводжується підвищенням температури. Це може бути результатом поганого відцентрування двигуна, забруднення підшипників, великого зношування окремих деталей (кульок, роликів) та нещільної посадки внутрішнього кільця на вал.
Якщо в підшипники закладено змазки більше ніж потрібно, або її марка не відповідає температурі навколишнього середовища і при цьому ущільнення недостатні, тоді з підшипників при роботі двигуна буде виходити змазка.
Догляд за підшипниками. для нормальної роботи двигуна його підшипники ковзання потрібно тримати у чистоті. Для цього кришки підшипників щільно закривають. Олива, що застосовується для змазування підшипників, не повинна вміщувати кислоту або смолу.
Для нормальної роботи підшипників з кільцевим змащуванням необхідно не менш двох разів за зміну перевіряти обертання кілець і чистоту оливи.
Перед заміною змазки підшипники промивають керосином, продувають повітрям, промивають тією маркою оливи що застосовується для даних підшипників, а після цього заливають свіжу оливу.
Якщо підшипники працюють нормально і не нагріваються, то огляд і заміна оливи здійснюється при чергових ремонтах, а також по мірі необхідності в залежності від стану змащування.
Після зборки підшипникових вузлів перевіряють легкість обертання ротора від руки а потім вмикають електродвигун та обертають його 15 хвилин вхолосту. Якщо стан підшипників нормальний , при прослуховуванні чутний рівномірний гул без стуків та ударів.
Експлуатація електродвигунів складається із слідуючих основних елементів: нагляду, своєчасного виявлення несправностей та їх усунення; профілактичних випробувань; пуску та зупинки.
Перевірка температури нагріву. Під час роботи двигунів перевіряють температуру їх нагріву. У двигунів потужністю до 100квт нагрів статора перевіряють дотиком. Нагрів електродвигунів потужністю більш ніж 100квт контролюють по термометру, встановленому на корпусі статора, або по термоопору, закладеному в обмотку двигуна.
Для контролю за пуском і навантаженням у двигунів потужністю 40квт та вище встановлюють амперметри. На шкалі амперметра червоним підкреслено величину номінального струму електродвигуна плюс 5%.
На зборках або групових щитках, до яких під’єднані електродвигуни, повинні бути вольтметри або сигнальні лампи для контролю наявності напруги.
Двигун слід завжди тримати в чистоті. Усі зайві предмети (ганчірки, куски металу та проводів) необхідно прибрати. Поруч із двигуном не повинно бути займаючихся матеріалів (бензин, олива та ін.) які можуть призвести до пожежі.
Догляд за підшипниками. для нормальної роботи двигуна його підшипники ковзання потрібно тримати у чистоті. Для цього кришки підшипників щільно закривають. Олива, що застосовується для змазування підшипників, не повинна вміщувати кислоту або смолу.
Для нормальної роботи підшипників з кільцевим змащуванням необхідно не менш двох разів за зміну перевіряти обертання кілець і чистоту оливи.
Перед заміною змазки підшипники промивають керосином, продувають повітрям, промивають тією маркою оливи що застосовується для даних підшипників, а після цього заливають свіжу оливу.
Якщо підшипники працюють нормально і не нагріваються, то огляд і заміна оливи здійснюється при чергових ремонтах, а також по мірі необхідності в залежності від стану змащування.
Після зборки підшипникових вузлів перевіряють легкість обертання ротора від руки а потім вмикають електродвигун та обертають його 15 хвилин вхолосту. Якщо стан підшипників нормальний , при прослуховуванні чутний рівномірний гул без стуків та ударів.
Однією з основних причин несправностей підшипників кочення являється їх перегрів.
Надмірний нагрів підшипників може відбуватися в результаті неправильного збирання, тугої посадки зовнішнього кільця підшипника у підшипниковому щиті, а також при відсутності осьового зазору в одному з підшипників, необхідного для компенсації температурного розширення вала при роботі машини. щоб встановити нормальний осьовий зазор, необхідно проточити бортик кришки підшипника або встановити прокладки між його кришкою та корпусом. Іноді в підшипниках виникає ненормальний шум, що супроводжується підвищенням температури. Це може бути результатом поганого відцентрування двигуна, забруднення підшипників, великого зношування окремих деталей (кульок, роликів) та нещільної посадки внутрішнього кільця на вал.
Якщо в підшипники закладено змазки більше ніж потрібно, або її марка не відповідає температурі навколишнього середовища і при цьому ущільнення недостатні, тоді з підшипників при роботі двигуна буде виходити змазка.
Розбирання електричних машин
Розбирання більшості електричних машин починається з видалення пів муфти з вала за допомогою ручного або гідравлічного знімача.
Знімач з регульованим розкриттям тяг (Рис. 2.5, а), дозволяє знімати з валу пів муфти різних діаметрів. Розкриття та фіксування тяг відбувається за допомогою регулювальної гайки 2, що навернута на різьбу гвинта 1. Тягове зусилля, що створюється за допомогою ручного знімача являється складною операцією, що потребує значних фізичних зусиль, тому для демонтажу півмуфт, які не піддаються стягуванню, застосовують гідравлічний знімач.
Гідравлічний знімач (Рис. 5.1, б), представляє собою встановлений на колесах майданчик 4 з двома стійками 5, на яких вертикально переміщується гідравлічний плунжерний насос 8. Щоб зняти півмуфту, встановлюють та закріплюють болтами на корпусі насоса траверси 6, між якими також болтами закріплюють захвати 7.

Рис. 5.1. Знімачі для стягування (розпресовування) півмуфт і підшипників кочення з валів електричних машин.
а – гвинтовий знімач з регульованим розкриттям тяг, б – гідравлічний знімач, в – знімач для стягування підшипників кочення захватом за підшипник, г - знімач для стягування підшипників кочення захватом болтами за кришки або капсули підшипника; 1 – черв’ячний гвинт з головкою, 2 – регулювальна гайка, 3 – тяги, 4 – майданчик, 5 – стійка, 6 – траверси, 7 – захвати, 8 – плунжерний насос, 9 – рукоятка штока насоса, 10 – пластинка зі штифтами, 11 – шпильки, 12 – плита, 13 – диск, 14 – корпус знімача
Розділ VІ. Безпека праці
Обслуговування електричних машин зв'язане з небезпекою отримання механічних травм від частин, що обертаються, і поражения електричним струмом. Частини, що все обертаються і струмопровідні, повинні мати огорожі. Шліфовку контактних кілець або колектора треба проводити в захисних окулярах за допомогою колодок з ізоляційного матеріалу, в прилеглому до тіла одязі, рукава повинні бути застебнуті у кистей. Не слідує одночасно торкатися струмопровідних і заземлених частин машини. Інструмент треба застосовувати тільки з ізольованими ручками.
Робота в ланцюзі реостата двигуна, що обертається, повинна відбуватись з дотриманням запобіжних засобів, як при роботі під напругою в установках до 1000 В. Коло реостата повинна бути замкнута накоротко.
Після останову двигуна для ремонту без розбирання на приводі вимикача вивішується плакат «Не включати - працюють люди!». Ручне включення і відключення машин напругою вище 1000 В необхідно виконувати в діелектричних рукавичках і калошах або на килимку. Після вивішування плаката перевіряють наявність напруги на відключеній ділянці мережі.
У електроустановках змінного струму напругою до 1000 В перевірку зручно виконувати однополюсним покажчиком напруги, який виготовляють у вигляді автоматичної ручки з ізолюючим корпусом 2 (рис. 6.1.).

Рис. 6. 1. Однополюсний покажчик напруги
Металевим щупом 1 торкаються провідника, палець руки кладуть на металевий контакт 3. Електричний ланцюг замикається через людину; при наявності напруги спалахує неонова лампа 4 усередині корпусу. Щоб виключити помилку при поганій провідності підлоги, другою рукою стосуються заземленого предмету.
Наявність напруги в мережі постійного струму визначають двополюсним покажчиком, який має два щупи і неонову лампу.
Щупами стосуються двох проводів. Цей покажчик придатний і для мережі змінного струму. Використання контрольної лампи замість покажчика забороняється, оскільки при випадковому включенні на большее напругу або ударі можливий вибух її колби.

Рис. 6.2 Переносне заземлення – закоротка: 1 - накінечник для приєднання до заземлюючої шини, 2 - гвинтовий затиск, 3 - гнучкий дріт
У оперативному журналі робиться запис про відключення машини. Включення проводять тільки після відмітки в журналі по закінченні робіт з вказівкою відповідальної особи, що повідомила.
Відключені двигуни насосів і вентиляторів можуть прийти в рух під натиском води або повітря. У таких установках необхідно закрити вентилі або інші закриваючі пристрої, замкнути його на замок і вивісити плакат «Не відкривати - працюють люди!». Якщо трифазний двигун від'єднаний від мережі, кінці всіх фаз живлячого кабелю замикають накоротко і заземляють переносним заземленням (Рис. 6.2). Робота в пусковій апаратурі допускається тільки при повному знятті напруги.
Випробування ізоляції підвищеною напругою і вимірювання її опору представляють особливу небезпеку для електротехнічного персоналу і повинні проводитися з дотриманням доджаткових заходів безпеки. Ці контрольні операції повинні виконуватися бригадою в складі не менших двох чоловік, що пройшли спеціальну підготовку. Корпуси і кожухи повинні бути при випробуванні заземлені.
Опір ізоляції вимірюють мегаомметрами на напрузі порядка 1000 або 2500 В. Дотик до затисків самого мегаомметра не небезпечно із-за малої потужності його генератора і більшого внутрішнього опору електрика, ланцюг перевіряється, заряджає, і дотик до неї може виявитися небезпечним. Під час вимірювання не можна торкатися до провідників обмотки, після вимірювання обмотку треба відразу розрядити на корпус.
Список використаної літератури
Атабеков В. Б. Ремонт електрооборудования промышленных предприятий: Учебник для сред, проф.-техн. училищ. — 4-е изд., перераб. и доп. — М.: Высш. школа, 1979. — 256 с, ил. — (Профтехобразование. Енергетика).
Бондар В. М., Гаврилюк В. А., Духовний А. X. та ін. Практична електротехніка для робітничих професій: Пі-друч. для учнів проф.-навч. закладів з різноманіт. галузей пром.-сті та побут, обслуг.— К.: Веселка, 1997. — 191 с.
Егоров Г.П. и Коварский А.И. устройство, монтаж, експлуатация и ремонт промышленных електроустановок.
Кокорев А.С. Электрослесарь по ремонту злектрических машин: Учеб. для СПТУ.
Фещенко В. Н., Махмутов Р. X.Токарная обработка: Учеб. для ПТУ.— 2-е изд., перераб. и доп.—М.: Высш. шк., 1990.—303 с: ил.