Дисперсия. Наблюдение спектров
Лабораторная работа №1
ДИСПЕРСИЯ. НАБЛЮДЕНИЕ СПЕКТРОВ.
Цель работы:
Ознакомится с назначением, характеристиками и устройством монохроматора. Произвести его градуировку. Применить градуировку монохроматора для определения длин волн источников света.
1. Теоретическая часть и экспериментальная установка
Основной
характеристикой волн является длина
волны ,
которая связана с частотой волны
и скоростью
волны с
соотношением:
.
Длина электромагнитных волн лежит в широких пределах: от значений порядка 1000 м (радиоволны) до 10-10 см (гамма-излучение). Свет – это электромагнитные волны с длиной волны от 400 нм до 800 нм. Цвет света (субъективное восприятие объективной физической характеристики света – частоты волы) определяется частотой электромагнитной волны. Для красного света >кр> 800нм, зеленого >з>550 нм, фиолетового >ф>400 нм.
Световые волны строго определенной длины волны называются монохроматическими (одноцветными). Смешанные в определенной пропорции световые волны различных длин волн дают белый свет (цвет). Ни один из источников света не дает строго монохроматического света, т.е. волну строго одной длины волны.
В вакууме световые волны с различной длиной волны распространяются с одинаковой скоростью с = 300 000 км/с. Но в каком-либо веществе (среде) скорость света меньше, чем в вакууме. В результате этого наблюдается явление преломления света при переходе света из одной среды в другую.
Абсолютный
показатель преломления среды n
показывает во сколько раз скорость
света в вакууме больше чем в данной
среде
.
Кроме того, скорость света в среде зависит от его длины волны v = f(). Это явление называется дисперсией.
Дисперсия
приводит к тому, что показатели преломления
для света различных длин волн различны.
Например, для воды n>кр
>(красный
свет)
= 1,331, n>ф
>(фиолетовый
свет)= 1,344.
Явление дисперсии можно наблюдать с помощью призмы (рис. 1), в которой световые лучи преломляются дважды на передней и задней поверхности призмы. С помощью призмы свет разлагается в спектр.
Вид спектров от различных источников света весьма разнообразен.
Спектры излучения можно разделить на три типа:
Непрерывные (или сплошные) спектры дают светящиеся тела, находящиеся в твердом или жидком состоянии, а также плотные газы. В сплошном спектре нет разрывов, что означает присутствие в излучении света всевозможных длин волн. Сплошные спектры дают, например, лампы накаливания.
Линейчатые спектры дают все вещества в газообразном атомарном (но не молекулярном) состоянии. Такие спектры – это «частокол» цветных линий различной яркости, разделенных темными промежутками. Для наблюдения линейчатых спектров используют свечение газов или паров веществ в пламени или электрической дуге, а так же газовый разряд в трубке, наполненной исследуемым газом или паром при низком давлении.
Полосатые спектры состоит из отдельных полос, разделенных темными промежутками. Полосы образуются путем наложения большого числа близко расположенных линий. Полосатые спектры создаются не атомами, а молекулами, и наблюдаются в твердых и жидких образцах.
Если пропускать белый свет сквозь холодный газ, жидкость, раствор, прозрачное твердое тело, то на фоне непрерывного спектра источника наблюдаются темные линии или полосы. Такие спектры называются спектрами поглощения (абсорбции).
Спектры несут огромную информацию об их источниках. Изучение спектров позволяет определить температуру излучающего тела, его химический состав, характер движения источника, энергетические характеристики атомов и молекул и т. д.
Монохроматор – это один из видов спектральных приборов, предназначенный для разложения излучения в спектр с целью последующего определения физической природы источника этого излучения. Для этого спектр должен быть «растянут» настолько, чтобы в нем не перекрывались узкие участки (линии) спектра. Количество, положение и относительные интенсивности этих лини строго индивидуальны и характерны для каждого вещества.
В
настоящей работе изучается монохроматор
УМ2 (универсальный монохроматор, модель
2), предназначенный для спектральных
исследований видимого и, частично,
инфракрасного и ультрафиолетового
излучения. Разложение света здесь
осуществляется на основе явления
дисперсии. Диспергирующим элементом в
нем является стеклянная призма
Аббе.
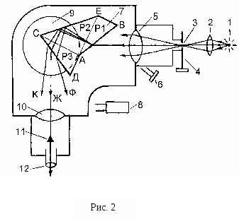
Оптическая схема монохроматора показана на рис. 2. Здесь: 1 - исследуемый источник света; 2 - конденсорная линза, предназначенная для увеличения яркости освещения щели. Ширина входной щели 3 регулируется микрометрическим винтом 4. Объектив 5 формирует параллельный пучок света и направляет его на переднюю грань призмы. Точная настройка (подвижка) этого объектива производится при помощи микрометрического винта 6. Призма Аббе 7 установлена на столике 9, который приводится во вращение барабаном 8. При помощи объектива 10 зрительной трубы изображение входной щели монохроматора формируется вблизи фокальной плоскости окуляра 12. В этой же плоскости помещен визир 11 – острие иглы. Это позволяет при визуальном наблюдении через окуляр одновременно видеть резкие изображения входной щели (вертикальные полоски света) и визира. Когда столик 9, на котором укреплена призма 7, барабаном 8 поворачивается относительно вертикальной оси, спектр также поворачивается, перемещаясь горизонтально, и в поле зрения
окуляра попадают разные участки спектра.
2. Экспериментальная часть
Задание 1. Подготовка монохроматора к работе
1. Осмотрите монохроматор, проверьте соответствие комплекта установки рисунку на планшете, который прилагается к прибору. Прочтите имеющиеся на приборах информационные таблички. Пользуясь рисунком на планшете, уясните назначение узлов и ручек управления монохроматором. Рассмотрите блок питания, ртутную и неоновую лампы.
2. На блоке питания включите тумблер "Сеть". На основании монохроматора расположены тумблеры включения освещения шкал и окулярного визира.
3. В поле зрения окуляра наблюдается окулярный указатель - визир 11, вертикальное острие иглы. Вращая обечайку окуляра, сделайте визир максимально резким. Поворачивая диск со светофильтрами наверху окуляра, можно менять цвет подсветки визира. Следует использовать цвет, ближайший к цвету наблюдаемого участка спектра. Интенсивность подсветки визира подбирается регулятором, расположенным рядом с его выключателем.
4. Изучите шкалу отсчетного барабана. Деления на барабане нанесены в градусных единицах (2/дел). Убедитесь, что при прохождении всего барабана, отсчетный флажок с риской не сходит с направляющей канавки барабана (при вращении барабана флажок желательно придерживать пальцем). Отсчет делений ведется по специальной риске с точкой на флажке.
5. Установите на рельс ртутную лампу вплотную к входной щели монохроматора. Питание лампы осуществляется от специального блока.
Внимание! Ртутная лампа наряду с видимым светом излучает ультрафиолет, вредный для глаз. Во избежание ожогов сетчатки глаза, лампа помещена в непрозрачный футляр с окошком, направленным в сторону щели монохроматора.
6. Раскройте входную щель на достаточно большую ширину (ручка микрометрического винта 4). Рукоятку затвора поставьте в положение "Откр.".
7. Приблизив глаз к окуляру монохроматора, вращением барабана 8 пройдите вначале весь спектр в любом направлении. В поле зрения должны наблюдаться вертикальные полосы от красного до фиолетового цветов.
8. Вращая барабан 8, найдите в спектре и установите в поле зрения окуляра яркую двойную желтую линию. Постепенно уменьшая ширину щели и пользуясь ручкой фокусировки 6, добейтесь, чтобы линии стали максимально контрастными – тонкими и яркими. «Желтый дублет» ртути должен четко различаться.
9. При просмотре всего спектра ртути по краям барабана должен оставаться некоторый запас делений.
Задание 2. Градуировка монохроматора
Цель: Градуировка любого измерительного прибора - это установление однозначного соответствия между значениями наблюдаемой физической величины и показаниями прибора. В частности, при градуировке монохроматора, необходимо установить зависимость между длинами волн линий, наблюдаемых в хорошо изученных (эталонных) спектрах и показаниями барабана 8: = f(). Эта зависимость должна быть отображена в виде градуировочного графика. В дальнейшем градировочный график может быть использован для определения длин волн в неизвестных спектрах.
Градуировка выполняется по линейчатым спектрам газов, длины волн спектральных линий которых уже известны. В настоящей работе монохроматор градуируется по спектрам паров ртути и инертного газа неона.
В таблице 1 указаны номер, цвет, длины волн для всех линий в спектре ртути в диапазоне видимого света от 400 нм до 710 нм. Этот спектр излучается в низковольтном дуговом разряде однозарядными ионами ртути.
Для получения полного спектра ртути необходимо очень хорошо настроить прибор и использовать качественную ртутно-кварцевую лампу. В студенческой лаборатории удается наблюдать наиболее яркие линии этого спектра (в таблице выделены жирным шрифтом, яркость линий дана в специальных единицах).
Обычно хорошо наблюдается одна из оранжевых линий, две близко расположенные желтые линии (дублет), одна яркая зеленая, сине-зеленая (голубая) и синяя яркая. Красные линии спектра и фиолетовую (405 нм), несмотря на относительную яркость последней, наблюдать визуально сложно, так как их цвета лежат на границах цветового восприятия человеческого глаза. Но при достаточно хорошей настройке прибора их все же удается наблюдать. Надо понимать, что цвет – характеристика достаточно субъективная и то, что один наблюдатель назовет красным (или синим), другой может назвать оранжевым (или фиолетовым).
Таблица 1
-
№ п/п
Цвет линии
, нм
Яркость
№ п/п
Цвет линии
, нм
Яркость
1
Красная
709
20
18
Зеленая
529
2
2
- “ -
708
25
19
- “ -
521
2
3
- “ -
691
25
20
- “ -
513
2
4
- “ -
671
16
21
- “ -
512
4
5
Оранжевая
3
22
- “ -
510
2
6
- “ -
612
2
23
- “ -
502
4
7
- “ -
607
2
24
- “ -
499
3
8
Желтая
587
2
25
Сине-зеленая
492
10
9
- “ -
585
6
26
-“ -
489
3
10
- “ -
580
14
27
- “ -
482
3
11
Яркий желтый дублет
579
100
28
Синяя яркая
436
400
12
577
24
29
- “ -
435
40
13
- “ -
567
16
30
- “ -
434
4
14
Зеленая
555
3
31
- “ -
434
30
15
Зеленая яркая
546
320
32
Фиолетовая
411
4
16
- “ -
538
3
33
- “ -
408
12
17
- “ -
535
6
34
- “ -
405
180

Отождествление линий в спектрах - это
трудоемкая и кропотливая работа. Для
ее облегчения показана схема расположения
линий в спектре ртути (рис. 3 а) и их
относительные интенсивности (рис. 3 б).
1. Начиная с фиолетового конца спектра, вращая барабан «на себя», поставьте напротив визира первую наблюдаемую линию спектра.
2. В таблицу 1 отчета занесите значение длины волны линии и отсчет по барабану.
3. Продолжайте градуировку. Отождествите наиболее характерные линии: яркую синюю, очень яркую зеленую, одну из желтого дублета и т. д. Возможно, удастся наблюдать крайнюю фиолетовую и одну из красных линий.
4. Оцените «на глазок» яркость линий по условной десятибалльной шкале. Самой яркой линии присваивается знак 10, самой слабой – 1.
5. После завершения измерений ртутного спектра выключите ртутную лампу. Ее повторное включение возможно не ранее чем через 5-10 минут.
6. Замените ртутную лампу на неоновую, питание которой осуществляется напряжением
2
20В.
Отождествите несколько линий спектра
неона. Из спектра неона можно, например,
выбрать линию 630
нм из тройки
оранжевых линий и две - три другие линии
– рис. 4.
7. Естественно, градуировочные кривые, построенные по спектру ртути и по спектру неона, на границе должны плавно сопрягаться.
8
.
Постройте на миллиметровой бумаге
градуировочный график, как показано на
рис. 4, откладывая по горизонтальной оси
деления
по барабану,
а по вертикальной оси - длину волны .
(Еще лучше, если построение градуировочного
графика ведется одновременно с измерениями
и заполнением таблицы 1 отчета. Тогда
будет сразу видно, что какая-либо точка
не ложится на плавную кривую, и ее следует
«перемерить»). Угловая координата
по оси абсцисс (рис. 5) откладывается в
порядке убывания. Это сделано для того,
чтобы точки на графике соответствовали
расположению линий спектра в поле зрения
трубы монохроматора. Вначале построения
графика точки наносятся аккуратно остро
отточенным карандашом. Если возникает
разброс точек, то следует перепроверить
отождествление линий на этом участке.
После уточнения точки следует отметить
более четко. У точек, соответствующих
наиболее ярким линиям укажите длину
волны. Соедините точки кривой линией.
График должен представлять собой гладкую
монотонную кривую, проходящую через
каждую измеренную точку.
Задание 3. Наблюдение сплошного спектра излучения и спектров поглощения
1. Источником сплошного спектра является лампа накаливания. Установите осветитель с лампой накаливания на рельс монохроматора и пронаблюдайте сплошной спектр лампы.
2. Для наблюдения спектров поглощения в данной работе используются интерференционные фильтры, пропускающие свет в очень узком интервале длин волн. Вставьте один из фильтров в держатель, укрепленный на монохроматоре. Измерьте длину волны середины полосы пропускания фильтра.
3. Сравните полученное значение с указанным на фильтре и сделайте вывод о точности измерений.
4. Оцените качество фильтра: нет ли других, кроме основной, полос пропускания; насколько узка полоса пропускания.
Задание 4. Измерение длины волны излучения лазера
Определите длину волны излучения выданного для опыта лазера.
Задание 5. Исследование неизвестного спектра
(выполняется по заданию преподавателя)
1. С помощью градуировочной кривой, построенной для данного спектрального аппарата в данных условиях можно определять длину волны линий в спектре любого неизвестного излучения. В настоящей работе исследуется спектр газа, полученный в тлеющем разряде.
2. Установите трубку с газом на рельс прибора вплотную к щели. Подключите ее к источнику питания. Отрегулируйте положение лампы так, чтобы линии в спектре были максимально яркими.
3. Для каждой спектральной линии измерьте угловую координату по шкале измерительного барабана. По градуировочному графику для каждой линии по значениям угла определяется длина волны (таблица 3 отчета).
4. Полученная таблица может быть сверена со значениями, взятыми из спектральных таблиц.
5. Описанные выше операции составляют основу метода идентификации вещества по его спектру – так называемого «качественного» спектрального анализа.
Отчет по лабораторной работе № 1
Дисперсия. Наблюдение спектров
выполненной студент курса, группа
…………………………………………………………………………………
«……» …………… 200 г.
Задание 2. Градуирование монохроматора УМ2
Таблица 1
|
№ п/п |
Цвет |
, нм из таблицы |
, |
Яркость «на глазок» |
|
Ртуть |
||||
|
1 |
||||
|
2 |
||||
|
3 |
||||
|
4 |
||||
|
5 |
||||
|
6 |
||||
|
7 |
||||
|
8 |
||||
|
Неон |
||||
|
9 |
||||
|
10 |
||||
|
11 |
||||
|
12 |
Градуировочный график монохроматора выполняется на отдельном листе миллиметровой бумаги удобного формата и прилагается к отчету.
Задание 3. Наблюдение сплошного спектра излучения и спектров
поглощения
Таблица 2
-
№ п/п
,
, нм
по градуировке
, нм
указанная на фильтре
, нм
Качество фильтра
1
2
3
4
5
6
7
Задание 4. Измерение длины волны излучения лазера
Задание 5. Исследование неизвестного спектра
Таблица 3
Газ ……………………
-
№ п/п
Цвет
Яркость
,
, нм
по
градуировке
, нм
табличное значение
, нм
1
2
3
4
5
Вывод: …………………………………………………………………………………………………………………………………………………………………………………………………………………………………………………………………………………………
1