Експериментальна аерогідродинаміка та гідравліка
Міністерство освіти і науки України
Дніпропетровський державний університет
ЛАБОРАТОРНИЙ ПРАКТИКУМ З АЕРОГІДРОМЕХАНІКИ ТА ГІДРАВЛІКИ
Рекомендовано Міністерством освіти і науки України як навчальний посібник для студентів механічних спеціальностей вищих закладів освіти
Ф.І. Аврахов,
П.І. Кудінов,
О.А. Приходько,
В.О. Сясєв
Дніпропетровськ
РВВ ДДУ 2000
УДК 532.526
Л 12
Рецензенти: д-р техн. наук, проф. М.М. Біляєв, канд. фіз. - мат. наук, доц. М.М. Личагін, канд. техн. наук, доц. В.М. Турик.
Л 12 Лабораторний практикум з аерогідромеханіки та гідравліки: Навч. посіб. / Ф.І. Аврахов, П.І. Кудінов, О.А. Приходько, В.О. Сясєв - Д.: РВВ ДДУ, 2000. - 96 с.
ISBN 966-551-048-7
Наведені початкові відомості з експериментальної аерогідродинаміки та гідравліки, а також методичні вказівки та інструкції до виконання лабораторних робіт.
Для студентів механічних спеціальностей вищих закладів освіти.
1603040100-009 УДК 532.526
2000
ISBN 966-551-048-7
Аврахов Ф.І., Кудінов П.І.,
Приходько О.А., Сясев В.О., 2000
Зміст
1. Гідродинаміка
1.1 Короткі теоретичні відомості з гідродинаміки
1.1.1 Лабораторна работа. Демонстрація рівняння бернуллі
1.2 Вимірювання швидкостей та витрат рідини
1.2.1 Лабораторна работа 2. Методи вимірювання швидкості та витрати рідини
1.3 Режими руху рідини
1.3.1 Лабораторна работа 3. Дослідження режимів руху рідини
1.4 Дослідження гідравлічного опору труб
1.4.1 Лабораторна работа. Визначення коефіцієнта опору тертя
1.5 Дослідження місцевих опорів
1.6 Методика експериментального визначення коефіцієнтів місцевих опорів
1.6.1 Лабораторна работа. Визначення коефіцієнта місцевого опору
Передмова
Незважаючи на успіхи в розробці теоретичних методів, аерогідромеханіка, по суті, залишається наукою експериментальною. В аеродинамічному експерименті широко застосовуються прийоми візуалізації потоку, які дозволяють, зробивши потік "видимим", вивчати його характерні деталі. Для дослідження розподілу тиску на поверхні тіла використовується метод дренованих моделей, а для знаходження аеродинамічних характеристик тіл - метод терезів.
Сучасна матеріальна база експериментальної аеродинаміки досить розвинена. Вона охоплює широкий клас обладнання - від навчального демонстраційного обладнання, яке можна розмістити навіть на лабораторному столі, до велетенських промислових установок: аеродинамічних труб, дослідних стендів. Для виконання вимірювань в аеродинаміці застосовується багато різноманітних датчиків та реєструючих приладів.
Як бачимо, сучасна експериментальна аеродинаміка - складне і різнопланове господарство, з яким студенти, що спеціалізуються в галузі ракетної техніки, повинні бути добре обізнані.
У запропонованому виданні вміщений опис лабораторних робіт, виконання яких сприятиме формуванню навичок проведення експерименту, практичному ознайомленню з методикою вимірювання та прийомами обробки дослідних даних. У процесі виконання лабораторної роботи студент повинен добре усвідомити фізичну суть і закономірності досліджуваного явища, що дозволить краще сприймати лекційний матеріал.
1. Гідродинаміка
1.1 Короткі теоретичні відомості з гідродинаміки
Гідродинамікою називається розділ механіки рідини, у якому вивчаються закони її руху. Потік реальної рідини характеризують швидкістю, дотичними напруженнями та тиском у різних точках простору, зайнятого рідиною.
Перелічені параметри в загальному випадку залежать від координат простору та часу.
Рух рідини може бути усталеним (стаціонарним) або неусталеним (нестаціонарним).
Усталений рух не змінюється з часом, тобто це рух, при якому тиск і швидкість є функціями лише просторових координат:

Витратою рідини називається кількість рідини, яка протікає через поперечний переріз потоку за одиницю часу. Цю кількість рідини можна вимірювати одиницями об’єму, маси або ваги. Відповідно розрізняють витрати: об’ємні - Q, м3/с;
масові
- М, кг/с; (
);
вагові
- G, Н/c; (
).
Швидкості реальних рідин у поперечному перерізі потоку розподілені нерівномірно (рис.1), зокрема через прилипання частинок рідини до поверхні труби швидкість рідини на її стінках дорівнює нулю.
Середньою швидкістю V рідини у поперечному перерізі потоку з площею F називається фіктивна, однакова для всіх точок перерізу, швидкість
.
Рух рідини описують такі основні закони:
1. Закон незмінності витрат уздовж потоку, який записується рівнянням нерозривності
.
2. Закон збереження енергії.

Рис.1. Епюра швидкостей реальної рідини в трубі
Потік рідини має енергію, яка характеризує його здатність виконувати механічну роботу. У загальному випадку повний запас механічної енергії в довільному перерізі можна виразити співвідношенням

де
z-енергія положення частинок рідини,
або геометрична висота розміщення
перерізу над лінією відліку висот;
-енергія
тиску або п’єзометричний напір;
- швидкісний напір або питома кінетична
енергія;
-коефіцієнт
кінетичної енергії (коефіцієнт Коріоліса),
який залежить від характеру нерівномірності
швидкості в поперечному перерізі:

деU - дійсна швидкість частинок рідини (рис.1).
Для порівняння величин енергії в різних перерізах потоку користуються поняттям питомої енергії
.
Закон збереження питомої механічної енергії описується рівнянням Бернуллі

де н>в (1-2) >- величина втрат питомої механічної енергії (напору) рідини між перерізами 1 і 2 (рис.2).
Втрати напору можна розділити на втрати на прямолінійних ділянках труби (втрати на тертя) - н>в. т> і втрати на ділянках, де змінюється швидкість (місцеві втрати), - н>в. м.>
Втрати на тертя в трубах визначаються за формулою Дарсі-Вейсбаха
,
де - коефіцієнт опору тертя (коефіцієнт Дарсі);
- довжина труби;
d - діаметр труби.
Місцеві втрати визначаються за формулою
,
де - коефіцієнт місцевого опору, який залежить від геометричних параметрів, стану кромок, шорсткості поверхні та числа Рейнольдса Re.

Рис.2. Діаграма рівняння Бернуллі
1.1.1 Лабораторна работа. Демонстрація рівняння бернуллі
Мета роботи:
1. З’ясування фізичної суті рівняння Бернуллі.
2. Побудова п’єзометричної та напірної ліній.
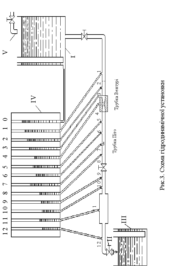
ОПИС УСТАНОВКИ. Гідродинамічна установка для демонстрації рівняння Бернуллі (рис.3) складається з довгого, горизонтально розташованого трубопроводу змінного перерізу зі змонтованими на ньому місцевими опорами (звуження, розширення, кран, коліно і т.п.).
Для вимірювання тиску в потоці на трубі встановлені п’єзометри і трубка Піто. Всі п’єзометри і трубка Піто виведені на один щит (батарейний манометр) ІV. Вода в трубу подається з напірного бака 1. Під час проведення експерименту в баці постійно забезпечується збереження постійного рівня води.
Виберемо вісь труби за лінію відліку висот. Тоді геометрична висота всіх вибраних на горизонтальній ділянці труби перерізів даної установки z>i>=0.
ПОРЯДОК ПРОВЕДЕННЯ ДОСЛІДУ
1. Відкрити вихідний кран ІІІ.
2. Під час проведення досліду необхідно підтримувати постійним діючий напір. Це досягається регулюванням доступу води в бак за допомогою вентиля V. При цьому рівень води в нульовому п’єзометрі на батарейному манометрі повинен залишатися незмінним. Заміряти висоту напору Н>0> і занести результат до протоколу.
3. За допомогою бачка ІІІ та секундоміра визначити секундні витрати. Для цього секундоміром зафіксувати час ?>j> наповнення бачка до об’єму W>j>. Для зменшення помилки досліду виміри секундних витрат виконати тричі. Дані досліду ?>j> і W>j> занести до протоколу.
4. У протоколі слід також записати покази п’єзометрів н>i>.

ОФОРМЛЕННЯ РЕЗУЛЬТАТІВ ДОСЛІДУ.
1. Середні об’ємні секундні витрати Q>cp> обчислити за формулою
,
де
- об’ємні витрати для j-го заміру.
2. Середні швидкості V>і> в кожному із перерізів визначити за формулою
,
(i=1,2,…12; i7)
де d>і> - діаметр труби в і-му перерізі.
3.
Обчислити величини кінетичної енергії
для кожного і-го перерізу труби, приймаючи
?>i
>1.
4. Обчислити величини питомої механічної енергії рідини в кожному і-му перерізі труби:
.
5. Визначити величину втрат напору н>вi> для кожного перерізу
.
6. За одержаними дослідними даними побудувати п’єзометричну та напірну лінії.
Діаграму рівняння Бернуллі будують у такій послідовності:
а) від лінії відліку висот z>i>=0 нанести на діаграму п’єзометричні висоти н>i>;
б)
приймаючи за початок відрахунку
п’єзометричну лінію, побудувати напірну
лінію, для чого в кожному і-му перерізі
необхідно відкласти відрізки, величина
яких дорівнює
.
Протокол досліду
|
№ пере- рiзу |
н>i>, cм |
W>j>, см3 |
?>j>, с |
Q>j>, см3/с |
Q>ср>, см3/с |
V, см/с |
Н>i>, см |
н>Вi>>,> см |
|
1 |
||||||||
|
2 |
||||||||
|
3 |
||||||||
|
4 |
||||||||
|
5 |
||||||||
|
6 |
||||||||
|
8 |
||||||||
|
9 |
||||||||
|
10 |
||||||||
|
11 |
||||||||
|
12 |
1.2 Вимірювання швидкостей та витрат рідини
Вимірювання швидкостей рідини, яка тече в трубах і каналах, можна виконати різними методами.
У лабораторній практиці з цією метою застосовують прилади, принцип дії котрих грунтується на вимірюваннях повного та статичного тисків.
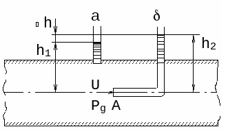
Трубка Піто.
Якщо в потік помістити зігнуту під прямим кутом тонку трубку і направити відкритий її кінець назустріч потоку, розмістивши приймальний отвір у точці вимірювання А, а другий кінець з’єднати з атмосферою, то в такій трубці (трубці повного напору) рідина піднімається на таку висоту н>2>, що тиск P>2>= н>2>, створений стовпцем рідини у трубці, зрівноважить повний тиск потоку:

Рис.4. Трубки для вимiрювання повного та статичного тискiв
,
де - густина рідини;
P>1> - статичний тиск у точці вимірюванні;
U - швидкість у точці вимірювання.
Тиск P>1> можна вимірювати за допомогою трубки a статичного напору (п’єзометричної трубки). Різниця рівнів рідини у трубках н=н>2>-н>1 >дає можливість визначити величину швидкості в точці вимірювання, тобто в точці А. Дійсно,
,звідси
.
Таким чином, за допомогою трубок повного і статичного тисків ми маємо змогу знайти швидкість у будь-якій точці потоку.
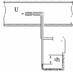
Комбіновані насадки. Для визначення швидкості в практиці лабораторій часто користуються удосконаленою трубкою Піто, яку називають комбінованим насадком (рис.5). Він складається з двох концентрично розміщених трубок, з яких центральна передає на одне із колін диференційного манометра повний напір, а через отвори, зроблені на боковій поверхні другої, зовнішньої, трубки, через щілину між трубками передається на друге коліно манометра статичний тиск. За різницею рівнів рідини в колінах диференційного рідинного манометра і визначається швидкість потоку в даній точці. У більшості випадків такі комбіновані насадки мають сферичну головну частину.
Так як отвори для прийому тисків неможливо сумістити, то тиски P>1> і P>2> практично вимірюються в різних точках потоку. Ця обставина є однією з причин, які створюють систематичну похибку комбінованого насадка. На точність впливають також розміри отворів та ретельність їх виконання. У зв’язку з цим швидкість потоку при її визначенні за допомогою комбінованого насадка обчислюється за такою формулою:
,
де
К - коефіцієнт, величина якого визначається
для кожного насадка експериментальним
шляхом (тарування насадка). Найчастіше
величина
.

Рис.5. Комбiнований насадок i диференцiйний манометр
До приладів для замірювання кількості (об’єму, ваги) рідини відносяться вимірні баки, механічні лічильники, а також різноманітні прилади, в яких використовується звуження потоку.
Вимірювання витрат за допомогою об’ємних вимірників
За допомогою вимірника об’єму можна визначити W - кількість рідини, яка витікає з гідросистеми за деякий проміжок часу ?, який відлічують за допомогою секундоміра.
При цьому витрата рідини
.
Спосіб вимірювання витрат за допомогою мірного бака є найбільш точним і широко використовується в лабораторній практиці для тарування інших вимірників витрат.
1.2.1 Лабораторна работа 2. Методи вимірювання швидкості та витрати рідини
МЕТА РОБОТИ:
Засвоїти методику вимірювання швидкості рідини за допомогою трубки Піто.
Засвоїти методику вимірювання витрат рідини в трубі за допомогою трубки Вентурі.
Провести тарування приладу.
ОПИС УСТАНОВКИ. Дослід проводиться на гідродинамічній установці, схема якої зображена на рис.3. На щиті п’єзометрів: п’єзометр 7 - трубка для вимірювання повного напору (трубка Піто); п’єзометр 6 призначений для вимірювання статичного тиску в цьому перерізі; п’єзометри 3 і 4 - для вимірювання статичних тисків у двох перерізах трубки Вентурі.
ПОРЯДОК ПРОВЕДЕННЯ ДОСЛІДУ
1. Відкрити крани ІІ і V (рис.3) та встановити стабільний рух рідини в трубі. Записати до протоколу покази п’єзометрів 3, 4, 6, 7, об’ємним способом (за допомогою мірного бачка та секундоміра) тричі виміряти витрати рідини при заданому установленому режимі руху. Одержані дані занести до протоколу досліду.
2. Таку ж саму роботу провести для чотирьох - п’яти інших режимів руху рідини. Перехід на нові режими досягається за допомогою кранів ІІ та V. Необхідно стежити за тим, щоб при всіх режимах рух рідини був усталеним.
ОФОРМЛЕННЯ РЕЗУЛЬТАТІВ ДОСЛІДУ
1. Для кожного режиму руху рідини обчислити об’ємні секундні витрати за формулою
,
(j=1, 2,3),
потім за трьома виміряними значеннями витрат знайти для даного режиму середню величину витрат
,
(n=3),
Де W>j - >об’єм рідини у мірному бачку;
?>j - >час вимірювання;
n - число вимірювань.
2. Визначити величину середньої швидкості в тому перерізі труби, де встановлено трубку Піто:
.
3. Обчислити різницю рівнів рідини у трубках 6 і 7, тобто
н>>=н>7 - >н>6>.
4. Визначити місцеву швидкість в точці на осі труби, де встановлено трубку Піто:
.
5. Визначити різницю Н>B>=н>3>-н>4>, тобто різницю рівнів рідини в п’єзометрах, встановлених на трубці Вентурі.
6. Обчислити витрати рідини за показами трубки Вентурі згідно з формулою
,
де F>3> - площа поперечного перерізу труби, F>4> - площа поперечного перерізу горловини (рис.3).
7. Визначити коефіцієнт витрат >B> для трубки Вентурі
.
8. Побудувати графіки V>>=f (н>>) i V>c>=f (н>>).
9. Побудувати графіки Q>B>=f (Н>B>) i Q>cр>=f (Н>B>).
10. Побудувати графіки >B>=f (Q>B>) i >B>=f (Q>C>).
Протокол досліду
|
№ Вимiру |
Покази п’?зометрiв |
н, см |
Н>в>, см |
?>j,> с |
W>j,> см 3 |
Q>j>, см 3/с |
Q>cр>, см 3/с |
V>c>, м/с |
V>>, м/с |
Q>B>, м 3/с |
>B> |
|||
|
н>3, с>м |
н>4, с>м |
н>5, с>м |
н>6, с>м |
|||||||||||
|
1 |
||||||||||||||
|
2 |
||||||||||||||
|
3 |
||||||||||||||
|
4 |
||||||||||||||
|
5 |
||||||||||||||
1.3 Режими руху рідини
Дослідження механізму руху в’язкої рідини приводять до висновку про наявність двох різних його режимів, що якісно відрізняються один від одного. Характер руху рідини можна спостерігати, пропускаючи її через прозору скляну трубку і підфарбувавши центральну струминку потоку чорнилом, питома вага якого повинна приблизно дорівнювати питомій вазі води в трубі (Рис.6). При повільному русі рідини струминка чорнила добре помітна в масі рідини у вигляді нитки чи струни. Така картина течії свідчить про те, що всі елементарні струминки потоку рухаються паралельно одна одній, не змішуючись уздовж усього потоку. Цей вид течії називається ламінарним (lamіna - пластина, полоса). Якщо швидкість течії в трубі повільно збільшувати, то деякий час характер руху рідини зберігається, але потім, при відносно більших швидкостях, характер потоку починає змінюватись, про що свідчить зміна виду підфарбованої струминки, яка з прямолінійної перетворюється у хвилясту.
При подальшому збільшенні швидкості на деяких ділянках підфарбована струминка втрачає свою форму, з’являються розриви, і, врешті-решт, при деякій (критичній) швидкості вона цілком руйнується. Цей вид руху називають турбулентним (від латин. turbulentus - вихровий).
Перехід від ламінарного до турбулентного режиму й навпаки відбувається при цілком визначених для заданої труби швидкостях V>к1> та V>к2>, де V>к1>> - >нижня критична швидкість, а V>к2> - верхня.
Якщо V<V>к1> - режим ламінарний; при V>V>к2>> - >режим турбулентний; при V>к1><V<V>к2> - нестійкий рух рідини (перехідна зона).
При практичних розрахунках перехідну зону відносять до турбулентного режиму.
На характер руху рідини (режим руху), окрім швидкості, істотно впливають фізичні властивості рідини (в’язкість, густина), а також форма та розміри поперечного перерізу потоку.
Кількісним критерієм для визначення режиму руху є число Рейнольдса
,
де V - середня швидкість потоку в даному перерізі;
d - внутрішній діаметр труби;
- кінематичний коефіцієнт в’язкості, який залежить від рідини та її температури.

Рис.6. Режими руху рідини
Експериментально встановлено, що при Re<2320 - рух ламінарний, а приRe>2320 - він турбулентний.
Число Re=2320 називають критичним. Для труб некругового поперечного перерізу замість діаметра у формулу для обчислення величини числа Рейнольдса ставлять 4R>r>, де R>r> - гідравлічний радіус потоку:
,
м,
де F - площа поперечного перерізу потоку;
- змочена частина периметра.
1.3.1 Лабораторна работа 3. Дослідження режимів руху рідини
МЕТА РОБОТИ:
Вивчити режими руху води у скляній трубі.
Замалювати підфарбовану струминку при різних режимах.
Дослідним шляхом визначити значення чисел Re при ламінарному й турбулентному режимах.
Визначити межі значень критичного числа Re.
Побудувати графік залежності швидкості V від Re.
ОПИС УСТАНОВКИ. Установка для дослідження режимів руху рідини (рис.7) складається з напірного бака V і скляної труби І. На вхід скляної труби підведена струминка чорнила. Витрата чорнила регулюється краном VІ. Температуру води вимірюють термометром.
Дослід необхідно проводити при постійному рівні рідини у напірному баці. Рівень води в баці можна спостерігати на водомірному склі або на п’єзометрі, розміщеному на щиті (рис.7).

Рис.7. Установка для дослідження режимів руху рідини
Витрата рідини визначається об’ємним способом, тобто за допомогою мірного бака та секундоміра.
ПОРЯДОК ПРОВЕДЕННЯ ДОСЛІДУ
1. За допомогою кранів ІІ і ІІІ установити стаціонарний рух води в трубі, після цього відкрити кран VІ і спостерігати за рухом чорнила в трубі І.
Необхідно замалювати структуру потоку, заміряти витрати води за допомогою мірного бачка тричі. Усі дані занести до протоколу.
2. Повільно відкриваючи кран ІІ, за допомогою крана ІІІ встановити в напірному баці новий (вищий) рівень води, зафіксувати момент переходу від ламінарного режиму до турбулентного й знову тричі виміряти секундні витрати води.
3. Відкрити кран ІІ і, домігшись усталеного руху води, повторити весь обсяг робіт для турбулентного режиму.
4. Повільно перекриваючи кран ІІ і підтримуючи за допомогою крана ІІІ постійний рівень у баці, зафіксувати у картинці руху струминки чорнила момент переходу від турбулентного режиму до ламінарного і знову тричі заміряти витрати.
5. Виміряти температуру води.
ОФОРМЛЕННЯ РЕЗУЛЬТАТІВ ДОСЛІДУ
1. Визначити секундні витрати води для кожного з режимів руху води (див. лабораторні роботи 1,2).
2. Обчислити величину середніх швидкостей
,
де F>т> - площа поперечного перерізу скляної труби.
3. Обчислити коефіцієнт кінематичної в’язкості води за формулою
,
см2/с.
4. Для кожного режиму руху визначити число
.
5. Побудувати графік залежності V=f (Re).
Протокол досліду
|
Режим руху |
i |
№ вимiру |
W>ji>, см3 |
?>ji>, с |
Q>ji>, см3/с |
Q>cp. i>, см3/с |
V>i>, см/с |
, см2/с |
Re |
|
I |
1 |
||||||||
|
2 |
|||||||||
|
3 |
|||||||||
|
II |
1 |
||||||||
|
2 |
|||||||||
|
3 |
|||||||||
|
III |
1 |
||||||||
|
2 |
|||||||||
|
3 |
|||||||||
|
IV |
1 |
||||||||
|
2 |
|||||||||
|
3 |
|||||||||
|
V |
1 |
||||||||
|
2 |
|||||||||
|
3 |
1.4 Дослідження гідравлічного опору труб
Дослідження гідравлічного опору прямого трубопроводу з постійним круговим перерізом. Реальна рідина, яка тече в трубі або якомусь іншому каналі, зазнає опору своєму рухові, тобто при русі від одного перерізу до іншого втрачається якась частка механічної енергії потоку. Якщо рідина рухається в прямій трубі з постійним поперечним перерізом, то енергія витрачається на подолання сили тертя. Втрата напору на сили тертя формально може бути визначена за рівнянням Бернуллі, яке потрібно застосовувати для двох поперечних перерізів труби, що знаходяться на відстані :
.
При горизонтальному положенні труби (рис.8) z>1>=z>2>, а якщо труба має постійний поперечний переріз, то для усталеного руху і V>1>=V>2>. Тоді втрати напору знаходять за формулою
,
де
і
- п’єзометричні напори в початковому
(1) і кінцевому (2) перерізах труби.
На практиці для обчислення втрат напору на тертя користуються формулою Дарсі-Вейсбаха
,
де - довжина труби від перерізу 1 до перерізу 2; d - внутрішній діаметр труби; - коефіцієнт гідравлічного опору;V - середня швидкість рідини в трубі. Із формули Дарсі-Вейсбаха видно, що втрати напору пропорціональні квадрату швидкості, тому цей закон прийнято називати законом квадратичного опору. Експериментальні дослідження показують, що на величину втрат напору суттєво впливають режим руху, матеріал та стан стінок труби, форма поперечного перерізу тощо. Окрім того, дослідами також встановлено, що втрати напору не завжди пропорціональні квадрату швидкості. Так, при ламінарному русі н>>> > V1, при турбулентному русі з малими числами Re н>>> > V (1,752) і тільки при великих числах Re н>>> > V2.

Рис.8. Втрати напору на тертя
Але квадратична залежність Дарсі-Вейсбаха виявилася дуже зручною для практики і доцільною з погляду одноманітності розрахунків. Цією формулою користуються при обчисленнях як ламінарних, так і турбулентних режимів руху. А відхилення від квадратичної залежності враховується тим, що значення коефіцієнта ставиться у пряму залежність від Re, шорсткості поверхні тощо. Визначенню впливу різних факторів на присвячено багато експериментальних робіт.
Найбільш цінними своєю систематичністю та широким діапазоном досліджень є експерименти, які виконав Нікурадзе. На рис.9 наведено графік, побудований за даними Нікурадзе. Як видно з графіка, залежність =f (Re,) є дуже складною.
Для з’ясування фізичної суті цієї закономірності розглянемо структуру потоку рідини в трубі і шорсткість стінок труби. Абсолютною шорсткістю
К прийнято називати величину виступів, зазубрин, нерівностей на стінці. Експерименти показують, що величина втрат напору н>> залежить не тільки від величини К, але й від форми виступів, частоти та порядку їх розташування. Очевидно також, що одна й та ж абсолютна шорсткість у трубах малого діаметра буде більше впливати на потік, ніж у трубах великого діаметра. А тому більш характерною є величина відносної шорсткості
,
де d - діаметр труби.
Присутність твердої поверхні суттєво зменшує величину поперечної пульсації швидкості в пристінному шарі. Експеримент свідчить, що навіть при великих швидкостях потоку, рідина біля стінки труби рухається повільно, упорядковано, обтікаючи виступи та нерівності поверхні. Установлено, що біля стінки реалізується ламінарний режим руху. Товщина ламінарного пристінного прошарку залежить від числа Re та діаметра d:
.

Рис.9. Залежність від числа Re згідно з результатами дослідів Нікурадзе
У тому разі, коли , тобто коли ламінарний прошарок покриває виступи та нерівності труби, очевидно, що величина шорсткості не буде впливати на втрати напору, і така труба буде гідравлічно гладкою трубою. При < вона гідравлічно шорстка. Оскільки залежить від Re>,> то одна й та ж труба може бути гідравлічно гладкою й гідравлічно шорсткою залежно від величини числа Re. Область залежності =f (Re,) можна розділити на п’ять характерних зон (рис.9): І - зона ламінарного руху, 0<Re<2320, втрати напору не залежать від шорсткості:
;
ІІ - зона перехідного режиму, 2320<Re<4000, втрати також не залежать від шорсткості поверхні:
,
де
a0,02
для водопровідних труб із середньою
шорсткістю; ІІІ - зона гідравлічно
гладких труб, 4000<Rе<40
,
шорсткість не впливає на втрати напору:
(формула Блазiуса);
ІV
- зона шорстких труб, 40
<Rе<500
,
втрати напору залежать і від числа Re і
від шорсткості:
(формула Альтшуля);
V
- зона квадратичного опору (або зона
автомодельності), Rе>500
,
втрати напору залежать тільки від
шорсткості:
(формула Шифринсона).
Необхідно зазначити, що для ІІ-V зон відомо багато інших емпіричних формул, за якими визначають коєфіцієнт .
1.4.1 Лабораторна работа. Визначення коефіцієнта опору тертя
МЕТА РОБОТИ:
1. Для різних значень чисел Re визначити експериментально величину коефіцієнта опору тертя трубопроводу >Д>.
2. За результатами досліду визначити величину шорсткості труби К.
3. Обчислити величину коефіцієнта >Ф> за формулами й порівняти зі значеннями коефіцієнтів >Д>, одержаними експериментально.
4. Побудувати графіки залежностей
та
.
ОПИС УСТАНОВКИ. Схема гідродинамічної установки для визначення коефіцієнта опору >Д> зображена на рис.10. Покази п’єзометрів 1 і 2 відмічають п’єзометричні напори на початку і в кінці труби, довжина якої .
Під час проведення досліду рівень рідини в напірному баці необхідно підтримувати постійним за допомогою кранів ІІ і ІІІ.
Секундні витрати води слід фіксувати за показами мірного бачка V.
ПОРЯДОК ПРОВЕДЕННЯ ДОСЛІДУ
1. Відкрити крани ІІ і ІІІ. За допомогою крана ІІІ підтримувати постійний рівень води в баці. Записати до протоколу досліду різницю значень рівнів рідини у п’єзометрах 1 і 2, розташованих на щиті ІV: н>>=н>1>-н>2>. Провести вимірювання секундних витрат води.
2. Дотримуючись послідовності, вказаної в п. І, виконати дослід при інших режимах руху рідини, тобто при інших положеннях рівня води в напірному баці.
3. Виміряти температуру води.

Рис.10. Схема установки для дослідження коефіцієнта опору тертя
ОФОРМЛЕННЯ РЕЗУЛЬТАТІВ ДОСЛІДУ
1. Обчислити величину швидкостей потоку
,
де
- площа поперечного перерізу труби.
2. Обчислити експериментальні значення коефіцієнта опору тертя
.
3. Знайти величину коефіцієнта в’язкості (див. лабораторну работу 3).
4. Визначити числа Рейнольдса
.
5.
Обчислити
та
і нанести одержані дані на графік
Нікурадзе (рис.10). Для тих точок, що
потрапили до IV та V зон, знайти величину
,
скориставшись відповідно формулами
Альтшуля і Шифрінсона.
6. Визначити, до яких зон належать числа Re в проведеному досліді, і за формулами для відповідних зон обчислити відповідні значення коефіцієнта >Ф>.
7. Побудувати графіки залежностей

Протокол досліду
|
Режим руху |
н>>>,> см |
Q>ср,> см3/с |
V, см/с |
, см2/с |
Re |
>Д> |
>Ф> |
|
1 |
|||||||
|
2 |
|||||||
|
3 |
|||||||
|
4 |
|||||||
|
5 |
1.5 Дослідження місцевих опорів
Трубопроводи та канали, які застосовуються для транспортування рідин, складаються не тільки з прямолінійних ділянок з постійним поперечним перерізом, але й з різноманітних криволінійних з'єднувальних ділянок, як з постійним, так і зі змінним поперечним перерізом. Вони також мають різні дросельні та перекривні пристрої, ділянки з різними сітками, решітками, лабіринтами тощо. Потік рідини, проходячи через такі місця, деформується, змінює напрям, звужується або розширюється (часто з утворенням завихрень, застійних областей тощо), у результаті якась частка механічної енергії потоку перетворюється в теплоту. Місцевими гідравлічними втратами називають ту питому механічну енергію потоку, яка втрачається на різних пристроях, змонтованих на трубопроводі. Кількісне визначення величин місцевих втрат має велике практичне значення. Від правильності оцінки гідравлічного опору різних пристроїв залежить правильне проектування тієї чи іншої гідравлічної споруди, установки, якість їх роботи та економічність.
Загальний вид формули для визначення втрат напору на місцевих опорах можна одержати з аналізу розмірностей величин, які характеризують потік:
,
де н>м> - втрати напору на місцевих опорах;
- коефіцієнт місцевого опору, який залежить від числа Re, форми місцевого опору, шорсткості його поверхні тощо, а для перепускних пристроїв (крани, вентилі та ін) ще й від ступеня їх перекритості;
V - середня на перерізі швидкість потоку.
Як бачимо з формули, втрати напору визначаються у частках питомої кінетичної енергії (швидкісного напору).
Часто поперечні перерізи до і після місцевого опору бувають різними, а тому й середні швидкості в цих перерізах також будуть неоднаковими. Втрати напору н>м> можна визначати через швидкісні напори як до, так і після місцевого опору. Тому коефіцієнт може бути віднесений до того чи іншого швидкісного напору, але при цьому він, звичайно, буде мати різні значення.
Через складність явищ, які реалізуються в рідині при перетіканні через місцеві опори, теоретично одержати формули для коєфіцієнта можна лише для найпростіших випадків, наприклад для раптового розширення труби. Для більшості місцевих опорів коефіцієнт визначають експериментально, і ці дані наведено в довідниках з гідравліки. При використанні довідникових даних слід мати на увазі, що значення , одержані експериментально, можна застосовувати лише в тому разі, коли місцевий опір у всьому подібний до який наведеного в довіднику. Навіть невелике відхилення геометричних параметрів місцевих опорів може призвести до істотних змін значень коефіцієнта .
Вплив числа Re на величину сильно проявляється при малих числах Re>,> яким у трубі без місцевого опору відповідав би ламінарний режим.
Наявність у трубі місцевого опору приводить до того, що ламінарний потік руйнується раніше, ніж у трубі без місцевого опору.
Для турбулентних потоків вплив числа Re на величину коефіцієнта невеликий.
Розглянемо кілька місцевих опорів, які найбільш часто зустрічаються в практиці (рис.11-14).
1. Раптове розширення потоку належить до тих місцевих опорів, для яких формула визначення втрат напору може бути одержана теоретично.

Рис.11. Раптове розширення потоку
Як показує дослід, у разі раптового розширення труби потік при переході із будь-якого поперечного перерізу в широкий не відразу займає весь переріз, а розширюється поступово. У місці розширення виникає "застійна зона", заповнена рідиною, яка не бере участі в русі вздовж труби.
Записавши рівняння Бернуллі для перерізів 1-2, а також скориставшись теоремою про незмінність кількості руху рідини в об’ємі між перерізами 1-2, можна одержати формулу Борда-Карло
,
де >1> і >2> - коефіцієнти, які залежать від нерівномірності розподілу швидкості в поперечному перерізі. Розглядаючи тільки турбулентний потік (>1>=>2>=1, >1>=>2>=1), одержимо
.
Різниця швидкостей (V>1>-V>2>) - це втрата швидкості на даному місцевому опорі. Одержаний результат можна сформулювати так: втрати напору при раптовому розширенні визначаються через швидкісний напір втраченої величини швидкості.
Втрата напору при раптовому розширенні може бути виражена як через швидкісний напір до розширення, так і через швидкісний напір після розширення:
,
.
Скориставшись рівнянням нерозривності
,
формулам для н>p. p. >можна надати такого вигляду:
,
,
де F>1> і F>2> - площі поперечних перерізів труби до і після розширення відповідно.
Порівнюючи одержані формули із загальною формулою визначення втрат напору на місцевих опорах, можемо знайти
,
.
Зокрема першу із цих формул можна застосувати для визначення коефіцієнта втрат при виході потоку із труби в резервуар
:
,
або
i (точнiше)
.
2.
Раптове звуження. При раптовому звуженні
труби від перерізу площею F>1>
до перерізу площею F>2>
(рис.12) коефіцієнт втрат напору
набуває, в залежності від співвідношення
площ F>2>/
F>1>,
значень, які вказані в табл.1.
Таблиця 1
|
F>2>/ F>1> |
0,01 |
0,10 |
0, 20 |
0,40 |
0,60 |
0,80 |
1,0 |
|
|
0,5 |
0,47 |
0,45 |
0,34 |
0,25 |
0,15 |
0 |

Рис.12. Раптове звуження потоку
В окремому випадку для нормального входу із резервуара в трубу, коли F>2>/ F>1>0> >>р. з>=0.5. Величину >р. з >можна також обчислювати за формулою
.
Закруглення гострих кромок при вході значно знижує величину коефіцієнта >р. з>.
3. Коліно без закруглень (рис.13). Значення коефіцієнта >кол> для різних кутів повороту труб вказані в табл.2.
Таблиця 2
|
|
30 |
50 |
70 |
90 |
|
>кол> |
0,2 |
0,4 |
0,7 |
1,1 |

Рис.13. Коліно без закруглень
4. Плавне закруглення (рис.14). За даними експерименту для плавного закруглення при =90 відома емпірична формула
,
де R - радіус закруглення, r - радіус труби.
Для різних співвідношень r/R значення >зак> наведені в табл.3.

Рис.14. Плавне закруглення
Таблиця 3
|
r/R |
0,1 |
0,2 |
0,3 |
0,4 |
0,5 |
0,6 |
0,7 |
0,8 |
0,9 |
1,0 |
|
>зак> |
0,13 |
0,14 |
0,16 |
0,21 |
0,29 |
0,44 |
0,86 |
0,98 |
1,41 |
1,98 |
Даними табл.3 можна користуватися й при інших значеннях куnів повороту (), якщо >зак> помножити на величину співвідношення /.
При визначенні коефіцієнта >зак> слід мати на увазі, що на практиці застосовують часто муфтові закруглення, які разом з трубою утворюють складний місцевий опір, для якого коефіцієнт >зак> значно більший, ніж наведені табличні дані.
За даними Франкеля, для водопровідних труб d=26 мм >зак>=2,842,76 при Re=193000246000 і >зак>=0,918 при Re=34000100000.
1.6 Методика експериментального визначення коефіцієнтів місцевих опорів
При експериментальному дослідженні коефіцієнтів місцевих опорів потрібно мати на увазі можливість різних умов розміщення опорів у трубі, бо вони впливають на величину втрат напору. Загальна схема експериментальної установки для визначення опору зображена на рис.15.

Рис.15. Схема експериментальної установки для дослідження місцевих опорів
Розглянемо той випадок, коли діаметр труби до і після місцевого опору однаковий.
Від системи живлення 1,2 установки вода підводиться по трубі до експериментальної ділянки 0-II, яка складається з прямого трубопроводу 0-I і трубопроводу I-II з місцевим опором. Довжини й діаметри обох трубопроводів однакові, дорівнюють відповідно >1>+>2> та d.
Довжини >1> і >2> слід вибирати таким чином, щоб досліджуваний місцевий опір не міг впливати на розподіл швидкостей в перерізах І і ІІ.
Після експериментальної ділянки вода поступає в прилад 3 для вимірювання секундних витрат у трубі, на якій встановлено кран 5. Температуру води вимірюємо за допомогою термометра 4. Втрати напору визначаємо за показами п’єзометрів, які встановлено в перерізах 0, І та ІІ. При цьому різниця н>1>, яка визначається положенням води в п’єзометрах 0 і І, дорівнює н>т> - величині втрат напору на тертя на ділянці прямої труби довжиною >1>+>2>, а різниця н>2>, яка визначає положення рівнів води в п’єзометрах І і ІІ, дорівнює сумарним втратам напору на ділянці І-ІІ:
,
де н>м> - втрати напору на місцевому опорі. Звідси одержимо
.
Коефіцієнт місцевого опору визначається з такого співвідношення:
,
де V - середня швидкість у трубопроводі, яку визначають коли відомі втрати Q та площа поперечного перерізу труби, за формулою
.
Таким чином, визначення втрат напору на тертя на ділянці труби 0-І необхідне для того, щоб виключити втрати на тертя на ділянці І-ІІ та одержати "чисті" втрати на місцевому опорі.
Інколи при виконанні навчальних лабораторних робіт для спрощення досліду нехтують втратами напору на тертя як незначними в порівнянні з н>м>.
1.6.1 Лабораторна работа. Визначення коефіцієнта місцевого опору
Мета роботи:
1. Практично ознайомитися з методикою експериментального визначення коефіцієнтів місцевих опорів.
2. Експериментально визначити коефіцієнти гідравлічних втрат:
при раптовому розширенні - >р. р>;
при раптовому звуженні - >р. з>;
на шайбі - >ш>;
у крані - >кр>.
3. Побудувати графіки залежностей
>р. р>=f>1> (Re), >р. з> =f>2> (Re), >ш> =f>3> (Re), >кр> =f>4> (Re).
4. Порівняти результати досліду з відповідними даними гідравлічних довідників для заданих видів місцевих опорів.
ОПИС УСТАНОВКИ. Схема гідравлічної установки для визначення коефіцієнтів місцевих опорів зображена на рис.3.
Місцеві опори, які будуть досліджуватись, змонтовані на трубопроводі в такій послідовності (уздовж потоку):
1) шайба;
2) кран;
3) ділянка прямої труби;
4) раптове розширення;
5) раптове звуження.
П’єзометри 9 і 10 встановлені на ділянці прямої труби; п’єзометри 8 і 9 - до і після крана; п’єзометри 10 і 11 - до і після раптового звуження труби, а п’єзометри 11 і 12 відповідно - до і після раптового звуження труби; п’єзометри 1 і 2 - до і після шайби.
Швидкість води в трубі визначаємо за графіком, одержаним у лабораторній роботі 2.
ПОРЯДОК ПРОВЕДЕННЯ ДОСЛІДУ
Послідовність підготовки установки до роботи така ж, як і в попередніх лабораторних роботах.
1. Для порівняно невеликих витрат Q при усталеному русі води занести до протоколу досліду покази: п’єзометрів 1, 2, 8, 9, 10, 11, 12, а також значення н>>=н>7>-н>8>.
2. Цю ж роботу виконати для інших п’яти - шести режимів усталеного руху води.
ОФОРМЛЕННЯ РЕЗУЛЬТАТІВ ДОСЛІДУ
1. Визначити швидкість води за графіком лабораторної роботи 2:

2. Визначити результати досліду для всіх місцевих опорів, враховуючи нижчевикладені зауваження: А. Кран. Застосовуючи рівняння Бернуллі для перерізів 9-10 і 8-9 одержимо
;
.
Оскільки довжина та діаметри ділянок 9-10 і 8-9 однакові, то і втрати напору на тертя будуть однаковими, тобто
.
Тоді
;
.
Зважаючи
на те, що
,
a
,
можемо записати остаточно
,
де
V - середня швидкість води в трубі, яка
визначається за формулою
або за графіком V=f (н>>);
н>8>,
н>9>,
н>10> -
покази п’єзометрів 8, 9,10.
Б. Шайба. При визначенні місцевих втрат опору на шайбі нехтуємо втратами напору на тертя на прямих ділянках труби між перерізами 1 і 2.
Тоді, застосовуючи рівняння Бернуллі для перерізів 1-2, одержимо
,
звідси
,
Або
,
де н>1>, н>2> - покази п’єзометрів у перерізах 1 і 2 відповідно;
V - середня швидкість води в трубі.
При оформленні результатів досліду необхідно провести розрахунки >ш> для різних режимів руху й одержані результати порівняти з даними відповідних довідників.
В. Раптове розширення. Застосовуючи рівняння Бернуллі для перерізів 10-11, можемо записати
.
Оскільки для турбулентного режиму >тр>=>p>=I, одержимо
.
Беручи до уваги, що
,
а F>тр>V>тр>=F>p>V>p> (рівняння нерозривності) можемо втрати при раптовому розширенні записати в такій формі:
,
де V>тр> - середня швидкість води в трубі, може бути визначена за графіком лабораторної роботи 2;
d>тр> - діаметр труби;
d>p> - діаметр розширення.
Далі за формулою

зможемо
обчислити значення коефіцієнта
гідравлічних втрат при раптовому
розширенні. Одержані в досліді дані
потрібно порівняти з величинами
,
які дає теоретична формула
.
Г. Раптове звуження. Застосовуючи рівняння Бернуллі для перерізів 11-12, можемо одержати
.,
Звідси
,
або
.
За цією формулою визначаємо величину н>р. з. >при різних режимах руху води, а величину коефіцієнта гідравлічних втрат при раптовому звуженні одержимо за формулою
.
Одержані експериментальні дані необхідно порівняти з довідниковими, наведеними в табл.12.
4. Визначимо числа Re для кожного із режимів:
.
5. Побудуємо графіки залежностей
> кр >= f>1> (R>e>); >ш> = f>2> (R>e>);
> р. р >= f>3> (R>e>); >р. з> = f>4> (R>e>).
Протокол досліду
|
№ п/п |
н>1>-н>2,>см |
н>8>-н>9,>см |
н>9>-н>10,>см |
н>10>-н>11,>см |
н>11>-н>12,>см |
Q, см3/с |
V>тр>, м/с |
Re |
> кр> |
>ш> |
> р. р> |
>р. з> |
|
1 |
||||||||||||
|
2 |
||||||||||||
|
3 |
||||||||||||
|
4 |
||||||||||||
|
5 |
||||||||||||
|
6 |
||||||||||||
|
7 |
||||||||||||
|
8 |