Дилатометры и дилатометрические установки
ДИЛАТОМЕТРЫ И ДИЛАТОМЕТРИЧЕСКИЕ УСТАНОВКИ
В последнее время жидкие фотополимеризующиеся композиции на основе олигоуретанакрилатов находят все более широкое применение в различных отраслях промышленности [1—10], чему в значительной мере способствует интенсивное развитие исследований в этой области высокомолекулярных соединений. Как показано в ряде работ [11—14], процесс фотохимически инициированной полимеризации таких композиций имеет свои особенности, не характерные для процесса их отверждения в присутствии инициаторов, распадающихся под действием температуры, а также фотоинициированной полимеризации жидких композиций на основе моновиниловых соединений. Естественно, что специфические особенности отверждения таких композиций требуют создания новых методик для их исследования. В данной работе рассмотрены дилатометры и дилатометрические установки, разработанные в Институте химии высокомолекулярных соединений АН УССР для изучения процесса фотоинициированной полимеризации жидких композиций на основе олигоуретан-акрилатов.
В работах [11-14] при исследовании фотополимеризующихся композиций на основе олигоуреганакрилатов установлено, что в условиях, при которых проводили отверждение, процесс характеризуется послойным протеканием реакции с распространением зоны полимеризации от облучаемой поверхности в глубь реакционного объема. При этом реакционная система имеет четкую границу раздела твердый полимер - жидкость, причем степень превращения реакционноспособных групп в полимере равна максимально возможной для данных условий, а в жидкости практически равна нулю. Естественно, что при определенных условиях проведения полимеризации (интенсивности облучения, толщине фотополимеризующегося слоя и т. д.) ее послойный характер можно было бы исключить. Однако в ряде случаев, именно благодаря последнему, удается получать определенные полимерные материалы. Таковым, например, является процесс получения фотополимерных печатных форм [5—7]. Следовательно, целесообразнее не исключать, а изучать послойное протекание реакции фотополимеризации.
Для этих целей может быть успешно применен дилатометр, описанный в работе [11]. Следует отметить, что для условий, в которых изучали фотоинициированную полимеризацию в работах [11-14], применение этого дилатометра позволяет рассчитать не только степень превращения реакционноспособных групп, но и зависимость где ΔVt - изменение объема композиции за время t; К1, n1 — коэффициент контракции и число молей реакционноспособных групп каждого из сополимеризующихся соединений; h0 - высота реакционной ячейки.

Приведенная выше формула справедлива для соединений, имеющих одинаковые реакционноспособные группы. В случае сополимеризации соединений, содержащих группы различной активности, в уравнение необходимо вводить соответствующую поправку.
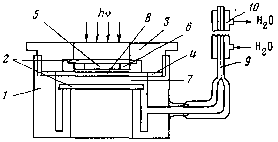
Описанный в работе [11] дилатометр прост по конструкции, удобен в работе и при абсолютных усадках фотополимеризующихся композиций 5*10-9 м3 позволяет с высокой точностью исследовать процесс их полимеризации. При усадках, меньших 10~9 м3, целесообразнее применять дилатометр, приведенный на рис. 1. По конструкции он несколько сложнее описанного в работе [11], однако благодаря малому объему дилатометрической жидкости и возможности ее термостатирования в капилляре дилатометра при его использовании значительно сокращается время термостатирования и обеспечивается та же точность измерений при значительно меньших усадках.

Рис. 1. Дилатометр для исследования фотоинициированной полимеризации: 1 — металлический цилиндр, 2 — оптическое стекло, 3 - прижимная гайка, 4 — резиновая прокладка, 5 — реакционная смесь, 6 - металлическое кольцо, 7 — дилатометрическая жидкость, 8 — полимерная пленка, 9 — капилляр, 10 – холодильник
Дилатометр включает металлический цилиндр 1, к торцам которого пришлифованы оптические стекла 2, поджимающиеся к цилиндру прижимной гайкой 3. Оптическое стекло отделено от прижимной гайки прокладкой 4. Исследуемая композиция помещается в реакционную ячейку, выполненную в виде кольца 6, приклеенного к оптическому стеклу, и отделяется от дилатометрической жидкости 7 полимерной пленкой 8, инертной по отношению к реакционной смеси и дилатометрической жидкости. Следят за изменением объема в капилляре либо визуально с помощью катетометра, либо с помощью специальных следящих устройств, например, аналогичных описанным в работах [15, 16].
В последнее время проводят исследования, связанные с применением фотополимеризующихся композиций на основе олигоуретанакрилатов для создания светочувствительных топографических сред [3, 8—10]. Для обеспечения максимальной приближенности условий проведения исследований к реальным в этом случае необходимо соблюдать два основных требования: во-первых, исследуемые образцы композиций должны иметь небольшие толщины (5-10-5 -15-10-5 м), и, во-вторых, формирующие стенки реакционной ячейки должны быть плоскопараллельными. Поскольку в этом случае отношение диаметра облучаемой поверхности образца к его толщине составляет не менее двух порядков, для исследования процесса можно успешно применять несколько видоизмененные методы контроля и измерения линейных размеров [17].

Рис. 2. Принципиальная (а) и геометрическая (б) схемы оптико-дилатометрической установки для исследования полимеризации с визуальной системой регистрации: 1 — шкала измерений, 2 - оптические стекла, 3 — реакционная смесь, 4 — ограничительная прокладка, 5 — игольчатые опоры, 6 — металлическая или стеклянная пластина, 7 — зеркало, 8 - противовес, 9 - генератор ЛГ-75

Рис. 3. Автоматическая оптико-дилатометрическая установка для исследования полимеризации с фотоэлектрической системой регистрации (а) и ее геометрическая схема (б): 1 — регистрирующий прибор, 2 — фотодиод, 3 — рассеивающая стеклянная пластинка, 4 — металлический корпус, 5 — оптические стекла, 6 - шторка, 7 — реакционная смесь, 8 — ограничительная прокладка, 9 - линза, 10 — диафрагма с взаимно перпендикулярными щелевыми отверстиями, 11 — генератор ЛГ-75
На рис. 2, 3 приведены две оптические установки, применяющиеся для таких исследований. Принцип работы этих установок заключается в следующем: при воздействии монохроматического светового излучения с длиной волны Xt на образец фотополимеризующейся композиции протекает ее полимеризация и толщина композиции уменьшается на величину АН. В связи с этим зеркало 7 установки, изображенной на рис. 2, изменяет свое положение по отношению к горизонтали на угол у (рис. 2, б). При этом отклонение зондирующего монохроматического луча с длиной волны λ2, отражающегося от поверхности зеркала, определяется некоторым углом %, , а расстояние R между двумя световыми точками на регистрирующей шкале для малых углов составляет величину 2L, где L — расстояние от зеркала до шкалы. Угол ч связан с линейным перемещением зеркала соотношением sin ч=АН/1 или для малых углов у=АН/1, где I — расстояние от неподвижной опоры до иглы. Таким образом, координата, фиксирующая отклонение светового луча, определяется выражением
(2)
Для применяемых в наших условиях размеров (L=5 м, /=0,02 м) и при точности отсчета по шкале 10-3 м точность измерений составляет 2-10—6 м. С увеличением толщины фотополимеризующегося слоя композиции точность измерений возрастает.
Применение второй оптической установки (рис. 3) также предполагает наличие двух источников излучения: одного — для инициирования процесса полимеризации, второго — с целью получения зондирующего луча. Принцип действия установки основан на измерении светового потока зондирующего луча, частично затемненного специальной шторкой, опирающейся на верхнее оптическое стекло реакционной ячейки.
Зондирующий луч имеет квадратное сечение по периметру, отсекаемое взаимно перпендикулярными щелевыми отверстиями, что упрощает обработку получаемых результатов исследований.
Чувствительность установки, приведенной на рис. 3, зависит от местоположения шторки и по мере ее удаления от фокальной плоскости линзы уменьшается пропорционально смещению. Из приведенной схемы (рис. 3, б) легко определить взаимосвязь между углом схождения зондирующего луча р и его характеристиками. В частности, из рисунка видно, что
tg {i=tg 2а
или для малых углов
tg j}=2tga=X//=Aff/L.
Следовательно, сторона квадратного сечения светового пучка в плоскости шторки АН определяется выражением
(3)
где К — высота пучка, / — фокусное расстояние линзы, L — расстояние от шторки до фокуса линзы. Выражение (3) соблюдается для произвольного положения шторки по* всему отрезку от линзы до ее фокуса и из него можно легко оценить возможности данной методики. В частности, для используемых в наших условиях /=0,1 м, К= = 1,5-Ю-3 м, L=210-5 м полное перекрытие светового потока достигается при перемещении шторки, равном 310-6 м. Фотоэлектрическая регистрация изменений светового потока в этом случае не требует предварительного усиления даже при использовании обычного фотодиода типа ФД-1. Следует отметить, что для нормальной работы оптико-дилатометрических установок, приведенных на рис. 2, 3, необходимо обеспечить условия, позволяющие исключить возможные вибрационные колебания их элементов. Наиболее простым путем создания таких условий является размещение всех рабочих элементов установок на одной массивной плите с соответствующими демпфирующими прокладками.

Рис. 4. Дилатометрическая установка с индукционным датчиком: 1 -металлический корпус, 2 - заглушка, 3 — тефлоновая катушка, 4 — ферритовый якорь, 5 — обмотка датчика, 6 — кварцевая игла, 7 — реакционная смесь, 5 — оптические стекла, 9 - ограничительная прокладка

Рис. 5. Упрощенная схема автоматической дилатометрической установки с индукционным датчиком и весами: 1 — источник света, 2 — термостат U-10, 3 - весы ВЛР-20, 4 — термостатируемый сосуд, 5 — реакционная ячейка, 6 — поворотная призма, 7 -индукционный датчик, 8 - генератор ГЗ-56, 9 - регистрирующий прибор КСП-4, 10 - микровольтметр Ф-116
Иногда величина абсолютной усадки фотополимеризующихся композиций в процессе их отверждения может быть очень незначительной (<10-14 м3). В этом случае для исследований могут быть использованы дилатометрические установки, основанные на применении индукционных датчиков [17]. Они приведены на рис. 4, 5.
Принцип действия этих установок заключается в регистрации электрических сигналов индукционного датчика, изменяющихся вследствие перемещения его ферритового якоря в процессе полимеризации. Для повышения чувствительности датчик включен в дифференциальную схему, на его катушки подается напряжение повышенной частоты (500 Гц) и выходной сигнал усиливается с помощью фотокомпенсационного микровольтметра. В связи со сказанным при применении установки, приведенной на рис. 4, изменение толщины фотополимеризующегося слоя композиции на 10~6 м может фиксироваться на ЗИО-1 м диаграммной ленты потенциометра типа КСП-4 (10~2 В).
Применение для исследований весов, коромысло которых с одной стороны соединено с реакционной ячейкой, помещенной в термостатируемую жидкость, и с другой — с якорем индукционного датчика (рис. 5), позволяет еще на порядок увеличить чувствительность установки. Кроме того, в этом случае данные, полученные с помощью индукционного датчика, можно контролировать визуально по показаниям весов.
Полученные нами таким образом результаты исследований практически совпадают (рис. 6).

Рис. 6. Зависимость степени превращения реакционноспо-собных групп от времени при полимеризации а,со-акрил-бис-пропиленгликоль-2,4-толуилен-дикарбамата в присутствии 5 вес.% диацетила [9]
Установка, приведенная на рис. 5, может быть использована для проведения исследований фотоинициированной полимеризации и при больших усадках. При сравнении данных, полученных с помощью этой установки и дилатометров, а также дилатометрических установок, приведенных на рис. 1-4, также были получены удовлетворительные результаты, что свидетельствует о возможности их применения для изучения процесса фотохимически инициированной полимеризации жидких композиций на основе олигоуретанакрилатов.
Литература
Briden F. С, Stowe F. S. Modern Paints and Coatings, 1980, v. 70, № 8, p. 41.
Hidemaro Tatemichi, Takahisa Ogasawara. Chem. Economy Engng Rev., 1978, v. 10, № 9, p. 37.
Cohen A. B. Indust. Research, 1976, v. 18, № 13, p. 39.
Пронина И. А., Крылова И. П., Леонтьева Л. Я., Жидкова Л. Д. Лакокрасочные материалы, 1977, № 2, с. 82.
Шибанов В. В., Костенко Т. А. Фотополимеризующиеся композиции для специальных видов печати. М.: Книга, 1980. 49 с.
Матюшова В. Г. Использование фотополимеризующихся композиций ддя специальных видов печати. М.: Книга, 1977. 60 с.
Руднева С. П., Спирин Ю. Л., Магдинец В. В., Кругляк Т. И. В кн.: Способы записи информации на бессеребряных носителях. Киев: Вища школа, 1974, вып. 5, с. 67.
Гвоздовский В. Т., Передереева С. П., Козенков В. М., Кисилица П. П., Барачев-ский В. А., Гудзера С. С, Карнаух А. П., Шашкова В. Т., Кефели Т. Я. В кн.: Тез. докл. III Всес. конф. не бессеребряным и необычным фотографическим процессам. Вильнюс: 1980, с. 62.
Гвоздовский В. Т., Передереева С. И., Козенков В. М., Кисилица П. П., Магдинец В. В. Ж. научн. и прикл. фотографии и кинематографии, 1978, т. 23, № 3,. с. 230.
Гвоздовский В. Т., Передереева С. И., Козенков В. М., Кисилица П. Я., Михайлова Г. Л., Спирин Ю. Л., Магдинец В. В. А. с. 732785 (СССР).- Опубл. в. Б. И., 1980, № 17, с. 216.
11.Чайко А. К., Спирин Ю. Л., Магдинец В. В., Дрягилева Р. И. Высокомолек. соед. А, 1975,т. 17, № 1, с. 96.
Спирин Ю. Л., Чайко А. К. В кн.: Кинетика и механизм реакций образований полимеров. Киев: Наукова думка, 1977, с. 26.
Чайко А. К., Спирин Ю. Л., Магдинец В. В. Докл. АН УССР Б, 1975, № 7, с. 635.
Спирин Ю. Л. В кн.: Синтез и физикохимия полимеров. Киев: Наукова думка, 1976,вып. 19, с. 93.
V. D. Мс Ginniss, V. W. Ting. J. Rad. Curing, 1975, v. 2, № 1, p. 14.
Берлин А. А., Королев Г. В., Кефели Т. Я. Полиэфиракрилаты. М.: Наука, 1967. 372 с.
СороЧкин Б. М., Танненбаум Ю. 3., Курочкин А. П., Виноградов Ю. Д. Средства линейных измерений. Л.: Машиностроение, 1978. 263 с.