Изучение возможности применения магнитных жидкостей для синтеза магнитных сорбентов
Министерство народного образования Республики Беларусь
Беларусский ордена трудового красного знамени государственный университет имени В.И. Ленина
Химический факультет
Кафедра неорганической химии
Изучение возможности применения магнитных жидкостей для синтеза магнитных сорбентов
Дипломная работа студентки 5-го курса
Кекало Екатерины Александровны
Руководитель
канд. хим. наук, доцент Н.Н. Горошко
Рецензент
доктор хим. наук,
профессор Е.А. Стрельцов
Дипломник Е.А. Кекало
"Допустить к защите" 04.06.2004
Зав.кафедрой
Доктор хим. наук С.К. Рахманов
г. Минск,
2004г.
Содержание:
Содержание
Введение
Обзор литературы
1.1.Магнитные сорбенты
1.1.1. Синтез пористых ферритов с применением выгорающих добавок
1.1.2. Неорганические магнитонаполненные адсорбенты
1.1.3. Углеминеральные магнитные сорбенты
Изотермы адсорбции
1.2.Магнитная жидкость как коллоидная система
1.2.1.Устойчивость магнитных жидкостей
1.2.2.Обзор методов получения магнитных жидкостей
1.2.2.1.Дисперсионные методы получения MЖ
1.2.2.2.Методы конденсации
2. Методика эксперимента
2.1. Синтез магнитного материала
2.1.1. Синтез магнетита
2.1.2. синтез магнетита
2.1.3. Синтез магнитной жидкости с водной дисперсионной средой и стабилизатором олеатом ТЭА
2.1.4.Синтез магнитной жидкости с водной дисперсионной средой и стабилизатором олеатом аммония
2.1.5. Синтез магнитной жидкости с водной дисперсионной средой и минеральными кислотами в качестве стабилизатора
2.1.6. Синтез магнитной жидкости с деканом в качестве дисперсионной среды и стабилизатором олеиновой кислотой
2.1.7. Синтез магнитной жидкости с керосином в качестве дисперсионной среды и стабилизатором олеиновой кислотой
2.2. Синтез магнитного сорбента
2.2.1. Синтез намагниченного сорбента 1
2.2.2. Синтез намагниченного сорбента 2
2.2.3. Синтез намагниченного сорбента 3
2.2.4. Синтез намагниченного сорбента 4
2.2.5. Синтез намагниченного сорбента 5
2.2.6. Синтез намагниченного сорбента 6
2.2.7. Синтез намагниченного сорбента 7
2.3. Методики анализа
2.3.1. Определение содержания Fe(II) при помощи количественного анализа..
2.3.2. Определение содержания Fe(III) при помощи количественного анализа
2.3.3. Определение содержания Fe(II) и Fe(III) в осадке, образующемся при соосаждении гидроксидов при помощи количественного анализа
2.3.4. Упрощенный метод определения поверхности по адсорбции воздуха
2.3.5.Эктронномикроскопическое исследование
2.3.6. Рентгенографическое исследование
2.3.7. Дериватографичеекое исследование
Результаты и их обсуждение
3.1. Рентгенофазовое исследование
3.2. Количественный анализ
3.3. Изотермы адсорбции
3.4. Электронная микроскопия
3.5. Удельная поверхность
3.6. Намагниченность
3.7. Дериватографическое исследование
Выводы
Литература
Резюме
Приложение
Введение
Данная дипломная работа посвящена синтезу и изучению магнитных сорбентов, представляющих собой магнитный (либо намагниченный) материал с высокими адсорбционными свойствами.
Преимущество таких адсорбентов по сравнению с обыкновенными (не магнитными) состоит в том, что обладая высокой сорбционной емкостью они могут управляться при помощи магнитного поля. Адсорбенты с магнитными свойствами применяются для контактной очистки веществ, что существенно упрощает адсорбционный процесс и полноту отработки адсорбента, исключает стадию отделения отработанного адсорбента от раствора, являющуюся одной из трудоемких, заменив ее магнитной сепарацией. Магнитные сорбенты уже широко используются для очистки сточных вод, сбора нефти с поверхности водоемов и в медицине (очищают костный мозг и др.) [1-8].
Придание сорбентам магнитных свойств может обеспечить значительное повышение эффективности их использования, поскольку открывается возможность вводить сорбенты в очищаемую среду в виде дисперсной фазы при контролируемой поверхности межфазного контакта и извлекать из среды физическим методом. Известно [8], что придание сорбентам магнитных свойств обычно не снижает емкости и селективности сорбции, а в ряде случаев улучшает эти характеристики, повышая также скорость процесса сорбции – десорбции. Известно также, что магнитные сорбенты способны улучшать ионообменные свойства почв, что указывает на возможность использования материалов данного типа для направленного изменения свойств биологических систем.
Использование данных адсорбентов не ограничивается указанными областями их применения, тем более что они с технологической точки зрения во многих адсорбционных процессах наиболее предпочтительны.
Есть много способов их получения, принципиально отличающихся друг от друга. Большинство из них являются трудоемкими и влекут за собой большие энергетические затраты, что существенно сужает диапазон возможного применения магнитных сорбентов.
На кафедре неорганической химии Белгосуниверситета им. В.И. Ленина в течение нескольких десятков лет проводятся исследования по применению коллоидных систем на основе олова, вольфрама, ванадия, железа и некоторых других металлов для получения пленок и тонких покрытий.
Целью настоящей работы является разработка способа синтеза магнитоуправляемых сорбентов при использовании магнитной жидкости и изучение некоторых их свойств.
Актуальность поставленной в работе задачи подчеркивается потребностью различных областей науки и техники в недорогих магнитоуправляемых сорбентах. Так, магнитоуправляемые сорбенты, используемые для сбора нефти с поверхности водоемов, в медицине и других областях представляют собой дорогостоящие материалы, изготовление которых требует использования сложных технологических процессов и не менее сложного и дорогого оборудования.
Использование именно жидкого материала для пропитки сорбента (и придания ему тем самым магнитных свойств) выгодно отличает предложенный нами способ получения магнитных сорбентов от описанных в литературе [1-7]. Применение различных магнитных жидкостей (в отличие от магнетита определенного состава) позволяет в широких пределах варьировать свойства получаемого сорбента.
Автор считает необходимым выразить признательность к.х.н., научному сотруднику Макс Планк института угольных исследований, Мюлхайм ан дер Рур, Германия, Матусевич Н.П. и к.х.н., научному сотруднику Академии Наук Беларуси Самускевичу В.В. за помощь в выполнении физико-химических исследований а также за ценные замечания и пожелания высказанные в ходе обсуждения результатов.
Обзор литературы.
1.1.Магнитные сорбенты
1.1.1. Синтез пористых ферритов с применением выгорающих добавок.
Среди большого числа адсорбентов, отличающихся друг от друга структурными параметрами, природой поверхности и соответственно областью применения, особое место занимают пористые тела с магнитными свойствами.
Для решения большинства сорбционных задач требуются адсорбенты с различной пористой структурой, среди которых минеральные пористые вещества занимают основное положение. Во-первых, они во много раз дешевле, доступны и синтез их не требует специального оборудования и дефицитного сырья. Во-вторых, методы получения данных адсорбентов, в том числе и с магнитными свойствами, позволяют в широких пределах регулировать их структуру. Это свидетельствует о необходимости расширения исследований по синтезу адсорбентов, выявлению закономерностей механизма их структурообразования, природы поверхности, магнитных и адсорбционно-структурных свойств.
Способы получения указанных пористых материалов в зависимости от температуры их синтеза методически могут быть подразделены на две группы. В первой группе они реализованы путем наращивания компонентов шпинельного состава на поверхности коллоидных частиц термостойкого носителя (Т= 700— 750°С) [9], во второй — (Т>750°С) путем применения различного рода выгорающих добавок [10].
Отличие минеральных магнитных адсорбентов от угольных ферромагнитных, как следует из анализа литературы [11-15], состоит в следующем: во-первых, ферромагнитные угольные адсорбенты обладают мелкопористой структурой, что существенно ограничивает область их применения, во-вторых, магнитные свойства высокодисперсных ферромагнетиков вследствие значительной анизотропии формы частиц железа в данных системах, степени их упаковки как в объеме, так и в поверхностном слое, а также при наличии на поверхности частиц хемосорбированных поверхностно-активных веществ снижают магнитные характеристики получаемых адсорбентов [12, 13]. В работе [16] показано, что магнитные свойства веществ сильно зависят от упорядоченности активных магнитных частиц, которая для систем с низкой степенью упаковки Р удлиненных частиц сфероидальной формы может быть рассчитана по уравнению [17]:

где N>а> и n>б> — размагничивающие факторы вдоль короткой и длинной оси частиц. Оценка Р>0> для железных частиц дает величину ~ 0,2 [18].
В-третьих, например, в металополимере для достижения необходимой магнитной индукции насыщения В>s> и остаточной индукции В>r>, как показано в работах [13, 19], требуется до 30% электролитического железа в. В-четвертых, несмотря на относительно высокое содержание Fe>3>O>4> в образце, в силу вышеупомянутых факторов, достичь предельной величины магнитных свойств, присущих индивидуальному оксиду Fe>3>O>4>, не удается. При этом следует отметить, что магнитные свойства массивного индивидуального Fe>3>O>4> по сравнению с другими магнитными материалами не столь высоки.
В отличие от угольных ферромагнитных адсорбентов, синтезированных на основе дорогостоящих синтетических или природных полимеров, минеральные ферриты как по своим магнитным характеристикам, так и по доступности, стоимости исходных компонентов, экологичности процесса имеют ряд преимуществ: наличие высоких магнитных свойств, отсутствие вредных газовых выбросов при их синтезе, компактное расположение магнитных частиц получаемого вещества и т.д. Действие выгорающей добавки [20] заметно сказывается на росте сорбционной емкости, которая по сравнению с исходными образцами увеличилась в два раза.
Влияние исходной структуры гидрогеля с нанесенной шпинельной фазой проявляется в том, что более крупнопористые гидрогели при температуре синтеза ферритов 650°С подвержены меньшим структурным изменениям, чем мелкопористые. Безусловно, степень изменения V>s> и S>уд> сильно зависит от термостабильности носителя. Одна картина будет иметь место при наращивании гидроксида магния на носитель — коллоидные частицы гидроксида железа и другая — при наращивании Fе(ОН)>3> на частицы Mg(OH)>2>, емкость поглощения и термостабильность которого по сравнению с V>s> гидроксида железа примерно в 2 раза выше. Это уже само по себе, не прибегая к применению структурирующих добавок, позволит в определенных пределах варьировать структуру, а соответственно и сорбционные свойства синтезируемых ферритсодержащих адсорбентов.
1.1.2. Неорганические магнитонаполненные адсорбенты
Наряду с изучением адсорбентов-ферритов с развитой пористой структурой представляют интерес адсорбенты с магнитными свойствами, полученные путем механического смешивания или совместного осаждения магнитных порошков с гидроксидами металлов. Этот метод синтеза по сравнению с другими имеет ряд преимуществ. Во-первых, использование магнитных порошков позволяет за счет структуры матрицы регулировать пористость и удельную поверхность синтезируемых магнитных адсорбентов в желаемом направлении. Во-вторых, в зависимости от процентного содержания магнитного порошка в составе образца и величины его намагниченности можно изменять структурные и физико-химические свойства получаемых адсорбентов в достаточно широких пределах.
Кроме того, данный метод получения адсорбентов с магнитными свойствами дает возможность в достаточно широких пределах регулировать структуру матрицы, а соответственно и структурные параметры синтезированных образцов [21, 22]. Все это наряду со специфическими свойствами указанных адсорбентов расширяет возможность их использования в разных сорбционных процессах.
Существует расхождение между теоретическими расчетами и экспериментальными данными. По теории с возрастанием концентрации (20-50%) магнитной компоненты V>s> и S>уд> должна уменьшаться, на практике же наблюдается обратное. Причина таких расхождений обусловлена участием твердых частиц порошка в формировании структуры адсорбентов. Механизм их действия связан с образованием жесткого каркаса, препятствующего сжатию гидроксида во время сушки. Аналогично изменяется и удельная поверхность синтезируемых адсорбентов, которые из-за наличия более открытой структуры несколько выше теоретически рассчитанной.
Условия получения адсорбентов оказывают существенное влияние на их адсорбционно-структурные характеристики. Одна картина наблюдается при внесении магнитного порошка в отмытый гель с последующим механическим перемешиванием и другая — при внесении порошка в солевой раствор, т.е. перед осаждением гидроксида. Разница заключается в том, что образцы, полученные по второму методу, имеют на 10—12% более высокие значения V>s> и удельные поверхности. Причина данных расхождений состоит в том, что при механическом перемешивании гидроксида вследствие нарушения гидратных оболочек коллоидных частиц происходит неполная стабилизация системы, сопровождающаяся снятием фактора устойчивости отдельных участков поверхности частиц, в результате чего частицы, слипаясь в этих местах, образуют пространственную сетку, в петлях которой будет находиться дисперсионная среда. При сильном падении агрегативной устойчивости между частицами в местах их соприкосновения может происходить полное вытеснение прослоек дисперсионной среды и осуществляться непосредственный контакт между частицами. Причем с повышением частичной концентрации количество контактов, приходящихся на единицу объема системы, и скорость взаимодействия частиц возрастают.
Увеличение числа контактов между частицами — результат их более плотной объемной упаковки, сопровождающейся, как правило, уменьшением сорбционной емкости и сокращением удельной поверхности образцов за счет недоступности поверхности частиц гидроксида для молекул адсорбата. При совместном осаждении гидрогеля с магнитным порошком протекание указанных процессов весьма ограничено вследствие резкого уменьшения дисперсной фазы и концентрации вещества, а также из-за отсутствия интенсивного механического перемешивания, способствующего образованию коагуляционных структур и т.д.
Все это вызывает формирование пестропористой структуры образцов в результате упаковки первичных частиц и вторичных агрегатов частиц, ответственных за образование мезо- и макропор.
Природа магнитного порошка определяет как магнитные, так и сорбционные свойства получаемых адсорбентов. Если первое из них очевидно, то второе имеет неявные очертания. Дело в том, что удельная поверхность получаемых магнитных адсорбентов практически находится в прямой зависимости от процентного содержания в их составе порошка. Отклонения от этой зависимости могут быть обусловлены некоторым действием порошка на структуру гидроксидов.
Отсюда очевидно, что излишнее содержание магнитного порошка в составе адсорбента ухудшает его структурные параметры и сорбционные характеристики. Основную ответственность за изменение указанных структурных параметров по сравнению с исходными образцами несет магнитный порошок, собственный вклад которого в структуру шпинельсодержащего адсорбента составляет величину, практически приближающуюся к нулю.
С ростом содержания шпинельного порошка в составе адсорбента тенденция сокращения удельной поверхности и сорбционной емкости получаемых образцов по отношению к носителю увеличивается.
Кроме того, адсорбционно-структурные свойства магнитнаполненных адсорбентов, так же, как и других пористых материалов, в значительной степени зависят от структуры носителя, обеспечивающей эффективность очистки жидких сред, содержащих примеси с различным размером молекул.
Углеминеральные магнитные сорбенты
Многообразие задач, решаемых сорбционными методами, требует и разнообразия адсорбентов, отличающихся по структуре, химической природе поверхности и другим эксплуатационным характеристикам.
Синтез таких адсорбентов может быть осуществлен путем наполнения гидроксида магнитным компонентом [10] и модифицирующей органической добавкой [23]. Сочетание этих двух операций позволяет, с одной стороны, придать получаемым адсорбентам магнитные свойства, а с другой — гидрофобные и тем самым приблизить их к углеродным адсорбентам со специфическими способностями.
Степень гидрофобизации поверхности таких адсорбентов определяется процентным содержанием и природой органической углеобразующей добавки: с ростом ее молекулярной массы зауглероженность образца увеличивается. Одна из причин этого — более высокая энергия взаимодействия добавки с поверхностью модифицируемого вещества и минимальная ее улетучиваемость в процессе термической обработки.
Гидрофобные адсорбенты с магнитными свойствами расширяют их возможности при решении многих производственных и экологических задач, где использование обычных адсорбентов создает некоторые технологические затруднения. Так, например, аварийные разливы нефти или тяжелых нефтепродуктов на поверхности воды могут быть удалены магнитными углеродными адсорбентами. Для этого достаточно покрыть пятна адсорбентом с последующим удалением его вместе с поглощенным веществом путем магнитной сепарации.
Сопоставление сорбционных данных гидрофильных [10] и гидрофобных магнитнаполненных образцов показывает, что по своим структурным параметрам они отличаются друг от друга. Так, например, сорбционная емкость гидрофобных магнитных адсорбентов выше, чем в аналогичных гидрофильных образцах.
Максимальное внесение органической углеобразующей добавки вызвано требованиями, предъявляемыми к получаемому адсорбенту: среди них необходимая механическая прочность, степень гидрофобизации поверхности и экономический фактор. Каждое требование имеет определенные ограничения, соблюдение которых является неотъемлемой частью синтеза адсорбентов с заданными эксплуатационными характеристиками. Так, например, для получения механически прочных пористых материалов излишнее содержание угля сопровождается потерей механической прочности. Для избежания этого количество органической добавки, адсорбированной на поверхности коллоидных частиц, должно обеспечивать непосредственный контакт между частицами гидроксида, а не через углеродные оболочки. Таким образом, адсорбированный слой модифицирующей добавки в зависимости от ее природы не должен превышать одного или двух молекулярных слоев. В противном случае образуются порошкообразные адсорбенты с сокращенным объемом микро- и мезопор, которые, как было отмечено, полностью или частично закупорены образующимся углем. Данное обстоятельство вынуждает придерживаться золотой середины, которая, помимо сказанного, в некоторой степени определяется и стоимостью модифицирующего агента. Однако трудно предсказать количественное содержание органического модифицирующего агента, необходимого для удовлетворения упомянутых выше требований.
Решение этой задачи обычно осуществляли опытным путем и, как показала практика, содержание модифицирующего вещества в зависимости от его природы, молекулярной массы и дисперсности частиц гидроксида колеблется от 2 до 5 мас.%.
Магнитные характеристики адсорбентов одного и того же состава практически не отличаются между собой. Незначительное присутствие в их составе углеродной компоненты не оказывает заметного изменения ни на магнитную индукцию насыщения, ни на остаточную индукцию.
Иначе говоря, по магнитным параметрам, кроме поверхностных, а соответственно и сорбционных свойств, рассматриваемые пористые материалы не отличаются друг от друга. Поэтому с целью увеличения их разнообразия по структурным параметрам и для повышения эффективности в различных процессах, связанных с очисткой и разделением органических сред, синтез адсорбентов данного типа может быть осуществлен как с использованием структурно отличающихся индивидуальных гидроксидов, так и бинарных систем разного состава.
Для гидрофобных магнитных адсорбентов в отличие от гидрофильных на первый план выступает их структура и ее стабильность при температуре зауглероживания поверхности.
В связи с этим одно из основных требований синтеза магнитных гидрофобных адсорбентов — подбор высокопористых термостабильных носителей. Дело в том, что малоактивные носители, как и аналогичные адсорбенты, не представляют практического интереса, тем более что зауглероживание их поверхности направлено не на развитие, а на сокращение удельной поверхности.
Вторым необходимым условием получения гидрофобных адсорбентов является выбор высокомолекулярного водорастворимого органического вещества — модификатора, обладающего высокой энергией связи с поверхностью коллоидных частиц, и определение его процентного содержания, необходимого для полной гидрофобизации поверхности адсорбента. Это минимальные, но необходимые требования, соблюдение которых — успех синтеза гидрофобных, активных адсорбентов.
Привлекательность данного направления исследований состоит еще и в том, что оно требует разработки принципиально новых методов и нестандартных решений.
Изотермы адсорбции
Изотермы адсорбции являются одной из важнейших характеристик адсорбентов, т.к. при их анализе можно установить многие характеристики сорбента (удельную поверхность, размер пор, предположить их форму, характер сорбции и т.п.).
Для получения изотерм адсорбции очень важен правильный выбор адсорбтива.
Адсорбтив должен быть химически инертным по отношению к поверхности твердого тела; давление насыщенных паров при температуре опыта должно быть достаточно большим, чтобы его можно было точно измерить в соответствующем, довольно широком интервале относительных давлений (~0,001 < р/р>о> < ~0,5); однако, чтобы удобнее было проводить эксперимент, р>0> не должно превышать 1—2 атм. Кроме того, рабочие температуры должны быть такими, чтобы их можно было легко получить при помощи обычных хладагентов, а именно азота (т. кип. 77 К), кислорода (Т>кип. >90 К), охлаждающей смеси на основе диоксида углерода (195 К), тающего льда (273 К) или при помощи подходящих термостатов (в интервале от 253 до 323 К). Наконец, желательно, чтобы форма молекул адсорбата не слишком отличалась от сферической, с тем чтобы свести к минимуму неопределенность в величине а>т >(площадь, занимаемая молекулой адсорбата в плотном монослое) из-за возможной различной ориентации на поверхности. В первое время кислород часто применялся как адсорбат при определении удельной поверхности по методу БЭТ, причем адсорбция измерялась при температуре его кипения. Однако, когда жидкий азот стал вполне доступным, использование кислорода резко сократилось. Помимо того что жидкий кислород как хладагент небезопасен, при температуре 90 К трудно исключить возможность его хемосорбции.
В литературе [26, 83] приводятся десятки тысяч изотерм адсорбции, полученных для самых различных твердых тел.
Существует также несколько теорий, объясняющих вид изотерм адсорбции. Так, например, если происходит хемосорбция (молекулы адсорбтива связываются с частицами адсорбента при помощи химического взаимодействия), то данный вид взаимодействия хорошо описывает теория мономолекулярной адсорбции Ленгмюра. Согласно этой теории, адсорбция молекул адсорбтива происходит на активных центрах, всегда существующих на поверхности адсорбента. Такими центрами могут быть пики и возвышения, имеющиеся на любой, даже самой гладкой поверхности. В результате большой ненасыщенности силового поля около таких пиков и выступов эти участки обладают способностью удерживать налетающие молекулы газа. Вследствие малого радиуса действия адсорбционных сил, имеющих природу, близкую к химической, и способности их к насыщению, каждый активный центр, адсорбируя молекулу адсорбтива, становится уже неспособным к дальнейшей адсорбции. В результате этого на поверхности адсорбента может образоваться только мономолекулярный слой адсорбтива. И изотерма адсорбции примет следующий вид (рис.1).

Рис. 1. Обычный вид изотерм адсорбции при различных температурах:
1 — изотерма, отвечающая температуре Т1; 2—изотерма, отвечающая температуре Т2 (Т1< Т2).
Однако, наряду с изотермами адсорбции, вид которых показан на рис. 1, довольно часто на практике встречаются изотермы, не имеющие второго участка, почти параллельного оси давлений и отвечающего насыщению поверхности адсорбента молекулами адсорбтива. Вид таких изотерм изображен на рис.2. Как можно видеть, в точке А изотерма Ленгмюра круто поднимается кверху. Очевидно, связывание адсорбтива адсорбентом не прекращается после образования мономолекулярного слоя, а продолжается дальше. Форму подобных изотерм нельзя объяснить как следствие капиллярной конденсации, так как такая изотерма наблюдается и у непористых адсорбентов, когда капиллярная конденсация невозможна.

Рис. 2. Вид изотермы, характерной для полимолекулярной адсорбции.
Для объяснения этого явления Поляни предложил теорию полимолекулярной сорбции Рассмотрим кратко исходные положения этой теории, особенно пригодной в случае адсорбции паров на твердом теле:
- Адсорбция обусловливается чисто физическими силами.
- На поверхности адсорбента нет активных центров, а адсорбционные силы действуют вблизи от поверхности адсорбента и образуют около этой поверхности со стороны газовой фазы непрерывное силовое поле.
- Адсорбционные силы действуют на сравнительно большие расстояния, во всяком случае большие, чем размеры отдельных молекул адсорбтива, и поэтому можно говорить о существовании у поверхности адсорбента адсорбционного объема, который заполняется при адсорбции молекулами адсорбтива.
- Действие адсорбционных сил по мере удаления от поверхности уменьшается и на некотором расстоянии практически становится равным нулю.
- Притяжение данной молекулы поверхностью адсорбенга не зависит от наличия в адсорбционном пространстве других молекул, вследствие чего возможна полимолекулярная адсорбция.
- Адсорбционные силы не зависят от температуры, и, следовательно, с изменением температуры адсорбционный объем не изменяется. Это не противоречит тому, что с повышением температуры адсорбция уменьшается; в этом случае снижение адсорбции обусловливается не уменьшением адсорбционных сил, а увеличением в результате нагревания интенсивности теплового движения адсорбированных молекул, что приводит к увеличению десорбции.
Большинство изотерм физической адсорбции можно отнести к одному из пяти типов, от I до V, по классификации, впервые предложенной С. Брунауэром, Л. Демингом, У. Демингом. и Э. Теллером, иногда приписываемой Брунауэру, Эммету и Теллеру (БЭТ) или даже одному Брунауэру . Эти типы изотерм показаны на рис. 3.

Рис. 3. Пять типов изотерм адсорбции (I—V) по классификации Брунауэра, Деминга, Деминга и Теллера (БДДТ) и ступенчатая изотерма (тип VI).
Как мы уже отмечали, полимолекулярная адсорбция характеризуетея S-образной изотермой адсорбции (тип II). Однако следует иметь в виду, что кривую аналогичной формы можно получить при адсорбции, осложненной капиллярной конденсацией (тип IV). Точка Б, которой соответствует начало прямолинейного участка, соответствует завершению образования монослоя, так что величина адсорбции в точке Б должна быть равна емкости монослоя. Возможность локализации точки Б зависит от формы изгиба изотермы. Если изгиб крутой, точка Б может быть локализована с хорошей точностью, даже если линейный участок изотермы короткий.
Существует много типов пористых систем. И в различных образцах, и в одном и том же образце отдельные поры могут значительно различаться как по форме, так и по размеру. Особый интерес во многих случаях может представлять поперечный размер пор, например диаметр цилиндрических пор или расстояние между стенками щелевидных пор. Удобная классификация пор по размерам принята Международным союзом по теоретической и прикладной химии (IUPAC) :
Таблица 1 ,
Классификация пор по размерам.
-
Название пор
Размеры пор, нм
Микропоры
Мезопоры
Макропоры
<2
2-50
>50
Эта классификация (табл.1.) основана на следующем принципе: каждый интервал размеров пор соответствует характерным адсорбционным свойствам, находящим свое выражение и изотермах адсорбции. В микропорах благодаря близости стенок пор потенциал взаимодействия с адсорбированными молекулами значительно больше, чем в более широких порах, и величина адсорбции при данном относительном давлении соответственно также больше. В мезопорах происходит капиллярная конденсация; на изотермах наблюдается характерная петля гистерезиса. Макропоры настолько широки, что для них невозможно детально изучить изотерму адсорбции из-за ее близости к прямой р/р>0> = 1.
Капиллярная конденсация обусловлена наличием у адсорбента мезопор. Пары адсорбтива конденсируются в таких порах при давлениях, меньших давления насыщенного пара над плоской поверхностью вследствие образования в капиллярах вогнутых менисков. Возникновение этих менисков следует представлять как результат слияния жидких слоев, образовавшихся на стенках капилляра вследствие адсорбции паров. Понятно, что возникновение вогнутых менисков возможно только в том случае, если образовавшаяся жидкость смачивает стенки капилляра.
Явление конденсации не следует смешивать с физической адсорбцией. Элементарная теория капиллярной конденсации не учитывает специфического действия поверхностных сил. Доказательством различия капиллярной конденсации и полимолекулярной физической адсорбции служит и тот факт, что полимолекулярная адсорбция может происходить на плоских поверхностях, тогда как капиллярная конденсация в таких условиях невозможна.
При адсорбции, сопровождающейся капиллярной конденсацией, часто наблюдается явление гистерезиса, когда изотермы адсорбции и десорбции не совпадают.
Предварительное тщательное удаление воздуха из пористого адсорбента обычно очень сильно уменьшает гистерезис. Это как будто подтверждает правильность объяснения гистерезиса адсорбцией воздуха на стенках капилляров. Есть, однако, и другие объяснения этого сложного явления. В частности, гистерезис при капиллярной конденсации может быть объяснен, исходя из формы пор адсорбента. Представим, что адсорбент содержит поры, изображенные на рис. 4.

Рис. 4. Схема капиллярной конденсации в порах различной формы: а - конусообразной; б - цилиндрической, закрытой у одного конца; в - цилиндрической, открытой с обоих концов.
При конусообразной форме в порах (см. рис. 4а) oбразуется адсорбционнная пленка с вогнутой поверхностью, причем шаровидная поверхность с максимальной кривизной наблюдается в наиболее узкой части поры. При p = p>s>exp[-2σV>мол>/(rRT)] пар будет насыщенным по отношению к этой поверхности и начнет конденсироваться. Это приведет к продвижению жидкости и в более широкую часть поры, что, конечно, вызовет увеличение r. Для того чтобы пар продолжал конденсироваться, давление р должно возрастать (см. изотерму на рис. 4а). При уменьшении р жидкость со стен капилляра десорбируется и изотерма пойдет в обратном направлении таким же путем, т. е. капиллярная конденсация в конусообразных порах полностью обратима.
В порах цилиндрической формы, закрытых с одного конца, т. е. имеющих форму пробирки (см. рис. 46), у закрытого конка при адсорбции образуется шаровидный мениск. При p = p>s>exp[-2σV>мол>/(rRT)] происходит капиллярная конденсация, и в результате этого поры заполняются жидкостью. Однако в отличие от предыдущего случая радиус мениска при этом будет постоянным, и поэтому заполнение пор происходит при постоянном значении р. чему соответствует вертикальная часть изотермы капиллярной конденсации (см. изотерму на рис. 46). Процесс десорбции пойдет в обратном направлении таким же путем, т. е. капиллярная конденсация в цилиндрических капиллярах с одним закрытым концом также вполне обратима. Наконец, в цилиндрических порах, открытых с обоих концов (см. рис. 4в), шаровидный мениск при адсорбции не может образоваться, и конденсация начнется на внутреннем цилиндрическом мениске пленки, покрывающей стенки капилляра, при давлении p>ц> = p>s>exp[-2σV>мол>/(rRT)]. В результате конденсации толщина пленки жидкости увеличивается, а радиус поры уменьшается, и поэтому она заполняет жидкостью при давлении р. Изотерма капиллярной конденсации, как и в предыдущем случае, имеет вертикальный участок (см. изотерму на рис. 4в). Однако вследствие меньшей кривизны цилиндрической поверхности мениска по сравнению с кривизной шаровой поверхности (при одном и том же радиусе капилляра) вертикальный участок на изотерме соответствует большим значениям давления пара. После заполнения поры на обоих ее концах возникнут шаровидные мениски, кривизна которых с повышением давления пара уменьшается. При десорбции процесс вначале пойдет обратимо — при испарении небольших количеств жидкости в устья капилляров будут вдавливаться шаровидные мениски со все возрастающей кривизной.. Однако при p = p>s>exp[-σV>мол>/(rRT)] эти шаровидные мениски прорваться еще не могут и капилляр при этом давлении останется еще заполненным. Только при снижении давления пара до p = p>s>exp[-2σV>мол>/(rRT)] радиус шаровидного мениска станет равным радиусу адсорбционной пленки в цилиндрическом капилляре и вся жидкость, заполнявшая капилляр, испарится. Все это обусловит то, что десорбционная ветвь разойдется с адсорбционной, т. е. получится характерная петля капиллярно-конденсационного гистерезиса.
Реальные адсорбенты не обладают порами какого-нибудь одного размера в какой-нибудь одной формы. Их поры заполняются или опустошаются не одновременно. Это является причиной того, что ветви гистерезисной петли обычно наклонены к оси абсцисс.
Магнитная жидкость как коллоидная система
Магнитная жидкость представляет собой устойчивую коллоидную систему стабилизированных высокодисперсных частиц магнитного материала в жидкой среде. Обладая одновременно свойствами магнитного материала и жидкости-носителя, она может помочь решить множество научных и технических задач. Диапазон применения индивидуальных магнитных жидкостей необычайно широк. Они используются в космосе и в медицине, для сепарации руд и методов неразрушающего контроля, в магнитожидкостных уплотнениях, демпферах, а теперь и для получения магнитных сорбентов.
Свойства МЖ определяются совокупностью характеристик входящих в нее компонентов (твердой фазы, жидкости-носителя и стабилизатора), варьируя которыми можно в довольно широких пределах изменять физико-химические параметры МЖ в зависимости от конкретных условий их применения.
Процесс синтеза МЖ включает в себя основные стадии: получение высокодисперсных частиц магнитного материала и их стабилизацию в жидкости-носителе. В качестве магнитного материала выбран магнетит. Основное достоинство дисперсии магнетита по сравнению с дисперсиями других ферромагнитных материалов - это технологическая простота и отработанность методик его получения.
1.2.1. Устойчивость магнитных жидкостей.
Магнитную жидкость, включающую в себя в качестве дисперсной фазы высокодисперсные магнитные материалы (железо, кобальт, магнетит, ферриты и т.д.) с размером частиц 50-200 Å, в качестве дисперсионной среды жидкие углеводороды, силиконовые и минеральные масла, воду, фторорганические соединения и т.д., можно отнести к коллоидным растворам или золям.
Устойчивость коллоидных систем - это центральная проблема коллоидной химии, и ее решение имеет огромное практическое значение в геологии, земледелии, биологии, технике. Используя основные понятия современной теории устойчивости, рассмотрим кратко условия устойчивости магнитных жидкостей.
Следует различать агрегативную устойчивость, то есть устойчивость частиц к агрегации и седиментационную устойчивость - устойчивость к воздействию гравитационного магнитного и электрического полей, центробежных сил и т.д.
Седиментация заключается в свободном оседании частиц дисперсной фазы под действием сил тяжести, в результате чего изменяется концентрация дисперсных частиц в объеме дисперсионной среды в зависимости от высоты слоя, происходит расслоение системы и образование высококонцентрированного осадка. Свободной седиментации частиц препятствует с одной стороны сила вязкого сопротивления дисперсионной среды (стоксовая сила), а с другой стороны - диффузионное перемещение частиц, однако в этом случае размер частиц должен быть достаточно мал, чтобы обеспечивалось их броуновское тепловое движение. Условием седиментационной устойчивости является малость скорости оседания по сравнению со скоростью броуновского движения. В частности, для магнитных жидкостей на керосине, воде и минеральном масле при использовании магнетита в качестве феррофазы соответственно получены [24] следующие значения максимальных размеров частиц: d = 8·10-6м, d = 7·10-6м и d = 20·10-6м.
Агрегативная устойчивость коллоидных систем определяется балансом сил отталкивания и притяжения между частицами. Силами притяжения являются Лондоновские силы, а к силам отталкивания относятся силы электростатического или стерического отталкивания [25-33].
Это связано с тем, что вследствие малых размеров частицы коллоида являются однодоменными и имеют собственный магнитный момент. Взаимодействие между магнитными частицами приводит к их слипанию в агрегаты, что приводит в конечном счете к седиментации магнитных частиц. Кроме того, при сближении частиц возникают Лондоновские силы, которые также приводят к слипанию частиц. Для предотвращения коагуляции частиц их поверхность покрывается слоем длинных, имеющих цепочечную структуру, молекул поверхностно-активного вещества. Оболочка из молекул ПAB предотвращает сближение частиц, так как при ее сжатии возникают силы отталкивания. И, наконец, между частицами действуют электростатические силы, возникающие благодаря взаимодействию двойных электрических слоев, окружающих частицы. Противодействие агрегатированию и коагуляции частиц определяет агрегативную устойчивость коллоидных систем и зависит от баланса сил, действующих между ферромагнитными частицами - силами притяжения (силы Ван-дер-Ваальса, диполь-дипольного взаимодействия и магнитные силы) и силами отталкивания (силы электрической и стерической природы). Природа и интенсивность названных выше сил подробно обсуждалась в ряде работ [34 – 40].
Электростатическое отталкивание обусловлено существованием двойных электрических слоев, состоящих из ионов на поверхности дисперсных частиц в жидкой среде [27, 41, 42].
Так как рассматриваемые нами жидкости являются коллоидными системами, то для них будут справедливы законы коллоидной химии. Важной особенностью и основным отличием магнитных жидкостей (МЖ) от обычных колдоидных систем является наличие у них магнитных свойств. И поэтому, кроме основных сил взаимодействия между частицами (сил Лондоновского притяжения, сил электростатического и стерического отталкивания), необходимо учитывать еще и силы магнитного взаимодействия. Баланс этих сил или преобладание сил отталкивания будет обеспечивать устойчивость коллоидной системы. Устойчивость является одной из важнейших характеристик магнитных жидкостей и в сильной степени определяет возможность их успешного применения. Под устойчивостью понимают способность частиц магнитных жидкостей не агрегировать и сохранять, а течение определенного времени постоянными свои физические, химические и магнитные свойства. Причем это время, как и для любой коллоидной системы, будет зависеть, прежде всего, от размеров частиц дисперсионной фазы, химического состава и физических характеристик коллоида, внешних условий (например, температуры, величины магнитного поля и др.) и может колебаться от нескольких секунд до нескольких лет.
Магнитные частицы в коллоиде вследствие малости размеров является однодоменными и суперпамагнитными, то есть они полностью намагничены в одном направлении и их магнитное взаимодействие можно приближенно описывать как взаимодействие точечных диполей.
Между частицами, покрытыми слоем длинных цепочечных молекул, при их соприкосновении возникает сила отталкивания, называемая стерической. Стерическое отталкивание возникает [30] из-за повышения локальной концентрации длинных молекул полимера (ПАВ) в зоне пересечения адсорбционных слоев (осмотический эффект).
Для того, чтобы адсорбционный слой на магнитных частицах не разрушался, необходимо, чтобы силы стерического отталкивания превосходили силы диполь-дипольного взаимодействия.
Однако достаточная прочность адсорбционного слоя еще не означает отсутствия коагуляции, так как две частицы, разделенные адсорбционным слоем 2δ, могут удерживаться вместе силами магнитного притяжения. Такой агломерат может быть разрушен тепловым движением частиц. Так как с ростом толщины сольватного слоя расстояние между частицами растет, то энергия диполь-дипольного взаимодействия уменьшается и, значит, увеличивается влияние теплового движения частиц на их агрегатирование.
Толщина сольватной оболочки, препятствующая агрегированию частиц с учетом их тепловой энергии и диполь-дипольного взаимодействия, зависит от температуры, размеров частиц, их магнитных характеристик. В частности [21], для магнитных частиц магнетита при комнатной температуре
δ>>
δ- длина молекул ПАВ.
Если в качестве поверхностно-активного вещества для магнетитовых частиц используется олеиновая кислота (δ=20Ǻ) , то условие δ>кр><<δ говорит о том, что в этом случае от коагуляции будут защищены частицы, диаметр которых существенно меньше 190Å . С другой стороны, очень малые частицы (10…20Å) теряют свои магнитные свойства вследствие малости энергии обменного взаимодействия по сравнению с тепловой энергией. Поэтому наиболее приемлемым, с точки зрения агрегативной устойчивости, является размер частиц магнетита 40…160Å, а применение поверхностно-активных веществ с большей чем у олеиновой кислоты, длиной молекул, обеспечит стабилизацию более крупных частиц магнетита.
Итак, устойчивость МЖ определяется равновесием всех возможных факторов взаимодействия (межмолекулярного, магнитного, структурно-механического, а для полярных сред - электростатического) между частицами дисперсной фазы. В случае, если над силами притяжения преобладают силы отталкивания, система находится в устойчивом состоянии. В противоположном случае - система стремится к разрушению коллоидной структуры.
Таким образом, предвидеть поведение МЖ можно проведя суммирование энергии отталкивания (электростатической для полярных сред и обусловленной ПАВ) с энергией магнитного и межмолекулярного притяжения. Положительный результат сложения указывает на преобладание сил отталкивания, из чего можно сделать вывод об устойчивости системы. Отрицательный результат позволяет предположить, что система кинетически неустойчива. На основании всего изложенного выше можно сделать вывод, что самый оптимальный вариант коллоидного раствора МЖ представляет собой следующую систему: магнитные частицы размером 50-200 Å, покрытие слоем ПАВ и распределенные в жидкой среде, свободной от низкомолекулярных электролитов. Именно в этом случае силы электростатического отталкивания минимальны, силы межмолекулярного и магнитного притяжения минимальны, а структурно-механический фактор стабилизирует систему самым эффективным образом, и МЖ в целом представляет собой, следовательно, наиболее стабильную во времени, пространстве, гравитационном и электромагнитном полях коллоидную систему.
1.2.2. Обзор методов получения магнитных жидкостей
Широкое использование магнитных жидкостей (МЖ) во многом сдерживается отсутствием технологически простых и производительных методов их получения. Так как магнитная жидкость представляет собой устойчивую коллоидную систему частиц магнитного материала в жидкости-носителе, то для ее создания необходимо решить две основные задачи:
- получить высокодисперсные частицы феррофазы;
- стабилизировать их в жидкости-носителе.
Оценки показывают, что для обеспечения устойчивости МЖ (седиментационной, агрегативной и магнитной) необходимо обеспечить получение частиц ферромагнетика размером 50 - 200Å. Достичь таких размеров можно или измельчая крупные частицы магнетика, или же выращивая их из молекулярных размеров до коллоидных.
Второй очень важной технологической особенностью получения магнитных жидкостей высоко дисперсных магнитных материалов является защита коллоидных частиц от окисления и предотвращения их агломерации и коагуляции как в процессе получения, так и при переводе частиц в коллоидное состояние в жидкости-носителе. Наиболее успешно эта задача решается путем получения высокодисперсных частиц непосредственно в жидкости-носителе и стабилизации их поверхностно-активными веществами в момент или сразу после их образования. Условием эффективной стабилизации частиц является совместимость феррофазы, стабилизатора и дисперсионной среды, при этом наилучшими стабилизаторами оказываются такие вещества, которые хорошо адсорбируются на поверхности частиц феррофазы, а свободной частью своей молекулы хорошо растворяются в жидкости-носителе. Этим условиям обычно хорошо отвечают вещества с длинной углеводородной цепочкой (С>10>– С>20>) содержащие функциональные группы (ОН, NH>2> ,СООН, SО>3>Н и т.д.). Эффект стабилизации объясняется понижением поверхностной энергии диспергированных частиц и увеличением абсолютной величины их электрокинетического потенциала, а также за счет структурно-механического и стерического факторов.
Способы получения коллоидных систем МЖ можно разделить на методы диспергирования и методы конденсации.
1.2.2.1. Дисперсионные методы получения MЖ.
Методы диспергирования заключаются в измельчении грубых частиц твердых тел до коллоидных размеров. Механизм диспергирования можно объяснить следующим способом. При деформации твердого тела на его поверхности образуются микротрещины, которые резко понижают прочность материала. Микротрещины образуются обычно в слабых местах кристаллической решетки, т.е. в местах ее дефектов, которые встречаются в среднем через 100 правильных межатомных или межмолекулярных расстояний. Слабыми местами являются границы между отдельными кристаллами или любые неоднородности. П.А.Ребиндэр, В.Д.Щукин и др. в своих работах показали, что развитие микрощелей при диспергировании происходит значительно легче в присутствии ионов электролитов и молекул поверхностно-активных веществ, которые могут адсорбироваться на поверхности микротрещин и обеспечивать расклинивающее действие. Использование ионов электролитов и ПАВ позволяет значительно повысить дисперсность измельчаемых частиц.
Впервые магнитная жидкость была получена Папелом путем размалывания в шаровой мельнице в течение 3 месяцев грубодисперсных частиц магнетита в смеси керосина и олеиновой кислоты как стабилизатора [43]. Принцип работы шаровой мельницы основан на истирании частиц материала при перекатывании стальных шаров во вращающейся мельнице. Для хорошего диспергирования объем шаров, загружаемых в мельницу, должен составлять 30-40 % от ее общего объема, а объем дисперсии не должен превышать 20 % от объема мельницы. С целью получения МЖ размол обычно проводят в жидкости-носителе. Если измельчение веществ в шаровой мельнице проводить в отсутствие дисперсионной среды, то обычно невозможно получить частицы размером меньше 600 Å. При мокром же помоле и в присутствии стабилизатора могут быть получены коллоидные растворы, с размером частиц в 100 Å.
Шаровые мельницы широко используются для получения магнитных жидкостей различного состава и имеют ряд преимуществ перед другими аппаратами для получения МЖ, а именно: измельчение проводится в замкнутом пространстве и без потерь растворителя, если он летуч, процесс можно продолжать до тех пор, пока не будет достигнута нужная степень измельчения; обслуживание машины чрезвычайно просто. Недостатком шаровых мельниц является значительное истирание шаров при работе, что приводит к нежелательному загрязнению получаемой МЖ, а также длительность и малая производительность процесса. Диспергируя в шаровых мельницах различные магнитные материалы (железо, кобальт, магнетит, ферриты и др.) в различных жидкостях-носителях (керосине, углеводородах, воде, силиконах, фторорганических и других средах), удалось получить МЖ различного состава [44-51]. Нужно отметить, что магнитные свойства магнитных жидкостей, получаемых размолом магнетита в шаровых мельницах, невысоки и с целью улучшения свойств МЖ и усовершенствования процесса получения МЖ авторы работ [52-54] предложили размалывать в жидкости-носителе более хрупкий немагнитный материал - гематит или вюстит, которые представляют собой немагнитную закись железа с дефектной структурой. При нагревании до температур эвтектической точки немагнитный вюстит превращается в магнитные материалы: магнетит и железо, по реакции
4FeO ↔ Fe>3>O>4> + Fe
Так как реакция проходит непосредственно в жидкости-носителе и в присутствии стабилизатора, то в результате образуется устойчивая магнитная жидкость. Размол магнитных материалов осложняется магнитным притяжением частиц друг к другу, которое, суммируясь с межмолекулярным взаимодействием, приводит к укрупнению частиц и увеличению времени размола. Использование же немагнитного хрупкого вюстита позволяет сократить время размола с 1000 часов до 40 и облегчает условия их стабилизации, а полученные магнитные жидкости имеют гораздо лучшие магнитные характеристики за счет образующегося при диспропорционировании высокодисперсного железа, намагниченность которого в пять раз выше намагниченности магнетита. Основным недостатком этого метода, является потребность в высоких температурах для обеспечения условий диспропорционирования вюстита в магнетит и соответствующие ограничения по термостойкости используемых дисперсионных сред и стабилизаторов.
Попытки получить устойчивые, высокомагнитные МЖ методами диспергирования, например ультразвуком, электроплазменным измельчением, измельчением вращающимся магнитным полем или электрораспылением желаемых результатов не дали. Этими методами не удалось достичь высокой дисперсности измельчаемых материалов. Они характеризуются весьма малой производительностью, длительностью и сложностью достижения высокой дисперсности измельчаемых материалов, а получаемые МЖ - невысокой устойчивостью и слабыми магнитными свойствами.
Важную роль в получении коллоидных систем играет пептизация высокодисперсных частиц, полученных тем или иным способом, в дисперсионной среде, метод пептизации заключается в переводе в коллоидный раствор осадков, первичные частицы которых уже имеют коллоидные размеры. Пептизация может осуществляться действием электролита или поверхностно-активного вещества на осадок, промывкой осадка или химическим взаимодействием вещества с осадком, в результате чего образуется электролит, придающий устойчивость частицам дисперсной фазы. Пептизация промывкой осадка сводится к удалению из него электролита, вызвавшего коагуляцию. В результате чего оставшийся двойной электрический слой утолщается, силы отталкивания начинают преобладать над силами притяжения и отделявшиеся друг от друга мицеллы в результате броуновского движения равномерно распределяются в дисперсионной среде, т.е. образуется коллоидный раствор. Пептизация электролитами идет за счет того, что ионы электролита могут достраивать кристаллическую решетку дисперсной фазы или, адсорбируясь на поверхности, создавать двойной электрический слой, обуславливающий устойчивость коллоидной системы. Пептизация поверхностио-активными веществами обуславливается взаимным отталкиванием гибких молекул ПАВ, адсорбировавшихся на поверхности коллоидной частицы.
Задача получения устойчивых и высокомагнитых МЖ успешно решается и с использованием методов конденсации.
1.2.2.2. Методы конденсации.
Конденсационные методы основаны на соединении отдельных молекул или ионов растворенного вещества в агрегаты коллоидных размеров. Образование коллоидных систем в результате конденсации можно рассматривать как процесс кристаллизации, который протекает в две стадии:
- возникновение зародышей (центров кристаллизации);
- рост зародышей до определенного размера кристаллов. Зародыши кристаллизации, как правило, образуются в результате осаждения растворенного вещества на чужеродных мельчайших пылинках, случайно оказавшихся в системе (гетерогенная конденсация). Необходимо отметить, что вводя определенное количество чужеродных зародышей, можно получить коллоидные системы с заранее заданной дисперсностью.
Рост кристаллов происходит в результате конденсации на них ионов или молекул вещества из раствора. Важно при получении высокодисперсных систем (золей), чтобы скорость образования зародышей была велика, а скорость роста кристалликов мала, так как лишь в этом случае образуется множество кристаллов коллоидных размеров. Если же наоборот скорость образования центров кристаллизации мала, а скорость роста кристаллов велика, то все выделившееся вещество конденсируется на небольшом числе зародышей и в результате образуется небольшое количество крупных кристаллов. Важно отметить, что в первом случае будут образовываться сравнительно монодисперсные системы, а во втором - полидисперсные. Очень существенное значение для получения коллоидов имеют условия реакции, то есть температура, концентрация реагирующих веществ, скорость и порядок смешивания растворов. Используя, например, сильно разбавленные растворы, охлаждая их и осторожно перемешивая можно, в принципе, вырастить монокристалл, а используя концентрированные растворы, интенсивно перемешивая и подогревая их - частицы коллоидных размеров.
Методами конденсации высокодисперсные частицы магнетиков могут быть получены в результате химических реакций почти всех известных типов: реакций обмена, восстановления, окисления, гидролиза и т.д.
Примерами методов конденсации являются: термическое разложение карбонилов металлов, электролиз металлов из растворов их солей, соосаждение солей под действием щелочи [55-63] и другие методы.
Примером конденсационных способов может служить метод получения магнитных жидкостей на углеводородной и кремнийорганической основе с металлами, разработанный авторами работ [64-70]. Метод основан на термическом разложении карбонилов металлов непосредственно в жидкости-носителе в атмосфере инертного газа и в присутствии стабилизатора. Это позволяет защитить образующиеся высоко дисперсные частички металлов от окисления, полностью сохранить их магнитные свойства и предотвратить коагуляцию, для успешного приготовления коллоидных растворов ферромагнетиков этим методом необходимо очень точно соблюдать баланс между жидкостью-носителем, стабилизатором и металлическими частицами. Изменяя режим получения (температуру, состав и процентное соотношение исходных компонентов) можно получить коллоиды, содержащие частицы металла размером от 20 до 300Å.
Разложением пентокарбонила железа Fe(CO)>5> и дикобальтоктокарбонила Cо>2>(CO)>8> Томасом были получены устойчивые коллоиды железа и кобальта в толуоле и хлорбензоле [66-68].
Аналогично авторами [65] получены магнитные жидкости на кремний-органических соединениях с железом. При разложении карбонилов металлов образуются высокодисперсные частички чистых металлов
Fe(CO)>5 >↔ Fe + 5CO
Этот метод позволяет получать магнитные жидкости на чистых металлах. Недостатком этого способа является обильное выделение токсичного оксида углерода(II), а также большая реакционная способность получаемых чистых частиц металлов, что требует особых мер предосторожности. К тому же процесс должен протекать в герметичном реакторе, в атмосфере инертного газа и при высоких температурах, что создает свои сложности.
М.А.Луниной совместно с сотрудниками усовершенствован и успешно используется для получения металлических органозолей электроконденсационный метод [40, 71]. Преимуществом ЭК-метода является возможность получения практически любых металлов в виде золей, содержащих сферические частицы со средним радиусом от 1 до 30 нм. В основе ЭК-метода лежит принцип конденсации пересыщенного пара металла, возникающего при искровом разряде высокочастотного переменного тока между грубыми частицами металла, погруженными в жидкость.
Мозговой и Блум [72] для получения коллоидной суспензии железа в толуоле также использовали электроконденсационный метод. Ими была получена довольно устойчивая коллоидная система, однако весовая концентрация железа в ней составляла лишь около 3 %.
Большой интерес представляют собой электропроводящие жидкости. В качестве жидкости-носителя используют обычно ртуть, олово, легкоплавкие металлы и их сплавы (индий, галлий и др.). Способы получения таких жидкостей основан на методе термической конденсации и электролизе [73-77].
Авторами [75] для получения коллоидных растворов гадолиния в ртути использовался термический метод конденсации. Сплав железо-гадолиний испарялся в атмосфере аргона при пониженном давлении. Образующиеся аэрозольные частицы переводились в ртуть. Концентрирование взвеси проводили испарением ртути при механическом встряхивании суспензии с целью предотвращения роста частиц. В последующих работах [76] эти авторы использовали в качестве феррофазы сплав Fe-Ni. Электролиз проводился в электролизной ванне при рН = 9,25-9,5. Катодом служила свободная поверхность ртути. Для перевода образующихся частиц во взвесь ванна подвергалась вибрации с частотой 200 Гц. Полученные магнитные жидкости имели размер частиц 30-1000Å и как указывают авторы, обладали "хорошей намагниченностью и устойчивостью" в зависимости от процентного соотношения железа и никеля. Эмерсон получил электропроводные жидкости на основе железа в ртути совмещая методы электролиза, химического замещения и термической конденсации [77]. В нескольких других работах имеются лишь краткие сообщения о полученных электропроводных жидкостей на легкоплавких металлах и их сплавах, без описания методики получения и подробных характеристик. Основная трудность на пути создания таких жидкостей состоит в отсутствии эффективных методов их стабилизации.
Обычно получение устойчивых магнитных жидкостей ведется при совокупности методов конденсации, диспергирования и пептизации.
Эти методы широко используются в технике для получения красок, пигментов, магнитных лент и т.д. Использование этих методов для производства магнитных жидкостей будет обусловлено рядом дополнительных требований, таких как:
- возможность получения ферромагнетиков с размерами частиц 50-200Å;
- возможно больший выход частиц ферромагнетиков без загрязнения и разложения,
- простота технической реализации метода,
- высокие адсорбционные свойства частиц ферромагнетика и хорошо развитая поверхность;
- хорошая устойчивость получаемых коллоидов.
Среди этих методов нужно прежде всего выделить метод получения МЖ на основе магнетита путем соосаждения его избытком щелочи из растворов солей двух- и трехвалентного железа и последующей пептизации в жидкости-носителе.
Принципиальная схема процесса представлена на рис. 5. В реакторе I соли двух- и трехвалентного железа осаждаются избытком аммиака, затем в реакторе 2 к полученному осадку магнетита при постоянном перемешивании и нагревании до 70-90°С добавляют раствор олеиновой кислоты в керосине. В реакторах 3 и 4 происходит разделение полученной магнитной жидкости от воды и растворимых солей. Для более полного отделения магнитной жидкости от воды и примесей использован магнит 4.

Рис.5. Технологическая схема процесса получения МЖ.
Описанный способ получения МЖ прост, производителен, позволяет получать магнетит размером 30-100Å, а магнитные жидкости - хорошей устойчивости и высокой намагниченности.
Выше рассмотрены наиболее изученные и отработанные методы получения МЖ. Но нужно отметить, что не всегда эти методы позволяют получить МЖ с широким диапазоном свойств на требуемой основе. Весьма перспективным в этом отношении является способ замены в МЖ одной жидкости-носителя другой, предложенный Р.Розенцвайгом [78] и основанный на методе пептизации. Суть этого способа состоит в том, что в МЖ вводят полярный флокулирующий агент или полимер, вызывающий флокуляцию частиц с адсорбированным на них ПАВом. В дальнейшем стабилизированные частицы выделяют из раствора и пептизируют в другой жидкости-носителе. Механизм действия флокулирующего агента приведен на рис. 6. Нa этом рисунке изображены две соседние частицы с адсорбированным на их поверхности ПАВом, взвешенные в неполярной жидкости-носителе. Когда две частицы сближаются, адсорбированные слои за счет стерического отталкивания препятствуют их укрупнению, и, естественно, и коагуляции. В силу этого частицы равномерно распределены в жидкости-носителе. При введении в систему полярного флокулирующего агента уменьшается взаимодействие ПАВ с жидкостью-носителем. Это приводит к вытеснению жидкости-носителя из зазоров между частицами и коагуляции последних с адсорбированным на них ПАВом. Скоагулировавшиеся частицы могут быть диспергированы в другой жидкости-носителе, имеющей средство к адсорбированному на них ПАВу.

Рис.6. Механизм действия флокулирующего агента.
Флокуляция частиц полимером обусловлена большими размерами молекул полимера и их разветвленной структурой. Взаимодействуя с несколькими частицами сразу, молекула полимера обеспечивает укрупнение и коагуляцию частиц. В качестве полярного флокулирующего агента используют ацетон, этиловый спирт, этилацетат и др., а в качестве полимерных флокулянтов - полистирол, полиизобутилен, полимеры диметилсилоксана и др. Важными требованиями к полимерным флокулянтам являются их хорошая смешиваемость с жидкостью-носителем и чтобы длина молекулы в несколько раз превышала размер частиц феррофазы.
Описанный способ позволяет получать магнитные жидкости на других основах. Однако, нужно учесть, что таким образом можно производить замену сред только одного класса, например, один углеводород на другой. В дальнейшем этот способ был усовершенствован, что позволило производить замену различных по классу жидкостей-носителей [79]. Это достигается за счет подбора такого флокулирующего агента, который вызывает флокуляцию магнитных частиц без адсорбированного на них стабилизатора. Затем сфлокупировавшиеся магнитные частицы с помощью другого стабилизатора диспергируют в другой жидкости-носителе.
Замена жидкости-носителя в МЖ не только схожей с ней по свойствам, но и другими жидкостями, открывает возможность, получив предварительно МЖ наиболее простым и технологичным методом, в дальнейшем получать МЖ практически на любых основах и даже на таких, на которых прямым путем их получить очень трудно или вообще не удается. Например, можно, получив МЖ на воде, затем заменить воду углеводеродами, силиконовыми маслами, фторированными углеводородам или другими жидкостями-носителями. Кроме того, используя при повторном диспергировании другой стабилизатор, этим способом можно получить МЖ на той же основе, но с гораздо лучшими характеристиками и более широким спектром свойств.
В 80-90х гг в дипломных работах, выполненных на кафедре неорганической химии Белгосуниверситета им. В.И. Ленина дипломниками Витенчик Т.М, Омелюсик Л.С., Бурш В.В., Касперович Т.И. и др. были изучены закономерности процесса формирования пленок оксидов железа из стабильных коллоидных систем на основе магнитных оксидов железа с водной и неводной дисперсионной средой. Также было разработано несколько новых способов синтеза магнитных жидкостей. Так, например, в качестве стабилизатора были использованы олеат триэтаноламина (олеат ТЭА) и минеральные кислоты (HClO>4>, HNO>3> и др.)
Из приведенного обзора видно, что наиболее простым и перспективным методом получения магнитных жидкостей является метод пептизации, хотя для получения МЖ с заранее заданными свойствами он требует усовершенствования.
2. Методика эксперимента
2.1. Синтез магнитного материала
2.1.1. Синтез магнетита
В данной работе был использован метод синтеза магнетита путем соосаждения солей двух- и трехвалентного железа избытком щелочи [80].
Готовилась смесь 25,5г FeSO>4>·7Н>2>О> >(марки чда) и 45г FeCl>3>·6Н>2>О, взятых в виде их 10%-ных водных растворов (т.о. отношение Fe(II):Fe(III) составляло 1,1:2, т.е. количество Fe(II) бралось в 10%-ном избытке по сравнению со стехиометрическим). Для предотвращения заметного окисления Fe(II) кислородом воздуха вода для приготовления раствора сульфата железа (II) подкислялась небольшим количеством (1-2 капли) концентрированной H>2>SO>4>.
Смесь растворов добавлялась быстро тонкой струей к 180-200мл 25%-ного раствора аммиака при интенсивном перемешивании механической мешалкой, которое продолжалось еще 20-25 мин после окончания реакции. Осаждение проводилось при рН=10.Образующийся черный осадок отмывался дистиллированной водой методом магнитной декантации до рН=8,5.
Из литературных данных известно, что целесообразно использовать 10%-е растворы солей (FeSO>4>·7H>2>O и FeCl>3>·6H>2>O) и их вливать в раствор щелочи или же проводить быструю нейтрализацию солей избытком щелочи, так как при медленном сливании разбавленных растворов образуются крупные частицы. Предотвратить образование гидрооксида железа и другие нежелательные побочные процессы можно используя предпочтительно хлорид и сульфат железа, а вместо едкого натра - водный раствор аммиака. Происходящая при этом химическая реакция может быть выражена следующим уравнением:
FeSO>4>·7H>2>O + 2FeCl>3>·6H>2>O + 8NH>3>·H>2>O ↔ Fe>3>O>4> + 6NH>4>Cl + (NH>4>)>2>SO>4> + 20H>2>O
Использование аммиака позволяет создать мягкие условия соосаждения оксидов, что благоприятствует протеканию реакции с образованием именно высоко дисперсного магнетита состава Fe>3>O>4> или Fe>2>O>3>∙ FeO, который обладает лучшими магнитными характеристиками по сравнению с другими магнетитами, например mFe>2>O>3>∙nFeO (где n≠m), а образовавшаяся при этом соль аммония NH>4>Cl при нагревании легко разлагается с выделением газообразного аммиака. Ионы Сl- и растворимые соли удалялись многократной промывкой дистиллированной водой. В результате уменьшается число разноименных ионов в растворе, вызывающих коагуляцию частиц магнетита или препятствующих их пептизации в жидкости-носителе, а также снижающих впоследствии устойчивость получаемых МЖ.
Магнетит, полученный по данной методике, отличается монодисперсностью частиц, высокими магнитными свойствами, хорошей адсорбционной способностью, что является важными факторами при создании устойчивых высокомагнитных жидкостей.
2.1.2. синтез магнетита
То же что и 2.1, только соотношение Fe(II):Fe(III) =2:1
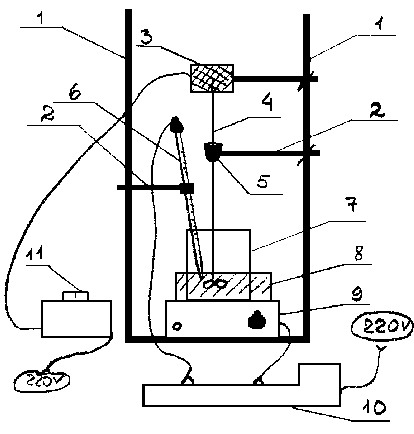
2.1.3. Синтез магнитной жидкости с водной дисперсионной средой и стабилизатором олеатом ТЭА.[81]

Рис. 7. Установка для синтеза магнитной жидкости. 1- штатив, 2 – лапка, 3 – мотор, 4 – стеклянная мешалка, 5 – пробка с отверстием, 6 – контактный термометр, 7 – стакан, 8 – водяная баня, 9 – плитка, 10 – реле, 11 – ротор.
Отдельно от магнетита, полученного по методике 2.1.1. готовился стабилизатор (смесь 9мл олеиновой кислоты и 11мл триэтаноламина). Готовый стабилизатор – олеат ТЭА – добавлялся по каплям к нагретому на водяной бане до температуры 50-60ºС осадку магнетита в воде, оставшейся после последней декантации, количество которой могло варьироваться для получения коллоидных систем с различным содержание магнетита. Нагрев и перемешивание продолжалось в течение 2х часов, затем система оставлялась для удаления пены ПАВ, образующейся в результате интенсивного перемешивания, на 0,5 -1 сутки, после чего проводилось центрифугирование для отделения фракции более крупных частиц (F = 4000g).
2.1.4. Синтез магнитной жидкости с водной дисперсионной средой и стабилизатором олеатом аммония.
Отмыв осадка, полученного аналогичным методике 2.1.1. способом, проводился до рН=9,5, после чего к дисперсии магнетита в воде (150мл), нагретой до 60ºС на водяной бане, добавлялось для стабилизации системы 20мл 25%-ного раствора аммиака, а затем 10мл олеиновой кислоты. Нагрев при 60-70ºС продолжался 1,5 часа, после чего коллоид центрифугировался и помещался в емкость из темного стекла.
2.1.5. Синтез магнитной жидкости с водной дисперсионной средой и минеральными кислотами в качестве стабилизатора
К магнетиту, приготовленному по методике 2.1.1. по каплям добавлялся очень разбавленный (0,01М) раствор азотной либо хлорной кислот до пептизации осадка, после чего проводилось центрифугирование для отделения фракции более крупных частиц (F = 4000g).
2.1.6. Синтез магнитной жидкости с деканом в качестве дисперсионной среды и стабилизатором олеиновой кислотой.[82]
Образующийся черный осадок, полученный по методике 2.1.1. после отмывания переносился в узкий стеклянный стакан. К осадку добавлялась смесь 80-100мл декана и 8-9,5 мл олеиновой кислоты, содержимое стакана перемешивалось вручную и оставлялось для расслаивания (на 1-1,5 часа) в темноте. После этого верхний органический слой (50-60мл) переносился в делительную воронку и еще раз оставлялся на 1-1,5 часа для более полного расслоения. Затем отделенный органический слой переносился в стакан емкостью 80-100мл, помещался на песчаную баню и нагревался в течение 4-5 часов при 80-90ºС при постоянном перемешивании для удаления остатка воды. Затем образец центрифугировался для удаления фракции более крупных частиц (F = 3400g) в течение 15-20 мин и помещался в емкость из темного стекла.
2.1.7. Синтез магнитной жидкости с керосином в качестве дисперсионной среды и стабилизатором олеиновой кислотой.
То же, что и 2.1.6., только вместо декана был использован керосин.
2.2. Синтез магнитного сорбента
2.2.1. Синтез намагниченного сорбента 1.
Немагнитный сорбент (активированный уголь, гранулированный активированный уголь либо ионообменный сорбент) механически смешивался с отмытым до рН=8,5 магнетитом. Далее сорбент помещался в воду и намагниченная его часть экстрагировалась при помощи постоянного магнита. Затем он высушивался при комнатной температуре и анализировался.
2.2.2. Синтез намагниченного сорбента 2.
Соосаждение смеси солей Fe(II) и Fe(III) проводилось при рН=10 в присутствии немагнитного сорбента. Отмывание магнитного сорбента проводилось при помощи магнитной декантации до рН=8,5-9. Затем намагниченная часть сорбента извлекалась при помощи постоянного магнита и высушивалась.
2.2.3. Синтез намагниченного сорбента 3.
Немагнитный сорбент (гидроксиаппатиты, активированный уголь) пропитывался различными приготовленными заранее магнитными жидкостями (с водной и неводной дисперсионной средой; отличающихся природой стабилизатора и магнитного материала (магнетит, Со)).
2.2.4. Синтез намагниченного сорбента 4.
Синтез магнетита (методика 2.1.1.) проводился в присутствии сорбента. То есть, немагнитный сорбент помещался в раствор аммиака перед соосаждением солей железа для более равномерного распределения частиц магнетита около поверхности сорбента.
2.2.5. Синтез намагниченного сорбента 5.
Соединенный с сорбентом магнетит (2.2.4.) стабилизировался по методикам 2.1.4 и 2.1.6.
2.2.6. Синтез намагниченного сорбента 6.
К полученному по методике 2.1.1. магнетиту добавлялся вместе со стабилизатором (методика 2.1.3. и 2.1.6.) сорбент.
2.2.7. Синтез намагниченного сорбента 7.
Н








емагнитный
легкий материал (пенопласт) пропитывался
магнитной жидкостью (мет. 2.1.3.-2.1.6.) и
становился магнитоуправляемым, далее
наносился связующий материал (силикатный
клей) и потом уже сорбент.
МЖ
клей
сорбент
Или:










2.3. Методики анализа
2.3.1. Определение содержания Fe(II) при помощи количественного анализа.[81, 82]
К 1г ФМЖ прибавлялся 1мл толуола, 2мл концентрированной HCl и смесь нагревалась на кипящей водяной бане в течение 5 мин, после чего к ней добавлялось 10мл воды, 0,5 мл концентрированной H>2>SO>4> и нагревание продолжалось еще 5 мин. Затем к смеси добавлялись 1мл концентрированной H>3>PO>4>, 4мл 5%-ного раствора MnSO>4>, 1мл толуола и 10мл гексана. Содержимое стакана переносилось в делительную воронку, в которой находилось 20мл воды, и после взбалтывания и отстаивания смеси нижний слой сливался в коническую колбу емкостью 100мл. В воронку повторно добавлялось 10мл воды и после встряхивания и отстаивания нижний водный слой добавлялся к полученному ранее.
Раствор в колбе титровался 0,1н раствором KMnO>4> до появления розовой окраски. Параллельно проводился контрольный опыт. 1мл 0,1н раствора KMnO>4> соответствует 0,005585г Fe2+.
2.3.2. Определение содержания Fe/III/ при помощи количественного анализа.[81, 82]
К 1г ФМЖ прибавлялся 1мл толуола, 2мл концентрированной HCl и смесь нагревалась на кипящей водяной бане в течение 5 мин, после чего к ней добавлялось 10мл воды, 0,5 мл концентрированной H>2>SO>4> и нагревание продолжалось еще 5 мин. Затем к смеси добавлялись 4мл 5%-ного раствора MnSO>4>, 1мл толуола и 10мл гексана. Содержимое стакана переносилось в делительную воронку, в которой находилось 20мл воды, и после взбалтывания и отстаивания смеси нижний слой сливался в коническую колбу емкостью 100мл. В воронку повторно добавлялось 10мл воды и после встряхивания и отстаивания нижний водный слой добавлялся к полученному ранее. К пробе перед титрованием добавлялось 2г твердого KJ.
Раствор в колбе титровался 0,1н раствором Na>2>S>2>O>3>, в качестве индикатора использовался крахмал. Параллельно проводился контрольный опыт. 1мл 0,1н раствора Na>2>S>2>O>3> соответствует 0,005585г Fe3+.
2.3.3. Определение содержания Fe/II/ и Fe/III/ в осадке, образующемся при соосаждении гидроксидов при помощи количественного анализа.[81, 82]
К 1г осадка, просушенного на воздухе при комнатной температуре или отжатого на фильтровальной бумаге, прибавлялось последовательно 2мл концентрированной HCl, 10мл воды, 0,5 мл концентрированной H>2>SO>4>, 4мл 5%-ного раствора MnSO>4>, а для определения Fe/II/ еще и 1мл концентрированной H>3>PO>4>. После растворения осадка раствор для определения Fe/II/ титровался 0,1н раствором KMnO>4> до появления розовой окраски; к раствору для определения Fe/III/ добавлялось 2г твердого KJ и он оттитровывался 0,1н раствором Na>2>S>2>O>3> с использованием крахмала в качестве индикатора.
Таким же образом анализировались образцы, стабилизированные минеральными кислотами.
2.3.4. Упрощенный метод определения поверхности по адсорбции воздуха.[84]

Рис.8. Прибор для определения удельной поверхности.
Прибор для определения удельной поверхности (рис.8) состоит из ртутного манометра 1 со шкалой, длина которого больше 80 см. Одна трубка манометра запаивается под вакуумом, а к другой присоединяется на шлифе ампула 2 с навеской образца. Трубка между шлифом и ампулой заключена в вакуумную рубашку 3, которая позволяет поддерживать постоянным охлаждаемый объем при погружении ампулы в жидкий азот. От трубки, соединяющей ампулу с манометром, сделан отвод с трехходовым краном 4. Вторая трубка от крана сообщается с атмосферой, а к третьей присоединена на шлифе ампула 5, содержащая несколько граммов активного угля.
Для определения удельной поверхности навеска образца помещается в ампулу, которая присоединяется к прибору. Ампула с углем соединяется с манометром и погружается в жидкий азот. После того, как весь воздух из прибора адсорбируется на угле, жидкий азот убирается и начинается десорбция газов в объем. Когда давление в манометре достигает 100—250 мм, поворотом крана ампула с углем отключается от манометра и соединяется с атмосферой. Давление газа в манометре измеряется по шкале с точностью ±0.5 мм. Ампула с образцом погружается в жидкий азот и через несколько минут определяется новое установившееся давление. Поверхность образца определяется по формуле:
,
где
S – удельная поверхность,
Δp = p>0> - p>1>
Δp>0> = a>0> + b>0>p>1> (определяется по коллибровочному графику)


p>0> и p>1> – показания манометра до и после адсорбции на образце.
a, a>0>, b, b>0>, S>0> – константы прибора.
Измерение адсорбции предлагаемым упрошенным методом связано с некоторыми допущениями, вносящими ошибки. Не учитывается изменение температуры жидкого азота; расчет поверхности проводится в предположении, что адсорбируется чистый азот. Между тем в воздухе неизбежно присутствует кислород. Поверхность измеряется без предварительной откачки образцов. Во многих случаях это не имеет значения, но для некоторых веществ требуется предварительный прогрев образцов для удаления адсорбированной воды.
2.3.5.Электронномикроскопическое исследование.
Препарирование образцов проводилось 2мя способами:
а) нанесения стеклянной палочкой порошка на медные опорные сеточки, расположенные на поверхности стекла и покрытые тонкой коллодиевой пленкой.
б) методом нанесения капли очень разбавленной жидкости на медные опорные сеточки, расположенные на поверхности стекла и покрытые тонкой коллодиевой пленкой.
На поверхность образцов, полученных обоими способами напылялась пленка спектрально чистого углерода толщиной 150-200 Å (вакуумный пост ВУП-4, вакуум 10-4 мм), служащая в качестве подложки при просмотре образца в электронном микроскопе.
Просмотр образцов проводился в электронном микроскопе ЭВМ – 100ЛМ. Количественная обработка результатов выполнялась по полученным ЭМ-снимкам путем определения среднего размера частиц и анализа поверхностных концентраций наблюдаемых частиц. Для количественного анализа подбирались сходные по структуре участки образцов, исследовались не менее трех участков каждого образца.
2.3.6. Рентгенографическое исследование.
Рентгенограммы образцов записывали на рентгеновском дифрактометре HZG-4A (CoK>α>> >– излучение). Расшифровка рентгенограмм велась по стандартной методике и идентифицировалась по набору межплоскостных расстояний.
2.3.7. Дериватографичеекое исследование.
Исследование проводилось на приборе "ОД-102" в воздушной атмосфере в интервале температур 25-1000°С при скорости нагрева 5 град/мин. Скорость протяжки 1 мм/мин, ДТА 1/5, ДТГ 1/15 . Дериватографическому исследованию подвергались активированный уголь, активированный уголь смешанный с магнетитом и активированный уголь пропитанный магнитной жидкостью (водн., олеат ТЭА).
3. Результаты и их обсуждение.
В настоящей работе представлены новые методы получения магнитных сорбентов, основанные на использовании различных магнитных жидкостей. Использование именно жидкого материала для пропитки сорбента (и придания ему тем самым магнитных свойств) выгодно отличает предложенный нами способ от описанных в литературе. Применение различных магнитных жидкостей (в отличие от магнетита определенного состава) позволяет в широких пределах варьировать свойства получаемого сорбента.
Также был проведен анализ полученных нами магнитных жидкостей и магнитных сорбентов на их основе.
3.1. Рентгенофазовое исследование.
Известно [31], что свежеосажденная смесь оксидов соответствует составу Fe>3>O>4>. Через некоторое время двухвалентное железо окисляется и Fe>3>O>4> переходит в γ-Fe>2>O>3>. Магнетит и γ-оксид железа очень похожи по структурным характеристикам. Разница в плотности упаковки. Так, упаковка γ-оксида более плотная чем у магнетита. Разницу между ними можно обнаружить на рентгенограмме лишь в области 74-75˚ угла 2θ. У Fe>3>O>4> межплоскостное расстояние соответствует значению 74,105˚, а у γ-Fe>2>O>3> – 74,723˚.
Анализируя полученные нами рентгенограммы (рис.9.) можно сделать вывод, что в слабощелочной среде окисление идет быстрее, чем при рН=10. А также с течением времени магнетит стехиометрического состава переходит в nFeO·mFe>2>O>3> где m>n, и затем уже в γ-Fe>2>O>3>.
|
|
а б в |
||||||
|
80 |
75 |
70 |
65 |
60 |
55 |
50 |
2θ |
Рис. 9. Рентгенограммы образцов магнетита,
а) спустя 2 недели после синтеза, б) свежеосажденный, отмытый до рН=8,5, в) свежеосажденный, отмытый до рН=10.
|
|
а б |
||||||
|
80 |
75 |
70 |
65 |
60 |
55 |
50 |
2θ |
Рис. 10. Рентгенограммы образцов магнитных жидкостей в водной дисперсионной средой и смесью оксидов железа в качестве магнитного материала,
а) стабилизатор – олеат натрия, б) стабилизатор – олеат ТЭА.
Из анализа рентгенограмм (рис 10.) и данных количественного анализа следует, что в жидкостях, стабилизированных олеатом натрия, окисление двухвалентного железа идет медленнее по сравнению с жидкостями, стабилизированными олеатом ТЭА.
Что же касается концентрата магнитной жидкости на декане, то в нем, в отличие от водных МЖ и разбавленных МЖ на декане, окисление хоть и происходит, но в значительно меньшей степени.
|
|
а б в |
||||||
|
80 |
75 |
70 |
65 |
60 |
55 |
50 |
2θ |
Рис. 11. Рентгенограммы а) магнетит, б) угольный магнитный сорбент, в) ионообменный магнитный сорбент
Рентгеноструктурный анализ образцов на основе магнетита (полученного путем соосаждения солей 2х- и 3х- валентного железа в аммиаке и отмытого методом магнитной декантации до рН=8,5) (рис.11) показал, что Fe2+ окисляется и со временем Fe>3>O>4> переходит в -Fe>2>O>3. > Это происходит примерно одинаково интенсивно в свежеосажденной смеси оксидов и магнитном сорбенте с активированным углем. В этих образцах состав магнитного материала представляет собой смесь Fe>3>O>4> и -Fe>2>O>3>.
При рентгеноструктурном анализе образцов магнитных сорбентов на основе магнитных жидкостей с органической и водной дисперсионной средой выяснилось, что в магнитном сорбенте на водной основе окисление происходит быстрее, чем в магнитных сорбентах, синтезированных из неводных магнитных жидкостей. А в целом, ситуация похожа на описанную выше.
Количественный анализ.
Количественный анализ проводился методами перманганато- и иодометрии. Данные представлены в табл.2 и на рис.12:
Таблица 2.
Изменение соотношения трех- и двухвалентного железа во времени.
|
№ |
№ метод. |
образец |
Fe(III)/Fe(общ), % |
||||||||
|
2 часа |
1 день |
3 дня |
1 нед. |
2 нед |
1 мес. |
3 мес. |
6 мес. |
1 год |
|||
|
1 |
2.1.1. |
Магнетит |
67 |
72 |
78 |
85 |
92 |
96 |
98 |
100 |
100 |
|
2 |
2.1.3. |
МЖ (водн., олеат ТЭА) |
70 |
73 |
76 |
78 |
83 |
85 |
88 |
91 |
92 |
|
3 |
2.1.6. |
МЖ (декан, олеин. к-та) |
68 |
70 |
73 |
77 |
82 |
84 |
87 |
89 |
90 |
|
4 |
2.2.1. |
МС (уголь + магнетит) |
67 |
71 |
75 |
81 |
87 |
91 |
95 |
97 |
98 |
|
5 |
2.2.1. |
МС (ионнообм. + магнетит) |
67 |
70 |
73 |
79 |
84 |
88 |
91 |
93 |
94 |
|
6 |
2.2.3. |
МС (уголь + МЖ(водн., олеат ТЭА)) |
69 |
72 |
73 |
75 |
78 |
81 |
84 |
86 |
87 |
|
7 |
2.2.3. |
МС (уголь+ МЖ (декан, олеин. к-та)) |
68 |
71 |
72 |
74 |
76 |
79 |
82 |
84 |
85 |

Рис.12. График, отображающий динамику окисления 2х валентного железа
Из этих данных можно сделать вывод о том, что состав феррофазы в магнитных жидкостях только в первые несколько дней приближен ко стехиометрическому составу магнетита. Со временем происходит окисление и магнетит переходит в γ-оксид железа. Это происходит и в водных и в неводных МЖ, и в концентрированных и в разбавленных, но с разной скоростью. Причем данные количественного анализа показали, что процентное содержание ионов Fe2+ в магнетите составляет 14% от общей массы, а в свежеосажденной смеси оксидов – 12. Это говорит о том, что присутствие сорбента хоть и не сильно, но замадляет окисление
Замедление окисления важна т.к. наилучшими магнитными характеристиками обладает именно сложный оксид со стехиометрическим соотношением FeOFe>2>O>3>. Кроме того, зачастую проблематично уберечь двухвалентное железо от окисления когда это действительно очень важно (например, для людей страдающих недостатком гемоглобина).
В зависимости от природы и концентрации магнитной жидкости (водная или неводная дисперсионные среда, различные стабилизаторы (олеиновая кислота, олеат ТЭА, минеральные кислоты)) можно занимать поры лишь определенного размера, в то время как поры другого (нужного) размера будут использованы для селективной сорбции. Исследования показали, что наиболее глубокое проникновение магнитного материала в объем сорбента достигается использованием разбавленных магнитных жидкостей с водной дисперсионной средой и минеральными кислотами в качестве стабилизатора. Повышенная концентрация магнитных частиц в жидкости, а тем более органического вещества в качестве стабилизатора (не говоря уже о дисперсионной среде) препятствует проникновению магнитного материала в объем сорбента. Так, например, при использовании разбавленных магнитных жидкостей со стабилизатором олеатом ТЭА проникновение магнитной жидкости в объем сорбента оказалось более глубоким, чем при использовании более концентрированных жидкостей. Жидкости, стабилизированные азотной или хлорной кислотами, проникают глубже, чем стабилизированные олеатом ТЭА. Жидкости же имеющие неводную дисперсионную среду (декан, керосин, толуол) в объем сорбента практически не проникают вовсе.
3.3. Изотермы адсорбции.
Для предположения механизма взаимодействия сорбента с магнитной жидкостью, были измерены изотермы адсорбции активированного угля и этого же угля, пропитанного магнитной жидкостью.
В качестве адсорбтива был выбран азот, т.к. он отвечает требованиям, предъявляемым к адсорбтивам.
Был проведен анализ полученных нами изотерм адсорбции активированного угля (рис.13) и этого же угля, пропитанного магнитной жидкостью (рис.14).

Рис. 13. Изотерма сорбции активированного угля (СКТ); ■ – адсорбция, ● – десорбция

Рис. 14. Изотерма сорбции активированного угля (СКТ), пропитанного магнитной жидкостью (К4); ■ – адсорбция, ● – десорбция
Исходя из анализа литературных данных, можно сделать несколько выводов:
Изотерма адсорбции активированного угля имеет гистерезис, что дает возможность отнести ее к IV-му типу и указывает на наличие мезопор. Также можно сделать предположение о форме мезопор – тип в; и о механизме сорбции – капиллярная сорбция.
Изотерма адсорбции активированного угля, пропитанного магнитной жидкостью гистерезиса практически не имеет. Это говорит о том, что ее можно отнести ко II-му типу. Здесь происходит физическая сорбция.
Таким образом, можно сделать вывод, что при пропитке активированного угля магнитной жидкостью происходит заполнение жидкостью именно мезопор. Вероятно, это происходит также при помощи капиллярных сил.
Электронная микроскопия
На ниже следующих фотографиях представлены магнитные сорбенты, полученные различными способами. Как видно, сорбент действительно удерживает магнитные частицы. Более того, адсорбция на поверхности не однородна. В некоторых областях можно наблюдать равномерное, в других же неравномерное распределение магнитного материала по поверхности сорбента.

а) б) в)
Рис.15. Распределение частиц магнитного материала по поверхности сорбента: а) активированный уголь (увеличение 40000), б) при использовании магнетита (увеличение 40000), б) магнитной жидкости (увеличение 20000)

Рис. 16. распределение частиц магнетита по размерам.
Из диаграммы следует, что наибольшее число частиц имеют размер 20-100 Å.
Данные электронной микроскопии говорят о том, что при синтезе магнитных сорбентов путем механического перемешивания частицы магнетита расположены вокруг сорбента неравномерно (особенно в случае с ионообменным сорбентом). Это можно объяснить тем, что заряд на поверхности частиц сорбента (особенно ионообменного (об этом говорится в литературе [26])) не одинаков в разных его областях. В образцах же приготовленных при осаждении магнетита на сорбенте можно наблюдать относительно равномерный слой магнетита вокруг сорбента. Причем мелкие частицы сорбента притягиваются друг к другу и между ними появляется как бы связующая цепь из частиц магнетита (около 20-30 частиц).
Согласно данным электронной микроскопии, в магнитных сорбентах, полученных при помощи пропитки магнитной жидкостью частицы магнитного материала равномерно распределены по поверхности сорбента (рис.16б,17). Это объясняется тем, что благодаря гетерогенному взаимодействию жидкость, содержащая в коллоидном состоянии магнитные частицы, имеет свободный доступ ко всей поверхности мельчайших частиц сорбента. Магнитная жидкость проникает в доступные поры и удерживается там, а также не вызывает укрупнения частиц за счет их слипания что наблюдается при использовании магнетита.

Рис.17. Магнитный сорбент (активированный уголь + МЖ (водн., олеат ТЭА). Увеличение 6000.

Рис. 18. Распределение частиц феррофазы по размерам (МЖ с водной дисперсионной средой, стабилизатор – олеат ТЭА)

Рис.19. Распределение частиц феррофазы по размерам (МЖ с неводной дисперсионной средой (декан), стабилизатор – олеиновая кислота).
Как и в случае с магнетитом, наибольшее число частиц имеют размер 20-100 Å.
3.5. Удельная поверхность.
Исследования удельной поверхности при помощи методики 2.3.4. показали, что удельная поверхность активированных углей уменьшается при пропитке их магнитной жидкостью. Причем при использовании магнитной жидкости с водной дисперсионной средой поверхность углей с очень развитой поверхностью (около 2500 м2/г) уменьшается в 1,5 – 2 раза, а при использовании магнитной жидкости с неводной дисперсионной средой – в 10 раз. Концентрация магнитной жидкости в обоих случаях одинакова – 12 массовых процентов Fe. При использовании углей с меньшей удельной поверхностью (около 1000 м2/г) присутствие магнитной компоненты сказывается уже в меньшей степени (водные – уменьшается в 1,1 – 1,2 раза; неводные – в 2 раза). Однако относительно небольшая удельная поверхность некоторых гидроксоапатитов (около 30-40 м2/г) после пропитки увеличивается. Это вероятно связано с тем, что магнетит сам имеет высокоразвитую поверхность.
Таблица 3.
Данные об удельной поверхности сорбентов (по адсорбции воздуха)
|
тип |
Сорбент |
Магнитная жидкость |
S>уд>, м2/г |
|
|
Дисперсионная среда |
стабилизатор |
|||
|
Активированные угли |
СКТ |
--- |
--- |
2388 |
|
У2 |
--- |
--- |
1055 |
|
|
гидроксоапатиты |
2 |
--- |
--- |
36 |
|
3 |
--- |
--- |
255 |
|
|
магнетит |
--- |
--- |
--- |
80 |
|
Магнитные сорбенты |
СКТ |
водная |
Олеат ТЭА |
1224 |
|
СКТ |
декан |
Олеиновая кислота |
216 |
|
|
У2 |
водная |
Олеат ТЭА |
896 |
|
|
У2 |
декан |
Олеиновая кислота |
500 |
|
|
Ю1 |
водная |
HNO>3> |
2067 |
|
|
Я1 |
водная |
HClO>4> |
2129 |
|
|
2 |
водная |
Олеат ТЭА |
65 |
|
|
3 |
декан |
Олеиновая кислота |
87 |
Однако, данные об удельной поверхности нескольких образцов, полученные по адсорбции азота, сильно расходятся с вышеописанными. Так, S>уд>(СКТ) = 563,76м2/г, S>уд>(СКТ + МЖ (водн., олеат ТЭА)) = 489,32 м2/г.
Это расхождение можно объяснить тем, что при адсорбции воздуха большой вклад внесла адсорбция кислорода, которая методикой 2.3.4 не учитывается. В связи с этим, полученные данные о величине удельной поверхности по адсорбции воздуха оказались сомнительными.
На рис.20 представлено распределение объема пор по значению эффективных радиусов. Площадь под кривой равна общему объему пор.

Рис. 20. Дифференциальная структурная кривая
● – активированный уголь (СКТ), ■ – активированный уголь (СКТ), пропитанный МЖ (водн., олеат ТЭА)
Намагниченность.
Данным методом анализа исследовались образцы различных МЖ (дисперсионная среда, стабилизатор, возраст) и магнитные сорбенты.
Из данных о намагниченности насыщения была установлена линейная зависимость намагниченности насыщения от концентрации магнитного материала, т.е. чем больше массовая доля магнитного компонента в образце, тем выше намагниченность насыщения. Намагниченность насыщения сорбентов, полученных пропиткой сорбента магнитной жидкостью, оказалась выше, чем сорбентов, полученных механическим смешением с магнетитом. Увеличение концентрации магнитного материала (а, следовательно, и намагниченности насыщения) при прочих одинаковых условиях у пропитанных жидкостью образцов по сравнению с полученными механическим смешением с магнетитом можно объяснить тем, что за счет капиллярных сил жидкость, несущая магнитный материал, увлекается в объем сорбента.
Анализируя рис.21 можно подтвердить данные количественного анализа о том, что присутствие сорбента несколько замедляет переход Fe>3>O>4> в γ-Fe>2>O>3>, обладающий меньшими магнитными свойствами.
|
Намагниченность, эмю/г>(образца)> |
|
|
Напряженность магнитного поля, эрстеды |
Р
---- а
---- б
ис.20. Кривая намагниченности насыщения а) магнетит, б) магнитный сорбентТаблица 4.
|
№ |
образец |
w(Ме) |
намагниченность μ>s>(σ) эксперим. |
Намагниченность насыщения μ>s>> >( экстрап. на ось у) |
|
1 |
магнетит |
71 |
42,1 |
44,5 |
|
2 |
Уголь + МЖ (водн., олеат ТЭА) |
25 |
44,3 |
45,6 |
|
3 |
Уголь + магнетит |
21 |
30,69 |
32,0 |
|
4 |
Уголь + магнетит |
23 |
32,89 |
34,1 |
|
5 |
Уголь + магнетит (прокаленный при 500ºС 1 час) |
23 |
6,2 |
6,3 |
|
6 |
МЖ на основе Со |
18 |
76,99 |
77,4 |
|
7 |
МЖ (водн., олеат ТЭА) |
1,62 |
3,308 |
3,38 |
|
8 |
МЖ (водн., олеат ТЭА), 7 лет |
3,5 |
5,421 |
5,56 |
|
9 |
МЖ (декан, олеиновая кислота) |
13,4 |
29,78 |
30,16 |
|
10 |
МЖ (декан, олеиновая кислота), 2 года |
12,2 |
23,55 |
23,78 |
Небольшое значение намагниченности насыщения у 5го образца (рис.22) обусловливается тем, что при прокаливании магнитный γ-Fe>2>O>3> переходит в немагнитный α-Fe>2>O>3>. Реализацию этого перехода подтверждает так же рентгенофазовый анализ. На кривой этого же образца можно наблюдать слабо выраженную петлю гистерезиса, что говорит о неоднородности материала.
|
Намагниченность, эмю/г>(образца)> |
|
|
Напряженность магнитного поля, эрстеды |
Рис.22. Кривая намагниченности насыщения образца №5.
Кривая намагниченности насыщения 6го образца отличается от остальных резкостью (рис.23). Этот факт говорит о мономерности частиц.
|
Намагниченность, эмю/г>(образца)> |
|
|
Напряженность магнитного поля, эрстеды |
Рис.23. Кривая намагниченности насыщения образца №6.
Дериватографическое исследование.
Дериватографическому исследованию подвергались активированный уголь, активированный уголь смешанный с магнетитом и активированный уголь пропитанный магнитной жидкостью (водн., олеат ТЭА).
Термическое разложение образцов начинается при температуре около 100ºС и заканчивается при температуре 600ºС. Основная потеря массы образцов происходит в интервале 300-500ºС, где наблюдается сильный экзоэффект с максимумом вблизи 400ºС. Данный экзоэффект может соответствовать возгоранию угля. Кроме того, в этом же интервале температур расположен и экзоэффект, соответствующий разложению олеиновой кислоты (325-330ºС), и процессу перехода γ-Fe>2>O>3> в α-Fe>2>O>3> (460-510ºС). В связи с этим мы не наблюдаем на рисунках 24-26 острого пика, а видим лишь результат наложения нескольких пиков. Кроме этого экзоэффекта мы наблюдаем еще один слабый эндоэффект около 120-150ºС на рисунках 25 и 26. Этот эффект, сопровождающийся небольшой потерей массы может быть связан с потерей сорбированной воды.
Выводы.
Предложен новый метод получения магнитных сорбентов, основанный на использовании полученных в ходе выполнения настоящей работы магнитных жидкостей (с магнитными оксидами железа в качестве дисперсионной фазы). Применение магнитных жидкостей позволяет варьировать свойства данных сорбентов в широких пределах.
Методом электронно-микроскопического исследования показано, что разработанный способ получения магнитных сорбентов обеспечивает равномерное распределение частиц магнитного материала по поверхности сорбента, что свидетельствует о преимуществе предложенного способа перед используемыми ранее.
Изучение изотерм адсорбции позволяет сделать предположение о капиллярном механизме взаимодействия сорбента и магнитной жидкости.
Измерения удельной поверхности по адсорбции азота показали, что при пропитке сорбента магнитной жидкостью он приобретает ценные магнитные свойства без существенного изменения удельной поверхности.
Литература.
Павел Иванов, Радий Махлин, Николай Мошечков, Костный мозг очищают сепараторы // http://science.ng.ru/high/2000-09-20/4_brain.html (17.03.04)/
В. А. Румянцев, А.Б. Левченко, Нефтяные разливы в Балтийском море или почему авария танкера “TERN” в 2001 году привела к тем же печальным результатам, что и авария танкера “АНТОНИО ГРАМШИ” в 1987 году // http://www.limno.org.ru/win/eco.htm (17.03.04)/
А.П.Красавин, Н.М.Веснин. - Проблемы борьбы с аварийными нефтяными разливами нефти. - Топливно-энергетический комплекс. № 3, 2000, с. 102-103.
В.А. Никашина, И.Б. Серова, Б.А. Руденко. Ферритизированный магнитоактивный ионообменник для извлечения тяжелых металлов и радионуклидов из объектов окружающей среды // http://sciteclibrary.ru/rus/catalog/pages/1561.html (26.04.01)/ Патент РФ №2081846.
А.М. Тузова, В.В. Фадеев, Л.Д. Раснецов, Б.Е. Раснецова. Магнитоактивные сорбенты на основе природных и синтетических цеолитов // http://sciteclibrary.ru/rus/catalog/pages/1559.html (26.04.01)/ . Патент-РФ № 2061540; заявка, положительное решение 5038283/26(007478).
Подойницын Сергей Николаевич Разработка метода детоксикации организма путём гемосорбции с использованием магнитных сорбентов // http://www.tech-db.ru/istc/db/projects.nsf/webr/2614 (21.09.03)/
Macášek F. Bartoš P. A Magnetic Sorbent for Radiocesium and Radiostrontium Removal from Clay and Soil Suspensions / Journal of Radioanalytical and Nuclear Chemistry 246 (3) p.565-569 December 2000
Мечковский С. А., Лесникович А.И., Воробьева С.А., Заневская Ю.В., Козыревская А.Л., Молоток Е.В. Высокодисперсные магнитоизвлекаемые сорбенты // Вестн. Белорус. Гос. Ун-та. Сер.2 1998 №3 с. 13-16, 79
Комаров В. С., Репина Н. С., Степанова Е. А. // Весцi. АН Беларусi. Сер. хiм. навук. 1996. N1. С26-28.
Комаров В. С., Репина Н. С., Бондаренко С. Н. // Весцi. АН Беларусi. Cep. хiм. навук. 1996 . N2. С25.-29.
Овчаренко Ф. Д., Чубарь Г. В., Высоцкая В. Н., Хомченко Ю. И. //Докл. АН СССР. 1976. Т.229, N1,2,3. С.199.
Чубарь Т. В., Овчареню Ф. Д., Высоцкая В. Я. // Коллоид, журн. 1979.T.4,N 1. С.196-199.
Чубарь Т. В., Хворое М. М., Высоцкая В. Н. // Коллоид. журн. 1978. Т.40, N3. С.586-589.
Пастушенко О. Н., ШкловашяН. И. //Журн. физ. химик 1993. Т.67, N 10. С.2073-2077.
Способ получения магнитного сорбента: А.с. 1808370 СССР: МКИВ 01 J 20/20, . С 01 В 31/08.
Вольфарт Э. Магнитно-твердые материалы, М.; Л.: Госэнергоиздат, 1963. 232с.
Кондорский Е. И. // Докл. АН СССР. 1951. Т. 80, N 2. С.197-200.
Комаров В.С., Репина Н.С., Скурко О.Ф.//Весцi Ан БССР. Сер. хiм. навук. 1991. №2. С. 3-7
Чубарь Т. В., Хворое М. М., Овчаренко Ф. Д., Химченко Ю.И. // Коллоид, журн. 1981. Т.43. N 3. С.535-539.
В.С. Комаров, Адсорбенты. Вопросы теории, синтеза и структуры, Мн., «Беларуская навука», 1997
Комаров В.С., Романчик Е.Е., Репина Н.С., Скурко О.Ф.//Весцi Ан БССР. Сер. хiм. навук. 1993. №2. С. 12-18
Комаров В.С., Репина Н.С., Романчик Е.Е., Скурко О.Ф.//Весцi Ан БССР. Сер. хiм. навук. 1993. №4. С. 8-11
Комаров В.С., Репина Н.С., Скурко О.Ф.//Весцi Ан БССР. Сер. хiм. навук. 1995. №4. С. 23-28
Матусевич Н.П. Разработка методик получения магнитных жидкостей целевого назначения.// дисс. АН БССР. Мн, 1988
Ребиндер П.А. Современные проблемы коллоидной химии // Коллоидный журнал, 1958. - Т.ХХ, 4. - С.527-529.
Воюцкий С.С. Курс коллоидной химии. - М.: Химия, 1975. -512 с.
Overbuk J. Recent Developments in the Understanding of Sta-bulity // J.Coll. and Interf. Science. -1977. Vol.58, 2.-P.4o8-422.
Бибик E.E., Лавров И.Г. Об устойчивости дисперсии ферромагнетиков // Коллоидный журнал, 1965. - Т.ХХУII. - I 5, - С.652-655.
Фролов Ю.Г. Коллоидная химия. - М.: Химия, I982,
Napper D. Steric Stabilization // J.Colloid and Interf. Science.-1977.-Vol.8, 2.-P.390-407.
Stefan Odenbach “ Magnetoviscous Effects in Ferrofluids”/ Max Planck Institut for kohlenforschung; Mulheim a.d. Ruhr; Sprinder, 2002
Berkovsky, B. M., Medvedev, V. F. and Krakov, M. S. (1993) Magnetic Fluids, Engineering Applications. Oxford University Press, Oxford, New York, Tokyo
Berkovsky, B. M. and Bashtovoy, V. (1996) Magnetic fluids and applications handbook, begell house, inc.. New York, Wallingford (UK)
Зонтаг Г., Штренге К, Коагуляция и устойчивость дисперсных систем / Пер. с нем., под ред. О.Г.Усьярова. - Л., Химия, 1973. - 152 с.
Бибик Е.Е., Бузунов О.В., Гермашев В. Г. Исследование устойчивости коллоидных растворов ферромагнетиков в неполярных жидкостях по дифракции света на пермаллоевых пленках // Коллоидный журнал. 1976. - Т.ХХХУIII, №5. - С.966-969.
Sholten P.S. Colloid Cemistry of Magnetic Fluids // In:Thermomechanics of magnetic fluid, B.Berkovsky Ed Washington D.C., Hemiephere.-1977-P.1-2.
Парфит Г. Адсорбция из растворов на поверхностях твердых тел / Под ред.Рочестера К. - M.
Мителл К. Мицеллообразованне, солюбилиэация и микроэмульсии. - М.: Мир, 1980.
Михайлов Н.В., Ребиндер П. А. О структурно-механических свойствах дисперсных и высокомолекулярных систем // Коллоидный журнал, 1955. - Т.17. - С.107
Лунина Н.А. и др. Коллоидно-химические основы получения устойчивых золей ферромагнетиков в различных средах // Гидродинамика и теплофиэика магнитных жидкостей: Всесоюзный симпозиум (Юрмала, 30 сентября - 2 октября 1980), тез.докл. -Саласпилс: 1980. - C.I3-20.
Кроит Г.Р. Наука о коллоидах / Под ред. В. П.Мишина - М.: Из-датинлит, 1955. - 538 с,
Caslmir H.B.G., Polder D. The Influence of Retardation on the London-Van der Waals Forces // Physical Review, 1948 Vol.73,N4.-P.360-372.
Pat.3215572, Int.kl. H01F/1/10 Low Viscosity Magnetic Fluid Obtalneddb - the colloidal Suspension of Magnetic Particles / US. Papell /USA/.
Pat.3700595, Int.kl. H01F 1/10 Ferrofluid Composition / Kaiser R./USA/.
Проспект фирмы."Ferrofluids Corporation". 144 Middlesex Turnpuke, Burlington, Masaachuset, 01803, 1972.
Проспект фирмы "ВАКО КОЕКИ" МАРПОМАГНА - магнитная текучая среда. 1977.
Moskowitz R. Ferrofluids Liquid Magnetics // JEEE, Spektrum. 1975-12/3-P.53-57.
Пат. 3784471 США Int.kl. C10M 3/02, Solid Addatives Dispersed in Perfluorinated Liquids with Perfluoalkil Ether Dispersants / R. Kaiser /USA/.
Пат. 77-95095 Япония. Magnetik Fluids / A. Taketoni. Japan/.
Kaiser R., Miskolczy G/ Magnetic Properties of stable Dispersions of sub>domain Magnetic Particles // J. of Appl. Phisics- 1970-Vol.40, 3-P. 1064-1072.
Пат. 4604222 США. Int.kl. H01F ½, Stable ferrofluid composition and its use / L.Bordu, K.Raj /USA/.
Пат. 3764540 США. Int.kl. H01F 1/28. Magnetofluids and theer Manufacture / S.E.Khalafalla, G.W.Reimers /USA/.
Khalafalla S.E. Magnetic flalds / Chem. Technol.-1975-Vol.5, Nº19-P.540-546.
Пат. 3843540 США. int.kl. H01F 1/28, Production of Magnetic Fluids by Peptissation Techniques / G.W. Reimers, B. and S.E. Khalafalla /USA/.
Натансон Э.М. и др. Образование на катоде высокодисперсного кобальта // Порошковая металлургия. - 1969. - № 6. - С.18-23.
Матусевич Н.П., Орлов Л.П., Самойлов В.Б., Фертман В.Е. препринт №12/ИТМО АН БССР, 1985г «Получение и свойства магнитных жидкостей».
А. с. СССР № 988047 «Магнитная жидкость на воде» - Матусевич Н.П., Пахубо В.К., Самойлов В.Б. (СССР)
Пат. 8673305 Япония. МКИ H01F 1/28, Magnetic fluid / Wakajama Katsuhiko, Harada Hiroshi /Japan/.
Бибик Е.E. Приготовление феррожидкости // Коллоидный журнал.-1973. - Т.36. № 6. - C.1141-1142.
А. с. 457666 СССР, МКИ C01G 49/08. Способ получения феррожидкости / Е.Е.Бибик, И.С.Лавров.
Пат. 4430239 США, МКИ HOIF 10/10. Ferrofluids composition / J.E.Wyman /USA/.
Lefebure, S., Dubois, E., Cabuil, V., Neveu, S. and Massart, R (1998) Monodisperse magnetic nanoparticles: Preperation and dispersion in water and oils. Journal of Materials Research, 13, 10 p. 2975
Kekalo Katsiaryna Aleksandrovna, Goroshko Nikolaj Nikolaevich "Development of method of preparation of stable and cheap magnetic fluids" proc. ECIS 2002 (XVIth Conference of the European Colloid and Interface Society), 22- 27 Sept. 2002, Paris, p. 202.
Wagener, M., Gunther, B. and Blums, E. (1999) Preparation of oxidation resistant cobalt oil colloids. J. Magn. and Magn. Mat., 201, p. 18
А. с. 516861 СССР, Ферромагнитная жидкость для магнитожидкостных уплотнений /Д.В.Орлов, В.Г.Курбатов, В.А.Силаев, А.В.Сизов.
Пат. 3228881 США, Dispersions of Discrete Particles of Ferromagnetic Metals / J.R.Thomas /USA/.
Пат. 3228882 США, -| Dispersions of Ferromagnetic Cobalt Particles / O.L.Harle, B. and J.Thomas /USA/.
Пат. 3281344. США. Colloidal suspension of Ferromagnetic Iron Particles / J.R.Thomas /USA/.
R. Brinkmann, H. Bönnemann, W. Brijoux, N. Matoussevitch, B. Günther, V. Kempter Stabilization of magnetic Co(0) particles (10 nm) by “Smooth Air Oxidation” proc. ECIS 2002 (XVIth Conference of the European Colloid and Interface Society), 22- 27 Sept. 2002, Paris
H. Bönnemann, W. Brijoux, R. Brinkmann, N. Matoussevitch, N. Waldöfner, N. Palina, H. Modrow A size-selective Synthesis of air stable colloidal Magnetic Cobalt Nanoparticles proc. ECIS 2002 (XVIth Conference of the European Colloid and Interface Society), 22- 27 Sept. 2002, Paris
Лунина М.А., Новожилов Ю.А. Электрический конденсационньй способ получения органозолей металлов // Коллоидный журнал. -1969. - Т.З1, NºЗ,- С.467-470.
Мозговой Е.Н., Блум Э.Я. Магнитные свойства мелкодисперсных ферросуспензий, синтезируемых электроконденсационным способом // Магнитная гидродинамика. - I971. - Т. 18, Nº44. -С.18-23.
Каган И.Я., Рыков В.Г., Янтовский Е.И. Магнитная гидоодина-мика. - 1970. - Т.17. № 2. - С.155.
Федоненко А. И. Температурная зависимость вязкости электропроводной магнитной жидкости. - В кн. Ш Всесоюзн.совещ. по физике МЖ. Тез.докл. - Ставрополь. - 1986. - С. 108-109.
Shepherd P.J., J.Phys.D.Appl.Pys.-1970-Vol.3, Nº12-P.1925.
Shepherd P.J., Popplewell J., Charles S.W,, J.Phys.D.Appl.Phys. 1972-Vol.5, Nº 12-P. 2273.
Пат. 3130044 США, Magnetic Mercury / Emerson S.T. /USA/.
Пат. 3531413 CША, МКИ H01F 1/28. Method of sub>stituting One Ferrofluid Solvent for Another / Rosenszweig R.E. /USA/.
Пат. 3917538 США. МКИ H01F 1/28 Ferrofluid Composition and Process of Mahing Same / Rosenazweig R.E. /USA/.
Пат. 4430239 США, ISM H01F 10/10, Ferrofluid composition / Wyman J.E. /USA/.
Касперович Т.И. «Изучение процесса формирования пленок оксидов железа из коллоидных систем с водной дисперсионной средой»/ дипл., БГУ, Минск, 1988г.
Бурш В.В. «Изучение процесса формирования пленок оксида железа из коллоидных систем с неводной дисперсионной средой»/дипл., БГУ, Минск, 1988г.
С. Грег, К. Синг. Адсорбция. Удельная поверхность. Пористость. Пер. с англ. А.П. Карнаухова, М., Мир, 1984г.
А.Л. Клячко-Гуревич. Упрощенный метод определения поверхности по адсорбции воздуха. Изв. Акад. Наук, 1961, №10, с.1884-1886.
Магнитный собиратель-адсорбент для удаления нефтяных разливов с поверхности воды и с твердых поверхностей «Нефтеклин» // SciTecLibrary.ru http://sciteclibrary.ru/rus/catalog/pages/5777.html. 06.08.2003г.//
Резюме
Данная работа посвящена изучению возможности применения магнитных жидкостей для синтеза магнитных сорбентов.
В настоящей работе представлены новые методы получения магнитных сорбентов, основанные на использовании различных магнитных жидкостей. Использование именно жидкого материала для пропитки сорбента (и придания ему тем самым магнитных свойств) выгодно отличает предложенный нами способ от описанных в литературе. Применение различных магнитных жидкостей (в отличие от магнетита определенного состава) позволяет в широких пределах варьировать свойства получаемого сорбента.
Исследования показали, что при намагничивании сорбента при помощи магнитных жидкостей его удельная поверхность уменьшается незначительно. Таким образом, сорбент приобретает ценные магнитные свойства не утрачивая своих индивидуальных свойств.
Данная работа прысвечана вывучэнню магчымасцi выкарыстання магнiтных вадкасцей для сiнтэзу магнiтных сарбентаỹ.
Ỹ рабоце прадстаỹлены новыя метады атрымання магнiтных сарбентаỹ, заснаваныя на выкарыстаннi розных магнiтных вадкасцей. Выкарыстанне менавiта вадкага матэрыялу для прапiткi сарбента (i дадання тым самым магнiтных уласцiвасцей) выгадна адрознiвае прапанаваный намi спосаб ад апiсанных у лiтаратуры. Выкарыстанне розных магнiтных вадкасцей (у адрозненне ад магнетыту пэỹнага складу) дазваляе ỹ шырокiх межах вар’iраваць уласцiвасцi атрыманага сарбента.
Даследваннi паказалi, што пры намагнiчваннi сарбента пры дапамозе магнiтных вадкасцей яго удзельная паверхнасць змяньшаецца нязначна. Такiм чынам, сарбент атрымоỹвае карысныя магнтныя ỹласцiвасцi i не губляе сваiх асабiстых ỹласцiвасцей.
This work devotes to study the possibility of use the ferrofluids for magnetic sorbents syntheses.
In the present work new methods of reception of the magnetic sorbents, based on use of various magnetic liquids are sub>mitted Use of a liquid material for impregnation of a sorbent (and giving to it thus magnetic properties) favourably distinguishes the way offered by us from described in the literature. Application of various magnetic liquids (as against magnetite the certain structure) allows to vary properties of a received sorbent over a wide range.
Researches have shown, that at magnetization of a sorbent by means of magnetic liquids its specific surface decreases a little bit. Thus, the sorbent gets valuable magnetic properties not losing the individual properties.
.
Приложение
60%
0 %
80%
40%
20%%
800º
600º
400º
200º
0º
ДТА
ТГ
Рис.24 Результат термического анализа активированного угля
П отери массы, % Температура, ºС
ТГ
800º
600º800
200º
400º
40%
20%
0%
0º
ДТА
Рис.25 Результат термического анализа активированного угля с магнетитом
П отери массы, % Температура, ºС
400º
800º
ТГ
200º
0%
600º
0º
20%
40%
60%
ДТА
Рис.26 Результат термического анализа активированного угля, пропитанного МЖ (водн, олеат ТЭА)
П отери массы, % Температура, ºС





