Вторичная переработка зольной пыли для получения портландцемента
ВВЕДЕНИЕ
Процесс газификации угля включает высокотемпературные реакции угля с кислородсодержащим газом и водяным паром, в результате чего образуется газ, состоящий в основном из СО и Н>2>, который может быть использован в качестве топлива. Побочным продуктом газификации является зольный шлак, который необходимо удалять из системы. Проблема удаления связана с тем, что шлак имеет ограниченное применение в качестве строительного материала, а количества образующегося шлака очень велики. В зависимости от типа и происхождения угля количество зольного шлака может составлять 5— 50 %. Такие концентрации шлака становятся значительными для установок газификации производительностью =±45 т/ч.
Глава 1. ПОРТЛАНД-ЦЕМЕНТ
Портландцемент — гидравлическое вяжущее, получаемое тонким измельчением портландцементного клинкера и небольшого количества гипса (1,5...3 %). Клинкер получают обжигом до спекания сырьевой смеси, обеспечивающей в портландцементе преобладание силикатов кальция. К клинкеру для замедления схватывания цемента добавляют гипс. Для улучшения некоторых свойств и снижения стоимости портландцемента допускается введение минеральных добавок.
Кроме портландцемента на основе портландцементного клинкера выпускают много других видов цементов.
Производство. Основные операции при получении портландцемента: приготовление сырьевой смеси, обжиг ее до получения цементного клинкера и помол клинкера совместно с добавками.
Соотношение компонентов сырьевой смеси выбирают с таким расчетом, чтобы полученный при обжиге клинкер имел следующий химический состав (%): СаО — 62...68, SiO>2> — 18..26, А1>2>О>3> — 4...9, Fe>2>O>3> — 2...6. В природе есть горная порода, обеспечивающая получение клинкера такого состава,— мергель, который представляет собой тесную смесь известняка с глиной. Но чаще используют известняк и глину (добываемые отдельно) в соотношении 3 : 1 (по массе). Кроме основных компонентов в сырьевую смесь вводят корректирующие добавки и промышленные отходы, обеспечивающие требуемый состав клинкера.
Тщательно подготовленную сырьевую смесь подают на обжиг во вращающуюся печь, которая представляет собой стальную трубу диаметром до 7 м и длиной до 185 м. Изнутри труба выложена огнеупорным кирпичом. Печь установлена под небольшим (3...4о) углом к горизонту и вращается (0,8... 1,3 мин-1), благодаря чему сырьевая смесь перемещается в ней от верхнего конца к нижнему, куда подается топливо. Максимальная температура обжига 1450°С. При таких высоких температурах оксид кальция СаО, образовавшийся в результате разложения известняка, взаимодействует с кислотными оксидами SiO>2>, А1>2>О>3> и Fe>2>O>3>, образующимися при разложении глины. Продукты взаимодействия, частично плавясь и спекаясь друг с другом, образуют так называемый портландцементный клинкер — плотные твердые куски серого цвета. В состав портландцементного клинкера входят четыре основных минерала и небольшое количество стеклообразного вещества.
Как видно из таблицы, портландцементный клинкер в основном (на 60...80%) состоит из силикатов кальция, из-за чего портландцемент также называют силикатным цементом.
Для получения портландцемента клинкер размалывают в трубных или шаровых мельницах с гипсом и другими добавками. Свойства портландцемента зависят от его минерального состава и тонкости помола клинкера.
При взаимодействии с влагой воздуха активность портландцемента падает, поэтому его предохраняют от действия влаги. Портландцемент хранят в силосах (высоких цилиндрических емкостях из бетона или металла). На строительство его доставляют в специальных вагонах, автомобилях-цементовозах или упакованным в многослойные бумажные или полиэтиленовые мешки.
Твердение. При
смешивании с водой частицы
портландцемента
начинают
растворяться, причем одновременно может
происходить гидролиз
(разложение водой) и гидратация
(присоединение воды) продуктов
растворения с образованием гидратных
соединений.
По этой схеме (гидролиз и гидратация) взаимодействуют с водой главные компоненты клинкера алит C>3>S и белит C>2>S:
2(ЗСаО • SiO>2>) + 6Н>2>О → ЗСаО • SiO>2> • ЗН>2>О + ЗСа(ОН)>2 >
2(2СаО• SiO>2>) + 4Н>2>О→ ЗСаО • SiO>2> • ЗН>2>О + Са(ОН)>2>
Необходимо подчеркнуть особенности этих реакций:
•C>3>S взаимодействует с водой намного активнее, чем C>2>S;
•при взаимодействии силикатов
кальция с водой выделяется
растворимый
в воде компонент Са(ОН)>2>
— воздушная известь,
создающая
щелочную реакцию в твердеющем цементе;
•C>3>S выделяет Са(ОН)>2> в 3 раза больше, чем C>2>S; общее количество Са(ОН)>2> достигает 15 % от массы цементного камня.
Алюминат кальция С>3>А подвергается только гидратации, причем этот процесс идет очень быстро с образованием крупных кристаллов
ЗСаО • А1>2>О>3> + 6Н>2>О → ЗСаО • А1>2>О>3> • 6Н>2>О
Добавка гипса, вводимая при помоле клинкера, изменяет характер начального периода твердения С>3>А и замедляет схватывание цемента на несколько часов из-за образования эттрингита ЗСаО • А1>2>О>3> • 3CaSO>4> • (31 - 33)Н>2>О.
Четырехкальциевый алюмоферрит C>4>AF взаимодействует с водой медленнее, чем С>3>А, образуя гидроалюминат и гидроферрит кальция.
Основной продукт твердения портландцемента — гидросиликаты кальция — практически нерастворимы в воде. Они выпадают из раствора сначала в виде геля (жесткого студня). Этот гель пронизывают, укрепляя его, кристаллы Са(ОН)>2>. Гель гидросиликатов кальция со временем кристаллизуется. Остальные продукты взаимодействия клинкера с водой также участвуют в формировании структуры цементного камня и, естественно, влияют на его свойства.
Процесс гидратации зерен портландцемента из-за малой их растворимости растягивается на длительное время (месяцы и годы). Чтобы этот процесс мог протекать, необходимо постоянное присутствие воды в твердеющем материале. Однако нарастание прочности со временем замедляется. Поэтому качество цемента принято оценивать по прочности, набираемой им в первые 28 суток твердения.
Технические характеристики портландцемента. К основным характеристикам портландцемента относятся истинная и насыпная плотность, тонкость помола, сроки схватывания, равномерность изменения объема при твердении и прочность затвердевшего цементного камня.
Плотность портландцемента в зависимости от вида и количества добавок составляет 2900...3200 кг/м3, насыпная плотность в рыхлом состоянии 1000... 1100 кг/м3, в уплотненном — до 1700 кг/м3.
Тонкость помола характеризуется количеством цемента, проходящим через сито с сеткой № 008 (размер отверстий 0,08 мм) и его удельной поверхностью. Согласно ГОСТу через сито с сеткой № 008 должно проходить не менее 95 % цемента, при этом удельная поверхность у обычного портландцемента должна быть в пределах 2900...3000 см2/г и у быстротвердеющего портландцемента 3500...5000 см2/г.
Сроки схватывания портландцемента, рассчитываемые от момента затворения, должны быть: начало — не ранее 45 мин; конец — не позднее 10 ч. Эти показатели определяют при температуре 20°С. Если цемент затворяют горячей водой (более 40°С), может произойти очень быстрое схватывание.
Прочность портландцемента характеризуется его маркой. Марку портландцемента определяют по пределу прочности при сжатии и изгибе образцов-балочек 40х40х160 мм, изготовленных из цементно-песчаного раствора (состава 1 : 3) стандартной консистенции и твердевших 28 суток (первые сутки в формах на влажном воздухе и 27 сут. в воде при 20°С).
Промышленность выпускает портландцемент четырех марок: 400; 500; 550 и 600 (цифра соответствует округленной в сторону уменьшения средней прочности образцов при сжатии выраженной в кгс/см2).
Тепловыделение при твердении. Твердение портландцемента сопровождается выделением большого количества теплоты. Так как эта теплота выделяется в течение длительного времени (дни, недели), заметного разогрева цементного бетона или раствора не происходит. Однако если объем бетона велик (например, при бетонировании плотин, массивных фундаментов), то потери теплоты в окружающее пространство будут незначительны по сравнению с общим количеством выделяющейся теплоты и возможен разогрев бетона до температуры 70...80° С, что приведет к его растрескиванию.
Равномерность изменения объема. При твердении цементное тесто уменьшается в объеме. Усадка на воздухе составляет около 0,5... 1 мм/м. При твердении в воде цемент немного набухает (до 0,5 мм/м). Однако изменение объема при твердении должно быть равномерным. Это свойство проверяют на лепешках из цементного теста, которые не должны растрескиваться после пропаривания в течение 3 ч (до пропаривания лепешки 24 ч твердеют на воздухе). Неравномерность изменения объема возникает из-за присутствия в цементе свободных СаО и MgO, находящихся в виде пережога.
Глава 2. ПОЛУЧЕНИЕ ПОРТЛАНД-ЦЕМЕНТА ИЗ ЗОЛЬНОГО ШЛАКА
Процесс газификации угля включает высокотемпературные реакции угля с кислородсодержащим газом и водяным паром, в результате чего образуется газ, состоящий в основном из СО и Н>2>, который может быть использован в качестве топлива. Побочным продуктом газификации является зольный шлак, который необходимо удалять из системы. Проблема удаления связана с тем, что шлак имеет ограниченное применение в качестве строительного материала, а количества образующегося шлака очень велики. В зависимости от типа и происхождения угля количество зольного шлака может составлять 5— 50 %. Такие концентрации шлака становятся значительными для установок газификации производительностью =±45 т/ч.
Ранее шлак главным образом сбрасывался в отвалы и не находил никакого полезного применения. Однако необходимость использования больших количеств шлака является очевидной. Процесс, разработанный Ф. Ф. Фондристом предназначен для производства портланд-цемента из зольного шлака процесса газификации угля. Он предусматривает перенос расплавленного шлака из установки для газификации в реактор, в котором происходит взаимодействие с минералом, содержащим известь, например оксидом, гидроксидом или карбонатом кальция; в результате образуется гомогенная цементная масса. Последнюю охлаждают в специальной камере, где она затвердевает с образованием клинкера, который затем превращают в порошкообразный цемент.

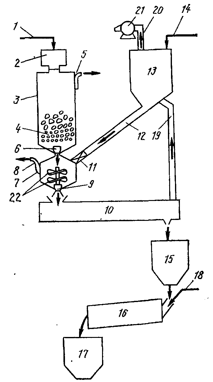
Этот процесс производства портландцемента обладает низкой энергоемкостью и обеспечивает эффективную и экономичную переработку отходов процесса газификации угля, что повышает экономичность этого процесса. Процесс производства представлен на рис. 129; уголь подается в реактор газификации 3 через питатель /. На установках для получения синтез-газа обычно производят сжигание или пиролиз некоксующихся жирных и бурых углей. Причина этого состоит в том, что коксующиеся угли, например такие, которые используются в качестве восстановителя при производстве железа, дорого стоят, обладают низкой летучестью, а запасы их ограничены. Как правило для газификации используют угли такого же качества как для производства водяного пара и электроэнергии на тепловых электростанциях.
Уголь, подаваемый на газификацию, сначала очищают и промывают для того, чтобы снизить содержание золы, уменьшить коксуемость и удалить загрязнения и примеси, такие например как пирит. Подготовленный уголь, подаваемый питателем 1, накапливается в закрывающемся загрузочном бункере 2, находящемся под давлением. По мере необходимости уголь подается в реактор 3, где происходит его сгорание или пиролиз под давлением и образуется синтез-газ. В ходе этого процесса тяжелые углеводороды, в которых атомное содержание С/Н равно 1 : 2 или выше, превращаются в метан, в котором соотношение С/Н равно 1 : 4.
Получаемый синтез-газ содержит водород, оксид углерода и диоксид углерода и процесс проводят таким образом, чтобы достичь соотношения Н>2>СО требуемого для данного конкретного синтеза. Газ, который выводится из реактора через вентиль 5, используется для производства аммиака, метанола, оксоспиртов и (или) синтетических углеводородов.
Зольный шлак 4 постепенно оседает в нижней части реактора 3, где находится устройство для вывода шлака 6. Последнее представляет собой вентиль специальной конструкции, позволяющий регулировать отвод жидкого шлака из реактора, находящегося под давлением. Отвод шлака позволяет обеспечить полное сгорание или пиролиз поступающего угля. Горячий расплавленный шлак, имеющий температуру =Л550—2000 °С, через вентиль 6 поступает в резервуар 7, где реагируете минералом, содержащим известь, например оксидом, гидроксидом или карбонатом кальция. В результате образуется гомогенная паста, температура которой составляет =1200-1550 °С.
Минерал, содержащий известь, перед подачей в резервуар 7 накапливается в загрузочном бункере 13, куда он поступает по линии 14. Там его подвергают подогреву горячим воздухом, выходящим из охлаждающей камеры 10 по линии 19. Горячий воздух проходит через материал, находящийся в бункере 13 и выходит по линии 20 со всасывающим насосом 21. Нагретый минерал, содержащий известь, под действием собственной массы поступает по питательной трубе 12 к золотнику //, который регулирует скорость подачи сырья таким образом, что крыльчатки 22, находящиеся в резервуаре 7, обеспечивают полное смешивание шлака и минерала, содержащего известь.
В ходе реакции происходит выделение углекислого газа, который удаляется из резервуара 7 по линии 8. Относительные количества шлака и минерала, содержащего известь, составляют 1 : l,2-4; предпочтительным является отношение 1 : 2,5. Перемешивание смеси продолжают до получения гомогенной пасты, которую через выпускное отверстие 9 выводят из резервуара в охлаждающую камеру 10.
В холодильной камере 10 происходит охлаждение и отверждение пасты с образованием клинкера, диаметр частиц которого может составлять 0,6—5 см; предпочтительным является диаметр частиц <2,5 см. Желательно, чтобы конструкция охлаждающей камеры 10 давала возможность транспортировать клинкер к месту хранения в процессе его охлаждения. Для этой цели можно использовать ленточный транспортер или вращающийся шнек, а для охлаждения применять воду или, что предпочтительнее, воздух. Охлаждающий воздух подают в камеру вместе с пастой. Нагретый воздух выходит из камеры по линии 19 и возвращается в загрузочный бункер 13, где используется для подогрева минерала, содержащего известь.
Клинкер из камеры 10 направляют на хранение в бункер 15. По мере необходимости клинкер смешивают с добавками, регулирующими схватываемость, например ангидридом или гипсом, другими соединениями, такими как оксид алюминия, сульфат алюминия, сульфаты калия и натрия, карбонат калия или бура. Эти соединения добавляются в достаточных количествах, чтобы обеспечить требуемые свойства цемента. Клинкер, добавки, регулирующие схватываемость, а также другие добавки измельчаются в порошок в мельнице 16. Порошкообразный цемент, который готов к применению, направляют на хранение в бункер 17.
Глава 3. СЫРЬЕ ДЛЯ ПРОИЗВОДСТВА ПОРТЛАНДЦЕМЕНТА НА ОСНОВЕ ВТОРИЧНОГО СЫРЬЯ
Направления использования шлаков
Несмотря на универсальность металлургических шлаков, определять области их применения можно и нужно исходя из природы шлаковых расплавов. Только тогда ценные свойства шлаков будут полностью использованы. Высококальциевые шлаки целесообразно направлять на грануляцию. На основе гранулированных шлаков можно получать различные виды высококачественных цементов.
Из нераспадающихся доменных шлаков, менее богатых окисью кальция, следует изготавливать шлаковую пемзу, литой щебень, литые изделия и шлаковую вату. Эти же изделия можно изготавливать из шлаков, склонных к силикатному распаду, но тогда потребуются дополнительные расходы на специальные технологические приемы, предотвращающие распад шлаков. Основные мартеновские резко охлажденные шлаки обладают повышенной химической активностью и, так же как доменные гранулированные, могут быть использованы в производстве цементов. Кислые шлаки пригодны также для производства шлаковой пемзы, литого щебня и шлаковой ваты.
Кислые сталеплавильные шлаки, благодаря содержанию большого количества закиси железа, окисей марганца, магния, кремнезема, отличаются от доменных шлаков способностью плавиться при более низких температурах. Закристаллизованные кислые шлаки, в частности ваграночные, обладают повышенной стойкостью в щелочных и кислых средах, а также при высоких температурах. Это позволяет применять их в качестве заполнителей в кислотостойких и жаростойких бетонах.
Гранулированные кислые шлаки мартеновского и ваграночного производства целесообразно использовать для получения шлакопортландцемента и других видов шлаковых цементов, применяемых в бетонных конструкциях, подверженных агрессивным воздействиям других агрессивных сред.
Основной потребитель шлаков - цементная промышленность, использующая ежегодно 20-23 млн. т. гранулированного продукта. Наличие скрытой тепловой энергии при неупорядоченной структуре стекла придает резко охлажденным шлакам высокую химическую активность, т.е. стремление при благоприятных условиях завершить начатое формирование структуры. Эта скрытая энергия стекловидных шлаков проявляется в его вяжущих свойствах. Молотый высококальциевый гранулированный (стекловидный) шлак при взаимодействии с водой способен твердеть, образуя прочный камень, подобно цементам. Процессы твердения могут протекать при 18-200С, но более интенсивно идут при повышенной температуре и в присутствии активизаторов - извести, гипса и т.п. Близость химического состава доменных гранулированных шлаков к химическому составу портландцемента и стекловидное состояние, придающее им дополнительную химическую активность, предопределили использование таких шлаков главным образом при производстве шлако-портландцемента в качестве добавки к клинкеру и при изготовлении бесклинкерных шлаковых цементов.
Технология изготовления
гранулированного шлака не сложна и
заключается в резком охлаждении жидкого
расплавленного шлака водой или холодным
воздухом. Подвергать грануляции можно
любые шлаки. Этот процесс шлакоемкий,
т.е. из 1 т шлакового расплава получается
2-2,5 кубометров гранулированных шлаков.
Целесообразнее всего резко охлаждать
шлаки, богатые окисью кальция (доменные,
мартеновские). Это предотвращает
силикатный распад, а стекловидная
структура с неупорядоченными химическими
элементами обладает вяжущими
свойствами.
Гранулированные шлаки,
являясь продуктами высокотемпературных
процессов, несут в себе огромный запас
тепловой и химической энергии, что
делает их высокореакционными веществами,
способными при небольшой дополнительной
переработке превращаться в высококачественные
цементы. Наиболее эффективным, дешевым
является шлаковый цемент. Производство
этого цемента несложно и не требует
специального оборудования. Технология
его изготовления сводится в основном
к подсушке гранулированного шлака,
дозированию составляющих и помолу их
в мельницах различного типа. Тонкость
помола должна быть выше чем у обычных
цементов (удельная поверхность 3000-5000
см2/г). Для активизации гранулированных
шлаков к ним добавляют обычную известь:
для цементов из основных доменных и
мартеновских шлаков в количестве 10%, из
кислых шлаков цветной металлургии,
ваграночного производства - 15-20%.
Другим важным направлением в использовании гранулированных шлаков является применение их в производстве шлакопортландцемента. Введение шлака в состав цемента в количестве 30-50% не снижает марочной прочности портландцемента. Более того, применяя активные стекловидные шлаки, заводы изготовляют быстротвердеющие шлакопортландцементы с повышенной прочностью - до 600 кг/см2.
Шлакопортландцементы находят самое широкое применение в строительной практике. Особо важную роль они играют в строительстве массивных гидротехнических сооружений. Дело в том, что при твердении цемент с добавкой шлаков выделяет в 1,5-2 раза меньше тепла, чем без добавки, что предопределяет повышенную трещиностойкость бетонных массивов. Изготавливают шлакопортланцементы путем совместного помола в шаровых трубных мельницах портландцементного клинкера и гранулированного шлака, количество которого зависит от марки шлакопортландцемента. Гранулированные шлаки используют также для производства шлакощелочных цементов, которые представляют собой гидравлические вяжущие вещества, получаемые путем тонкого помола гранулированного шлака совместно с малогигроскопичным щелочным компонентом или затворением молотого шлака растворами соединений щелочных металлов: натрия, лития или калия. Щелочные компоненты вводятся в количестве 5-15% от массы шлака в пересчете на сухое вещество, в виде соединений щелочных металлов, дающих в водных растворах щелочную реакцию. Шлакощелочные цементы имеют несколько разновидностей, в зависимости от состава их алюмосиликатной составляющей: бездобавочный цемент, цемент с добавками эффузивной или интрузивной горной породы, глинистых минералов, горелых пород, щелоче- и кремнийсодержащих веществ и др. Прочность таких цементов изменяется в пределах 60-180 МПа. Активность шлакощелочных цементов с добавками эффузивных пород колеблется в пределах 40-100 МПа и зависит от их состава. Добавки кислого состава (перлитов, липаритов) и среднего (андезиты) повышают активность, а добавки основных пород (базальты, диабазы) несколько снижают ее или оставляют в тех же пределах. Введение добавок позволяет заменить до 50% шлака. Они повышают морозостойкость до 1000 циклов и более, стойкость к воздействию различных коррозионных сред. Шлаковая пемза (термозит) представляет собой ячеистый материал, получаемый в результате вспучивания расплавленного шлака при быстром его охлаждении. Вспучивание шлака осуществляется на специальных машинах центробежным способом на каскадных лотках или в бассейнах. Из 1 т шлака можно получить 1,5-2 кубометра шлаковой пемзы. Для вспучивания могут быть использованы любые шлаки, но лучшие результаты дают кислые, богатые кремнеземом и глиноземом. Шлаки не должны проявлять склонность к распаду и содержать больше 1,5-2,5% серы. Показателями высокого качества шлаковой пемзы являются мелкие замкнутые поры, равномерно распределенные по всей массе, прочность ячеистой массы и низкая средняя плотность. Однако дробленая пемза имеет открытую пористую поверхность, что при изготовлении бетона увеличивает водопотребность массы и расход цемента. Это несколько снижает эффективность применения шлаковой пемзы по сравнению с керамзитом. Насыпная масса термозита составляет 300-1100 кг/м3 в зависимости от размеров кусков и степени вспучивания. Щебень из термозита является хорошим заполнителем для получения легких термозитобетонов. При заливке расплавленного шлака в специальные формы можно получать изделия различного профиля и конфигурации. Шлаковая вата и изделия из нее. Шлаковая вата самый легкий минеральный материал. Один кубический метр ее весит от 70 до 250 кг. Шлаковая вата обладает - биостойкость, температуростойкость (600-7000С), низкий коэффициент теплопроводности (0,038-0,055 вт/м*град), высокие звукоизоляционные свойства. При температуре 1200-14000С шлаковый расплав, вытекая через летку вагранки, раздувается струей пара в волокно и уносится в камеру осаждения, где падает на сетку транспортера. Однако шлаковую вату целесообразно использовать не "в сыром виде", а в виде изделий. Поэтому в камере осаждения через форсунку распыляют различные связки (битумные эмульсии, фенолформальдегидные смолы и др.). Благодаря этим связкам волокно в камере осаждения представляет собой уже пропитанный шлаковый ковер, который подвергается дальнейшей тепловой обработке. Пройдя эту обработку, ковер охлаждается, и разрезается на отдельные куски, направляемые в специальные формообразующие или прессующие машины, из которых выходят готовые шлаковые изделия. Из шлаковой ваты изготавливают войлок, жесткие маты, полужесткие и жесткие плиты, скорлупы, сегменты, рулонные гидроизоляционные материалы и многое другое. Изделия с повышенной жесткостью можно получать, применяя жидкое стекло, бентонитовую глину, трепел. Полужесткие изделия получают пропиткой ваты битумом высоких марок, фенольными и формальдегидными смолами. Шлаковатные изделия применяются для теплоизоляции горячих и холодных поверхностей, трубопроводов, для утепления стен и покрытий жилых и промышленных зданий; для звукоизоляции в зданиях с повышенным шумом. Сырьем для получения шлакоситалловых изделий являются кислые шлаки или любые другие шлаки, не склонные к силикатному распаду. В огненно жидкий шлак, поступающий с металлургического предприятия, вводят добавки, корректирующие его состав, и модификаторы - вещества, катализирующие кристаллизацию шлаков (обычно TiO2, CaF2 и P2O5). Модификаторы в тонкодисперсном состоянии ограниченно растворяются в массе стекла, и поэтому они служат центрами кристаллизации. Далее формуют изделия из расплава шлака с добавками. Важным элементом в формовании изделия является выбор правильного режима теплообработки. Шлакоситалловые изделия характеризуются высокими физико-техническими свойствами, они обладают высокой износоустойчивостью, прочностью, химической стойкостью, хорошо сопротивляются атмосферным воздействиям, не обладают токсичностью. Средняя плотность шлакоситаллов - 2500-2650 кг/м3, прочность на сжатие 500-600 МПа, а на изгиб - 90-120 МПа, рабочая температура - до 7500С, температура размягчения - до 9500С. Шлакоситаллы могут быть получены любого цвета, а по долговечности конкурировать с базальтами и гранитами. Сочетание физических и механических свойств шлакоситаллов обусловливает возможность их широкого использования в строительстве: для полов промышленных и гражданских зданий, декоративной и защитной облицовки наружных и внутренних стен, перегородок, цоколей, футеровки строительных конструкций, подверженных химической агрессии или абразивному износу, кровельных покрытий отапливаемых и неотапливаемых промышленных зданий, облицовки слоистых панелей навесных стен зданий повышенной этажности. Широкое применение в строительстве зданий и дорог находит также щебень из отвальных нераспадающихся шлаков. Получают такой щебень обычно прямо на шлаковых отвалах. Большие куски застывшего шлака разбивают до размеров 300-400 мм и в таком виде направляют на дробильно-сортировочную установку. Готовый щебень разных фракций (80-40; 40-20; 20-10; 10-5 мм) идет на строительные площадки или на заводы сборного железобетона.
Шлаки медной и никелевой плавок, которые мы будем рассматривать в первую очередь из шлаков цветной металлургии, как правило, по прочностным характеристикам, теплофизическим свойствам, коэффициенту износостойкости, кислотостойкости значительно превышают аналогичные показатели доменных шлаков. С использованием вяжущего из шлаков цветной металлургии при автоклавном твердении можно получать бетоны. По физико-химическим свойствам бетоны автоклавного твердения на вяжущих из гранулированных шлаков цветной металлургии мало чем отличаются от автоклавных бетонов на клинкерных цементах и могут быть применены при изготовлении бетонных и железобетонных изделий практически всей номенклатуры. Переработка шлаков цветной металлургии на песок и щебень после извлечения ценных металлов представляется наиболее оптимальным путем решения проблемы их утилизации, поскольку потребность в песке и щебне (гравии) очень велика и исчисляется сотнями тысяч и миллионами кубических метров.
Области применения топливной золы и шлаков так же многочисленны. Кусковой шлак используют как заполнитель для бетона в дорожном строительстве, для теплоизоляционных засыпок; золу-унос — в качестве гидравлической добавки к цементу (10— 15 %), как компонент цементной сырьевой смеси (основные золы); в качестве кремнеземистого компонента — при производстве автоклавного и безавтоклавного газобетона, легких плотных и поризированных керамзитобетонов; для производства искусственных заполнителей (аглопоритного и зольного гравия, золокерамзита); как отощающую и выгорающую добавку в производстве глиняного кирпича; в качестве кремнеземного компонента при производстве силикатного кирпича. Золошлаковые смеси находят применение в производстве местных вяжущих компонентов типа известково-зольных, цементно-зольных.