Насосная станция
Кафедра "Гидротехническое и энергетическое строительство"
Курсовой проект:
"Насосная станция"
Выполнил:
Руководитель:
Минск 2008
Содержание
Введение
1. Обоснование схемы гидроузла машинного водоподъема
2. Определение расчетных напора и подачи насосов и выбор числа насосных агрегатов
2.1 Определение расчетного напора
2.2 Определение расчетной подачи и числа устанавливаемых агрегатов
3. Выбор насосов и приводных электродвигателей
3.1 Выбор основного насоса
3.2 Выбор электродвигателя
4. Проектирование всасывающих и напорных трубопроводов
4.1 Проектирование всасывающих трубопроводов
4.2 Проектирование напорных трубопроводов
4.2.1 Внутристанционные напорные трубопроводы
4.2.2 Внешние напорные трубопроводы
5. Составление графической характеристики совместной работы насосов и трубопроводов
6. Подбор вспомогательного оборудования
6.1. Сороудерживающие устройства
6.2. Затворы
6.3. Подъемно-транспортное оборудование
6.4. Дренажно-осушительная система
6.5. Система технического водоснабжения
6.6. Система маслоснабжения и пневматическое хозяйство
7. Конструктивно-компоновочные решения зданий насосной станции, водозаборных сооружений и их параметры
7.1. Выбор типа здания станции
7.2. Определение высотного положения основных насосных агрегатов
7.3. Определение основных размеров здания насосной станции
7.3.1 Определение высоты подземной части здания
7.3.2 Плановая компоновка и размеры насосного помещения здания станции
7.3.3 Верхнее строение здания станции
7.4 Проектирование водозаборного сооружения
Литература
Введение
Задача данного курсового проекта - составление и расчетное обоснование проекта насосной станции.
Насосными станциями называют комплексы гидротехнических сооружений и оборудования, обеспечивающие забор воды из источника, транспортировку и подъем ее к месту потребления.
Состав сооружений насосных станций, их взаимное расположение и конструктивное исполнение зависят от множества факторов: назначения, подачи и напоров, природных условий (рельеф местности, колебание уровней воды в верхнем и в нижнем бьефах, объем твердого стока, инженерно-геологические и гидрогеологические условия), наличия местных строительных материалов, технического оснащения строительной организации и др.
1. Обоснование схемы гидроузла машинного водоподъема
Компоновка сооружений насосной станции при минимальной стоимости и площади застройки должна обеспечивать наиболее благоприятные условия их эксплуатации.
В состав насосной станции входят следующие сооружения: подводящий канал, здание насосной станции блочного типа (совмещенное с водозаборным сооружением открытого типа) и машинный канал. Водозаборное сооружение - берегового типа.
Проектируемая насосная станция предназначена для орошения (работающая на машинный канал). Максимальная подача станции - 14,7 м3/с.
Грунт основания в районе строительства - супесь.
Береговой водозабор, совмещенный со зданием насосной станции, применяется в крупных водозаборах (Q >10м3/с) и при использовании насосов устанавливаемых под залив. Здание станции располагается на некотором удалении от берега в конце подводящего канала.
2. Определение расчетных напора и подачи насосов и выбор числа насосных агрегатов
2.1 Определение расчетного напора
Расчетный напор насоса:
(2.1)
Геодезическая высота подъема - при значительных колебаниях уровней воды в бьефах используется средневзвешенная геодезическая высота подъема
(2.2)
Расчеты по определению средневзвешенной геодезической высоты подъема удобно вести в табличной форме.
Таблица 2.1
Определение средневзвешенной геодезической высоты подъема.
|
Период работы насосной станции |
Число суток в периоде t>i>, сут. |
Расход НС Q>I>, м3/с |
Отметка уровня воды, м |
Геодезический напор H>г>>i>, м |
Q>i>H>г>>i>t>i> |
Q>i>t>i> |
|
|
ВБ |
НБ |
||||||
|
4 |
30 |
4,85 |
240,95 |
206 |
34,95 |
5086,27 |
145,53 |
|
5 |
31 |
10,29 |
241,56 |
206 |
35,56 |
11343,28 |
318,99 |
|
6 |
30 |
10,29 |
241,56 |
204,8 |
36,76 |
11347,81 |
308,7 |
|
7 |
31 |
14,7 |
241,98 |
204 |
37,88 |
17261,92 |
455,7 |
|
8 |
31 |
14,7 |
241,98 |
203,8 |
38,08 |
17353,06 |
455,7 |
|
9 |
30 |
9,555 |
241,49 |
205 |
36,49 |
10459,86 |
286,65 |
|
Σ |
72852,2 |
1971,27 |


Отметки уровня
воды в верхнем бьефе рассчитывают по
глубине наполнения машинного канала в
зависимости от пропускаемого расхода
по кривой связи
.
П
Рисунок 2.1.
График связи h=f(Q) для машинного канала
отери напора в трубопроводах складываются из потерь по длине и потерь на местные сопротивления
.
Потерями предварительно задаются на
основе существующего опыта проектирования.
Местные потери напора
,
потерями напора по длине всасывающего
трубопровода
можно пренебречь, а в напорном трубопроводе
они вычисляются по формуле:
(2.3)
i=3м/км
- удельное сопротивление по длине
трубопровода, l=0,29км -
длина напорного трубопровода.,
- запас напора.

2.2 Определение расчетной подачи и числа устанавливаемых агрегатов
Расчетная
подача насоса
определяется максимальной подачей
насосной станции
и принятым числом насосных агрегатов.
(2.4)
Число рабочих насосных агрегатов определяется как отношение максимального и минимального расходов из графика водопотребления.
(2.5)

Резервные насосы предназначены для замены основных в случае выхода их из строя. На насосных станциях II категории надежности водоподачи устанавливается 1 резервный насосный агрегат при числе основных 1 - 8.
Число установленных агрегатов:
(2.6)
- число рабочих агрегатов;
- число резервных агрегатов;
3. Выбор насосов и приводных электродвигателей
3.1 Выбор основного насоса

Рисунок 3.1. Сводный график рабочих полей насосов типа В
Выбор основного насоса ведется по расчетному напору и расчетному расходу по сводным графикам полей насосов соответствующих типов. На сводный график наносится точка А с расчетными координатами Н>р>=40,33 м. и Q>р>=4,9 м3/с. Точка А попала в зону насоса марки 1200В - 6,3/40 n=375 об/мин.
Рисунок 3.2. Рабочая характеристика насоса 1200В-6,3/40
Имея тип и марку насоса, по каталогу находят рабочую характеристику насоса. На характеристику насоса наносят точку В с координатами Н>р>=40,33 м. и Q>р>=4,9 м3/с, которая при правильно подобранном насосе должна находиться на кривой H - Q или несколько ниже нее в пределах рабочей области. Если величины расчетного напора Н>р>=40,33 м и напора Н=43 м, снятого с кривой H - Q при расчетном расходе Q>р>=4,9 м3/с, отличаются не более чем на 5 - 10%, насос считается подобранным.

3.2 Выбор электродвигателя
Требуемая мощность электродвигателя определяется по максимально возможной подаче насоса Q>н>=4,9 м3/с, и соответствующему ей напору Н>н>=40,33 м.
(3.1)
К - коэффициент запаса, учитывающий возможность перегрузки двигателя (в первом приближении К=1).
η>н> - КПД насоса в долях единицы, снимаемый с характеристики насоса для Q>н>.


Таблица 3.1
Зависимость коэффициента запаса от мощности двигателя.
|
Мощность двигателя, кВТ |
до 20 |
21 - 50 |
51 - 300 |
более 300 |
|
Коэффициент запаса К |
1,25 |
1,2 |
1,15 |
1,1 |

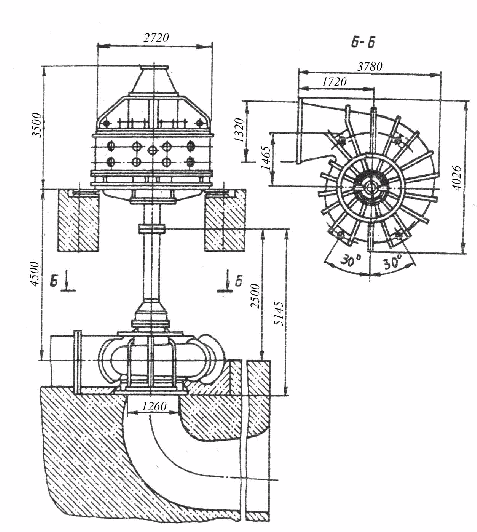
Рисунок 3.3. Схема насосного агрегата
По расчетной мощности двигателя и частоте вращения по каталогу подбирается марка электродвигателя: ВСДН-17-49-16.
4. Проектирование всасывающих и напорных трубопроводов
4.1 Проектирование всасывающих трубопроводов
При использовании на насосной станции мощных (Q > 2 м3/с) вертикальных центробежных насосов подвод воды к ним осуществляется с помощью изогнутых всасывающих труб с давлением в них всегда выше атмосферного. Они выполняются в монолитном железобетоне в зданиях блочного типа. Число всасывающих труб равно числу установленных насосных агрегатов.

Рисунок 4.1. Всасывающая труба насоса с коленчатым подводом
Форма и размеры таких труб устанавливаются заводом изготовителем и зависят от диаметра входного патрубка.
4.2 Проектирование напорных трубопроводов
4.2.1 Внутристанционные напорные трубопроводы
Напорные трубопроводы в пределах здания станции служат для подачи воды от насосов к внешним напорным водоводам и включают в себя напорные линии насосов и соединительные трубопроводы. Для обеспечения отключения насосов от внешнего напорного трубопровода они оборудуются дисковыми затворами.
Диаметры напорных линий D>н> внутри здания станции назначают по скоростям движения воды в них: при D>н >> 800мм V>н >= 1,8…3,0 м/с.
(4.1)
Так как значение D>н> больше диаметра напорного патрубка насоса d>н> =1,32м, переходы выполняют в виде диффузоров длиной
(4.2)
4.2.2 Внешние напорные трубопроводы
Напорные трубопроводы служат для транспортировки воды к водовыпускным сооружениям. Трубопровод состоит из двух ниток, расстояние в свету между ними 2м для исключения подмыва при аварии.
Так как на насосной станции установлены насосы с идентичными характеристиками, график водоподачи ступенчатый и количество насосов подключенных к каждой нитке одинаковое расчетный расход этой нитки:
(4.3)
- условный постоянный расход, который
проходя по напорным трубопроводам,
вызывает такие потери энергии, какие
вызвал бы фактический переменный расход,
проходя по тем же трубопроводам за тот
же период времени; n - число
ниток напорного трубопровода; t
- продолжительность периода, сут.
Для графика водоподачи и схемы соединения напорных трубопроводов с насосами, приведенных на рисунке эта формула будет иметь вид:


Рисунок 4.2. Схема соединения напорных трубопроводов с насосами
Для
определенного
определяется диаметр напорного водовода:
(4.4)
5. Составление графической характеристики совместной работы насосов и трубопроводов
Порядок построения графической характеристики системы "насосы - трубопроводы" при параллельной работе следующий:
С
оставляется
схема соединений внутри насосной
станции.
Рисунок 5.1. Технологическая схема насосной станции: 1 – вход в трубу плавный; 2 – переход сужающийся; 3 – колено; 4 – переход сужающийся; 5 – переход расширяющийся; 6 – задвижка; 7 – труба 8 – колено; 9 – тройник; 10 – напорные водоводы.
Определяются внутристанционные потери по формуле:
(5.1)
Где
- потери напора по длине всасывающего
и напорного внутристанционного
трубопроводов соответственно, которыми
можно пренебречь;
- потери напора в местных сопротивлениях
соответственно во всасывающем и в
напорном внутристанционном трубопроводах.
Для технологической схемы насосной станции с насосами типа "В" и коленчатым подводом потери напора в местных сопротивлениях во всасывающем трубопроводе включают: потери на входе в трубу 1, в переходе сужающемся 2, 4, в колене 3.
(5.2)
- скорости соответственно на входе в
трубу, в колене и в переходе сужающемся,
м/с:


Потери напора в местных сопротивлениях в напорном внутристанционном трубопроводе определяются с учетом потерь напора в переходе расширяющемся 5, в дисковом затворе 6, колене 8 и тройнике присоединения к магистрали 9:
(5.3)
- скорости соответственно в переходе
расширяющемся, в дисковом затворе, в
колене и в ответвлении тройника, м/с.



Определяется удельное сопротивление внутристанционной линии:
(5.4)
Строится кривая внутристанционных потерь Q - Н>вн. ст>:
(5.5)
Определение координат кривой внутристанционных потерь удобно вести в табличной форме:
Таблица 5.1. Определение координат кривой внутристанционных потерь.
|
Q, м3/с |
0 |
1 |
2 |
3 |
4 |
5 |
6 |
|
|
0 |
0,044 |
0,176 |
0,396 |
0,704 |
1,1 |
1,584 |
Строится характеристика напорного трубопровода Q - Н>тр1,2>:
(5.6)
к - коэффициент, учитывающий местные потери в напорном водоводе, равен 1,1; S>0>=0,0001437 с2/м5 - удельное сопротивление водовода (зависит от его диаметра); l = 290 м - длина водовода.
Определение координат кривой характеристики сопротивления одного напорного водовода удобно вести в табличной форме:
Таблица 5.2. Определение координат кривой характеристики сопротивления одного напорного водовода.
|
Q, м3/с |
0 |
1 |
2 |
3 |
4 |
5 |
6 |
7 |
8 |
9 |
10 |
11 |
12 |
13 |
14 |
15 |
|
|
0 |
0,04 |
0,18 |
0,41 |
0,73 |
1,14 |
1,65 |
2,24 |
2,93 |
3,71 |
4,58 |
5,54 |
6,60 |
7,74 |
8,98 |
10,3 |
Для построения этой кривой откладывается определенная ранее средневзвешенная геодезическая высота подъема (Н>гср>+ΔН - для станций работающих на излив) и проводится линия параллельная оси абсцисс.
Суммарная характеристика обоих водоводов строится путем сложения расходов в водоводах при постоянном напоре.
Наносится паспортная характеристика насоса Q - Н>1,2,3>, строятся характеристики двух и трех параллельно работающих насосов Q - Н>1+2> и Q - Н>1+2+3>.
Отложив на шкале расходов заданную производительность насосной станции Q>нст> и поднявшись до пересечения с кривой Q - Н>тр1+2> - получим точку А с координатами (Q>нст>; Н>1>). Н>1> - напор необходимый в начале водовода при расчетной производительности Q>нст>.
Далее строится точка В с координатами (Q>н>; Н>1>). Q>н> - подача одного насоса.
В точке В к напору Н>1> прибавляется величина внутристанционных потерь, соответствующих расходу одного насоса. Получается точка С, соответствующая значению полного напора насоса при максимальной производительности насосной станции.
Так как точка С не попадает на паспортную характеристику насоса, то производится обточка рабочего колеса насоса.
Изменение положения характеристики насоса обточкой рабочего колеса производится в следующей последовательности:
Строится
парабола подобных режимов:
k - параметр параболы,
который находится из условия прохождения
ее через точку С т.е.
(5.7)
Находятся параметры точки Е пересечения параболы с паспортной характеристикой насоса при нормальном диаметре рабочего колеса (Q>Е>; Н>Е>).
Таблица 5.3. Координаты параболы подобных режимов.
|
Q, м3/с |
0 |
1 |
2 |
3 |
4 |
5 |
6 |
|
H, м |
0 |
1,72 |
6,88 |
15,48 |
27,52 |
43 |
61,92 |
Определяется коэффициент быстроходности насоса
(5.8)
Q>н>, Н>н> - расход и напор насоса при максимальном КПД.
Определяется диаметр рабочего колеса:
(5.9)
Процент обточки
(5.10)
при n>s>=199,83
Через точку С строим характеристику насоса с обточенным рабочим колесом.
(5.11)
(5.12)
Таблица 5.4. Результаты пересчета характеристики насоса при обточке рабочего колеса.
|
Точки |
Параметры насоса |
|||
|
При D =1610 мм |
При D>обт> =1578 мм |
|||
|
Q, м3/с |
Н, м |
Q, м3/с |
Н, м |
|
|
0 |
0,5 |
50 |
0,4900621 |
48,032175 |
|
1 |
1 |
48 |
0,9801242 |
46,110888 |
|
2 |
2 |
46 |
1,9602484 |
44,189601 |
|
3 |
3 |
45,5 |
2,9403727 |
43,709279 |
|
4 |
4 |
44,7 |
3,9204969 |
42,940764 |
|
5 |
5 |
43 |
4,9006211 |
41,30767 |
|
6 |
6 |
41 |
5,8807453 |
39,386383 |
Строится приведенная характеристика насоса, проходящая через точку В. Для этого от ординат кривой Q>обт> - Н>обт 1,2,3> отнимаются потери h>вн. ст>.
Строятся приведенные кривые совместной работы параллельно включенных насосов.
Определяются величины подач и напоров при индивидуальной и параллельной работе насосов на один и два водовода.
Таблица 5.2. Величины подач и напоров при индивидуальной и параллельной работе насосов на один и два водовода.
|
№ |
Режим работы |
Н, м |
Q, м3/с |
|
1 |
Индивидуальная работа на один водовод |
39,3 |
5,4 |
|
2 |
Индивидуальная работа на два водовода |
38,4 |
5,8 |
|
3 |
Параллельная работа двух насосов на один водовод |
41,5 |
8,75 |
|
4 |
Параллельная работа трех насосов на один водовод |
42,8 |
10,2 |
|
5 |
Параллельная работа двух насосов на два водовода |
39,3 |
10,75 |
|
6 |
Параллельная работа трех насосов на два водовода |
40,4 |
14,7 |
6. Подбор вспомогательного оборудования
Вспомогательное оборудование включает в себя механическое оборудование и обслуживающие станцию системы и хозяйства: дренажно-осушительная система; системы технического водоснабжения и маслоснабжения; пневматическое хозяйство.
6.1. Сороудерживающие устройства
Устраиваются в виде поверхностных съемных вертикальных сороудерживающих решеток на всех водоприемных отверстиях основных насосов. Служат для предотвращения попадания в водоприемные отверстия сора и плавающих тел, а в отдельных случаях и рыбы.
Решетки систематически очищаются с помощью специальных решеткоочистительных устройств.
6.2. Затворы
Основные или рабочие затворы - служат для оперативного регулирования расходов и уровней воды, поднимаются и опускаются в текущей воде, т.е. под напором.
Ремонтные затворы - используются для временного перекрытия входных отверстий при ремонтах и осмотрах основных затворов, а также насосов и другого оборудования станции в целом.
6.3. Подъемно-транспортное оборудование
Это оборудование необходимо для монтажа, ремонта и демонтажа насосных агрегатов, другого оборудования станции.
Его грузоподъемность определяется массой наиболее тяжелой монтажной единицы умноженной на коэффициент запаса к=1,1…1,15. Масса деталей принимается в пределах до 60% от общей массы насоса или приводного электродвигателя.
Насос марки 1200В - 6,3/40 имеет массу 35 тонн, значит масса самой тяжелой детали составляет 21 тонну.
По каталогу подбирается мостовой электрический кран грузоподъемностью 30 тонн.
6.4. Дренажно-осушительная система
Дренажно-осушительная система необходима для удаления дренажной воды из подземной части здания и для откачивания воды из проточных трактов станции.
Дренажно-осушительная система включает в себя дренажные насосные установки для откачки профильтровавшейся воды в помещение агрегатной части здания станции и систему осушения или опорожнения станции.
Для насосных станций с подачей свыше 10 м3/с подача дренажных насосов назначается Q>д>=10л/с.
Суммарная подача насосов системы опорожнения
(6.1)
W=35 м3 - суммарный объем воды, находящийся во всасывающей трубе и в камере осушаемого насоса при максимальном УНБ; t=5 ч - время откачки; q=1 л/с=3,6 м3/ч.
Так как удаление дренажной воды из подземных помещений ведется периодически, в дренажно-осушительной системе устраиваются только два рабочих насоса.
6.5. Система технического водоснабжения
Предназначена для подачи технически чистой воды к устройствам насосных агрегатов, к сальниковым уплотнениям. Источник водопитания - нижний бьеф.
Подача на каждый насосный агрегат - 1 л/с, при напоре - 50 м.
В системе технического водоснабжения используют центробежные насосы консольного типа "К" - один рабочий и один резервный.
6.6. Система маслоснабжения и пневматическое хозяйство
Система маслоснабжения необходима для обеспечения маслами масляных ванн и подшипников электродвигателей, насосов, трансформаторов и других маслонаполненных электроаппаратов. Насосы подбираются из условия заполнения емкости вместимостью до 20 тонн за 2 часа, а больших емкостей не более чем за 4 часа.
Пневматическое хозяйство служит для обеспечения сжатым воздухом станции, т.е. для питания устройств очистки сороудерживающих решеток и обдувки обмоток электродвигателей, котлов маслонапорных установок, торможения агрегатов, а также для снабжения аппаратуры контроля, пневмоинструментов.
7. Конструктивно-компоновочные решения зданий насосной станции, водозаборных сооружений и их параметры
7.1. Выбор типа здания станции
Так как забор воды ведется из реки с большим колебанием уровня воды в ней 2,2 м, большой отрицательной высоты всасывания насоса и подачей более 2м3/с, принимается заглубленное здание станции блочного типа.
7.2. Определение высотного положения основных насосных агрегатов
Отметка оси
насосов определяется алгебраической
суммой расчетного (минимального) уровня
воды в источнике и значения допустимой
геометрической высоты всасывания насоса
:
ОН=
УВ>min>+Н>вс>доп,
м. (7.1),
(7.2)
Напор воды соответствующий атмосферному давлению на уровне установки насоса:
(7.3)
- упругость насыщенных паров жидкости,
=0,24м
при t=20оС;
=15,5м
- допустимый кавитационный запас,
снимается с характеристики насоса;
=0,144м
- потери напора во всасывающей линии.
ОН=203,8
- 5,8 = 198м.
7.3. Определение основных размеров здания насосной станции
7.3.1 Определение высоты подземной части здания
Высота подземной части здания насосной станции заглубленного типа определяется по формуле:
(7.4)
=0,1Н>ст>=1,1м
- толщина фундаментной плиты;
ФП=
ОН-h>н>=198
- 2,75 = 195,25 (7.5) – отметка верха фундаментной
плиты;
h>н>=2,75 - превышение оси рабочего колеса насоса над верхом фундаментной плиты;
(7.6) - максимально возможный напор воды
на конструкцию в расчетном сечении;
- допустимая геометрическая высота
всасывания;
(7.7) - амплитуда колебаний уровня воды в
водоисточнике;
- конструктивный запас.

7.3.2 Плановая компоновка и размеры насосного помещения здания станции
Насосные агрегаты располагаются в один ряд вдоль водоприемного фронта.
Ширина агрегатного блока принимается равной:
(7.8)
- толщина стены насосного помещения
станции;
а>1>=1,52м - монтажный проход;
b>НА>=3,78м - поперечный размер насосного агрегата;
l>ком>=6м - длина участка внутристанционных коммуникаций;
а>2>=0,5м - монтажное удаление коммуникаций от стены помещения.
Расстояние между осями агрегатов, т.е. длина агрегатного блока определяется условиями размещения насосных агрегатов и обеспечением монтажно-эксплуатационных проходов:
(7.9)
l>НА>=4,026м - габарит насосного агрегата в продольном направлении;
а>3>=1,474м - монтажный проход между агрегатами.
Длина всего здания станции определяется проходами между торцевыми стенками и агрегатами, продольным размером самих агрегатов, их числом, расстоянием между ними, а также длиной монтажной площадки:
(7.10)
- длина монтажной площадки;
а>4>=1м - проход между торцом оборудования и стеной;
n - число основных агрегатов.
7.3.3 Верхнее строение здания станции
Верхнее строение служит для размещения подъемно-транспортного оборудования, электродвигателей насосных агрегатов. Эта часть здания состоит из электромашзала с монтажной площадкой и примыкающих к нему пристроек для электротехнического оборудования, а также служебных, административных и бытовых помещений.
Конструктивно верхнее строение оформляется в виде промышленного здания каркасного типа. Оно состоит из сборных железобетонных элементов - системы колонн, ферм и ригелей покрытия, подкрановых балок на консолях.
Стены каркасных строений не несущие и выполняются из сборных стеновых панелей из легких бетонов толщиной 200 мм.
Верхнее строение насосной станции, оборудованной мостовым краном, имеет высоту:
(7.11)
h>кр>=3,15м - габарит кранового оборудования; h>ст>=1м - высота строповки груза; 0,1 - минимальное расстояние от низа перекрытия до верха балки крана; h>гр>=3,5м - высота самой крупной транспортируемой детали; 0,5 - минимальный запас высоты от груза до установленного оборудования; h>об>=3,5м - высота установленного оборудования.
Определенную
высоту здания насосной станции (расстояние
от уровня чистого пола до низа несущих
конструкций покрытия на опоре) округляют
до стандартного значения
.
Пролет верхнего строения или ширина
машзала также округляется до стандартного
значения В=15м. Длина верхнего строения
также, как и насосного помещения
принимается кратной 6м
.
Шаг колонн - 6м.
7.4 Проектирование водозаборного сооружения
Водозаборное сооружение открытого типа представляет собой открытые сверху камеры, разделенные бычками, между которыми устанавливаются затворы и сороудерживающие решетки. Ширину камеры принимают равной:
(7.12)
Длина камеры
назначается конструктивно исходя их
условия размещения служебных мостиков,
сороудерживающих решеток, основных и
ремонтных затворов
.
Коэффициент секундного водообмена:
>
15сек. (7.13)
Глубина воды в камере при минимальном уровне воды 8,55м.
Служебные мостики устраиваются выше максимального уровня воды на 1м. Общая длина водоприемного фронта:
(7.14)
- толщина быка;
n - число камер.
Насосная станция оборудуется затворами пролетом 4,5м и высотой 11м, ширина паза 0,6м, глубина паза 0,3 м.
Сопряжение каналов с береговыми сооружениями станции обеспечивает аванкамера в виде симметрично расширяющейся (центральный угол конусности 35о) и заглубляющейся концевой части канала (уклон дна i=0,4). Дно аванкамеры в плане представляет собой трапецию, меньшее основание которой b=6м, большее В>ф>=21м.
Рисунок 7.1. Водозаборное сооружение открытого типа
Литература
Учебно-методическое пособие к курсовому проекту "Насосная станция" по дисциплине "Насосные станции" для студентов специальности Т. 19.04 - "Водохозяйственное строительство". Минск 2000
Насосы и насосные станции: Учебник / Под ред. В.Ф. Чебаевского. - М.: Агропромиздат, 1989. -416с.
Проектирование насосных станций и испытание насосных установок: Учеб. Пособие / Под ред. В.Ф. Чебаевского. -3-е изд., перераб. и доп. -М.: Колос, 1982. -320 с.

