Пассивная противопожарная защита производственного здания
Содержание
Введение
Исходные данные
Проектирование планировочной противопожарной защиты здания
Проектирование конструктивной противопожарной защиты здания
Обеспечение безопасности людей при пожаре
Проектирование противодымной защиты здания
Проектирование противопожарной защиты здания инженерного оборудования
Разработка противопожарных решений при проектировании территории предприятия
Итоговые характеристики здания
Введение
С возникновением Республики Беларусь как суверенного государства вопрос о безопасности людей при пожаре и пожарной безопасности, при проектировании, ремонте, строительстве, реконструкции имеет первостепенное значение. В связи с этим на рерритории нашей республики постоянно действуют, разробатываются и дополняются нормы пожарной безопасности.
Основной задачей государственного пожарного надзора является реализация организационных и технических решений, направленных на приведение объектов народного хозяйства в пожаробезопасное состояние.
Основной задачей данного курсового проекта является систематизиация и применение на практике полученных знаний в области проектирования и проверки проектной документации.
Исходные данные для проектирования
|
Наименование помещения |
Категория по НПБ 5-2005 |
Численность людей, чел |
|
Производственные помещения |
||
|
Участок подготовки сыпучего сырья (А6) |
Д |
6 |
|
Отделение подготовки жидкого сырья (А1) |
В |
10 |
|
Отделение диспергирования (А4) |
В |
1 |
|
Отделение составления эмалей (А2) |
А |
2 |
|
Отделение фасовки (А5) |
А |
25 |
|
Промежуточный склад готовой продукции |
Б |
6 |
|
Административно- бытовые помещения |
Количество людей, чел |
|
|
Административные кабинеты |
55 |
|
|
Коференц - зал |
60 |
|
|
Гардеробы |
50 |
|
|
Технико- экономические показатели |
Единица измерения |
Значение |
|
Производственного здания |
||
|
Количество этажей |
шт. |
3 |
|
Высота этажа |
м |
3.5 |
|
Количество координационных осей по горизонтали |
шт. |
14 |
|
Количество координационных осей по вертикали |
шт. |
9 |
|
Расстояние между осями по горизонтали |
м |
9 |
|
Расстояние между осями по вертикали |
м |
6 |
|
Наличие подвала |
Нет |
|
|
Наличие технического этажа |
Нет |
|
|
Используемое в технологическом процессе вещество |
Гексан 12кг |
|
|
Генеральная планировка объекта |
||
|
Степень огнестойкости здания склада |
III |
|
|
Категория здания склада |
Д |
|
|
Площадь застройки здания склада |
м2 |
500 |
|
Степень огнестойкости гаражного блока |
I |
|
|
Площадь застройки гаражного блока |
м2 |
250 |
|
Количество цистерн с сырьем |
9 |
|
|
Объем одной цистерны |
м3 |
9 |
|
Площадь территории объекта |
га |
6 |
|
Преобладающее направление ветра |
С |
1. Проектирование планировочной противопожарной защиты
2.1 Предварительная планировка здания
Исходные данные:
Количество осей:
По горизонтали – 14
По вертикали – 9
Расстояние между осями по горизонтали -9000
Расстояние между осями по вертикали - 6000
Количество этажей – 3.
2.1.1. Определяем требуемую степень огнестойкости и площадь пожарного отсека. Площадь этажа 5616 м2. Количество этажей – 3. Категорию здания предварительно принимаем – А, степень огнестойкости – II согласно приложению «Г» ТКП 45-2.02-34-2005 «Здания и сооружения. Отсеки пожарные. Нормы и правила проектирования» площадь пожарного отсека для данной степени огнестойкости 5600 м2. Высоту производственного помещения принимаем 3,5м по условию.
2.1.2. Размещение помещений категорий А и Б по взрывопожарной и пожарной опасности следует предусматривать у наружных стен или на верхнем этаже в многоэтажных зданиях, за исключением случаев, оговоренных в технических нормативно-правовых актах. Не допускается размещать данные помещения в подвальных и цокольных этажах зданий. П 5.1.7 ТКП-45.2.02-92-2007 Ограничение распостранения пожара в зданиях и сооружениях. Объемно планировочные решения и конструктивные решения.
. По условиям технологического процесса помещение отделения подготовки жидкого сырья размещается на 3-м этаже. Отделение фасовки, диспергирования, участок подготовки сыпучего сырья должны распологаться на первом этаже. Отделение проиготовления замесов и составление эмалей должны распологаться на промежуточном этаже. Отделение приготовления щамесов необходимо размещать на этажерке в отделении диспергирования на уровне второго этажа. В производственном здании необходимо разместить административно-бытовые помещения.
2.1.3. Административно-бытовое здание выполняется в форме пристройки (по заданию). Пристройки к помещениям и зданиям категорий А и Б по взрывопожарной и пожарной опасности следует отделять противопожарными стенами 1 типа (п.5.1.3. ТКП-2.02-92-2007).
1.2 Деление здания на пожарные отсеки и секции
Необходимость деления здания на пожарные отсеки по площади отсутствует, так как площадь этажа в пределах противопожарных стен 5616 м2, здание категории А, II степени огнестойкости с числом этажей 3. Допускается увеличивать площадь этажа на:
100 % - при оборудовании здания, за исключением помещений, перечисленных в п. 7 [2], автоматическими установками пожаротушения;
100 % - при размещении здания на расстоянии не более 2 км по дорогам общего пользования от пожарных депо, в боевом расчете которых находится не менее 3 единиц основных пожарных автомобилей;
75 % - при размещении здания на расстоянии не более 2 км по дорогам общего пользования от пожарных депо, в боевом расчете которых находится не менее 2 единиц основных пожарных автомобилей;
50 % - при размещении здания на расстоянии не более 2 км по дорогам общего пользования от пожарных депо, в боевом расчете которых находится не менее 2 единиц основных и специальных пожарных автомобилей.
П 4.4. ТКП 45-2.02-34 - 2005
По функциональному назначению административно-бытовая пристройка отделяется от производственной части здания категории А противопожарной стеной 1-го типа. п 5.1.1 ТКП-45.2.02-92-2007
Таблица 1.1
Пожарные секции
|
№ |
Наименование помещения |
Категория по НПБ 5-2005 |
Необходимость создания секции |
Мероприятия по устройству |
|
1 |
Отделение диспергирования |
В |
п. 5.6.1 ТКП-45.2.02-92-2007 |
Устройство противопожарных перегородок 1-го типа и противопожарных перекрытий 2-го типа с классом пожарной опасности К0. |
|
2 |
Лифтовой холл |
п. 5.1.28 ТКП-45.2.02-92-2007 |
Перед лифтами в помещениях категорий А и Б по взрывопожарной и пожарной опасности на всех этажах следует предусматривать тамбуры- шлюзы с постоянным подпором воздуха не менее 20 кПа. |
|
|
3 |
Отделение фасовки |
А |
п. 5.6.1 п. 5.6.3 ТКП-45.2.02-92-2007 |
Устройство противопожарных перегородок 1-го типа и противопожарных перекрытий 2-го типа с классом пожарной опасности К0. Перед входом в лифтовой холл следует предусматривать тамбур- шлюз с постоянным подпором воздуха не менее 20 Па. Проемы в противопожарных перегородках, отделяющих помещения категорий А и Б по взрывопожарной и пожарной опасности друг от друга и от помещений других категорий, а также коридоров и лестничных клеток, следует отдилять тамбур-шлюзами 2 типа с постоянным подпором воздуха не менее 20 Па. |
|
4 |
Бойлерная |
Д |
________ |
_________ |
|
5 |
Венткамера приточная |
В |
п. 5.6.1 ТКП-45.2.02-92-2007 |
Устройство противопожарных перегородок 1-го типа и противопожарных перекрытий 2-го типа с классом пожарной опасности К0. |
|
6 |
Отделение подготовки сыпучего сырья |
Д |
_______ |
______________ |
|
7 |
Промежуточный склад готовой продукции |
Б |
п. 5.6.1 п. 5.6.3 ТКП-45.2.02-92-2007 |
Устройство противопожарных перегородок 1-го типа и противопожарных перекрытий 2-го типа с классом пожарной опасности К0. Перед входом в лифтовой холл следует предусматривать тамбуры- шлюзы с постоянным подпором воздуха не менее 20 Па. Проемы в противопожарных перегородках, отделяющих помещения категорий А и Б по взрывопожарной и пожарной опасности друг от друга и от помещений других категорий, а также коридоров и лестничных клеток, следует защищать тамбур-шлюзами 2 типа с постоянным подпором воздуха не менее 20 Па. |
|
8 |
Отделение составления эмалей |
А |
п. 5.6.1 п. 5.6.3 ТКП-45.2.02-92-2007 |
Устройство противопожарных перегородок 1-го типа и противопожарных перекрытий 2-го типа с классом пожарной опасности К0. Проемы в противопожарных перегородках, отделяющих помещения категорий А и Б по взрывопожарной и пожарной опасности друг от друга и от помещений других категорий, а также коридоров и лестничных клеток, следует защищать тамбур-шлюзами 2 типа с постоянным подпором воздуха не менее 20 Па. |
|
9 |
Отделение подготовки жидкого сырья |
В |
п. 5.6.1 ТКП-45.2.02-92-2007 |
Устройство противопожарных перегородок 1-го типа и противопожарных перекрытий 2-го типа с классом пожарной опасности К0. |
1.3 Размещение помещений в плане и по этажам
Таблица 2.2
|
№ |
Наименование помещения |
Требуется разместить по заданию |
Требуется разместить по нормам |
Ссылки на нормы |
|
1 |
Отделение диспергирования |
1-й этаж у наружной стены |
________________ |
___________ |
|
3 |
Отделение фасовки |
1-й этаж у наружной стены |
На верхних этажах у наружных стен |
П 5.1.7 ТКП-45.2.02-92-2007 |
|
4 |
Бойлерная |
1-й этаж |
__________________ |
_____________ |
|
5 |
Венткамера приточная |
1-й этаж у наружной стены |
_________________ |
_____________ |
|
6 |
Участок подготовки сыпучего сырья |
3-й этаж у наружной стены |
_________________ |
_____________ |
|
7 |
Промежуточный склад готовой продукции |
2-й этаж у наружной стены |
На верхних этажах у наружных стен |
П 5.1.7ТКП-45.2.02-92-2007 |
|
8 |
Отделение составления эмалей |
2-й этаж у наружной стены |
На верхних этажах у наружных стен |
П 5.1.7ТКП-45.2.02-92-2007 |
|
9 9 |
Отделение подготовки жидкого сырья |
3-й этаж у наружной стены |
На верхних этажах у наружных стен |
П 5.1.7ТКП-45.2.02-92-2007 |
1.4 Размещение помещений другого назначения в здании
Административно-бытовой комплекс выполняем в виде пристройки, согласно п. 5.1.3 ТКП-45.2.02-92-2007, пристройка VII степени огнестойкости. Пристройки к помещениям и зданиям категорий А и Б по взрывопожарной и пожарной опасности следует отделять противопожарными стенами 1- го типа (п.5.6.7 ТКП-45.2.02-92-2007).
1.5 Размещение помещений для инженерного оборудования
Помещения распределительных щитов и электрощитовых размещены напервом этаже административно-бытового комплекса. Раздел 4 ПУЭ-86
В помещении с инженерным оборудованием установлен один выход через помещения категории А и Б. п 3.86 СНБ-2.02.02-2001
Помещения отделены от помещений категорий А, Б, В1-В3 противопожарными перегородками 1-го типа и противопожарными перекрытиями 2-го типа с классом пожарной опасности К0 п.5.6.1. ТКП 45-2.02-92-2007
Помещения для лифтового оборудования размещены на кровле
Ограждающие конструкции ЛМ имеют предел огнестойкости REI-15 для несущих, EI-15 для ограждающих с классом пожарной опасности К0 п3.43 СНБ-2.02.02-2001
1.6 Выбор типа, количества и размещения лестниц и лестничных клеток
Ширина всех маршей ЛК принимается типовой по наибольшему значению 1 м п. 3.47
СНБ 2.02.02-01
В ЛК предусмотрено освещение через оконные фрамуги в наружных стенах с минимальной площадью открывающейся фрамуги 1.2м2 на уровне каждого этажа п. 4.6 СНБ 2.02.02-01
Таблица 2.3
|
Расположение |
Ширина наибольшего выхода м |
Ширина ЛП |
Уклон марша |
Площадь открывающегося проема м2 |
|
Оси: 6-7;3-И; А-Б |
1.9\1.9\1.9 П 3.15 СНБ 2.02.02-2001 |
4 х 2 |
1:15 П 3.48 |
3.99 |
|
А-Б;З-И;3-4 |
Открытая лестница 2 типа п. 4.16 СНиП 2.01.05.85 |
- |
1:15 П 3.48 |
- |
1.7 Обеспечение условий для успешной работы пожарных
Для обеспечения успешной работы пожарных подразделений в случае возникновения пожара при проектировании необходимо предусмотреть следующие мероприятия:
Наличие ограждающий конструкций на кровле п. 4.15 ТКП 45-3.02-90
Один выхода на кровлю п. 2.9 СНиП 2.01.02-85
Ограждение лестниц с учетом п. 2.12 СНиП 2.01.02-85
Обеспечение необходимой ширины подъезда пожарной аварийно-спасательной техники к зданию п. 9.2 СНБ 2.02.04-2004
2. Категорирование здания по взрывопожарной и пожарной опасности
2.2 Определение категории здания по взрывопожарной и пожарной опасности
Таблица 2.2
|
Поз. |
Наименование помещений |
Площадь, м2 |
Категория по НПБ 5-2005 |
Обоснование |
|
А1 |
Отделение подготовки жидкого сырья |
5608 |
В |
По заданию |
|
А2 |
Отделение составления эмалей |
1744.3 |
А |
По заданию |
|
А3-А4 |
Отделение диспергирования |
3092 |
В |
По заданию |
|
А5 |
Отделение фасовки |
3358.8 |
А |
По заданию |
|
А6 |
Отделение подготовки сыпучего сырья |
331.2 |
Д |
По заданию |
|
Промежуточный склад гоовой продукции |
1656 |
Б |
По заданию |
|
|
Бойлерная |
220.8 |
Д |
п 3.2 НПБ 5-2005 |
|
|
Венткамера |
220.8 |
В |
п 3.2 НПБ 5-2005 |
Таблица 2.3
Категория здания по взрывопожарной и пожарной опасности
|
Категория помещений |
Суммарная площадь, м2 |
В процентах от суммарной площади |
Вывод |
|
А |
4355.3 |
28.1 |
Так как площадь помещений категории А более 1000 м2 и более 25%, то здание относится к категории А. (п. 10.1) НПБ 5-2005 Категорирование помещений, зданий и наружных установок по взрывопожарной и пожарной опасности |
|
Б |
1656 |
10.6 |
|
|
В |
8929.5 |
57.6 |
|
|
Д |
551 |
3.7 |
|
|
Итого: |
15491.8 |
100 |
Вывод: производственное здание относится к категории А по взрывопожарной и пожарной опасности. Так как здание не оборудовано автоматическими установками пожаротушения, а суммарная площадь всех помещений категории А превышает 200м2, что составлят более 5% суммарной площади всех помещений. П 10.1 НПБ5-2005 Категорирование помещений, зданий и наружных установок по взрывопожарной и пожарной опасности.
3. Проектирование конструктивной противопожарной защиты здания
3.1 Определение требуемой огнестойкости конструкций.
Таблица 3.1.
|
Вид конструкции |
Предел огнестойкости |
КПО |
Обоснование |
|
ПРОИЗВОДСТВЕННОЕ ЗДАНИЕ |
|||
|
Колонны |
REI 120 |
КО |
п. 4.14. СНБ-2.02.01-98 Пожарно-техническая классиикация зданий, строительных конструкций и материалов |
|
Наружние не несущие стены |
EI30 |
КО |
|
|
Плиты перекрытия междуэтажные |
REI 60 |
КО |
|
|
Балки покрытия и перекрытия |
RЕ30 |
КО |
|
|
Внутренние стены ЛК |
REI 120 |
КО |
|
|
Лестничные марши и площадки |
R60 |
КО |
|
|
АДМИНИСТРАТИВНО-БЫТОВОЙ КОМПЛЕКС |
|||
|
Стены несущие |
REI 15 |
К3 |
п. 4.14. СНБ-2.02.01-98 Пожарно-техническая классиикация зданий, строительных конструкций и материалов |
|
Наружние не несущие стены |
EI 15 |
К3 |
|
|
Внутренние стены ЛК |
REI 30 |
К1 |
|
|
Балки покрытия и перекрытия |
R 10 |
К3 |
|
|
Лестничные марши и площадки |
R 15 |
К2 |
3.2 Определение минимальных параметров основных строительных конструкций.
Основные параметры строительных конструкций
Таблица 3.2.
|
№ |
Вид конструкции |
Материал |
Минимальные параметры мм |
Обоснование |
|
|
ПРОИЗВОДСТВЕННОЕ ЗДАНИЕ |
|||||
|
1 |
Колонна |
Ж\Б |
250\40 |
П 6.11 |
ТКП-45.2.02.110-2008 |
|
2 |
Стены не несущие и перегородки |
Ж\Б |
120\25 |
П 6.12 |
|
|
3 |
Балки покрытия и перекрытия |
Ж\Б |
120\25 |
П 6.14 |
|
|
4 |
Плиты перекрытия |
Ж\Б |
Многопустотн. Расстояние до оси арматуры 25. |
П 6.15 |
|
|
АДМИНИСТРАТИВНО-БЫТОВОЙ КОМПЛЕКС |
|||||
|
1 |
Стена несущая |
Кирпич селикатный |
250 |
А1 |
ТКП-45.2.02.110-2008 |
|
2 |
Перегородки |
65 |
А1 |
||
|
3 |
Балки покрытия |
Ж\Б |
80\25 |
П 6.14 |
|
|
4 |
Плиты перекрытия и покрытия |
Ж\Б |
Многопустотн. Расстояние до оси арматуры 25. |
П 6.15 |
3.3 Проектирование конструктивных решений к полам и кровлям.
Полы проектируются по СНиП 2.03.13—88 «Полы».
Таблица 3.3
|
Наименование помещения |
Тип пола |
Обоснование |
Примечание |
|
|
Отделение диспергирования |
Цементно-бетонный |
П 2.2 |
Класс бетона В-30, толщина 30 мм |
|
|
Отделение фасовки |
Цементно-бетонный |
П 2.2 |
Класс бетона В-22.5, толщина 30 мм |
|
|
Участок подготовки сыпучего сырья |
Цементно-бетонный |
П 2.2 |
Класс бетона В-30, толщина 30 мм |
|
|
Венткамера |
Цементно-бетонный |
П 2.2 |
Класс бетона В-22,5 толщина 30 мм |
|
|
Бойлерная |
Керамическая плитка |
П1 2.3 |
Прослойка из мелкозернистого бетона В30 |
|
|
Промежуточный склад готовой продукции |
Цементно-бетонный |
П 2.2 |
Класс бетона В-22,5 толщина 30 мм |
|
|
Отделение составления эмалей |
Цементно-бетонный |
П 2.2 |
Класс бетона В-22,5толщина 30 мм |
|
|
Отделение подготовки жидкого сырья |
Цементно-бетонный |
П 2.2 |
Класс бетона В-30, толщина 30 мм |
|
|
Электрощитовая |
Цементно-бетонный |
П 2.2 |
Класс бетона В-22.5, толщина 30 мм |
|
|
Коридор |
Колотые мраморные плиты |
|||
|
Конференц зал |
Паркетный |
Паркетные щиты из древесины дуба |
||
|
Рабочие кабинеты |
Ленолеум |
По деревянному настилу |
||
|
Помещение для лифтового оборудования |
Цементно-бетонный |
П1 2.3 |
Класс бетона В-22,5 толщина 30 мм |
Полы в помещениях категории А и Б по взрывопожарной и пожарной опасности спроектированы искронедающими в соответствии с п7.7 ППБ 1.01-94 Общие правила пожарной безопасности Республики Беларусь для промышленных предприятий.
К
РОВЛЯ
Уклон крвли 1о
Тип кровли – Рулонная
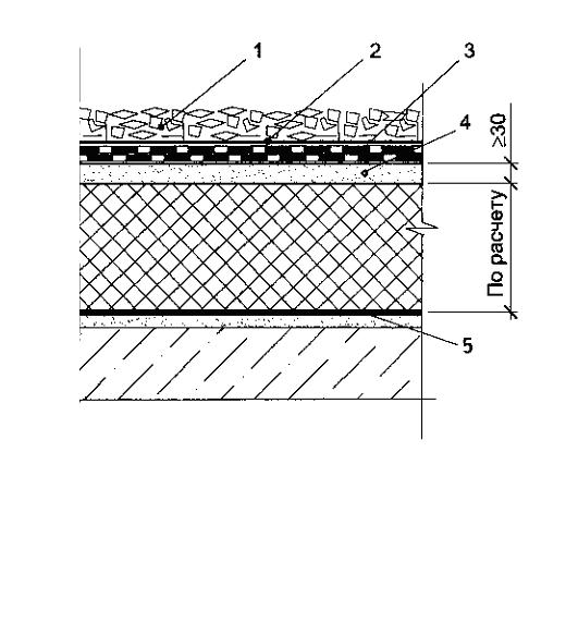
Для пропуска шахт через кровли на несущие плиты или настилы следут устонавливать Ж/Б стаканы с высотой не менее 300мм выше поверхности кровли. При сплошной наклейке водоизаляционного ковра кровли дополнительные подстилающие слои примыкания на ширину кровли не менее 350мм. Причем при 2-х дополнительных нижних слоях первый следует укладывать на ширину не менее 500мм, а второй не менее 350мм.
П 5.39; 5.49; СНБ 5.08.01-2000.
3.4 Проектирование противопожарных преград
|
Предел огнестойкости, мин |
Материал |
Минимальные параметры |
Обоснование |
Дополнительные требования |
Серия для стандартных изделий |
|
1 |
2 |
3 |
4 |
5 |
6 |
|
Противопожарная стена 1-го типа |
|||||
|
REI 150 |
Кирпич |
Ширина 120 |
А1 ТКП-45.2.02.110-2008 |
Противопожарные стены должны опираться на фундаменты или фундаментные балки, возвышаться на всю высоту здания, пересекать все конструкции и этажи. |
|
|
Противопожарная перегородка 1-го типа |
|||||
|
REI 45 |
Железобетон |
120\25 |
П 6.12 ТКП-45.2.02.110-2008 |
Противопожарные перегородки в помещениях с подвесными потолками должны разделять пространство над ними не должны иметь не заделанных проемов. |
|
|
Противопожарные перекрытия 2-го типа |
|||||
|
REI 60 |
Железобетон |
Ширина 80, а=25. |
П 6.10 ТКП-45.2.02.110-2008 |
Противопожарные перекрытия должны прилегать к наружным стенам из негорючих материалов, без зазоров. Не должны иметь не заделанных проемов. |
|
|
Противопожарная дверь 2-го типа |
|||||
|
EI 30 |
Полотнище из древесины толщиной 30мм,с двух сторон покрывается слоем асбеста толщиной 5 мм и обливается кровельной сталью внахлест Дверная коробка изготавливается аналогично. |
Табл. 14 п.п 39[15] |
Дверь оборудуется устройствами для самозакрывания и уплотнения в притворах. |
Размеры тамбур-шлюза: ширину следует принимать больше ширины проема не менее чем на 0.5м (по 0.25м с каждой стороны), а глубину - более ширины дверного или воротного полотна на 0.2м, но не менее чем 1.2м п 3.19. СНБ-2.02.02-01
3.5 Проектирование противовзрывной защиты здания
3.5.1 Расчет требуемой площади легкосбрасываемых конструкций
Определение параметров ЛСК осуществлялось по методике ТКП 45-2.02-38-2006 «Расчет легкосбрасываемых конструкций». Производим расчет параметров ЛСК для помещения отделения составления эмалей, объемом 5967,36 м3, где обращается 12 кг гексана. Заполнение оконных проемов – переплеты с двойными стеклами h=5мм. При аварии происходит выброс 12кг гексана, максимальная температура воздуха 350С. Скорость потока воздуха в помещении – 1 м/с, давление 0,1МПа. В качестве расчетного региона – г. Минск. Согласно примечаниям 4 и 6 к табл.1 ТКП 45-2.02-38-2006 принимается, что оборудование и строительные конструкции занимают 20 % геометрического объема здания, причем 60% занимают крупногабаритные строительные конструкции и оборудование, а 40% - малогабаритные строительные конструкции и оборудование.
Максимальная нормальная скорость распространения пламени принимается равной 0,385 м/с, молярная масса 86.177, плотность 654.8 кг/м3. (ТКП 45-2.02-38-2006 «Расчет легкосбрасываемых конструкций»)
Определяем объем пролившейся жидкости:
V>ж>=m>ж>/ρ>ж>=12/654.8=0,0183м3 (3.1)
m>ж >– Масса жидкости обращающаяся в производстве кг
ρ>ж >– плотность жидкости кг/м3
Площадь испарения жидкости согласно п.4.2.4. НПБ 5-2005 определяется исходя из условия, что 1л гексана разливается на 1м2 пола помещения:
S>исп>=v>ж >∙ S>р>=0,02∙ 103 ∙ 1=18.3м2 (3.2)
S>р> -> >площадь испарения м2
Давление насыщенных паров определяется по формуле Антуана:
Pн=10А-В/(Са+tр)=105,99517-1166,274/(223.661+35)=30.64кПа
Интенсивность испарения с поверхности жидкости определяется по формуле:
W=10-6
∙ η ∙
∙
P>н
>(3.3)
где: – коэффициент, принимаемый по таблице 3 НПБ 5-2005 в зависимости от скорости и температуры воздушного потока над поверхностью испарения;
М – молярная масса горючего, кг·кмоль-1;
Р>н> – давление насыщенного пара при расчетной температуре жидкости t>р>, определяемое по справочным данным в соответствии с требованиями п. 2.3, кПа.
W=10-6
∙ 4.6 ∙
∙
30.64=1.3 ∙ 10-3
(3.4)
Масса паров жидкости, поступивших в помещение (п.5.5 НПБ 5-2005) равна массе жидкости, испарившейся с поверхности розлива (m=m>р>). Время полного испарения жидкости определяется по формуле:
Тисп=
(3.5)
Масса горючих паров поступивших в помещение
m>p>=W ∙ F>исп> ∙ Т>исп>=1.3 ∙ 10-3 ∙18.3 ∙ 503.7=11.98 кг (3.6)
Плотность паров жидкости определяется по формуле 2 НПБ 5-2005:

(3.7)
Vo – молярный объем
Объем взрывоопасного помещения определяется по формуле:
м3
(3.8)
Свободный объем помещения определяется согласно п.4.4. НПБ 5-2005:
V>св>=V>пом>-V>обор>=5967.36-5967.36 0.8=4773.8 м3 (3.9)
V>обор >– объем занимаемый оборудованием, при отсутствии данных допускается брать 0.8 V>пом>
В помещении отделения составления эмалей (А2) может образовываться горючая среда с массой горючих паров 11.98 кг.
Р>0>=101,3 кПа, Т>0>=308 К0, v>н.max>=0,387 м/с
Стехеометрическа концентрация паров жидкости и стехеометрический коэффициент кислорода в реакции сгорания определяется по формуле 3 НПБ-5.2005:
(3.10)
где:
= n>c>
+
- стехиометрический коэффициент кислорода
в реакции сгорания;
(3.11)
Коэффициент участия горючего во взрыве для ЛВЖ, нагретых выше температуры вспышки, в соответствии с табл. 2 [НПБ 5.2005] принимается равным 0,3. Избыточное давление взрыва Р для гексана определяется по формуле:
(3.12)
Теоретически принимаем избыточное давление взрыва равное 5кПа, следовательно помещение относится к категории по взрывопожарной и пожарной опасности к А, табл 1 НПБ-5.2005
3.5.2 Определение площади легкосбрасываемых конструкций
Расчетная
нормальная скорость распространения
пламени
определяется по формуле технического
кодекса:
,
(3.13)
где U>н.max> – максимальная нормальная скорость распространения пламени, м/с.
.Значение нижнего конценрационного предела распространения пламени Снкп и стехеометрической концентрации Смах в г/м3 определяем по флрмулам:
(3.14)
(3.15)
Коэффициент, определяющий степень заполнения объема помещения взрывоопасной смесью и ее участие во взрыве определяется по формуле технического кодекса:
,
(3.16)
где m – масса горючего газа или паров жидкости, поступающих в помещение в аварийных ситуациях, или количество пыли, которое может образовать взрывоопасную смесь, кг. Определяется по [НПБ 5-2005];
Z – коэффициент участия горючего во взрыве. Определяется по [НПБ 5-2005];
С>НКП> – массовая концентрация горючего в горючей среде, соответствующая нижнему концентрационному пределу распространения пламени, г/м3;
С>max> – массовая концентрация горючего в горючей среде, соответствующая максимальной нормальной скорости распространения пламени U>н.max>, г/м3.
Степень заполнения объема помещения взрывоопасной смесью определяется по формуле:
(3.17)
Расчетная плотность газа во взрывоопасном помещении перед воспламенением
(3.18)
В качестве ЛСК будет применяться оконный переплет размерами 2110х2710 согласно П.А СТБ 939-93 Окна и балконные двери для зданий и сооружений.

Объем пламени
(3.19)
Объем V>г.пом> определяется исходя из условий:
V>пл><V>пом>
следовательно
V>г.пом>=
V>пл>=713.09м3
Показатель интенсивности взрывного горения определяется по табл 3.2 в зависимости от величины объема, занимающим оборудованием и строительными конструкциями в объеме помещения
Малогоаритное оборудование
(3.20)
Крупногабаритное оборудование
(3.21)
Принимаем 60% занимают КГ оборудование и 40% занимают МГ оборудование
(3.22)
Расчетная степень сжатия продуктов горения при взрыве ε>c> определяется по формуле (9):
(3.23)
где ε>c.НКП> – степень сжатия продуктов горения при взрыве в замкнутом объеме с концентрацией горючего, соответствующей нижнему концентрационному пределу распространения пламени;
ε>c.max> – степень сжатия продуктов горения при взрыве в замкнутом объеме концентрациигорючего, которой соответствует величина U>н.max>
Коэффициент β>μ>, учитывающий степень заполнения объема помещения взрывоопасной газовоздушной смесью определяется по формулам (3.25-3.26) и таблице 3.5.
(3.26)

(3.27)
μ>ν>=0.018
Так как μ>1>< μ>ν ><,μ>2> то β>μ>
.
(3.28)
Коэффициент, учитывающий влияние формы взрывоопасного помещения и эффект истечения продуктов горения взрывоопасной паровоздушной смеси К>ф> определяется по формуле
(3.29)
если h>п> ≥ a>п>,
где а>п> – длина помещения, 76 м;
b>п> – ширина помещения, 24 м;
h>п> – высота помещения, 3.5 м.
Если μ>ν >≤ 0,01 следует принимать К>ф> = 1. Для 0,01< μ>ν >< μ>2> величина К>ф> определяется линейной интерполяцией.
Если величина К>ф> в расчете более 1 или менее 0,35, то значение коэффициента принимаются 1 и 0,35 соответственно.
Значит минимальная площадь легкосбрасываемых конструкций в наружном ограждении помещения равно:
(3.30)
Расчетная скорость распространения пламени U>р> определяется по формуле
(3.31)
Посколько Uр меньше 65 м/с возможно эффективное использование ЛСК для снижения избытачного давления в помещении до величины 5кПа.
Принимаем, что для застекления оконных проемов используется стекло толщиной 5 мм, остекление одинарное
Расчетные размеры стекол определяются по формулам (24, 25) настоящего технического кодекса:
;
(3.32)
.
(3.33)
Площадь стекла S>ст> определяется по формуле
.
(3.34)
Коэффициент λ>ст> определяется по формуле
.
(3.35)
По таблицам 4 и 5 линейной интерполяцией определяются коэффициенты К>SH> и К>λ>:
(3.36)
(3.37)
Величина приведенного давления вскрытия двойного оконного остекления определяется по формуле
(3.38)
Коэффициент вскрытия остекления К>вскр> при взрыве определяется по таблице 3 настоящего технического кодекса линейной интерполяцией:
(3.39)
Площадь ЛСК в наружном ограждении взрывоопасного помещения при использовании двойного остекления определяется по формуле
(3.40)
При отсутствии расчетных данных площадь легкосбрасываемых конструкций должна составлять не менее 0,05 м2 на 1 м3 объема помещения категории А по взрывопожарной и пожарной опасности и не менее 0,03 м2 — помещения категории Б по взрывопожарной и пожарной опасности п 5.6.6 ТКП 45-2.02-92-2007
Таблица 3.5.
|
Поз |
Наименование помещения |
Категория по НПБ 5-2005 |
Объем помещения, м3 |
Переводной коэффициент, м3/м2 |
Площадь ЛСК, м2 |
|
3 |
Отделение фасовки |
А |
11753 |
0,05 |
167.9 |
|
7 |
Промежуточный склад готовой продукции |
Б |
5796 |
0.03 |
50 |
|
8 8 |
Отделение составления эмалей |
А |
5967,36 |
- |
414,25 |
4. Обеспечение безопасности людей при пожаре
4.1 Определение параметров эвакуационных выходов
Таблица 4.1
|
№ |
Наименовании помещения |
Количество эвакуационных выходов |
Ширина и высота дверей, м |
Расстояние до наиболее удаленного рабочего места, м |
Рассредоточенность, м |
|
1 |
Отделение диспергирования |
1 (п. 3.9; 104) СНБ 2.02.02-01 |
2.1х1.9 П.3.105;3.15 СНБ 2.02.02-01 |
62 |
0 |
|
3 |
Отделение фасовки |
2 (п. 3.9; 104) СНБ 2.02.02-01 |
2.1х1.9 П.3.105;3.15 СНБ 2.02.02-01 |
44 |
Lтр=23 Lф=40 |
|
4 |
Бойлерная |
1 (п. 3.9, 3.86;3.13) СНБ 2.02.02-01 |
2.1х0.9 п.3.15 СНБ 2.02.02-01 |
Не нормируется |
0 |
|
6 |
Участок подготовки сыпучего сырья |
1 (п. 3.9, 3.86;) СНБ 2.02.02-01) |
2.1х1.9 П.3.105;3.15 СНБ 2.02.02-01 |
52 |
0 |
|
7 |
Промежуточный склад готовой продукции |
1 (п. 3.9; 104) СНБ 2.02.02-01) |
2.1х1.9 П.3.105;3.15 СНБ 2.02.02-01 |
32 |
0 |
|
Конференц-зал |
2 (п. 3.9;) СНБ 2.02.02-01 (п. |
2.1х1.9 П.3.105;3.15 СНБ 2.02.02-01 |
16 |
Lтр=11.6 Lф=18 |
|
|
8 |
Отделение составления эмалей |
1 (п. 3.9; 104) СНБ 2.02.02-01 |
2.1х1.9 П.3.105;3.15 СНБ 2.02.02-01 |
56 |
0 |
|
9 |
Отделение подготовки жидкого сырья |
2 (п. 3.9; 104) СНБ 2.02.02-01)) |
2.1х1.9 П.3.105;3.15 СНБ 2.02.02-01 |
44 |
Lтр=23 Lф=40 |
|
Кабинеты 12 |
1 (п. 3.9;) СНБ 2.02.02-01 |
2.1х0.9 п.3.15[3] СНБ 2.02.02-01 |
8 |
0 |
|
|
Электрощитовая |
1 (п. 3.9;) СНБ 2.02.02-0 |
2.1х0.9 п.3.15[3] СНБ 2.02.02-01 |
8 |
0 |
|
|
Трансформаторная подстанция |
1 (п. 3.9;) СНБ 2.02.02-0 |
2.1х0.9 п.3.15[3] СНБ 2.02.02-01 |
8 |
0 |
Согласно СНБ 2.02.02-01 (табл. 4) расстояние от двери наиболее удаленного помещения до ближайшего выхода на лестничную клетку составляет 8м. Принимаем наихудший вариант, что в конференц- зале находится 60 человек и в административных кабинетах работают люди. Расстояние между эвакуационными выходами в корилоре АБК составляет 30м, при условии что фактическое расстояние между входами в коридоре АБК VII СО при плотности людского потока до 2 чел./м2 составляет 35м делаем вывод, что длинна путей эвакуации соответствует п3.51. СНБ 2.02.02-01. Ширина путей эвакуации с учетом ширины дверного полотна составляет 2.1м, при требуемой ширине 1.4м делаем вывод, что нирина путей эвакуации соответствует требуемым значениям п.3.47 СНБ 2.02.02-01
Для конференц- зала предусматрены 2 эвакуационных выхода, в соответствии с п.3.9 СНБ 2.02.02-01. Ширина двери составляет 1.9 м, в соответствиис п.3.47. СНБ 2.02.02-01 минимальная ширина двери должна составлять 0.9 м делаем вывод, что ширина дверных проемов соответствует нормируемой.
4.2 Определение параметров путей эвакуации
Параметры путей эвакуации
Таблица 4.2
|
№ |
Наименовании помещения |
Ширина наибольшего выхода из помещений, м |
Ширина и высота коридора, мм |
Расстояние до наиболее удаленного рабочего места, м |
Количество выходов из коридора |
|
1 |
Коридор 2-ого этажа административного корпуса |
2.1 |
400/350 |
- |
2 выхода через лестничную клетку 1-ого типа п.3.106 СНБ 2.02.02-01 |
Двери из помещений: цеха составления эмалей, промежуточный склада готовой продукции, отделения диспергирования, отделения составления сыпучего сырья, отделения фасовки открываются по ходу движения эвакуации в соответствии с п.3.13 СНБ 2.02.02-01. Из помещений бойлерной, венткамеры и электрощитовой открываются вовнутрь (помещение с одновременным пребыванием менее 15 чел) п.3.13 СНБ 2.02.02-01. При движении людей предусмотрены мероприятия предусматривающие проскальзывание в соответствии с п.3.20м СНБ 2.02.02-01. Между маршами лестниц предусмотрен зазор величиной 0.05м п 3.33 СНБ 2.02.02-01
Инженерно-технические решения
4.2.1 Аварийное освещение
|
№ п/п |
Наименование помещения |
Основания |
Обоснование |
Вид системы |
|
1 |
Лестничные клетки АБК |
Служат для эвакуации более 50 человек |
П 6.62 СНБ 2.04.05 |
Аварийное освещение безопасности |
|
2 |
Коридоры АБК |
Служат для эвакуации более 50 человек |
П 6.62 СНБ 2.04.05 |
Аварийное освещение безопасности |
|
3 |
Производственные помещения |
опасность травматизма из-за продолжения работы производственного оборудования; |
П 6.62 СНБ 2.04.05 |
Аварийное освещение безопасности |
Для аварийного освещения эвакуации применяют люминисцентые лампы на основании п 6.64, а именно в помещении с минимальной температурой воздуха не менее 50С при условии питания ламп во всех режимах напяжения не ниже 90% номинального. Светильники эвакуационного освещения должны быть присоеденены к сети, не зависящей от счита подстанции. Эвакуационное освещение должно обеспечивать наименьшую освещенность на полу основных проходов (или на земле) и на ступенях лестниц: в помещениях 0,5 лк, на открытых территориях 0,2 лк. Светильники освещения безопасности в помещениях могут использоваться для эвакуационного освещения. В общественных, административных и бытовых зданиях предприятий выходы из помещений, где могут находиться одновременно 100 чел., а также выходы из производственных помещений без естественного света, где могут находиться одновременно более 50 чел., или имеющих площадь более 150 м2, должны быть отмечены указателями.
2Система оповещения о пожаре
В административно-бытовой части здания устройство системы оповещения при пожаре не требуется (табл. 13 СНБ 2.02.02-01)..
В производственном здании категории А по взрывопожарной и пожарной опасности с числом этажей 3 устраивается система оповещения о пожаре 2-го типа (СО-2) (табл. 13 СНБ 2.02.02-01) Оповещение производится одновременно во всех помещениях здания с использованием звуковой сигнализации, световых сигналов и световых табличек «Выход».
Запуск системы оповещения производится автоматически от щита управления системы пожарной автоматики.В помещениях категорий А, Б по взрывопожарной и пожарной опасности система оповещения о пожаре блокирует технологическое оборудование. Система оповещения людей при пожаре в производственной части здания сосвмещена с селекторной связью
Для территории объекта необходимо устраивать систему оповещения о пожаре 3-го типа (СО-3) (табл. 13 СНБ 2.02.02-01). Оповещение производится звуковым сигналом с использованием звукового сигнала, в зоне оповещения установлена связь с диспетчерской.
Б.1. СНБ 2.02.02-2001.
4.3 Расчет необходимого времени эвакуации людей из конференц зала
4.3.1.Расчет необходимого времени эвакуации производится для наиболее опасного варианта развития пожара, характеризующийся наибольшим ростом нарастанию ОФП в пассматриваемом помещении. Материал отделки путей эвакуации – древесина.
Расчет размерного комплекса В:
(4.1)
удельная
изобарная теплоемкость газа, кДж/кг К;
;
свободный
объем помещения, м3;
низшая
теплота сгорания гексана,

коэффициент
полноты горения, равен

коэффициент
теплопотерь, при отсутствии данных
допускается принимать

Расчет размерного параметра А
n = 3 (4.2)
где υ- линейная скорость распространения пламени, по таблице 4.5 равна 1.5м/мин;
ψ>F> – удельная массовая скорость выгорания, кг/м2 с. По таблице 3.4, для древесины при влажности 8…10% равна 0.0014 кг/м2 с.
Расчет безразмерного параметра Z
Z- безразмерный параметр, учитывающий неравномерность распределения опасных факторов пожара по высоте помещения:
(4.3)
где h- высота рабочей зоны, метров по расчете принимаем 1.7м
H- высота помещения, метров.
Расчет критической продолжительности пожара по повышенной температуре
(4.4)
Где tо – начальная температура воздуха в помещении
N – показатель степени, учитываюий изменение массы выгораюего материала
Расчет криической продолжительности пожара по потере видимости.
(4.5)
где α – коэффициент отражения предметов на путях эвакуации. При отсутствии специальных данных принимаем α = 0.3;
Lпр- предельная видимость в дыму, м. При отсутствии специальных данных Lпр = 20 м.
Дm- дымообразующая способность горящего материала по таблице 3.6 равна 23.
Е- начальная освещенность, лк. При отсутствии специальных требований значений, принимаем 50 лк.
Расчет криической продолжительности пожара по пониженному
содержанию кислорода.
(4.6)
где Lo>2> – удельный расход кислорода при горении вещества, кг/кг. По таблице 3.9 принимаем 1.26 кг/кг.
Расчет криической продолжительности пожара по каждому из газообразных продуктов горения
(4.7)
Под знаком логарифма получается отрицательное число, то данный опасный фактор пожара не представляет собой опасность
где L – удельный выход токсичных газов при сгорании 1 кг материала. По таблице 3.7 для СО>2> равен 1.51 кг/кг.
Х – предельно допустимое содержание токсичного газа в помещении. По таблице 3.8 принимаем Х>со2>= 0.11 кг/м3.
Lco = 0.024 кг/кг; Хсо = 0.00116 кг/кг.
(4.8)
Под знаком логарифма получается отрицательное число, то данный опасный фактор пожара не представляет собой опасность
Расчет необходимого времени эвакуации
=
72.5 с =1.2 мин; (4.9)
.
4.4 Расчет времени эвакуации

Схема эвакуации для конференц зала. Рис 1
Маршруты эвакуации:
М1=1-2-3
М2=4-5-6
М3=1-3
М4=4-6
Так как маршруты М1, М2 соответственно равны, то необходимое время эвакуации достаточно рассчитать толькоодного из двух маршрутов.
Расчетные данные:
L>1>=6м >1>=2.8м
L>2>=8м >2>=5.2м
L>3>=0м >3>=3м
L>5>=0м >5>=2,1м
По условию принимаем, что в конференц зале находится наибольшее число человек равномерно распределенное за столом, к количестве равном 60 человек. На участке 1 находятся 12 чел, на участке 2, 6 чел.
Плотность потока на 1-ом участке определяем по формуле:
(4.10)
где N>1> – количество людей в потоке на участке 1;
f- площадь горизонтальной проекции одного человека, принимаем 0.1 м2;
L- длина участка, м;
δ- ширина участка, м.
По таблице 4.1 методического пособия, скорость движения людей равна 93.5 м/мин., а интенсивность q равна 6.3 м/мин. Время эвакуации на участке 1 составит
(4.11)
Параметры эвакуации на 2-ом участке:
(4.12)
По таблице 4.1 скорость движения людей равна 100 м/мин., а интенсивность q равна 1,4 м/мин. Время эвакуации на участке 2 составит

На участке 2 произойдет слияние 1-го, 2-го, потоков:
(4.13)
Так как q’>2 ><q>max >то задержка на данном этапе эвакуации происходить не будет.
Методом линейной интерполяции по таблице 4.1, определим скорость и время эвакуации методическому пособию по выполнению практических и самостоятельных работ по дисциплине пожарная безопасность строительства.



(4.14)
Ачасток 3 – дверной проем.

(4.15)
Призводим проверку возможности образования задержки:
Так как q>3 ><q>max >то задержка на данном этапе эвакуации происходить не будет.
Необхоимое время эвакуации на маршрутах М1 и М2 составляет 8.64с.
Производим анализ результатов.
Для успешной и безопасной эвакуации людей из помещения необходимо соблюдения условия t>расч>< t>необх >→8.64 <72.5 Условие безопасности выполняется.
4.5 Расчет необходимого времени эвакуации для отделения составления эмалей
Расчет необходимого времени эвакуации.
Расчет необходимого времени эвакуации производится для наиболее опасного варианта развития пожара, характеризующийся наибольшим ростом нарастанию ОФП в пассматриваемом помещении.
Расчет размерного комплекса В:
(4.16)
удельная
изобарная теплоемкость газа, кДж/кг К;
;
свободный
объем помещения, м3;
низшая
теплота сгорания материала,

коэффициент
полноты горения, равен

коэффициент
теплопотерь, при отсутствии данных
допускается принимать

Расчет размерного параметра А
n = 3 (4.16)
где υ- линейная скорость распространения пламени, по таблице 4.5 равна 5м/мин;
ψ>F> – удельная массовая скорость выгорания, кг/м2 с. По таблице 3.4, для древесины при влажности 8…10% равна 0.0014 кг/м2 с.
Расчет безразмерного параметра Z
Z- безразмерный параметр, учитывающий неравномерность распределения опасных факторов пожара по высоте помещения:
(4.17)
где h- высота рабочей зоны, метров по расчете принимаем 1.7м
H- высота помещения, метров.
Расчет критической продолжительности пожара по повышенной температуре
(4.18)
Где tо – начальная температура воздуха в помещении
N – показатель степени, учитываюий изменение массы выгораюего материала
Расчет криической продолжительности пожара по потере видимости.
(4.19)
где α – коэффициент отражения предметов на путях эвакуации. При отсутствии специальных данных принимаем α = 0.3;
Lпр- предельная видимость в дыму, м. При отсутствии специальных данных Lпр = 20 м.
Дm- дымообразующая способность горящего материала по таблице 3.6 равна 23.
Е- начальная освещенность, лк. При отсутствии специальных требований значений, принимаем 50 лк.
Расчет криической продолжительности пожара по пониженному содержанию кислорода.
(4.20)
где Lo>2> – удельный расход кислорода при горении вещества, кг/кг. По таблице 3.9 принимаем 1.26 кг/кг.
Расчет криической продолжительности пожара по каждому из газообразных продуктов горения
(4.20)
ггде L – удельный выход токсичных газов при сгорании 1 кг материала. По таблице 3.7 для СО>2> равен 1.51 кг/кг.
Х – предельно допустимое содержание токсичного газа в помещении. По таблице 3.8 принимаем Х>со2>= 0.11 кг/м3.
Под знаком логарифма получается отрицательное число, то данный опасный фактор пожара не представляет собой опасность
Lco = 0.024 кг/кг; Хсо = 0.00116 кг/кг.
(4.21)
Под знаком логарифма получается отрицательное число, то данный опасный фактор пожара не представляет собой опасность
Расчет необходимого времени эвакуации
=
174.9с=2.9минут; (4.22)
.
4.6 Расчет необходимого времени эвакуации

Схема эвакуации. Рис 2
Маршруты эвакуации:
М1=1-3-4
М2=2-3-4
Так как зона 1, 2 соответственно равны, то необходимое время эвакуации достаточно рассчитать только одной из двух.
Расчетные данные:
L>1>=31.6м >1>=2.м
L>2>=31.6м >2>=2м
L>3>=2м >3>=2.8м
L>4>=0м >4>=2м
По условию принимаем, что в отделе составления эмалей находится наибольшее число человек равномерно распределенное по цеху, в количестве равном 2 человека. На участке 1 находятся 1 чел, на участке 2-1 чел.
Плотность потока на 1-ом участке определяем по формуле:
(4.23)
где N>1> – количество людей в потоке на участке 1;
f- площадь горизонтальной проекции одного человека, принимаем 0.1 м2;
L- длина участка, м;
δ- ширина участка, м.
По таблице 4.1 методического пособия, скорость движения людей равна 100 м/мин., а интенсивность q равна 1 м/мин. Время эвакуации на участке 1 составит
(4.24)
Параметры эвакуации на 2-ом участке идентичны параметрам эвакуации на первом участке.
(4.25)
Так как q>3 ><q>max >то задержка на данном этапе эвакуации происходить не будет.
Методом линейной интерполяции по таблице 4.1, определим скорость и время эвакуации:


(4.26)
Ачасток 5 – дверной проем.

(4.27)
Призводим проверку возможности образования задержки:
Так как q>3 ><q>max >то задержка на данном этапе эвакуации происходить не будет.
Необхоимое время эвакуации на маршрутах М1 и М2 составляет 18.6с.
Производим анализ результатов.
Для успешной и безопасной эвакуации людей из помещения необходимо соблюдения условия t>расч>< t>неох >→ 18.6<156 Условие безопасности выполняется.
5. Проектирование противодымной защиты здания
5.1 Расчет времени задымления отделения составления эмалей
Рассчитать систему противодымной вентиляции для отделения составления эмалей расположенного на втором этаже производственного здания
Расход дыма подлежащего удалению

(5.1)
где В – ширина наибольшей части из откраваемых створок
n – коэффициент, зависящей от обей ширины больших створок
У- уровень нижней границы дыма, принимаемый для помещений У=2.5 (п.8.8 [13]);
Н- высота двери, м;
К>Д>=0.8 – коэффициент полноты и продолжительности открывания дверей
Площадь проходного сечения клапана определяется по массовой скорости дыма:
(5.2)
Где
-
массовая скорость прохождения дыма
кг/с м2
В установке принимае дымовой клапан КПД-5 со свободным проходным сечением 0.2м2. Массовая скорость дыма в клапане составит
(5.3)
Динамическое давление потока определяется по ормуле:
(5.4)
где
-
плотность продуктов горения кг/м3
Потери давления на дымовом клапане
(5.6)
Где
- коэффициент сопротивления входа в
дымовой клапан и далее в дымовую шахту
- 0.2 коэициент
сопротивления присоединения дымового
клапана к шахте или к ответвлению
-
поправочный коэффициент местных
сапротивлений принимается по табл 5.5.
В расчете принимается дымовая шахта
сечением 0.25м2.
Массовая
скорость движения в сечении шахты
составит:
кг/с
м (5.7)
Скоростное
давление на первом участке
Па
Потери давления в ртветвлении к дымовому клапону
Па
(5.8)
Где Ктр – коэффициент трения, определяемый в зависимости от температуры дыма по табл 5.5
Н – Потери давления на трение, определяется по табл 5.6
Км – 1.7 коэициент материала воздухавода, принят по бетону
L – длина участка.
Общие потери на первом участке с учетом потерь на трение составит
(5.9)
Расход воздуха через неплотности дымового клапана на втором этаже равен:
(5.11)
Ак - плоадь проходного сечения клапана м2
дРа – разность давлений по обе стороны от клапана, Па

Плотность смеси газов в устье шахты определяется:
(5.12)
Где Nf – номер верхнего этажа здания или номер последнего участка до вентилятора, на котором установлен дымовой клапан.
Расход газов в устье шахт определяется по формуле:
(5.13)
Массовая скорость газов в устье шахты
,
а динамическое движение потока
(5.14)
Определяем коэффициент сопротивления шахты начиная со второго участка до устья:
(5.16)
Потери давления в шахте:
(5.17)
Где 1 –длина шахты
- динамическое
давление на первом участке и в устье
шахты, Па
Nf – номер верхнего этажа здания или номер до последнего частка вентилятора
Потери давления в воздуховодах, присоединяюих дымовую шахту к вентилятору и после вентилятора, определяется по ормуле:
(5.18)
Где Ктр =9.6 – Коэффициент трения определяется исходя из температуры дыма по табл 5.5
Н – потери давления на трение. Табл 5.6
Км – коэффициент материала воздуховода
1 – длина учатка воздуховода
- динамическое
давление на участке
- 1.88, сумма
призведений местныхсопротивлений на
участках до и после вентилятора до
выпуска дымовых газов в атмосеру
Подсосы воздуха через неплотности шахты определяетсе по ормуле:
(5.19)
Где
Gпп – удельный подсос воздуха через
неплотности воздухавода, табл 5.8 классП
Gпп – удельный подсос воздуха через неплотности воздухавода, табл 5.8 классН
Рн
и Рп – периметр внутреннего поперечного
сечения шахт и воздуховодов.
Удельное поступления воздуха через не плотности шахты приняты с попракой 1.1 на прямоугольное сечение
Общий расход газов составит Gсум=Gу+Gп=1.62+0.015=1.64 кг/с
К= Gсум/ Gу=1.64/1.6=1.025
Авеличение расхода газа
К>1>=(1+К2)/2=(1+1.0252)/2=1.025раза (5.20)
Общие потери давления по формуле
Рсум=(Ру+Рв)К>1>=(186.08+106.23)1.025=299.6Па (5.21)
Плотность газов перед вентилятором:
(5.22)
Температура газов по формуле:

(5.23)
Естественное давление газов при суммарной высоте шахты до вентилятора 7м, после вентилятора 4м, при удельном весе наружного воздуха Ун=9.81*0.92=9.02Н/м3
Уст=4.9(0.41+0.61)=4.99 Н/м3 (5.24)
(5.25)
Потери давления, на которую должен быть рассчитана мощность вентилятора по статическому давлению определяется по формуле:
(5.26)
Расход (производительность), на которую должен быть рассчитан вентилятор, определяется по формуле:


(5.27)
Условное статическое давление составит:
(5.29)
Таким образом, шахта дымоудаления должна иметь поперечное сечение 0.25м3. В помещении устонавливается 3 клапанов КПД-5 с поперечным сечением 0.2м2. Для системы принимать радиальный вентилятор ВР-300-45-2К1Ж
5.2 Расчет противодымной системы вентиляции для коридоров административно-бытового комплекса
Коридор АБК имеет размеры 30х4х3.5. коридор не оборудован установками аварийного пожаротушения. Освещение производится через оконные фрамуги расположенные на высоте 0.8м от уровня пола, высота фрамуг 1.8м. В соответствии с п 4.14. СНБ-2.02.02-2001 дымоудаление не требуется.
Для удаления дыма из помещения следует равномерно разместить фрамуги, защищаемое расстояние одной фрамуги составляет 15 м во все стороны. Площадь одной фрамуги составляет 1.8м2
Таблица 5.1
|
Позиция |
Наименование помещения |
Категория по НПБ-5.2005 |
Вид дымоудаляющего устройства |
Обоснования |
|
8 |
Отделение составления эмалей |
А |
Клапана с дивлекторами КПД-5, вентилятор ВР-300-45-2К1Ж |
П8.2 СНБ-4.02.01-2003 |
|
14 |
Коридор АБК |
- |
Не требуется |
П.4.14 СНБ-4.02.01-2003 |
6. Проектирование противопожарной защиты инженерного оборудования
6.1 Обеспечение пожаровзрывобезопасности систем общеобменной вентиляции
6.1.1 Проектирование систем приточно- вытяжной вентиляции
Таблица 6.1
|
№ |
Наименование помещений |
Категория по НПБ 5- 2005 |
Вид системы вентиляции в помещении |
Обоснование |
|
1 |
Отделение диспергироваия |
В |
Вытяжная естественная, приточная с искусственным побуждением |
п.7.30 СНБ 4.02.01-03 |
|
3 |
Отделение фасовки |
А |
С-мы общеобменной вентиляции с искусств. Побуждением с резервным вентилятором |
п.7.20, п.7.35 СНБ 4.02.01-03 |
|
5 |
Венткамера |
Д |
Приточная вентиляция с искусственным побуждением |
п.7.106 СНБ 4.02.01-03 |
|
7 |
Промежуточный склад готовой продукции |
Б |
Приточно-вытяжная вентиляция с искусств. побуждением побуждением с одним резервным вентилятором |
п.7.20, п.7.35 СНБ 4.02.01-03 |
|
8 |
Отделение составления эмалей |
А |
Приточно-вытяжная вентиляция с искусств. побуждением побуждением с одним резервным вентилятором |
п.7.20, п.7.35 СНБ 4.02.01-03 |
|
9 |
Отделение подготовки жидкого сырья |
В |
Вытяжная естественная, приточная с искусственным побуждением |
п.7.30 СНБ 4.02.01-03 |
6.2 Помещения для вентиляционного оборудования
|
Поз |
Наименование помещения |
Категория по НПБ-5.2005 |
Номера с-м вентиляции |
Необходимость вентиляции в ВК |
Дополнительные требоваеия |
|
4.1 |
В.К. приточная |
В |
П1.П3 |
Приточная искусственная вентиляция с двукратным воздухообменом п 7.106. СНБ 4.02.01-03 |
Высоту помеений для вентиляционного оборудования следует предусматривать на 0.8 м выше высоты оборудования. П.7.104 СНБ 4.02.01-03 |
|
4.2 |
В.К. приточная |
В |
П2 |
6.3 Разработка требований к системам отопления
|
Поз |
Наименование помещения |
Вид отопления |
Дополнительные требования |
|
1 |
Отд. диспергирования |
Водяное при температуре теплоносителя воды 1100С, в помещении категорий А и Б, 1300С в помещении категории В |
Температуру теплоносителя следует принимать не менее чем на 20% ниже температуры самовоспламенения веществ находящихся в помещении П.6.8;6.18;6.42 СНБ 4.02.01-03 |
|
3 |
Отд. фасовки |
||
|
5 |
В,К |
||
|
7 |
Склад ГП |
||
|
8 |
Отд. составления эмалей |
||
|
Лестничные клетки. |
Водяное с радиаторами и гладкими трубами при температуре воды 1500С, |
Допускается установка на высоте свыше 2.2м п 3.32 СНБ 2.02.02-2001 |
|
|
4 |
Бойлерная |
Водяное с радиаторами и гладкими трубами при температуре воды 1500С, |
П 6.15 СНБ 4.02.01-03 |
|
6 |
Участок подготовки сыпучего сырья |
||
|
12 |
Рабочие кабинеты |
Водяные нагревательные элементы встроенные в полы |
Температуру теплоносителя следует принимать не менее чем на 20% находящихся в помещении П.6.18 СНБ 2.02.02-2001 |
|
13 |
Конференц зал |
7. Расчет необходимого количества сил и средств на тушение пожара
Расчет необходимого количества сил и средств определяется по НПБ-64.2002.
Расчетная площадь тушения пожара определяется исходя из площади розлива. Площадь розлива определяется по п.4.2.4. НПБ 5-2005. 1л жидкости разливается на 1м2 поверхности, следовательно площадь пожара составляет 20м2.
Время свободного развития пожара рассчитывается по формуле:
>св.р.> = >д.с.> + >сб.> + >сл.> + >б.р >=10+1+4.5+6=21.5мин>.> (7.1)
где: >д.с.> - время до сообщения о пожаре, принимается равным 10 мин;
>сб.> - время сбора и выезда подразделения по тревоге, принимаемое равным 1 мин;
>сл.> - время следования подразделения на автомобилях к месту пожара по кратчайшему маршруту (мин), определяемое по формуле:
>б.р.> - время боевого развертывания подразделения до момента ввода средств на тушение пожара (мин), определяемое по формуле:
время следования подразделения на автомобилях к месту пожара по кратчайшему маршруту (мин), определяемое по формуле:
(7.2)
где: L - расстояние от места дислокации подразделения до места пожара (км);
V>дв>>.> - средняя скорость движения автомобиля, принимаемая 30 км/>ч> при его следовании по территории организации и 40 км/>ч> – вне территории организации;
(7.3)
где: n – количество этажей отсека.
7.2 Порядок расчета требуемого количества приборов тушения для тушения пожаров
Требуемое количество пенных стволов или генераторов для тушения по площади определяют по формуле:
(7.4)
где: Qт>тр,р-р> – требуемый расход раствора пенообразователя для тушения пожара (л/>с>);
Q р-р>ств> – производительность пенного ствола или генератора по раствору (л/>с>) принимается согласно приложению 6 к НПБ 64–2002
Iр-р>тр> – требуемая интенсивность подачи раствора пенообразователя для тушения жидкости, принимаемая 0,08 л/>с >>>> м>2 – для нефтепродуктов с температурой вспышки ниже 28 С (бензин, лигроин, керосин тракторный и другие вещества) Так как температура вспышки гексана 230С то Iр-р>тр>=0.08 м/с м2
7.3 Расчет расхода стволов на защиту
Так как площадь пожара 20м2 и при расчете рассматиривается наихудший вариант, то рассматриваем пожар в центре помещения. При расчетном времени 21.5 мин фронт пламени не дойдет до несущих стен и перегорок, следовательно подавать водяные стволы на защиту необходимо с нижележащих и вышележаших этажей.
(7.5)
где: П>з> - параметр защиты, м, м2;
Jз>тр> - требуемая интенсивность подачи воды на охлаждение (л/>(с >>>> м>2>)>, л/>(с >>>> м)>) принимается равной== 0,25 Jт>тр>– для зданий
Рассчитываем количество стволов на защиту:
(7.6)
Следовательно принимаем на защиту 2 ствола РС-70 с расходом 7 л/с
Общую численность личного состава для тушения пожаров определяют по формуле:
N>личн.сост>
=
,
(7.8)
где: Z – количество видов выполняемых работ;
k – количество людей, занятых выполнением данного вида работы, принимаемое согласно приложению 8 НПБ 64–2002
На защиту – 4 чел (2 чел на один ствол)
Установка выдвижной трехколенной лестницы – 2 чел
Разведка пожара с последующим тушением – 3 чел
Пост безопасности – 1 чел
Эвакуация материальных ценностей – 3 чел
Расчет общего количества отделений:
(7.9)
N>личн.сост> – требуемая численность личного состава для тушения пожара без учета привлечения других сил (рабочих, служащих, организованного населения, воинских подразделений и других);
Л – численность личного состава одного отделения, принимаемая по тактико-техническим характеристикам аварийно-спасательной техники
8. Разработка требований к размещению здания на местности
8.1 Мероприятия по размещению объекта на местности
Таблица 8.1
|
№ |
Мероприятия |
Исполнение |
Обоснование |
|
1 |
Количество выездов и расстояние между ними |
2 въезда на территорию. Расстояние между данными въездами не должно превышать 0.5 км. |
п.9.6 СНБ 2.02.04-2003 |
|
2 |
Ширина ворот въездов на территорию объекта |
Ширина принимается 3м по наибольшей ширине пожарных автомобилей, имеющихся в подразделении МЧС. Ворота автомобильных въездов на площадку предприятия должны быть, как правило, распашными. Электрический привод открывания ворот должен дублироваться независимым механическим (ручным) приводом. |
п.9.7 СНБ 2.02.04-2003 Б6.СТБ 1138-98. |
|
3 |
Подъезды к зданиям |
К зданиям и сооружениям промышленных предприятий обеспечен подъезд пожарной аварийно-спасательной техники: с одной стороны – при ширине здания или сооружения до 18 м и с двух продольных сторон – при ширине более 18 м |
п.9.2 СНБ 2.02.04-2003 |
|
4 |
Расстояние от подъезда до здания |
Расстояние от края проезжей части автодороги до крайней оси производственных зданий и сооружений 30 м. Расстояние от зданий и сооружений до площадок для разворота пожарных машин 7м, а расстояние между тупиковыми дорогами 70 м. |
п.9.5 СНБ 2.02.04-2003 |
|
5 |
Противопожарные разрывы |
Противопожарные разрывы от производственного здания до зданий склада и гаражного блока-Н.Н. ПП разрывы от АБК до здания склада и гаражного блока 6м |
п.6.9 табл.2 п.6.17 табл.4 СНБ 2.02.04-2003 |
|
6 |
Пожарное депо |
Радиус обслуживания пожарного депо принимаем 3 км. Площадь здания составляет 9.8% от общей площади объекта. Пожарные гидранты располагаются вдоль дорог на расстоянии 2.5 м от проезжей части и не ближе 5 м от стены здания. |
п.8.2 СНБ 2.02.04-2003 п.10.5 СНБ 4.01.02-2003 |
9. Краткая характеристика здания
9.1 Технико-экономические показатели
Технико-экономические показатели
Таблица 8.1
|
№ |
Технико-экономические показатели |
Единица измерения |
Значение |
|
1 |
Количество этажей |
шт |
3 |
|
2 |
Высота здания |
м |
12 |
|
3 |
Площадь застройки |
м2 |
6750 |
|
4 |
Производственная |
га |
7500 |
|
5 |
Вспомогательная площадь |
м2 |
1134 |
|
6 |
Строительный объем |
м3 |
20916 |
|
7 |
К1 |
- |
0.85 |
|
8 |
К2 |
- |
3.28 |
9.2 Объемно-планировочные решения
Производственное здание имеет размеры в плане 117 на 48 метров. Здание трехэтажное. Высота здания 12 м. Предусмотрено 50 рабочих места. Конструкционная схема каркасная. Для производственной части здания предусмотрена сплошная планировочная система.
В административно-бытовой комплекс имеет размеры в плане 46 на 18 метров. Высота составляет 9м. Предусматривается 55 рабочих мест. АБК выполнено коридорной планировочной системой.
9.3 Конструктивные решения
Конструктивные решения
Таблица 8.2
|
№ |
Наименование конструкции |
Материал конструкции |
|
1 |
Фундамент |
Столбчатый железобетон |
|
2 |
Стены несущие |
Плита железобетонная |
|
3 |
Перегородки |
Кирпич |
|
4 |
Отмостка |
Плитка тратуарная «Брусчатка» П21-11-8а |
|
5 |
Перекрытие |
Плита железобетонная |
|
6 |
Покрытие |
Плиты железобетонные |
|
7 |
Кровля |
Двухслойная рулонная кровля «Кровляэласт» из битумно-полимерных материалов со стеклоосновой |
|
8 |
Лестничный марш |
Железобетон |
|
9 |
Лестничная площадка |
Железобетонная плита |
|
10 |
Колонны |
Железобетон |
|
11 |
Оконный блок |
ПВХ |
|
12 |
Дверной блок |
ПВХ |
|
13 |
Стены лестничных клеток |
Плита железобетонная |
9.4 Инженерное оборудование
Инженерное оборудование
Таблица 8.3
|
№ |
Вид оборудования |
Характеристика оборудования |
|
1 |
Отопление |
Водяное, паровое, воздушное |
|
2 |
Вентиляция |
Приточная, вытяжная с искусственным побуждением, естесвенная. |
|
3 |
Водоснабжение |
Совместный хозяйственно-питьевой и противопожарный водопровод от наружной сети. Насосы повысители и емкости с запасом воды отсутствуют |
|
4 |
Газоснабжение |
Отсутствует |
|
5 |
Канализация |
Приышленнаыя канализация. |
|
6 |
Электроснабжение |
От сети 220/380 В |
|
7 |
Вертикальный транспорт |
Грузовой лифт |
9.5 Технические средства противопожарной защиты
Здание не оборудовано установками автоматического пожаротушения, все производственные помещения и коридоры административно-бытовой пристройки оборудованы системами автоматической пожарной сигнализации. Помещения коридоров и лестничные клетки оборудованы системами аварийного освещения эвакуации. Все производственные помещения и коридоры административно-бытовой пристройки оборудованы системами оповещения о пожаре.
10. Заключение органов государственного пожарного надзора
ГОСУДАРСТВЕННЫЙ ПОЖАРНЫЙ НАДЗОР
ЗАКЛЮЧЕНИЕ N 0659
государственного пожарного надзора на проектирование строительства, реконструкции, расширения, ремонта, реставрации, технического переоснащения, перепрофилирования объекта (размещение на действующем предприятии нового производства)
"04" мая 2009 г. г. Минск___________
(населенный пункт)
В соответствии с Законом Республики Беларусь "О пожарной безопасности", техническими нормативными правовыми актами системы противопожарного нормирования и стандартизации в целях обеспечения пожарной безопасности объекта при разработке проекта строительства (реконструкции, капитального ремонта) ______________________________
(наименование объекта, адрес)
Филиал фабрики лакокрасочных изделий «Sneshka» г.Минск ул Чигладзе 48 __________________________________________________________________
ПРЕДЛАГАЕТСЯ:
Филиал фабрики лакокрасочных изделий «Sneshka» г.Минск ул Чигладзе 48
(наименование организации заказчика и проектировщика)
АлвестаСтройСервисЧУП_______________________________________
1. Оборудовать автоматическими установками:
1.1. пожаpотушения __
1.2. пожарной сигнализации _для помещений катекории А, Б, В1-В3 с площадью помещения менее 500м2 п 12, в коридорах, конференц зале, рабочих кабинетах установить пожарные извещатели п.13 НПБ 15-2007. Область применения автоматических систем пожарной сигнализации и установок пожаротушения.
1.3. оповещения людей о пожаре в производственном здании СО-2, на территории предприятия СО-3п.5.10 СНБ 2.02.02-01.Эвакуация людей из зданий и сооружений при пожаре.
2. Объект обеспечить:
2.1. прямой телефонной связью с центром оперативного управления
органа по ЧС _______ 101
2.2. телефонной связью от районной автоматической телефонной станции.
3. Построить пожарное депо на ___3___ пожарных автомобиля.
4. Предусмотреть штаты пожарной службы в количестве _47__ единиц.
5. При разработке проектной документации предусмотреть
Размещение ПАСЧ на расстоянии не более 3км в соответствии с требованиями п 8.2 СНБ 2.02.04-03. Противопожарная защита городских и сельских поселений и территорий предприятий.
Предусмотреть систему СПС в соответствии с требованиями СНБ 2.02.05-04.
Предусмотрет аварийное освещение коридоров, производственных помещений, лестничных клеток п 6.63. СНБ 2.04.05-98.Естественное и искусственное освещение.
а также учесть противопожарные требования:
СНБ 3.01.04-02. “Градостроительство, планировка и застройка населенных пунктов”.СНБ 2.02.05-04 “Пожарная автоматика”. НПБ-15.2007 “Область применения автоматических систем пожарной сигнализации и установок пожаротушения”.СНБ 2.04.05-98. “Естественное и искусственное освещение”.
(указать нормативные документы системы противопожарного нормирования и стандартизации Республики Беларусь)
6. При проектировании объектов или их частей, на которые отсутствуют требования действующих норм системы противопожарного нормирования и стандартизации, рабочую документацию согласовать в установленном порядке органом ГПН МЧС.
7. Подтвердить пожарно-технические показатели строительных конструкций, материалов, противопожарных преград и другой продукции, подлежащей обязательной сертификации на соответствие требованиям пожарной безопасности, сертификатами соответствия Республики Беларусь. Рабочую документацию до начала строительно-монтажных работ представить на рассмотрение в __Фрунзензенский РОЧС___г Минска___________
(указать наименование органа ГПН)
Срок действия заключения (технических условий) - 2 года с момента выдачи.
Главный государственный инспектор _Фрунзензенского_района г. Минска_по пожарному надзору (республика, область, город, район)
_______________ ___А.В.Нарбут____________
(подпись) (инициалы, фамилия)
Список используемой литературы
ТКП-45.3.02-90-2008. Производственные здания. Нормы проектирования.
ТКП 45-2.02-34-2005. Здания и сооружения, отсеки пожарные. Нормы проектирования.
ТКП 45-2.02-110-2008. Строительные конструкции. Порядок расчетов пределов огнестойкости.
ТКП 45-2.02-38-2006 Расчет легкосбрасываемых конструкций.
ТКП 45-2.02-92-2007. Ограничение распостранения пожара в зданиях и сооружениях. Объемно-планировочные и конструктивные решения.
ТКП 45-2.02-22-2006. Здания и сооружения. Эвакуационные пути и выходы.
Правила устройства электроустановок 86
СНБ 2.02.02-. Эвакуация людей из зданий и сооружений при пожаре.
СНБ 2.02.01-98. Пожарно-техническая классиикация зданий, строительных конструкций и материалов.
СНБ 2.04.05-98. Естественное и искусственное освещение.
СНБ 4.01.02-03. Противопожарное водоснабжение.
СНБ 4.02.01-03. Отопление, вентиляция и кондиционирование воздуха
СНБ 5.08.01-2000. Кровли. Технические требования и правила приемки
СНБ 2.02.04-03. Противопожарная защита городских и сельких поселений и территоий предприятий.
СНБ 2.04.02-2000 «Строительная климатология»
Пожарная безопасность строительства. Практические и самостоятельные работы
НПБ 5-2005. Категорирование зданий, помещений и наружных установок по взрывопожарной и пожарной опсности.
НПБ 64-2002. Порядок определения необходимого количества сил и средств для обеспечения функционирования подразделений, осуществляюие предупреждение и тушение пожаров в организациях.
СНиП 2.03.13-88. Полы.
СНиП 2.01.02-85*. Противопожарные нормы.