Планування промислового будинку
МІНІСТЕРСТВО ОСВІТИ І НАУКИ УКРАЇНИ
ПОЛТАВСЬКИЙ НАЦІОНАЛЬНИЙ ТЕХНІЧНИЙ УНІВЕРСИТЕТ ім. Ю. КОНДРАТЮКА
ФАКУЛЬТЕТ БУДІВЕЛЬНИЙ
КАФЕДРА АРХІТЕКТУРИ ТА МІСЬКОГО БУДІВНИЦТВА
ПОЯСНЮВАЛЬНА ЗАПИСКА
до курсового проекту “Промисловий будинок”
Виконав студент
302-БП групи Вовк С.О.
Перевірив Юрін О.І.
Полтава 2008
Зміст
Вступ
1. Об’ємно-планувальне рішення будівлі
2. Технічні характеристики по будівлі
3. Конструктивне рішення будівлі
Література
Додаток 1
Додаток 2
Вступ
Будівля ливарного цеху входить до складу машинобудівного заводу. Місце будівництва заводу – Одеса. Зона вологості району будівництва – суха
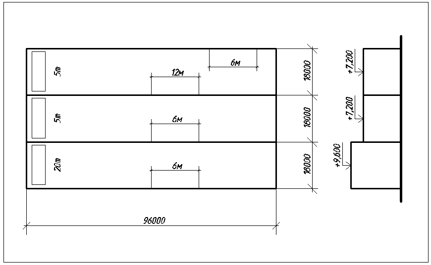
Схема промислового будинку

1. Об’ємно-планувальне рішення будівлі
Будівля ливарного цеху складається з трьох повздовжніх прогонів. Всі прогони шириною 18 м. Перший прогін має позначку низу кроквяної конструкції +9,600,а інші – +7,200. Крок крайніх колон 6 м, а середніх колон 12 м. У прогоні розташованому між осями А–Г розміщується ділянка формувального, ремонтного відділення, та ділянка сушіння форм. У прогоні між осями Д–І розміщуються ділянка стрижневого, земле підготовчого відділення та цех плавних печей. У прогоні між осями І-М розміщуються обрубне відділення та ділянка заливки, охолодження та заливки литви.
В торцях прогонів передбачені ворота розміром 33,6 м.
Пересування вантажів по прогонах виконується за допомогою мостового крана вантажопідйомністю 20 т, та підвісних кранів по 5 т.
У покритті середнього прольоту розташовані аераційні ліхтарі шириною 6 м. Для виходу на покрівлю передбачені дві пожежні драбини. Освітлення будівлі здійснюється крізь заскленні панелі довжиною 6 м, та висотою 1,2 м та 1,8 м. Засклені панелі утворюють стрічкове засклення.
Аерація будівлі відбувається крізь панелі, що мають фрамуги які відкриваються та ліхтарі.
2. Технічні характеристики по будівлі
|
1. Площа забудови будинку |
5313 м2. |
|
2. Робоча площа |
3201 м2. |
|
3. Допоміжна площа |
801 м2. |
|
4. Загальна площа |
4002 м2. |
|
5. Периметр забудови |
303 м. |
|
6. Будівельний об’єм будівлі |
60568 м3 |
|
7. Коефіцієнт доцільності планувального рішення будівлі |
0,6 |
|
8. Коефіцієнт доцільності об’ємного рішення будівлі |
11,4 м3/м2. |
3. Конструктивне рішення будівлі
Фундаменти - стовпчасті, монолітні, залізобетонні. Висота фундаменту 1,8 м. Відмітка закладання підошви -1,500. Верх фундаментів на відмітці –0,150. У фундаментів розташованих по периметру будівлі передбачені “припливи” розміром 0,30,6 м для спирання фундаментних балок. Фундаменти спираються на бетонну підготовку товщиною 100 мм, яка улаштовується по піщаній підготовці. В місці улаштування температурних швів підколонник фундаменту має два та чотири стаканами. Серія 1.412.

Гідроізоляція - цементний розчин складу 1:2, товщиною 30 мм, влаштовується по верху фундаментних балок на відмітці –0,030.
Відмостка – асфальт товщиною 15 мм по щебеневій підготовці. Ухил відмостки 1:10. Фундаментні балки – залізобетонні для кроку колон 6 м. Тип перетину І. Під фундаментними балками виконується засипка з шлаку для утеплення підлоги по периметру будівлі та забезпечення сумісного просідання колон та стінових панелей. Збоку фундаментної балки під відмосткою улаштовується глиняний замок. Серія 1.415-1.

Колони - залізобетонні, прямокутні, одногілкові. Колони для будівель із мостовими кранами. Серія КЭ-01-52.

Фахверкові колони - залізобетонні, прямокутні, одно гілкові. Колони типу ІІ зі змінним перетином. Шифр 460-75.

Кроквяні конструкції - залізобетонні балки 1БДР18-1. Серія 1.463.3.

Підкроквяна балка:

Підкранові балки - залізобетонні, двотаврового перетину, довжиною 6 м та висотою 1,4 м. Балки з попереднім навантаженням. По місцю розташування балки бувають: торцеві (у торцевих стін); рядові; температурні (у поперечних температурних швів). Кріплення підкранової балки до консолі колони виконується на анкерних болтах, які пропускаються крізь опорний лист, який попередньо приварюється до нижньої закладної пластини. По верху балок укладається рейка на довжину температурного відсіку, яка укладається на пружну прокладку з прорезиненої тканини типу транспортних смуг товщиною 8-10 мм з двосторонньою резиновою обкладкою. Рейка кріпиться парними лапками на болтах. Стик рейок над деформаційним швом обжимається фігурними накладками фігурного профілю. Для попередження можливого тарану краном торцевої стіни на торцевих балках встановлюються сталеві кінцеві упори, які страхують будівлю у випадку відмови автоматичних гальмівних пристроїв. При кранах вантажопідйомністю до 30 т вони двотаврового перетину з буфером з бруса. Серія КЭ-01-50.

Плити покриття - залізобетонні, розміром 63 м. Плита має два основних поздовжніх ребра висотою 0,3 м, та поперечні ребра меншої висоти. Номінальний крок поперечних ребер 1,5 м. Торцеві поперечні ребра мають вути, які забезпечують жорсткість контуру. Товщина полки плити 30 мм. Плити приварюються не менше чим у трьох точках до кроквяних конструкцій. Між плитами приварюються розпірки з кутиків. Плити з попереднім навантаженням. Шви між плитами заповнюються бетоном на дрібному заповнювачі. Серія 1.465-7.

Покрівля - з чотирьох шарів руберойду на бітумній мастиці з посипкою гравію світлих тонів товщиною 25 мм втопленого в бітумну мастику. В місцях примикання до виступаючих конструкцій шар основного килима закінчується на перехідному валику. На вертикальні поверхні наклеюють підсилюючі покрівлю в місці примикання додаткові, шари руберойду. Обріз покрівлі розташовують на висоті сніжного покрову (до 300 мм), накривається фартуком з оцинкованої покрівельної сталі та закріплюється сталевою смугою яка пристрілюється дюбелями.
Пароізоляція – обмазувальна.
Утеплювач (у покритті) – керамзит, товщиною 200 мм. Зверху утеплювач вирівнюється під наклейку килима з руберойду цементно-піщаним розчином марки 50, товщиною шару 15 мм.
Водозбіг – організований, внутрішній через водоприймальні воронки. Площа водозбору залежить від кліматичних умов місцевості. Площа водозбору від 144 до 288 м2 на воронку. Воронка та з’єднуючі її з каналізацією внутрішні водостоки з патрубків діаметром 100 мм виготовлюються з чавуна. У місцях улаштування водоприймальних воронок основний водоізоляційний килим посилюється двома шарами руберойду та шаром склотканини або мішковини розміром 0,50,5 м які затискаються між притискним кільцем та воронкою по периметру отвору.
В’язі - металеві, розташовані в середньому кроці температурного відсіку. В’язі забезпечують поздовжню жорсткість каркасу. Конфігурація вертикальних в’язей між колонами “хрестова”. Стержні в’язей конструюються з парних гарячекатаних профілів, які зварюються з накладками та вузловими фасонками. Хрестові в’язі складаються зі спарених двотаврів №10, №12 та №14. В’язі в торцях ліхтарів зі спарених кутів №635 та двотаврів №16. До закладних елементів у залізобетонних колонах в’язі приєднуються на болтах з послідуючій зваркою.
Ворота - розпашні, двопільні розміром 33,6 м. Ворітний проріз обрамляється збірною залізобетонною рамою, яка вписується по зовнішнім розмірам у прийняту розрізку панельної стіни. В одному з полотен воріт передбачена хвіртка. Полотна розпашних воріт навішуються на петлі. Нижні петлі мають сферичний шарикопідшипник який самовстанавлюється під дією вертикального навантаження. Верхні петлі розраховні на дію горизонтального навантаження. Щоб попередити продування по контуру ворітної рами, до каркасу приварюють нащільник зі смугової сталі, а щілину між розпашними полотнами закривають гнучкими фартухами з резини та брезенту. Ворота облаштовуються механічним приводом, комплектом для ручного відкривання та тепловою завісою.

Стінові панелі – з керамзитобетону, одношарові з фактурними шарами з цементно-піщаного розчину товщиною 20 мм. Товщина панелей 330 мм. Керамзитобетон марки 75 (щільність 900 кг/м3 у сухому стані). Номінальна довжина панелей 6 м, висота 1,2 м, 1,8 м. В залежності від місця розташування стінові панелі поділяються на рядові; кутові; перемичечні, які посилені для сприйняття вітрового навантаження від віконного заповнення; та парапетні які відрізняються розташуванням закладних деталей. Перемичечні панелі посилені з боку примикання віконного заповнення горизонтальними ребрами. Шви між панелями заповнюються пружними синтетичними прокладками шириною 6080 мм та мастиками. Конструктивна схема стіни – навісна. Панелі які розташовані над віконними прорізами та знизу ярусів на глухих ділянках, спираються на стальні консолі, які приварюються до колон. Панелі торцової стіни кріпляться до залізобетонні фахверкових колон та стійок торцевого фахверку, які розташовані між основними колонами та стіною. Серія 1.432-3.

Вікна - сталеві панелі, номінальним розміром по фасаду 61,2 м та 61,8 м. При висоті прорізу до 20 м панелі встановлюються безпосередньо одна на одну та скріплюються болтами М12. Навантаження від ваги віконного заповнення передається на стінову підвіконну панель через жорсткі прокладки, які установлюються у нижньому зазорі під стійками рами. Панелі поділяються на ті що відкриваються та глухі, двошарового засклення. Панелі складаються з несучої рами, яка виконується з холодногнутих профілів які з’єднуються точечною заваркою. У панелях, що відкриваються до рами підвішені засклені рами, які зварюються з двотавриків розміром 45453,8 мм. В нижніх панелях відкривання ручне, в верхніх за допомогою електроприводу. Скло у панелях окантоване резиновим профілем. Для зменшення можливості появи конденсату на внутрішній поверхні панелей зазор між ними заповнюють теплим розчином . Серія ПР-05-50/71.

Пожежні драбини - вертикальні, сталеві, шириною 0,6 м. Тетива драбини виконується з металевого кута 756 мм. Щаблі накладні з одного прута діаметром 18 мм. Крок щаблів 300 мм. При висоті підйому більш 4,2 м драбина оснащена огородженням. Серія 1.459-2.
Ліхтар - аераційний шириною 6 м, складається з ліхтарних панелей та ліхтарних ферм. Покриття ліхтаря таке ж як і на всій площі покриття. Водозбіг з ліхтаря зовнішній, неорганізований. Торець ліхтаря утеплений виконують тришаровим по сталевому каркасу: з зовні - хвилясті азбестоцементні листи, потім цементний фіброліт та в середині пласкі азбестоцементні листи. Висота віконних плетінь 1500 мм відкриваються повертаючись навколо вертикальної осі за допомогою електричного приводу. У торцях ліхтаря передбачені металеві вертикальні драбини. На відстані 3 м від поздовжніх сторін ліхтаря розташовані вітровідбивні панелі. Вітровідбивні панелі монтуються на каркасі який складається із стійок, ригелів та розкосів. Панелі зв’язують поверху з ригелями ліхтарних ферм.

Література
Шерешевский И.А. Конструирование гражданских зданий . Учеб. пособие для техникумов.-Л.: Стройиздат. Ленингр. отд-ние, 1981. - 176 с.
Трепененков Р.И. Альбом чертежей конструкций и деталей промышленных зданий: Учеб. пособие для вузов. - 3-е изд., перераб. и доп. - М.: Стройиздат, 1980. - 284 с.
СНиП ІІ-3-79. Строительная теплотехника / Госстрой СССР.-М.: ЦИТП Госстроя СССР, 1986.-32 с.
Руководство по теплотехническому расчету и проектированию ограждающих конструкций зданий / НИИСФ. - М.: Стройиздат, 1985. - 141 с.
СНиП 2.01.01-82. Строительная климатология и геофизика / Госстрой СССР.-М.: Стройиздат, 1983.-136 с.
СНиП ІІ-4-79. Естественное и искуственное освещение / Госстрой СССР.-М.: ЦИТП Госстроя СССР, 1980.-42 с.
Методичні вказівки по виконанню архітектурно-конструктивного проекту виробничого будинку для студентів спеціальності 2903 всіх форм навчання / Укл. Г.Л.Волик, О.І.Юрін. - Полтава: ПолтІБІ, 1993. - 28 с.
Методичні рекомендації:/ Теплотехнічні розрахунки огороджуючих конструкцій будівель для студентів спеціальностей 7.092101, 7.092103, 7.092104, 7.092108, 7.120101, 7.120102 / Полтава: Полтавський державний технічний університет імені Ю. Кондратюка, 2001.- 61с.
Додаток 1
Теплотехнічний розрахунок зовнішньої стіни
Вихідні данні:
- розрахункова
температура внутрішнього повітря
;
- відносна
вологість внутрішнього повітря
;
- район будівництва м. Одеса.
Розрахункова схема огороджуючої конструкції

По табл. 1 3 визначаємо вологісний режим приміщення - сухий.
По дод. 1* 3 визначаємо зону вологості району будівництва - суха.
По дод. 2 3 визначаємо умови експлуатації огороджуючої конструкції А.
По дод. 3* 3 визначаємо розрахункові коефіцієнти теплопровідності і теплозасвоєння матеріалів шарів огороджуючої конструкції:
- залізобетон
,
;
- Повітряний
прошарок
,
;
- Мінвата
,
;
- Повітряний
прошарок
,
;
- залізобетон
,
;
Визначаємо потрібний опір теплопередачі огороджуючої конструкції за формулою
,
де
- коефіцієнт, що враховує положення
зовнішньої поверхні огороджуючої
конструкції по відношенню до зовнішнього
повітря по табл. 5;

- розрахункова
температура внутрішнього повітря,
;

- нормативний
температурний перепад між температурою
внутрішнього повітря і температурою
внутрішньої поверхні огороджуючої
конструкції,
,
приймається по табл. 6. Для промислових
будівель з сухим вологовим режимом
приміщень визначається за формулою,
але не більш 10

,
де
- температура крапки роси,
,
визначається в наступній послідовності:
- використовуючи
значення,
по табл. 2, дод. 4 4
визначаємо максимальну пружність
водяної пари
внутрішнього повітря
;
- визначаємо пружність водяної пари внутрішнього повітря
,
де
- відносна вологість внутрішнього
повітря, %.

- використовуючи
значення
,
по табл. 2, дод. 4 4
визначаємо температуру точки роси
,
.
;
Приймаємо

- коефіцієнт
тепловіддачі внутрішньої поверхні
огороджуючої конструкції,
,
який приймається по табл. 4* [3];

- розрахункова
зимова температура зовнішнього повітря,
,
приймаємо відповідно до п. 2.3* 3
з урахуванням величини теплової інерції
D. Визначення
виконується в такій послідовності:
- приймаємо величину теплової інерції в межах 1,5>D
- використовуючи
прийняте значення D, по табл. 5* [3] визначаємо
назву розрахункової зимової температури
- середня температура найбільш холодної
доби забезпеченістю 0,92

Визначаємо потрібний опір теплопередачі огороджуючої конструкції за формулою

Визначаємо товщину шару утеплювача за формулою


- коефіцієнт
приймається по табл. 9а* [3]

Для одношарової
стінової панелі
.
де
- коефіцієнт тепловіддачі (для зимових
умов) зовнішньої поверхні огороджуючої
конструкції,
,
який приймається по табл. 6*;

,
- товщина відповідно внутрішнього та
зовнішнього шару з цементно-піщаного
розчину
,
,
- коефіцієнти теплопровідності відповідно
керамзитобетону та цементно-піщаного
розчину
Приймаємо
товщину шару утеплювача

Визначаємо величину теплової інерції огороджуючої конструкції, за формулою

де
,
,
- коефіцієнти теплозасвоєння відповідно
мінвати та залізобетону,
.
Так як величина
теплової інерції
знаходитися в межах які були прийнята
на початку розрахунок (1,5>D),
то розрахункова температура зовнішнього
повітря визначена вірно. Визначаємо
опір теплопередачі огороджуючої
конструкції за формулою


Визначаємо приведений опір теплопередачі за формулою

Так як
то товщина утеплювача визначена вірно.
Визначаємо товщину стінової панелі

Додаток 2
Світлотехнічний розрахунок
Розрахункова схема

Визначаємо коефіцієнт природного освітлення (КПО) за формулою

де
- геометричний КПО в розрахунковій точці
при боковому освітленні, який враховує
пряме світло неба, визначається за
формулою

де
- кількість променів по графіку І [6], які
проходять від неба крізь світлові
прорізи в розрахункову точку на
поперечному розрізі приміщення;
- кількість
променів по графіку ІІ [6], які проходять
від неба крізь світлові прорізи в
розрахункову точку на плані приміщення;
Для визначення
попередньо визначаємо по графіку І [6]
номер напівкола який проходить через
середину світлового прорізу
;
;
;
;
;
;
- коефіцієнт,
який враховує нерівномірну яскравість
захмареного неба, визначається по табл.
35 [6];
Для визначення
коефіцієнту
попередньо знаходимо кутову висоту
середини світлового прорізу над рівнем
робочої поверхні
;
;
;
;
;
;

- коефіцієнт,
який враховує підвищення КПО при боковому
освітленні завдяки світлу, що відображається
від поверхонь приміщення та підстилаючого
шару, прилеглого до будинку, визначається
по табл. 30 [6];
Для визначення
коефіцієнту
попередньо знаходимо:
співвідношення довжини приміщення
до його глибини


співвідношення глибини приміщення
до висоти від рівня робочої поверхні
до верха вікна


співвідношення відстані розрахункової точки від зовнішньої стіни
до глибини приміщення

;
;
;
;
;
;

Середньозважений
коефіцієнт відбиття стелі, стін та
підлоги приймаємо

- загальний
коефіцієнт світлопропускання, визначається
за формулою

де
- коефіцієнт світлопропускання матеріалу,
визначається по табл. 28 [6];
Приймаємо
одинарне листове віконне скло, тоді

де
- коефіцієнт, який враховує втрати світла
в плетіннях світлопрорізу, визначається
по табл. 28 [6];
Приймаємо
сталеве плетіння, подвійне, глухе, тоді

де
- коефіцієнт, який враховує втрати світла
в несучих конструкціях, визначається
по табл. 28 [6] (при боковому освітленні
);
де
- коефіцієнт, який враховує втрати світла
в сонцезахисних пристроях, визначається
по табл. 29 [6];
Сонцезахисних
пристроїв немає, тому

де
- коефіцієнт, який враховує втрати світла
в захисній сітці, яка влаштовується під
ліхтарями, приймається рівним 1;
Так як розрахунок
виконуємо тільки для бокового освітлення,
тому

- коефіцієнт
запасу, приймається по табл. 3 [6].

Розрахунок КПО виконуємо у табличній формі
|
№ точки |
|
|
|
|
|
|
|
|
|
1 |
43 |
99,6 |
42,828 |
1,27 |
1 |
18,49 |
||
|
2 |
25 |
99,2 |
24,8 |
1,10 |
1,05 |
9,78 |
||
|
3 |
15 |
99 |
14,85 |
0,96 |
1,11 |
5,38 |
||
|
4 |
9,5 |
98,8 |
9,386 |
0,80 |
1,25 |
0,48 |
1,4 |
3,19 |
|
5 |
6,5 |
98,2 |
6,383 |
0,72 |
1,31 |
2,05 |
||
|
6 |
4,5 |
98 |
4,41 |
0,69 |
1,80 |
1,86 |
||
|
7 |
3,5 |
97 |
3,395 |
0,68 |
1.80 |
1,41 |
Визначаємо нормативне значення КПО за формулою

де
- значення КПО в третьому поясі світлового
клімату, визначається по табл. 1 [6];

m – коефіцієнт світлового клімату, визначаємо за табл. 4 [6]
m = 0,9
С – коефіцієнт сонячності клімату, визначаємо за табл. 5 [6]
C = 0,95
Так як коефіцієнт
природного освітлення в сьомій точці
більше нормативного значення КПО (
),
то природного освітлення в приміщенні
достатньо.
Графік зміни коефіцієнту природного освітлення по глибині приміщення







