Меліоративні машини
План
1. Види меліоративних робіт
2. Машини для підготовки земель до освоєння і культуротехнічних робіт
3. Машини для прокладання відкритих каналів (каналокопачі)
4. Машини для розрівнювання кавальєрів, планування дна і укосів
5. Машини для закріплення (стабілізації) укосів
6. Машини для влаштування протифільтраційних покриттів
Використана література
1. Види меліоративних робіт
Будівництво і експлуатація водогосподарських споруд і об'єктів провадиться загальнобудівельними і меліоративними машинами. Використання будівельних машин на меліоративних роботах доцільне у тих випадках, коли характер виконуваних процесів (операцій) мало відрізняється від загальнобудівельних, досягається необхідна якість робіт і достатня продуктивність, або тоді, коли за умовами робіт меліоративні машини не можуть бути використані або ж їх використання недоцільне. До таких робіт відносяться: будівництво і очищення магістральних каналів (великої ширини по дну і глибини); регулювання рік, водоприймачів; переміщення великих мас ґрунту при будівництві великих каналів, гребель, дамб, дорожніх та інших насипів; зведення подушок каналів; риття та засипання траншей; планування та інші роботи на будівництві доріг; велике будівельне планування земель, підготовка трас для протяжних меліоративних споруд; нарізання терас; пошарове ущільнення і зволоження ґрунту у земляних спорудах; ущільнення дорожніх покриттів різних типів; розпушення важких і мерзлих ґрунтів; різні бетонні, залізобетонні і монтажні роботи; транспортування вантажів, навантажувально-розвантажувальні роботи.
Однак у будівництві і експлуатації водогосподарських споруд є ряд операцій і процесів, які настільки специфічні за умовами виконання і агромеліоративними вимогами, що вони або не можуть бути виконані загально будівельними машинами, або застосування цих машин недоцільне в зв'язку з великим об’ємом робіт по доробленню об'єктів, що будуються. До таких робіт відносять: будівництво і очищення від намулів і рослинності осушувальних і зрошувальних каналів глибиною до 3 м, планування дна і укосів каналів; розрівнювання кавальєрів; стабілізація укосів осушувальних каналів різними способами; протифільтраційне облицювання зрошувальних каналів, влаштування температурних швів і догляд за облицюванням; ущільнення ґрунту на дні і укосах каналів; будівництво дренажу різних видів, очищення замулених дрен; видалення рослинності різних видів при освоєнні земель і провадженні культуртехнічних робіт, очищення земель від каміння, первинна обробка меліорованих земель; планування і вирівнювання земель і підготовка їх до поливу; влаштування і зарівнювання зрошувальної і осушувальної мереж; зрошення та інше. Ефективне виконання цих робіт можливе тільки за умови застосування спеціальних меліоративних машин. Меліоративною машиною називають таку машину, робочі органи якої спеціалізовані для виконання однієї або декількох операцій технологічного-меліоративних робіт у відповідності з агромеліоративними вимогами. Основними ознаками меліоративних машин є: вузька спеціалізація роби і робочих органів для виконання одного технологічного процесу з декількох операцій або окремих операцій у меліорації, тісний зв'язок форми і розташування робочого органа з видом і профілем (конфігурацією) розроблюваної меліоративної споруди; можливість зміни профілю споруди шляхом зміни положення робочого органа; використання, як правило, тільки на меліоративних роботах (або аналогічних їм); у більшості випадків – однопрохідність; одержання за один прохід закінченої споруди або процесу; у більшості – неперервність дії.
Загальнобудівельні машини, що застосовують у меліорації, характеризуються наступними ознаками: універсальність робочих органів у межах виконуваних видів робіт; застосування на всіх видах будівельних робіт і багатьох операціях меліоративних робіт різних видів машин; відсутність зв’язку між формою робочого органа і профілем меліоративної споруди; як правило, – багатопрохідність; у більшості випадків, – циклічність дії; незавершеність робо чого процесу і потреба у дороблювальних роботах.
Різниця між меліоративними і будівельними машинами полягає у принципових особливостях конструкції і типу робочого, органа. Такі ж конструктивні ознаки цих машин, як тип базової машини, силового і ходового обладнання системи керування, ступінь автоматизації, можуть бути спільними для обох типів машин.
Комплексна механізація меліоративних робіт повинна ґрунтуватися на оптимальному поєднанні використання будівельних та меліоративних машин. В основу такої оптимізації повинні бути покладені принципи забезпечення максимальної продуктивності з високою якістю, мінімальних трудомісткості і вартості робіт.
2. Машини для підготовки земель до освоєння і культуротехнічних робіт
Культурною називають освоєну та залучену до сільгоспвикористання землю, вільну від деревини, каміння та інших сторонніх включень з міцним орним шаром. щоб зробити землю культурною її очищують від лісу, чагарнику, пнів, каміння, здійснюють первинну оранку, розпушення дернового шару, вирівнювання полів і таке інше.
Машини для підготування земель до освоєння – це кущорізи; машини для зведення лісу та дрібнолісся; машини для корчування пеньків; каменезбиральні машини; машини Для збирання, вантаження і транспортування зрізаної рослинності; спеціальні плуги; ґрунтообробні фрези; дискові борони; сільськогосподарські котки; вирівнювачі. (Рис. 1).
При підготовці земель до освоєння дотримуються наступних вимог: при попередній підготовці поверхні максимально зберігають верхній родючий шар ґрунту; зменшують міжсезонний період виконання робіт: підвищують коефіцієнт використання сільськогосподарських угідь.
Підготовку земель до освоєння починають кущорізи. Призначення кущорізів – зрізування надземної частини чагарникових заростей.
Загальні вимоги до них: якнайнижче зрізання стовбурів (бажано біля самої кореневої шийки), мінімальне порушення дернини, видалення невеликих пеньків і купин, можливість роботи на ділянках з нерівним рельєфом і на перезволожених ґрунтах, достатня бокова стійкість.
Розрізняють кущорізи з пасивним і активним робочими органами.
Найбільш розповсюджені кущорізи з пасивним робочим органом-клиноподібним відвалом з двома ножами з обох сторін (рис. 1).
В процесі роботи при пересуванні трактора леза ножів, встановлених на відвалі 2 (рис. 1), врізаються в стовбури та зрізують їх, а відвал і огорожа 5 відсовують зрізану масу у валки. Амортизатори пом'якшують удари відвала в штовхаючу раму 4.

Рис. 1. Класифікація машин для підготовки земель до освоєння та культуртехнічних робіт
Робочий орган з'єднаний із штовхаючою рамою за допомогою литої змінної головки. Він надівається на кульову головку рами і кріпиться до неї пальцями і вушками.
Відвал з ножами самовстановлюється за рельєфом ґрунту і рівномірно зрізає чагарник. У робочому положенні він ковзає на лижах. Краще всього працювати на ґрунтах, які підмерзли.
Піднімають і опускають раму 4 з робочим органом двома гідроциліндрами, які працюють від гідропривода трактора.
Шліфувальна головка, яка додається до машини, призначена для заточування ножів кущоріза. Вона приводиться від трактора через гнучкий вал.
Такі кущорізи мають ширину захвату до 3,6 м і зрізають кущі діаметром до 12 см.
Кущорізи з активними робочими органами в практиці гідромеліоративного будівництва використовують мало, але вони мають меншу питому витрату потужності на одиницю розчищеної площі, не залишають незрізаних рослин, не порушують родючий шар ґрунту, менш металомісткі, проте значно складніші за будовою.
Для, видалення деревної рослинності з діаметром стовбурів 12…60 см і більше застосовують машини та обладнання, які за технологічною ознакою можна поділити на ті, що корчують (звалюють) дерева разом з корінням, і ті, що перепилюють стовбури або перерізують кореневу систему.
Для звалювання окремих дерев з корінням застосовують трактори зі спеціальним навісним обладнанням – штовхачем деревовалом-корчувачем. Для звалювання дерев діаметром до 70 см упор натискає на стовбур на висоті до 3 м. Останній нахиляється, а коріння корчують зубами, закріпленими нижче деревовала.
Деревовал з кліщезахватним робочим органом захоплює стовбур дерева напівкруглими важілями (клішні-захвати), які стягуються гідроциліндром через тяги, корчує дерева або чагарники підйомом гідроциліндрами навісної системи і рухом трактора. Максимальний діаметр дерев, які корчують, – 23…35 см. Ширина захвату – 1 м. Продуктивність – до 200 дерев діаметром 20 см за сівозміну. Більш міцний деревовал корчує стовбур клішнею-захватом за допомогою гідроциліндра з опорою на лижу.

Для суцільного звалювання лісу з корінням застосовують також корабельні (тралові) ланцюги довжиною 55…90 м, шириною захвату до 25 м і канати діаметром до 32 мм, довжиною до 280 м, які буксирують за кінці двома тракторами. До ланок ланцюгів кріплять важку кулю діаметром до 2,5 м, яка допомагає звалювати дерева. Продуктивність досягає 40 га/зм.
Деревовал, призначений для перепилювання стовбурів, має ланцюгову пилку, яка працює в площині, перпендикулярній до руху. Недолік таких машин – хаотичне звалювання дерев, можливий перекіс і заклинювання пилки.
Застосовуються також машини, які перерізують стовбур дисковою пилкою. Зрізаний стовбур спирається нижньою частиною на захисний диск пилки і утримується захватами-іклами.
Машина для зведення лісу та дрібнолісся – навісний деревовал з диковою пилкою. Вона призначена для зрізування і пакетування чагарнику і дрібнолісся при підготовці торфових масивів. Машина має дискову фрезу із захисним диском. На стрілі встановлений стояк з гідрозахватами, які утримують стовбури та укладають їх на важіль із зубами, формують пакет, який транспортують навантажувачем після дії виштовхувача або самою машиною. Керування здійснюють гідроциліндрами і гідроприводом захватів.
Ці машини мають виліт стріли від 1,5 до 8 м і вантажопідйомність при найбільшому вильоті стріли 12..30 кН, зрізують дерева діаметром 55…90 см.
Корчувальні машини призначені для корчування пеньків та чагарників разом з кореневою системою та навантаження окремих каменів і дерев.
За способом корчування машини та обладнання можна поділити на такі підгрупи: з канатною тягою; машини, які корчують пеньки зубами або важелями з комбінованим рухом поступальним переміщенням і підйом; машини, які корчують пеньки зубами або гаками поступальним переміщенням; машини з грейферним захватом; комбіновані.
Корчувальні машини класифікуються ще за такими ознаками:
за типом робочого органа – активні та пасивні;
за типом агрегатування робочого обладнання з трактором – з попередньою або задньою навіскою та причіпні;
за типом керування – з канатною та гідравлічною системами керування
Корчувачі та корчувачі-збирачі з переднім розташуванням робочого органа завдяки простоті конструкції знайшли найширше використання.
Корчувачі призначені для корчування пеньків, великих каменів, чагарників, окремих дерев і переміщення їх на невеликі відстані. На робочому органі вони мають не більше чотирьох зубів (див. рис. 2, а).
Корчувачі-збирачі мають відвали з уширювачами, на яких встановлено шість-дев'ять зубів. Тому їх застосовують ще й для згрібання викорчуваної маси, зрізаного чагарнику і переміщення пеньків і каміння у вали (див. рис. 2,6).
Корчувачі та корчувачі-збирачі з передньою навіскою складаються з базової машини – трактора 5 (див. рис. 2, а, б), штовхаючої рами 4 та щита-відвала 2 із зубами. Штовхаюча рама разом з відвалом піднімається та опускається гідроциліндрами 3. Корчують пеньки комбінованим способом – тяговим зусиллям трактора та підйомним механізмом, а в деяких машинах, і поворотом відвала у вертикальній повздовжній площині. Можливість такого повороту відвала поліпшує та прискорює процес корчування і дає можливість піднімати, транспортувати та завантажувати пеньки в транспортні засоби.
Для корчування чагарнику та збирання викорчуваної маси користувачів переобладнують у корчувачі-збирачі. Для цього до основного відвала кріплять уширювачі з допоміжними зубами.
Машини циклічної дії з комбінованим рухом робочого органа не потребують ручної праці.
Недоліки цих машин: великі динамічні навантаження на відвал, раму та трактор; недостатня видимість робочого органа з кабіни; руйнування дернини та рослинного покриття; згрібання родючого шару ґрунту.
Каменезбиральні машини можуть бути циклічної і неперервної дії. Машини циклічної дії видаляють велике і середнє каміння, що лежить на поверхні або в орному шарі, і транспортують на відстань 50…100 м або вантажать у транспортні засоби. Машини неперервної дії видаляють з орного шару і збирають з поверхні мале й середнє каміння в процесі суцільного розпушування та просіювання орного шару. Вони бувають напівпричіпними або причіпними. Ґрунт розпушують робочими органами пасивної (зуби, ножі, лемеші) і активної (ротаційні) дії. Зібране каміння розвантажують у бункери-накопичувачі або в транспортні засоби, які рухаються поряд з машиною, та вивозять за межі очищуваної ділянки.
Частіше застосовують машини циклічної дії. Поворотний або неповоротній відвали таких машин здійснюють комбіновані рухи: поступальний разом з трактором і вертикальний або підйом з поворотом відвала із зубами. Викорчуване каміння транспортують піднятою штовхаючою рамою. Машини неперервної дії мають два робочі органи: землерийний та сепарувальний.
У машині з ґратчастим ковшем-гребінкою, який складається з двох бокових щитів і зубів, що шарнірно закріплені на напівпричіпній рамі, ґратчастим ковшем і бункером керують гідроциліндрами. Зубами ковша-гребінки провадять суцільне розпушення ґрунту і заповнюють його камінням. Ґрунт просівається між зубами ковша. Після заповнення ківш з камінням повертають гідроциліндром навколо осі та розвантажують у ґратчастий бункер. У деяких машин ківш-гребінку встановлюють збоку трактора.
У машині з лемешем і вібраційним (або ексцентриковим) хитним грохотом завдяки струшуванню добре відокремлюється ґрунт від каміння, яке переміщують у транспортний засіб скребковим конвеєром. Велика пропускна спроможність у дискового сепаратора. Він складаються з 8… 16 приводних валів на кожному з яких встановлені диски, що подрібнюють ґрунтові грудки і відокремлюють каміння. Каміння скребковим конвеєром завантажують у транспортний засіб.
У машині з подвійною сепарацією ґрунт з камінням за допомогою стрічкового конвеєра подається до каменедробильного барабана, який подрібнює грудки фунту та частково відокремлює ґрунт від каміння. Остаточно сепарація здійснюється на конвеєрі, де провадиться інтенсивне струшування за ранок перекочування ланцюга по струшувальному ролику. Відокремлений ґрунт частково проходить у зазори грохота, а каміння з грудками ґрунту через відбійний щит надходить на дисковий сепарувальний барабан. У барабані відбувається відокремлення каміння від ґрунту та дрібного каміння.
Активний землерийний робочий орган, який приводиться у рух від ВВП трактора, сприяє первинному відокремленню ґрунту від каміння за рахунок відкидання каміння з ґрунтом жорсткими та пружними зубами роторів на маятниковий сепаратор.
Подальший розвиток каменезбиральних машин йде в напрямку збільшення ширини захвату та вантажопідйомності в машинах циклічної дії, удосконалення сепараторів і землерийних робочих органів у машинах неперервної дії.
Застосовують також комплекси робочого обладнання для каменезбиральних робіт на базі тракторів тягового класу 50 кН: ківш для завантаж дрібного каміння; навантажувач середнього та дрібного каміння; закидач-зарівнювач, розпушувач-вичісувач каміння; чагарникові граблі.
Для розколювання великого каміння застосовують пересувні електрогідравлічні установки на автомобільному шасі, де встановлена гідравлічна станція з електроприводом. Робочу рідину подають по шлангах до гідромолота для розколювання каміння.
Знаходять використання також пневмогідравлічні молоти на рукояті гідравлічного одноковшового екскаватора. Існують каменезбиральні машини, в яких відсортоване велике каміння в дробарці перетворюють на щебінь.
Зрізану рослинність збирають у вали і купи чагарниковими граблями, корчувальними боронами, корчувачами-збирачами. Для вантаження зібраної рослинності застосовують навантажувачі. Перевозять деревні залишки та каміння на лижах і тракторних причепах на гусеничному та колісному ходу. Для вивезення лісу використовують трелювальні трактори та корчувально-трелювальні лебідки. Для збирання кореневих і деревних залишків і валкування дрібних деревних залишків застосовують підбирачі та валкувальннки дрібних залишків.
Чагарникові граблі бувають з передньою та задньою навіскою робочого органа.
Передній робочий орган має ґратчасту раму. У гнізда нижньої частини рами встановлені зігнуті зуби, які мають плоску нижню поверхню та направлені вперед у вигляді клина. Під час руху чагарникових граблів зуби підхоплюють зрізану рослинність, яка утворює перед рамою вал. Після переміщення до місця укладання чагарникові граблі відсовуються заднім ходом, залишаючи вал на місці. Навісний робочий орган чагарникових граблів на задній рамі являє собою решітку, в нижній частині якої встановлені 7…8 зубів для збирання чагарника. Чотири зуба спираються на опорні лижі. Такий робочий орган навішують також на задню навісну систему трактора. На передню навісну раму встановлюють робочий орган граблів-збирачів – ґратчастий відвал з прямими зубами. Робочий орган навантажувача рослинності із щепним захватом це – подвійна стріла, на нижньому кінці якої шарнірно псині верхні і нижні захвати. Стрілу піднімають гідроциліндрами. Захватами керують гідроциліндри через штанги. Нижні захвати-щелепи вводять під навантажувану рослинність і виштовхують її до верхніх захватів. Вантажать рослинність опусканням нижніх захватів.
Навантажувач з поворотним відвалом має простий робочий орган у вигляді плоского відвала з подовженими зубами. Трактор рухом вперед заглиблює відвал зубами під вал зрізаної рослинності. Піднімаючи раму з відвалом і повертаючи останній гідроциліндром, вантажать рослинність у автомобілі або на тракторні візки.
За допомогою каменезбиральної машини або навантажувача рослинності завантажують транспортні причіпні лижі. Саморозвантажувальні лижі перевертають назад гідроциліндрами навісної системи трактора. Якщо підйом лижі недостатній для розвантаження, то заднім ходом трактора її можна підняти до вертикального положення.
Саморозвантажувальний тракторний причіп має платформу зі знімними бортами. Рама причепа через арку спирається на передню вісь і дві задні півосі. Для розвантаження платформу піднімають гідроциліндром. На причепі можна перевозити самохідні та причіпні машини, для вантаження яких причіп оснащений похилими містками та лебідкою з приводом від вала відбору потужності трактора.
Первинна обробка – складова частина культуртехнічних заходів. До її складу входять: оранка, боронування, фрезерування, розпушення, планування, ущільнення ґрунту і таке інше. При цьому використовують чагарниково-болотні та дискові плуги, спеціальні борони, ґрунтообробні фрези, розпушувачі, вирівнювачі сільськогосподарські, котки, інші машини та обладнання.
Чагарниково-болотні плуги бувають одно-, дво – та трикорпусні для первинної оранки земель з попередньо зрізаним чагарником і розкорчованих, Однокорпусні та дискові плуги застосовують для оранки площ з великою і кількістю деревних залишків і вкритих чагарником висотою до 1,5…2 м.
Плуги бувають причіпні та навісні з гідравлічним, механічним і комбінованим керуванням.
Навісні чагарниково-болотні плуги бувають без опорного колеса та з опорним колесом. Раму плуга навішують на важелі навісної системи.
Полиця має напівгвинтову чи гвинтову робочу поверхню для кращого приорювання чагарника. В нижній частині полиці розташований леміш (іноді долото). Позаду полиці кріплять перо, яке поліпшує обертання скиби.
Перед плужним корпусом до рами чіпляють ніж з лижею. Проміжок між і корпусом і ножем закривають спеціальним щитом для запобігання від забивання. Глибину оранки плуга без опорного колеса можна регулювати підйомом і опусканням опорної лижі. Якщо є опорне колесо, то глибина оранки залежить від встановлення ручного гвинтового механізму. Підйом і опускання і шуга виконують гідроциліндрами навісної системи. Гідроциліндри при роботі знаходяться в плаваючому положенні, а плуг спирається на лижу або опорне колесо.
Навісні плуги більш маневрені, ніж причіпні, вони легше очищуються при забиванні рослинністю.
Рама чагарниково-болотних плугів для зменшення забивання рослинністю розташована вище і міцніша (так само, як і корпус), ніж у звичайних сільськогосподарських плугів. Ширина захвату плугів 0,6…1,35 м, глибина оранки 0,25…0,4 м.
У причіпних дискових борон кожна секція двосекційної борони має раму з двома дисковими батареями. Передня секція розробляє ґрунт в одному напрямку за рахунок розташування дисків опуклістю всередину, а задня – в іншому (опуклість дисків назовні). Тягами міняють кут атаки для зміни інтенсивності подрібнення скиби.

Рис. 3 Ґрунтообробні фрези: а – причіпна (вигляд ззаду); б – навісна (вигляд спереду); 1 – опорне колесо; 2 – гвинтовий механізм регулювання глибини фрезерування; 3 – кожух; 4 – граблі; 5 – ножі; 6 – сошник; 7 – редуктор; 8 – бортовий редуктор; 9 – місця кріплення до важелів і тяги навісної системи; 10-карданно-телескопічний вал; 11 – колінчаста напіввісь
Глибину боронування регулюють поворотом колінчастої осі гвинтовим механізмом або гідроциліндром.
Навісні дискові борони кріплять до навісної системи тракторів. У них так само змінюють кут атаки.
Ширина захвату дискових борон, що агрегатуються з тракторами, 2,2…3,5 м, глибина обробки 20…25 см. Застосовують диски діаметром 500…1000 мм, по 5–9 дисків у одній батареї. Продуктивність борони при роботі в один слід 1… 1,8 га/год.
Ґрунтообробні фрези призначені для поверхневого розпушення ґрунту без обороту шару при освоєнні осушених боліт і задернілих мінеральних ґрунтів, при корінному покращенні луків і пасовищ, добуванні торфу, а також при розробці шару ґрунту після оранки.
Вони бувають причіпні та навісні. їх ще називають болотними. Фрезерний барабан з ножами 5 (рис. 3), обертаючись навколо своєї осі, переміщається в площині, перпендикулярній осі обертання. При цьому здійснюється суцільне розпушення та подрібнення ґрунту і дернини на глибину до 25…30 см. Фрезерний барабан, насаджений на вал, складається з кількох секцій-дисків, на кожному з яких закріплюють від двох до восьми ножів 5. Диск може повертатися по відношенню до вала при зустрічі ножів з перешкодою. Він має фрикційну передачу.
Фрезерний барабан причіпної фрези (рис. 3, а) встановлений у рамі з кожухом 3, яка через дві колінчасті напівосі спирається на колеса 1. Змінюючи положення напівосей гвинтовим механізмом 2, можна регулювати глибину обробки. Позаду фрези ставлять граблі 4 для утримання шматків дернини, що кидаються.
Барабан навісної фрези (рис. 3, б) встановлений на рамі, яку начіпляють у і очках 9 на навісну систему трактора. Рама під час роботи спирається на і ґрунт двома колесами 1 або зігнутими штабами з лижами, які можна регулювати по висоті. Привод фрези – від вала відбору потужності трактора.
Фрези мають ширину захвату 0,9…2 м і обробляють ґрунт на глибину 20…25 см. Діаметр барабана з ножами – 0,56. 0,75 м. Кількість ножів 16…120. При частоті обертання від 3,3…5 с-1 і робочій швидкості 3,6…4,6 км/год продуктивність досягає 0,3…0,5 га/год. Основний недолік фрез 4 низька продуктивність тому, що для достатнього подрібнення ґрунту потрібно два-три проходи.
Болотно-торф'яні прикочують ґрунти причіпними та навісними котками. Причіпні гладкі водоналивні котки мають власну масу біля 2500 кг, з водою – біля 7500 кг. Ширина захвату – 4,2…4,5 м. Агрегатують їх по три з трактором класу 30 кН. Кожний коток обертається з віссю в підшипниках, закріплених на рамі. Найбільший питомий тиск котка на ґрунт не перевищує 69 кПа, на торф'яних ґрунтах рекомендують тиск 29,4…49,0 кПа, на мінеральних – 49,0…69,7 кПа.
Для вирівнювання (планування) ґрунтів застосовують причини вирівнювачі купинорізи та багатовідвальні планувальники-вирівнювач.
3. Машини для прокладання відкритих каналів (каналокопачі)
Каналокопачі призначені для копання каналів меліоративних систем у ґрунтах І II, Ш категорій. Вони розробляють ґрунт у виїмках або насипних (подушках), перемішують його в одну або обидві сторони створення дамб, кавальєрів або розкидають його на прилеглий до площі з однієї або обох сторін.
До каналокопачів висувають наступні вимоги: прокладання канати розмірів за один прохід, задовільне планування і чистота дна, у формування дамб, укладання ґрунту в кавальєр або розкидати рівномірно на один або обидва боки каналу, забезпечення дна і коефіцієнта закладання укосів, надійна прохідність на перезвоволожених ґрунтах.
Каналокопачі поділяють: за призначенням – для будівництва осушувальних і зрошувальних каналів; за способом агрегатування органа з базовою машиною – причіпні і навісні; за ходовим обладнай, гусеничному і колісному ходу; за типом і конструкцією робочого орі ми 8 4) – з пасивним робочим органом (плужні і відвальні), з активним рИ органом (фрезерні, роторні, шнекові, багатоковшові); з пасивно-актиним робочим органом (комбіновані).
Каналокопачі з плужним і відвальним робочим органом застосовуй прокладання тимчасових меліоративних каналів у зонах осушення і їх поділяють за способом агрегатування – на причіпні і навісні; системою керування робочим органом – на трособлокові і гідравлічні.

Рис. 4 Класифікація каналокопачів за типом і конструкцією робочого органа
Робочий орган шгутного каналокопача (рис. 5.) зварено з декількох тин. Нижня частина – плоский леміш 19, який підрізає ґрунт на дні і частині укосів. Площина леміша спрягається з криволінійними відвальними поверхнями (полицями) 6, що піднімають шар ґрунту І том його на обидві берми каналу. У верхній частині ці поверхні плани., ходять у площини верхніх відвалів 5, які утворюють клин для ґрунту на сторони. Для зачищення прилеглих до каналу частин бері і її каналокопачі обладнують змінними бермозачисниками 3 зміні, а зрошувальні для формування дамб – відкрилками 4.
Більшість плужних каналокопачів обладнують ножем (череслом) розрізає верхній дерновий покрив вздовж осі каналу. Це зменшує скупчення ґрунту перед відвалом, полегшує розвалювання ґрунту, що піднімає дві рівні частини і зменшує тяговий опір переміщенню каналокопача.
Причіпні канатні каналокопачі бувають з неповоротною (рис. 5.а) і ротною ходовою рамою (рис. 5, б),
Причіпні каналокопачі у робочому положенні переміщують одним та кількома тракторами. Відстань між тракторами, що буксирують 5…10 м. Зчіпку здійснюють тяговим канатом, один кінець якого нижньому штирі причіпного пристрою каналокопача, а другий – до порі трактора. Щоб канат не потрапив під гусениці, його пропускають петлю переднього гака останнього трактора. Причині гідравлічні капі ш| (рис. 5, в) призначені для копання каналів глибиною до 1 м у робочого органа здійснюють два гідроциліндри 26, що забезпечує більш хід робочого органа. Крім того, робочий орган можна додатково відносно кінця тягової рами 12 гідроциліндром 30 у вертикальній. Це дає можливість регулювати кут різання в залежності від грушу каналу, зменшувати до мінімуму тяговий опір, змінювати ходову частину трактора для покращення прохідності. Для розробки каналів на каналокопачах встановлюють лижи 20, що покрили прохідність.
Навісні плужні каналокопачі призначені для ровів глибиною 0,4…0,5 м і шириною дна 0,4…0,5 м. їх навішують стояка 32 на тяги 33 навісної системи або на поперечній трубча 35 задньої навісної рами. До рами робочого органа шарнірно прися 20, яку можна регулювати по висоті гвинтовим домкратом.
Плужні каналокопачі мають велику продуктивність, можуть працювати на різних ґрунтах, прості за конструкцією і в обслуговуванні створюють великий тяговий опір через недосконалість робочого органу зводять до швидкого зносу тягачів, утворюють нерівну поверхню дії і ' каналів, погано перерізують деревину, не мають механізму для витримування уклону дна каналу.
Тому плужні каналокопачі при влаштуванні каналів глибинок і 0,5…0,6 м застосовуються рідко.
Для прокладання борозн трапецоїдного перерізу для відведення вод, а також для утворення тимчасових зрошувачів і відвідних застосовують борозники з пасивним робочим органом. їх робочі о конструкцією аналогічні робочим органам плужних каналокопачін. Нині борозники простіші і менш металомісткі, ніж причіпні. Вони буваю і h ними колесами і без опорних коліс. Борозники без опорних коліс навішують на тяги стандартної навісної системи трактора через стояки з опорними колесами мають робочі органи змінними ножами. їх робочий орган кріпиться до рами, що важелі навісної системи трактора і має опорні колеса.
Відвальні каналокопачі мають робочий орган, що складаються з метричних груп відвалів грейдерного типу (рис. 6, а, б).
Улоговинонарізувач (рис. 6, в) – це різновидність навісного відвального для нарізування улоговин – неглибоких каналів з дуже похилими осами (1:5). Робочий орган улоговинонарізувача має два відвала грейдера типу з кутом у плані 70°. Спереду встановлено ніж для розрізання дер(чересло), знизу – леміш. Улоговини легко проходять трактори та інші.

Рис. 6.;Відвальні каналокопачі і улоговинонарізувач: а – схема причіпного відвального каналокопача; б – схема розтані відвалів причіпного каналокопача при прокладанні каналу; в на улоговинонарізувач; 1 – дишель; 2 – плужок; 3 – горизонтальні підішли – похилі відвали; 5 – опорна лижа; 6 – бермозачисник; 7 – пульт; 8 – кронштейн для кріплення похилих відвалів; 9 – гідроциліндри піднімання і опускання передньої частини рами; 10 – пневмоколеса; 11 – підйомні гідроциліндри; 12 – поперечна балка рами; 13 – стояк; 14 – підпірки; 15 – змінні ножі; 16 – гідроциліндр лижі; 17 – чересло (першим) ний ніж); 18 – важелі і тяги навісної системи; 19 – фактор; 20 – ворювач
Каналокопачі з ротаційними робочими органами мають фрези і ротори різної форми (рис. 7). Під час руху каналокопача вздовж осі розроблюваного Мітлу робочий орган обертається і здійснює копання ґрунту, підйом і видання його за межі перерізу каналу або подавання на транспортувальні органи, так і обваленого ґрунту. Ґрунт переміщується ротаційними робочими органами в площині, перпендикулярній до осі їх обертання. Ротаційні органи можуть працювати у двох режимах: у режимі фрез з розвантаженням ґрунту (колова швидкість на периферії робочого 8…30 м/с при роботі на легких торфових ґрунтах в зоні осушення і в ("жимі роторів з гравітаційним розвантаженням ґрунту (колова швидкість на робочого органа менше 6 м/с) при розробці важких мінеральних ґрунтів у зоні зрошення.

Рис. 7. Схеми основних ротаційних робочих органів каналокопачів: а – двофрезерний (двороторний) з віссю обертання, перпендикулярною до укосу; б – фрезерний з копіювальною фрезою; в-фрезерний з віссю обертання, похилою до осі каналу і до горизонту; г – те ж саме, двороторний; 1 – фреза (ротор); 2 – відвал
Форма і розміри перерізу розроблюваних лежать від розмірів, форми і кількості ротаційних робочих органів та ну і встановлення відносно осі розроблюваного каналу і горизонту. За цією і мій кою ротаційні роботі органи каналокопачів поділяють на три типи: обертання фрез (роторів) перпендикулярні укосам каналу (рис. 7, а) вісь обертання фрези (ротора) лежить у площині, яка перпендикулярна до напряму пересування машини (з копіювальними фрезами) коли осі обертання фрез (роторів) нахилені як до осі каналу, так і до гори (рис. 7, в, г).
Двофрезерні і двороторні каналокопачі копають канали заданого перерізу із спланованими дном і укосами за один прохід без вальних робіт. Двофрезерними каналокопачами розробляють осушувальні) глибиною до 1,5 м у болотно-торфових і заболочених мінеральний. Робочий орган такого каналокопача (рис. 8) являє собою дві конусні фрези 5 з ножами 6 по зовнішньому колу для розробки на внутрішній поверхні для його відкидання. Фрези, осі яких перпендикулярні укосам, фрезерують вузькі прорізи, утворюючі моїм профіль каналу. Ґрунт у середній частині перерізу каналу обішли і донизу, частково подрібнюється і викидається лопатками рівномірним шині по обидва боки каналу на відстань 9…20 м. Двовідвальний корпус прокладений канал від закидання ґрунтом, перемішує ґрунт, що обва фрез, полегшує обвалення ґрунту і остаточно зачищає і планує дно і каналу. Робочий орган навішується на трактор з навісною системою І І верхня тяга замінена гідроциліндром. Гідроциліндрами 3 робочі органи "і мають у транспортне положення і регулюють глибину каналу.

Рис. 8. Навісний двофрезерний каналокопач у транспортному: 1 – противага; 2 – трактор болотний; 3 – гідроциліндри навісної сік 4 – важелі навісної системи; 5 - фрези; 6 - ножі; 7 – двовідвальний норії)
В двороторного каналокопача дискові ротори мають 9… 10 Г.-подібних зубів без бокових стінок, які теж прорізають щілини, утворюючий попередні і н профіль каналу. Але вони здійснюють не інерційне, а гравітаційне навантаження ґрунту. Ґрунт, що заповнює простір між зубами, завдячуючи зміну роторів до горизонту, під дією ваги розвантажується на берми каналу, роторний робочий орган навішується на трактор за допомогою трикутної і пі стріли на шарнірах. Встановлення робочого органа в потрібне полоним (дійснюється гідроциліндрами. Каналокопач має гвинтовий механізм зміни ширини дна каналу і коефіцієнта закладання укосів.

Рис. 9. Причіпний фрезерний каналокопач з копіювальною фрезою: 1 – фреза; 2 – напрямний козирок; 3 – виносна рама (стріла); 4 – верхній важіль навіски; 5 – опорні котки; б – трактор; 7 – гідроциліндр; 8 – чашковий ніж
Шнеко-роторний каналокопач має робочий орган, який складається з розташованого ківшевого ротора, двох конічних або циліндричних юних шнеків і допоміжних відвалів. Ківшевий ротор розробляє середню мі піну поперечного перерізу каналу на ширину дна. Шнеки розробляють 11 пі вздовж укосів каналу і зміщують його вниз до ковшів ротора. Ґрунт, що захоплюється ротором і шнеками, обвалюється під дією власної ваги на укоси і, врешті-решт, підхоплюється ковшами ротора. Отже, увесь що знаходиться у поперечному перерізі каналу, виноситься ковшами ротора, розвантажується на два стрічкові транспортери і подає-I ц, і ч ними у дамби або кавальєри. Зміною нахилу шнеків можна змінювати закладання укосів каналу, а зміною відстані між шнеками або ковшів ротора регулювати ширину дна каналів. Допоміжні відвари остаточно зачищають дно і укоси каналу і зсувають ґрунт до ковшів два шнекороторних каналокопача: причіпний з багатомоторним дизель-електричним приводом (глибина каналів до 3 м) і напівнавісний її механічним приводом (глибина каналів до 2 м).
4. Машини для розрівнювання кавальєрів, планування дна і укосів
Лінія прокладання осушувальних і зрошувальних каналів машинами, що розкидають ґрунт, необхідно розрівнювати утворені кавальєри.
Дію і укоси планують після прокладання каналів машинами циклічної дії, у тих випадках, коли укладаються антифільтраційні облицювальні будь-якого виду або провадиться обдернування укосів чи стабілізація.
Машини для розрівнювання кавальєрів (кавальєророзрівнювачі) рухаються вздовж каналу і зсовують ґрунт кавальєру вбік від брівки з одночасним розрівнюванням за один або декілька проходів. Основні вимоги до машин у тому, щоб при розрівнюванні не було обсипання ґрунту в канал, а також щоб робочий орган не пошкоджував верхньої частині укосів, дернового покриву берми каналу.
Ширина захвату робочого органа повинна бути такою, щоб слід машини, що рухається.
Найбільш ефективні машини з пасивним відвальним робочим органом встановлено під кутом захвату 42…45° для торфу і 48…50° для мін рольних ґрунтів. Застосовують машини з переднім і заднім відвалами (рис. 11). Передній відвал складається із середньої частини і двох відкидних подовжувачів 2. Подовжувачі бувають поворотні і знімні. На машинах 11 носкою штовхальною рамою відвал навішують на охоплювальну раму 6. Для зміни кута різання знизу встановлені кульові шарніри. Зміна кута захвату встановленням між відвалом і рамою телескопічної рамки-розпірки (рис. 11, б).

Рис. 11. Схеми кавальєророзрівнювачів: а – з переднім відвалів паралелограмною навіскою і жорсткою рамкою-розпіркою; б – те і на плоскій штовхальній рамі з телескопічною рамкою-розпіркою и саме, з гідрокеруванням відвалом на плоскій штовхальній рамі і складаними зблокованими рамками; г – із заднім відвалом; передня частина відвала; 2 – подовжувач; 3 – штовхальна рама; 4 – піднімання і опускання відвала; 5 – важіль; 6 – рама; 7 – жорстка рамка-розпірка; 9 – лижа; 10 – телескопічна рамка-рочпірка 11 – плоска штовхальна рама; 12 – поворотна рама; 13 – механізм врізання; 14 – противага; 15 – механізм зміни кута захвату; 17 – задня охоплювальна рама; 18 – кронштейн; 19 – подовжувач
Сучасні кавальєророзрівнювачі мають гідравлічні механізми піднімати повороту і нахилу відвала. Для піднімання і опускання відвала 1 (рис. 11, в)
На плоскій штовхальній рамі 6 встанов пені дві шарнірні (складані) рамки-розпірки 15, що з'єднують раму з відвалої і кожна рамка фіксується у складеному положенні защіпками механічного тюкування, які керуються з кабіни трактора. Між рамками встановлено одні два гідроциліндри повороту відвала, які після розблокування однієї з рамки-розпірок можуть повернути відвал у плані вбік протилежної рамки-розпірки. Можливість повороту відвала в обидва боки під час руку трактор їм певний кут дозволяє уникнути холостих проходів під час розрівнювання і підвищити продуктивність. Можна також нахиляти відвал для кута врізання в межах 7° двома гідроциліндрами.
Відвал кавальєророзрівнювача із заднім розташуванням навішують на універсальну раму 17 (рис. 11, г). Відвал 1 має на лівому кінці на правому – відкрилок, який перешкоджає обсипанню ґрунту в канал. Винесення відвала вправо на 1. 11,5 м від гусениці дає можливість трактору на відстані не менше 0,5 м від брівки каналу. Підніманням навісної рами за допомогою штока гідроциліндра регулюють товщину розрівнюваного ґрунту.
Посів з частиною дна (неповнопрофільні планувальники) і для планування іншого периметра перерізу каналу (профілювальники каналів).
При плануванні укосів візок рухається знизу доверху або зверху, а ківш – знизу доверху. Ківш 3 має відкидне дно для навантаження в транспортні засоби, що рухаються по дну каналу. Скребок зачищає укосів. Планувальний ківш драглайна (рис. 12, в) порівняно із ковшем має меншу висоту і гладеньку ріжучу кромку без зубів. Завдяки зміщенню центра ваги назад і низькому кріпленню тягових ківш знімає тонку стружку ґрунту. Планувальні ковші малої містко-к обладнання циклічної дії, дають малу продуктивність та низьку якість. Укісник, що закріплений на основному відвалі, переміщує ґрунт у більшості випадків донизу тому, що відвал встановлено під кутом захвату 45…60°.
Основний відвал автогрейдера використовують для розрівнювання ті ґрунту, що виноситься заднім відвалом. Відвальні укосопланувальники застосовувати для планування укосів мілких і середніх каналів глибшими.

Рис. 13. Схема профілювальників каналів з двостороннім та одностороннім розвантаженням: а – з двостороннім розвантаженням, що рухається по берма двостороннім розвантаженням, що рухається по дну; 1 – транспорт і рейковий хід; 3 – ківшевий ланцюг; 4 – ферма; 5 – підвіска; 6 і рама; 7 – тягач; в – багатоківшевий профілювальних з розвантаженням грушу: 1 – рейка; 2 – ходовий візок; 3 – ферм і вальний транспортер; 5 – поперечні вали привода, б – лінія (ланцюги з ковшами); 7 – дизель-електрична установки, 8 – пульт керування; 9 – редуктор
Це забезпечує високу точність. Товщину стружки ґрунту регулюють, піднімаючи ферму на ходових візках гвинтовими домкратами. В профілювальників з двостороннім розвантаженням ґрунту (рис. 13, а) рухаються у двох паралельних площинах. Кожна ківшева лінія планує укіс і частину дна під час безперервного руху машини вздовж каналу. і, і транспортера відвалюють ґрунт. У профілювальників з одностороннім розвантаженням ґрунту – одна лінія (рис. 13, в). Ковші планують обидва укоси і дно. На одному кінці ця ведучої зірочки ковші розвантажуються на поздовжній приймальний транспортер, який переміщує ґрунт до поперечного транспортера, що відвалу ґрунт на одну з берм. Такі простіші за конструкцією менше ковшів. За один прохід знімають стружку товщиною Деякі типи профілювальників обладнують вібробрусами для ущільнення верхні дна і укосів на глибину 100…150 мм. Профілювальники планують пали тільки з одним коефіцієнтом закладання укосів і мають значні масу. Для переїзду через штучні споруди машину демонтують. Профілювальники на гусеничному ходу (рис. 13, б) також мають Два ківшевих ланцюгових робочих органи 3. Робочі органи рухаються по своїй рамі 6 і планують відповідний укіс і частину дна. На ківшевих мах встановлені зачисні ножі. Товщину врізуваної стружки ґрунту двома гвинтовими домкратами з електроприводами; вони піднімають її опускають обидві ківшеві рами. Вивантаження ґрунту відбувається без середнього з ковшів на берми на відстані 5…6 м від брівки. Профілювальника на гусеничному ходу дають можливість регулювати закладання укосів і і псуватися без попереднього прокладання рейок.
Усі профілювальники мають багатомоторний електропривод. Вони живляться її енергією від електромережі через кабель або від дизель-генератора, що на машині. Профілювальники здійснюють послідовні проходи ділянці в обох напрямах (човникові проходи). На початку кожні проходу ферма або рама робочого органа опускається гвинтовими домкратами на товщину зрізуваної стружки ґрунту. Для профілювання каналу із вданим уклоном застосовують слідкуючий механізм, щуп-датчик якого по натягненому вздовж каналу колірному дроту.
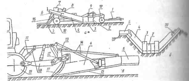
5. Машини для закріплення (стабілізації) укосів
Стабілізація укосів осушувальних каналів, а також дамб, провалин метою захисту поверхні укосів від водної ерозії та інших руйнування. Метою тривалого збереження профілю каналів. Для стабілізації укосів вальних каналів застосовують: травосіяння, обдернування, вимощувати, кріплення основ укосів плотами і дерев'яними щитами із забий ні кілків, укладання залізобетонну плит і встановлення лотків. Закріпили каналу плотами, фашинами, камінням і дерниною провадиться. Укладання залізобетонних плит і лотків здійснюють загальнобудівними машинами. До спеціальних машин для стабілізації укосів відносин, для травосіяння на укосах і машини для забивання кілків при плотоюмленні укосів.
Машина для гідросіяння являє собою робоче обладнання гусеничного трактора 1 (рис. 14, а). На рамі 2, що охоплює коток ш 11, змонтована поворотна колонка 5 із закріпленою на ній поливальною II ягою 7. Штанга може переміщуватися у вертикальній площині 6. На площадці оператора, що має огорожу 14, розташовані кронштейн 3 із шарнірно закріпленим гідрометальником 4. універсальна насадка (рис. 14, в) з. набором спеціальні (рис. 14, б) дальнього і ближнього сіяння. Ємкість котка-цистерни і за допомогою вакуумного насоса 13, а заправка твердими комиш і насінням здійснюється через люк 9 у торцевій стінці котка. Робоча суміш являє собою мульчу із суміші трав, мінеральних добрим і або торфодрібняка і плівкоутворювальних матеріалів (бітумної або пінемульсії). Шар тирси або торфового дрібняка утримує вологу 11 укосу в період проростання рослин і разом з добривами живить їх. Піноутворювальні матеріали сприяють міцному з'єднуванню компоненті" між собою і з ґрунтом укосу, протидіють змиванню насіння опадами.

Рис. 14. Конструктивні схеми машин для стабілізації укосів травосіянням: а – машина для гідровисіву; б – спеціальна шайба для ближнього висіву; в – універсальна насадка; г – машина для механічного травосіяння у робочому положенні; д – те ж саме, в транспортному положенні; 1 – трактор; 2 – рама; 3 – стояк-кронштейн; 4 – гідрометальник; 5 – поворотна колонка; 6 – гідроциліндр
В робочому положенні машина рухається по бермі каналу паралельно косу. Мульча подається фекальним насосом 12 через порожнисту вісь цистерни 11 і трубопроводи 10 у поливальну штангу 7, встановлену паралельно площині укосу. Через щілинні насадки 8 вона подається під тиском і поверхню укосу. Насіння трав при цьому заглиблюється в ґрунт на 5… 10 кремі місця, які машина не досягає, обробляє.
Машина для механічного травосіяння являє собою напівнавісне (н рій чому положенні) бокове, розташоване консольне обладнання до гусеничні І трактора (рис. 14, г, д). Робочий орган 34 встановлюється на стрілі 25 рукояті 27. Стріла може повертатися на поворотній колонні розташованій на рамі 2, що охоплює трактор і має спереду опорні колеси шинами 21. Гідроциліндрами 24, 26, 28 робочий орган 84 у потрібне положення на укосі. В робочому положенні машина по бермі каналу. Робочий орган 34, переміщуючись вздовж і приорює насіння, коткує поверхню укосу. На рамі 32 робочого прій змонтовані розпушувачі 33, над кожним з яких встановлені бункери вальними апаратами 31 з ланцюговим приводом від ущільнювальний 30. Привод розпушувачів 33 здійснюється від гідромотора 29. Для добрив на кронштейні 35 (рис. 8.14, д) поворотної колонки 5 апарат 36 для розпилювання добрив по поверхні укосу. Добрива подаються гнучким шлангом 22 через розпилювач 23 на поверхню.
6. Машини для влаштування протифільтраційних покриттів
Одним з основних завдань у водогосподарському будівництві є фільтрацією води з каналів. У залежності від місцевих умов для усуненні І фільтрації канали облицьовують монолітним або збірним бетоном і асфальтобетоном, бетоном з полімерними матеріалами, ущільнення ґрунтів або застосовують захисні глинисті екрани. Найбільш активним у боротьбі з фільтрацією є влаштування на зрошувальних монолітних бетонних покриттів.
Машини, для влаштування протифільтраційних покриттів розділені машини для влаштування монолітних бетонних, і асфальтобетонних покриттів і на машини для влаштування збірних бетонних покриттів (рис. 15).
Для влаштування монолітних бетонних і залізобетонних покриттів бетоноукладачі. Вони повинні виконувати такі операції: розподіл і розпилювання бетонної суміші шаром певної товщини, ущільнення вібруванням, закладання констопів.
Використана література
1. Алексеева Т.В. Гидропривод и гидроавтоматика землеройно-транспортных машин. М., "Машиностроение", 1966.
2. Анохин А.И., Петере Е.Р., Эвентов И.М. и Xархута Н.Я. Дорожные машины (основы теории и расчета). М., Дориздат, 1950.
3. Артемьев К.А. Основы теории копания грунта скреперами. М., Машгиз, 1963.
4. Артемьев' К.А. Определение сопротивления грунта отвалу бульдозера. Сборник научных работ СибАДИ. Вып. 1. 1969.
5. Бабков В.Ф. и Гербурт-Гейбович А.В. Основы грунтоведения и механики грунтов. М., Автотрансиздат, 1956.
6. Бабков В.Ф., Бируля А.К. и Сиденко В.М. Проходимость колесных машин по грунту. М., Транспорт, 1969.
7. Баловнев В.И. Новые методы расчета сопротивления резанию грунтов. М., Росвузиздат, 1963.