Методика укладання рейко-шпальної решітки
Залізничний транспорт
1. Машини для укладання рейко-шпальної решітки
Укладання рейко-шпальної решітки при ланковому способі ведуть ланковими колієукладачами. Колієукладач включає укладальний кран, 2-5 моторні платформи й состав із чотиривісних платформ, обладнаних роликовими конвеєрами, портальними арками й пристроями для закріплення пакетів ланок. При великому фронті одна із платформ може бути обладнана електролебідкою для перетягування пакетів ланок уздовж состава на відстань до 200м. Зібрані на базі ланки укладають у пакети на платформи состава. Вони опираються на ролики рейками переверненої нижньої ланки. у такому випадку ланки обладнаються наконечниками. Пакети з 25-метровими ланками розміщають на двох чотиривісних платформах, а 12,5-метрові - на одній. При капітальному ремонті колії стару колійну решітку заміняють новою. У такому випадку необхідно мати не один поїзд, а два. Першим знімають старопридатну колійну решітку, тому поїзд називають колієрозбірним, другим укладають нову колійну решітку, його називають колієукладальним.

Малюнок 1.1 - схеми поїздів: а – колієрозбірного; б - колієукладального
У голові колієрозбірного поїзда (малюнок 1.1) перебуває локомотив 1, за ним слідують чотиривісні платформи 2 з роликовим конвеєром. У середній частині розташована одна або дві моторні платформи 3, а у хвості - кран 4. Останній поланково розбирає рейко-шпальну решітку й вантажить ланки на платформу. У міру комплектації пакетів ланок їх перетягають по составу на передні платформи. На звільнених від колійної решітки ділянках шляху планують або очищають забруднений баласт, після чого в роботу вступає колієукладальний поїзд (рисунок 1.1), що складається з укладального крана 4 і чотиривісних платформ 2 з моторною платформою 3 посередині. У хвості поїзда ставиться локомотив 1. Число моторних платформ залежить від довгі фронту робіт і коливається від 1 до 3. У процесі роботи кран із причіпними до нього декількома платформами з ланками ведуть укладання. У міру необхідності нову партію пакетів ланок у голову укладань доставляють веденою моторною платформою із хвостової частини живильного состава, переміщуваної локомотивом. Укладальним краном укладають ланки нової колійної решітки й тимчасово їх стикають. У міру укладання ланок одного пакета поле перетяжки укладаються ланки наступного пакета. Число платформ, що причіпляють до МПД або КК, залежать від профілю колії. ДО МПД при ухилі до 5% можна причепити до дев'яти платформ, а до КК - до п'яти; при ухилі від 5 до 10% - відповідно 5 й 3 платформи, а при ухилі більше 10% - 3 й 1 платформу, вантажені пакетами. Після закінчення робіт обидва состави повертаються на ланкоскладальну базу, де розвантажують старі й вантажать нові ланки рейко-шпальної решітки. укладальні крани використають також для механізованої зміни стрілочних переводів.
1.1 Укладальні крани УК-25/9-18
Укладальні крани служать для зняття зі шляхи старопридатних рейкових
ланок й укладання нових ланок. Розрізняють наступні типи укладальних кранів: КК-25/9-18 вантажопідйомністю 18т і КК 25/21 вантажопідйомністю 21т для роботи з 25 метровими ланками й шпалами будь-яких типів; КК-25/9 вантажопідйомністю 9т для роботи з 25 метровими рейковими ланками й дерев'яними шпалами. а також з 12,5 метровими ланками із залізобетонними шпалами. Серійно випускається кран КК -25/9-18, широко поширені також крани КК-25/9.
0100090000030202000002008a01000000008a01000026060f000a03574d46430100000000000100b2960000000001000000e802000000000000e8020000010000006c000000000000000000000015000000380000000000000000000000a93f0000ef1c000020454d4600000100e80200000e000000020000000000000000000000000000003f0900003b0d0000c80000001f010000000000000000000000000000d60e03002e600400160000000c000000180000000a0000001000000000000000000000000900000010000000850700006c030000250000000c0000000e000080120000000c00000001000000520000007001000001000000ceffffff00000000000000000000000090010000000000cc04400012540069006d006500730020004e0065007700200052006f006d0061006e00000000000000000000000000000000000000000000000000000000000000000000000000000000000000000000000000000000000000000000000000000000000000000000000000000000000000000000000000000000000000000000000000000000000000000000000000000000000000000000000000000000000000000000000000000000000000000000000000000000000000122d093000000000040000000000ae304f2d09300000000047169001cc0002020603050405020304877a0020000000800800000000000000ff01000000000000540069006d00650073002000000065007700200052006f006d0061006e00000000000000c62b093050cbae30003314000100000000000000044811006ab40230044811004c4eaf301c4811006476000800000000250000000c00000001000000180000000c000000000000025400000054000000000000000000000015000000380000000100000036310741c4930741000000002d000000010000004c000000040000000000000000000000850700006b03000050000000200000001600000046000000280000001c0000004744494302000000ffffffffffffffff860700006d030000000000004600000014000000080000004744494303000000250000000c0000000e0000800e000000140000000000000010000000140000000400000003010800050000000b0200000000050000000c02fd002c02040000002e0118001c000000fb020500020000000000bc02000000cc0102022253797374656d0000000000000000000000000000000000000000000000000000040000002d01000004000000020101001c000000fb02f2ff0000000000009001000000cc0440001254696d6573204e657720526f6d616e0000000000000000000000000000000000040000002d010100050000000902000000020d000000320a0d00000001000400000000002b02fd0020570600040000002d010000030000000000
Рисунок 1.2 – Схема укладального крана УК-25/9-18
Укладальний кран (малюнок 1.2) є самохідною одиницею й складається з моторної платформи 18, на якій на чотирьох телескопічних стійках 15 укріплена ферма 2 з розташованим на ній вантажопідйомним устаткуванням. Для установки ферми в робітники або транспортне положення передбачене гідросистема. По своїй конструкції й пристрою кран. за винятком вузлів вантажопідйомного встаткування. практично не відрізняється від крана КУ-25/9.
По прибуттю до місця роботи укладальний кран приводиться в робітники положення.
Цикл укладання однієї ланки колійної решітки складається з наступних операцій: захват і подьем ланки, переміщення уздовж ферми й винос ланки вперед по ходу руху крана, опускання ланки на баластову призму, стикування його з ранні покладеними ланками, відчеплення траверс вантажного візка з одночасним підніманням і пересування укладального крана по знову покладеній ланці шляху. Разом з укладальним краном переміщається також частина платформ укладального поїзда, вантажених пакетами ланок колійної решітки. Після того як усе ланки, що перебуває на платформі крана, покладені в шлях, перетягається із платформи на кран черговий пакет ланок колійної решітки.
Розбирання старого шляху краном виробляється у зворотному порядку. Рейкові ланки піднімають зі шляхи й укладають у пакет на платформу крана, а потім готові пакети переміщають по роликовому транспортері на платформи розбірного поїзда для транспортування їх на ланкоскладальну базу.
1.2 Машина для зміни стрілочних переводів
Машина призначена для зміни окремих стрілочних переводів
типів Р65, Р50 і Р45 марок 1/9 й 1/11 расчленненных на три блоки.
0100090000030202000002008a01000000008a01000026060f000a03574d46430100000000000100b2960000000001000000e802000000000000e8020000010000006c000000000000000000000015000000380000000000000000000000a93f0000ef1c000020454d4600000100e80200000e000000020000000000000000000000000000003f0900003b0d0000c80000001f010000000000000000000000000000d60e03002e600400160000000c000000180000000a0000001000000000000000000000000900000010000000850700006c030000250000000c0000000e000080120000000c00000001000000520000007001000001000000ceffffff00000000000000000000000090010000000000cc04400012540069006d006500730020004e0065007700200052006f006d0061006e00000000000000000000000000000000000000000000000000000000000000000000000000000000000000000000000000000000000000000000000000000000000000000000000000000000000000000000000000000000000000000000000000000000000000000000000000000000000000000000000000000000000000000000000000000000000000000000000000000000000000122d093000000000040000000000ae304f2d09300000000047169001cc0002020603050405020304877a0020000000800800000000000000ff01000000000000540069006d00650073002000000065007700200052006f006d0061006e00000000000000c62b093050cbae30003314000100000000000000044811006ab40230044811004c4eaf301c4811006476000800000000250000000c00000001000000180000000c000000000000025400000054000000000000000000000015000000380000000100000036310741c4930741000000002d000000010000004c000000040000000000000000000000850700006b03000050000000200000001600000046000000280000001c0000004744494302000000ffffffffffffffff860700006d030000000000004600000014000000080000004744494303000000250000000c0000000e0000800e000000140000000000000010000000140000000400000003010800050000000b0200000000050000000c02fd002c02040000002e0118001c000000fb020500020000000000bc02000000cc0102022253797374656d0000000000000000000000000000000000000000000000000000040000002d01000004000000020101001c000000fb02f2ff0000000000009001000000cc0440001254696d6573204e657720526f6d616e0000000000000000000000000000000000040000002d010100050000000902000000020d000000320a0d00000001000400000000002b02fd0020570600040000002d010000030000000000
Рисунок 1.3 – Машина для заміни стрілочних переводів в робочому стані
Вона робить навантаження зібраних на виробничій базі блоків, їх транспортування до місця робіт, зміну старопридатного стрілочного переводу, транспортування знятих блоків і вивантаження їх на базі. Машина (малюнок 1.3 з двох чотиривісних платформ 1 вантажопідйомністю по 60т, обладнаних фермами 2, що утворять підкранова колія для вантажної каретки 9. трикутними фермами 16, що служать стінками для обпирання на них блоків перекладу, допоміжних механізмів 13 для поперечного зсуву й обвідного блоку 12 для поздовжнього пересування пролітної ферми 5. За допомогою цих механізмів ферму приводять у робоче й транспортне положення. Для приведення в робочі положення платформи розчіплюють, локомотивом відсувають одну з них доти, поки кінець пролітної ферми збіжиться із шарнірними з'єднаннями ферми на іншій платформі. Потім механізмами 13 пролітну ферму зрушують і з'єднують із фермою платформи.
При цьому утвориться єдина підкранова колія для пересування вантажної каретки з однієї платформи на іншу. На трикутних фермах розміщені противаги для зрівноважування однобічних навантажень на платформи від каретки й блоків стрілочного переводу. Для приведення машини в транспортне положення каретку закріплюють на лівій платформі, пролітну ферму роз'єднують у місцях шарнірного з'єднання її з фермою на правій платформі. Потім механізмами 13 зрушують пролітну ферму в усередину (на лівій платформі це зрушення здійснюється за рахунок шарнірної вставки 3) і пересувають її на праву платформу із застосуванням локомотива.
По платформі пролітна ферма пересувається на каткових візках 14. Після зчіпки платформ підготовляють машину до транспортування.
Вантажна каретка 9 постачена механізмами:
- підйому й опускання стріли й змінюваних блоків;
- висування штанг 6,11;
- привода механізму пересування.
Для відхилення штанг 6 передбачений окремий механізм.
1.3 Моторна платформа дизельна (МПД)
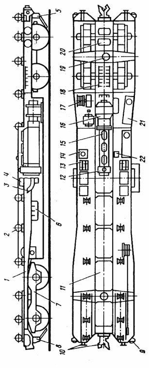
Платформа призначена для пересування пакетів нових ланок по составу до укладального крана в колієукладальному поїзді й для пересування пакетів ланок від крана на порожні платформи в путеразборочном поїзді. Будучи тяговою одиницею, ПМД пересуває частина состава робочого поїзда на ділянці робіт і виконує маневрові роботи на ланкоскладальній базі. Вона складається з рами 1 (Малюнок 1.4) з роликовим конвеєром 2, двох ходових візків 7, двох лебідок 17 для пересування пакетів рейкових ланок, пневматичного встаткування, двох дизель-генераторних установок, двох постів керування 4 зі знімними сидіннями 3 й електроустаткування. У середній частині рами розташовано дев'ять відсіків для розміщення основного встаткування. зверху вони закриті кришками 11. У центральному відсіку розміщені масляні й водяні радіатори 12. По обох сторони від них перебувають двигуни 15 дизель-генераторних установок. далие симетрисно із правої й лівої сторони розташовані генератори 16, контактори 18 і повітряні резервуари 20 пневматичної системи. Для доступу до дизель-генераторних установок, крім верхніх кришок, крім верхніх кришок передбачені бічні люки 6. Моторна платформа обладнана типовими ударно - упрямними приладами 10, автомобільними фарами 9, а також приладами світлової й звукової сигналізації. По вий довжині платформи на рамі встановлені два ряди двухреборчатих роликів. утворюючий роликовий конвеєр 2. По краях платформ ролики встановлені частіше, ніж по середині, що полегшує перехід пакета з однієї платформи на іншу. Поза відсіками на рамі розташовані акумуляторні батареї 13, баки для палива 21, баки для масла 14, лебідки для пересування пакетів ланок і компресор 2. По контурі платформи встановлені чотири пісочниці 5 й 8. Навантаження від рами платформи на ходові візки передаються через поперечні шкворневі балки з п’ятниками 19. Живлення постійним струмом електродвигунів ходових візків, лебідок і кранового устаткування здійснюється установкою, що складається з дизеля В1Д6 і генератора П-111П, з'єднаних втулочно-пальцевою муфтою.

Таблиця 1.1 - Технічна характеристика колієукладальних машин
|
Параметри |
Машина для зміни стрілочних переводів |
КК – 25/9 |
МПД |
|
Вантажопідйомність,т |
120 |
9 |
32 |
|
Швидкість пересування, км/год |
- |
70 |
80 |
|
Тип двигуна |
Електростанція |
Генератор |
Генератор |
|
Потужність двигуна, кВт |
50 |
100 |
100 |
|
Маса машини, т |
140 |
78 |
20 |
|
Обслуговуючий персонал |
2 |
3 |
- |
|
Швидкість підйому вантажу, м/с |
- |
0,3 |
0,1 |
2. Пристрій для монтажу елементів колії та стрілочних переводів DESEC TRACKLAYER TL 70
DESEC TRACKLAYER TL 70 – це універсальна машина для транспортування, підйому й монтажу особливо довгих і важких елементів шляхи й стрілочні переводи. Для роботи машини не потрібно ніякого додаткового піднімального пристрою, вона може працювати під лініями електропередач й у тунелях.
Для доставки машини на місце роботи не потрібно спеціального транспорту, тому що його можна перевозити на залізничній платформі або на трейлері. Установка сама розвантажується із транспортуючої її платформи й завантажується назад, рухаючись у вертикальному й горизонтальному напрямку на гусеницях, закріплених на телескопічних опорах. При транспортуванні опори tracklayer убирається до свого мінімального розміру. Кожна машина виробляється по індивідуальному замовленню клієнта, тому технічні характеристики й параметри машини можуть варіюватися.
Машина пересувається на чотирьох гідравлічно-керованих гусеницях, закріплених на телескопічних опорах, які можуть розсовуватися горизонтально й вертикально. Установка здатна самостійно піднімати, транспортувати, монтувати довгі й важкі елементи залізничної колії й стрілочних переводів. Коли гусениці розташовані в самому широкому положенні.
Завдяки системі рульового керування й рухомим гусеницям, машина може переміщати елементи по напрямку залізничної колії. Елемент може бути переміщений у будь-яку сторону також за допомогою розсування або складання підтримуючих опор. З метою безпеки транспортуючий елемент прикріплюється до днища машини гаками, що перебувають на балці, що може за допомогою гідравліки підніматися й опускатися. Такий твердий захват забезпечує захист від деформації при транспортуванні.
Tracklayer - це універсальна машина, призначена для заміни елементів шляхи й стрілочні переводи, а також для укладання колії. Вона може зняти старий елемент, перенести його до місця вивантаження, наприклад до вагона й підняти його у вагон. Машина може також вивантажити новий елемент, перенести його до потрібного місця шляху й установити.
DESEC TRACKLAYER, що має системі дистанційного радіоуправління, оснащений дизельним двигуном. Всі робочі функції управляються за допомогою гідравліки. Tracklayer може працювати на трьох швидкостях: низької, середньої й високої.
2.1 Система керування
Гідравлічна система має електричне керування. Всі важелі та кнопки управління розміщені на блоці дистанційного радіокерування. Пульт радіокерування оснащений резервною кабельною системою управління. крім цього позаду дизельного двигуна знаходиться ще одна панель керування, на якій розміщені контрольно-вимірювальні прилади двигуна і вимикачі фар. Коли дві машини працюють одночасно в синхронному режимі вони з’єднуються кабелями управління. Оператор може керувати роботою установок одночасно за допомогою дистанційного керування.
Технічна характеристика машини DESEC TRACKLAYER TL 70:
Максимальна вага 36 т;
Максимальна довжина 34 м;
Максимальна ширина 5,5 м;
Висота піднімання 2,85 м;
Висота на ходу 1,6 м;
Сила тяги 140 кН;
Швидкість (макс./робоча) 30/15 м/хв.;
Тип двигуна Deutz BF6M 1013C;
Дизель, водяне охолодження 156кВт/2200 об/хв.;
Вага 52 т;
Ширина 3,46-6,86 м;
Довжина 16,45-25,45 м;
Висота 2,825-5,025 м.
3. Розрахунок механізму вильоту
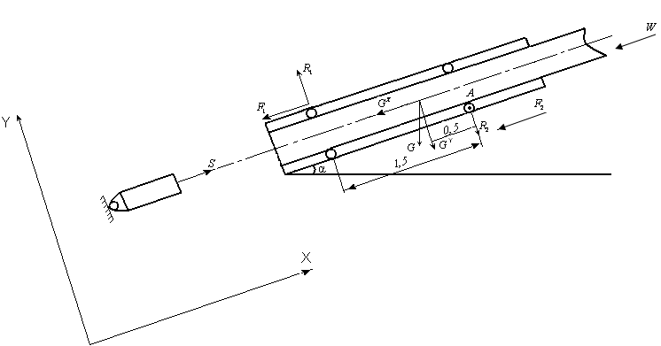
Розрахуємо механізм вильоту телескопічної стріли колієукладача DESEC TRACKLAYER TL 70. Для цього розглянемо два оптимальних положення при розкладеній стрілі, з урахуванням маси вантажу:
Вертикальне – в цьому положенні визначимо реакції, виникаючих від вертикальних шарнірів (роликів), при повздовжньому ухилі колії (рисунок 3.1);
Горизонтальне – визначаємо реакції, виникаючих від шарнірів (роликів) в горизонтальній, площині при поперечному ухилі колійної решітки (рисунок 3.4).
Розглянемо перше положення.

Рисунок 3.1 – розрахункова схема

Рисунок 3.2 – Розрахункова схема
Визначимо зусилля S на штоці гідроциліндра, для цього складемо три рівняння статики (рисунок 3.1).
Складемо рівняння відносно осі Х:
>
>
(3.1)
де S – зусилля на штоці, кН;
>
>,
>
>-
реакції, виникаючі в шарнірах, кН;
>
>
- опір вильоту стріли,
кН.
Складемо рівняння відносно осі Y:
>
>
(3.2)
де >
>
– вага стріли з урахуванням вантажу,
задаємося >
>=9
кН;
α
-
кут нахилу колії, α=>
>
кН;
>
>
- вертикальні реакції
в шарнірах, кН.
Складемо рівняння моментів відносно точки А:
>
> (3.3)
де >
> (3.4)
>
> (3.5)
>
>
(3.6)
де f
– коефіцієнт тертя, f
= 0,9 кН >
>.
З рівняння
>
>.
З рівняння
>
>;
>
>;
З рівняння
>
>;
>
> (3.7)
де >
>
- опір вильоту стріли, кН.
>
> (3.8)
де >
>
- горизонтальні зусилля в вертикальних
напрямних ролика, кН;
>
>
– діаметри вертикального
ролика, задаємося >
>=
70 мм;
d - діаметр цапфи ролика, d = 30 мм;
>
>
- коефіцієнт тертя
ковзання шарикопідшипників, >
>=0,02
>
>;
к - коефіцієнт
тертя кочення опорного ролика, к= 0,06 см
>
>.
Звідси >
>
Складемо
і розрахуємо систему з рівнянь (3.2) і >
>.
>
> (3.9)
>
>
>
>
>
>
>
>
>
>
>
>;
>
>кН.
Реакція
>
>
направлена в протилежну сторону.
>
>
кН,
>
>кН.
По отриманим результатах визначаємо зусилля на штоці
>
>кН.
Розглянемо друге розрахункове положення:

Рисунок 3.3 – Розрахункова схема

Рисунок 3.4 – Розрахункова схема
Складемо три рівняння статики ы визначимо зусилля S2 на штоці гідроциліндра в горизонтальній площині (рисунок 3.3).
Складемо рівняння відносно осі Х:
>
>,
(3.10)
де S – зусилля на штоці, кН;
>
>,
>
>-
реакції, виникаючі від вертикальних
складових, кН;
Складемо рівняння відносно осі Y:
>
>,
(3.11)
де >
>;
>
>
– вага стріли з
урахуванням вантажу, задаємося >
>=9
кН;
α
-
кут нахилу колії, α=>
>
кН;
З рисунку
видно, що >
>
тоді >
>,
>
>.
Складемо рівняння моментів відносно точки А:
>
> (3.12)
де >
>
– вертикальна і горизонтальна реакція
на шарнірах, кН.
З рівняння
>
>;
З рівняння
>
>
Складемо і розв’яжемо систему рівнянь:
>
>,
(3.13)
>
>
>
>
Звідси >
>.
>
>;
>
>;
>
>.
Визначимо
діаметр гідро циліндра по найбільшому
зусиллю >
>,
м.
>
> (3.14)
де S – зусилля на штоці гідроциліндра, S=9,36 кН;
>
>-
тиск масла в гідроциліндрі, Р= 12 МПа;
>
>
- гідравлічний КПД,
>
>=0,85
>
>.
>
>м
= 108 мм.
По ГОСТ
22-1417-79 встановлюємо наступні розміри
внутрішнього діаметра гідроциліндра
>
>мм,
>
>мм.
3.1 Розрахунок на міцність
Розрахуємо на міцність кріплення штока. При розрахунку міцності з’єднань не враховуються сили тертя в стику, так як затяжка болта не обов’язкова. Стержень болта розглянемо на зріз і зминання.

Рисунок 3.4 – Розрахункова схема
Умова
міцності по напруженнях зрізу >
>.
>
>
де S – зусилля на штоці гідроциліндра, S=9,36 кН;
>
>-
діаметр болта з’єднання, >
>
= 0,04м;
>
>
- число площин зрізу,
і = 2.
>
> (3.15)
Умова виконується.
4. Тяговий розрахунок
Сила тяги
визначається як сума опорів пересування
гусеничних візків колієукладача >
>,
кН. (рисунок 4.1).
>
> (4.1)
де >
>
- опір пересуванню гусеничних візків
по ґрунту, Н;
>
>
- опір гусеничного
ходу, Н;
>
>
- опір інерції при руху
з місця, Н;
>
>
- опір від ухилу колії,
Н;
>
>
- опір від вітру, Н;
>
>
- опір повороту гусениць
на кривому відрізку, Н;
Опір
пересуванню гусеничних візків по ґрунту
>
>,
Н.
>
> (4.2)
де >
>
- сила опору руху гусеничних візків,
>
>Н/т
>
>;
>
>
- маса колієукладача,
>
>т;
>
>
- маса ланки, >
>т.
>
>кН
Опір
гусеничного ходу >
>,
Н.
>
> (4.3)
>
>
кН

Рисунок 1.4 – Схема моторної платформи
Опір
інерції при руху з місця >
>,
Н:
>
> (4.4)
де >
>
- прискорення розгону, м/с.
>
>кН.
Опір від
ухилу колії >
>,
Н:
>
> (4.5)
де >
>
- ухил колії, >
>.
>
>
кН.
Опір від
вітру >
>,
Н:
>
> (4.6)
де >
>тиск
вітру, >
>Па
>
>;
>
>
- торцева підвітрена
площа колієукладача >
>,
ланки;
>
>;
>
>
кН.
Опір
повороту гусениць на кривому відрізку
>
>,
Н:
>
> (4.7)
де >
>
- момент тертя гусениці об грунт при
повороті, Н>
>м;
>
>
- радіус кривої, задаємося >
>=700
м;
Момент
тертя гусениці об грунт при повороті
>
>,
Н>
>м.
>
> (4.8)
де >
>
- коефіцієнт тертя гусениці об грунт,
>
>,
приймаємо
>
>=0,3
>
>;
>
>
- тиск від гусениці об
грунт, Н/м;
>
>
- поправочний коефіцієнт,
що компенсує неточності формули, >
>>
>.
>
> (4.9)
де >
>
- довжина гусениці, >
>
м;
>
>
- ширина гусениці,
>
>=500
мм=0,5 м;
>
>
- маса колієукладача,
>
>т;
>
>
- маса ланки, >
>т.
>
>.
>
>.
>
>
Звідси сила тяжіння буде рівна:
>
>
5. Охорона праці і техніка безпеки при обслуговуванні колієукладальних машин
Колієукладальні машини працюють в умовах проходу поїздів, по ділянках, де виконуються колійні роботи з участю бригад колійних робітників. Для безпечної і продуктивної роботи в цих умовах особливо необхідні знання і точне виконання вимог правил по техніці безпеки.
При роботі на електрифікованих ділянках постійного чи змінного струму, напруга з контактної мережі повинна зніматися на весь період роботи машини, а контактна мережа на місці роботи машини повинна заземлятися.
Під час приведення машини з транспортного положення в робоче і навпаки пропуск поїздів по суміжній колії не допускається. На період пропускання поїздів по суміжному путі робота машини повинна припинятись.
Перед виконання операцій по зарядженню і розрядженню машини, а також перепуском робочих органів машиніст повинен подавати звуковий сигнал.
При роботі машини забороняється знаходитись в зоні рухомих робочих органів, обертаючихся валів приводу, на близькій відстані від рукавів пнемо и гідросистем, ці місця повинні захищатися щитами.
В зв’язку з великою пожежонебезпекою машина забезпечується необхідною кількістю вогнегасників, а також пожежним інвентарем (СНиП – 2.01.02 – 85 та Протипожежні норми). Забороняється на електрифікованих ділянках колії гасіння пожару водою, особливо поблизу контактної мережі.
Під час роботи машини забороняється проводити регулювальні і ремонтні роботи, в тому числі змащування, закріплення різьбових з’єднань, розбору пневматичної, гідравлічної і електросистеми, на що вказують відповідні вказівники. Всі роботи пов’язані з ремонтними роботами виконуються в спецодязі.
Для підтримки необхідної температури та вологості в кабінах керування установлюють системи кондиціонування та опалення, (ДСН 3.3.6042-99)
«Санітарні норми мікроклімату»).
Скло машини повинно бути чистим і забезпечувати хорошу видимість колії, зону роботи і зупинки, для чого машина обладнується склоочисниками. Для захисту персоналу від погодних умов на машині знаходяться спеціальні плащі, сапоги, печатки.
Для роботи в нічний час машина обладнана фарами, а також обладнана підсвічуванням всіх робочих органів, кабіна також освітлюється (СНиП – ІІ - 4–79 «Норм штучного освітлення»).
Список використаної літератури
Машины и механизмы для путевого хозяйства. С.А. Соломонов, В.П. Хабаров, - М.: транспорт, 1984. – 440 с
Путевые машины / С.А. Соломонов, Н.В. Попович, Б.Н. Стефанов, М.Я. Яковлев; под ред. ктн С.А. Соломонова. – 2-е изд., перераб. и доп. – М.: Транспорт, 1985. – 535 с
Строительные и путевые машины / Н.Г. Домбровский, А.Ф. Игнатьев. – М.: Транспорт, 1967. – 535 с