Мехатронная система обеспечения заданной скорости электровоза на различных участках пути
;;o;;;;;;o;;;;;;o;;;;;;;;;;;;;;;;;;;;;;;;;;.;;..;;...;; ....; ;.....; ; ......; ;.......; ;........; ;;;;o;;;;;;o;;;;;;o;;;;;;;;;;;;;o;;;;;;o;;;;;;;;;;;;;;;;;;;;;;;;;;;;;;;;;;;;;;;;;;;.;;.;;.;;.;;.;;.;;.;;.;;.;;;;;o;;;;;;;;;;;;;;;;;;;.;;..;;...;; ....; ;.....; ; ......; ;.......; ;........; ;;;;;;;;;;;;;;;;;;;;;;;o;;;;;;o;;;;;;o;;;;;;;;;;;;;o;;;;;;o;;;;;.;;.;;.;;.;;.;;.;;.;;.;;.;;;;;;;;;;;;;;;;;;;;;;;;;;;;;;;;;;;;;;;;;;;o;;;;;;o;;;;;;o;;;;;;;o;;;;;;;;;;;;;;;;;Кафедра «РОБОТОТЕХНИКИ И МЕХАТРОНИКИ»
на тему: «Мехатронная система обеспечения заданной скорости электровоза на различных участках пути»
Москва, 2008
СОДЕРЖАНИЕ
ВВЕДЕНИЕ
Обзор существующих систем управления электровозом
Блок автоматического управления
1.2 Микропроцессорная система управления и диагностики (МСУД) электровозом ЭП1
2 Объект модернизации
2.1 Преобразователь выпрямительно-инверторный ВИП-5600
2.2 Выпрямительная установка возбуждения ВУВ-118
2.3 Шунтирующие устройства ШУ-001, ШУ-003
2.4 Описание микропроцессорной системы управления и диагностики электровоза (МСУД)
2.5 Ячейки шкафа МСУД
2.6 БлокБИ1.2(БИ1.4)
2.7 Программное обеспечение
2.8 Использование аппаратуры по назначению, техническое обслуживание и текущий ремонт
3 Выбор микроконтроллера
3.1 Общая характеристика
3.2 Четырехступенчатый конвейер команд
3.3 Конфигурирование внешней шины
3.4 Система прерываний
3.5 Генерация системного такта
3.6 Периферия микроконтроллера 80С166
3.7 Аналого-цифровой преобразователь (АЦП)
ЗАКЛЮЧЕНИЕ
СПИСОК ИСПОЛЬЗОВАННЫХ ИСТОЧНИКОВ
ВВЕДЕНИЕ
Мехатронная система – это неразделимая совокупность механических, электромеханических и электронных узлов, в которых осуществляется преобразование и обмен энергии, информации. В современных мехатронных системах преобразование движения одного или нескольких тел в требуемые движения других тел осуществляется системой тел (деталей), называемых механизмов. Механизмы входят в состав машин – технических систем и предназначены для осуществления механических движений по преобразованию потоков энергии, силовых взаимодействий, необходимых для выполнения различных рабочих процессов. Часто силовой основой МС является электропривод постоянного и переменного тока, формирующих управляемую электромеханическую систему широкого назначения. Для ЭМС управления характерна тесная взаимосвязь электромеханической части с энергетическим каналом питания и каналом управления, что обуславливает ожидаемые характеристики проектируемого устройства часто в равной степени всеми функциональными звеньями. Управляемые комплексы с электрическим приводом (система, состоящая из двигателя и связанных с ним устройств, приведения в движение одного или нескольких исполнительных механизмов, входящих в состав МС) получили название электромеханических систем (ЭМС).
Создание нового образца МС обычно сопровождается использованием в разнообразных вариантах гибких технологических решений. Разновидностью этого принципа является модульный подход. Модули могут легко соединяться, образуя сложные технические системы, разъединяться, заменяться с целью формирования ТС с другими компонентами и техническими характеристиками при необходимости модернизации и ремонта. В общем случае модуль характеризуется конструктивной и технологической завершенностью, обладает строго фиксированными параметрами (функциональными характеристиками, геометрическими размерами).
1 Обзор существующих систем управления электровозом
Под прямым цифровым управлением понимается не только непосредственное управление от микроконтроллера каждым ключом силового преобразователя (инвертора и управляемого выпрямителя), но и обеспечение возможности прямого ввода в микроконтроллер сигналов различных обратных связей (независимо от типа сигнала: дискретный, аналоговый или импульсный) с последующей программно-аппаратной обработкой внутри микроконтроллера.
Таким образом, система прямого цифрового управления ориентирована на отказ от значительного числа дополнительных интерфейсных плат и создание одноплатных контроллеров управления приводами, в том числе тяговыми электродвигателями.
Из этого становится ясно, что все существующие системы управления тяговом подвижном составе морально устарели и не обеспечивают современных требований. Необходимо переходить на специализированные одноплатные микроконтроллеры, содержащие в себе все функции обработки сигналов и выдачи управляющих воздействий.
В настоящее время во всем мире происходит обновление и модернизация подвижного состава с использованием цифровых технологий. «Цифра» на сегодняшний день является более экономичным, надежным и перспективным решением нежели обработка, и преобразование аналогового сигнала.
Разработана микропроцессорная аппаратура, предназначенная для управления электроприводом с коллекторным тяговым двигателем, которая успешно применяется в электровозах ЭП1. Она хорошо себя зарекомендовала. По данным Хабаровского и Красноярского локомотивных депо, куда поступили первые электровозы ЭП1, за первые полгода эксплуатации не было ни единой остановки в пути следования по вине микропроцессорной аппаратуры. По данным того же Красноярского локомотивного депо режим рекуперации на ЭП1 дает до 30% экономии электроэнергии. Эффект применения новых технологий виден уже через полгода эксплуатации:
Аппаратура не требует подстроек – снижение простоев и эксплуатационных расходов;
Устойчивая рекуперация во всех режимах – экономия электроэнергии
и сокращение износа тормозных колодок.
Возможность диагностирования оборудования – быстрый поиск
неисправностей. Недостатками системы являлись:
Громоздкость. Вид такой системы представлен на рисунке 1.1.
Высокая стоимость. В производстве такой системы использовались
платы фирмы Octagon Systems
Сложность ремонта из-за большого количества плат.
Блок автоматического управления
Блок автоматического управления выпрямительно-инверторными преобразователями электровозов переменного тока (БАУВИП) предназначен для управления тяговым электроприводом электровозов как в «ручном», так и в автоматическом режимах. Внешний вид блока автоматического управления представлен на рисунке 1.1

Рисунок 1.1 – Блок автоматического управления
При модернизации с электровозов снимаются блоки БУВИП-113, 133 и БАУ-002 с истекшим сроком службы (15 лет) и ставится один блок БАУВИП на каждую секцию, выполняющий те же функции. Он имеет существенно меньшие габариты, меньшее количество элементов и большую надежность, оснащен встроенными элементами диагностирования. БАУВИП от серийной МСУД отличается меньшим количеством элементов, отсутствием дисплейных модулей, за счет чего имеет существенно меньшую стоимость.
Факторы, образующие экономический эффект:
повышение стабильности и точности по фазе импульсов управления – экономия расхода электроэнергии на тягу и увеличение возврата электроэнергии в контактную сеть;
снижение затрат на обслуживание; снижение расходов на ремонт.
Состав блока автоматического управления:
Блок микропроцессорного контроллера БМК-036
Блок входных сигналов БВС-002
Блок формирователей БФ-043
Блок ввода-вывода БВВ-041
Блок аналого-цифрового преобразователя БАЦП-037
Два блока выходных усилителей БВУ-005
Блок питания БП-042
Блок теплового контроля БТК-004
Панель питания ПП-474
1.1.1 Описание съемных блоков системы управления
Съемный блок микропроцессорного контроллера БМК-036 предназначен для:
программного расчета и выдачи импульсов управления тиристорами выпрямительно-инверторным преобразователем и выпрямителем управляемым возбуждения в соответствии с алгоритмом управления;
выдачи сигналов управления устройствами.
Съемный блок формирователей БФ-043 предназначен для согласования уровней входных сигналов управления и информационных сигналов, подаваемых от электровозного оборудования, с уровнями сигналов, которые допускается подавать в съемный блок микроконтроллера БМК-036.
Съемный блок входных сигналов БВС-002 предназначен для синхронизации работы элементов МПСУ и системы фазового управления ВИПа и ВУВов с напряжением контактной сети.
Съемный блок импульсных выходных усилителей БВУ-005 предназначен для усиления импульсных сигналов управления тиристорами силовой выпрямительной установки, выдаваемых блоком микроконтроллера.
Блок теплового контроля БТК-004 предназначен для управления подогревом блока.
Блок питания БП-042 предназначен для формирования из бортовой сети питания постоянного напряжения +50 В электровоза стабилизированных напряжений, необходимых для питания аппаратуры.
Панель питания ПП-474 предназначена для выполнения привязки модернизированного блока управления выпрямительно-инверторными преобразователями (БАУВИП) к цепям питания и управления электровоза.
1.1.2 Основные технические характеристики
|
Номинальное напряжение питания переменного тока, В |
220 |
|
Пределы изменения напряжения, В |
198-242 |
|
Частота напряжения питания, Гц |
50 |
|
Потребляемая мощность: |
|
|
-для цепей контроля и управления, Вт |
не более 50 |
|
-для подогрева при температуре окружающего воздуха, ниже – 40°С, Вт |
не более 150 |
|
Режим работы |
продолжительный |
|
Охлаждение |
естественное |
|
Масса: |
|
|
Блок в сборе, кг |
32 |
1.2 Микропроцессорная система управления и диагностики (МСУД) электровозом ЭП1
Микропроцессорной системы управления и диагностики (МСУД) выполняет автоматическое управление электроприводом и электрическими аппаратами серийного электровоза ЭП1 в режимах тяги и торможения. При этом аппаратура МСУД обеспечивает: разгон электровоза до заданной скорости с заданной и автоматически поддерживаемой величиной тока якоря тяговых электродвигателей и последующее автоматическое поддержание заданной скорости, рекуперативное торможение до заданной скорости с последующим автоматическим поддержанием заданной скорости на спусках, автоматическое плавное торможение с учетом тормозных характеристик до полной остановки электровоза, защиту от буксования и юза колесных пар, автоматическую непрерывную диагностику состояния электрооборудования электровоза, стыковку микропроцессорных контроллеров с блоками АСУ безопасности, подключение микропроцессорных контроллеров к IBM PC совместимым персональным компьютерам для отладки рабочих программ и моделирования процесса управления. Требования к организации обмена, составу, кодированию информации и характеристикам электрических сигналов в магистральном канале соответствуют стандарту RS-485 (многоабонентской «токовой петле») Аппаратура микропроцессорной системы управления и диагностики электрооборудования электровоза построена на программных принципах обработки информации с использованием микропроцессорных контроллеров Micro PC. Внешний вид шкафа представлен на рисунке 1.2

Рисунок 1.2 – Внешний вид шкафа МСУД
0100090000032a0200000200a20100000000a201000026060f003a03574d464301000000000001008e0d0000000001000000180300000000000018030000010000006c0000000000000000000000350000006f00000000000000000000008c2c00008012000020454d4600000100180300001200000002000000000000000000000000000000c0120000131a0000cb0000001b010000000000000000000000000000f818030078510400160000000c000000180000000a0000001000000000000000000000000900000010000000870a00005d040000250000000c0000000e000080250000000c0000000e000080120000000c00000001000000520000007001000001000000a4ffffff00000000000000000000000090010000000000cc04400022430061006c006900620072006900000000000000000000000000000000000000000000000000000000000000000000000000000000000000000000000000000000001100b8e81100100000001cec11009ce91100525160321cec110014e911001000000084ea110000ec1100245160321cec110014e911002000000049642f3114e911001cec110020000000ffffffff5c2bf700d0642f31ffffffffffff0180ffff01800f020180ffffffff00000000000800000008000068f0110001000000000000005802000025000000372e9001cc00020f0502020204030204ef0200a07b20004000000000000000009f00000000000000430061006c006900620072000000000000000000dce91100dee32e31e88d08323ced110048e911009c382731090000000100000084e9110084e91100e878253109000000ace911005c2bf7006476000800000000250000000c00000001000000250000000c00000001000000250000000c00000001000000180000000c0000000000000254000000540000000000000000000000350000006f0000000100000055558740a0ab87400000000057000000010000004c000000040000000000000000000000860a00005f04000050000000200035003600000046000000280000001c0000004744494302000000ffffffffffffffff880a00005e040000000000004600000014000000080000004744494303000000250000000c0000000e000080250000000c0000000e0000800e000000140000000000000010000000140000000400000003010800050000000b0200000000050000000c02b500b301040000002e0118001c000000fb020300010000000000bc02000000cc0102022253797374656d0000000000000000000000000000000000000000000000000000040000002d010000040000002d01000004000000020101001c000000fb02f1ff0000000000009001000000cc0440002243616c6962726900000000000000000000000000000000000000000000000000040000002d010100040000002d010100040000002d010100050000000902000000020d000000320a0e0000000100040000000000b301b50020a80900040000002d010000040000002d010000030000000000
Рисунок 1.3 – Схема микропроцессорной системы управления и диагностики
Схема и габаритные размеры микропроцессорной системы управления и диагностики (МСУД) представлена на рисунке 1.3
1.2.1 Состав аппаратуры МСУД
Состав аппаратуры МСУД электровоза ЭП1 приведен в таблице 1, электровоза ВЛ80ТК(СК) - в таблице 2.
Таблица 1
|
Аппаратура МСУД |
Состав аппаратуры МСУД |
||
|
Шкаф |
Блок индикации |
Кабель |
|
|
МСУД1.2 |
Шкаф МСУД1.2 – 4шт. |
Блок БИ1.2 – 2шт. или Блок БИ1.5 – 2шт. |
Кабель 41 – 1шт. Кабель 42 – 1шт. |
Таблица 2
|
Аппаратура МСУД |
Состав аппаратуры МСУД |
||
|
Шкаф |
Блок индикации |
Кабель |
|
|
МСУД1.4 |
Шкаф МСУД1.4– 4шт. |
Блок БИ1.4– 2шт. или Блок БИ1.6– 2шт. |
Кабель 42 – 1шт. |
1.2.2 Технические характеристики
Аппаратура микропроцессорной системы управления и диагностики электрооборудования электровоза построена на программных принципах обработки информации с использованием микропроцессорных контроллеров Micro PC.
Требования к организации обмена, составу, кодированию информации и характеристикам электрических сигналов в магистральном канале соответствуют стандарту RS-485 (многоабонентской «токовой петле»).
Скорость передачи информации по магистральному каналу -до 56 Кбит/с.
Разрядность центрального процессора - 32. Быстродействие - 800 тыс. оп/с.
Емкость оперативного запоминающего устройства - не менее I Мб
Емкость постоянного запоминающего устройства - не менее 512 Кб.
Количество внешних запросов прерываний - 4.
Количество входных аналоговых сигналов - 20. Разрядность интегрирующего аналого-цифрового преобразователя - 12. Уровень входных сигналов - от 0 до 10В.
Количество каналов ввода дискретных сигналов в контроллере МПК1 (МПК2) - 24; в контроллере ЦМК - 48. Уровень дискретных сигналов: логический 0 - от 0 до +1 В; логическая 1 - от +30 до +80 В.
Количество выходных дискретных сигналов - 36, в том числе в ЦМК - 12. Напряжение коммутации до +80 В, ток активной нагрузки до 1,5 А.
Количество выходных импульсных сигналов - 16. Амплитуда выходных импульсов не менее 20 В на нагрузке 68 Ом.
Количество каналов программируемых таймеров - 16. Выходной сигнал - импульс длительностью 40 - 100 мкс.
Последовательный интерфейс по стыку RS-232 в контроллере ЦМК - 5 каналов; в контроллерах МПК1, МПК2 по одному каналу.
Входное напряжение питания 50 В постоянного тока с пределами изменения от 35 до 70 В.
Вероятность безотказной работы МСУД в течение 4000 час. (200000 км пробега электровоза) не менее 0,99.
Ремонтопригодность МСУД обеспечивается наличием встроенных средств технического диагностирования, ЗИП и конструктивным исполнением, позволяющим оперативно осуществить замену отказавших съемных элементов исправными из состава ЗИП, а также проведение необходимого технического обслуживания.
Время готовности МСУД к работе с момента включения при температуре окружающего воздуха выше минус 35 °С не превышает 10 минут, при температуре окружающего воздуха ниже минус 35 °С не превышает 30 минут.
Аппаратура МСУД нормально функционирует при воздействии внешних климатических факторов:
температура окружающей среды для аппаратуры, расположенной в кузове электровоза от минус 50 до + 60 °С, для блоков БИ1.2 - от минус 25 до + 60°С;
скорость возрастания температуры окружающего воздуха при запуске электровоза в работу до 1 град/мин;
скорость спада температуры окружающего воздуха после окончания работы электровоза до 2 град/мин;
относительная влажность воздуха до 100 % при температуре 20 °С;
возможность выпадения инея;
тип атмосферы II по ГОСТ 15150-69;
наличие пыли с концентрацией до 20 мг/куб. м;
максимальная высота над уровнем моря до 1400м.
В части воздействия внешних механических факторов МСУД соответствует группе М25 по ГОСТ 17516.1-90Е:
синусоидальная вибрация в диапазоне частот 0,5 - 100 Гц с максимальной амплитудой ускорений I § в любом из трех взаимно перпендикулярных направлений;
одиночные удары в одном горизонтальном направлении с пиковым ударным ускорением 3g и длительностью ударного ускорения 2-20 мс.
2 Объект модернизации
2.1 Преобразователь выпрямительно-инверторный ВИП-5600 УХЛ2
Выпрямительно-инверторный преобразователь (ВИП) предназначен, для выпрямления однофазного переменного тока частотой 50 Гц в постоянный и плавного регулирования напряжения питания тяговых двигателей в режиме тяги и для преобразования постоянного тока в однофазный переменный ток частотой 50 Гц и плавного регулирования величины противо-э.д.с. инвертора в режиме рекуперативного торможения.
На электровозе устанавливается два преобразователя. Каждый ВИП состоит из блока силового (БС),блока питания (БП) и блока диагностики (БД).
Технические данные:
Номинальное входное напряженна, БС, В 1570
Входная частота, Гц 50
Номинальное входное напряжение БП, В 330
Номинальное входное напряжение БД, В 50
Номинальное выходное напряжение, В 1400
Номинальный выходной ток, А 4000
Номинальная выходная активная мощность, кВт 5600
Номинальное выходное напряжение БП, В 24
Номинальная выходная мощность БП, Вт 600
Параметру импульсов на выходе СФИ:
Амплитуда напряжения основного импульса, В 10
Амплитуда напряжения форсажного импульса, В 20
Длительность импульса на уровне 0,1 мкс 650
Амплитуда напряжения основного импульса в цепях управления
силовых тиристоров, В 7
Коэффициент полезного действия, % 98,6
Масса БС, кг 1250
Масса БП, кг 2
Масса БД, кг 5
Охлаждение воздушное принудительное
Количество охлаждающего воздуха, м³/мин 330
Силовая часть ВИП имеет 8 плеч и выполнена по схеме в соответствии с рисунком 2.1. Каждое плечо ВИП состоит из двух последовательно и пяти параллельно соединенных тиристоров. Плечи укомплектованы тиристорами Т353-800. При этом плечи 1,2,7,8 укомплектованы тиристорами 28 класса с неповторяющимся импульсным напряжением в закрытом состоянии не ниже 3800 В; плечи 3,4,5,6-тиристорами 32 класса. Конструктивно блоки тиристоров расположены по высоте пять, а по горизонтали -по восемь штук.
Силовая схема ВИП позволяет реализовать четырехзонное регулирование выпрямленного напряжения при трех секциях вторичной обмотки тягового трансформатора.
0100090000032a0200000200a20100000000a201000026060f003a03574d464301000000000001008e0d0000000001000000180300000000000018030000010000006c0000000000000000000000350000006f00000000000000000000008c2c00008012000020454d4600000100180300001200000002000000000000000000000000000000c0120000131a0000cb0000001b010000000000000000000000000000f818030078510400160000000c000000180000000a0000001000000000000000000000000900000010000000870a00005d040000250000000c0000000e000080250000000c0000000e000080120000000c00000001000000520000007001000001000000a4ffffff00000000000000000000000090010000000000cc04400022430061006c006900620072006900000000000000000000000000000000000000000000000000000000000000000000000000000000000000000000000000000000001100b8e81100100000001cec11009ce91100525160321cec110014e911001000000084ea110000ec1100245160321cec110014e911002000000049642f3114e911001cec110020000000ffffffff5c2bf700d0642f31ffffffffffff0180ffff01800f020180ffffffff00000000000800000008000068f0110001000000000000005802000025000000372e9001cc00020f0502020204030204ef0200a07b20004000000000000000009f00000000000000430061006c006900620072000000000000000000dce91100dee32e31e88d08323ced110048e911009c382731090000000100000084e9110084e91100e878253109000000ace911005c2bf7006476000800000000250000000c00000001000000250000000c00000001000000250000000c00000001000000180000000c0000000000000254000000540000000000000000000000350000006f0000000100000055558740a0ab87400000000057000000010000004c000000040000000000000000000000860a00005f04000050000000200035003600000046000000280000001c0000004744494302000000ffffffffffffffff880a00005e040000000000004600000014000000080000004744494303000000250000000c0000000e000080250000000c0000000e0000800e000000140000000000000010000000140000000400000003010800050000000b0200000000050000000c02b500b301040000002e0118001c000000fb020300010000000000bc02000000cc0102022253797374656d0000000000000000000000000000000000000000000000000000040000002d010000040000002d01000004000000020101001c000000fb02f1ff0000000000009001000000cc0440002243616c6962726900000000000000000000000000000000000000000000000000040000002d010100040000002d010100040000002d010100050000000902000000020d000000320a0e0000000100040000000000b301b50020a80900040000002d010000040000002d010000030000000000
Рисунок 2.1 – Функциональная схема ВИП
Выравнивание тока по параллельным ветвям плеч обеспечивается подбором тиристоров по суммарному падению напряжения и также диагональным подключением плеч.
Допустимый разброс по суммарному падении напряжения между параллельными ветвями плеч при токе 400 А должен составлять не более 0,04 В.
Система формирования импульсов служит для включения тиристоров силовой схемы ВИП, которая управляется аппаратурой управления электровоза.
Параметры сигнала, подаваемого на вход СФИ, должны иметь следующие значения:
Амплитуда напряжения, не менее, В 18
Амплитуда тока, не менее, А 0,2
Амплитуда импульсов тока на уровне 0,5 амплитуды, не менее 30
Скорость нарастания управляющего тока, не менее, А/мкс 0,1
Блок питания обеспечивает напряжением блоки управления СФИ. Блок питания запитан от обмотки собственных нужд тягового трансформатора электровоза.
БП представляет собой транзисторный стабилизатор напряжения с параллельным: регулирующим элементом. Стабилизатор позволяет с заданной точностью поддерживать постоянное .напряжение на выходе при изменении входного напряжения в пределах 250-4700 В.
Блок диагностики служит для контроля наличия пробитых тиристоров в плечах БС, пробитых транзисторов в БП и СФИ, подачи запускающих импульсов для БУ при диагностировании работы СФИ, а так же позволят контролировать алгоритм работы плеч ВИП при работе его на холостом ходу или под нагрузкой.
2.2 Выпрямительная установка возбуждения ВУВ-118
Выпрямительная установка возбуждения ВУВ-118 предназначена для выпрямления однофазного переменного тока частотой 50 Гц в постоянный и плавного регулирования тока в обмотках возбуждения тяговых двигателей при электрическом торможении.
Технические данные:
Рабочее положение вертикальное
Номинальная мощность питания цепей управления, не более, Вт 250
Напряжение силовых целей относительно "земли"
и цепей управления, В 1500
Амплитуда напряжения импульсов управления на выходе,
не менее, В 20
Длительность импульсов управления на входе на уровне 0,5 амплитуды не менее, мкс 20
Напряжение питания постоянного (пульсирующего)тока цепей
управления, В 50
Номинальное напряжение питания переменного тока
(эффективное значение), В 2×270
Допустимое отклонения питающего напряжения, В 2×(100-330)
Допустимые перенапряжения на силовых выводах,
не более, В 1600
Номинальный продолжительный выпрямленный ток
(среднее значение), А 850
Ток выпрямленный 5-ти минутного режима с холодного состояния,
не более, А 308
Масса, кг 147
Выпрямительная установка возбуждения представляет собой двухполупериодный управляемый тиристорный выпрямитель, собранный по схеме с нулевой точной. Каждое плечо выпрямителя состоит из трех тиристоров, включенных параллельно.
На лицевой панели блока, размещены съемные блоки тиристоров 2,4.В каждом блоке находится силовой тиристор 10 с охладителем 11 и элементы защищающие тиристор от перенапряжения и помех.
Каркас состоит из металлического сварного основания 19. боковые панели образуют воздуховод.
Охладитель расположен в воздуховоде и охлаждается нагнетаемым воздухом. На боковых панелях расположены индуктивные делители 6, слева и справа установлены предохранители 20. Тиристоры, индуктивные делители и предохранители соединены шинным монтажом. Напряжение подводится шинами 1,3,5. Усилители-формирователи импульса управления силовыми тиристорами обоих плечей размещены на одной панели управления 22.
Блок ПКБ предназначен для установки в него съемного устройства регистрации (кассеты ЭН). На широкой стороне блока находятся направляющие для установки кассеты на оптический узел. На задней стенке устройства закреплен разъем для подключения электрической линии связи с аппаратурой МСУД.
Габаритные размеры блока 136x130x35 мм.
Описание блока ПКБ, кассеты ЭН и устройства обработки информации регистраторов ПКС изложены в руководстве по эксплуатации аппаратуры.
Инструкция для ввода данных о временных ограничениях скорости, регистрации диагностической информации и обработки зарегистрированной информации изложена в приложении А.
2.3 Шунтирующие устройства ШУ-001, ШУ-003
Шунтирующие устройства предназначены для гашения энергии, запасенной в катушках аппаратов, при отключении катушек от источников питания.
Технические данные:
Максимальное импульсное напряжение между
выводами в прямом направлении, В 8000
Номинальное напряжение постоянного (пульсирующего) тока между выводами в обратном направлении, В 500
Масса ШУ-001,кг 0,008
Масса ШУ-003,кг 0,015
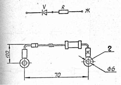
Шунтирующее устройство представляет собой цепь, состоящую из последовательно соединенных диода V типа КД209 В и резистора R С2-ЗЗН-2-1кОм±10% с наконечниками 2 для подключения к выводам катушек. В шунтирующем устройстве ШУ-003 для увеличения длины цепочки элементу соединены с помощью проволоки 1 ММ-1,0.Вывод с маркировкой на трубке "Ж" подключается к выводу' катушки, связанному с "землей".
Шунтирующее устройство ШУ-001 представлено в соответствии с рисунком 2.2,а шунтирующее устройство ШУ-003-с рисунком 2.3.

Рисунок 2.2 – Шунтирующее устройство ШУМ-001.Схема электрическая и габаритный чертеж.
0100090000032a0200000200a20100000000a201000026060f003a03574d464301000000000001008e0d0000000001000000180300000000000018030000010000006c0000000000000000000000350000006f00000000000000000000008c2c00008012000020454d4600000100180300001200000002000000000000000000000000000000c0120000131a0000cb0000001b010000000000000000000000000000f818030078510400160000000c000000180000000a0000001000000000000000000000000900000010000000870a00005d040000250000000c0000000e000080250000000c0000000e000080120000000c00000001000000520000007001000001000000a4ffffff00000000000000000000000090010000000000cc04400022430061006c006900620072006900000000000000000000000000000000000000000000000000000000000000000000000000000000000000000000000000000000001100b8e81100100000001cec11009ce91100525160321cec110014e911001000000084ea110000ec1100245160321cec110014e911002000000049642f3114e911001cec110020000000ffffffff5c2bf700d0642f31ffffffffffff0180ffff01800f020180ffffffff00000000000800000008000068f0110001000000000000005802000025000000372e9001cc00020f0502020204030204ef0200a07b20004000000000000000009f00000000000000430061006c006900620072000000000000000000dce91100dee32e31e88d08323ced110048e911009c382731090000000100000084e9110084e91100e878253109000000ace911005c2bf7006476000800000000250000000c00000001000000250000000c00000001000000250000000c00000001000000180000000c0000000000000254000000540000000000000000000000350000006f0000000100000055558740a0ab87400000000057000000010000004c000000040000000000000000000000860a00005f04000050000000200035003600000046000000280000001c0000004744494302000000ffffffffffffffff880a00005e040000000000004600000014000000080000004744494303000000250000000c0000000e000080250000000c0000000e0000800e000000140000000000000010000000140000000400000003010800050000000b0200000000050000000c02b500b301040000002e0118001c000000fb020300010000000000bc02000000cc0102022253797374656d0000000000000000000000000000000000000000000000000000040000002d010000040000002d01000004000000020101001c000000fb02f1ff0000000000009001000000cc0440002243616c6962726900000000000000000000000000000000000000000000000000040000002d010100040000002d010100040000002d010100050000000902000000020d000000320a0e0000000100040000000000b301b50020a80900040000002d010000040000002d010000030000000000
Рисунок 2.3 – Шунтирующее устройство ШУМ-003.Схема электрическая и габаритный чертеж.
2.4 Описание микропроцессорной системы управления и диагностики электровоза (МСУД)
ЦМК обеспечивает обмен информацией между контроллерами управления и пультами машиниста, диагностику состояния электрооборудования и связь с приборами АСУБ по стыку RS-232.МПК1 или МПК2 последовательно опрашивает состояние входных сигналов от объекта управления, вычисляет значения выходных управляющих воздействий по программе, соответствующей алгоритму управления приводом и другим оборудованием электровоза. В аппаратуре предусмотрен встроенный непрерывный контроль, обеспечивающий проверку ее исправности. При возникновении отказов отдельных компонентов аппаратура либо сохраняет работоспособность, либо передает сообщение в блок БИ1 о необходимости переключиться на другой МПК.
Блок входных фильтров обеспечивает сглаживание пульсаций и кратковременных провалов входного напряжения питания аппаратуры.
2.4.1 В состав ЦМК входят следующие функциональные узлы:
- ячейка микропроцессорного контроллера МК3.1 ( Octagon Systems 6010 ), предназначенная для программной обработки информации, управления приемом-выдачей сигналов обмена с элементами ввода-вывода, сопряжения с внешними устройствами по стыку RS-232;
- две ячейки ввода дискретных сигналов ДИЗ, предназначенные для ввода в контроллер сигналов дискретных датчиков;
- ячейка преобразователей уровней ПУ1.1, предназначенная для гальванической развязки и согласования уровней сигналов цепей шкафа МСУД с цепями ячейки МКЗ, а также выдачи напряжения +5 В для питания энергонезависимого регистратора;
- ячейка вывода дискретных сигналов УДЗ, предназначенная для выдачи управляющих воздействий на дискретные исполнительные механизмы;
- ячейка питания СН5, предназначенная для преобразования напряжения
бортсети 50 В постоянного тока в напряжение +5 В питания узлов аппаратуры, а также для управления подогревом аппаратуры при работе в условиях низких температур;
- блок резисторов БР1, предназначенный для подогрева аппаратуры при работе в условиях низких температур.
2.4.2 В состав МПК1 (МПК2) входят следующие функциональные узлы:
- ячейка микропроцессорного контроллера МКЗ, предназначенная для программной обработки информации, управления приемом-выдачей сигналов обмена с элементами ввода-вывода, ввода информации о состоянии частотных датчиков, выдачи импульсных команд фазового управления тиристорами ВИП и ВУВ, а также управления потоками информации между контроллерами шкафа МСУД и пультами машиниста;
- ячейка преобразователей уровней ПУ1.2, предназначенная для гальванической развязки и согласования уровней сигналов цепей шкафа МСУД с цепями ячейки МКЗ;
- ячейка аналого-цифрового преобразователя АЦ2, предназначенная для интегрирующего преобразования аналоговых сигналов в параллельный 16-разрядный код;
- ячейка ввода дискретных сигналов ДИЗ;
- ячейка ввода аналоговых сигналов и фазовой синхронизации ВФС, предназначенная для формирования по потенциальным условиям начальных углов α0, α0зад, α0ср и γр, а также для формирования сигнала синхронизации процедур ввода/вывода и обработки информации микропроцессорным контроллером;
- две ячейки вывода дискретных сигналов УДЗ;
- ячейка ВФЗ, предназначенная для формирования сигналов γmax, Uси, Uсл1 и Uсл2, необходимых для работы ячейки ВФС;
- ячейка выходных усилителей УВЗ, предназначенная для усиления импульсов управления ВИП;
- ячейка выходных усилителей УВ4, предназначенная для усиления импульсов управления ВУВ;
- ячейка питания СН4, предназначенная для преобразования напряжения бортсети 50 В постоянного тока в напряжения +5 В и +30 В питания узлов аппаратуры и в напряжения +15 В и минус 15 В питания датчиков тока, а также для управления подогревом аппаратуры при работе в условиях низких температур;
- блок резисторов БР2.
2.4.3 Устройство и состав ячеек шкафа МСУД 1.4
аналогично шкафу МСУД 1.2 за исключением установки двух ячеек ПУ2.1, ПУ2.2 вместо ячеек ПУ1.1 и ПУ1.2.
2.5 Ячейки шкафа МСУД
2.5.1 Ячейка микропроцессорного контроллера МКЗ
предназначена для программной обработки информации, управления приемом-выдачей сигналов обмена с элементами ввода-вывода, аналого-цифрового преобразования в соответствии с программами, записанными в ПЗУ, а также для ввода информации о состоянии частотных датчиков и выдачи импульсных команд фазового управления тиристорами ВИП и ВУВ. Внешний вид ячейки МК3 представлен на рисунке 2.4.
Ячейка состоит из следующих функциональных узлов:
- процессорная плата 6010 (6020) на помехоустойчивой КМОП-структуре;
- узел буферизации системной шины;
- узел дешифратор адреса;
- узел измерителя скорости;
- входной буфер сигналов от датчиков скорости;
- формирователи сигналов управления ВИП и ВУВ;
- узлы буферизации сигналов управления ВУВ и ВИП:
- узлы буферизации локальной шины данных и локальной шины управления ячейки УДЗ;
- узел индикации;
- узел формирования сигнала «отказ процессора».

Рисунок 3 – Внешний вид ячейки МК3.
Плата 6010 (рисунок 2.5) предназначена для программной обработки информации и содержит:
- процессор 386SХ, 25 МГц фирмы Intel;
- встроенную операционную систему DOS в ПЗУ;
- Phoenix BIOS с расширениями;
- флэш-ПЗУ объемом 1 Мбайт с файловой системой;
- статическое ОЗУ объемом 128 к
байт, обеспечивающее энергонезависимую память с неограниченными циклами считывания и записи;
- динамическое ОЗУ 4 Мбайт;
- два порта последовательной связи СОМ1 (RS-232) м СОМ2 (RS-232);
- универсальный параллельный порт LPT1;
- сторожевой таймер;
- программу самодиагностики ПЗУ.

Рисунок 2.5 – Внешний вид платы Octagon Systems 6010
Последовательные порты СОМ1 и СОМ2 совместимы с 8250. Программируемая скорость передачи информации в бодах составляет от 150 до 115К бод. Оба порта имеют интерфейс RS-232.Узел буферизации системной шины обеспечивает усиление и обмен сигналами, формируемыми ячейкой, с системными ресурсами. Дешифратор адреса осуществляет формирование сигналов ВЫБОР1 ВЫБОР4, обеспечивающих подключение устройств ячейки МКЗ к шине данных DВ0...DВ7, а также формирование сигналов записи W1 . W5 и чтения R1…R5 локальной шины управления ячейкой УДЗ.Измеритель скорости предназначен для ввода информации от датчиков скорости, поступающей от ячейки ПУ1.2, а также для определения направления движения локомотива. Формирователи сигналов управления ВИП и ВУВ предназначены для выдачи импульсных команд управления силовыми тиристорными узлами электровоза в соответствии с программой, заложенной в ПЗУ платы 6010.
Узел индикации предназначен для отображения информации о режиме работы программного обеспечения на 7-ми сегментном индикаторе, находящемся на лицевой панели ячейки. Узел управляется сигналами LED1 ...LEDЗ от параллельного порта платы 6010.
Узел формирования сигнала «отказ процессора» предназначен для формирования импульсов, обеспечивающих включение сигнализации отказа микропроцессорного комплекта на блоке индикации аппаратуры МСУД
2.5.2 Ячейка МК3.1
отличается от ячейки МКЗ наличием платы расширения 5555. Плата имеет четыре последовательных порта СОМ4 - СОМ7 RS-232), совместимых с UART 16С55О.
2.5.3 Ячейка ПУ1
предназначена для гальванической развязки и согласования уровней сигналов цепей шкафа МСУД с цепями ячейки МКЗ. Ячейка состоит из следующих функциональных узлов:
- узел гальванической развязки сигналов от датчиков скорости;
- преобразователь интерфейса основного канала связи;
- преобразователь интерфейса резервного канала связи;
- узел связи с ПКБ;
- узел связи с САУТ;
- узел определения направления движения;
- узел контроля включения подогрева;
- скоростной канал связи между микропроцессорными комплектами;
- усилитель сигнала «отказ процессора»;
- гальванически развязанный источник напряжения для питания ПКБ.
Узел гальванической развязки предназначен для защиты и согласования сигналов от датчиков скорости с элементами ячейки МКЗ. Преобразователи интерфейсов RS-232 в RS-485 для основного и резервного канала связи служат для обмена информацией между блоком индикации, устанавливаемым в кабине машиниста и ячейкой МКЗ. В резервном канале связи имеется схема выдачи сигналов в канал отладки, которая обеспечивает соединение процессорной платы ячейки МКЗ с персональным компьютером для обновления и отладки программного обеспечения.
Узел связи с ПКБ передает сигналы интерфейса RS-232 от ячейки МКЗ через канал связи «токовая петля» в энергонезависимый накопитель ЭН. Узел связи с САУТ служит для обмена информацией через канал «токовая петля» между процессорной платой ячейки МКЗ и системой автоматического управления торможением локомотива. Узел контроля включения подогрева предназначен для преобразования напряжения питания цепей подогрева с уровнем 50 В в напряжение параллельного порта процессорной платы ячейки МКЗ с уровнем 5 В для контроля включения цепей подогрева.
Скоростной канал связи между микропроцессорными комплектами предназначен для оперативного обмена информацией между МПК и ЦМК в случае возникновения аварийных ситуаций. Усилитель сигнала «отказ процессора» предназначен для гальванической развязки и усиления сигнала «отказ», формируемого ячейкой МКЗ.
Гальванически развязанный источник 5-ти вольтового напряжения предназначен для питания накопителя ПКБ.
2.5.4 Ячейка ГТУ1.1
устанавливается в ЦМК и отличается от ПУ1 отсутствием узла гальванической развязки отдатчиков скорости и узла определения направления движения.
2.5.5 Ячейка ПУ1.2
устанавливается в МПК и отличается от ПУ1 отсутствием узлов связи с ПКБ и САУТ, узла контроля включения подогрева, а также источника напряжения для питания ПКБ.
2.5.6 Ее устройство
аналогично ячейке ПУI за исключением того, что в качестве преобразователя интерфейса основного канала связи в ней применен интерфейс многоабонентской «токовой петли».
2.5.7 Ячейка ввода дискретных сигналов ДИЗ
предназначена для побайтного ввода информации в микропроцессорный контроллер. Ячейка обеспечивает ввод 24 дискретных сигналов (3 байта). При этом наличию входного сигнала соответствует подача +50 В на входной контакт элемента. Внешний вид ячейки ДИ3 представлена на рисунок 2.

Рисунок 2.6 – Внешний вид ячейки ДИ3
Ячейка состоит из следующих узлов:
- дешифратор адреса;
- узел развязки входных цепей;
- входной узел, предназначенный для увеличения токовой нагрузки на контакты разъемов входных цепей;
- RС-фильтр;
- усилитель строба записи информации;
- регистр памяти входной информации;
- шинные формирователи для связи с шиной данных;
- узел потенциальной развязки;
- узел диагностики.
Выбор ячейки, выбор канала и считывание информации осуществляется подачей соответствующих внешних сигналов SАО, SА1, SА4 - SА9, АЕМ на входы дешифратора адреса.
Адрес ячейки формируется подключением цепей АВР4 - АВР9 к шине 0 В шкафа. При совпадении адреса формируется сигнал выбора ячейки и выходы регистра памяти входной информации через шинные формирователи подключаются к шине данных.
Занесение информации с входов ячейки в регистр происходит по сигналу, выдаваемому усилителем строба записи входной информации через 5 мс после прохождения сигнала СИ, отмечающего начало полупериода напряжения контактной сети. При этом, сигналы с входов через входные узлы. RС-фильтры и узлы потенциальной развязки поступают на входы регистра. Во входных цепях ячейки также имеется узел развязки входных цепей, предназначенный для предотвращения влияния каналов друг на друга. В ячейке, кроме того, имеется узел диагностики, предназначенный для программного определения работоспособности каналов путем подачи на их входы напряжения +50 В.
2.5.8 Ячейка вывода дискретных сигналов УДЗ
предназначена для выдачи управляющих воздействий на дискретные исполнительные механизмы.
Ячейка состоит из следующих функциональных узлов:
- входной и выходной шинные формирователи;
- узел формирования сигнала сброса;
- узел формирования сигналов выбора;
- регистр хранения состояния выходов;
- узел гальванической развязки;
- выходные усилители.
-узел контроля состояния выходов.
Занесение информации в ячейку осуществляется путем записи в регистр состояния выходов, поступающих с шины данных через входной шинный формирователь. Сохранение информации в регистре происходит при подаче сигнала выбора от схемы генерации сигналов выбора, формирующегося в зависимости от сигналов локальной шины управления ячейкой W1...W5, R1...R5, ВЕN и сигналов, определяющих место ячейки в шкафу N1...NЗ. С выходов регистра сигналы через узел гальванической развязки и выходной усилитель подаются на выходы ячейки и схему контроля, благодаря которой существует возможность считывания состояния выходов через выходной шинный формирователь.
2.5.9 Ячейка аналого-цифрового преобразователя АЦ2
предназначена для преобразования аналоговых сигналов датчиков контролируемых параметров электровоза в двоичный цифровой код. В основу принципа действия ячейки положено интегрирование входного напряжения в течение задаваемого интервала времени 10 мс. Ячейка имеет 16 входных каналов аналоговых сигналов. Нормализация входных сигналов осуществляется входными усилителями с делителями напряжения.
Нормализованные входные аналоговые сигналы преобразуются аналоговым мультиплексором в последовательность импульсов, поступающих через согласующий усилитель на вход 12-ти разрядного АЦП. Управление АЦП и математические операции по интегрированию входных сигналов осуществляются микропроцессором в соответствии с программой, записанной в ПЗУ. Связь АЦП с микропроцессором осуществляется через согласующие элементы. Логические операции производятся программируемой логической матрицей (ПЛМ). Интервал интегрирования задается синхроимпульсами СУ, поступающими с ячейки ВФС. Начало интегрирования производится по фронту импульса СУ начала интервала. Окончание интегрирования производится по фронту второго импульса СУ, фиксирующего окончание интервала.
Коды, соответствующие средним значениям входных аналоговых сигналов, записываются в микропроцессоре и передаются во внешнюю цепь по сигналу ЮК. системной шины. Схема ячейки позволяет производить ограничение интервала интегрирования подачей сигнала "Строб" от ячейки МКЗ. Для синхронизации работы микропроцессора в схеме ячейки используется внешний сигнал Ft частотой 25,6 кГц, поступающий из ячейки
ВФС.
Выбор ячейки, выбор канала и считывание информации осуществляется подачей соответствующих внешних сигналов SА0 — SА9, АЕN на входы программируемой матрицы через шинный преобразователь.
Адрес ячейки формируется подключением соответствующих цепей АВР4 - АВР9 к шине 0 В шкафа.
2.5.10 Ячейка ввода аналоговых сигналов и фазовой синхронизации ВФС
предназначена для формирования по потенциальным условиям начальных углов α0,α0зад,γр,а также формирования сигналов синхронизации процедур ввода/вывода и обработки информации микропроцессорным контроллером. Ячейка ВФС состоит из двух функциональных групп: #1 - входной формирователь и #2 - узел фазовой синхронизации. Входной формирователь #1 предназначен для формирования по потенциальным условиям начальных углов α0,α0зад,γр и состоит из следующих функциональных узлов;
- формирователи длительности сигналов α0,α0зад и γр;
- мультиплексор;
- фазовый компаратор;
- преобразователи фазы сигналов α0,α0зад,(γр)в двоичный код;
- ограничитель угла α0зад> >;
- интерфейс.
Формирователи длительности сигналов α0 и α0зад и γр выделяют по потенциальным условиям углы α0 и α0зад в режиме тяги и γр в режиме рекуперации. Мультиплексор предназначен для выдачи в режиме тяги на преобразователь в двоичный код сигнала α0, а в режиме рекуперации сигнала γр. Фазовый компаратор выделяет больший по фазе сигнал между α0ср формирующимся ячейкой МКЗ и α0зад , формирующимся по потенциальным условиям. Узел ограничителя сигнала αрег выполняет преобразование по следующему алгоритму: в режиме тяги αрег огр = α0зад, если αрег, меньше α0зад; αрег огр = αрег, если αрег больше α0зад; в режиме рекуперации αрег огр = αрег. Интерфейс предназначен для выдачи на системную шину данных двоичных кодов углов α0,α0зад и γр, а также сигналов «тяга/рекуперация» (ТУР) и «знак по /периода» (П/П).
Функциональная группа #2 - узел фазовой синхронизации состоит из следующих функциональных узлов:
- полосовой фильтр и детектор нуля;
- синхронный умножитель частоты;
- формирователь сигналов «СИ», «СУ», «Ft» и «знак полупериода»;
- формирователь сигнала «блокировка».
Полосовой фильтр и детектор нуля предназначены для выделения первой гармоники 50 Гц напряжения контактной сети и определения момента перехода его через ноль. Узел синхронного умножения частоты формирует на выходе сигнал частотой 25,6 кГц, синхронный с напряжением контактной сети, из которого 1 путем деления формируются сигналы Ft, П/П, СУ и СИ. Формирователь сигнала "блокировка" производит контроль длительности отсутствия сигнала сети. При отсутствии сигнала в течении 0,2 с происходит выдача сигнала "блокировка" на входной формирователь и ячейки УВЗ УВ4, при этом, синхронный умножитель частоты плавно переходит на свободную частоту.
2.5.11 Ячейки усилителей выходных УВЗ и УВ4
предназначены для усиления импульсов управления ВУП и ВИП, формируемых ячейкой МКЗ.
Ячейки представляют собой каждая набор импульсных усилителей, предназначенных для управления тиристорными силовыми устройствами электровоза:
- двумя выпрямительно-инверторными восьмиплечевыми преобразователями ВИП 5600, питающими якорные цепи тяговых электродвигателей, двух тележек электровоза (ячейки УВЗ);
- выпрямительной двухплечевой (с общей средней точкой) установкой возбуждения ВУВ-24, питающей обмотки возбуждения всех шести тяговых электродвигателей двух тележек, соединяемых в режиме рекуперации последовательно (ячейки УВЗ);
-шестью шунтирующими тиристорами, размещенными на панелях резисторов ПТ-246 (ячейки УВ4).
Ячейки УВЗ, УВ4 согласованы с управляющими входами перечислении силовых устройств и осуществляют гальваническое разделение цепей питания входов 30 В и 50 В от цепей "цифрового" питания 5 В шкафа МСУД. Ячейка УВЗ состоит из десяти, а ячейка УВ4 из шести однотипных каналов. Каждый из каналов состоит из усилителя входного сигнала, узла пре образования длительности импульса и блокировки выходного сигнала, узла гальванической развязки и выходного импульсного усилителя. Для контроля функционирования каналов в ячейках имеется узел индикации, выполненный на светодиодах, установленных на лицевой панели ячейки. В ячейках имеется возможность блокировки выходов во время прохождения электровозом изолирующих вставок контактного провода. При этом, пропадает напряжение Узел, и сигнал "блокировка", вырабатываемый ячейкой ВФС, через схему узла преобразования длительности импульсов запирает все каналы ячеек на время прохождения изолирующей вставки и еще дополнительно в течение 5,12 с, после снятия сигнала "блокировка" восстанавливается нормальная работа ячеек УВЗ, УВ4.
2.5.12 Ячейка входных формирователей ВФЗ
предназначена для согласования сигналов сетевых датчиков трансформаторов с входами ячейки ФС.
Ячейка состоит из:
- узлов формирования сигнала максимального угла коммутации 1Uγ, 2Uγ - #1,#2;
- узлов формирования сигналов 1Uсл, 2Uсл - #3,#4;
- узлов формирования сигналов Uγ - #5,#6.
Узлы формирования сигнала максимального угла коммутации γmax состоят из 4-х схем сигналов датчиков углов коммутации, делителя напряжения, фильтра и стабилизатора напряжения. Узлы формирования сигналов Uсл1 и Uсл2 состоят из 2-х выпрямителей сигналов от датчиков слежения за потенциальными условиями и делителей напряжения. Узлы формирования сигнала Uси состоят из делителя напряжения, поступающего от датчиков напряжения синхронизации.
2.5.13 Ячейка питания СН4
предназначена для преобразования напряжения 50 В постоянного тока в напряжения +30 В, +5 В +15 В и минус 15 В питания аппаратуры.
Выходы ячейки гальванически разделены от входа и друг от друга. Каждый выход имеет защиту от перегрузок и коротких замыканий, а также световую сигнализацию о наличии выходных напряжений. Также ячейки СН4 имеет световую сигнализацию перегорания входных предохранителей. Узел коммутации цепей подогрева, представляет собой датчик температуры, который управляет схемой силового ключа, коммутирующего цепи подогрева.
Узел срабатывает при. понижении температуры окружающее среды ниже 30° С.
2.5.14 Ячейка питания СН5
предназначена для преобразования напряжения 50 В постоянного тока в напряжение +5 В для питания аппаратуры. Выход ячейки гальванически разделён от входа и имеет защиту от перегрузки и короткого замыкания, а также световую сигнализацию о наличии выходного напряжения. Также ячейка СН5 имеет световую сигнализацию перегорания входного предохранителя. Конструкция узла коммутации цепей подогрева аналогична ячейке СН4.
2.6 БлокБИ1.2(БИ1.4)
2.6.1 Блок индикации БИ1.2(БИ1.4) ТЯБК.469136.113
предназначен для выдачи на матричный вакуумно-люминесцентный дисплей алфавитно-цифровой и графической информации, выдачи через встроенные громкоговорители звуковых сообщений и ввода команд с клавиатуры. Информация выдается либо по запросу с клавиатуры, либо в соответствии с алгоритмом работы системы.
2.6.2 Блок БИ1.2 (БИ1.4) состоит из:
- платы РМ (ТМ2) связи со шкафом МСУД1, содержащей интерфейсные ИС резервированной магистрали RS-485 (токовой петли);
- управляющей платы 6010 на помехоустойчивой КМОП-структуре с процессором 3868Х-25;
- платы клавиатуры К2 с шестнадцатью кнопками и тремя индикаторами отказа контроллеров шкафа МСУД1;
- платы 2430 управления дисплеем;
- восьмицветного электролюминесцентного дисплея ЕL640.480-АА1 с разрешением 640 на 480 точек со встроенной схемой управления, содержащей буферную оперативную память, оперативную память регенерации изображения, ключи управления элементами индикатора и преобразователь питания;
- звуковой платы Crystal ММ-НР;
- платы ПП источника питания, преобразующего напряжение бортовой сети в стабилизированные напряжения, необходимые для питания схем блока;
- переключателя яркости дисплея "День-ночь".
2.6.3 Плата РМ (ТМ2)
предназначена для организации связи меж; шкафом МСУД1 и пультом машиниста. Сигналы RS-232 последовательных портов СОМ1 и СОМ2 платы 6010 преобразуются в сигналы RS-485 (токов с петли на плате ТМ2) для передачи в резервную магистраль.
2.6.4 Плата 6010
предназначена для управления всеми ресурсами блока содержит процессор 3865Х-25 МГц, DOS 6.2 в ПЗУ, BIOS Phoenix промышленными расширениями, систему снижения потребляемой мощности электронный флэш-диск 1 Мбайт с файловой системой, ОЗУ 4 Мбайт, последовательные порты СОМ1 и СОМ2, универсальный параллельный по LРТ1, интерфейс с поддержкой НГМД и НЖМД, сторожевой таймер, программной диагностики в ПЗУ, порт клавиатуры и громкоговорителя.
2.6.5 Плата клавиатуры К2
содержит шестнадцать кнопок, соединенных матрицу 4 на 4 для подключения к параллельному порту ЕРТ1 платы 6010 и светодиода, сигнализирующих об отказах контроллеров шкафа МСУД1.
2.6.6 Плата 2430
содержит 1 Мбайт видеопамяти и позволяет выводить видеоинформацию на дисплей ЕЕ640.480-АА1.
2.6.7 Плата ПП (ПП4)
источника питания преобразует напряжена бортовой сети в стабилизированные напряжения, необходимые для питания схем дока, а также содержит усилитель для встроенной акустической системы подстроенный резистор для установки яркости дисплея в режиме "Ночь"
2.6.8 Устройство блока БИ1.4 ТЯБК.469136.113-01
аналогично блоку БИ1. за исключением наличия платы ТМ2.
2.6.9 Блок БИ1.5(БИ1.6)
Блок индикации БИ1.5 ТЯБК.469136.113-03 предназначен дл выдачи на жидкокристаллический дисплей алфавитно-цифровой и графическое информации, выдачи через встроенные громкоговорители звуковых сообщений I ввода команд с клавиатуры. Информация выдается либо по запросу клавиатуры, либо в соответствии с алгоритмом работы системы.
Блок БИ1.5 фирмы Planar состоит из:
-платы РМ связи со шкафом МСУД1, содержащей интерфейсные резервированной магистрали RS-485;
- управляющей платы СР11686Е на помехоустойчивой КМОП-структуре с процессором Geode GX - 300 МГц;
- платы клавиатуры Кб Л с шестнадцатью управляющими кнопками регулировки яркости свечения дисплея;
- плат КВ686Е-2 и КВ686Е-3, предназначенных для подключения к плате CPU686E периферийных устройств;
- цветного жидкокристаллического дисплея EL640.480-AA1 с разрешением 640 на 480 точек со встроенной схемой управления и преобразователем питания;
- платы ПП4 источника питания, преобразующего напряжение бортовой сети в стабилизированные напряжения необходимые для питания схем блока;
- индикаторов отказа контроллеров шкафа МСУД.
На рисунке 2.7 представленная точная копия экрана блока индикации (БИ1) фирмы Planar в режиме диагностики аппаратуры МСУД.

Рисунок 2.7 – Точная копия экрана БИ1 аппаратуры МСУД в режиме диагностики
2.6.10 Плата РМ
предназначена для организации связи между шкафом ГСУД1 и блоком индикации.
2.6.11 Плата CPU686E
предназначена для управления всеми ресурсами блока и содержит процессор Geode GX - 300 МГц, DOS 6.2 в ПЗУ, систему снижения потребляемой мощности, электронный флэш-диск 8 Мбайт с файловой системой, ОЗУ 16 Мбайт, последовательные порты СОМ1 и СОМ2, универсальный параллельный порт LРТ1, интерфейс с поддержкой НГМД и НЖМД, сторожевой таймер, программу самодиагностики в ПЗУ, порт клавиатуры и громкоговорителя.
2.6.12 Плата клавиатуры К6.1
содержит шестнадцать кнопок, соединенных в матрицу 4 на 4 для подключения к параллельному порту LРТ1 платы IСРШ86Е, кнопки управления яркостью свечения дисплея и схему регулировки яркости, управляемую через порт LРТ1 платы СРП686Е.5.6 Плата ПП4 источника питания преобразует напряжение бортовой сети в стабилизированные напряжения, необходимые для питания схем блока, а также содержит усилитель для встроенной акустической системы.
2.6.13 Устройство блока БИ1.6 ТЯБК.469136.113-04
аналогично блоку И1.5 за исключением наличия плат ТМ2, преобразования сигналов последовательных портов СОМ1 и СОМ2 платы 6010 в сигналы интерфейсов RS-485 и «токовая петля», поставляющейся взамен платы РМ.
2.6.14 Комплект ЗИП
Комплект ЗИП предназначен для оперативного восстановления аппаратуры МСУД в процессе ее эксплуатации. ЗИП может укомплектовыватъся блоками БИ1, поставляемыми в отдельной упаковке. Состав ЗИП определен расчетным путем, исходя из имеющейся информации по надежности покупных комплектующих изделий и надежности технологических процессов, принятых при изготовлении аппаратуры. Состав ЗИП представлен в конструкторской документации и может уточняться по результатам эксплуатации электровозов. На каждые четыре электровоза ЭП1 предусмотрен комплект ЗИП ТЯБК.466943.000-02 или ТЯБК.466943.000-05.
На каждые два электровоза ВЛ80 предусмотрен комплект ТЯБК.466943.000-04 или ТЯБК.466943.000-07.
ЗИП размещен в укладочном ящике, общий вид которого представлен на рисунке 4.
2.6.15 Конструкция аппаратуры
Шкаф МСУД1.2 - напольного крепления с двухсторонним обслуживанием. Общий вид шкафа приведен на рисунке 1. Шкаф состоит из сварного перфорированного каркаса 1 с закрепленными на нем боковыми стенками и съемными передней и задней крышками 2 и 3. Передняя крышка после установки и закрепления также запирается замком 8 и пломбируется пломбами 6. В верхней части передней крышки имеется окно для визуального доступа к индикаторам «Подогрев», отражающим работу подогревающих устройств при низкой температуре окружающей среды и индикаторам «Питание».
На верхней крышке шкафа расположены соединители 10, к которым подключаются кабели внешних связей, а также соединители используемые при проведении наладочных работ и два кронштейна для дополнительного крепления шкафа. Шкаф установлен на промежуточной раме имеющей внешний узел заземления 4. Внутри шкафа размещается двухрядный блочный каркас 7, в котором установлены в направляющих ячейки 9, закрепляемые винтами.
2.6.16 Конструкция шкафа МСУД 1.4 аналогична 1МСУД 1.2
Ячейки шкафа МСУД1.2 выполнены унифицированной конструкции, кроме ячейки МКЗ, имеющей конструктивные отличия. Рычаги 5 передней металлической панели 4 служат для извлечения ячейки из блочного каркаса шкафа, закрепляются ячейки винтами 7. Обозначение типа ячейки выполнено на нижнем рычаге панели. Кодовая гребенка 3 ключевого устройства, предохраняющего ячейку от установки не на своё место в блочном каркасе, устанавливается на нижнем соединителе 2 печатной платы ячейки и имеет 66 комбинаций. Размеры печатной платы соответствуют типоразмеру 611 по ГОСТ 28601.3-90. Шаг установки ячеек - 20,32 мм и 40,64 мм.
2.6.17 Ячейка МКЗ отличается по конструкции от унифицированной ячейки шкафов МСУД 1.2
Кроме основной печатной платы 1 унифицированного размера 6U соединителями 2 и колодкой 3, электрорадиоэлементы на которой установлены с двух сторон, ячейка содержит еще несколько плат, установленных на основной плате на колонках. Лицевая панель имеет окно, обеспечивающее считывание информации с семисегментного индикатора "Режим". Шаг установки ячеек МКЗ - 60,96 мм.Конструкция ячейки МКЗ. 1 аналогична конструкции МКЗ.
2.6.18 Блок индикации БИ1.2
устанавливается на пульте машиниста. Общий вид блока приведен на рисунке 2. Блок состоит из панели 1, на которой установлены и закреплены дисплей 7, платы 3 и 4, устройство для выдачи речевых сообщений и платы 8, 9, 10 и 11. Панель закрыта кожухом 2, пломбируемым пломбой 6. С лицевой стороны панели расположена клавиатура, индикаторы возможных отказов и тумблер переключения яркости свечения дисплея в зависимости от времени суток. Внутренний монтаж блока выполнен плоскими кабелями. На задней стороне блока установлены соединители 12 и 13 внешних связей. Конструкция блока БИ1.4 аналогична блоку БИ1.2.
Конструкция блока БИ1.6 аналогична блоку БИ1.5.
2.7 Программное обеспечение
2.7.1 Программное обеспечение (ПО)
контроллеров ЦМК, МПК1, МПК2 и БИ1 состоит из базового (общего) ПО и специального (технологического) ПО.
2.7.2 Комплект базового программного обеспечения
это встроенная операционная система Datalight ROM-Dos 6.22, файловая система флэш-памяти Phonenix PICO FA, библиотека драйверов, программное обеспечение самодиагностики Octagon Systems . Встраиваемые компьютеры для жестких условий эксплуатации. Руководств пользователя серии 6000. Dos #4738(1197)).
2.7.3 Микроконтроллеры серии 6010
имеют встроенные программные средства самодиагностики, позволяющие осуществлять проверку портов кода-вывода и устройств памяти. При каждом включении питания или сбросе автоматически выполняется ряд проверок, результаты которых отображается с помощью двухцветного светового индикатора. После включения питания РС микроконтроллера оба светодиода начинают светиться, и индикатор имеет оранжевый цвет. По завершению выдачи га системную консоль начального загрузочного сообщения, светодиод желтого цвета отключается, а светодиод зеленого цвета продолжает светиться. Двухцветный световой индикатор также отражает состояние останова системной памяти. При переводе системной памяти в режим пониженного энергопотребления, прекращает светиться светодиод зеленого цвета и начинает светиться светодиод желтого цвета. При возобновлении функционирования системной памяти прекращает светиться светодиод желтого цвета и начинает светиться светодиод зеленого цвета.
2.7.4 Для загрузки ЦМК
необходимо соединить ЦМК по отладочному каналу с СОМ1 ПЭВМ IВМ РС/АТ. На ПЭВМ войти в директорий SmartLINK и найти файл sl.exe. Нажать " Enter ". На экране должна появиться заставка:
Octagon Systems Corporation
SmartLINK IV (tm)
Copyright © 1986-1993
ОК
Нажать " Enter ". На следующем экране клавишами "стрелка вверх" и "стрелка вниз" выбрать Micro PC-DOS
( ) CAMBASIC
( ) STDBASIC
(*) Micro PC-DOS
ОК
Нажать " Enter ". Включить питание ЦМК. На экране монитора должно пройти начальное загрузочное сообщение, во время которого необходимо нажать клавишу "х". После этого загрузочное сообщение заканчивается командной строкой:
6010 С:\>
Перейти на диск D (статическое ОЗУ), на экране монитора должна появиться строка:
6010 D:\>
Скопировать файл autoexec.bat на диск С. Для этого ввести:
6010 D:\> copy autoexec.bat c:
После подтверждения копирования и получения сообщения, что файл записан, перегрузить ЦМК (выключить и включить питание). Таким образом, в контроллере ЦМК загружено технологическое программное обеспечение.
2.7.5 Чтобы загрузить БИ1
технологическими программами, необходимо соединить отладочным кабелем разъем Х2 блока БИ1 и СОМ1 ПЭВМ ШМ РС/АТ. Включить питание блока БИ1 и дождаться загрузки технологической программы, после чего последовательно нажать клавиши "*"," S ","0","8". На экране блока индикации должно появиться сообщение:
6010С:>remserv c:
Press “Esc” to Exit
(There may be a delay before exit occurs )
На ПЭВМ запустить файл remdisk.exe. Remserv.exe и remdisk.exe входят в комплект сервисных программ, с помощью которых осуществляется связь контроллера с ПЭВМ. При этом remserv.ехе организовывает доступ к одному из дисковых накопителей. Сервер-системы для Клиент-системы, а remdisk.exe обеспечивает доступ к дисковому накопителю удаленной вычислительной системы по последовательному каналу связи через стандартный последовательный порт (УАПП 8250).
Remdisk.exe формирует новое блочное устройство. Клиент-системы, имеющее идентификатор дискового накопителя, в качестве которого REMDISK будет использовать букву, следующую за присвоенной последнему блочному устройству в системном списке. Например, если последний накопитель в системе имеет идентификатор D:, REMDISK сформирует накопитель Е.
Сформированный накопитель имеет свойства реального дискового накопителя, за исключением того, что поток ввода-вывода для него организован через последовательный порт. Когда организована связь, записать в контроллер блока БИ1 новый autoexec.bat, который запускает технологические программы. После копирования разорвать связь, для чего набрать в командной строке: remdisk.exe/u.
Далее необходимо произвести выключение и включение шкафа МСУД1, при этом происходит запуск технологических программ в ЦМК, выбранном МПК и БИ1. При установлении связи шкафа МСУД1 с блоком БИ1 дважды нажать клавишу "МСУД" и проследить на выбранном кадре работу резервного и основного каналов связи. При нормальной работе обоих каналов можно перейти к проверке звуковой сигнализации. Для этого нажать клавишу "выбор кадра" и клавишу "7", при этом должно прозвучать звуковое сообщение "Задана рекуперация" или "Задана тяга". После произведенных вышеперечисленных проверок аппаратура МСУД считается годной к эксплуатации.
2.8 Использование аппаратуры по назначению, техническое обслуживание и текущий ремонт
2.8.1 Состав аппаратуры МСУД
обеспечивает ее использование в электровозе ЭП1 согласно схеме принципиальной цепей автоматики ИДМБ.661142.004 33.2 и в электровозе ВЛ80 согласно схеме ИДМБ.661142.007 Э3.2.
Техническое обслуживание и ремонт осуществляются в соответствии с видами обслуживания и подразделяются на;
- техническое обслуживание ТО-2;
- текущий ремонт ТР;
- средний ремонт СР;
- капитальный ремонт КР.
2.8.2 При техническом обслуживании ТО-2:
- убедитесь в наличии пломб на дверцах шкафа МСУД 1.2 и крышках блоков БИ1. При нарушении пломб аппаратура МСУД должна подвергнуться контролю в объеме ТР в депо приписки;
- проведите проверку аппаратуры МСУД в объеме ТО-2 в соответствии с ИДМБ.661142.004РЭ или ИДМБ.661142.007 РЭ. Проверку проводите для каждого микроконтроллера ЦМК, МПК1 и МПК2. При обнаружении неполадок в работе аппаратуры причину неисправности необходимо обнаружить и устранить. Неисправную ячейку замените из состава ЗИП;
- при отказе одного из микроконтроллеров МПК1 или МПК2, а также во время движения электровоза допускается следование электровоза основного депо. При этом питание отказавших микроконтроллеров должно быть отключено.
2.8.4 При текущем ремонте ТР:
- проверьте затяжку всех разъемов и при необходимости подтяните крепеж
- проведите проверку аппаратуры МСУД в объеме ТР в соответствии с ИДМБ661142.007 РЭ. Проверку проводите для каждого микроконтроллера ЦМК, МПК1 и МПК2. При наличии бросков тока коря двигателей в тяге или рекуперации замените ячейку ВФС из состава. Неисправную ячейку проверьте на контрольном стенде и восстановите и отправьте для ремонта на завод-изготовитель электровоза.
2.8.5 При среднем ремонте СР:
- отсоедините соединительные кабели от разъемов шкафа МСУД1.2 и -доков БИ1. Снимите двери шкафа МСУД1.2 и крышки блоков БИ1.2;
- аккуратно извлеките из шкафа МСУД1 все ячейки, очистите их от пыли загрязнений, промойте контакты разъемов ячеек спиртом, проверьте со-
стояние печатных плат, надежность пайки и крепления деталей;
- произведите проверку на функционирование и контроль параметров ячеек на контрольном стенде в соответствии с его инструкцией и при необходимости выполните ремонт;
- продуйте чистым сжатым воздухом ниши, монтаж и разъемы шкафа; МСУД, проверьте визуально состояние монтажа шкафа;
- проверьте сопротивление изоляции токоведущих цепей относительно корпуса и между цепями в соответствии с таблицей инструкции контрольного стенда. Сопротивление изоляции должно быть не менее 10 МОм. Контроль сопротивления производите мегомметром на напряжение 500 В;
- продуйте чистым сжатым воздухом ниши и монтаж блоков БИ1, проверьте визуально состояние монтажа блоков БИ1.2и крепления плат;
- проверьте функционирование блоков БИ1.2 в составе контрольного стенда и при необходимости выполните ремонт. При сборке блока БИ1.2 после ремонта все крепежные детали должны быть установлены с применением краски;
- установите в соответствии с маркировкой ячейки в шкаф МСУД 1.2 и закрепите их винтами;
- закройте блоки БИ1.2 крышками, опломбируйте их и установите блоки в пульты машиниста;
- работоспособность неисправной ячейки восстановите в условиях депо приписки или отправьте для ремонта на завод-изготовитель электровоза;
- соедините шкаф МСУД1.2 и блоки БИ1.2 штатными кабелями и выполните проверку аппаратуры МСУД в объеме ТР, после чего установите двери шкафа и опломбируйте аппаратуру.
2.8.6 Замена отказавших ячеек и плат аппаратуры МСУД
должна производиться на обесточенной аппаратуре ячейками из состава ЗИП. После замены ячейки ЗИП не требуют дополнительной подстройки.
2.8.7 Восстановление элементов аппаратуры МСУД в пределах срока гарантии
осуществляется предприятием-изготовителем, для чего неисправные элементы должны быть отправлены изготовителю электровоза с описанием внешних признаков повреждения и причин, приведших к отказу. В случаях, если при эксплуатации были нарушены режимы применения аппаратуры, имеются механические повреждения или признаки воздействия на входы/выходы напряжений, превышающих допустимые значения, ремонт ячеек выполняется за счет потребителя.
2.8.8 Капитальный ремонт КР аппаратуры
производится по истечении срока службы (10 лет). Допускается продление срока службы аппаратуры после замены ячеек, содержащих комплектующие с истекшим сроком службы.
2.8.9 При проведении вышеуказанных работ, при необходимости переноски более двух ячеек пользоваться специальной тарой.
3 Выбор микроконтроллера
3.1 Общая характеристика
Семейство 16-разрядных микроконтроллеров Infineon (бывший Siemens Semiconductors) C166 содержит кристаллы с различным уровнем периферии и производительности, удовлетворяющие требованиям широкого спектра специфических приложений. Все члены семейства С161, С163, С164-CI, С165, 80С166, и C167 основываются на одной и той же базовой архитектуре и поддерживают единую систему команд (за исключением расширений для новых членов семейства). Это позволяет безболезненно переходить на следующий уровень производительности при реализации более сложного проекта.
Для нашей системы управления мы выбираем микроконтроллер 80С166, он удовлетворяет нашим требованиям, значительно превосходит микроконтроллер фирмы Octagon System 6010 и что не мало важно значительно дешевле. Внешний вид микроконтроллера Siemens 80C166 представлен на рисунке 3.1.

Рисунок 3.1 - Внешний вид микроконтроллера Siemens 80C166
Микроконтроллеры (МК) строятся по модульному принципу, предполагающему разделение на три основных системы: ядро центрального процессора, контроллер прерываний и периферийные модули. Обмен данными внутри кристалла организован при помощи четырех внутренних шин:
32-разрядная шина к внутренней памяти программ, обеспечивает считывание двухсловных команд из встроенного ПЗУ за один цикл;
две 16-разрядные шины к встроенному двухпортовому регистровому ОЗУ, что позволяет одновременно производить запись и чтение данных;
16-разрядная шина для обмена с периферийными модулями;
дополнительная 16-разрядная X-шина, являющаяся внутренним продолжением внешней системной шины, служит для подключения дополнительной памяти и новых периферийных модулей. На рисунке 3.2 представлена структурная схема микроконтроллера.

Рисунок 3.2 – Структурная схема МК
Эффективное программирование МК С166 достигается благодаря мощной системе команд, поддерживающей вычисления над 8-, 16- и 32-разрядными операндами, операции умножения и деления (MUL, DIV), контроль границ стека, управление периферией через регистры специальных функций Special Function Register (SFR). Следует также отметить высокую пропускную способность, мощную систему адресации и поддержку программирования на языке высокого уровня. При тактовой частоте процессора 16, 20 и 25 МГц цикл выполнения команды составляет 125,100 и 80нс соответственно.
Команды С166 можно разделить на следующие основные группы:
Преобразования данных: арифметические и логические команды, операции быстрого умножения/деления (0.5/1.0 мкс @ 20МГц), операции сдвигов на 1...15 разрядов за 100 нс, операции с битами во встроенном ОЗУ и регистрах SFR.
Пересылки данных: команды MOV со всеми видами адресации, преобразование байта в слово, операции с системным стеком (PUSH, POP) с проверкой на переполнение и стеком пользователя (MOV с автоинкрементом и автодекрементом).
Управления программой: команды перехода и вызова и условные переходы по 16 различным условиям (при выполнении условия для перехода требуется только один дополнительный цикл), программные и аппаратные ловушки (Traps), быстрые контекстные переключения за 100 нс.
Специальные команды: сокращения энергопотребления и системного управления, непрерываемые последовательности команд, специальные приемы адресации.
3.2 Четырехступенчатый конвейер команд
Для увеличения скорости выполнения команд контроллеры семейства С166 содержат 4-х ступенчатый конвейер команд (рисунок 3.3). За один машинный цикл C166 на различных ступенях конвейера выполняет одновременно до 4 команд. Это означает, что обработка каждой команды по времени длится четыре машинных цикла, хотя выполнение команды происходит в течение одного цикла. Таким образом, конвейеризация имеет существенные преимущества для ускорения выполнения последовательности команд при достаточной пропускной способности шины. Время исполнения большинства команд составляет 100 нс при тактовой частоте 20МГц.

Рисунок 3.3 – Конвейер команд
Оптимизированная обработка команд перехода и вызова (Branch Instruction).
В то время как при выполнении обычных команд конвейер не вызывают проблем, команды перехода и вызова требуют выполнения специальных мероприятий. Ко времени достижения командой перехода или вызова фазы Execute следующая по адресу перехода команда только начинает исполнение фазы Fetch. Следовательно, команда, проходящая в конвейере на фазе Decode сразу вслед за командой перехода, должна игнорироваться. В данном случае вместо полного очищения конвейера используется переход с задержкой ("delayed branch"). Ситуация с условным переходом более сложная, т.к. неясно, будет ли следующая команда соответствовать результату проверки условия или нет. Поэтому при выполнении условия перехода вставляется холостая команда на фазе Decode и требуется дополнительный машинный цикл. Для ситуаций без перехода холостая команда не вставляется и один машинный цикл экономится. Таким образом, для команд Jump, Cond. Jump, Call, Return,... обычно требуется только один дополнительный машинный цикл для выборки команды из новой области памяти.
Обработка меток (Loop Control). Обычная задача в управляющих приложениях - просмотр таблиц, который состоит в повторном переходе по одному и тому же фиксированному адресу. Если в данном случае не предпринять специальных шагов, то при обработке каждой метки возникает бесполезный машинный цикл. Поэтому здесь осуществлен механизм кэширования (Jump Cache). При первичной обработке метки вставляется пустая команда и, как и раньше вхолостую тратится один машинный цикл. Однако адрес таблицы запоминается в кэш-памяти и при дальнейшем прохождении через метку адрес извлекается из кэш и вставляется непосредственно в фазу Decode. Таким образом, в данном случае переход осуществляется за один машинный цикл.
Краевые эффекты конвейера. В фазах Fetch и Decode может одновременно осуществляться запрос шины, если на завершающей фазе текущей команды осуществляется чтение. Предупреждение конфликтов осуществляет контроллер внешней шины External Bus Controller,
управляя приоритетами записи, выборки и чтения. Следует упомянуть также о краевых эффектах конвейера, которые могут возникнуть на фазе Write Back при использовании адреса, уже измененного на фазе Fetch. Хотя специальное аппаратное устройство искусственно передвигает вперед операнды чтения и записи, необходимо постоянно об этом помнить. Команды умножения и деления занимают 5 и 10 машинных циклов соответственно и имеют сложный операционный код. Поскольку эти команды длятся больше одного цикла, в конвейер на стадии Decode вставляются холостые команды.
3.3 Конфигурирование внешней шины
Одним из наиболее полезных свойств C166 является поддержка нескольких режимов конфигурации, когда, например, выборка кода и данных из внешней памяти осуществляется по 16-разрядной демультиплексной шине с нулевым ожиданием, а доступ к медленной периферии (часы RTC) из соображений экономии может происходить по 8-разрядной шине с 3 состояниями ожидания. В первом случае шина управляется регистром конфигурации BUSCON0, а во втором случае - регистрами конфигурации BUSCON1 и ADDRESEL1, которые определяют режим шины и адресный диапазон соответственно.
В ряде микроконтроллеров (C165 и C167) присутствует до четырех независимых дополнительных регистров конфигурации BUSCON1-BUSCON4, каждому из которых соответствует свой внешний вывод CS для соединения с входом разрешения выборки кристалла. Размер и начальный адрес диапазона для каждого сигнала CS1-CS4 задается в регистрах ADDRSEL1-ADDRSEL4. При задании областей действия сигналов CS необходимо помнить, что начальный адрес должен быть кратен размеру блока. Например, для блока размером 64 Кбайт, начальный адрес должен быть равен 0x00000 или 0x10000 или 0x20000 и т.д.
Характеристики системной шины для областей памяти, не перекрываемых данными четырьмя адресными диапазонами, задаются в регистре BUSCON0 и устанавливаются аппаратно при считывании линий порта 0 во время сброса, т.е. сигнал CS0 используется для адресации всех областей не определенных сигналами CS1-CS4.Кроме того, для экономии внешней логики присутствуют программируемые сигналы управления шиной. Это означает, что при более чем 20-кратном выигрыше в производительности проект с С166 получается проще, чем для 8031. С166 содержит также программируемые функции арбитража шины HOLD/HOLDA/BREQ для операций межпроцессорного обмена.
Непосредственное управление внешней шиной в соответствии с содержимым регистров конфигурации осуществляет контроллер внешней шины. В каждом диапазоне временные параметры циклов чтения-записи и режим работы системной шины задаются специальными битами в регистрах конфигурации. Ширина адресной шины может составлять в зависимости от кристалла 16 (для несегментированного режима), 18 (80C166), 22 (C164) и 24 (C165 и С167) разряда. Ширина шины данных может быть 8 или 16 разрядов, и работа может вестись в мультиплексном и демультиплексном (MUX и NMUX) режимах (у C161 и C164 предусмотрена только мультиплексная внешняя шина). Демультиплексный шинный интерфейс оптимален при высоких требованиях к времени обращения к внешним ОЗУ и ПЗУ. Как уже отмечалось, режимы работы шины могут динамически меняться в процессе выполнения программы. Сравнение скорости работы для различных конфигураций шины при частоте ЦПУ 20 МГц приведено в таблице
3.4 Система прерываний
Разветвленная схема прерываний C166 с 64 уровнями (16 уровней и на каждом уровне группа из 4 прерываний) обеспечивает гибкое и быстрое
задание приоритетов и обслуживание запросов прерываний (рисунок 3.4). В контроллере прерываний предусмотрены аппаратные ловушки (Hardware-Traps) и программные ловушки (Software-Traps), позволяющие обрабатывать ошибки, возникающие при неверном исполнении команд, нарушении границ стека, а также отслеживать немаскируемое прерывание NMI, программный и аппаратный сброс. Приоритеты прерываний от аппаратных и программных ловушек самые высокие.
Контроллер прерываний обеспечивает малое время отклика на запрос прерывания: минимальное время составляет 250 нс @20 МГц, а максимальное - 600 нс. Чтобы уменьшить время отклика при выполнении сложных команд умножения и деления, занимающих 5 и 10 циклов соответственно, также предусмотрено прерывание. Обработка прерываний осуществляется в течение малых временных интервалов. Это очень важно для высокоуровневых приложений, таких как управление приводами, когда решаются задачи цифровой обработки сигналов и весьма нежелательны флуктуации входных и выходных переменных. Таким образом, достигается высокая производительность в реальном масштабе времени.
Механизм обработки прерываний работает следующим образом. Для каждого прерывания имеется собственный регистр управления Interrupt Control Register (xxIC). При установке одного или нескольких флагов запроса прерывания Interrupt Request (IR) в регистрах управления xxIC производится сравнение их приоритетов с текущим приоритетом выполняемой программы, который содержится в регистре состояния процессора. После проверки номера в группе в регистре прерывания с наибольшим номером уровня и группы очищается флаг IR, и контроллер приступает к обработке этого прерывания. При этом в стеке автоматически сохраняется содержимое регистра состояния процессора PSW, указателя команд IP и в сегментированном режиме указателя сегмента CSP и загружаются новые значения этих регистров согласно
процедуре обработки прерывания.

Рисунок 3.4 – Схема прерываний
Регистрация внешних прерываний может осуществляться в альтернативном режиме по внешним входам, например, по входам Capture. Кроме того, имеется немаскируемое прерывание NMI. Часть внешних прерываний регистрируются каждые 0,5 цикла, т.е. каждые 50 нс @ 20 МГц.
Изменение уровня приоритета
прерывания во время исполнения программы
является достаточно типичной задачей
для ряда приложений. Например, уровень
приоритета может зависеть от значения
сигнала на внешнем входе. В этом случае
после проверки состояния входа процедура
обслуживания прерывания переключает
уровень прерывания на более низкий,
изменяя содержимое регистра ILVL. После
понижения уровня выполняемого прерывания
могут поступить запросы на прерывание
с более высоким приоритетом. Такая
ситуация может привести к определенным
проблемам.
Пусть, например, выполняется
прерывание A на уровне 10 и поступает
запрос от прерывания B с уровнем 12,
которое и поступает на выполнение. Если
теперь уровень прерывания B будет снижен
до значения меньшего, чем 10, прерывание
A не сможет стать активным пока не
закончится выполнение B. Возможен еще
более плохой вариант, если прерывание
B снизит свой уровень до значения 5, и
теперь даже прерывание C с уровнем 7
сможет его прервать. Такие ситуации
удлиняют время исполнения прерывания A, что не соответствует его новому приоритету. Поэтому для понижения уровня приоритета текущего прерывания всегда следует закончить текущую задачу, и начать новую с более низким приоритетом. Это можно осуществить при установке бита IR в каком-либо незадействованном регистре управления xxIC.
Контроллер периферийных событий - Peripheral Events Controller (PEC) освобождает ЦПУ от простых, но частых обслуживаний прерываний, осуществляя перенос данных в любую позицию нулевого сегмента без переключения задачи. Процесс переноса данных практически не затрагивает работу контроллера и не зависит от выполняемой программы - контроллер только приостанавливает выполнение текущей программы на один цикл (100 нс), даже не сохраняя свое состояние в стеке. Время отклика контроллера для обслуживания PEC составляет от 150 до 450 нс при цикле ЦПУ 100 нс. Для контроллера PEC отведены два верхних уровня приоритета, что позволяет обслуживать одновременно 8 каналов PEC. Каждый канал управляется собственным регистром PEC, который позволяет программировать передачу байта или слова данных с инкрементом адреса или без него с однократным, многократным или бесконечным числом пересылок. Обработка прерываний PEC выполняется в соответствии с приведенной диаграммой ( рисунок 3.5).

Рисунок 3.5 – Диаграмма прерываний
3.5 Генерация системного такта
Временной дискретой для ядра C166 является период такта, равный 50 нс при тактовой частоте 20 МГц. Большая часть команд C166 исполняются за два такта, т.е. за 100 нс. Для достижения номинального быстродействия внутренний такт должен иметь скважность 50%, что не всегда может быть получено при тактировании от кварцевого резонатора. При несовпадении длительностей высокого и низкого уровня тактового сигнала временная дискрета определяется по длительности самого короткого уровня, который должен быть не меньше 50 нс. Это означает, что при асимметрии такта понижается максимально возможная тактовая частота. Например, при длительности высокого уровня 50 нс, а низкого - 60 нс рабочая частота равна 18 МГц. Кроме требования симметричности времена переключения уровней тактового сигнала должны быть не более 5 нс.
Поэтому для генерации полностью симметричного системного такта в состав некоторых микроконтроллеров семейства C166 входит встроенный делитель входной частоты на 2. В этом случае требуется кварцевый генератор, работающий на частоте 40 МГц. Члены семейства, имеющие в маркировке индекс 'W' не содержат делителя и тактируются непосредственно. Без делителя сегодня выпускаются только кристаллы 8xC166W, с которыми рекомендуется работать на тактовой частоте 18 МГц.
В новых кристаллах C163, C164CI, C167 присутствует встроенное устройство PLL, которое преобразует входную частоту во внутренний системный такт с коэффициентом умножения 0.5, 1, 1.5, 2, 2.5, 3, 4 и 5. Например, при использовании кварцевого генератора 5 МГц для достижения обычных 20 МГц на встроенном устройстве PLL осуществляется умножение входной частоты на 4. Задание режима PLL осуществляется на фазе сброса при подключении резистора между входом P0L и нулем. При потере внешнего такта генерируется
прерывание, и PLL продолжает работать на частоте 5...10 МГц. Внутренний такт отслеживается PLL также в режимах прямого тактирования и деления входной частоты на 2.
|
P0H.7 |
P0H.6 |
P0H.5 |
Коэффиц. умножения |
Фактор PLL |
Делитель |
Комментарий |
|
1 |
1 |
1 |
4 |
4 |
OFF |
по умолчанию |
|
1 |
0 |
1 |
2 |
2 |
OFF |
|
|
1 |
1 |
0 |
3 |
3 |
OFF |
|
|
1 |
0 |
0 |
5 |
5 |
OFF |
|
|
0 |
1 |
1 |
W |
OFF |
OFF |
прямой такт |
|
0 |
0 |
1 |
0.5 |
OFF |
ON |
через делитель |
|
0 |
1 |
0 |
1.5 |
3 |
ON |
|
|
0 |
0 |
0 |
2.5 |
5 |
ON |
3.6 Периферия микроконтроллера 80С166
3.6.1 Блоки таймеров общего назначения (GPT1 & GPT2)
Микроконтроллеры семейства С166 могут содержать один или два модуля таймеров общего назначения с внешними входами / выходами, функциями перезагрузки и сравнения и возможностью объединения. Один из модулей (GPT1) имеет три 16-ти разрядных реверсивных таймера. Таймер T3 работает как основной, а таймеры T2 и T4 как дополнительные. Регистр дополнительного таймера может служить для перезагрузки основного таймера при его переполнении или для захвата содержимого основного таймера при возникновении внешнего события. Имеется также возможность каскадного соединения основного и одного из дополнительных таймеров для увеличения разрядности (рисунок 3.6). При этом образуется 33-х разрядный таймер (в цепочку включается еще и триггер на выходе таймера T3). Каждый из таймеров имеет собственный регистр управления. На блок-схеме GPT1 все временные значения приведены для частоты 20МГц.

Рисунок 3.6 – Блок схема 33-разрядного счетчика
Таймеры могут работать в следующих основных режимах:
счетчик внешних входных импульсов с максимальной частотой до 1,25 МГц;
таймер с внешним сигналом управления (активный высокий или низкий уровень);
таймер с входным тактом от внутреннего тактового генератора, который проходит через делитель с программируемым коэфф. от 8 до 1024.
В таблице приведены значения входной частоты и периода таймера при частоте тактового генератора 20 МГц.
|
Предварит.делитель |
8 |
16 |
32 |
64 |
128 |
256 |
512 |
1024 |
|
Вх. частота |
2.5 МГц |
1.25 МГц |
625 кГц |
312.5 кГц |
156.25 кГц |
78.125 кГц |
39.06 кГц |
19.53 кГц |
|
Миним. шаг |
400 нс |
800 нс |
1.6 мкс |
3.2 мкс |
6.4 мкс |
12.8 мкс |
25.6 мкс |
51.2 мкс |
|
Период |
26 мс |
52.5 мс |
105 мс |
210 мс |
420 мс |
840 мс |
1.68 с |
3.36 с |
Второй модуль таймеров (GPT2) имеет два 16-ти разрядных таймера и более высокое разрешение по входу (в модуле GPT2 максимальная частота внешних счетных импульсов может достигать 2.5 МГц). В таблице приведены значения входной частоты и периода таймера для различных коэффициентов деления.
|
Предварит.делитель |
4 |
8 |
16 |
32 |
64 |
128 |
256 |
512 |
|
Вх. частота |
5 МГц |
2.5 МГц |
1.25 МГц |
625 кГц |
312.5 кГц |
156.25 кГц |
78.125 кГц |
39.06 кГц |
|
Миним. шаг |
200 нс |
400 нс |
800 нс |
1.6 мкс |
3.2 мкс |
6.4 мкс |
12.8 мкс |
25.6 мкс |
|
Период |
13 мс |
26 мс |
52.5 мс |
105 мс |
210 мс |
420 мс |
840 мс |
1.68 с |
3.7 Аналого-цифровой преобразователь (АЦП)
Ряд микроконтроллеров семейства C166 имеет встроенный АЦП, построенный по принципу аппроксимации со схемой выборки - хранения на кристалле. Схема мультиплексирования позволяет организовать до 16 и более входных каналов. Для компенсации ошибок преобразования служит автоматическая самокалибровка. Полное время преобразования АЦП составляет 9,7 мкс при частоте процессора 20 МГц.
|
|
C161RI |
C164 |
C166 |
C167 |
C167CS |
|
Количество каналов |
4 |
8 |
10 |
16 |
16 + 8 |
|
Разрядность |
8 |
10 |
10 |
10 |
10 |
|
Время преобразования, мкс |
7,5 |
9,7 |
9,7 |
9,7 |
9,7 |
Модуль АЦП имеет гибкие режимы преобразования:
одноканальное однократное
одноканальное при периодическом опросе датчика
многоканальное однократное
многоканальное при периодическом опросе датчика
по выбранному каналу во время непрерывного преобразования
При периодическом опросе датчика следующее преобразование производится автоматически по окончании предыдущего. Времена выборки и преобразования устанавливаются в регистре управления АЦП. После окончания преобразования регистр результата содержит 10-разрядный результат, и номер канала, а в регистре управления устанавливается флаг прерывания. Если результат преобразования не считывается до начала следующего преобразования, устанавливается флаг ошибки, и вырабатывается прерывание. Для сохранения результата внеочередного преобразования по выбранному каналу во время непрерывного преобразования предусмотрен специальный регистр. Ниже на рисунке 3.7 приведена упрощенная блок-схема АЦП.

Рисунок 3.7 – Упрощенная блок схема АЦП
ЗАКЛЮЧЕНИЕ
Проведя анализ существующих микропроцессорных устройств управления становится ясно, что они не соответствуют современным требованиям и морально устарели. На сегодняшний день существуют технологии применение которых способно снизить затраты на производство, эксплуатацию и ремонт устройств управления. Одной из них является современный микроконтроллер, включающий в себя все необходимые для выполнения той или иной задачи периферийные модули.
В данной курсовой работе было решено использовать микроконтроллеры фирмы Siemens Semiconductors. Из этого семейства был выбран микроконтроллер 80C166. Эффективное программирование МК 80С166 достигается благодаря мощной системе команд, поддерживающей вычисления над 8-, 16- и 32-разрядными операндами, операции умножения и деления (MUL, DIV), контроль границ стека, управление периферией через регистры специальных функций Special Function Register (SFR). Следует также отметить высокую пропускную способность, мощную систему адресации и поддержку программирования на языке высокого уровня. При тактовой частоте процессора 16, 20 и 25 МГц цикл выполнения команды составляет 125,100 и 80нс соответственно, встроенная память, промышленные температурные диапазоны и др. Кроме того он содержит необходимые для устройств управления встроенные периферийные модули: 10-разрядный АЦП и таймеры.
В результате была усовершенствованна микропроцессорная система управления и диагностики МСУД.
СПИСОК ИСПОЛЬЗОВАННЫХ ИСТОЧНИКОВ
Стрельцова В.А. Электровоз ЭП1. Руководство по эксплуатации: Техническое описание. – Ростов-на-Дону: ВЭлНИИ – К7, 1997г.
Ноженко Н.Я. Аппаратура МСУД. Руководство по эксплуатации: Альбом иллюстраций. – Ростов-на-Дону: ПКП «ИРИС», 2005г.
Кулинич Ю.М. Электронное оборудование электровозов переменного тока с плавным регулированием напряжения: Учебное пособие.– Хабаровск: ДВГУПС, 1998. – 96 с.