Модернизация системы охлаждения двигателя "Газели"
СОДЕРЖАНИЕ
Введение и постановка задачи
1. Назначение и обзор систем охлаждения
1.1. Устройство, работа и конструктивные особенности систем жидкостного охлаждения
1.2. Пусковой подогреватель
2. Конструктивные особенности двигателя
2.1 Кривошипно-шатунный механизм и механизм газораспределения
2.2 Система смазки
2.3 Система охлаждения
2.4 Система питания и выпуска отработавших газов
3. Тепловой расчет
3.1 Топливо
3.2 Параметры рабочего тела
3.3 Параметры окружающей среды и остаточные газы
3.4 Процесс впуска
3.5 Процесс сжатия
3.6 Процесс сгорания
3.7 Процессы расширения и выпуска
3.8 Индикаторные параметры рабочего цикла
3.9 Эффективные показатели двигателя
3.10 Основные параметры цилиндра и двигателя
3.11 Расчет и построение индикаторной диаграммы
4. Кинематика
5. Динамика
5.1. Силы давления газов
5.2 Приведение масс частей кривошипно-шатунного механизма
5.3 Удельные полные силы инерции
5.4 Удельные суммарные силы
5.5 Крутящие моменты
5.6 Силы, действующие на шатунную шейку коленчатого вала
5.7 Уравновешивание
5.8 Равномерность крутящего момента и равномерность хода двигателя
6. Расчет деталей кривошипно-шатунного механизма на прочность
6.1 Расчет поршня
6.2 Расчет поршневого кольца
6.3 Расчет поршневого пальца
7. Конструкторский раздел
7.1 Расчет жидкостной системы охлаждения
7.2 Расчет радиатора
7.3 Водяной насос
7.4 Вентилятор
7.5 Описание предлагаемых конструктивных изменений
8 Охрана труда
8.1 Меры безопасности при эксплуатации автомобиля
8.2 Требования к рабочему месту водителя
8.3 Виброизоляция сиденья самоходной машины
8.4 Устойчивость легкового автомобиля
8.5 Противопожарная безопасность
9 Экономический раздел
10 Список литературы
ВВЕДЕНИЕ И ПОСТАНОВКА ЗАДАЧИ
Трудно поверить, что всего восемь лет назад на дорогах не было «газелей». Сегодня эти лобастые труженицы стали неотъемлемой чертой городского пейзажа - рядовыми членами автомобильного стада. По отечественным меркам, возраст для модели, тем более грузовой, юный, еще не все детские болячки вылечены. А вот по мировым - зрелость, граничащая со старостью. Тут одной косметикой не отделаться, нужна, как минимум, пластическая операция - фейслифтинг. К счастью, законы мирового автопрома начинают работать и в России.
Измененная внешность лишь часть модернизации – «Газели», начатой еще в 1998 год. Естественно, в рамках унификация все новое намечалось распространить и на «Соболь», который в ту пору существовал лишь в опытных образцах. На заводе был объявлен конкурс на лучший дизайн-проект: каждой из пяти образовавшихся групп предложили изготовить полноразмерный пластилиновый макет автомобиля. Точнее, пластилиновый «нос» к настоящим машинам, для чего в художественно-конструкторское бюро привезли несколько бортовых «газелей», фургон и даже «Соболь».
Задача непростая: сделать облик машины современным, придать ему черты фирменного «Газовского» стиля... и, по возможности, использовать уже существующие световые приборы. Однако вскоре стало ясно, что без новых фар не удастся заметно изменить внешний вид машины. И вот свершилось.
Из нескольких вариантов был выбран наиболее спокойный, без вычурных элементов внешности - такая машина не устареет с переменой автомобильной моды. У новой «Газели» появились подштамповки на капоте, чуть изменилась форма светоблоков и бампера, заблестела хромо: декоративная решетка. Последняя может быть металлической или пластиковой с металлизированным покрытием.
Но это лишь детали, видимые снаружи. Фактически же до передней двери кабина изменена полностью: кроме капота, крыльев, облицовки радиатора и бампера, другими стали каркас капота, внутренняя часть крыльев, передняя панель под облицовкой, поперечина бампера, формованная шумоизоляция. Элементы облицовки теперь крепятся иначе, что позволило уменьшить зазоры между ними. Чуть разведенные лонжероны сделали моторный отсек просторнее - не в последнюю очередь, чтобы разместить силовые агрегаты более тяжелого «Валдая», на который будет устанавливаться эта же кабина, но с другим моторным щитом. Измененная силовая структура носовой части сделала невзаимозаменяемыми бамперы - у нового другие точки крепления. Кстати, в нем предусмотрены места для монтажа малогабаритных противотуманных фар. Серьезным изменениям подвергнется ходовая часть, появится новый силовой агрегат. Так, принято решение о выпуске полноприводных «соболей» (ЗР, 2000, № 6) -они могут появиться еще до конца нынешнего года. Главная перемена в интерьере - передняя панель. Она не только привлекательнее и современнее, но и скрывает более компактный и мощный отопитель и, опять-таки, обеспечивает унификацию с «Валдаем», где выступающий в кабину длинный шестицилиндровый дизель ГАЗ-562 подпирает снизу переднюю панель, тесня «печку». Оптимизировано расположение дефлекторов системы вентиляции, а вместо не слишком надежных ползунковых регуляторов появились удобные вращающиеся рукоятки. Предусмотрено место и под второй стандартный блок аудиоаппаратуры.
Для пассажирских микроавтобусов разрабатывается поворотный механизм кресла - при желании можно развернуться лицом к сидящему сзади собеседнику. Существенно расширятся возможности трансформации салона благодаря сиденьям со встроенными ремнями безопасности - сейчас они буквально привязаны к одному месту за 'усиленными на кузове ремнями.
Со временем будут устанавливать впрысковой мотор ЗМЗ-405, каталитический нейтрализатор, адсорбер паров бензина, новые топливопроводы и соединения - это позволит уложиться в нормы токсичности Евро П. Разрабатывается и антиблокировочная система - прежде всего для динамичных «соболей». Правда, эти новшества появятся после того, как обновленные машины пойдут в серию.
Начать выпуск модернизированных «газелей» и «соболей» планируют в январе будущего года. Параллельно делать старые и новые машины невозможно - переходного периода не будет. На несколько дней остановят все производство, поменяют часть оснастки и начнут собирать уже новые машины. А для снижения потерь остановить конвейер планируют в нерабочие дни, скажем, в новогодне-рождественские праздники.
Логично ожидать, что цена обновленных автомобилей поднимется, однако, на ГАЗе обещают совсем незначительный рост.
Ведь замена оборудования - мероприятие плановое, проводится по мере износа и изначально заложено в себестоимость продукции. Всего в подготовку производства планируется вложить около 300 млн. рублей. Сумма большая, однако, если ее разделить на срок окупаемости пять лет (а следующее поколение «газелей», наверняка, раньше не появится), да на годовую программу (примерно 100 тысяч автомобилей), то выходит не так и много - около 600 рублей на машину. Конечно, свою лепту в рост цены внесут и поставщики - те же раскосые глаза-фары, наверняка, обойдутся дороже, чем нынешние, - но это тоже доли процента от стоимости автомобиля. В общем, ждать новых машин осталось не так уж долго, а там - посмотрим.
Эффективность работы автомобильного транспорта базируется на надёжности подвижного состава, которая обеспечивается в процессе его производства, эксплуатации и ремонта:
совершенством конструкции и качеством изготовления; своевременным и качественным выполнением технического обслуживания и ремонта;
своевременным обеспечением и использованием нормативных запасов материалов и запасных частей высокого качества и необходимой номенклатуры;
соблюдением государственных стандартов и Правил технической эксплуатации.
В общем из выше сказанного становится ясно ,что данный тип автомобилей занимает достойную нишу на рынке и в народном хозяйстве. Однако при всех достоинствах этого модельного ряда автомобилей марки ГАЗ есть и недостатки, которые заметно портят общее впечатление даже при применении новых дизайнерских и эргономических решений. Прежде всего, этому способствуют двигатели ЗМЗ, которые, по сути, являются не чем иным как так или иначе переработанным мотором ГАЗ-24, уже более 40 лет стоящему на производстве и разработанному, прежде всего для легковых автомобилей. Вследствие вышесказанного при применении этих двигателей на более тяжелых и нагружаемых «ГАЗелях» имеют место следующие недостатки, а именно: недостаточные тягово-скоростные характеристики и напряженный тепловой режим, часто приводящий к перегреву двигателя (что и будет более подробно рассмотрено в данной работе). Можно, конечно говорить о применении на этих автомобилях более дорогих и сложных двигателях с непосредственным впрыском бензина или дизельного топлива отечественного или импортного производства, что, кстати, уже происходит, но в этом случае недостатки могут обернуться достоинствами. Дело в том, что старый и проверенный карбюраторный двигатель относительно дешево стоит, прост в обслуживании и ремонте, а это зачастую имеет решающее значение при покупке машины на территории стран СНГ основному ареалу обитания «ГАЗелей». А с недостатками можно бороться. В данной работе я хочу предложить, вариант усовершенствования карбюраторного двигателя ЗМЗ-406 применяемого на автомобилях типа «Газель» обращая особое внимание на доработку системы охлаждения автомобиля, а также рассмотреть системы охлаждения автомобилей других марок.
1. НАЗНАЧЕНИЕ И ОБЗОР СИСТЕМ ОХЛАЖДЕНИЯ
Температура газов в камере сгорания в момент воспламенения смеси превышает 2700 К (2500°С). Такая температура при отсутствии искусственного охлаждения привела бы к сильному нагреву деталей двигателя и их разрушению, вообще нарушение теплового баланса влияет как износ двигателя, так и на экономичность ого работы в плане расхода ГСМ. Поэтому система охлаждение двигателя является одной из основных систем автомобиля. Система охлаждения обеспечивает охлаждение деталей, соприкасающихся с горячими газами. Охлаждение может производиться водой, воздухом, а также маслом и топливом (охлаждение поршней, насос - форсунок). В зависимости от принятого способа охлаждения в данную группу входят различные устройства и механизмы для подвода охладителя к деталям и тепло – газообменники.
При воздушном охлаждении не требуются радиатор, водяной насос и трубопроводы, отпадает опасность «размораживания» двигателя зимой при заправке системы охлаждения водой. Поэтому, несмотря на повышенную затрату мощности, на приведение в действие вентилятора и затрудненный пуск при низкой температуре, воздушное, охлаждение применяют на легковом автомобиле ЗАЗ-968М «Запорожец» и ряде зарубежных автомобилей.
Жидкостная система охлаждения заполняется водой или антифризом (смесью воды с этиленгликолем), не замерзающим при температуре до 233 К (—40°С).
При чрезмерном охлаждении двигателя увеличиваются потери тепла с охлаждающей жидкостью, не полностью испаряется и сгорает топливо, которое в жидком виде проникает в поддон картера и разжижает масло. Это приводит к снижению мощности и экономичности двигателя и быстрому износу деталей. При перегреве двигателя происходит разложение и коксование, масла, ускоряющие отложение нагара, вследствие чего ухудшается отвод тепла. Из-за расширения деталей уменьшаются температурные зазоры, увеличиваются трение и износ деталей, ухудшается наполнение цилиндров.
Температура охлаждающей жидкости при работе двигателя должна быть 360—375 К (85—100°С).
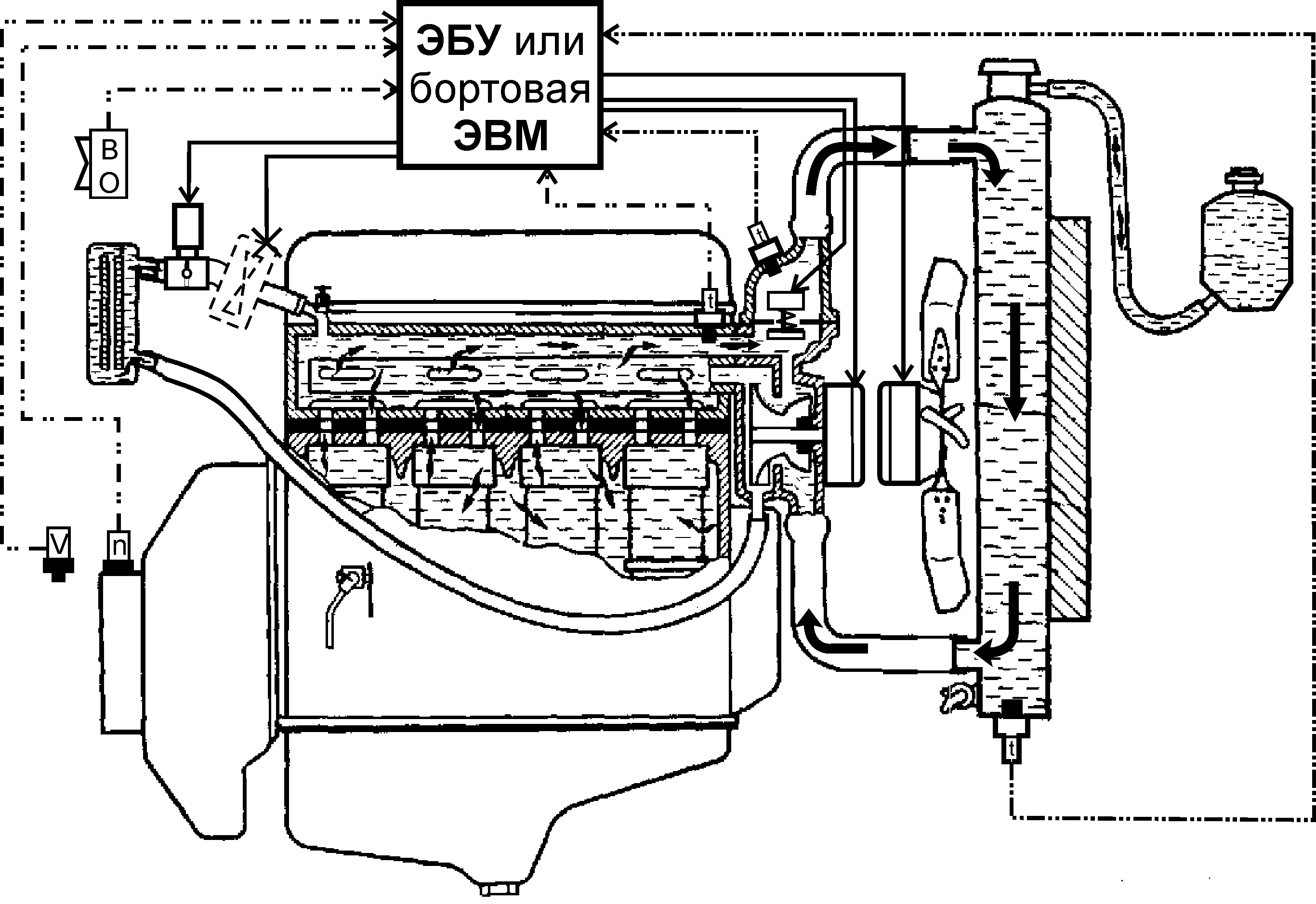
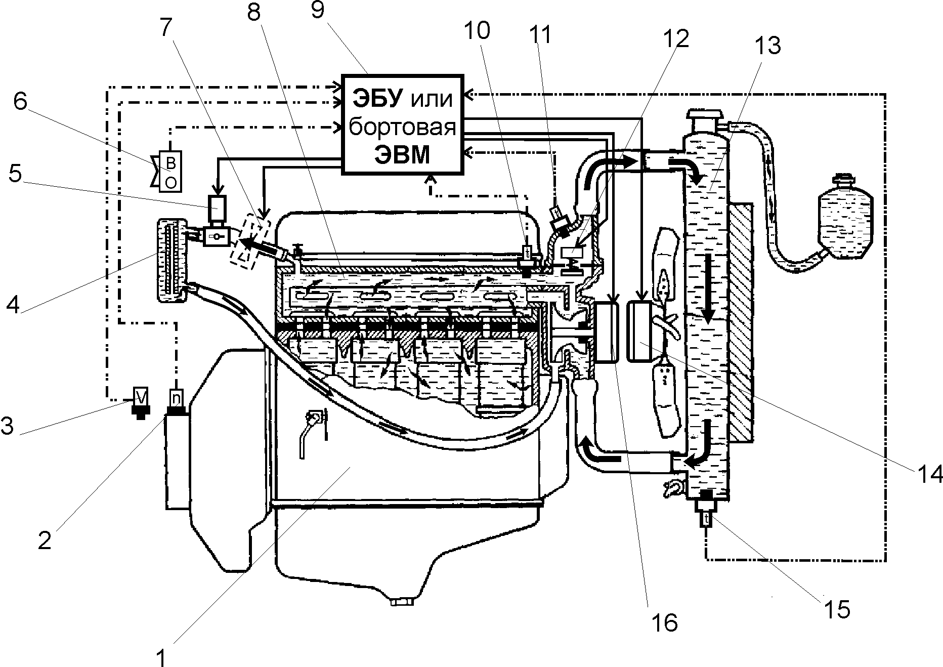
В автомобильных двигателях применяют принудительную (насосную) систему жидкостного охлаждения. Такая система включает рубашки охлаждения цилиндров и головок цилиндров, радиатор 13 (рис. 1), водяной насос 2, вентилятор 1, жалюзи 14, термостат 5, сливные краны 11 и 12, указатели температуры охлаждающей жидкости.
Жидкость, циркулирующая в системе охлаждения, воспринимает тепло от стенок цилиндров и их головок и передает его через радиатор окружающей среде. Иногда предусматривается направление потока циркулирующей жидкости через водораспределительную трубу или продольный канал с отверстиями в первую очередь к наиболее нагретым деталям (выпускные клапаны, свечи зажигания, стенки камеры сгорания).
Система охлаждения двигателя обычно используется для подогрева впускного трубопровода, охлаждения компрессора 3 и отопления кабины или пассажирского помещения кузова. Отопительная система состоит из радиатора 9, вентилятора, воздухораспределительных труб и рукояток управления.
В современных автомобильных двигателях применяют закрытые системы жидкостного охлаждения, сообщающиеся с атмосферой через клапаны в пробке радиатора. В такой системе повышается температура кипения воды, закипает вода реже и меньше испаряется.
1.1. Устройство, работа и конструктивные особенности систем жидкостного охлаждения
Радиатор 13 (см. рис. 1) предназначен для охлаждения горячей воды, выходящей из рубашки охлаждения двигателя. Располагается он впереди двигателя. Трубчатый радиатор состоит из верхнего и нижнего бачков, соединенных между собой тремя-четырьмя рядами латунных трубок. Поперечно расположенные горизонтальные пластины придают радиатору жесткость и увеличивают поверхность охлаждения.

Рис. 1. Система жидкостного охлаждения двигателя:
1 — вентилятор, 2 — водяной насос, 3 —. компрессор; 4 — перепускной шланг, 5 — термостат, б — кран отопителя, 7, в — подводящий и отводящий трубопроводы, В — радиатор отопителя, 10 — датчик указателя температуры охлаждающей жидкости, II, 12—сливные краны, 13—радиатор, 14— жалюзи
Радиаторы двигателей ЗМЗ-53 и ЗИЛ-130 трубчато-ленточные со змейковыми охлаждающими пластинами (лентами), расположенными между трубками. Системы охлаждения этих двигателей , закрытые, поэтому пробки радиатора имеют паровой 1 и воздушный 2 клапаны (рис. 2, а, б).
Р
ис.
2. Пробка радиатора (а, б), вентилятор и
центробежный насос(в):
а - открыт паровой клапан 1, б открыт воздушный клапан 2, в — вентилятор и центробежный насос системы охлаждения двигателя ЗИЛ-130; 1—лопасть вентилятора, 2 — шкив, 3 —ступица шкива вентилятора, 4 —втулка шкива, 5 —подшипник, б —вал насоса, 7 —крыльчатка, в —корпус насоса, в — резиновый уплотнитель сальника, 10 —текстолитовая шайба, 1I —обойма сальника, 12—подводящий патрубок.
Паровой клапан 1 открывается при избыточном давлении 0,045—0,055 МПа (0,45—0,55 кгс/см2) (ЗМЗ-24, ЗМЗ-53). При открытии клапана избыток воды или пара отводится через пароотводную трубку. Воздушный клапан 2 предохраняет радиатор от сжатия давлением воздуха и открывается при охлаждении воды, когда давление в системе снижается на 0,01 МПа (0,10 кгс/см2).
Для слива жидкости из системы охлаждения открывают сливные краны 11 (см. рис. 1) блоков цилиндров и сливной кран 12 патрубка радиатора, а также пробку радиатора или расширительного бачка. У двигателей ЗИЛ сливные краны блоков цилиндров и патрубка радиатора имеют дистанционное управление. Рукоятки кранов выведены в подкапотное пространство над двигателем.
На автомобилях КамАЗ-5320 устанавливают расширительный бачок,
предназначенный для компенсации изменений объема жидкости, происходящих при работе двигателя. Впускной и выпускной клапаны размещаются в пробке этого бачка. На бачке имеется кран для контроля уровня антифриза Тосол-А40 или Тосол-А65, которым заправляется система охлаждения. В связи с использованием антифриза вместо сливных краников установлены резьбовые конические пробки.
Расширительные бачки устанавливают также в системе охлаждения двигателей автомобилей «Жигули» и ГАЗ-24 «Волга».
Жалюзи 14 (см. рис. 1) створчатого типа предназначены для изменения количества воздуха, проходящего через радиатор. Управляет ими водитель с помощью троса и рукоятки, выведенной в кабину.
Водяной насос (рис. 2, в) служит для создания циркуляции воды в системе охлаждения. Он состоит из корпуса 8. вала б, крыльчатки 7 и самоуплотняющегося сальника. Располагается насос обычно в передней части блока цилиндров и имеет привод клиновидным ремнем от коленчатого вала двигателя. Шкив 2 приводит во вращение одновременно крыльчатку 7 водяного насоса и ступицу 3 вентилятора.
Самоуплотняющийся сальник состоит из резинового уплотнителя 9, графитизированной текстолитовой шайбы 10, обоймы 11 и пружины, прижимающей шайбу 10 к торцу подводящего патрубка 12.
Вентилятор предназначен для усиления потока воздуха, проходящего через радиатор. Вентилятор имеет обычно четыре—шесть лопастей 1. Для снижения шума лопасти располагают Х-образно, попарно под углом 70 и 110°. Изготовляют лопасти из листовой стали или пластмассы («Москвич-2140», ГАЗ-24 «Волга»).
Лопасти имеют отогнутые концы (ЗМЗ-53, ЗИЛ-130), что улучшает вентиляцию подкапотного пространства и повышает производительность вентиляторов. Иногда вентилятор располагают в кожухе, который способствует повышению скорости воздуха, просасываемого через радиатор.
Для уменьшения мощности, необходимой для привода вентилятора, и улучшения работы системы охлаждения применяют вентиляторы с электромагнитной муфтой. Эта муфта автоматически отключает вентилятор, когда температура воды в верхнем бачке радиатора ниже 350—358 К (78 85°С).
В привод вентилятора двигателя КамАЗ-740 включена гидромуфта, обеспечивающая плавную передачу вращения от коленчатого вала к вентилятору.
Гидромуфта включается автоматически: по мере увеличения температуры Жидкости в системе охлаждения активная масса, находящаяся в баллоне включателя, плавится, и объем ее увеличивается, а это вызывает перемещение золотника, открывающего доступ масла из системы смазки в гидромуфту, Частота вращения вентилятора зависит от количества масла, поступающего в гидромуфту. При прекращении подачи масла вентилятор отключается.
В настоящее время стремительно развиваются «разумные» системы регулирования температуры охлаждающей жидкости т.к., например классический постоянный привод вентилятора и водяного насоса отнимает часть мощности двигателя при этом на относительно больших установившихся скоростях (движение по шоссе) зачастую работа вентилятора не нужна. Поэтому ниже будут описаны некоторые системы разумных вентиляторов.
Вентилятор — неотъемлемая часть системы охлаждения любого современного двигателя. При жидкостном охлаждении он просасывает воздух через радиатор, а при воздушном — подает этот самый воздух (здесь он выступает в роли охлаждающего тела) к нагретым частям мотора. И можно сказать, с момента появления вентиляторов инженеры решают, как сделать его привод оптимальным. Познакомимся с некоторыми результатами из усилий.
П
ростейшая
конструкция привода вентилятора хорошо
известна – клиновым ремнем от шкива,
установленного на носке коленчатого
вала. Но простое не всегда означает
самое лучшее. Вентилятор работает
постоянно, а значит, постоянно шумит,
потребляет мощность, и немалую (3–6% от
мощности двигателя), и, главное, охлаждает
двигатель независимо от его температурного
режима. Именно большая потребляемая
мощность побудила отказаться от ременного
привода в пользу шестерен на тяжелых
двигателях. Чтобы привод не испытывал
больших нагрузок при резкой смене
режимов работы мотора (не забудьте –
вентилятор тоже своего рода маховик и
момент инерции его отнюдь не мал),
устанавливают фрикционные, гидравлические
или упругие резиновые муфты (рис. 3).
|
Рис. 3. Привод вентилятора с упругой муфтой: 1 – вентилятор; 2 – упругая муфта; 3 – шкив; 4 – шестерня привода вентилятора. |
Т
акая
система не решает и другой важной
проблемы. Понятно, что конструкция
вентилятора и его привода должна
обеспечивать достаточное охлаждение,
начиная с самых низких оборотов
коленчатого вала. На больших же оборотах
при жесткой механической связи это
приведет к огромному перерасходу
энергии: скажем, для машины среднего
класса такой вентилятор на максимальных
оборотах "съедал" бы около 8 кВт
мощности двигателя, в то время как
достаточная в таких условиях – не
превышает 3–3,5 кВт. В этом причина того,
что жесткая механическая передача в
наше время почти не применяется.
Как известно, устройства, передающие и преобразующие крутящий момент, в технике называют трансмиссиями, значит, привод вентилятора тоже трансмиссия. Интересно, что многие
|
Рис. 4. Электромагнитная муфта включения вентилятора: 1 – шкив; 2 – контактное кольцо; 3 – угольная щетка; 4 – стальное кольцо; 5 – плоская пружина; 6 – вентилятор; 7 – электромагнит. |
Электромагнитное сцепление (рис. 4) автоматически включает вентилятор по достижении определенной температуры охлаждающей жидкости.
Такая система применялась на автомобилях ГАЗ–24 ранних серий и многих современных им зарубежных. В этой системе на шкиве помещали мощный кольцевой соленоид. Когда срабатывает датчик, цепь соленоида замыкается и металлическое кольцо, связанное с вентилятором через пластинчатые пружины, примагничивается к шкиву: вентилятор включен и работает до тех пор, пока температура не снизится и управляющий датчик не снимет питания с электромагнита. Подобный же принцип реализован и в автомобилях с поперечным расположением двигателя: датчик температуры включает электродвигатель вентилятора.
В последнее время появились двухскоростные электродвигатели, позволяющие обеспечить ступенчатое регулирование: вентилятор отключен, работает в частичном режиме или на полную производительность. Есть машины и с двумя вентиляторами, которые вводятся в работу последовательно. Попутно заметим, что на тяжелых грузовых машинах и автобусах электровентиляторы – редкость. Представьте себе мощность электрооборудования (генератора, аккумулятора), которая потребуется, чтобы обеспечить необходимые такому вентилятору 10–12кВт. Вот почему здесь все еще царствует "чистая" механика.
На популярных автобусах "Икарус" ставят фрикционную муфту с пневмоприводном – своего рода сцепление, только на условную педаль здесь нажимает не нога, а сжатый воздух. Регулирование включения-отключения осуществляется, естественно, в зависимости от температуры охлаждающей жидкости.
С
амые
сложные системы умеют плавно регулировать
скорость вентилятора. На многих легковых
автомобилях (в качестве примера назовем
большинство БМВ, "Мерседесов"), а
также на некоторых грузовиках (в том
числе и на отечественном ЗИЛ-4331) в привод
вентилятора встроена вискомуфта (рис.
5).
|
Рис. 5. Вискомуфта вентилятора: 1 – крышка камеры; 2 – лепестковый клапан; 3 – биметаллический терморегулятор; 4 – крышка муфты; 5 – корпус муфты; 6 – ведущий диск; А – резервная полость. |
|
Рис. 6. Гидромуфта привода вентилятора: 1 – шкив; 2 – ступица вентилятора; 3 – ведущее колесо гидромуфты; 4 – ведомое колесо гидромуфты; 5 – трубки подачи масла в рабочую полость; 6 – ведущий вал; А – рабочая полость. |
вигателя,
регулируется автоматически по температуре
охлаждающей жидкости.
Гидромуфта используется и на некоторых двигателях воздушного охлаждения, например на известных у нас с давних пор дизелях "Дойц", стоявших на грузовых автомобилях "Магирус". Охлаждающей жидкости в "воздушнике", понятное дело, нет, и подачей масла в муфту управляет терморегулятор, который учитывает температуру воздуха на выходе из системы охлаждения и температуру выхлопных газов. Работа системы зависит и от температуры масла: с ростом ее вязкость последнего снижается, а значит, горячего (и жидкого) масла в рабочую полость муфты поступает больше. Интересная особенность: корпус муфты одновременно служит центрифугой для очистки масла.
На современных легковых автомобилях, легких грузовиках и микроавтобусах радиатор двигателя чаще всего оснащают электрическим вентилятором (рис. 7), у которого немало преимуществ по сравнению с механическим. Электрический включается только по достижении некоего верхнего предела температуры, а когда она придет в норму, тут же выключается.
Результат – более стабильный температурный режим двигателя. К тому же он быстрей прогревается после пуска, меньше расходует топлива. Включившийся электровентилятор вращается достаточно быстро даже при низких оборотах двигателя – и этим снижает риск перегрева при больших нагрузках в тяжелых дорожных условиях. Механический вентилятор в таких случаях не всегда эффективен. Примерные схемы электроприводов вентилятора приведены на рисунках ниже.

Рис. 7. Штатная схема включения электродвигателя вентилятора (ВАЗ, ГАЗ)
Казалось бы, перечнем достоинств тему можно и закрыть, да качество электротехники не позволяет. В чем же главная причина капризов электровентилятора? Его мотор потребляет ток до 15–20 А, включаясь по команде датчика температуры охлаждающей жидкости в радиаторе (рис. 7). Чтобы большой ток не шел напрямую через нежные контакты датчика 1, в штатной конструкции применили разгрузочное реле 2. Решение естественное, но не безупречное – на российских автомобилях самым ненадежным элементом в системе охлаждения зарекомендовал себя как раз датчик температуры. Его контакты обгорают – и конец! И это, заметьте, при исправной работе разгрузочного реле.

Рис. 8. Схема включения электродвигателя вентилятора без разгрузочного реле на некоторых зарубежных автомобилях: 1 – датчик температуры; 2 – добавочный резистор; 3 – электродвигатель.
И
чем больше потрудился датчик температуры,
тем выше вероятность отказа из за
противоиндукции: в момент разрыва
контактов исчезающее электромагнитное
поле не только создает высокое напряжение
на вторичной обмотке катушки зажигания,
необходимое для свечи, но и немалое, до
400 В, напряжение противоиндукции в
первичной обмотке. Вот оно-то и «прожигает»
контакты: каждое их размыкание не
проходит бесследно – а за тысячу
километров пути их накапливается около
4 миллионов. Результат – эрозия контактов.
Система работает хуже и хуже. Задавая
себе шекспировский вопрос «кипеть или
не кипеть?», водителю надо чаще глядеть
на указатель температуры и прислушиваться
к шуму под капотом. Но еще вернее –
вовремя заменить старенький датчик,
дабы зря не рисковать. Однако есть и
другие возможности.
Рис. 9. Доработанная схема включения электровентилятора: 1 – датчик температуры; 2 – реле; 3 – электродвигатель; 4 – диод
Первая: установить датчик включения вентилятора с тремя выходами – схема на рис. 8. Здесь уже нет разгрузочного реле. Электромотор включается постепенно – сначала через контакты 1 и 2 с добавочным резистором, а затем уже напрямую, через контакты 1 и 3. Результат – гораздо меньший эрозионный износ. Во многих случаях (при невысоких нагрузках на двигатель автомобиля) пара 1–3 почти не используется.
Второй вариант – на рис. 9: здесь сохраняется разгрузочное реле. Однако в цепи есть новый элемент – диод 4 (типа КД105 и близкие к нему). Зачастую диод впаивается непосредственно в реле (так удобней). В момент разрыва контактов датчика 1 тлетворное влияние на них ЭДС самоиндукции исключено – ток через диод уходит на «массу».
Подобное применение диодов очень характерно для зарубежных автогигантов «Мерседес», БМВ и т.д. В последнее время в продаже стали появляться готовые колодочки под такие реле – уже с впаянными туда диодом и проводками.
Завершая разговор о приводах вентиляторов, заметим: как ни совершенны многие из этих устройств, все же они не способны избавить двигатель внутреннего сгорания от одного из его серьезных недостатков – до 30% энергии топлива, "уходящие" в систему охлаждения, теряются безвозвратно.
Термостат 5 (см. рис. 1) автоматически поддерживает устойчивый тепловой режим двигателя. Как правило, термостат устанавливают на выходе охлаждающей жидкости из рубашек охлаждения головок цилиндров или впускного трубопровода двигателя.
Термостаты могут быть жидкостные и с твердым наполнителем.
В жидкостном термостате (рис. 10, б) имеется гофрированный баллон 7, заполненный легко испаряющейся жидкостью. Нижний конец баллона закреплен в корпусе б термостата, а к штоку 5 верхнего конца припаян клапан 4.При температуре охлаждающей жидкости ниже 351 К (78°С) клапан термостата закрыт (рис. 10, а) и вся жидкость через перепускной шланг 2 (байпас) направляется обратно в водяной насос, минуя радиатор. Вследствие этого, ускоряется прогрев двигателя и впускного трубопровода.
Когда температура превысит 351 К (78°С), давление в баллоне 7 увеличивается, он удлиняется и приподнимает клапан 4. Горячая жидкость через патрубок 3 и шланг направляется в верхний бачок радиатора. Клапан 4 полностью открывается при температуре 364 К (9ГС) (ЗМЗ-53).
Термостат с твердым наполнителем (ЗИЛ-130, «Москвич-2140», КамАЗ-740) имеет баллон 7 (рис. 10, в), заполненный церезином нефтяным воском) в и закрытый резиновой диафрагмой 9. При температуре 343 К (70°С) церезин плавится и, расширяясь, перемещает вверх диафрагму 9, буфер 12 и шток 5. При этом открывается клапан 4 и охлаждающая жидкость начинает циркулировать через радиатор (рис. 10, г). .

Рис. 10. Термостаты:
жидкостный: о—в закрытом положении, в —в открытом положении; с твердым наполнителем; я —в закрытом положении, г— в открытом положении; 1 —впускной трубопровод, 2 —перепускной шланг, 3 — патрубок, 4 —клапан термостата, 5 —шток, б —корпус термостата, 7— баллон, 8— церезин, 9— диафрагма, 10 - направляющая втулка, 11—возвратная пружина, 12— буфер
При снижении температуры церезин затвердевает и уменьшается в объеме. Под действием возвратной пружины 11 клапан 4 закрывается, а диафрагма 9 опускается вниз (рис. 10, в),
В двигателях автомобилей ВАЗ термостат выполнен двухклапанным и устанавливается перед водяным насосом. При холодном двигателе большая часть охлаждающей жидкости будет циркулировать по кругу: водяной насос — блок цилиндров — головка цилиндров — термостат — водяной насос. Параллельно жидкость циркулирует через рубашку впускного трубопровода и смесительной камеры карбюратора, а при открытом кране отопителя пассажирского помещения — через его радиатор,
Когда температура жидкости ниже 363 К (90°С), оба клапана термостата частично открыты. Часть жидкости поступает к радиатору.
При полностью прогретом двигателе основной поток жидкости из головки цилиндров направляется в радиатор системы охлаждения.
На двигателях автомобилей «Москвич-2140», как и на автомобилях ВАЗ, термостат расположен в нижней части системы охлаждения между радиатором и водяным насосом. Клапан термостата в данном случае более герметичен, радиатор при прогреве полностью отключается, двигатель прогревается быстрее.
Для контроля за температурой охлаждающей жидкости служат сигнальные лампы и указатели на щитке приборов. Датчики контрольно-измерительных приборов размещаются в головках цилиндров, верхнем бачке радиатора и рубашке охлаждения впускного трубопровода.
1.2. Пусковой подогреватель
У автомобилей ГАЗ-53А и ГАЗ-66 пусковой подогреватель (рис. 11.) имеет котел 9, включенный в систему охлаждения двигателя. В камеру сгорания котла топливо подается самотеком из бака 2. Поступление топлива дозируется регулировочной иглой электромагнитного клапана 7. Воздух подается вентилятором 3. Смесь воспламеняется свечой в, В цепь свечи включено дополнительное сопротивление, установленное на пульте управления подогревателем. По накалу спирали сопротивления судят о работе свечи. Когда в камере сгорания котла будет достигнуто устойчивое горение, свечу выключают, топливо будет воспламеняться от ранее зажженного пламени.
На автомобилях КамАЗ пусковой подогреватель используют при температуре ниже 248 К (—25°С). Для облегчения пуска холодного двигателя при температуре до 248 К (—25°С) предназначено пусковое устройство «Термостат». Подача топлива на раскаленные электрофакельные свечи обеспечивается при проворачивании коленчатого вала двигателя стартером. Образовавшийся во впускных трубопроводах факел подогревает воздух, поступающий в двигатель.
Автомобиль - техника теплолюбивая. Ночуя зимой на улице, он охотно впадает в спячку и добудиться его поутру удается не всем. Поэтому в мороз как никогда велик спрос на буксир и «прикуриватель». Это надругательство не проходит безнаказанно. Даже если не удалось запороть двигатель, жизнь ему укоротили точно. А ведь есть куда более цивилизованный метод. Перед пуском мотор надо лишь подогреть. Способов много, начиная от паяльной лампы и заканчивая отопителем, управляемым с сотового телефона. Правда, в последнем случае котлу надо купить сим-карту, сделав его полноценным абонентом сети. Большинство предпочитает золотую середину.
Рис. 11. Пусковой подогреватель двигателя автомобиля ГАЗ-53А:
1 — заливная горловина, 2 — топливный бак, 3 — вентилятор, 4 — воздухоподводяший шланг, 5 — переключатель, в — пульт управления, 7 — электромагнитный клапан, в — свеча, 9 — котел, 10 — направляющий кожух, 11 — сливной кран
Обычный автономный подогреватель работает независимо от других систем автомобиля. За что и получил свое название. Состоит он из жарового котла, топливного и жидкостного насосов, средств коммуникации и системы управления. Дальше все просто. В котле горит топливо, нагревая жидкость в теплообменнике. Насос гоняет ее по системе охлаждения. Двигатель прогревается до готовности к пуску. Выпускают подогреватели разной мощности. Остается лишь сесть в кабину и повернуть ключ.
Основной недостаток - потребность в электроэнергии. Единственный в этом случае поставщик - автомобильный аккумулятор -с дополнительной нагрузкой справляется, но «живет» в среднем на год меньше.
Предпусковой разогрев - не единственный способ облегчения пуска. Можно просто не дать двигателю замерзнуть. То есть перевести котел в режим поддержания. Здесь он будет включаться периодически, сохраняя температуру охлаждающей жидкости в интервале 40-85°С.. Полезная опция даже для работающего дизеля. Ведь на холостых оборотах он не только не нагревается, но и норовит остыть!
Раз уж мы все равно греем двигатель, почему заодно не нагреть салон? Ведь его «печка» уже включена в общую систему. Надо только вовремя открыть кран и включить вентилятор. С этим управляется автоматика. Вместо крана используют дополнительный термостат. Только в большинстве подобных конструкций приоритет отдается кабине. То есть кипяток сразу поступает в салон и лишь потом через термостат в двигатель. Погоду делают с пульта управления. Он, обычно, универсальный и совмещает функции пусковой кнопки, таймера и климат-контроля. Задав нужный режим, про мороз за окном можно забыть. И попив кофейку, спокойно укладываться спать. Не зря эти отопители популярны у дальнобойщиков. Довольны и автотранспортные компании. Молотящий двигатель на стоянке сжигает за ночь около сорока литров солярки, а подогреватель -меньше шести. Про ресурс и говорить нечего. Хорошо и для легковушек - садиться в предварительно нагретый салон и приятно, и для здоровья полезно.
Когда машина ночует в тепле, с пуском проблем нет. А вот в кабине тепла не хватает. Например, в автобусе с его вечно распахнутыми дверями. Или в большинстве отечественных легковушек с их дырявыми заслонками и воздуховодами. Здесь вполне можно ограничиться «воздушником», то есть отопителем, греющим непосредственно воздух. Он работает тоже на жидком топливе и отличается от предыдущих конструкцией теплообменника. Его легче пристроить в автомобиле, и благодаря меньшему числу комплектующих он заметно дешевле.
Способы установки подогревателей на автомобиль отражены в инструкции. Но все не так просто, как кажется на первый взгляд. Даже у опытного мастера процесс монтажа занимает до восьми часов. Это притом, что для него время - деньги! Неискушенный новичок может завязнуть на целую неделю. Да еще наломать дров, за что придется платить. Так, популярный «воздушник» «Эберспехер» состоит из двух половинок, которые при установке крепятся к полу. Если болты затягивать неравномерно, корпус деформируется, зажимая крыльчатку вентилятора. Замена сгоревшего двигателя после пробного пуска обходится в $200-300.
Нелегко разобраться в хитросплетении проводов. Ошибаясь при подключении, легко спалить штатный блок климат-контроля. К печальным последствиям порой приводит обесточивание автомобиля. Как-то водитель «Ауди-А6» по окончании монтажных работ не смог тронуться с места - в отсутствие питания оказался заблокированным модуль управления автоматической коробкой. Протирка фар и пинание колес не помогли - пришлось прокатиться на эвакуаторе.
Куда пристроить подогреватель на автомобиле - отдельная история. Как правило, под капотом слишком мало места. Приходится использовать пустоты в бампере, багажнике или под кузовом - хватило бы шлангов. К любой машине - свой творческий подход. Чтобы труды по установке не пропали даром и котел исправно «топил» двигатель и кабину много лет, в эксплуатации тоже надо следовать некоторым правилам. Главное - не спешить. Запускается подогреватель не сразу - на розжиг уходит минуты полторы. Нетерпеливый пользователь ждать не желает и, пытаясь ускорить процесс, постоянно теребит кнопку «пуск». Таймер «сходит с ума», оставляя штифт накала непрерывно под напряжением.
Перегревшись, последний сгорает. Автоматика тут же отключает систему. Запчасти есть смысл искать только на фирменных станциях. В магазинах их не продают. У «воздушников» надо регулярно очищать от слежавшейся пыли сетку забора воздуха и наружную крыльчатку. При плохом обдуве агрегат может перегреться, а отдельные компоненты - даже расплавиться.
«Водяные» чувствительны к качеству «Тосола». Вода с синькой, сдобренная мусором из системы охлаждения, выведет из строя что угодно.
В
заключении темы предварительного
подогрева автомобиля бы рассказать
о
системе
предварительного
подогрева, а точнее о новом клапане
(Рис. 14) системы предварительного
подогрева салона и двигателя фирмы
«Эберспехер», схема которого предс
тавлена
на Рис.12.

Рис. 12. Расположение нового клапана фирмы «Эберспехер» в системе предпускового подогрева двигателя и салона
Рис. 13. Эффект налицо: вверху – результат работы отопителя с новым клапаном, внизу – без него.
Фирма «Эберспехер» известна своими автономными подогревателями, обеспечивающими прогрев салона и двигателя без пуска последнего. Союз «и», однако, уместно заменить на «или», если у автомобиля мотор солидного рабочего объема. Дело в том, что его массивный блок цилиндров «работает» как алюминиевый радиатор, расточая драгоценное тепло в окружающее пространство. Процесс затягивается – а водителю-то хочется, чтобы стекла скорее оттаяли, и можно было сразу снять верхнюю одежду. До сих пор противоречие решали с помощью специального клапана, позволявшего подогревателю гонять антифриз по малому кругу, не расходуя киловатты на прогрев мотора. Решение не самое оптимальное, поскольку, во-первых, холодный пуск приводит к повышенному выбросу вредных газов, а, во-вторых, сразу после пуска этот клапан автоматически подключал большой круг «тосолообращения», отчего из дефлекторов начинало веять холодом.
Новый клапан, подобно термостату, плавно и постепенно увеличивает поток жидкости через блок цилиндров. Перемещением запорного поршенька управляет «пружина» из никель-титанового сплава, обладающего «памятью» (Рис. 15). Этот термостат настроен таким образом, что большой круг начинает открываться для антифриза, как только его температура достигнет 67°С. С этого момента «пружина» как бы растягивается и отодвигает поршень клапана.
Сравнительные испытания в термокамере при –20°С показали: с новой системой температура жидкости в малом круге через 10 минут достигает 60°С, тогда как без клапана – лишь 29,3°С. Соответственно, из дефлекторов на стекла дует воздух с температурой 42°С, а не 10°С. Что касается двигателя, он уже через 30 минут нагревается до комнатных +20°С. Гораздо быстрее оттаивает ветровое стекло: спустя 20 минут после запуска отопителя ото льда освобождается 80% его поверхности, тогда как раньше за это время очищалось лишь 30%.
2. КОНСТРУКТИВНЫЕ ОСОБЕННОСТИ ДВИГАТЕЛЯ
Силовой агрегат состоит из двигателя, сцепления и коробки передач.
Силовой агрегат установлен на автомобиле с помощью трех эластичных опор.
Двигатель ЗМЗ-406 четырехтактный бензиновый жидкостного охлаждения с рядным расположением четырех цилиндров.
2.1 Кривошипно-шатунный механизм и механизм газораспределения
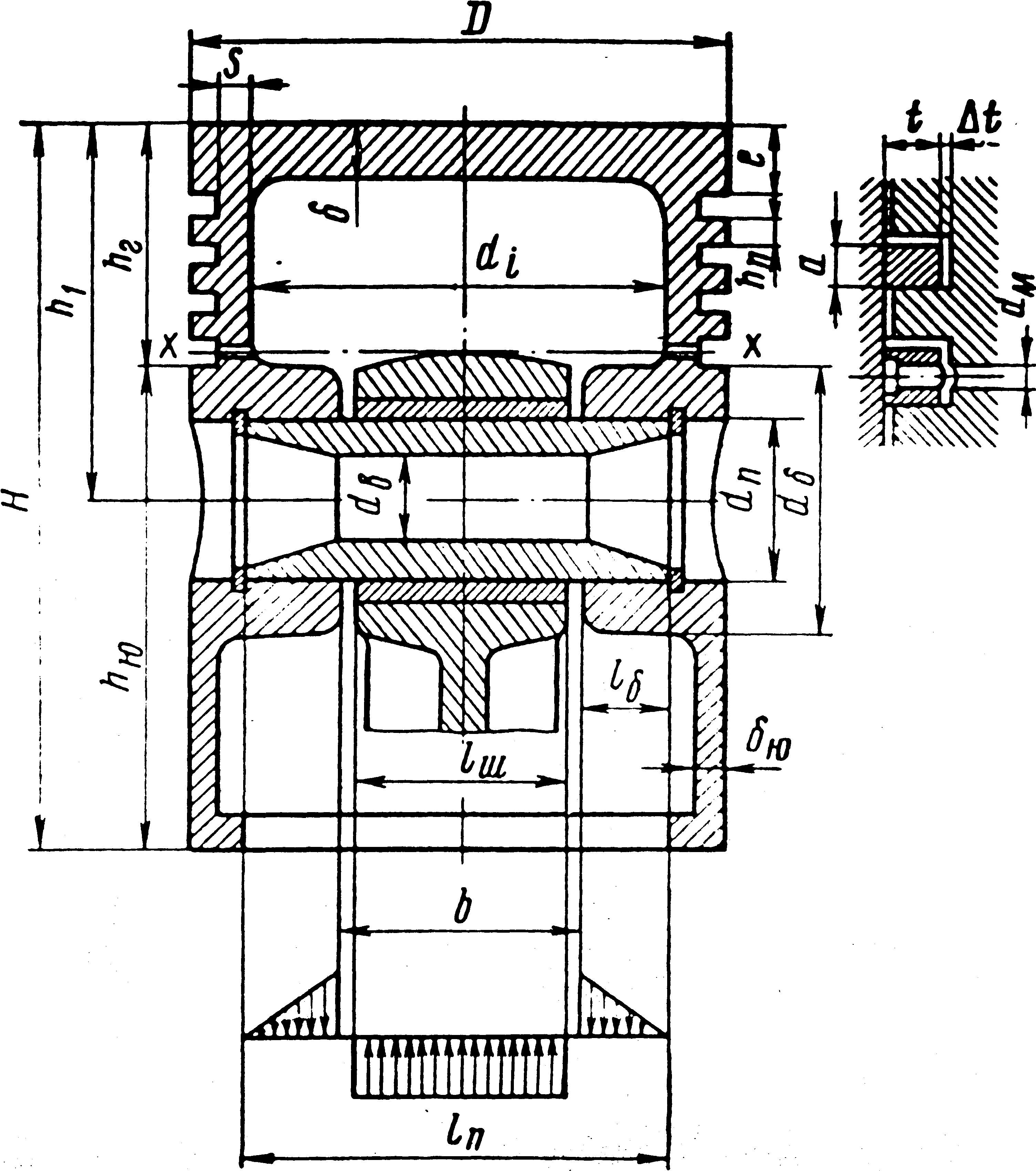
Блок цилиндров отлит из алюминиевого сплава. Отливки блока могут быть выполнены двумя способами: литьем под давлением и литьем в кокиль. В блок цилиндров вставлены отлитые из износостойкого чугуна «мокрые» гильзы цилиндров. В зависимости от метода отливки блока гильзы цилиндров уплотняют различными способами. В блоке, отлитом под давлением, гильза в нижней части уплотняется специальной медной прокладкой, установленной между упорным буртом гильзы и опорной поверхностью блока, а в верхней части – прокладкой головки цилиндров. В блоке, отлитом в кокиль, гильза в верхней части имеет упорный бурт и опирается им непосредственно на выточку в блоке, а уплотнение верхней части осуществляется также прокладкой головки цилиндров. В нижней части гильза уплотняется двумя резиновыми кольцами, расположенными на нижнем центрирующем пояске гильзы.
В нижней части блока расположено пять гнезд коренных подшипников коленчатого вала. Для уменьшения рабочего зазора в подшипниках при их нагревании крышки подшипников изготовлены из ковкого чугуна и центрируются в блоке цилиндров по специальным выточкам. Обрабатывают крышки коренных подшипников в сборе с блоком цилиндров, поэтому они невзаимозаменяемые. На второй, третьей и четвертой крышках выбиты цифры их порядковых номеров: 2, 3 и 4. К заднему торцу блока крепится картер сцепления, который также обрабатывают вместе с блоком цилиндров, поэтому картеры сцепления невзаимозаменяемые.
Головка цилиндров отлита из алюминиевого сплава. Седла клапанов вставные, изготовлены из жаропрочного чугуна. Направляющие втулки клапанов изготовлены из металлокерамики.
Поршни отлиты из алюминиевого сплава и имеют бочкообразную форму юбки для улучшения приработки. Ось отверстия для поршневого пальца смещена на 1.5 мм в правую сторону (по ходу автомобиля) от средней плоскости поршня. На боковой стенке поршня у одной из бобышек под поршневой палец имеется отлитая надпись "Перед". В соответствии с надписью поршень этой стороной должен быть обращен к передней части двигателя.
Компрессионные поршневые кольца отлиты из чугуна. Наружная поверхность верхнего кольца, прилегающая к цилиндру, покрыта слоем хрома, а нижнего кольца – слоем олова. На внутренней поверхности нижнего компрессионного кольца имеется выточка. При установке нижнего компрессионного кольца на поршень выточка должна быть обращена вверх, к днищу поршня. Нарушение этого условия вызывает утечку масла через кольцо в цилиндр, нагарообразование на стенках камеры сгорания и увеличение расхода масла.
Маслосъемное кольцо состоит из четырех стальных деталей: двух кольцевых дисков, осевого и радиального расширителей. Рабочая поверхность кольцевых дисков покрыта хромом.
Поршневые пальцы плавающего типа изготовлены из стали 15Х. Стопорные кольца устанавливаются в поршень таким образом, чтобы усики их были обращены наружу.
Шатуны – стальные, кованные. Крышку шатуна обрабатывают вместе с шатуном, поэтому при переборке двигателя нельзя переставлять крышки с одного шатуна на другой. На бобышках под болт на шатуне и крышке выбиты порядковые номера цилиндров, которые должны быть совмещены при сборке. При правильном положении крышки пазы для фиксирующих выступов вкладышей в шатуне и крышке также располагают с одной стороны. На стержне шатуна выштампован номер детали, на крышке имеется выступ. При сборке номер и выступ должны быть обращены к передней части двигателя.
Кривошипные и шатунные головки шатунов подгоняют точно по массе.
Коленчатый вал отлит из высокопрочного чугуна и динамически сбалансирован. Осевое перемещение вала ограниченно двумя упорными сталебаббитовыми или сталеалюминевыми упорными шайбами, расположенными по обе стороны переднего коренного подшипника. Осевой зазор в подшипнике должен быть равен 0,075…0,175 мм и достигается подбором передней шайбы соответствующей толщины.
На переднем конце коленчатого вала к фланцу ступицы шкива шестью болтами привернут двухручьевой шкив привода вентилятора, водяного насоса и генератора. Болты крепления шкива к ступице расположены неравномерно, поэтому шкив может быть установлен только в одном определенном положении. На шкив через упругий элемент напрессован диск, гасящий крутильные колебания коленчатого вала. На диске имеются три метки. Третья метка соответствует ВМТ первого цилиндра. Первые две метки служат для проверки и установки опережения зажигания.
Маховик отлит из серого чугуна и имеет напрессованный стальной зубчатый обод для пуска двигателя стартером.
Вкладыши коренных и шатунных подшипников коленчатого вала – тонкостенные, сталеаллюминиевые; одноименные вкладыши – взаимозаменяемы.
Впускные и выпускные клапаны располагаются в головке над цилиндрами в один ряд вдоль оси двигателя. Привод клапанов распределительного вала через толкатели, штанги и коромысла. Клапаны изготовлены из жароупорной стали. Кроме того, рабочая фаска, выпускного клапана имеет наплавку из жароупорного сплава. На верхнем конце клапана имеется канавка для сухариков тарелки клапанных пружин. На каждый клапан установлены по две пружины.
Чтобы исключить попадание масла в цилиндры двигателя, через зазоры между втулкой и клапаном на каждую втулку напрессовывают маслоотражательный колпачок, изготовленный из маслостойкой резины.
Распределительный вал – литой из серого чугуна с искусственным отбелом кулачков и эксцентрика, имеет пять опорных шеек и стальную залитую в тело вала шестерню привода датчика-распределителя и масляного насоса. Шейки имеют различный диаметр. Осевое перемещение распределительного вала ограниченно упорным стальным фланцем, находящимся между торцом передней шейки распределительного вала и ступицей шестерни с зазором 0,1…0,2 мм. Правильность фаз газораспределения обеспечивается установкой шестерен по меткам: метка 0 на шестерне коленчатого вала должна быть против риски у впадины зуба на текстолитовой шестерне.
Толкатели – поршневого типа, стальные. Торец толкателя, работающий по кулачку, наплавлен специальным отбеленным чугуном.
Штанги толкателей – изготовлены из дюралюминиевого прутка. На концы штанги напрессованы стальные наконечники. Сферические поверхности наконечников термически обработаны.
Коромысла клапанов – стальные, опираются на пустотелую ось, закрепленную на головке цилиндров при помощи шести стоек и шпилек, пропущенных через стойки. Вторая с задней части двигателя стойка, имеет на нижней плоскости паз. В оси имеется сверление для подвода масла к коромыслам, а в коромыслах имеется канал для смазки верхнего наконечника штанги.
2.2 Система смазки
Система комбинированная: под давлением и разбрызгиванием. Система смазки состоит из указателя уровня масла, масляного насоса с маслоприемником, масляных каналов, масляного фильтра, редукционного клапана, фильтра очистки масла, масляного картера, крышки горловины для заправки масла, масляного радиатора, предохранительного клапана и запорного крана.
На указателе уровня масла имеются метки: высшего уровня «П» и низшего уровня «О». Уровень масла должен находится вблизи метки «П», не превышая ее.
Масляный насос шестеренчатого типа установлен внутри масляного картера и крепится к блоку цилиндров двумя шпильками. Корпус насоса изготовлен из алюминиевого сплава, крышка насоса из чугуна, шестерни насоса из металлокерамики. Ведущая шестерня закреплена на валу штифтом, ведомая вращается свободно на оси, запрессованной в корпус насоса.
Уплотняющая картонная прокладка толщиной 0.3 мм обеспечивает необходимый зазор между торцами шестерен и крышкой. К крышке крепится литой из алюминиевого сплава маслоприемник с сеткой. В корпусе насоса помещается редукционный клапан. Масло из насоса по каналам в блоке цилиндров и наружной трубке с левой стороны блока подводится к масляному фильтру. Из масляного фильтра по каналам в блоке масло подается к коренным подшипникам коленчатого вала и подшипникам распределительного вала, от коренных подшипников коленчатого вала по каналам в коленчатом валу масло подается к шатунным подшипникам, а от подшипников распределительного вала по каналам в головку цилиндров для смазки коромысел клапанов и верхних наконечников штанг.
Редукционный клапан плунжерного типа расположен в корпусе масляного насоса и отрегулирован на заводе установкой тарировочной пружины. Менять регулировку в эксплуатации не следует. Давление масла определяется указателем, датчик которого ввернут в масляную магистраль блока цилиндров. Кроме того, система снабжена указателем аварийного давления масла, датчик которого ввернут в нижнюю часть корпуса масляного фильтра. Сигнализатор аварийного давления масла загорается при давлении 0.4…0.8 кгс/см2.
Привод масляного насоса осуществляется от распределительного вала парой винтовых шестерен. Ведущая шестерня – стальная, залитая в тело распределительного вала, ведомая – стальная, нитроцементированная, закреплена штифтом на валу, вращающемся в чугунном корпусе. На верхний конец вала надета и закреплена штифтом втулка, имеющая прорезь, смещенную на 1.5 мм в сторону для привода датчика распределителя зажигания. К нижнему концу вала шарнирно присоединен промежуточный шестигранный вал, нижний конец которого входит в шестигранное отверстие вала масляного насоса.
Вал в корпусе привода смазывается маслом, которое разбрызгивается движущимися деталями двигателя. Разбрызгиваемое масло, стекая по стенкам блока, попадает в прорезь – ловушку на нижнем конце хвостовика корпуса и через отверстие поступает на поверхность вала. Отверстие под вал в корпусе имеет винтовую канавку, благодаря которой масло при вращении вала равномерно распределяется по всей его длине. Излишки масла из верхней полости корпуса привода по каналу в корпусе стекают обратно в картер. Шестерни привода смазываются струей масла, вытекающей из отверстия диаметром 2 мм в блоке цилиндров и соединенного с четвертой опорой распределительного вала, имеющей кольцевую канавку.
Фильтр очистки масла – полнопоточный, с картонным сменным элементом, расположен с левой стороны двигателя. Через фильтр проходит все масло, нагнетаемое насосом в систему. Фильтр состоит из корпуса, крышки, центрального стержня и фильтрующего элемента. В верхней части центрального стержня расположен перепускной клапан, который при засорении фильтрующего элемента пропускает масло, минуя его, в масляную магистраль. Сопротивление чистого фильтрующего элемента 0.1…0.2 кгс/см2, перепускной клапан начинает перепускать масло при увеличении сопротивления в результате засорения фильтра до 0.6…0.7 кгс/см2.
Масляный радиатор служит для дополнительного охлаждения масла при эксплуатации автомобиля летом, а также при длительном движении на скоростях выше 100-110 км/ч. Масляный радиатор соединен с масляной магистралью двигателя при помощи резинового шланга через запорный кран и предохранительный клапан, которые установлены с левой стороны двигателя. Положение ручки крана вдоль шланга соответствует открытому положению крана, поперек – закрытому. Предохранительный клапан открывает проход масла в радиатор при давлении выше 0.7…0.9 кгс/см2. Масло из радиатора сливается по шлангу через крышку распределительных шестерен (с правой стороны двигателя) в картер.
Вентиляция картера двигателя закрытая, принудительная, действующая в результате разрежения во впускном трубопроводе и в воздушном фильтре. При работе двигателя на холостом ходу и на частичных нагрузках газы из картера отсасываются во впускную трубу, на полных нагрузках – в воздушный фильтр и впускную трубу.
2.3 Система охлаждения
Система охлаждения двигателя - жидкостная, закрытая с принудительной циркуляцией жидкости. Состоит из рубашки, окружающей цилиндры и головки цилиндров двигателя. насоса 15 центробежного типа, радиатора 12, жалюзи И, вентилятора 14, термостата 8, системы клапанов, помещенных в пробке радиатора, расширительного бачка, и сливных краников 1 и 13. В систему охлаждения включены также радиаторы отопления кузова 4 и 5. Система охлаждения заполнена жидкостью Тосол А- 40, замерзающей при температуре -40 °С. Емкость системы охлаждения 12 л. Поддержание правильного теплового режима оказывает решающее влияние на износ двигателя и экономичность его работы. "Температура охлаждающей жидкости при наивыгоднейшем тепловом режиме работы двигателя должна быть в пределах 85...90 °С. Указанная температура поддерживается при помощи автоматически действующего термостата и управляемых вручную жалюзи радиатора. Для контроля температуры охлаждающей жидкости в комбинации приборов имеется электрический указатель, датчик 10 которого ввернут в корпус термостата. Кроме того, в комбинации приборов имеется красная сигнальная лампочка, загорающаяся при повышении температуры жидкости до 104...109 "С. Датчик ее также ввернут в корпус термостата. При загорании лампочки следует немедленно устранить причину перегрева: перейти на более легкий режим движения (сбавить газ), усилить охлаждение, открыв жалюзи. Насос нагнетает жидкость в рубашку блока цилиндров, откуда через отверстия в прокладке поступает в головку цилиндров. Отсюда, в зависимости от температурного состояния двигателя, жидкость термостатом направляется или в верхний бачок радиатора (при прогретом двигателе) или обратно в двигатель (при холодном двигателе).
2
Рис. 17.
.2. Термостат - с твердым наполнителем термосилового элемента, двухклапанный, типа ТС-107-01 расположен на переднем торце головки блока цилиндров и соединен шлангами с водяным насосом и радиатором. Полость корпуса термостата совмещена с полостью головки. Основной клапан термостата начинает открываться при температуре 78...82 °С, когда температура достигает 94 °С он полностью открыт. При закрытом основном клапане жидкость в системе охлаждения циркулирует через перепускной патрубок корпуса термостата и водяной насос обратно в двигатель. При этом дополнительный клапан полностью открываться. Когда основной клапан полностью открыт, дополнительный клапан закрывается, и жидкость через патрубок крышки термостата поступает в верхний бачок радиатора. Жалюзи следует открывать только при достижении 90 °С.. В зимнее время рекомендуется на переднюю часть автомобиля надеть теплый капот. Ни в коем случае нельзя в зимнее время снимать термостат. Двигатель без термостата прогревается очень долго и работает при низкой температуре, вследствие этого ускоряется износ двигателя и увеличивается расход бензина, а также происходит интенсивное отложение смолистых веществ на внутренних стенках двигателя.
2
Рис. 18.
.3. Насос - центробежного типа, устанавливается на переднем торце блока цилиндров двигателя, состоит из корпуса насоса 2 крышки корпуса, крыльчатки 5, сальника 4 и валика с подшипником 7. Уплотнитель насоса состоит из обоймы с резиновой манжетой, разжимной пружины и шайбы уплотняющей в сборе. Уплотнитель запрессовывается в гнездо корпуса насоса. Напрессованный на валик подшипник запрессовывается в корпус насоса и стопорится в нем фиксатором 3. Крыльчатка напрессовывается на задний конец валика, а ступица для крепления вентилятора - на передний конец валика. Подшипник насоса при сборке заполняется смазкой и в процессе эксплуатации смазки не требует. Подшипник насоса отделен от водяной полости самоподвижным уплотнителем. Жидкость, просочившаяся через уплотнитель, не попадает в подшипник, а вытекает через отверстие в нижней части корпуса насоса. Между корпусом и крышкой насоса, а также между крышкой и блоком цилиндров двигателя устанавливаются паронитовые прокладки. В корпус насоса вворачивается штуцер отвода жидкости от радиатора отопителя.2.4. Вентилятор пластмассовый, шестилопастной. К вентилятору четырьмя болтами и квадратными гайками крепится металлический фланец. Под головки болтов устанавливаются стопорные шайбы с обжимкой их граней. В отверстия пластмассового вентилятора под крепежные болты заливаются металлические втулки. Вентилятор металлическим фланцем крепится четырьмя болтами к ступице на валике насоса. Вентилятор в сборе с фланцем балансируется (статический дисбаланс не более 6 г.с.см). Вал вентилятора насоса приводится во вращение двумя клиновыми ремнями от шкива коленчатого вала. Этими же ремнями приводится в действие генератор. Натяжение ремней регулируется поворотом генератора. При правильном натяжении каждый ремень под усилием большого пальца руки (4 кгс) должен прогибаться на 8...10 мм.
2
Рис. 19.
.5. Радиатор - трубчато-пластинчатый. Плоские вертикальные трубки впаяны в верхний и нижний бачки радиатора в три ряда в промежутках представляющие собой гофрированную (в виде змейки) медную ленту. В бачки впаяны патрубки для подвода (в верхний бачок) и отвода (в нижний бачок) жидкости. В верхний бачок впаяна наливная горловина и штуцер датчика контрольной лампочки температуры воды. В нижнюю часть наливной горловины впаян патрубок шланга расширительного бачка. Верхний и нижний бачки радиатора дополнительно соединены припаянными к ним боковыми стойками. Радиатор крепится при помощи кронштейнов, расположенных на его боковых стойках, четырьмя болтами к перегородке (щитку) радиатора, приваренной к кузову.
К
боковым щиткам радиатора прикреплен
кожух вентилятора, штампованный из
листовой стали. Пробка радиатора
закрывает герметически всю систему
охлаждения. Пробка имеет два клапана
выпускной, отрегулированный на избыточное
давление в системе 44.5...59.5 кПа (0.45...0.60
кгс/см), и впускной, отрегулированный
на разрежение в системе 0.98...9.б кПа
(0.01...0.10 кгс/см). Нормальная работа клапанов
зависит от исправности резиновых
прокладок. При поврежденных прокладках
система негерметична. Герметичность
системы обеспечивает более высокую
температуру охлаждающей жидкости без
закипания и тем самым большую теплоотдачу
радиатора. Расширительный бачок
изготовлен из полупрозрачной пластмассы,
соединен шлангом с наливной горловиной
радиатора. На корпусе бачка имеется
метка "MIN", по которой устанавливается
уровень жидкости. При нагреве жидкость
расширяется, и избыток ее через выпускной
клапан в пробке радиатора перетекает
в расширительный бачок. При охлаждении
двигателя жидкость через впускной
клапан Я перетекает обратно в радиатор.
Пробка расширительного бачка имеет
резиновый клапан. Клапан имеет прорезь
и два небольших отверстия по краям
прорези. Отверстия обеспечивают сброс
избыточного давления в бачке до
атмосферного, а прорезь исключает
образование разрежения в бачке при
обратной циркуляции жидкости из бачка
в двигатель. Перед радиатором установлены
жалюзи для регулирования степени его
охлаждения. Управляются жалюзи через
гибкую тягу рукояткой, расположенной
под щитком прибором. Вытянутое положение
рукоятки соответствует закрытым створкам
жалюзи. Техническое обслуживание системы
охлаждения включает в себя ежедневную
проверку уровня охлаждающей жидкости
в расширительном Дачке. Уровень жидкости
на холодном двигателе при температуре
15...25 "С должен быть у метки "MIN"
или выше ее на 3...S см. Через каждые 5 тыс.
км необходимо проверять герметичность
в соединениях шлангов, а также натяжение
ремней вентилятора, водяного насоса и
генератора. При появлении протекания
жидкости произвести подтяжку стяжных
хомутов. Прогиб ремней привода проверяется
нажатием на середину ветви с усилием
40 Н (4 кгс), при этом величина прогиба
должна находиться в пределах 8...10 мм.
Регулируется натяжение изменением
положения генератора. Через 16 тыс. км
также следует проверять водяной насос
и прочищать контрольное отверстие для
выхода охлаждающей жидкости. Течь не
допускается. Перед началом зимней
эксплуатации следует проверять плотность
охлаждающей жидкости в системе охлаждения,
которая должна быть в пределах
1.078...1.085 г/см* при 20 "С. При меньшем
значении плотности Тосол А-40 замерзает
при более высокой температуре.
Периодичность замены охлаждающей
жидкости - каждые два года или через
каждые 60 тыс. км пробега автомобиля. При
большой потере жидкости допустимо
временно добавлять в систему охлаждения
воду. Для этого после охлаждения двигателя
надо снять с радиатора и расширительного
бачка пробки и залить в радиатор воду
до верхнего среза наливной горловины,
затем поставить пробку радиатора на
место. Долить в расширительный бачок
воды на 7...10 см выше метки и поставить
его пробку на место. При первой возможности
надо сменить воду на Тосол А-40. При замене
жидкости систему следует промывать.
Для этого имеющуюся жидкость сливают
и заполняют систему водой, пускают
двигатель и прогревают. Затем на малой
частоте вращения холостого хода сливают
воду и останавливают двигатель. После
охлаждения двигателя повторяют промывку.
Заполняют систему жидкостью через
радиатор (при снятой пробке расширительного
бачка) до верхнего среза наливной
горловины и закрывают радиатор пробкой.
Заливают жидкость в расширительный
бачок на 3...5 см выше метки "MIN" и
закрывают бачок пробкой. Слив жидкости
производится одновременно через два
краника один 38 расположен на нижнем
бачке радиатора, другой 43 с правой
стороны блока цилиндров (в задней его
части). При сливе надо снять пробку
радиатора и открыть кран радиатора
отопления кузова.
2.4 Система питания и выпуска отработавших газов
Система состоит из топливного бака, топливопроводов, топливного насоса, фильтра тонкой очистки топлива, карбюратора, воздушного фильтра, впускного и выпускных трубопроводов и глушителя шума выхлопа.
Топливный бак расположен сзади автомобиля под полом багажника. Бак крепится к кузову при помощи лент и крючков. Бак состоит из двух частей сваренных между собой. В нижней части бака находится сливное отверстие, закрытое пробкой с прокладкой. Для отвода воздуха при заполнении бака топливом с целью предупреждения выплескивания топлива бак снабжен воздушной трубкой. На нижнем конце топливозаборной трубки, расположенной в верхней половине бака, установлен съемный фильтр, состоящий из семи элементов, изготовленных из капроновой сетки. Пробка наливной горловины герметично закрывает бак при помощи прокладки и пружины и имеет впускной и выпускной клапаны. Выпускной клапан срабатывает при давлении 40…165 мм вод. ст., впускной клапан срабатывает при разряжении 45…350 мм вод. ст.
Топливопровод выполнен из латунных трубок наружного диаметра 8 мм. Трубки соединены с топливным насосом, топливным баком, фильтром тонкой очистки топлива и карбюратором посредством штуцеров, конических муфт и накидных гаек.
Топливный насос Б-9В-Б диафрагменного типа приводится в действие от эксцентрика, расположенного на распределительном валу двигателя. Над всасывающими клапанами насоса установлен фильтр, выполненный из мелкой латунной сетки. Чтобы заполнить карбюратор топливом при неработающем двигателе, насос имеет приспособление для ручной подкачки. Для контроля герметичности диафрагмы в корпусе насоса имеется отверстие защищенное сетчатым фильтром. Фильтр тонкой очистки топлива имеет фильтрующий элемент, состоящий из латунной сетки.
Карбюратор К-151 состоит из трех основных разъемных частей, соединенных через уплотнительные прокладки винтами. Верхняя часть карбюратора состоит из воздушного патрубка, разделенного на два канала, с воздушной заслонкой в канале первичной секции. Средняя часть состоит из поплавковой и двух смесительных камер и является корпусом карбюратора. Нижняя часть – корпус дроссельных заслонок, включающая смесительные патрубки с дроссельными заслонками первичной и вторичной камер карбюратора, отлита из алюминиевого сплава. Прокладка между средней и нижней частями карбюратора является уплотнительной и теплоизоляционной.
Конструктивно карбюратор состоит из двух функциональных камер: первичной и вторичной. Каждая камера карбюратора имеет собственную главную дозирующую систему. Система холостого хода имеет количественную регулировку постоянного состава смеси. Во вторичной камере карбюратора имеется переходная система с питанием топливом непосредственно из поплавковой камеры, которая вступает в работу в момент открытия дроссельной заслонки вторичной секции.
Ускорительный насос – диафрагменного типа. Для обогащения горючей смеси при полной нагрузке двигателя во вторичной секции предусмотрен эконостат.
Система пуска холодного двигателя полуавтоматическая, состоит из пневмокорректора, системы рычагов и воздушной заслонки, закрытие которой перед пуском холодного двигателя осуществляется водителем при помощи ручного привода. Система отключения подачи топлива состоит из электронного блока управления, микровыключателя, электромагнитного клапана и экономайзера принудительного холостого хода.
Система рециркуляции отработавших газов состоит из клапана рециркуляции, установленного на газопроводе, термовакуумного выключателя, ввернутого в водяную рубашку головки блока цилиндров и двух соединительных шлангов. Рециркуляция отработавших газов через впускной тракт осуществляется на двигателе, прогретом до температуры охлаждающей жидкости 35…40 С на частичных нагрузках. Система рециркуляции отработавших газов не работает на частотах холостого хода и при полном открытии дросселя, так как отверстие передающее разряжение на диафрагменный механизм клапана рециркуляции, расположено над дроссельной заслонкой карбюратора.
Воздушный фильтр сухого типа со сменным фильтрующим элементом из пористого картона. Воздушный фильтр и двигатель имеют устройство, благодаря которому в зависимости от положения заслонки в карбюратор может поступать холодный или подогретый воздух. Газопровод крепится семью шпильками к головке цилиндров. Средняя часть впускного трубопровода подогревается отработавшими газами, проходящими по выпускному трубопроводу. Степень подогрева можно регулировать вручную при помощи поворачивающейся заслонки.
Система выпуска отработавших газов состоит из двух труб двигателя, двух приемных труб соединенных газоприемником, глушителя, резонатора и выпускной трубы с наконечником. Глушитель и резонатор неразборной конструкции. Корпус глушителя покрыт теплоизоляционным слоем асбеста, который для предотвращения от повреждения обернут жестью.
3. ТЕПЛОВОЙ РАСЧЕТ
3.1 Топливо
В соответствии с заданной степенью сжатия =9.5 для рассчитываемого двигателя можно использовать бензин марки А-92.
Средний элементарный состав и молекулярная масса бензина:
углерода C – 0.855;
водорода H – 0.145;
молекулярная масса m>T>> >=115 кг/кмоль.
Низшая теплота сгорания:
(3.1)
кДж/кг.
3.2 Параметры рабочего тела
1) Теоретическое количество воздуха, необходимое для сгорания 1 кг топлива принятого состава, определяется по формуле:
(3.2)
моль/кг.
(3.3)

2) Коэффициент избытка воздуха устанавливается на основании следующих соображений. На современных двигателях устанавливают многокамерные карбюраторы, обеспечивающие получение почти идеального состава смеси по скоростной характеристике. Возможность применения для рассчитываемого двигателя двухкамерного карбюратора с обогатительной системой и системой холостого хода позволяет получить при соответствующей регулировке как мощностной, так и экономичный состав смеси. =0.95 по заданию.
3) Количество горючей смеси:
кмоль
св. зар./кг топл. (3.4)
4) Количество отдельных компонентов продуктов полного сгорания при К=0.5 и принятом скоростном режиме:
(3.5)
кмоль
СО>2>/кг
топл.;
(3.6)
кмоль
СО/кг топл.;
(3.7)
кмоль
Н>2>О/кг
топл.;
(3.8)
кмоль
Н>2>/кг
топл.;
кмоль
N>2>/кг
топл. (3.9)
5) Общее количество продуктов полного сгорания
(3.10)
кмоль
пр.сг./кг топл.
3.3 Параметры окружающей среды и остаточные газы
Атмосферные условия: р>0>=0.1 МПа;
Т>0>=293 К;
Давление окружающей среды: р>к>=р>0>=0.1 МПа;
Температура окружающей среды: Т>к>=Т>0>=293 К.
Температура остаточных газов. При постоянном значении степени сжатия =9,5 температура остаточных газов практически линейно возрастает с увеличением скоростного режима при =const, но уменьшается при обогащении смеси. Учитывая уже определенные значения n и , можно принять значения T>r>> > для расчетного режима карбюраторного двигателя в пределах, T>r>> >=1040 К.
Давление остаточных газов p>r>, за счет расширения фаз газораспределения и снижения сопротивления при конструктивном оформлении выпускных трактов рассчитываемого двигателя можно принять на номинальном скоростном режиме:
МПа
(3.11)
3.4 Процесс впуска
1) Температура подогрева свежего заряда. С целью получения хорошего наполнения двигателя на номинальном скоростном режиме принимается T>N>> >= 8 C.
2) Плотность заряда на впуске
кг/м3
(3.12)
где
Дж/(кг·град)
– удельная газовая постоянная для
воздуха.
3)
Потери давления на впуске в двигателе.
В соответствии со скоростным режимом
двигателя и с учетом небольших
гидравлических сопротивлений во впускной
системе можно принять
;
ω>вп>=95
м/с.
(3.13)
МПа
где β – коэффициент затухания скорости движения заряда в рассматриваемом
сечении цилиндра;
ξ>вп> – коэффициент сопротивления впускной системы, отнесенный к наибо-
лее узкому сечению;
ω>вп> – средняя скорость движения заряда в наименьшем сечении впускной
системы

4) Давление в конце впуска
МПа
(3.14)
5)
Коэффициент остаточных газов. При
определении >r>
для карбюраторных двигателей без наддува
принимается коэффициент очистки
,
а коэффициент дозарядки на номинальном
скоростном режиме
.
Тогда при (n>N>>
>=4500
мин-1)
(3.15)

где
- температура подогрева свежего заряда
от стенок.
6) Температура в конце впуска
(3.16)
К
7) Коэффициент наполнения
(3.17)
3.5 Процесс сжатия
В четырехтактных двигателях без наддува воздух поступает во впускной трубопровод с температурой окружающей среды. Поэтому процесс сжатия не является адиабатным, а протекает в условиях теплообмена между свежим зарядом и деталями двигателя. В начале сжатия температура свежего заряда значительно ниже температуры окружающих поверхностей цилиндра, днища поршня, головки цилиндра, тарелок клапанов. Вследствие этого наблюдается приток теплоты к свежему заряду. По мере увеличения давления сжатия температура заряда повышается и с некоторого момента становится выше температуры окружающих поверхностей. Направление теплового потока изменяется на обратное и теплота уже будет передаваться от заряда к деталям двигателя.
Таким образом, процесс сжатия протекает с переменным показателем политропы сжатия n>1>.
Ввиду сложности теплообмена между свежим зарядом и окружающими деталями можно считать, что в реальном двигателе процесс сжатия проходит по политропе с некоторым средним значением показателя n>1>.
Основным факторами, влияющими на показатель политропы сжатия n>1>, являются: частота вращения коленчатого вала, интенсивность охлаждения цилиндра, его размеры, конструктивные особенности камер сгорания, утечка газов через неплотности поршневых колец и клапанов.
1) По номограмме рис. 4.4 [1] определяем показатель адиабаты k>1>=1.3768.
2) Значение показателя политропы сжатия принимаем равным n>1>=1.376.
3) Давление в конце сжатия:
МПа
(3.18)
4) Температура в конце сжатия:
К
(3.19)
5) Средняя мольная теплоемкость в конце сжатия:
а) свежей смеси (воздуха)
(3.20)
кДж/(кмоль·град);
где
775
– 273 = 502 °С
б) остаточных газов (определяется методом интерполяции по табл. 3.8 [1]) при n>N>=4500 мин-1, α=0.95 и t>c>=502°С
кДж/(кмоль·град)
(3.21)
где
24.014 и 24.440 – значения теплоемкости
продуктов сгорания при

соответственно при 500 и 600 ºС, [1, табл. 3.8].
в) рабочей смеси
(3.22)
кДж/(кмоль·град).
3.6 Процесс сгорания
В ходе этого процесса химическая энергия топлива превращается в тепловую, которая затем распределяется по частям так: переходит в механическую работу, идет на повышение внутренней энергии газов; передается окружающим поверхностям деталей и через них переходит к охлаждающей жидкости или к воздуху; из топлива не выделяется из-за неполного его сгорания; теряется за счет диссоциации газов при высоких температурах.
Наиболее интенсивно топливо сгорает на участке индикаторной диаграммы c-z который называют участком видимого сгорания.
Экспериментально установлено, что на участке c-z, топливо всегда сгорает не полностью, а догорает далее в процессе расширения.
1) Коэффициент молекулярного изменения свежей смеси:
(3.23)
2) Коэффициент молекулярного изменения рабочей смеси:
(3.24)
3) Количество теплоты, потерянное вследствие химической неполноты сгорания:
кДж/кг
(3.25)
4) Теплота сгорания рабочей смеси:
кДж/кмоль
раб.см. (3.26)
5) Средняя мольная теплоемкость продуктов сгорания:
(3.27)

6) Коэффициент использования теплоты >z> зависит от режима работы двигателя, способа смесеобразования, условий охлаждения камеры сгорания, степени диссоциации газов и быстроходности двигателя.
Принимаем >z> = 0.93.
7) Температура в конце видимого процесса сгорания
(3.28)


откуда t>z>=2623° С
К
(3.29)
8) Максимальное давление сгорания теоретическое:
МПа
(3.30)
9) Максимальное давление сгорания действительное:
МПа
(3.31)
10) Степень повышения давления:
(3.32)
3.7 Процессы расширения и выпуска
В начале процесса расширения, который условно начинается в момент достижения в цилиндре максимальной температуры цикла, продолжается подвод теплоты к рабочему телу, затем расширение происходит с отводом теплоты к стенкам. Догорание в процессе расширения происходит вследствие несовершенства перемешивание воздуха с топливом, недостаточного времени на сгорание. Интенсивный теплообмен между рабочим телом и стенками днища поршня, головки цилиндров, гильзы осуществляется в течение всего процесса расширения и различен для разных его участков. В результате влияния догорания топлива, восстановления продуктов диссоциации, охлаждения расширяющихся газов, утечки газов через неплотности поршневых колец и клапанов действительный процесс расширения протекает с переменным значением показателя политропы.
Средний показатель адиабаты расширения k>2> определяется по монограмме [1, рис.4.8] при заданном для соответствующих значений и T>z>, а средний показатель политропы расширения n>2> определяется по величине среднего показателя адиабаты.
1) Давление в конце процесса расширения:
МПа
(3.33)
2) Температура в конце процесса расширения:
К
(3.34)
3) Проверка ранее принятой температуры остаточных газов:
К
(3.35)
%,
что допустимо (3.36)
3.8 Индикаторные параметры рабочего цикла
Средним индикаторным давлением р>i> называют условное постоянное давление газов, которое, воздействуя на поршень, за один его ход от ВМТ к НМТ совершает работу, равную работе за один рабочий цикл.
1) Теоретическое среднее индикаторное давление:
(3.37)
МПа
В действительном рабочем цикле среднее индикаторное давление получается меньше, с одной стороны, из-за округления индикаторной диаграммы у расчетных точек с, z и в, вследствие начала горения топлива до ВМТ, начала открытия выпускного клапана до НМТ; а с другой – из-за наличия насосных потерь при впуске и выпуске. Потери на округление учитываются коэффициентом полноты >и> индикаторной диаграммы.
2) Среднее индикаторное давление:
МПа
(3.38)
где >и>=0.96 – коэффициентом полноты индикаторной диаграммы.
Экономичность протекания действительного цикла оценивается двумя показателями: индикаторным КПД >i> и удельным расходом топлива g>i> на единицу индикаторной мощности в единицу времени.
3) Индикаторным КПД называется отношение теплоты, обращенной в механическую работу цикла, к теплоте, сгорания топлива:
(3.39)
Значения индикаторного КПД >i> всегда ниже термического КПД >t>, так как он учитывает не только отвод теплоты к холодному источнику, но и потери, связанные с неполнотой сгорания, отводом теплоты к стенкам и с отработавшими газами, диссоциацией, утечками газа через неплотности и т.д.
4) Индикаторный удельный расход топлива:
г/(кВт·ч)
(3.40)
Индикаторная мощность не может быть полностью передана потребителю, поскольку некоторая ее часть неизбежно затрачивается на преодоление различных сопротивлений внутри двигателя. Эту часть мощности называют мощностью механических потерь. К ней относится мощность, затрачиваемая: на трение между движущимися деталями двигателя (например, трение поршней и поршневых колец), движущимися деталями с воздухом, маслом (маховик, шатун и др.); приведение в действие вспомогательных агрегатов и устройств двигателя (насосов, генератора и др.); очистку и наполнение цилиндра (насосные потери); привод нагнетателя (при механическом приводе от коленчатого вала).
3.9 Эффективные показатели двигателя
1) Предварительно приняв ход поршня S= 92 мм, получим значение средней скорости поршня при n>N>=4500 мин-1
м/с
(3.41)
2) Среднее давление механических потерь:
МПа
(3.42)
3) Среднее эффективное давление:
МПа (3.43)
4) Механический КПД
(3.44)
Показателями экономичности работы двигателя в целом (а не только его действительного цикла) служат удельный эффективный расход топлива g>e> и эффективный КПД >е>.
5) Эффективный КПД:
(3.45)
6) Эффективный удельный расход топлива:
г/(кВт·ч) (3.46)
3.10 Основные параметры цилиндра и двигателя
1) Литраж двигателя
л
(3.47)
где = 4 – количество тактов двигателя.
2) Рабочий объем одного цилиндра:
л
(3.48)
где i= 4 – количество цилиндров двигателя.
3) Диаметр цилиндра. Так как ход поршня предварительно был принят S= 81 мм, то:
мм
(3.49)
Окончательно принимаем D =93 мм, S= 92 мм.
Основные
параметры и показатели двигателя
определяем по окончательно принятым
значениям
и
:
Площадь поршня:
см2
(3.50)
Литраж двигателя:
л
(3.51)
Мощность двигателя:
кВт
(3.52)
Литровая мощность двигателя:
кВт/л
(3.53)
Крутящий момент:
Нм
(3.54)
Часовой расход топлива:
кг/ч
(3.55)
3.11 Расчет и построение индикаторной диаграммы
Индикаторная диаграмма строится с целью проверки полученного аналитическим путем значения среднего индикаторного представления протекания рабочего цикла в цилиндре рассчитываемого двигателя.
Индикаторная диаграмма двигателя построена для номинального режима работы двигателя, т.е. при N>e>=85 кВт и n=4500 мин-1, аналитическим методом.
Масштаб диаграммы: масштаб хода поршня M>s>=1 мм в мм; масштаб давления M>p>=0.05 МПа в мм.
Величины в приведенном масштабе, соответствующие рабочему объему цилиндра и объему камеры сгорания:
мм
(3.56)
мм
(3.57)
Максимальная
высота диаграммы (точка
)
мм
(3.58)
По данным теплового расчета на диаграмме откладываем в выбранном масштабе величины давлений в характерных точках.
Ординаты характерных точек:
мм
мм
(3.59)
мм
мм
мм
Построение политропы сжатия и расширения аналитическим методом:
а)
политропа сжатия
.
Отсюда:
мм,
(3.60)
где:
мм;
б)
политропа расширения
.
Отсюда:
мм;
(3.61)
Результаты расчета точек приведены в табл. 3.1
Теоретическое среднее индикаторное давление:
МПа
(3.62)
где
2160
мм2
– площадь диаграммы
.
Таблица 3.1
|
№ точек |
ОХ, мм |
ОВ/ОХ |
Политропа сжатия |
Политропа расширения |
||||
|
|
|
|
|
|
|
|||
|
1 2 3 4 5 6 7 8 9 10 11 12 13 14 15 16 17 18 |
10.8235
32.6235
95.0235 |
9.5000
1.0821 |
22.1487
4.8531
1.1147 |
37.6415
8.2478 |
1.8821
0.4124
0.0947 |
16.7537
4.2092
1.1038 |
149.553
37.5739
9.8533 |
7.4777
1.8787
0.4927 |
Величина
1,1739
МПа, полученная планиметрированием
индикаторной диаграммы, очень близка
к величине
1,1752
МПа, полученной в тепловом расчете.
Скругление
диаграммы осуществляется на основании
следующих соображений и расчетов. Так
как рассчитываемый двигатель достаточно
быстроходный (n=4500
мин-1),
то фазы газораспределения необходимо
устанавливать с учетом получения хорошей
очистки цилиндра от отработавших газов
и обеспечения дозарядки в пределах,
принятых в расчете. В связи с этим начало
открытия впускного клапана
устанавливается за 18º до прихода поршня
в ВМТ, а закрытия
– через 60º после прохода поршня НМТ.
Начало открытия выпускного клапана
принимается за 55º до прихода поршня в
НМТ, а закрытие точка
– через 25º после прохода поршнем ВМТ.
Учитывая быстроходность двигателя,
угол опережения зажигания
принимается равным 35º, а продолжительность
периода задержки воспламенения –
.
В
соответствии с принятыми фазами
газораспределения и углом опережения
зажигания определяем положение точек
и
по формуле для перемещения поршня.
(3.63)
где
- отношение радиуса кривошипа к длине
шатуна.
Выбор
величины
производится при проведении динамического
расче-та, а при построении индикаторной
диаграммы предварительно принимается
=0,285.
Расчеты
ординат точек
и
сведены
в табл. 3.2.
Положение
точки
определяется из выражения:
МПа
(3.64)
мм
(3.65)
Таблица 3.2
Расчет
ординат точек
и

|
Обозначение точек |
Положение точек |
|
|
Расстояния точек от ВМТ (АХ), мм |
|
|
18º до в.м.т. |
18 |
0.0626 |
2.8773 |
|
|
25º после в.м.т. |
25 |
0.1191 |
5.4806 |
|
|
60º после н.м.т. |
120 |
1.6069 |
73.9163 |
|
|
35º до в.м.т |
35 |
0.2277 |
10.4755 |
|
|
30º до в.м.т |
30 |
0.1696 |
7.8016 |
|
|
55º до н.м.т. |
125 |
1.6692 |
76.7830 |
Действительное давление сгорания:
МПа
(3.66)
мм
(3.67)
Нарастание
давления от точки
до
z>Д>
составляет 6.356-2.3526=4,003 МПа или 4.003/10=0.4
МПа/град п.к.в., где 10 – положение точки
z>Д>
по оси абсцисс, град.
Соединяя
плавными кривыми точки r
с
,
с
и далее с z>Д>
и кривой расширения
с
(точка
располагается между точками b
и a)
и линией выпуска


,
получаем скругленную индикаторную
диаграмму
.
4. КИНЕМАТИКА
1) Выбор λ и длины L>ш> шатуна.
В целях уменьшения высоты двигателя без значительного увеличения инерционных и нормальных сил отношение радиуса кривошипа к длине шатуна предварительно было принято в тепловом расчете λ=0.285. В соответствии с этим
мм
(4.1)
Построив кинематическую схему кривошипно-шатунного механизма (рис. 4.1), устанавливаем, что ранее принятые значения L>ш> и λ обеспечивают движение шатуна без задевания за нижнюю кромку цилиндра.
2) Перемещение поршня.
мм.
(4.2)
Расчет
S>x>
производится аналитически через каждые
10º угла поворота коленчатого вала
Значения для
при различных φ
взяты из табл. 7.1 [1] и занесены в гр. 2
расчетной табл. 4.1.
3) Угловая скорость вращения коленчатого вала
рад/с
(4.3)
4) Скорость поршня
м/с.
(4.4)
Значения
для
взяты из табл. 7.2 [1] и занесены в гр. 4, а
рассчитанные значения V>п>
– в гр. 5 табл. 4.1.
5) Ускорение поршня
м/с2
(4.5)
Значения
для
взяты из табл. 7.3 [1] и занесены в гр. 6, а
рассчитанные значения j
– в гр. 7 табл. 4.1.
Таблица 4.1
Кинематический расчет
|
φº |
|
S>x>, мм |
|
V>п>, м/с |
|
j, м/с2 |
|
|
1 |
2 |
3 |
4 |
5 |
6 |
7 |
|
|
0 10 20 30 40 50 60 70 80 90 100 110 120 130 140 150 160 170 180 190 |
0 0.0195 0.0770 0.1696 0.2928 0.4408 0.6069 0.7838 0.9646 1.1425 1.3119 1.4679 1.6069 1.7264 1.8249 1.9017 1.9564 1.9891 2.0000 1.9891 |
0
44.3695
89.9926 |
0 0.2224 0.4336 0.6234 0.7831 0.9064 0.9894 1.0313 1.0335 1.0000 0.9361 0.8481 0.7426 0.6257 0.5025 0.3766 0.2504 0.1249 -0.0000 -0.1249 |
0
22.4042
5.4284 |
1.2850 1.2526 1.1580 1.0085 0.8155 0.5933 0.3575 0.1237 -0.0942 -0.2850 -0.4415 -0.5603 -0.6425 -0.6923 -0.7166 -0.7235 -0.7214 -0.7170 -0.7150 -0.7170 |
13126
-962
-7369 |
|
|
200 210 220 230 240 250 260 270 280 290 300 310 320 330 340 350 360 |
1.9564 1.9017 1.8249 1.7264 1.6069 1.4679 1.3119 1.1425 0.9646 0.7838 0.6069 0.4408 0.2928 0.1696 0.0770 0.195 0 |
89.9926
73.9162 |
-0.2504 -0.3766 -0.5025 -0.6257 -0.7426 -0.8481 -0.9361 -1.0000 -1.0335 -1.0313 -0.9894 -0.9064 -0.7831 -0.6234 -0.4336 -0.2224 0.0000 |
-5.4284
-16.0977
-16.9757 |
-0.7214 -0.7235 -0.7166 -0.6923 -0.6425 -0.5603 -0.4415 -0.2850 -0.0942 0.1237 0.3575 0.5933 0.8155 1.0085 1.1580 1.2526 1.2850 |
-7369
-6563
8331 |
5. ДИНАМИКА
5.1. Силы давления газов
Индикаторную диаграмму, полученную в тепловом расчете, развертывают по углу поворота кривошипа по методу Брикса.
Для этого под индикаторной диаграммой строят вспомогательную полуокружность радиусом R=S/2. От центра полуокружности (точка О) в сторону НМТ откладываем поправку Брикса равную
мм
(5.1)
где М>s>=1мм в мм – масштаб хода поршня на индикаторной диаграмме.
Полуокружность делят лучами от центра О на несколько частей, а из центра Брикса (точка О) проводят линии, параллельные этим лучам. Точки, полученные на полуокружности, соответствуют определенным углам (на лист 2 интервал между точками равен 30). Из этих точек проводят вертикальные линии до пересечения с линиями индикаторной диаграммы и полученные величины давлений откладывают на вертикали соответствующий углов . Развертку индикаторной диаграммы начинаем от ВМТ в процессе хода выпуска. При этом следует учитывать, что на свернутой индикаторной диаграмме давление отсчитывают от абсолютного нуля, а на развернутой показывают избыточное давление над поршнем ∆P>r>= P>r>> > - P>o>. Следовательно, давления в цилиндре двигателя, меньшие атмосферного, на развернутой диаграмме будут отрицательными. Силы давления газов, направленные к оси коленчатого вала, считаются положительными, а от коленчатого вала – отрицательными.
Масштабы развернутой диаграммы: давлений и удельных сил М>р>=0.05 МПа в мм; полных сил М>р> = М>р>F>n>=0.05·0.00679291=0.00034 МН в мм; угла поворота кривошипа М>>= 3 в мм, или
рад
в мм (5.2)
где ОВ=240 мм – длина развернутой индикаторной диаграммы.
По развернутой диаграмме через каждые 10 угла поворота кривошипа определяют значения ∆р>г> и заносят в гр.2 сводной таблицы 5.1 динамического расчета (в таблице 5.1 значения даны через 10).
5.2 Приведение масс частей кривошипно-шатунного механизма
С учетом диаметра цилиндра, отношения S/D, рядного расположения цилиндров и достаточно высокого значения р>z> устанавливают следующие значения масс частей КШМ:
масса поршневой группы (для поршня из алюминиевого сплава принято m>n> = 100 кг/м2)
кг;
(5.3)
масса шатуна (для стального кованного шатуна принято m>ш> = 150 кг/м2)
кг;
(5.4)
масса неуравновешенных частей одного колена вала без противовесов (для литого чугунного вала принято m>к> =140 кг/м2)
кг;
(5.5)
Масса шатуна, сосредоточенная на оси поршневого пальца:
кг;
(5.6)
Масса шатуна, сосредоточенная на оси кривошипа:
кг;
(5.7)
Массы, совершающие возвратно-поступательное движение:
кг;
(5.8)
Массы, совершающие вращательное движение:
кг;
(5.9)
5.3 Удельные полные силы инерции
В гр. 3 табл. 5.1 заносим значения и определяем значения удельной силы возвратно-поступательно движущихся масс (гр. 4):
кН
(5.10)
Центробежная сила инерции вращающихся масс
кН
(5.11)
Центробежная сила инерции вращающихся масс шатуна
кН
(5.12)
Центробежная сила инерции вращающихся масс кривошипа
кН.
(5.13)
5.4 Удельные суммарные силы
Удельная сила (МПа), сосредоточенная на оси поршневого пальца:
(5.14)
Удельная нормальная сила (МПа):
(5.15)
Значения tg определяют для выбранного и заносят в гр.6, а значения p>N> – в гр.7.
Удельная сила (МПа), действующая вдоль шатуна (гр.9):
(5.16)
Удельная сила (МПа), действующая по радиусу кривошипа (гр. 11):
(5.17)
Удельная (гр.13) и полная (гр. 14) тангенциальные силы:
МПа
(5.18)
кН
(5.19)
По данным табл. 5.1 на листе миллиметровой бумаги строят графики изменения удельных сил р>j> , р, p>s>, p>N>, p>к> и р>Т> в зависимости от изменения угла поворота коленчатого вала .
Среднее значение тангенциальной силы за цикл:
по данным теплового расчета:
Н
(5.20)
по площади, заключенной между кривой р>Т> и осью абсцисс:
МПа
(5.21)
Н
(5.22)
ошибка
%
(5.23)
5.5 Крутящие моменты
Крутящий момент одного цилиндра (гр.15)
Нм
(5.24)
Период изменения крутящего момента четырехтактного двигателя с равными интервалами между вспышками
(5.25)
Суммирование значений крутящих моментов всех четырех цилиндров двигателя осуществляется табличным методом (табл.5.2) через каждые 10 угла поворота коленчатого вала и по полученным данным строится кривая М>кр> в масштабе М>м> = 10 Нм в мм.
Таблица 5.2
Крутящие моменты
|
φºколенчатого вала |
Цилиндры |
||||||||
|
1-й |
2-й |
3-й |
4-й |
М>кр,> Н·м |
|||||
|
φ°кривошипа |
М>кр.ц.,> Н·м |
φ°кривошипа |
М>кр.ц.,> Н·м |
φ°кривошипа |
М>кр.ц.,> Н·м |
φ°кривошипа |
М>кр.ц.,> Н·м |
||
|
0 10 20 30 40 50 60 70 80 90 100 110 120 130 140 150 160 170 180 |
0 10 20 30 40 50 60 70 80 90 100 110 120 130 140 150 160 170 180 |
0
39.089 |
180 190 200 210 220 230 240 250 260 270 280 290 300 310 320 330 340 350 360 |
0
-186.68
84.198 |
360 370 380 390 400 410 420 430 440 450 460 470 480 490 500 510 520 530 540 |
0
104.744 |
540 550 560 570 580 590 600 610 620 630 640 650 660 670 680 690 700 710 720 |
0
-200.707
224.151 |
0
-13.2920
493.2327 |
Средний крутящий момент двигателя:
по данным теплового расчета
Нм
(5.26)
по площади, заключенной под кривой М>кр>:
Нм
(5.27)
ошибка
%
(5.28)
Максимальный и минимальный крутящие моменты:
М>кр.>>max>
= 860 Hм;
М>кр
>>min>
= -418 Hм.
5.6 Силы, действующие на шатунную шейку коленчатого вала
Для проведения расчета результирующей силы, действующей на шатунную шейку рядного двигателя, составляют таблицу 5.3, в которую переносят значения силы Т.
Суммарная сила, действующая на шатунную шейку по радиусу кривошипа:
кН
(5.29)
где:
кН (5.30)
Результирующая сила R>ш.ш.>, действующая на шатунную шейку, подсчитывается графическим сложением векторов сил Т и Р>к> при построении полярной диаграммы. Масштаб сил на полярной диаграмме для суммарных сил М>р>=0.1 кН в мм. Значения R>ш.ш>> > для различных φ заносят в таблицу и по ним строят диаграмму R>ш.ш>> > в прямоугольных координатах.
По развернутой диаграмме R>ш.ш>> > определяют:
кН
(5.31)
R>ш.ш.max>=22.9 кН, R>ш.ш.>>min>=4.85 кН,
где ОВ – длина диаграммы, мм
F – площадь под кривой R>ш.ш>> >, мм2 .
Таблица 5.3
Силы, действующие на шатунную шейку
|
|
Полные силы, кН |
||||||
|
Т |
К |
Р>к> |
R>ш.ш.> |
Кр>к> |
R>к> |
||
|
1 |
2 |
3 |
4 |
5 |
6 |
7 |
|
|
0 10 20 30 40 50 60 70 80 90 100 110 120 130 140 150 160 170 180 190 200 210 |
0
0.8498
1.7421 |
-12.4724
-0.1091
-6.1253 -6.5563 |
-20.0186
-7.6552
-13.6715 -14.1024 |
20.0186
7.7748
14.1035 14.3445 |
-29.7331
-17.3698
-23.3861 -23.8170 |
29.7331
23.6412 |
|
|
220 230 240 250 260 270 280 290 300 310 320 330 340 350 360 370 380 390 400 410 420 430 440 450 460 470 480 490 500 510 520 530 540 550 560 570 580 590 600 610 620 630 640 650 660 670 |
-3.4641
-4.6067
3.6085
6.5231
7.0430
-2.0648
-1.0818 |
-6.1253
-0.1635
-1.7064
1.6877
-7.7254
-8.0403
-0.8827 |
-13.6715
-7.7096
-9.2525
-5.8584
-15.5864
-8.4288 |
14.1035
7.8576
9.2606
8.3580
16.3789
15.7226
8.9458 |
-23.3861
-17.4242
-15.5730
-24.9862
-25.3010
-18.1434 |
23.6412
17.4902
18.9710
16.6749
25.6779
18.3893 |
|
|
680 690 700 710 720 |
6.1788 0 |
-5.0926
-10.1780 -12.4724 |
-12.6387
-17.7241 -20.0186 |
14.0682 20.0186 |
-22.3533
-27.4387 -29.7331 |
23.1915
27.8681 29.7331 |
По полярной диаграмме строят диаграмму износа шатунной шейки. Сумму сил R>ш.ш.j>, действующих по каждому лучу диаграммы износа (от 1 до 12) определяют с помощью таблицы 5.4. По данным таблицы в масштабе по каждому лучу откладывают величину суммарных сил ΣR>ш.ші> от окружности к центру. По лучам 4 и 5 силы > >ΣR>ш.ші>> > не действуют, а по лучам 6,7 и 8 действуют силы только в интервале 360º<φ<390º.
По
диаграмме износа определяют расположение
оси масляного отверстия
.
Таблица 5.4
|
R>ш.ш.>>i> |
Значения R>ш.ш.>>i> , кН, для лучей |
|||||||||||
|
1 |
2 |
3 |
4 |
5 |
6 |
7 |
8 |
9 |
10 |
11 |
12 |
|
|
R>ш.ш.> 0 |
20.0186 |
20.0186 |
20.0186 |
- |
- |
- |
- |
- |
- |
- |
20.0186 |
20.0186 |
|
R>ш.ш.> 30 |
16.6851 |
16.6851 |
16.6851 |
- |
- |
- |
- |
- |
- |
- |
- |
16.6851 |
|
R>ш.ш.> 60 |
9.2775 |
9.2775 |
9.2775 |
- |
- |
- |
- |
- |
- |
- |
- |
9.2775 |
|
R>ш.ш.> 90 |
8.7624 |
8.7624 |
- |
- |
- |
- |
- |
- |
- |
- |
8.7624 |
8.7624 |
|
R>ш.ш.> 120 |
12.8455 |
12.8455 |
- |
- |
- |
- |
- |
- |
- |
- |
12.8455 |
12.8455 |
|
R>ш.ш.> 150 |
14.3445 |
14.3445 |
- |
- |
- |
- |
- |
- |
- |
- |
14.3445 |
14.3445 |
|
R>ш.ш.> 180 |
14.4522 |
14.4522 |
14.4522 |
- |
- |
- |
- |
- |
- |
- |
14.4522 |
14.4522 |
|
R>ш.ш.> 210 |
14.3445 |
14.3445 |
14.3445 |
- |
- |
- |
- |
- |
- |
- |
- |
14.3445 |
|
R>ш.ш.> 240 |
12.8773 |
12.8773 |
12.8773 |
- |
- |
- |
- |
- |
- |
- |
- |
12.8773 |
|
R>ш.ш.> 270 |
9.0291 |
9.0291 |
9.0291 |
- |
- |
- |
- |
- |
- |
- |
- |
9.0291 |
|
R>ш.ш.> 300 |
8.4226 |
8.4226 |
- |
- |
- |
- |
- |
- |
- |
- |
8.4226 |
8.4226 |
|
R>ш.ш.> 330 |
11.7372 |
11.7372 |
- |
- |
- |
- |
- |
- |
- |
- |
11.7372 |
11.7372 |
|
R>ш.ш.> 360 |
4.8568 |
4.8568 |
4.8568 |
- |
- |
- |
- |
- |
- |
- |
4.8568 |
4.8568 |
|
R>ш.ш.> 390 |
- |
- |
- |
- |
- |
- |
- |
8.759 |
8.759 |
8.759 |
8.759 |
8.759 |
|
R>ш.ш.> 420 |
8.358 |
- |
- |
- |
- |
- |
- |
- |
- |
8.358 |
8.358 |
8.358 |
|
R>ш.ш.> 450 |
12.3456 |
- |
- |
- |
- |
- |
- |
- |
- |
12.3456 |
12.3456 |
12.3456 |
|
R>ш.ш.> 480 |
16.0246 |
16.0246 |
- |
- |
- |
- |
- |
- |
- |
- |
16.0246 |
16.0246 |
|
R>ш>>.>>ш>>.>>i> |
1 |
2 |
3 |
4 |
5 |
6 |
7 |
8 |
9 |
10 |
11 |
12 |
|
R>ш>>.>>ш>>.> 510 |
16.7408 |
16.7408 |
- |
- |
- |
- |
- |
- |
- |
- |
16.7408 |
16.7408 |
|
R>ш>>.>>ш>>.> 540 |
16.1165 |
16.1165 |
16.1165 |
- |
- |
- |
- |
- |
- |
- |
16.1165 |
16.1165 |
|
R>ш>>.>>ш>>.> 570 |
15.4567 |
15.4567 |
15.4567 |
- |
- |
- |
- |
- |
- |
- |
- |
15.4567 |
|
R>ш>>.>>ш>>.> 600 |
13.5163 |
13.5163 |
13.5163 |
- |
- |
- |
- |
- |
- |
- |
- |
13.5163 |
|
R>ш>>.>>ш>>.> 630 |
8.9458 |
8.9458 |
8.9458 |
- |
- |
- |
- |
- |
- |
- |
- |
8.9458 |
|
R>ш>>.>>ш>>.> 660 |
9.1353 |
9.1353 |
- |
- |
- |
- |
- |
- |
- |
- |
9.1353 |
9.1353 |
|
R>ш>>.>>ш>>.> 690 |
16.4658 |
16.4658 |
- |
- |
- |
- |
- |
- |
- |
- |
16.4658 |
16.4658 |
|
R>ш>>.>>ш>>.> |
291 |
270 |
147 |
- |
- |
- |
- |
8.759 |
8.759 |
29.46 |
191 |
291 |
5.7 Уравновешивание
Порядок работы двигателя 1-2-4-3. Промежутки между вспышками равны 180º. Коленчатый вал двигателя имеет кривошипы, расположенные под углом 180º.
Центробежные силы инерции рассчитываемого двигателя и их моменты полностью уравновешены:
и
(5.32)
Силы инерции первого порядка и их моменты также уравновешены:
и
(5.33)
Силы инерции второго порядка для всех цилиндров направлены в одну сторону:
(5.34)
Уравновешивание
сил инерции второго порядка в рассчитываемом
двигателе нецелесообразно, ибо применение
двухвальной системы с противовесами
для уравновешивания
значительно усложнит конструкцию
двигателя.
Моменты от сил инерции второго порядка в связи с зеркальным расположением цилиндров полностью уравновешены:
(5.35)

Рис. 5.1 Схема уравновешивания двигателя
5.8 Равномерность крутящего момента и равномерность хода дви
гателя.
Равномерность крутящего момента:
;
(5.36)
Избыточная работа крутящего момента:
Дж
(5.37)
где
– площадь над прямой среднего крутящего
момента, мм2.
рад
в мм – масштаб угла поворота вала на
диаграмме М>кр>.
Равномерность хода двигателя принимаем δ=0.01.
Момент инерции движущихся масс двигателя, приведенных к оси коленчатого вала:
кг·м2
(5.38)
6. РАСЧЕТ ДЕТАЛЕЙ КРИВОШИПНО-ШАТУННОГО МЕХАНИЗМА НА ПРОЧНОСТЬ
6.1 Расчет поршня
Наиболее напряженным элементом поршневой группы является поршень, воспринимающий высокие газовые, инерционные и тепловые нагрузки, поэтому при его изготовлении к материалу предъявляются повышенные требования. Поршни автомобильных и тракторных двигателей изготовляют в основном из алюминиевых сплавов и реже из чугуна.
Основные конструктивные соотношения размеров элементов поршня (рис. 6.1) приведены в табл. 6.1. Величину верхней части поршня h>1> выбираем, исходя из обеспечения одинакового давления опорной поверхности поршня по высоте цилиндра и прочности бобышек, ослабленных отверстиями для пропуска масла. Это условие обеспечивается при
(6.1)
где h>r> – высота головки поршня.
Расстояние b между торцами бобышек зависит от способа крепления поршневого пальца и обычно принимается на 2-3 мм больше длины верхней головки шатуна l>ш>. Конкретные значения конструктивных элементов поршня принимаются по прототипам с учетом соотношений, приведены в табл. 6.1.
Поверочный расчет элементов поршня осуществляется без учета переменных нагрузок, величина которых учитывается при установлении соответствующих допускаемых напряжений. Рассчитывают днище, стенку головки, верхнюю кольцевую перемычку, опорную поверхность и юбку поршня.
Днище поршня рассчитывается на изгиб от действия максимальных газовых условий р>zmax> как равномерно нагруженная круглая плита, свободно опирающаяся на цилиндр.

Рис. 6.1 Схема поршня
Материал поршня – алюминиевый сплав, α>п>=22·10-6 1/К.
Материал гильзы цилиндра – серый чугун, α>ц>=11·10-6 1/К.
Для дизелей максимальное давление газов обычно достигается при работе на режиме максимальной мощности.
Таблица 6.1
|
Наименование |
диапазон |
значение |
|
Толщина днища поршня, |
(0,12 0,20)D |
8 |
|
Высота поршня, Н |
(1,0 1,7)D |
105 |
|
Высота верхней части поршня, h>1> |
(0,6 1,0)D |
|
|
Высота юбки поршня, h>ю> |
(0,6 1,1)D |
65 |
|
Диаметр бобышки, d>б> |
(0,3 0,5)D |
|
|
Расстояние между торцами бобышек, b |
(0,3 0,5)D |
44 |
|
Толщина стенки юбки поршня, >ю>, мм |
2,0 5,0 |
|
|
Толщина стенки головки поршня, s |
(0,05 0,10)D |
7 |
|
Расстояние до первой поршневой канавки, l |
(0,11 0,20)D |
|
|
Толщина первой кольцевой перемычки, h>п> |
(0,04 0,07)D |
4 |
|
Радиальная толщина кольца, t |
||
|
компрессионного |
(0,040 0,045)D |
4 |
|
маслосъемного |
(0,038 0,043)D |
3 |
|
Высота кольца, а, мм |
3-5 |
3 |
|
Разность между величинами зазоров замка кольца в свободном и рабочем состоянии А>о> |
(3,2 - 4,0) t |
|
|
Радиальный зазор кольца в канаве поршня ∆t, мм |
||
|
компрессионного |
0,70 – 0,95 |
0.8 |
|
маслосъемного |
0,9 – 1,1 |
|
|
Внутренний диаметр поршня, d>i> |
D – 2 ( s+t+∆t ) |
|
|
Число масляных отверстий в поршне, n>м> |
6-12 |
10 |
|
Диаметр масляного канала, d>м> |
(0,3 - 0,5) a |
1 |
|
Наружный диаметр пальца, d>п> |
(0,30 0,38)D |
24 |
|
Внутренний диаметр пальца, d>в> |
(0,50 0,70)d>п> |
16 |
|
Длина пальца, l>п> |
(0,80 0,90)D |
80 |
|
Длина втулки шатуна, l>ш> |
(0,33 0,45)D |
40 |
Напряжение изгиба (МПа) в днище поршня
МПа
(6.2)
где р>zmax>=р>z>=6.356 МПа – максимальное давление сгорания;
мм
– внутренний радиус днища.
Днище поршня должно быть усилено ребрами жесткости. Кроме того, в целях повышения износо- и термостойкости поршня целесообразно осуществить твердое анодирование днища и огневого пояса, что уменьшит возможности перегрева и прогорания днища, а также пригорания верхнего компрессионного кольца.
При отсутствии у днища ребер жесткости допустимые значения напряжений >из> (МПа) лежат в пределах:
Для поршней из алюминиевых сплавов …………….…..…20-25
При наличии ребер жесткости >из> возрастают:
Для поршней из алюминиевых сплавов …………………...до 50-150
Головка поршня в сечении х–х, ослабленная отверстиями для отвода масла, проверяется на сжатие и разрыв.
Напряжение сжатия в сечении х-х:
площадь сечения х – х
м2
(5.3)
где
мм
–
диаметр поршня по дну канавок;
мм
– внутренний диаметр поршня;
мм2
–
площадь продольного диаметрального
сечения масляного канала.
Максимальная сжимающая сила:
МН
(6.4)
Напряжение сжатия:
МПа
(6.5)
Допустимые напряжения на сжатие для поршней из алюминиевых сплавов >сж> = 30 40 МПа.
Напряжение разрыва в сечении х-х:
- максимальная угловая скорость холостого хода:
рад/с
(6.6)
- масса головки поршня с кольцами, расположенными выше сечения х-х:
кг
(6.7)
- максимальная разрывающая сила:
(6.8)
МН
Допустимые напряжения на разрыв для поршня из алюминиевых сплавов >р> = 4 10 МПа.
- напряжение разрыва:
МПа
(6.9)
Напряжение в верхней кольцевой перемычке:
- среза:
МПа
(6.10)
где D=93 мм – диаметр цилиндра;
h>п>=4 мм – толщина верхней кольцевой перемычки.
- изгиба:
МПа
(6.11)
- сложное:
МПа
(6.12)
допускаемые напряжения >> (МПа) в верхних кольцевых перемычках с учетом значительных температурных нагрузок находятся в пределах:
для поршней из алюминиевых сплавов…………….…30-40.
Удельное давление поршня на стенку цилиндра:
МПа
(6.13)
МПа
(6.14)
где N>max>=0.0025 МН – наибольшая нормальная сила, действующая на стенку
цилиндра при работе двигателя на режиме максималь-
ной мощности.
Для современных автомобильных и тракторных двигателей q>1> = 0.3 1.0 и q>2> = 0.2 0.7 МПа.
Гарантированная подвижность поршня в цилиндре достигается за счет установления оптимальных диаметральных зазоров между цилиндром и поршнем при различных тепловых нагрузках, возникающих в процессе работы дизеля. По статистическим данным для алюминиевых поршней с неразрезными юбками
∆>r>=(0.006 0.008)D=0.007·93=0.651 мм (6.15)
∆>ю> = ( 0.001 0.002 )D=0.002·93=0.186 мм (6.16)
Диаметры головки и юбки поршня:
мм
(6.17)
мм
(6.18)
Диаметральные зазоры в горячем состоянии:
(6.19)
мм
(6.20)
мм
где >ц>=1110-6 1/К – коэффициент линейного расширения материала
цилиндра;
>п>=2210-6 1/К - коэффициент линейного расширения материала поршня;
Т>ц> =383 К – температура стенок цилиндра;
Т>r> = 593 К – температура головки в рабочем состоянии;
Т>ю> =413 К – температура юбки поршня в рабочем состоянии;
Т>о> =293 К – начальная температура цилиндра и поршня.
6.2 Расчет поршневого кольца
Поршневые кольца работают в условиях высоких температур и значительных переменных нагрузок, выполняя три основные функции:
– герметизации надпоршневого пространства в целях максимально возможного использования тепловой энергии топлива;
– отвода избыточной доли теплоты от поршня в стенки цилиндра;
– "управление маслом", т.е. рационального распределения масляного слоя по зеркалу цилиндра и ограничения попадания масла в камеру сгорания.
Материал кольца – серый чугун. Е=1.2·105 МПа.
Среднее давление кольца на стенку цилиндра:
(6.21)
МПа
где
мм.
Давление кольца на стенку цилиндра в различных точках окружности при каплевидной форме эпюры давления:
,
[МПа] (6.22)
Результаты расчета р, а также μ>к> для различных углов ψ приведены ниже:
|
Угол ψ, определяющий положение текущего давления кольца, град |
0 |
30 |
60 |
90 |
120 |
150 |
180 |
|
Коэффициент μ>к> |
1.05 |
1.05 |
1.14 |
0.90 |
0.45 |
0.67 |
2.85 |
|
Давление р в соответствующей точке, МПа |
0.224 |
0.222 |
0.218 |
0.214 |
0.218 |
0.271 |
0.320 |
По этим данным построена каплевидная эпюра давлений кольца на стенку цилиндра (рис. 5.2).
Напряжение изгиба кольца в рабочем состоянии:
МПа
(6.23)
Напряжение изгиба при надевании кольца на поршень:
МПа
(6.24)
Монтажный зазор в замке поршневого кольца:
(6.25)
мм
где
мм – минимально допустимый зазор в
замке кольца во время работы двигателя;
>к> =11·10-6 1/К – коэффициент линейного расширения материала кольца;
>ц> =11·10-6 1/К – коэффициент линейного расширения материала гильзы;
Т>к>=493 К – температура кольца в рабочем состоянии;
Т>ц> =383 К – температура стенок цилиндра;
Т>о>= 293 К – начальная температура.
6.3 Расчет поршневого пальца
Во время работы двигателя поршневой палец подвергается воздействию переменных нагрузок, приводящих к возникновению напряжений изгиба, сдвига, смятия и овализации. В соответствии с указанными условиями работы к материалам, применяемым для изготовления пальцев, предъявляются требования высокой прочности и вязкости. Этим требованиям удовлетворяют цементированные малоуглеродистые и легированные стали
Для расчета принимаем следующие данные:
наружный диаметр пальца d>n>=25 мм,
внутренний диаметр пальца d>b>=16 мм,
длину пальца l>n>=80 мм,
длину втулки шатуна l>ш>=40 мм,
расстояние между торцами бобышек b=44 мм.
Материал поршневого пальца – сталь 15Х, Е=2·105 МПа.
Палец плавающего типа.
Расчет поршневого пальца включает определение удельных давлений пальца на втулку верхней головки шатуна и на бобышки, а также напряжений от изгиба, среза и овализации.
Максимальные напряжения возникают в пальцах дизелей при работе на номинальном режиме.
Расчетная сила, действующая на поршневой палец:
– газовая
МН
(6.26)
где р>zmax>=р>z>=6.356 МПа – максимальное давление газов на номинальном
режиме;
мм2
–
площадь поршня;
– инерционная
МН
(6.27)
где
рад/с
– расчетная
МН
(6.28)
где k =0.82 – коэффициент, учитывающий массу поршневого пальца.
Удельное давление (МПа) пальца на втулку поршневой головки шатуна
МПа
(6.29)
где
м – наружный диаметр пальца;
м
– длина опорной поверхности пальца в
головки шатуна.
Удельное давление пальца на бобышки
МПа
(6.30)
Напряжение изгиба в среднем сечении пальца:
(6.31)
МПа
где =d>в>/d>п>=0.64 – отношение внутреннего диаметра пальца к наружному.
Для автомобильных и тракторных двигателей >из> = 100 250 МПа.
Касательные напряжения среза пальца в сечениях между бобышками и головкой шатуна:
(6.32)
Мпа
Для автомобильных и тракторных двигателей = 60 250 МПа.
Максимальная овализация пальца (наибольшее увеличение горизонтального диаметра ∆ d>nmax>, мм) наблюдается в его средней, наиболее напряженной части:
(6.33)
мм
где Е = 2·105 МПа – модуль упругости материала пальца.
Напряжение овализации на внешней поверхности пальца:
- в горизонтальной плоскости (точки 1, ψ=0º):
(6.34)
МПа
-в вертикальной плоскости (точки 3, ψ=90º):
(6.35)
МПа
Напряжение овализации на внутренней поверхности пальца:
- в горизонтальной плоскости (точки 2, ψ=0º):
(6.36)
МПа;
-в вертикальной плоскости (точки 4, ψ=90º):
(6.37)
МПа.
7. КОНСТРУКТОРСКИЙ РАЗДЕЛ
Конструкторский раздел предназначен для рассмотрения основной задачи данной работы — усовершенствования системы охлаждения двигателя ЗМЗ 406 применяемого на автомобилях ГАЗ 2705, 3221 «ГАЗЕЛЬ» и их модификациях. При этом изменения в двигателе принятые в тепловом расчете, т.е. форсирование двигателя для повышения его тяговых и скоростных характеристик приняты как перспективные и представляющие интерес с практической, а в данном случае еще и с теоретической точки зрения. Принимая данные, полученные в тепловом расчете, и учитывая ,что после форсирования двигателя увеличилась мощность нетто, а следовательно тепловой режим стал более напряженным был проведен расчет системы охлаждения.
7.1 Расчет жидкостной системы охлаждения
Модернизируя систему охлаждения двигателя внутреннего сгорания проведем предварительный её расчет согласно материалу, изложенному в [4]. Однако данный расчет является проверочным и ведётся в первом приближении с тем, чтобы сохранить геометрические, тепловые и иные параметры основных деталей системы охлаждения максимально унифицируя её с существующей конструкцией в случае доработки. При расчете системы охлаждения двигателя исходной величиной является количество отводимого от него в единицу времени тепла Q>ω>> >(ккал/ч). Это количество может быть определено из уравнения теплового баланса, или (ориентировочно) на основании экспериментальных данных. В данной работе используем второй вариант, на основании экспериментальных данных, выбирая коэффициенты и эмпирические данные предполагая наиболее напряженный тепловой режим работы.
В качестве циркулирующей охлаждающей жидкости принимаем этиленгликолевую незамерзающую смесь (антифриз).
Таким образом, количество тепла отводимого от двигателя в единицу времени:
Q>ω>=q>ω>N>eN>=860∙85,0232∙1,36=99443,135 ккал/ч, (7.1)
где q>ω>=860 ккал/(л.с.∙ч)— количество отводимого от двигателя тепла,
для карбюраторных ДВС обычно q>ω>=830…860 ккал/(л.с.∙ч);
N>eN>=85,0232 кВт— наибольшая мощность двигателя.
Находим количество жидкости (кгс/ч), циркулирующей в системе охлаждения в единицу времени,
кгс/ч
(7.2)
где с>ω>=0,5 ккал/(кгс∙°С)— теплоемкость циркулирующей жидкости;
=5
°C—
разность температур входящей в радиатор
и
выходящей из него жидкости.
7.2 Расчет радиатора
Величину поверхности охлаждения радиатора в первом приближении (м2) с достаточной точностью определим по простейшей формуле и сравним с существующей (F>Д>=20 м2):
F>p>=f>pN>N>eN>=0,17∙85,0232∙1,36=19,66 м2 (7.3)
где f>pN>=0,17 м2/л.с.— удельная поверхность охлаждения радиатора, f>pN>=0,1…0,23 м2/л.с. для легковых автомобилей.
Как видно из расчетов F>p>=19,66м2≈ F>Д>=20м2, относительная разность 2%.
Емкость системы охлаждения оставим прежней, т.е. V>ω>=12 л.
Примерное количество проходящего через радиатор воздуха:
G>L>=205∙N>eN>=205∙85,0232∙1,36=22868 кгс/ч. (7.4)
7.3 Водяной насос
Расчетная производительность водяного насоса:
G>в.н.>=G>ω>/η>в.н.>=
/0,85=46796,7694
кгс/ч, (7.5)
где η>в.н.>=0,85— коэффициент, учитывающий возможность прорыва жидкости между крыльчаткой и корпусом насоса.
Необходимая на привод водяного насоса мощность:
кВт
(7.6)
где Н=7 м вод. ст.— создаваемый насосом напор;
η>h>=0,65 — гидравлический КПД;
η>мех>=0,8 — механический КПД водяного насоса.
Учитывая, что параметры рассчитываемого и действительного радиаторов можно принять как равные и принимая существующую емкость системы охлаждения — размеры и форму водяного насоса не рассчитываем.
7.4 Вентилятор
Для выбора из существующей номенклатуры приближенно определим производительность вентилятора по формуле:
G>L>=L>Q>Q>ω>=0,3∙99443,135=29832,9405 кгс/ч, (7.7)
где L>Q>=0,3 кгс/ккал — удельная производительность вентилятора.
7.5 Описание предлагаемых конструктивных изменений
Далее будет предложен и рассмотрен вариант усовершенствования системы охлаждения рассматриваемого в данной работе двигателя ЗМЗ-406 автомобилей ГАЗ 2705, 3221 «ГАЗЕЛЬ». Описание целей и элементов доработки системы охлаждения двигателя ЗМЗ-406 по пунктам приведены ниже. Основные элементы системы и режимы работы приведены на рис. 20…24.
1. Вместо вентилятора и гидронасоса с механическим приводом от клиноременной передачи принимаются к установке вентилятор и гидронасос с электроприводом и возможностью регулировки числа их оборотов в зависимости от температуры в системе охлаждения. Цель: возможность частичной регулировки скорости потока воздуха, возможность регулировки скорости потока охлаждающей жидкости, увеличение мощности брутто двигателя за счет отсутствия затрат мощности на привод вентилятора и водяного насоса. Остальные достоинства таких систем смотреть выше в патентном обзоре.
2. Термостат заменяется термоэлектроклапаном с предохранительной пружиной из никель - титанового или иного аналогичного сплава обладающего «памятью» (см. патентный обзор), которая срабатывает когда электроклапан, по каким либо причинам вышел из строя и настроена на срабатывание при наименьшей и наивысшей предельной температурах. Цель: предотвратить эффект «залипания» термостата. Т.к. при поломке обычный термостат имеет свойство, оставаться в каком либо постоянном (крайнем, либо промежуточном) положении (говорят «залипает»). Кроме того, термоэлектроклапан, вместо классического термостата, позволит более четко и скоординировано организовать работу всех механизмов и приборов системы охлаждения, как между собой, так и с остальными механизмами двигателя посредством ЭБУ, либо бортовой ЭВМ. Магнитное поле создаваемое электроклапаном можно использовать для смягчения воды в случае возникновения ситуации, когда в систему охлаждения приходиться заливать жесткую воду.
3. В магистраль отопителя салона встраивается электромагнитный клапан вместо краника отопителя салона. Цель: более удобный способ включения, выключения отопителя (управление отопителем можно вынести на панель приборов), возможность более качественного автоматического управления прогревом двигателя и салона в зимнее время.
|
Рис. 20 Циркуляция ОЖ ДВС – Радиатор – Отопитель при N>max> (зимний период) 1- ДВС; 2- датчик числа оборотов коленвала; 3- датчик скорости; 4- отопитель салона; 5- электромагнитный клапан системы отопления салона; 6- включатель – регулятор отопителя; 7- электронасос системы отопления (устанавливается только при наличии второго отопителя в автомобилях с двумя рядами пассажирских сидений и автобусах); 8- головка ДВС; 9- электронный блок управления (ЭБУ) или бортовая ЭВМ; 10- датчик температурного состояния ДВС; 11- датчик температуры охлаждающей жидкости; 12- электромагнитный клапан-термостат; 13- радиатор; 14- электровентилятор; 15- датчик температуры охлаждающей жидкости; 16- электропомпа |
ри
работе двигателя 1 (Рис. 20) в ЭБУ 9 (бортовая
ЭВМ) подаются сигналы о его температурном
состоянии, датчик 10, а также о температуре
охлаждающей жидкости (ОЖ), датчики 11,
15, скорости движения автомобиля, датчик
3 (или спидометр), частоте вращения
коленвала, датчик 2, о состоянии отопителя
сигнализирует включатель – регулятор
температуры в салоне 6. В зависимости
от полученных внешних данных, после
обработки, из ЭБУ выходят сигналы
управления на электровентилятор 14,
электропомпу 16, электромагнитные клапаны
12 и 5, электронасос 7 системы отопления
(устанавливается только при наличии
второго отопителя 4 в фургонах с двумя
рядами пассажирских сидений и автобусах).
В зависимости от полученных ЭБУ 9 сигналов
опишем основные режимы работы системы
охлаждения, начиная от пуска двигателя
до его работы при максимальных нагрузках.
1. ОЖ циркулирует по кругу ДВС 1 – Радиатор 13 – Отопитель (ли) 4 Рис. 20, максимальная нагрузка, температура в системе охлаждения t°→max, т.е. ≈90°С., клапаны 5, 12 открыты, помпа 16, вентилятор 14, насос 7 (при наличии) включены на полные обороты.
|
2. ОЖ не циркулирует по ДВС (Рис. 21), например пуск холодного двигателя зимой. Вентилятор 14 (см. Рис. 20), помпа 16, насос 7 — отключены, клапаны 5, 12 — закрыты. |
Р
|
|
3. ОЖ циркулирует по ДВС, t°>ОЖ>≈65…70 °С, рис.22. Вентилятор 14 (см. Рис. 20), насос 7 — отключены, клапаны 5, 12 — закрыты. помпа 16 включена. |
Р |
|
4. Циркуляция ОЖ по магистрали ДВС - отопитель (прогрев автомобиля при пуске двигателя в зимний период) рис. 23. Вентилятор 14 (см. Рис. 20),— отключен, клапан 12 — закрыт. Помпа 16, насос 7 (при наличии) — включены. Клапан 5 — открыт. |
Р |
|
5. Циркуляция ОЖ по магистрали ДВС - радиатор t°≈85…90°С («летний режим») рис. 24. Вентилятор 14 (см. Рис. 20) включается автоматически по потребности, помпа 16—включена, клапан 12 — открыт. Насос 7 (при наличии) — отключён. Клапан 5 — закрыт. |
Р |
Электронасосы 16, 7 и электровентилятор 14 (Рис. 20) имеют возможность изменять частоту вращения. Функциональная схема регулирования частоты вращения вентилятора, насоса системы охлаждения и отопителя приведена на рис. 25. Температура ОЖ воспринимается терморезистором R1, имеющим отрицательный температурный коэффициент; терморезистор одновременно является одним из звеньев мостовой схемы, куда входят также резисторы R2, R3 и R4.
Вследствие этого напряжение на выходе моста обратно пропорционально температуре ОЖ. В противоположное плечо моста включен резистор R4, с помощью которого можно регулировать напряжение на выходе моста в некоторых пределах.

Рис. 25
Частота вращения двигателей постоянного тока 3, 8, вращающих, соответственно, вентилятор 2 и водяной насос 9, зависит от текущих значений температуры ОЖ.
К электродвигателям прикладываются прямоугольные импульсы напряжения. Частота их вращения зависит от силы тока поступающего в якорь. Среднее значение тока, поступающего в якорь, зависит от ширины прямоугольных импульсов и в конечном счете от напряжения на выходе моста. ЭБУ 5 непрерывно сравнивает усиленное напряжение моста с напряжением, вырабатываемым генератором пилообразного сигнала 6, и при их одинаковых значениях переключается, выдавая прямоугольные импульсы, приводящие в действие (посредством усилителя) двигатели постоянного тока.
При увеличении напряжения, снимаемого с моста (снижение температуры ОЖ), ЭБУ подает сигнал позже, ширина вырабатываемого прямоугольного импульса уменьшается и приводной двигатель вращается медленней. При сильном нагреве ОЖ напряжение на выходе моста уменьшается, переключение происходит раньше и ширина импульса увеличивается. Это положение иллюстрируется графиками, приведенными на рис. 26 для двух значений температуры ОЖ.
Как видно из рис. 26, регулятор частоты вращения не работает, если напряжение моста превышает максимальное напряжение, вырабатываемое генератором пилообразного сигнала.
Это означает, что при низкой температуре ОЖ вентилятор не вращается, вследствие чего ДВС сравнительно быстро прогревается до нужной температуры.
Диод 12, рис. 25, предназначен для уменьшения влияния ЭДС самоиндукции на контакты датчика температуры (R1), т.к. в момент разрыва контактов исчезающее электромагнитное поле не только создает высокое напряжение на вторичной обмотке катушки зажигания, необходимое для свечи, но и немалое, до 400 В, напряжение противоиндукции в первичной обмотке. Вот оно-то и «прожигает» контакты датчика R1.

Рис. 26
8. ОХРАНА ТРУДА
Охрана труда в Украине регламентируется законом «Об охране труда», принятым в 1933 году.
Согласно ГОСТ 12.0.002–80. «Система стандартов безопасности труда. Термины и определения». Охрана труда — это система законодательных актов, социально-экономических, организационных, технических, гигиенических и лечебно-профилактических мероприятий и средств, обеспечивающих безопасность, сохранения здоровья и работоспособности человека в процессе труда.
Техника безопасности — это система организационных мероприятий и технических средств, предотвращающих или уменьшающих воздействие на работающих опасных производственных факторов.
Опасный производственный фактор — это производственный фактор, воздействие которого на работающего в определенных условиях приводит к травме или внезапному резкому ухудшению здоровья.
Вредный производственный фактор — это производственный фактор, воздействие которого на работающего в определенных условиях приводит к заболеванию или снижению работоспособности.
В соответствии с ГОСТ 12.0.003–74. опасные и вредные производственные факторы по природе их воздействия на организм человека подразделяют на четыре группы:
1) физические — движущиеся детали, элементы механизмов и машины в целом; недопустимая температура поверхностей машин и оборудования и воздуха в рабочей зоне; недопустимый уровень вибрации, производственных излучений (ионизирующих, лазерных, инфракрасных, ультрафиолетовых), электромагнитных полей; метеорологических колебаний в рабочей зоне; недостаточная или повышенная освещенность рабочей зоны;
2) химические — токсические, раздражающие, сенсибилизирующие, канцерогенные, мутагенные, влияющие на репродуктивную функцию;
3) биологические — микро- и макроорганизмы;
4) психофизиологические — физические нагрузки (статические, динамические, гиподинамия); нервно-психические перегрузки (умственные, эмоциональные, монотонность труда, перенапряжение анализаторов).
8.1 Меры безопасности при эксплуатации автомобиля.
8.1.1 Подготовка автомобиля к выезду на линию.
Автомобиль (автопоезд) перед выпуском на линию проходит проверку технического состоянии. Лицо, ответственное за выпуск автомобилей, после проверки их технического состояния делает отметку в путевом листе о готовности автомобиля к работе. Категорически запрещается выпуск на линию автомобилей с неисправностями, угрожающими безопасности движения и сохранности пассажиров и груза, а также грязного, без номеров и без опознавательных знаков автопоезда.
Водитель перед выездом на пинию должен иметь при себе: удостоверение на право управления автомобилем, выданное Государственной автомобильной инспекцией, талон технического паспорта, путевой или маршрутный лист. Перед выездом на линию, водитель проверяет техническую исправность автомобиля: отсутствие подтекания топлива, масла, воды, а у газобаллонных автомобилей герметичность газовой аппаратуры и магистралей; при этом особое внимание oн обращает на органы управления и механизмы, обеспечивающие безопасность движения — тормоза, рулевое управление, шины, фары, задний фонарь, стоп-сигнал, указатели поворотов, звуковой сигнал, крепление карданного вала. Кроме того, перед выездом водитель проверяет: давление воздуха в шинах и соответствие его нормам; наличие инструментов и инвентаря; заправку автомобиля топливом, маслом, водой и тормозной жидкостью; уровень электролита в аккумуляторной батарее.
В случае перевозки опасных грузов администрация грузоотправитель обязана до перевозки этих грузов каждый раз инструктировать водителя, экспедитора, грузчиков и других лиц, сопровождающих груз, и проверять наличие защитных средств и средств тушения пожара.
До направления водителя пассажирского транспорта на новый маршрут с ним проводится инструктаж о характере маршрута, и он должен быть направлен и специальный рейс для ознакомления с маршрутом.
До выезда в рейс водителю предоставляется отдых, предусмотренный законодательством. Водителю запрещается выезжать в рейс в болезненном состоянии или при такой степени утомления, которая может повлиять на безопасность движения.
8.1.2 Работа автомобиля на линии.
При работе на линии водителю категорически запрещается управлять автомобилем в состоянии даже самого легкого алкогольного опьянения или под воздействием наркотических средств; передавать управление автомобилем лицам, находящимся в нетрезвом состоянии, либо не указанным в путевом листе, или не имеющим при себе удостоверения на право управления автомобилем; самовольно отклоняться от маршрута, указанного в путевом листе, если это не вызывается ухудшением дорожных или климатических условий.
Во время работы водитель обязан выполнять правила безопасности движения, указания регулировщиков уличного движения; поддерживать скорость в соответствии с требованиями Правил дорожного движения с учетом состояния дороги, но не выше максимальной скорости, установленной технической характеристикой для данной модели автомобиля; наблюдать за показаниями контрольных приборов автомобиля, и правильностью работы всех механизмов.
Особые правила водитель должен соблюдать при перевозке людей. Перевозка пассажиров на грузовых автомобилях может осуществляться только при соблюдении следующих требований: в кузове автомобиля должен находиться старший, отвечающий за поведение пассажиров, и фамилия его записывается, в путевом листе; скорость движения автомобиля не должна превышать 60 км/ч. Регулярная перевозка людей на грузовом бортовом автомобиле, кузов которого не оборудован тентом, не разрешается. Перевозка детей на грузовых автомобилях может быть допущена как исключение, но с детьми в кузове должны находиться не менее двух взрослых. На грузовых автомобилях, не приспособленных для перевозки пассажиров, разрешается проезд лицам сопровождающим или получающим грузы, но не более шести человек, фамилии их указываются в путевом листе. Однако такой проезд запрещается на платформах без бортов, на грузе, размещенном на уровне или выше бортов кузова, на длинномерном грузе и рядом с ним, на цистернах, грузовых прицепах или полуприцепах всех типов.
В кабине, кузове и салоне автомобиля не разрешается нахождение большего числа людей, чем это указано в паспорте завода-изготовителя.
Категорически запрещается перевозка людей в кузове автомобиля-самосвала даже на самое короткое расстояние. Лица, сопровождающие эти автомобили, должны находиться только в кабине водителя.
В кузове автомобиля не разрешается перевозить лиц, не имеющих отношения к выполняемой работе. В путевом листе должны быть записаны фамилии и должности людей, направляемых с автомобилем на линию.
Лица, находящиеся на автомобиле, должны выполнять все требования водителя по соблюдению правил техники безопасности.
Движение автомобиля при нахождении людей на подножках, крыльях, буферах, бортах запрещается.
Ели во время работы на линии водитель или лица, сопровождающие автомобиль, находятся в условиях, опасных для жизни и здоровья (например, отсутствие механизации при погрузке тяжеловесных грузов, несоответствие автомобиля перевозимому грузу, невозможность оставления безопасных мест для грузчиков при погрузке, несоответствие погрузочно-разгрузочных площадок и подъездных путей установленным правилам и т, п.), водитель обязан немедленно остановить работу и сообщить в свое автотранспортное предприятие, а также сделать отметку о своем заявлении в путевом листе. Если сообщить в свое автотранспортное предприятие не представляется возможным, то водитель обязан поставить в известность администрацию того предприятия, в распоряжении которого находится автомобиль, и может продолжать работу только после устранения опасности. Из кабины автомобиля на проезжую часть дороги водитель может выходить, только предварительно убедившись в отсутствии движения во встречном и в попутном направлениях.
Если во время работы на линии в автомобиле обнаружится неисправности, угрожающая безопасности движения и сохранности людей, автомобиля и груза, водитель обязан принять необходимые меры к устранению неисправности, а если это невозможно, должен следовать на ближайшую ремонтную базу или возвратиться в гараж с соблюдением необходимых мер предосторожности.
8.2 Требования к рабочему месту водителя.
Работа по управлению автомобилем может быть отнесена к разряду, наиболее напряженных и утомительных форм трудовой деятельности. Эта работа протекает в условиях постоянного и значительного нервноэмоционального напряжения, углубляемого сознанием огромной ответственности за жизнь людей и материальные ценности. Быстрота реакции и точность рабочих движений водителя современного автомобилля являются важнейшими факторами обеспечения безопасности движения. Эти качества в большой степени зависят от удобства рабочего места водителя, которое должно создавать благоприятные условия труда и исключать возможность возникновения аварий, вызываемых перенапряжением при работе водителя.
Большое влияние на работу водителя оказывает правильная его посадка, которая определяется как «спокойное положение в состоянии готовности». Плоскость сиденья должна быть не горизонтальной, а слегка наклоненной назад (3–7° к горизонтальной плоскости). Спинка сиденья не должна быть фиксирована, сиденье должно регулироваться по высоте и в горизонтальном направлении. Обивка сиденья должна быть достаточно жесткой и шероховатой.
Рычаги управления автомобилем, перемещающиеся в горизонтальной плоскости к водителю и от него, должны быть рационально расположены на 230 мм выше сиденья, причем они должны быть удалены от спинки сиденья в первом случае на 560 мм, а во втором – на 600 мм. Сила сопротивления рычага должна составлять около 10 кгс, т. е. 20–25% максимальной (45 кгс). Оптимальный ход педалей при нажатии передней части пятки и середины стопы 100–150 мм. При компоновке рычагов управления должно быть соблюдено условие, чтобы основные рычаги располагались перед водителем с справа, а вспомогательные – с левой стороны. Всю компоновку рабочего места водителя выполняют так, чтобы водитель не находился длительное время в вынужденной неудобной позе.
Конструкция и внутренние размеры кабины должны обеспечивать водителю свободный вход в зимней одежде, нестесненное положение на сиденье, удобное действие рычагами и педалями.
С рабочего места водителя должна быть обеспечена максимальная обзорность. Под обзорностью автомобиля подразумевается одно из его конструктивных свойств, определяющее объективную возможность для водителя видеть рабочую зону, путь движения и объекты, которые могут помешать безопасному его движению. Обзорность рабочей зоны характеризуется величиной хорошо видимого водителем пространства в вертикальной и горизонтальной плоскостях. Водителю должны быть созданы такие условия, при которых он мог бы наблюдать путь движения и объекты, не совершая при этом излишне сложных движений. В противном случае работа водителя сопровождается дополнительным мышечным и нервным напряжением, вызывающим повышенную утомляемость.
Для обеспечения здоровых условий труда водителя большое значение имеет состояние воздушной среды в кабине автомобиля (микроклимат). Микроклимат — это физическое состояние воздушной среды в ограниченном пространстве, характеризуемое атмосферным давлением, температурой, влажностью и скоростью движения воздуха. Температура воздуха в кабине водителя определяется температурой наружного воздуха и тепловыделениями двигателя, если он расположен в передней части автомобиля. Температура, должна быть в пределах от +15 до +17°С.
Соотношение температуры, влажности и скорости движения воздуха в кабине автомобиля могут создавать различные зоны удобства работы водителя. Так, зона полного удобства при температуре воздуха 19–22°С и при влажности воздуха 50% достигается при скорости движения воздуха 0,15 м/с.
Скорость воздуха в кабине в теплое время года допускается от 1 до 2 м/с, а в холодное время — не свыше 0,5 м/с. Поступающий в кабину воздух должен быть очищен от пыли.
Теплоизоляция и отопление кабины в соответствии со СНиП II-Г. 7–62 должны обеспечивать при работе в холодное время года температуру в кабине от +14 до +16°С.
Вентиляционная система кабины должна обеспечить воздухообмен в холодное время года не менее 40 м3/ч.
Воздухообмен при температуре наружного воздуха до 28°С должен обеспечить температуру воздуха в кабине не выше чем на 2–3°С по сравнению с температурой наружного воздуха.
Концентрация вредно действующих веществ, содержащихся в отработавших газах, в зоне дыхания не должна превышать предельно допустимого уровня: окиси углерода – 20 мг/м3, акролеина – 0,7, тетра-этилсвинца – 0,05, углеводородов (в пересчете на углерод) – 300 мг/м3.
Предельно допустимый уровень шума в кабине автомобиля и вибрация на рабочем месте водителя не должны превышать значений действующих санитарных норм и правил (СН245–71). С целью снижения шума в кабине автомобиля тщательно подгоняют соприкасающиеся части кабины, обивают кабину звукопоглощающим материалом.
Сиденье водителя является хорошим амортизатором вибраций, но радикальными мерами снижения отрицательного воздействия на водителя вибрации является устранение колебаний деталей кузова при длительной эксплуатации автомобиля и устранение возможности вибраций основных узлов автомобиля при его конструировании.
Кабины транспортных средств, предназначенных для работы в южных районах, должны быть окрашены светлыми красками. Световые проемы кабин изготовляют из небьющегося и безосколочного, но прозрачного материала.
В транспортных средствах, предназначенных для эксплуатации в условиях Cевера, стекла кабин необходимо обдувать теплым воздухом или делать двойное остекление и между стеклами помещать влагопоглотитель (силикагель). Внутри кабины устраивают отопитель кабины типа 0-30, работающий независимо от двигателя.
8.3 Виброизоляция сиденья самоходной машины.
Пассивная виброизоляция (виброзащита) – это виброизоляция, не использующая энергию дополнительного источника.
Сиденья в самоходных строительно-дорожных машинах, грузовых автомобилях и тракторах должны обеспечивать санитарно-гигиенические условия для длительной работы водителей. Сиденье должно смягчать толчки и удары и часть вибраций, превышающую гигиенические характеристики и нормы вибрации по ГОСТ 12.1.012-78*.
Учитывая, что утомляемость оператора во многом зависит от положения его во время работы, исследованиями установлено, что сидение должно быть регулируемым, мягким и подрессоренным. Горизонтальное, продольное перемещение должно быть не менее 150 мм, вертикальное не менее 80 мм, вертикальное перемещение спинки не менее 60 мм, а угол ее наклона не менее 10˚.
Типовая схема подрессоривания сиденья водителя (рис.4) состоит из следующих элементов: направляющего механизма 1, состоящего из параллелограмных рычагов и обеспечивающих стабильность вертикального положения корпуса водителя при колебании машины. Направляющий механизм, соединяющий посадочное место водителя с рамой ходовой части машины, выполняет роль кинематической и силовой связи; пружины 3, снижающей амплитуду колебаний сиденья от колебаний машины при передвижении по неровностям дороги; регулировочного винта 4 для изменения жесткости пружины в зависимости от массы тела водителя; гидроамортизатора 2, поглощающего колебания сиденья при передвижении машины по неровностям дороги.
Схема гидроамортизатора показана на рис.27. При переезде препятствий на неровностях пути возникают резкие колебания рамы ходовой части, в результате чего сопротивление гидроамортизатора возрастает. Это сопротивление вызвано тем, что жидкость в нем не успевает проходить через отверстия 1 в поршне 2. В результате возникающего гидравлического торможения колебания сиденья гасятся.

Рис.27 Схема гидроамортизатора.
8.4 Устойчивость легкового автомобиля.
Исходные данные для расчета:
Легковой автомобиль ЗАЗ – 1102: G>a>=5770 Н; a= 1390мм; b=930 мм; h>G>=464 мм; L=2320 мм.
8.4.1 Расчет на продольную устойчивость.
Продольная устойчивость автомобиля без прицепа обеспечивается тогда, когда подъем или уклон его (рис.1) не превышает предельного угла α, при которых заторможенный автомобиль не опрокинется. При подъеме он может опрокинуться вокруг точки 0. В этом случае возникает опрокидывающий момент силы тяжести М=Gsinα>n>b. Машина будет находиться в состоянии устойчивости в том случае, пока удерживающий момент силы тяжести М=Gcosα>n>b будет больше опрокидывающего момента, т.е.
Gsinα>n>h>G> ≤ G>a>cosα>n>b,
где G>a> – вес машины с грузом, Н;
h>G>– высота центра тяжести, м;
a,b – соответственно расстояние от передней и задней оси до вертикали, проходящей через центр тяжести, м;
α>n>– угол подъема, град.
На подъеме автомашина будет находиться в состоянии устойчивости, если соблюдается условие:
tgα>n> = b/h>G> = 930/464 =4,766; α>n> =63º30′.
На уклоне, аналогично предыдущей зависимости, имеем:
tgα>n> = b/h>G> =1390 /464 = 2,9957; α>n> =71º35′.
Расчетные углы, обеспечивающие устойчивость, будут значительно меньшими, если при спуске автомобиля водитель резко тормозит, а при подъеме делает резкий рывок с места.
В действительности автомобили крайне редко опрокидываются; чаще у них буксуют ведущие колеса, в результате чего машины сползают. В этом случае предельный угол автомобиля, при котором исключается буксование колес:

α>бук>=31º40′
где φ>x>– коэффициент сцепления шин автомобиля;
L – база автомобиля;
8.4.2 Расчет на поперечную устойчивость.
Часто нарушение устойчивости проявляется в боковом скольжении колес или опрокидываний автомобиля в плоскости, перпендикулярной продольной оси. Возмущающими силами могут быть: составляющая силы инерции, поперечная составляющая силы тяжести G>a>sinβ, возникающая в результате поперечного наклона дороги на угол β, аэродинамическая сила.
Поперечная устойчивость автомобиля характеризуется предельным углом (рис. 2) при движении машины поперек уклона:

Во избежание аварий при движении автомобилей по кривой необходимо выдерживать следующие радиусы поворота:
1) по условию, при которых возникает боковое скольжение колес:

где R>min>> >– минимальный радиус поворота по кривой, м;
V>a>– скорость движения автомобиля, км/ч;
g– ускорение силы тяжести, м/с2;
β– угол бокового наклона дороги, град.
Если движение происходит на горизонтальной дороге, то β=0, тогда минимальный радиус поворота находится:

2). по условию, при которых происходит боковое опрокидывание:

На горизонтальной дороге при β=0:

Если рассматривать круговое движение на горизонтальной дороге и учитывать смещение центра масс только в результате крена подрессоренной массы, не учитывая поперечного наклона за счет радиальных деформаций шин, то смещение центра масс автомобиля, вызванное креном подрессоренной массы, несколько отличается от смещения центра подрессоренной массы. Согласно нормативным требованиям, ψ>кр >>max><6º. C учетом крена подрессоренной массы получим:
8.5 Противопожарная безопасность.
Пожары и взрывы причиняют значительный материальный ущерб и в ряде случаев вызывают тяжелые травмы и гибель людей. Поэтому защита зданий, сооружений и других материальных ценностей от пожаров является обязанностью всех граждан и проводится в общегосударственном масштабе. Мероприятия по предупреждению возникновения и ограничению размеров пожаров, называемые пожарной профилактикой, являются составной частью мероприятий по охране труда, так как их главная цель – предупреждение несчастных случаев с людьми.
Пожарная безопасность (согласно ГОСТ 12.1.004–76 «Пожарная безопасность») – это такое состояние объекта, при котором исключается возможность пожара, а в случае возникновения предотвращается его опасное воздействие на людей и обеспечивается защита материальных ценностей.
Пожарная безопасность обеспечивается системами предотвращения пожара и пожарной защитой. Под системой предотвращения пожара имеется в виду комплекс организационных мероприятий и технических средств, направленных на исключение возможности возникновения пожара. Под системой пожарной защиты понимают комплекс организационных мероприятий и технических средств, направленных на предотвращение воздействия на людей опасных факторов пожара и ограничение материального ущерба от него.
Пожарная защита обеспечивается: ограниченным применением горючих и трудногорючих веществ и материалов; предотвращением распространения пожара с использованием средств его тушения, строительных конструкций с необходимыми пределами огнестойкости и горючести; эвакуацией людей; системой противодымной защиты; средствами пожарной сигнализацией или извещением о пожаре, а также организацией пожарной охраны объекта.
При эксплуатации строительных машин пожары в большинстве случаев возникают по следующим причинам: у строительных машин с электроприводом – из-за перегрузки электродвигателей, электрооборудования, электропроводов и электросетей, в результате чего они нагреваются свыше допустимых норм или искрят; у машин с двигателями внутреннего сгорания – из-за воспламенения оставшейся внутри двигателя горючей смеси; неправильного расположения баков с горюче-смазочными материалами, масло- и топливопроводов по отношению к трубопроводу выхлопных газов и глушителю; применение открытого огня для запуска двигателей при низких температурах; самовоспламенение разлитых масел и горючего под картером двигателя; отсутствие искрогасителей на выпускных трубах; курение при заправке машин топливом.
Для быстрого прекращения горения при пожарах необходимо выполнять два основных условия: прекратить доступ воздуха (кислорода) в зону горения, так как горение возможно при содержании кислорода в воздухе не менее 14% (всего в воздухе содержится до 21% кислорода); охладить зону горения ниже температуры самовоспламенения, тогда процесс горения прекращается даже при наличии достаточного доступа воздуха.
Вещества, введенные в зону горения и нарушающие процесс горения, называют огнетушащими. К ним относятся вода, водяной пар, химические средства тушения, песок. Воздействие этих веществ на процесс горения зависит от физико-химических свойств и способов применения.
СПИСОК ЛИТЕРАТУРЫ
Расчет автомобильных и тракторных двигателей: Учеб. пособие для вузов./А.И. Колчин, В.П. Демидов – 3-е изд. перераб. и доп. – М.: Высш. шк., 2003. – 496 с.: ил.
Двигатели внутреннего сгорания: Теория поршневых и комбинированных двигателей. Учебник для втузов по специальности "Двигатели внутреннего сгорания"/ Д.Н. Вырубов, Н.А. Иващенко, В.И. Ивин и др.; Под ред. А.С. Орлина, М.Г. Круглова. – 4-е изд., перераб. и доп. – М.: Машиностроение, 1983. – 372 с., ил.
Автомобильные двигатели/Под ред. М.С. Ховаха. М.: Машиностроение, 1977. 951 с.
Автомобильные и тракторные двигатели. Под ред. И.М. Ленина. Учебник для втузов. Изд. 2-е, доп. и перераб. М., «Высш. школа», 1976.
5. Положение о техническом обслуживании и текущем ремонте подвижного состава автомобильного транспорта /министерство автомобильного транспорта РСФСР/-М.: транспорт 1988.-78 с.
6. Положення про технічне обслуговування і ремонт дорожніх транспортних засобів автомобільного транспорту / Міністерство транспорту України / - К.: Мінтранс України, 1998 – 16 с.
7. Данов Б.А., Титов Е.И. Электронное оборудование иностранных автомобилей. Системы управления трансмиссией, подвеской и тормозной системой. М.: Транспорт, 1998. 78 с.
8. Данов Б.А., Титов Е.И. Электронное оборудование иностранных автомобилей. Системы управления оборудованием салона. М.: Транспорт, 1998. 60 с.
9. Данов Б.А., Титов Е.И. Электронное оборудование иностранных автомобилей. Системы управления двигателем. М.: Транспорт, 1998. 76 с.
10. Канарчук В.Е. та ін. Основи технічного обслуговування і ремонту автомобілів. УЗ км. /Підручник/. – К.: Вища школа, 1994с.
11. Краткий автомобильный справочник. 8-е издание-М.: Транспорт, 1978. Ланцберг И.Д., Соколин Л.З., Каманин В.Н. Ремонт электрооборудования автомобилей. М.: Транспорт, 1981. 317 с.
12. Соснин Д.А. Автотроника – электрооборудование и системы бортовой автоматики современных легковых автомобилей.-М.: Солон, 2001.-239с.
13. Сергеев А.Г., Ютт В.Е. Диагностирование электрооборудования автомобилей. М.: Транспорт, 1987. 159 с.
14. Технологическое оборудование для технического обслуживания и ремонта легковых автомобилей: /Справочник/ .- М.: Транспорт, 1988.-176с.
15. Тимофеев Ю.Л., Ильин Н.М. Электрооборудование автомобилей: Устранение и предупреждение неисправностей. М.:Транспорт, 1987. 255 с.
16. Харазов А.М. Диагностическое обеспечение технического обслуживания и ремонта автомобилей. М. :Высшая школа. 1990. 213 с.
17. Электрооборудование автомобилей. Под редакцией проф. Чижкова Ю.П. М.: Транспорт, 1993. 224 с.

,
мм
,
МПа










ис.
21 Работа ДВС без циркуляции ОЖ
ис.
22 Циркуляция ОЖ по ДВС
ис.
23 Циркуляция ОЖ по магистрали ДВС -
отопитель
ис.
24