Закони збереження та динаміка обертального руху
Лекції з навчальної дисципліни
физика
Зміст
Тема 1. Закони збереження
Організаційно-методичні вказівки до проведення лекції
Вступ
Закон збереження імпульсу
Робота сили. потужність
Кінетична енергія. потенціальна енергія, закон збереження механічної енергії
Елементи кінематики обертового руху
Висновки
Тема 2. Динаміка обертального руху
Організаційно-методичні вказівки до проведення лекції
Вступ
Момент сили. кінетична енергія обертового тіла
Момент інерції. рівняння динаміки обертового руху
Момент імпульсу. закон збереження моменту імпульсу
Поняття про гіроскопічний ефект
Висновки
Навчальна література
Тема 1. Закони збереження
Навчальний потік інженери
Час 2 години
Місце 235 кл
Навчальна та виховна мета
_________________________________________
__________________________________________________________
Навчальні питання і розподіл часу
Вступ_____________________________________ -… хвил.
1. Закон збереження імпульсу. -… хвил.
Робота сили. Потужність. -… хвил.
Потенціальна енергія. Кінетична енергія. Закон
Збереження механічної енергії. -… хвил.
4. Елементи кінематики обертального руху. -… хвил.
Висновки та відповіді на питання -… хвил.
Навчально-матеріальне забезпечення
Маятник Обербека.
Лектор -2000.
Кінофільм: “Законы сохранения в механике”
Організаційно-методичні вказівки до проведення лекції
Перевіряється наявність курсантів та оголошується тема, мета та питання, що вивчаються, дається література.
Розглянути систему взаємодіючих тіл, користуючись кадрами "Лектора-2000"; сформулювати закон збереження імпульса. Пояснити, що робота характеризує дію сили, пов’язану з переміщенням тіл, розглянути роботу змінної сили.
Визначити кінетичну, потенціальну енергії та сформулювати закон збереження механічної енергії.
Записати кінетичні рівняння обертального руху, пояснити його за допомогою маятника Обербека.
Вступ
Закон збереження імпульса - один із основних законів природи. Справедливість його підтверджується всією сукупністю фізичних знань.
Закон збереження імпульса - пов’язаний з законом Ньютона.
Цей закон справедливий не тільки для тіл (частинок речовини), а й для випромінювання. Робота сили при переміщенні тіла у відсутності сили тертя, дорівнює приросту кінетичної енергії та спаду його потенціальної енергії.
Згідно Ньютонівської механіки повна механічна енергія замкнутої консервативної системи зберігається.
Закон збереження імпульсу
Розглянемо систему взаємодіючих тіл (рис.1).

Рис.1
На
рис.1 сили
- внутрішні сили взаємодії тіл системи,
а F>1>,
F>2>,
F>3>
- зовнішні сили, діючі на тіла системи.
Запишемо для кожного із трьох тіл системи
другий закон Ньютона:
,
(1),

Складемо всі три рівняння. З третього закону витікає, що сума всіх внутрішніх сил дорівнює нулю. Тоді одержимо:
,
де
- імпульс всієї системи.
Якщо
зовнішні сили відсутні або їх геометрична
сума рівна нулю, то
,
а це означає, що p = const.
Таким чином, повний імпульс замкненої системи залишається сталим. Це і є закон збереження імпульсу, який являється одним із фундаментальних законів природи.
Робота сили. потужність
Часто можна спостерігати такі дії сил, при яких тіло переміщується, але кількість руху, його не змінюється. Тому необхідно ввести фізичну величину для характеристики тої дії сил, яка визиває переміщення тіл. Такою величиною є робота.
Хай тіло М під дією или F переміщується по відрізку шляху S=BC (рис.2).

Рис.2
Тоді
робота буде дорівнювати добутку проекції
сили F на
дотичну до траєкторії (тангенціальної
складової
на величину пройденого шляху S.
(3)
Формула
(3) справедлива, якщо
.
Якщо ж величина тангенціальної складової
являється функцією шляху (рис.3), то для
обчислення роботи розбивають на такі
малі елементарні ділянки
,
щоб величину сили
на кожній з них можна було вважати
постійною і знаходять на кожній ділянці
роботу
.

Рис.3
Повна робота буде на всьому шляху приблизно дорівнювати сумі елементарних на всіх ділянках
(4)
Повна робота буде обчислена тим точніше, чим на більш малі ділянки буде розбитий шлях. В результаті, коли шлях розбивається на нескінченно малі ділянки, повна робота буде дорівнювати сумі нескінчено малих величин в вищій математиці обчислюється шлях інтегрування.
Отже, маємо:
(5)
Тут dS - нескінчено мале переміщення, F - сила, діюча на тіло на цьому переміщенні, - кут між силою і переміщенням.
В
математиці вираз FdS cos
називається скалярним добутком вектора
і
позначається
.
Тому повний вираз можна записати так:
(6)
З
рис.3 видно, що елементарна робота
чисельно дорівнює площі заштрихованої
ділянки, а повна робота - площі фігури,
обмеженої кривої
,
віссю і ординатами початку та кінця
шляху.
В системі СІ робота вимірюється в джоулях. Робота в один джоуль здійснюється силою в 1К на шляху в 1 м.
Розмірність роботи в системі СІ рівна:
(7)
Отже, робота виконується силами взаємодії в процесі переміщення тіл.
Потужністю називається фізична величина, яка дорівнює відношенню роботи до проміжку часу, за який вона здійснюється.

В випадку змінної потужності вводиться поняття миттєвої потужності.
,
.
Кінетична енергія. потенціальна енергія, закон збереження механічної енергії
Кінетичною енергією називається енергія механічного руху любого тіла: вимірюється вона тою роботою, яку могло б здійснити тіло при його гальмуванні до повної зупинки, при тій роботі, яку потрібно здійснити, щоб надати тілу дану швидкість.
Нехай тіло 1 (матеріальна точка) масою m, яка рухається зі швидкістю, починає взаємодіяти з тілом 2 і, в результаті цього, гальмується.
При цьому швидкість його зменшується, а значить на тіло діє сила, яка по другому закону Ньютона дорівнює:
.
Якщо за нескінченно малий час dt тіло 1 переміщується на нескінченно малий відрізок dS, то воно здійснює над тілом 2 нескінченно малу роботу, рівну
,
Але
.
Тому маємо:
.
Повна робота на кінцевій ділянці шляху знаходиться шляхом інтегрування:
.
Таким чином, кінетична енергія рухомого тіла рівна:
.
Таким чином, кінетична енергія тіл визначається тільки їх масами і швидкостями.
Потенціальна енергія. Якщо в системі тіл діють тільки сили тяжіння, пружні сили і сили електростатичного поля, то при наявності переміщення тіл ці сили виконують роботу. Очевидно, що при переміщенні тіл змінюється їх взаємне положення (конфігурація системи). А це означає, що система взаємодіючих тіл має запас енергії, яку вона може витратити при зміні своєї конфігурації. Цей запас енергії, який обумовлений конфігурацією тіл системи, називається потенціальною енергією системи. Знайдемо потенціальну енергію матеріальної точки m в полі тяжіння матеріальної точки М. Для цього обчислимо роботу проти сил тяжіння. При піднятті на невелику висоту h (h<<R - радіуса Землі) вага тіла p = mq можна вважати сталою. Тоді маємо:
.
Таким чином тіло масою m на висоті h над поверхнею Землі має потенціальну енергію:
.
Не важко обчислити потенціальну енергію деформованої пружини. Сила пружності
.
Сила,
що стискає пружину протилежна силі
пружності
.
Роботу цієї змінної сили на шляху x знайдемо шляхом інтегрування:
.
Таким чином, стиснена пружина або розтягнута має запас потенціальної енергії:
.
(8)
Дослід показує, що якщо в замкненій системі не відбувається перетворення механічної енергії в інші види енергії, то загальна кількість механічної енергії системи залишається сталою
(9)
В цьому полягає закон збереження енергії, який формулюється ще так: енергія в замкненій системі може перетворюватись із одного виду в другі, але повна її величина залишається сталою.
Робота являється мірою передачі руху від одного тіло до другого, а енергія є єдина кількісна міра різних форм руху матерії. Рух матерії тільки перетворюється з одної форми в іншу і ніколи не зникає.
В фізиці механічна система, при русі якої сума кінетичної та потенціальної енергії залишається сталою, називається консервативною системою. В земних умовах консервативними можна приблизно вважати ті системи, в яких можна знехтувати силами тертя.
Відмітимо, що системи, в яких повна механічна енергія при русі безперервно зменшується (розсіюється), переходить в другі, немеханічні, форми енергії називаються диссипативними (або неконсервативними) системами.
Всі реальні системи в земних умовах являються диссициативними. Закон збереження енергії справедливий і для диссипативних систем, якщо під певною енергією розуміють суму всіх видів енергій системи.
Відмітимо, що закон збереження енергії не справедливий для інерціальних систем, поскільки сили інерції всюду проявляються як зовнішні сили.
Елементи кінематики обертового руху
Абсолютно твердим тілом називається таке тіло, віддаль між любими двома точками якого залишається постійна незалежно від наявності або відсутності сил, діючих на тіло. Такі тіла надалі будуть називатися просто твердими.
Найбільш просто задачі механіки розв’язуються для матеріальних точок. Тому в цих випадках, коли не можна знехтувати формою та розмірами тіла, його в думці розбивають на невеликі елементи так, щоб кожний елемент можна було розглядати як матеріальну точку.
Таким чином, задача про рух твердого тіла зводиться до задачі про рух великого числа матеріальних точок (системи матеріальних точок).
Обертовим рухом твердого тіла називають такий рух при якому траєкторії всіх точок тіла являються колами, центри яких лежать на одній прямій, що називається віссю обертання.
Кінетично обертовий рух записується наступним співвідношенням:


,
(10)
де - кутова швидкість.
Кутова швидкість - це вектор, напрямлений вздовж стін обертання в ту сторону, в яку рухався б буравчик, ручка якого обертається в напрямку руху точки по колу.
Якщо = const, то обертання рівномірне

кутове прискорення
(11)
зв’язок між лінійною і кутовою швидкістю
(12)
зв’язок між лінійним (точніше, тангенціальним) прискоренням і кутовим прискоренням:
(13)
Проінтегрувавши вирази (10) і (11), одержимо слідуючі формули:
(14)
(15)
(16)
Висновки
Для замкнутої системи геометрична сума імпульсів тіл під час будь-яких взаємодій залишається сталою.
Робота характеризує дію сили, пов’язану з переміщенням тіла.
Якщо на тіло діє кілька сил загальна робота дорівнює алгебраїчній сумі робіт, що виконується кожною силою. Робота в різних інерціальних системах відліку різна, бо різне переміщення.
Потужність характеризує швидкість виконання роботи.
Енергія характеризує механічний стан тіла (системи тіл).
Кінетична енергія характеризує стан руху тіла.
Потенціальна енергія характеризує взаємодію тіл або частинок і залежить від їх взаємного розміщення.
Для будь-якої системи тіл, у якій діють тільки внутрішні потенціальні сили, механічна енергія системи залишається сталою.
Для замкнутої системи геометрична сума імпульсів тіл під час будь-яких взаємодій залишається сталою.
Тема 2. Динаміка обертального руху
Навчальний потік інженери
Час 2 години
Місце 235 кл
Навчальна та виховна мета
_________________________________________
_____________________________________________________________
Навчальні питання і розподіл часу
Вступ_____________________________________ -… хвил.
Момент сили. Кінетична енергія обертального
руху тіла. -… хвил.
Момент інерції. Рівняння динаміки обертального
Руху. -… хвил.
Момент імпульса. Закон збереження моменту
імпульса. -… хвил.
4. Поняття про гіроскопічний ефект. -… хвил.
Висновки та відповіді на питання -… хвил.
Навчально-матеріальне забезпечення
Гіроскоп.
Лектор -2000.
Організаційно-методичні вказівки до проведення лекції
Перевіряється наявність курсантів та оголошується тема, мета та питання, що вивчаються, дається література.
За допомогою "Лектора-2000" пояснити та визначити формулу кінетичної енергії обертального руху твердого тіла.
Пояснити, що в обертальному русі твердого тіла мірою його інертних властивостей є момент інерції. Визначити рівняння динаміки обертального руху, пояснити за допомогою "Лектора-2000" та сформулювати закон збереження імпульсу.
Гіроскопічний ефект пояснити за допомогою гіроскопу та "Лектора-2000". Звернути увагу на його застосування.
Вступ
При порівнянні законів обертального та поступального рухів спостерігається аналогія між ними, тільки в обертальному русі замість сили виступає її момент, роль маси відіграє момент інерції. В рівняння динаміки обертального руху твердого тіла відносно нерухомої осі входить його кутове прискорення. При обертальному русі аналогом імпульсу являється момент імпульсу.
Закони збереження моменту імпульсу - фундаментальний закон природи. Він пов’язаний з певною властивістю симетрії простору - його ізотропністю, тобто з інваріантністю фізичних законів відносно вибору напрямку осей координат системи відліку.
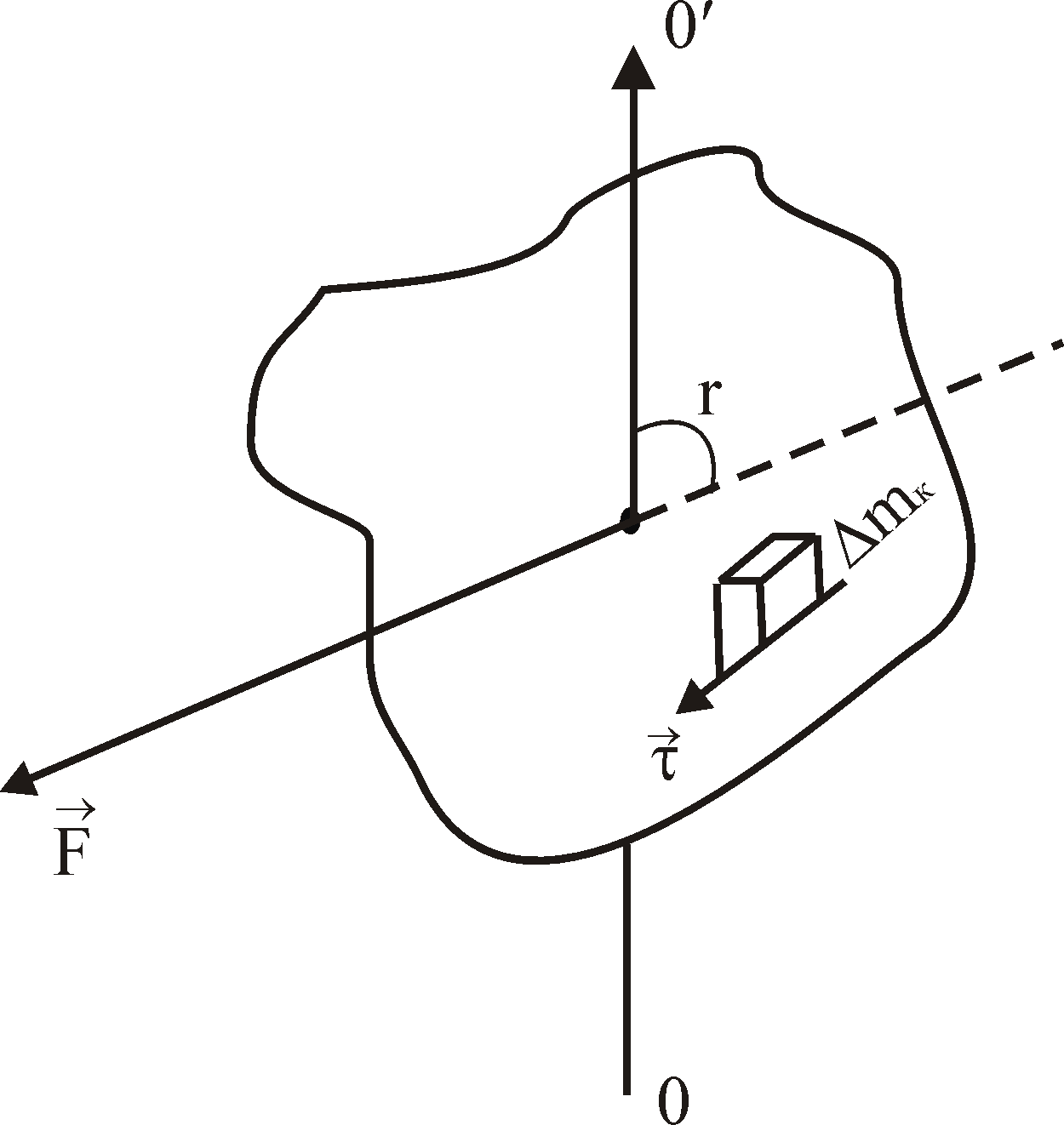
Момент сили. кінетична енергія обертового тіла
Нехай тіло обертається під дією сили F. Довжина перпендикуляру, опущеного з вісі обертання на лінію дії сили називається плечем сили. Добуток сили на плече називається моментом сили:
(1)

Рис.1
Будь-який
елемент маси обертового тіла має лінійну
швидкість
і отже, він має кінетичну енергію
.
Використавши співвідношення:


Знаходимо
,
але
являє собою момент інерції елемента
маси. Тому маємо:
(2)
Кінетична енергія всього тіла буде дорівнювати сумі кінетичних енергій всіх елементів мас:
.
Величина
визначає собою момент інерції всього
тіла відносно даної вісі обертання.
Тому кінетична енергія обертового тіла
рівна:
.
(3)
Якщо тіло одночасно з обертанням рухається поступально, то його повна кінетична енергія рівна:
,
(4)
де - швидкість руху центрам мас тіла.
Момент інерції тіла відносно даної вісі характеризує інерційні властивості тіла при обертовому рухові навколо даної вісі.
Момент інерції. рівняння динаміки обертового руху
При порівнянні законів поступового і обертального руху між ними існує аналогія. Так формули кінетичної енергії мають однаковий вигляд, але при обертанні тіл роль маси відіграє момент інерції. Яка ж величина грає роль сили?
Розглянемо
обертання твердого тіла навколо вісі
(рис.1)
Нехай
на елемент маси
діє сила
.
Елемент маси обертається з лінійною
швидкістю
.
Тоді із 2 закону Ньютона маємо:
;
;
(5)
Тому знаходимо:
.
Домноживши
обидві частини останнього рівняння на
одержимо:
.
Просумуємо ці рівняння для всіх елементів тіла:
.
Величини
являє собою сумарний обертовий момент,
що діє на тіло, а величина
- момент інерції тіла. Тоді маємо:
(6)
Рівняння (6) називається основним рівнянням динаміки обертового руху. Формулюється так: момент сили, що діє на тіло, дорівнює добутку моменту інерції тіла на кутове прискорення. Рівняння (6) називають 2 законом Ньютона для обертового руху.
Момент імпульсу. закон збереження моменту імпульсу
З рівняння (5) маємо:
.
Домноживши
обидві частини цього рівняння на
,
одержимо:
.
При
постійних
можна записати так:
.
(7)
Добуток
імпульсу елемента маси
на відстань від вісі обертання до
елемента маси називається моментом
імпульсу.
(8)
Просумуємо рівняння виду (7) для всіх елементів тіла. Знайдемо:
;
Дій
(9)
Де
сумарний обертовий момент, що діє на
тіло.
- момент імпульсу всього тіла
(момент кількості руху). Можна записати
так:
,
або
L = I,
або
(10)
Момент імпульсу - це вектор, направлений по вісі обертання у відповідності з правилом правого гвинта. Таким чином, вектор моменту імпульсу співпадає з напрямом вектора кутової швидкості.
Таким чином, момент імпульсу тіла дорівнює добутку моменту інерції тіла на кутову швидкість. Рівняння (9) можна записати так:
.
(11)
або у векторній формі
.
Це рівняння називається рівнянням моментів.
Якщо на тіло діють сили або сумарний обертовий момент дорівнює нулю, тоді маємо:
або

В цьому і полягає закон збереження моменту імпульсу. Його можна записати так:
(12)
Момент імпульсу замкнутої системи зберігається, тобто, не змінюється з плином часу.
Цей закон використовується спортсменами при виконанні стрибка через голову.
Роль імпульсу тіла при обертальному рухові відіграє момент імпульсу. Момент імпульсу пов’язаний з певною властивістю симетрії простору - його ізотропністю, тобто з інваріантністю фізичних законів відносно вибору напрямків вісей координат системи відліку (відносно повороту замкнутої системи в просторі на будь-який кут).
|
Поступальний рух |
Обертальний рух |
|
Маса m |
Момент інерції J |
|
Шлях S |
Кут оберту |
|
Швидкість
|
Кутова
швидкість
|
|
Імпульс
|
Момент
імпульсу
|
|
Прискорення
|
Кутове
прискорення
|
|
Рівнодіюча
зовнішніх сил
|
Сума моментів
зовнішніх сил
|
|
Основне
рівняння динаміки
|
Основне
рівняння динаміки
|
|
Робота FdS |
Робота обертання Md |
|
Кінетична
енергія
|
Кінетична
енергія обертання
|
Закон збереження моменту імпульсу - фундаментальний закон природи.
Поняття про гіроскопічний ефект
Розглянемо один з різновидів гіроскопів - гіроскоп на карданному підвіччі (рис.2). Дисковидне тіло - гіроскоп закріплене на вісі АА, яка може обертатися навколо горизонтальної вісі ВВ, яка в свою чергу, може обертатися навколо вертикальної вісі СС. Всі 3 вісі перетинаються в одній точці Д, що є центром мас гіроскопа і зостаючись нерухомою, вісь гіроскопу може прийняти будь-який напрям в просторі. Силами тертя в підшипниках всіх трьох вісей і моментом руху кілець нехтуємо: тертя в підшипниках мале, то поки гіроскоп нерухомий, його вісі можна надати будь-який напрям. Якщо почати швидко обертати гіроскоп - (наприклад, за допомогою намотаної на вісі мотузочки) і обертати його підставку, то вісь гіроскопа зберігає своє положення в просторі незмінним. Це можна пояснити за допомогою основного закону динаміки обертального руху. Для гіроскопа, що вільно обертається, сила тяжіння не може змінити орієнтацію вісі його обертання. Бо ця сила прикладена до центру мас (центр обертання Д співпадає з центром мас), а момент сили тяжіння відносно закріпленого центра має дорівнювати нулю. Моментом сили тертя ми нехтуємо. Тому, якщо момент зовнішніх сил відносно його закріпленого центра мас дорівнює нулю, то як слідує з рівняння (11).
,
тобто момент кількості руху гіроскопа зберігає своє значення і напрям в просторі.
Незмінним буде і момент кількості руху гіроскопа відносно вісі обертання, рівний L = J і напрямлений вздовж вісі обертання. Отже, при даній умові вісь обертання гіроскопа зберігає своє положення в просторі.
Щоб
вісь гіроскопа змінила свій напрям в
просторі необхідно, згідно з (11), щоб
момент зовнішніх сил, що прикладені до
гіроскопа, що обертається відносно його
центра мас, відмінний від нуля, то
одержуємо явище, що має назву гіроскопічного
ефекту. Він полягає в тому, що під дією
пара сили F,
прикладеної до вісі обертання гіроскопа,
вісь гіроскопа (рис.2) обертається навколо
прямої
,
а не навколо прямої
,
як це вважалося б природним на перший
погляд (
лежать в площині креслення, а
і сили F
перпендикулярний до неї).

Рис.2 Рис.3
Гіроскопічний
ефект пояснюється таким чином. Момент
М пари
сил F
напрямлений вздовж прямої
.
За час
момент імпульсу L
гіроскопа одержує приріст
(напрям
співпадає з напрямом
)
і стане рівним
.
Напрям вектора L
співпадає з новим напрямом вісі обертання
гіроскопа повернуться навколо прямої
.
Якщо час дії сили малий, то хоч момент
сил
великий,
зміна моменту імпульсу
гіроскопа буде теж малим. Тому сила
практично не призводить до зміни
орієнтації вісі обертання гіроскопа в
просторі. Для її зміни потрібно прикладати
сили довгий час.
Якщо вісь гіроскопа закріплена підшипниками то в наслідок гіроскопічного ефекту виникають так звані гіроскопічні сили, що діють на опори, в яких обертається вісь гіроскопа. Їхню дію необхідно враховувати при конструюванні пристроїв, що містять в собі масивні складові частини, що швидко обертаються (наприклад, підшипники парових турбін на кораблях).
Гіроскопи застосовуються в різних гіроскопічних навігаційних приладах (гірокомпас, гірогоризонт і т.д.). Інше важливе застосування гіроскопів - підтримання заданого напряму руху транспортних засобів, наприклад судна і літака (автопілот) і ін. При будь-якому відхиленні від курсу внаслідок якихось впливів (хвиль, порив вітру і т.д.) положення вісі гіроскопа в просторі зберігається. Отже, вісь гіроскопа разом з рамами карданового підвісу обертається відносно пристрою, що рухається. Оберт рам карданового підвісу за допомогою певних пристроїв містить рулі керування, які повертають рух до заданого курсу. Подібним же чином гіроскопи можуть застосовуватись для автоматичного керування рухом снарядів, що само рухаються.
Вперше гіроскоп застосований французьким фізиком Фуко (1819 - 1868 рр) для доказу обертання Землі.
Висновки
Основна задача динаміки обертального руху твердого тіла - визначити кутові координати точок обертового тіла в будь-який момент часу за відомими початковими кутовими координатами, кутовою швидкістю і моментом зовнішніх сил, які діють на тіло.
Моментом інерції тіла відносно осі називається величина, що дорівнює сумі моментів інерції всіх матеріальних точок, на які можна уявно поділити тіло, відносно даної осі. Якщо тіло бере участь одночасно в обертальному і поступальному русі, то його кінетичну енергію визначають за формулою:
.
Другий закон динаміки обертального руху твердого тіла визначається формулою:

Момент
імпульсу
замкнутої системи тіл відносно будь-якої
нерухомої осі залишається сталим.
Навчальна література
1. Кучерук І.М., Горбачук І.Г. Загальна фізика. Електроніка і магнетизм. - К.: Вища школа, 1990.
2. Савельев И.В. Курс физики, т.3, Квантовая физика. - М.: 1989.
3. Трофимова Т.И. Курс физики, - М.: Высшая школа, 1985, 432 с.
4. Бушок Г.Ф., Левандовський В.В., Півень Г.Ф. Курс фізики (Оптика. Фізика атома і атомного ядра. Молекулярна фізика і термодинаміка), т.2,-Київ.: Либідь, 2001, - 421 с.










