Измерение длины волны излучения лазера интерференционным методом
Лабораторная работа
"Измерение длины волны излучения лазера интерференционным методом"
Введение
Цель работы: ознакомиться с принципами работы лазеров; измерить длину волны излучения лазера и сравнить спектры его индуцированного и спонтанного излучений.
Приборы и принадлежности: гелийнеоновый лазер, насадка с микрообъективом, плоскопараллельная стеклянная пластинка известной толщины и экран для визуального наблюдения интерференционной картины, установленные на оптической скамье; блок питания лазера, спектроскоп.
1. Теория метода
Лазер, или оптический квантовый генератор (ОКГ), – это устройство, преобразующее энергию различных видов (тепловую, электрическую, световую, химическую и др.) в энергию когерентного монохроматического электромагнитного излучения в оптическом диапазоне длин волн (частот). Лазеры дают излучение в виде узкого направленного луча. По сравнению с другими, некогерентными источниками света, лазеры имеют ряд преимуществ, благодаря которым широко используются для целей связи и передачи большого объёма информации, для создания голографических изображений высокого качества и др. Значительная концентрация энергии в узком луче позволяет применять лазеры для обработки особо твердых материалов, а в перспективе – для инициирования термоядерных реакций. Можно привести много и других примеров применения лазеров в научных исследованиях, технике, практической медицине. Все лазеры делятся на лазеры непрерывного и импульсного действия.
В настоящее время распространение получили следующие типы лазеров.
1. Газовые, или электроразрядные; к ним относятся лазеры, в которых используются смеси инертных газов He+Ne или He+Xe под низким давлением, а также лазеры на СО>2> и другие.
2. Твердотельные, в которых рабочей средой являются стержни из синтетических рубинов, гранатов или стекол, содержащих оксиды редкоземельных металлов.
3. Полупроводниковые, например, на арсениде галлия (GaAs), в которых процессы излучения сосредоточены в области рn перехода.
4. Жидкостные лазеры на водных или органических растворах некоторых красителей. Известны лазеры и других типов.
В лазерах любого типа обязательно наличие трех конструктивных элементов. Во-первых, устройства, снабжающего энергией рабочую среду лазера; во-вторых, собственно лазерного вещества, или активной среды, которая излучает свет; в-третьих, резонирующего устройства, усиливающего и формирующего излучение.
Физической основой действия лазера любого типа служит явление вынужденного, или индуцированного излучения, которое может происходить, если частица рабочей среды лазера (атом, молекула или ион) находится в возбуждённом состоянии, т.е. имеет избыток энергии по сравнению с энергией основного (нормального) состояния. Вынужденное излучение – это электромагнитное излучение (в частности, свет), испускаемое энергетически возбуждёнными частицами под воздействием внешнего излучения той же частоты, что и частота испускаемого излучения. Подобные явления описываются законами квантовой механики, при этом надо иметь в виду, что любое электромагнитное излучение состоит из квантов (порций), называемых также фотонами.
Энергетические процессы, происходящие в рабочей среде лазера, можно представить следующим образом. Пусть среди допустимых состояний атома рабочей среды существуют два с разными значениями энергии Е>1> и Е>2>>Е>1>, причём между ними возможен квантовый излучательный переход, рис. 1. Когда возбуждённый атом из состояния с энергией Е>2> переходит в состояние с меньшей энергией Е>1>, то избыток энергии Е = Е>2 >– Е>1> испускается в виде фотона с энергией h, где h – постоянная Планка, – частота излучения. Из равенства ΔЕ = h следует, что испускаемый фотон имеет частоту = ΔЕ/h.
Квантовые переходы между уровнями Е>2> и Е>1> с испусканием фотонов могут происходить как самопроизвольно, так и под воздействием поля распространяющейся в среде электромагнитной (световой) волны с той же частотой . Возникающее в первом случае излучение называется спонтанным, или самопроизвольным; второй же случай отвечает вынужденному излучению, о котором говорилось выше. Вынужденное излучение когерентно с исходной волной, т.е. обе волны совпадают по частоте, фазе и направлению распространения, рис. 1а. При спонтанном излучении фотоны испускаются в произвольных направлениях и когерентность между волнами отсутствует, рис. 1б.

Рис. 1. Возникновение индуцированного (а) и спонтанного (б) излучений и поглощения (в) в рабочей среде: Е>1> и Е>2> – энергетические уровни атомов среды; пустые и закрашенные кружочки – атомы на нижнем и верхнем уровнях энергии; волнистыми линиями со стрелками изображены фотоны
Столкновения фотонов световой волны с атомами среды, находящимися на низших энергетических уровнях, может сопровождаться также поглощением фотона и переходом атомов в возбуждённое состояние с большей энергией, рис. 1в. При вынужденном излучении энергия воздействующей световой волны увеличивается, а при поглощении она уменьшается. Поэтому изменение интенсивности света, проходящего через среду, зависит от того, какой из двух процессов преобладает.
Если бы рабочая среда лазера находилась в термодинамически равновесном состоянии, то распределение атомов по энергиям определялось бы статистикой Больцмана. Соответствующее распределение Больцмана, которое даёт число атомов N(Е), обладающих энергией Е, имеет вид
, (1)
где Т – абсолютная температура, k – постоянная Больцмана, А – нормировочная константа, e = 2,718… – основание натуральных логарифмов. Число атомов N(Е), обладающих энергией Е, часто называют населённостью энергетического уровня Е.
Как видно из (1), населённость энергетических уровней уменьшается с ростом их энергии. Поэтому в термодинамически равновесной среде процессы поглощения фотонов из распространяющейся световой волны будут преобладать над процессами их индуцированного излучения, так что интенсивность прошедшего через среду света будет уменьшаться. Однако посредством внешнего воздействия, называемого накачкой, можно создать в среде так называемую инверсную населённость уровней, при которой некоторые уровни с большей энергией будут заселены атомами более плотно, чем уровни с меньшей энергией. Другими словами, инверсная населённость уровней означает, что N(Е>2>) > N(Е>1>) при Е>2> > Е>1>.
Среда с инверсной населённостью уровней называется активной. Она термодинамически неравновесна и стремится перейти в равновесное состояние путем излучения избытка энергии. При пропускании света с частотой = ΔЕ/h через такую активную среду в ней будет происходить как индуцированное излучение, если энергия фотонов h совпадает с разностью энергий Е двух инверсно населённых уровней (рис. 1а), так и поглощение энергии света (рис. 1в). Но так как N(Е>2>) > N(Е>1>), то число индуцированных переходов с испусканием фотонов становится больше поглощательных переходов, и энергия световой волны возрастает по сравнению с энергией исходной волны. Другими словами, происходит усиление света. На этом основан принцип действия лазеров.
Для усиления генерации света лазер снабжен также оптическим резонатором, рис. 2. Он создается двумя зеркалами, одно из которых имеет большой коэффициент отражения, а второе полупрозрачно. Зеркала обеспечивают многократное отражение и прохождение излучения через активную среду, что приводит к увеличению числа фотонов, испущенных возбуждёнными атомами, и усилению индуцированного когерентного излучения. В результате возникает лавина фотонов, движущихся вдоль оси резонатора и частично выходящих в виде узкого пучка света через полупрозрачное зеркало. Фотоны, испущенные по другим направлениям, выходят из активной среды, не испытав многократного отражения от зеркал.

Рис. 2. Схема формирования направленного излучения лазера с помощью резонатора: 1 и 2 – непрозрачное и полупрозрачное зеркала, 3 – активная среда. Сплошные стрелки показывают движение фотонов вдоль оси резонатора ОО, пунктирные – под углом к этой оси
Помимо отражательных свойств, оптический резонатор, подобно механическим резонаторам, например, трубам и декам музыкальных инструментов, обладает резонансными свойствами. Электромагнитные волны могут возбуждаться в нём эффективно только при условии, что их частоты совпадают с собственными частотами резонатора. Наиболее благоприятные условия для лазерной генерации возникают в том случае, когда частота = ΔЕ/h, отвечающая квантовому переходу атомов активной среды, и одна из собственная частот резонатора совпадают. В этом случае в резонаторе создается стоячая световая волна, и при данной мощности накачки лазер излучает свет наибольшей интенсивности. При расстройке между указанными частотами генерируемая мощность уменьшается, а при большой расстройке генерация света может вовсе исчезнуть.
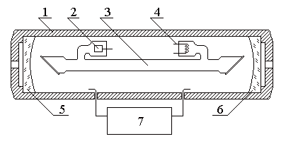
В настоящей работе используется гелийнеоновый (HeNe) лазер, являющийся газовым электроразрядным лазером непрерывного действия. Его схема показана на рис. 3.

Рис. 3. Схема гелийнеонового лазера: 1 – корпус, 2 – пустотелый цилиндрический анод, 3 – газоразрядная трубка, 4 – накаливаемый катод, 5 и 6 – сферические зеркала с многослойным диэлектрическим покрытием (резонатор), 7 – источник питания
Устройством накачки является газоразрядная трубка 3, заполненная смесью инертных газов He и Ne с парциальными давлениями соответственно 133 и 13 Па (1 и 0,1 мм рт. ст.). Трубка помещена между зеркалами 5 и 6, образующими оптический резонатор. В загнутых концах трубки расположены анод и катод, между которыми прикладывается высокое напряжение порядка 1–2,5 кВ. Под действием электрического поля в газе, заполняющем трубку, возникает самостоятельный разряд, сила тока которого составляет несколько десятков миллиампер.
Электроны, образующие ток в газоразрядной плазме, сталкиваются с атомами гелия He и неона Ne и передают им энергию. Эти атомы, получив энергию, переходят с основного уровня E>0> или E>0> на метастабильные, т.е. долгоживущие уровни с большей энергией (рис. 4). Энергетические уровни E>2> и E>3> атома неона практически совпадают с уровнями E>2> и E>3> атома гелия; поэтому энергия возбуждения большей части атомов гелия передается при столкновениях тем атомам неона, которые ещё не возбуждены. В результате в газовой смеси резко возрастает концентрация атомов неона на уровнях E>2> и E>3> по сравнению с уровнем E>1>, т.е. в неоне создаётся инверсная населённость. Такое двухступенчатое возбуждение атомов неона необходимо ввиду того, что вероятность непосредственного возбуждения ударами электронов у атомов гелия гораздо выше, чем у атомов неона.
Создание инверсной населённости энергетических уровней приводит к возможности генерации вынужденного излучения. При вынужденном переходе Е>3> → Е>1> возникают фотоны с энергией h>1>, отвечающие видимому свету с длиной волны >1> = c/>1> = 632,8 нм (красный цвет), а при переходе Е>2> → Е>1> – фотоны с энергией h>2>, отвечающие инфракрасному излучению с длиной волны >2> = c/>2> = 1153 нм (здесь с – скорость света).

Рис. 4. Упрощённая схема энергетических уровней гелийнеонового лазера. Вертикальные пунктирные стрелки соответствуют процессам возбуждения атомов при столкновении с ними электронов плазмы, горизонтальные – передаче возбуждения от атомов Не к атомам Nе, сплошные стрелки – процессам вынужденных переходов, волнистые стрелки – испусканию фотонов
Как видно из рис. 3, концы газоразрядной трубки 3 закрыты плоскопараллельными (кварцевыми) пластинками, установленными под определённым углом к продольной оси лазера. Этот угол выбран так, чтобы угол падения на пластинки света, распространяющегося вдоль оси лазера, был равен углу Брюстера. В этом случае свет, отражённый от пластинок, будет полностью поляризован перпендикулярно плоскости падения. Поэтому свет, прошедший через пластинки, будет поляризован преимущественно в плоскости падения. Многократное отражение света от зеркал 5 и 6 в ходе работы лазера приведёт к практически полной поляризации осевого излучения. Подобная конструкция лазера позволяет получать пучок не только когерентного, но и плоскополяризованного света, что расширяет возможности использования лазеров, когда необходим такой свет.
Если излучение, идущее вдоль оси гелийнеонового лазера, т.е. вынужденное излучение разложить в спектр, то в видимой части спектра будет присутствовать только одна красная линия, отвечающая указанной выше длине волны >1> = 632,8 нм. Излучение, направленное в стороны от оси газоразрядной трубки состоит, в основном, из спонтанного излучения (рис. 1б) и небольшой доли вынужденного с различными длинами волн, которое не удовлетворяет условиям резонанса в оптическом резонаторе лазера. Спектр спонтанного излучения содержит набор линий разного цвета, характерных для спектров испускания атомов гелия и неона.
В данной лабораторной работе исследуется излучение красного цвета гелийнеонового лазера, длину волны которого требуется определить. Она находится интерференционным методом, используя явления, возникающие при отражения света от плоскопараллельной прозрачной пластинки.
Интерференцией света называется наложение когерентных световых волн, приводящее к усилению или ослаблению света в различных точках светового поля в зависимости от разности хода накладывающихся волн. Интерференционная картина обычно имеет вид чередующихся светлых (максимумы освещённости) и темных (её минимумы) полос, колец или иных фигур.
Пусть на прозрачную плоскопараллельную пластинку толщины b падает монохроматическая световая волна длины , которую можно представить как параллельный пучок лучей (рис. 5). AD – фронт волны, 1 и 2 – два параллельных луча из этого пучка. Свет частично отражается от верхней поверхности пластинки, а частично преломляется, проходит внутрь пластинки и отражается от её нижней поверхности.

Рис. 5. Интерференция света при отражении от плоскопараллельной прозрачной пластинки Пл толщины b: 1 и 2 – параллельно падающие лучи, С – точка наблюдения интерференционной картины
В точке С падающая на пластинку (луч 2) и отраженная от её нижней поверхности (луч 1) когерентные волны интерферируют. Их оптическая разность хода равна
=
n
(AB+BC)
– DC
–
, (2)
где n – показатель преломления вещества пластинки относительно воздуха, – длина волны света в вакууме (практически и в воздухе). Половина длины волны /2 отнимается потому, что луч 2 в точке С отражается от среды оптически более плотной, чем воздух (n > 1). При этом фаза волны меняется на , что равносильно «потере» половины длины волны. Если i – угол падения лучей 1 и 2, то геометрический расчёт с использованием законов отражения и преломления света позволяет привести выражение (2) к виду
. (3)
Когда оптической разность хода равна нечётному числу полуволн, интерферирующие волны находятся в противофазе и гасят друг друга, т.е., возникают минимумы интерференционной картины. Следовательно, минимумы будут наблюдаться, если
, (4)
где k = 1, 2, 3,… – целое положительное число, называемое порядком интерференции (в рассматриваемом случае k > 0, так как > 0). Приравнивая между собой правые части выражений (3) и (4), получим условие минимумов при отражении света от пластинки в виде
. (5)
Схема лабораторной установки приведена на рис. 6. Лазерное излучение, выходящее из установленного на лазере микрообъектива, проходит через малое круглое отверстие в экране, попадает в виде расходящегося пучка света на стеклянную пластинку, расположенную на расстоянии l от экрана, и отражается от обеих её поверхностей. Отражённый от стеклянной пластинки свет даёт на экране интерференционную картину в виде чередующихся светлых и тёмных концентрических колец диаметром d, каждое из которых соответствует определённому углу падения i (рис. 6б). Поэтому их называют линиями равного наклона. Тёмные кольца соответствуют интерференционным минимумам; их положение определяется формулой (5). Выразим из формулы (5) число k:
. (6)
Из (6) следует, что порядок интерференции k при заданных , b и n определяется углом падения i; чем меньше угол i и соответственно sini, тем больше k. Поскольку 1 sin2 i 0, то число k заключено в пределах
. (7)
Поэтому в данном случае может возникать лишь конечное число колец.

Рис. 6. Схема установки (а) и вид возникающей на экране интерференционной картины (б): 1 – лазер, 2 – микрообъектив, 3 – экран с малым отверстием, 4 – плоскопараллельная стеклянная пластинка, 5 – полосы равного наклона в виде концентрических колец с центром в точке О
Для колец не слишком большого диаметра, когда выполняется условие d << l, синус угла падения i, как следует из схемы на рис. 6, будет равен
. (8)
Учитывая, что sini мал, упростим выражение (6):
, (9)
поскольку x
= sin2i/n2
<< 1, а
,
если x
<< 1. Подставляя выражение (8) в (9),
приближённо получим
, (10)
где d>k> – диаметр k го темного интерференционного кольца, соответствующего порядку интерференции k. Аналогично для любого другого (k + m) – го кольца диаметра d>k>>+>>m>, где m – также целое число, имеем
. (11)
Из выражений (6) и (10) следует, что бóльшим порядкам интерференции k соответствуют кольца меньшего диаметра. Число k неизвестно. Его можно исключить, вычитая соотношение (10) из (11). В результате, после алгебраических преобразований получается формула для расчёта длины волны излучения лазера:
. (12)
2. Порядок выполнения работы
1. Попросите лаборанта подключить блок питания лазера к сети. Под наблюдением лаборанта включите тумблер «Сеть» на блоке питания лазера. Нажмите и отпустите кнопку «Поджиг». При этом должен зажечься электрический разряд в газоразрядной трубке. Если разряд не зажигается, слегка поверните вправо ручку «Грубо» (при этом увеличивается напряжение на электродах) и вновь нажмите кнопку «Поджиг».
2. После появления разряда ручками «Грубо» и «Плавно» установите рабочий ток разряда 10–15 мА. В этом режиме начинается генерация лазерного излучения, и из торца прибора выходит луч красного цвета.
3. При помощи юстировочных винтов оптических рейтеров, на которых установлены экран и плоскопараллельная стеклянная пластинка, получите на экране отчётливую интерференционную картину в виде концентрических колец с максимумом интенсивности в центре.
4. Измерьте линейкой с точностью до 1 мм расстояние l от экрана до стеклянной пластинки, запишите его в табл. 1. В ту же таблицу внесите указанные на установке значения толщины пластинки b и показателя преломления n её материала (стекла).
Таблица 1
|
l, мм |
b, мм |
n |
|
310 |
3,4 |
1,55 |
5. Измерьте с точностью до 0,5 мм диаметры тёмных интерференционных колец, соответствующих минимуму интенсивности света. В качестве кольца с порядком интерференции k + m возьмите 2, 3, 4 и 5 е кольца от центра картины, а в качестве кольца с порядком интерференции k – соответственно 6, 7, 8 и 9 е. Тогда m = 4. Результаты измерений диаметров колец запишите в табл. 2.
6. Направьте зрительную трубу спектроскопа на одно из боковых отверстие в корпусе лазера, в которых виден свет, исходящий из газоразрядной трубки в стороны от её оси. Этот свет представляет, в основном, спонтанное излучение. Посмотрите в спектроскоп и зарисуйте видимый спектр по возможности точнее.
7. Поместите спектроскоп за стеклянной пластинкой так, чтобы в его зрительную трубу попадал луч, испускаемый вдоль оси лазера. Этот луч представляет собой вынужденное излучение лазера. Посмотрите в спектроскоп и зарисуйте видимый спектр в этом случае.
Таблица 2
|
Опыт № |
Кольцо |
Кольцо |
|
|
m |
>i>, мм |
||
|
№ |
d>k>, мм |
№ |
d>k>>+>>m>, мм |
|||||
|
1 |
6 |
22 |
2 |
10 |
484 |
100 |
4 |
0,000137 |
|
2 |
7 |
24 |
3 |
14 |
576 |
196 |
4 |
0,000136 |
|
3 |
8 |
28 |
4 |
18 |
784 |
324 |
4 |
0,000164 |
|
4 |
9 |
30 |
5 |
20 |
900 |
400 |
4 |
0,000178 |
3. Обработка опытных данных
1. Рассчитайте по формуле (12) длину волны >i> излучения лазера для каждого опыта, вычислив предварительно квадраты диаметров наблюдаемых интерференционных колец. Результаты расчётов запишите в табл. 2.
2. Найдите среднее
арифметическое значение
измеренной длины волны по формуле
. (13)
Величину
в миллиметрах и нанометрах запишите в
табл. 3.
3. Вычислите среднюю
абсолютную
и относительную >>
погрешности определения длины волны
по формулам
,
. (14)
Занесите величину >> в табл. 3.
4. Рассчитайте
относительное расхождение >табл>
между измеренным
и табличным λ>табл>
= 632,8 нм значениями длины волны видимого
излучения гелийнеонового
лазера:
(15)
Величину >табл> также внесите в табл. 3. Если в используемом методе определения нет систематических погрешностей, а измерения и расчёты выполнены правильно, то относительное расхождение >табл> не должно превышать относительную погрешность >>.
5. Рассчитайте частоту
= c/
лазерного излучения и энергию фотона
= h,
где c
– скорость
света в вакууме и h
–
постоянная Планка, используя в качестве
полученное среднее значение длины волны
.
Результаты расчётов занесите в табл.
3.
Таблица 3
|
|
>>, % |
>табл>, % |
, Гц |
|
||
|
мм |
нм |
Дж |
эВ |
|||
|
0,000154 |
154 |
11,37 |
75,71 |
46,08 |
3,05∙10-32 |
1,9∙10-13 |
6. Пользуясь цветными карандашами, аккуратно представьте по указанным ниже шаблонам спектры, которые наблюдались и были зарисованы Вами в ходе выполнения лабораторной работы.
Литература
1. Савельев И.В. Курс общей физики, т. 2. М.: Наука. 1982
2. Трофимова Т.И. Курс физики. М.: Высшая школа. 2004
,
мм2
,
мм2