Изучение компенсационного метода измерений (работа 1)
Лабораторная работа
ИЗУЧЕНИЕ КОМПЕНСАЦИОННОГО МЕТОДА ИЗМЕРЕНИЙ
Цель работы:
Ознакомление с методом компенсации в практике измерений физических величин, получение навыков пользования приборами мостового типа.
Оборудование: мост Уитстона, смонтированный на панели; источник постоянного тока, магазин сопротивлений Р33 или резистор известного номинала, набор резисторов, мультиметр, потенциометр постоянного тока (ПП-63 или аналогичный), термопара.
Теоретическая часть
Измерение
электрического сопротивления проводника
(резистора) можно произвести с помощью
закона Ома (рис 1.):
.
Однако введение в электрическую цепь амперметра и вольтметра неизбежно приводит к определенным погрешностям. Введение в цепь амперметра неизбежно уменьшают силу тока в цепи, а, значит и показания вольтметра. Подключение в цепь вольтметра увеличивают силу тока и показания амперметра. Конечно, хорошие измерительные приборы изготовляются так, чтобы сопротивление амперметра было как можно более малым, а сопротивление вольтметра как можно более большим. Тем не менее, метод амперметра – вольтметра невозможно принципиально избавить от указанных недостатков.
Электродвижущая сила равна разности потенциалов на полюсах источника тока при отсутствии разрядного тока. Напряжение U, измеряемое вольтметром при его подключении к источнику тока связано с протеканием тока в получившейся цепи. При этом показания вольтметра неизбежно оказываются меньше истинного значения э.д.с. на величину падения напряжение на самом источнике тока: U= Ir (рис. 2).
Боле точные результаты измерений различных электрических величин можно получить только компенсационными методами, суть которых заключаются в том, что измеряемая величина сравнивается с аналогичной величиной, измеренной с высокой точностью. Момент наступления «равновесия» фиксируется с помощью нуль-индикаторов той или иной конструкции. Роль нуль-индикатора заключается не в том, чтобы измерять ток, а в том, чтобы устанавливать его отсутствие. При этом через нуль-индикатор протекает очень маленький ток, что позволяет практически исключить влияние измерительного прибора на процесс измерения. Стрелочные нуль-индикаторы имеют зеркальную шкалу, содержащую всего несколько делений и очень тонкую стрелку. При измерении необходимо смотреть на прибор «прямо сверху», при этом сама стрелка и ее изображение в зеркале должны совпадать.
К приборам компенсационного типа относится мост постоянного тока Уитстона, предназначенный для измерения сопротивления проводников, и потенциометр, предназначенный для измерения э.д.с. источников тока.
Мост постоянного тока Уитстона для измерения сопротивления

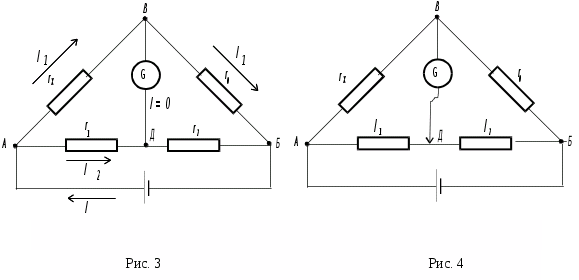
На рис. 3
изображена схема моста Уитстона. Он
состоит из четырех последовательно
соединенных сопротивлений, образующих
четырехугольник АВБДА.
В диагональ ДВ
включен нуль-индикатор G
(гальванометр или микроамперметр с
центральной стрелкой). Измеряемое
сопротивление r>x>
образует ветвь АВ,
а в ветвь БД
включен эталонный резистор, сопротивление
которого r>0
>измерено
с большой степенью точности. Сопротивления
r>1
>и
r>2>>
> можно
подобрать такими, что разность потенциалов
между точками В
и Д
будет равна нулю. При этом ток через
гальванометр не идет, наступает равновесие
моста.
Применим второе правило Кирхгофа для контуров АВД и ВБД
(1)
Решение системы (1) дает
(2)
Обычно ветвь АДБ представляет собой реохорд (реохордный мост Уитстона). В данном приборе это прямая проволока постоянного сечения с подвижным контактом (рис. 4). Балансировка моста достигается перемещением контакта вдоль реохорда. При этом величины сопротивлений r>1 >и r>2>> > пропорциональны длинам плеч реохорда l>1 > и l>2> и формула (2) преобразуется в
(3)
Формально погрешность измерения неизвестного сопротивления определяется погрешностью измерения плеч реохорда и погрешностью эталонного сопротивления:
(4)
Обычно эта погрешность невелика. Но следует учитывать, что она увеличивается при большом неравенстве плеч реохорда. Например, при l>1>/l>2> = 4 или 0,25 она в 1,5 раза больше, чем при l>1>/l>2> 1. Это означает, что желательно проводить измерения так, чтобы эталонное и измеряемое сопротивления были сравнимы по величине r>x > r>0>. Большое влияние на погрешность измерений также оказывает точность проведения нулевого отсчета, т.е. фактически чувствительность нуль-индикатора. Что избежать других погрешностей применяют специальные приемы, один из которых будет описан в задании к работе.
Потенциометр для измерения э.д.с.
Принципиальная
схема потенциометра показана на рис.
5. Источник питания с э.д.с. >0>,
заведомо
превосходящей э.д.с. исследуемого
источника тока, поддерживает постоянную
силу тока в цепи реохорда АБ.
Перемещая движок реохорда Д,
можно получить на участке АД
падение
напряжение, пропорциональное сопротивлению
r
этого участка, т. е. фактически длине
этого участка реохорда
(5)
Если встречно к этому участку подключить через гальванометр источник тока, у которого э.д.с. равно этому напряжению ( = U), то произойдет компенсация напряжений и ток через гальванометр не будет проходить. В качестве образцового источника тока в данном потенциометре используется нормальный элемент Вестона, э.д.с. которого (1,0183 В) практически не меняется с течением времени. При подключении его и балансировке потенциометра выполняется:

(6)
Затем вместо нормального элемента можно подключить источник с неизвестны э.д.с и снова уравновесить прибор:
(7)
Из формул (6) и (7) получается рабочая формула
,
(8)
где измерениям подлежат длины плеч l>1>> >и l>2>.
2. Выполнение эксперимента
Задание 1. Измерение сопротивлений
Мост Уитстона собран на панели, при этом монтажная схема полностью соответствует принципиальной, что обычно не делается в заводских приборах. В качестве образцового сопротивления используется высококачественный резистор с известным сопротивлением r>0> или магазин сопротивлений Р33, на котором с помощью ручек-декад можно набирать сопротивления от 0,1 до 99999,9 Ом. Напряжение, подаваемое на прибор можно регулировать в пределах 0 – 4 В. В работе используются набор резисторов, распаянных на «линейке», сопротивление которых неизвестно.
1. Подключите образцовый резистор или магазин сопротивлений к «правому» плечу прибора. Распаянные на линейке резисторы №1-№6 имеют номинал 500 – 3000 Ом. Поэтому на магазине сопротивлений можно установить r>0> = 1000 Ом и оставлять это значение при всех измерениях.
2. Подключите к «левому» плечу прибора резистор №1.
3. Подключите источник тока (полярность не имеет значения). Установите ручной регулятора напряжения среднее напряжение.
4. Перемещая движок реохорда, уравновесьте мост.
5. Запишите в таблицу 1 отчета значения длин плеч реохорда l>1> и l>2>.
6. По формуле (3) вычислите значение неизвестного сопротивления. Результаты можно округлять до целых значений.
7. Измерьте сопротивление резисторов №2 - №6.
8. Одна из трудностей при изготовлении моста Уитстона состоит в том, что трудно достичь полной электрической симметрии «левой» и «правой» сторон моста. Это приводит к появлению систематической погрешности, которую трудно учесть. Один из способов обойти эту трудность состоит в том, что надо повторить измерения сопротивлений всех резисторов, поменяв местами магазин сопротивлений и линейку с резисторами. Затем, в качестве окончательного значения можно взять среднее арифметическое из двух измерений.
9. Измерьте сопротивления резисторов №1 - №6 с помощью мультиметра (омметра) – таблица 2.
10. Рассчитайте в процентах среднее расхождение между результатами, полученными с помощью моста и с помощью мультиметра.
Задание 2. Измерение электродвижущей силы источника тока

Принцип
компенсационного метода измерения
э.д.с. воплощен в промышленном потенциометре
постоянного тока ПП-63 (класса точности
0,05). Кроме измерения э.д.с. ПП-63 может
служить в качестве источника регулируемого
напряжения (ИРН). Внешний вид потенциометра
показан на рис. 6
Перед началом работы органы управления и регулировки потенциометра должны находится в следующих положениях:
Переключатель питания прибора «ПИТАНИЕ» - в отключенном положении.
Переключатель нормального элемента в положение «В» - внутренний нормальный элемент. (При использовании наружного нормального элемента он подключается к клеммам «НЭ» и переключатель переводится в положение «Н»).
Переключатель гальванометра в положение «В» - внутренний гальванометр. (При использовании наружного гальванометра он подключается к клеммам «Г» и переключатель переводится в положение «Н»).
Переключатель питания в положение «В» - внутреннее питание (наружный источник питания подключается к клеммам «БП» и переключатель переводится в положение «Н»).
Переключатель полярности потенциометра «+», «-» - в положение «+».
Кнопки «ГРУБО» и «ТОЧНО» - в отжатых (расфиксированных» положениях).
В данной работе в качестве источника тока использоваться хромель-алюмеливая1 термопара. Если спай термопары нагреть, то она станет источником тока. э.д.с. которой и надо измерить.
1. Подключите термопару к клеммам «Х» потенциометра.
2. Установите переключатель «РОД РАБОТЫ» в положение «ПОТЕНЦИОМЕТР».
3. Установите переключатель «ПИТАНИЕ» в положение «ВКЛ».
4. Установите переключатель пределов измерений – штепсель в положение «1». Положение этого штепселя определяется пределами измерения э.д.с.: «0,5» - при измерении э.д.с. до 25 мВ, «1» - при измерении э.д.с. до 50 мВ, «2» - при измерении э.д.с. до 100 мВ.
Проведите установку (контроль) рабочего тока потенциометра. Для этого:
Установите переключатель «К» - «И» в положение «К». При этом подключается нормальный элемент.
Установите стрелку гальванометра на «0» вращение рукояток «ГРУБО» (верхняя рукоятка) и «ТОЧНО» (нижняя рукоятка) регулятора «РАБОЧИЙ ТОК», вначале при нажатой (зафиксированной) кнопке «ГРУБО», а затем – «ТОЧНО».
Достижение компенсации в этом случае означает выполнение условия (6).
5. Проведите измерение неизвестной э.д.с. Для этого
Зажмите один спай термопары двумя пальцами.
Установите переключатель «К»-«И» в положение «И».
Установите стрелку гальванометра на «0» вращением рукояток секционного переключателя «mV» и реохорда «mV», вначале при нажатой кнопке «ГРУБО», а затем «ТОЧНО».
Достижение компенсации в этом случае означает выполнение условия (7).
Значение измеряемого э.д.с. в милливольтах будет равно сумме показаний секционного переключателя и реохорда, умноженной на значение множителя, установленной на переключателе пределов измерений при помощи штепселя.
При подключении источника тока (термопары) к потенциометру необходимо соблюдать полярность. Если полярность источника тока неизвестна, и он подключен к клемма «Х» неправильно, то компенсации при измерении добиться невозможно (источники включены «не встречено»). Для изменения полярности следует воспользоваться тумблером «+»,«-».
6. Опустите спай термопары горячую воду или нагрейте его зажигалкой. Измерьте э.д,с этого источника тока.
1 Хромель, алюмель – сплавы на основе хрома и алюминия, спай которых дает большую термо-э.д.с.