Исследование свойств магнитных наноносителей
Лабораторная работа
ИССЛЕДОВАНИЕ СВОЙСТВ МАГНИТНЫХ НАНОНОСИТЕЛЕЙ
Исследование магнитных свойств коллоидных магнитных наноносителей
Цель работы: исследовать методику измерения магнитных свойств веществ в переменном и постоянном магнитном поле на примере магнитной жидкости.
Теоретическая часть:
При измерении намагниченности в полях до 60 кА/м применялся метод выдергивания (удаления) образца из поля. В качестве намагничивающей системы использовали соленоид (длина 60 см, внутренний диаметр 7 см). Обмотка измерительной катушки содержала 5210 витков медного провода диаметром 0,14 мм. Стеклянный цилиндрический контейнер с магнитной жидкостью (внутренний диаметр 0,7 длина 37 см) помещался в измерительную катушку, расположенную в средней части соленоида. При экспериментальных исследованиях проводилось термостатирование контейнера с образцом, а контроль температуры осуществлялся с помощью медь константановой термопары.
010009000003f801000002008401000000008401000026060f00fe02574d464301000000000001006b8e0000000001000000dc02000000000000dc020000010000006c00000000000000000000002c000000710000000000000000000000952700001124000020454d4600000100dc0200000d000000020000000000000000000000000000007f120000771a0000c80000001f010000000000000000000000000000000f030058600400160000000c000000180000000a000000100000000000000000000000090000001000000059090000870800005200000070010000010000009cffffff00000000000000000000000090010000000000cc04400012540069006d006500730020004e0065007700200052006f006d0061006e00000000000000000000000000000000000000000000000000000000000000000000000000000000000000000000000000000000000000000000000000000000000000000000000000000000000000000000000000000000000000000000000000000000000000000000000000000000000000000000000000000000000000000000000000000000000000000000000000000000000000cb30093000000000040000000000ae30083109300000000047169001cc0002020603050405020304877a0020000000800800000000000000ff01000000000000540069006d00650073002000000065007700200052006f006d0061006e00000000000000bd2d093050bbae3000331400010000000000000004481100aab40230044811004c3eaf301c4811006476000800000000250000000c00000001000000120000000c00000001000000180000000c00000000000002540000005400000000000000000000002c0000007100000001000000e7298740a48e8740000000005a000000010000004c0000000400000000000000000000005a090000850800005000000020009ce32d00000046000000280000001c0000004744494302000000ffffffffffffffff5a09000088080000000000004600000014000000080000004744494303000000250000000c0000000e0000800e000000140000000000000010000000140000000400000003010800050000000b0200000000050000000c023b015501040000002e0118001c000000fb02f2ff0000000000009001000000cc0440001254696d6573204e657720526f6d616e0000000000000000000000000000000000040000002d0100000400000002010100050000000902000000020d000000320a0d000000010004000000000055013b01200706001c000000fb020200010000000000bc02000000cc0102022253797374656d0000000000000000000000000000000000000000000000000000040000002d010100030000000000
Рис. Графический способ пересчета кривой М = f(H>e>) на M = f(H).
Изменение магнитного потока, пронизывающего витки измерительной катушки при быстром (0,5 с) извлечении из нее контейнера с образцом, определялось микровеберметром 4 (Ф 199). Расчет намагниченности М проводился по формуле:
>
>, (2.8)
где n – число витков измерительной катушки, S>0> – площадь поперечного сечения образца.
Погрешность косвенных измерений намагниченности М данным методом рассчитывали как ε>m> = ε>ф> + ε>d>, где ε>ф> – относительная погрешность измерения магнитного потока, определенная из паспортных данных прибора для рабочего интервала измерений, ε>d> – относительная погрешность измерения внутреннего диаметра контейнера с МЖ, измеренная микроскопом типа БМИ-1Ц. Суммарная погрешность измерения, определенная по данной формуле, составила 2,5% при измерениях в полях напряженностью до 0,5 кА/м и 1,5 % при напряженностях до 60кА/м.
Магнитная восприимчивость магнитных жидкостей выше, чем парамагнетиков, однако много меньше, чем у ферромагнитных веществ. Это создает определенные трудности при выборе метода измерения восприимчивости МЖ. Исследования кривых намагничивания МЖ различных концентраций [16] позволяют утверждать мысль о наличии линейного участка кривых намагничивания в области слабых полей (до значений напряженности магнитного поля порядка 400 – 600 А/м). Этот факт указывает на возможность определения низкополевой магнитной восприимчивости как М/Н при обеспечении достаточно высокой точности измерения М в намагничивающем поле Н. В частности, для этих целей может быть применен описанный выше баллистический метод, что и было реализовано в настоящей работе в некоторых случаях. Вместе с тем, увеличение погрешности измерения намагниченности при уменьшении магнитного поля накладывает ограничение на использование баллистического метода для исследования магнитной восприимчивости МЖ в слабых полях в широком концентрационном интервале. В связи с этим, и с учетом задач поставленных в настоящей работе, для измерения магнитной восприимчивости, кроме баллистического использовался также мостовой метод.
Мостовой метод основан на измерении мостом переменного тока параметров катушки с исследуемым образцом, по которым определяются магнитные свойства материалов. Широкое применение мостовых схем в измерительной технике объясняется большой точностью измерений и высокой чувствительностью. Величина напряженности магнитного поля, требуемая для использования этого метода, может иметь малое значение (10-1 – 150 А/м), которая недостаточна для наступления магнитного насыщения системы. Кроме действительной части магнитной восприимчивости, которая характеризует обратимые процессы при намагничивании, мостовой метод позволяет определять мнимую часть магнитной восприимчивости, обусловленную процессами поглощения. Это дает возможность получить дополнительную информацию о кинетике намагничивания магнитных жидкостей.
Измерение индуктивности и добротности измерительных ячеек проводилось с помощью моста переменного тока LCR-817 с погрешностью 0,05 – 0,1 % для индуктивности и 0,3 % для добротности. Все исследования магнитной восприимчивости проведены при низких частотах измерительного поля (30 – 300 Гц), кроме специальных частотных исследований, проводившихся в диапазоне частот от 30 Гц до 10 кГц. Выбор низких частот обусловлен предположением о малой величине диссипативных потерь в исследуемых МЖ на этих частотах, когда отличие действительной части комплексной магнитной восприимчивости от магнитной восприимчивости, измеренной в постоянном поле, незначительно. Действительно, в рамках дебаевской теории поляризации это отличие определяется множителем, зависящим от частоты переменного поля и времени релаксации магнитного момента:
>
>. (2.9)
Значение коэффициента A>ω>, рассчитанное в диапазоне частот 20 – 300 Гц, с использованием значений оценок τ, близко к единице, так что отличие χ′ и χ>0> в формуле (2.9) не выходит за пределы приборной погрешности. В общем случае зависимость намагниченности от напряженности поля может быть представлена разложением в ряд, значение коэффициентов которого характеризует нелинейность процесса намагничивания:
>
> (2.10)
Неучет этого обстоятельства может привести к дополнительным ошибкам при определении магнитной восприимчивости в переменном поле на основной частоте. В связи с этим, экспериментальные исследования проводились при малом значении амплитудного значения поля, соответствующему начальному участку кривой намагничивания. В этом случае, как уже указывалось выше, прямые измерения зависимости М(Н) не обнаружили отклонения от ее линейности.
Расчет действительной и мнимой
частей магнитной восприимчивости
проводился по изменению индуктивности
и добротности измерительного соленоида
при внесении в его поле образца. В этом
случае происходит изменение индуктивности
катушки на величину ∆L,
пропорциональную действительной части
комплексной магнитной восприимчивости
образца >
>.
Коэффициент пропорциональности A>1>
определяется соотношением размеров и
формы образца и катушки и их взаимным
расположением
>
>, (2.11)
где H – напряженность магнитного поля катушки, V>1> – объем образца, V>2> – объем магнитного поля катушки.
Возможность одновременной регистрации мостом переменного тока изменения индуктивности L и добротности Q соленоида позволяла рассчитать эффективную величину мнимой части магнитной восприимчивости:
>
>. (2.12)
Как известно, приборная погрешность
включает в себя случайную и систематическую
погрешность. Для выяснения возможности
надежной регистрации малых изменений
магнитной восприимчивости, обусловленных
различными факторами, были проведены
специальные исследования случайной
погрешности. Для этого было проведено
многократное (n = 30) наблюдение
индуктивности пустого соленоида и при
наличии в нем эталона с последующим
вычислением его магнитной восприимчивости.
Наличие в МЖ кинетических процессов,
влияющих на величину ее магнитной
восприимчивости, накладывает ограничение
на ее применение в качестве эталона.
Поэтому, для этих целей был использован
сухой образец, полученный из магнитной
жидкости методом выпаривания дисперсионной
среды. При этом размер образца выбирался
таким образом, чтобы величина индуктивности
измерительного соленоида с образцом
имела величину близкую к значениям
индуктивности соленоида с исследуемыми
образцами магнитной жидкости. По
полученным результатам была оценена
дисперсия ряда наблюдений по известной
формуле >
>,
где ∆x>i> – отклонение между
отдельными значениями x>i>
и средним арифметическим этих значений
(∆x>i> = x>i> –
x>ср>). Величина среднего
квадратичного отклонения ряда наблюдений,
определенная как >
>,
оказалась равной 0,0014. Это значение
использовалось в последующем при оценке
случайной погрешности конкретных
измерений с учетом числа проводимых
наблюдений.
Измерительная ячейка для
определения абсолютных значений
магнитной восприимчивости представляла
собой бескаркасный однослойный соленоид
(26 × 0,8 см). Он был
изготовлен следующим образом. Стеклянная
трубка на несколько секунд вносилась
в сосуд с расплавленным парафином так,
что ее стенки равномерно покрывались
тонким слоем затвердевшего парафина.
Затем на трубку наносилась обмотка
проводом 0,2 мм виток к витку до заполнения.
На внешнюю сторону обмотки наносили
несколько слоев эпоксидного клея. После
его высыхания в трубку наливалась
жидкость, нагретая до температуры,
превышающей температуру плавления
парафина. При этом слой парафина,
покрывающий стенки трубки, плавился, и
обмотка свободно снималась с трубки.
Величина отношения длины измерительного
соленоида к его диаметру 1:32,5 была выбрана
с целью повышения однородности
измерительного поля и уменьшения
размагничивания образца за счет его
конечной длины. Систематическая
погрешность, обусловленная конструктивными
особенностями данной ячейки, определяется
в основном двумя факторами: степенью
заполняемости поля соленоида образцом
и размагничиванием, вследствие не
замкнутости его формы. В первом случае
необходимая поправка определяется
коэффициентом A>1>, оценка
которого в виде >
>,
(d>ср> – средний диаметр соленоида,
d>1> – диаметр
провода, которым выполнена обмотка)
имеет величину 1,025. Во втором случае для
расчета поправки была использована
известная формула: >
>,
где χ>T>
и χ – магнитная
восприимчивость тела и вещества
соответственно. Отличие χ>T>
и χ для МЖ с
магнитной восприимчивостью χ
порядка 10 с учетом величины размагничивающего
фактора для N образцов в ячейке с
данными параметрами составляет около
0,8 %.
Экспериментальная установка:

Рис.1. Схема измерительной ячейки для исследования магнитных свойств МЖ в полях напряженностью до 60 кА/м: 1 – намагничивающий соленоид, 2 – измерительная катушка, 3 – контейнер с магнитной жидкостью, 4 – термостатирующая оболочка.
1.Метод выдергивания (удаления) образца из поля
В качестве намагничивающей системы используется соленоид (длина 60 см, внутренний диаметр 7 см). Обмотка измерительной катушки 2 содержит 5210 витков медного провода диаметром 0,14 мм. Стеклянный цилиндрический контейнер 3 с магнитной жидкостью (внутренний диаметр 0,7 длина 37 см) помещается в измерительную катушку, расположенную в средней части соленоида. Так же как и в предыдущем случае проводится термостатирование контейнера с образцом, а контроль температуры осуществляется с помощью медь константановой термопары.
Изменение магнитного потока, пронизывающего витки измерительной при быстром (0,5 с ) извлечения из нее контейнера с образцом, определяется микровеберметром 4 (Ф 199). Расчет намагниченности М проводился по формуле:
>
>
где n - число витков измерительной
катушки, >
>-
площадь поперечного сечения образца.
Погрешность косвенных измерений
намагниченности М данным методом
рассчитывали как >
>
где >
>
- относительная погрешность измерения
магнитного потока, определенная из
паспортных данных прибора для рабочего
интервала измерений, >
>
- относительная погрешность измерения
внутреннего диаметра контейнера с МЖ,
измеренная микроскопом типа БМИ-1Ц.
Суммарная погрешность измерения,
определенная по данной формуле, составила
2,5% при измерениях в полях напряженностью
до 0,5кА/м и 1,5% при напряженностях до
60кА/м.
2. Мостовой метод.
Измерительная ячейка для определения абсолютных значений магнитной восприимчивости представляла собой бескаркасный однослойный соленоид (26 × 0,8 см). Он был изготовлен следующим образом. Стеклянная трубка на несколько секунд вносилась в сосуд с расплавленным парафином так, что ее стенки равномерно покрывались тонким слоем затвердевшего парафина.

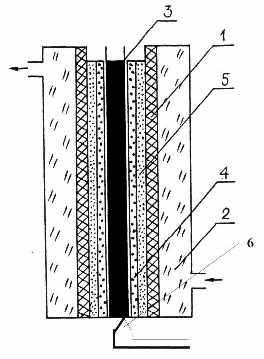
Рис. 2 Схема измерительной ячейки для температурных исследований магнитной восприимчивости МЖ: 1 – измерительный соленоид, 2 – термостатирующая оболочка, 3 – контейнер с магнитной жидкостью, 4 – нагреватель, 5 – пенопластовая прокладка, 6 – термопара.
Затем на трубку наносилась
обмотка проводом 0,2 мм виток к витку до
заполнения. На внешнюю сторону обмотки
наносили несколько слоев эпоксидного
клея. После его высыхания в трубку
наливалась жидкость, нагретая до
температуры, превышающей температуру
плавления парафина. При этом слой
парафина, покрывающий стенки трубки,
плавился, и обмотка свободно снималась
с трубки. Величина отношения длины
измерительного соленоида к его диаметру
1:32,5 была выбрана с целью повышения
однородности измерительного поля и
уменьшения размагничивания образца за
счет его конечной длины. Систематическая
погрешность, обусловленная конструктивными
особенностями данной ячейки, определяется
в основном двумя факторами: степенью
заполняемости поля соленоида образцом
и размагничиванием, вследствие не
замкнутости его формы. В первом случае
необходимая поправка определяется
коэффициентом A>1>,
оценка которого в виде >
>,
(d>ср>
– средний диаметр соленоида, d>1>
– диаметр провода, которым выполнена
обмотка) имеет величину 1,025. Во втором
случае для расчета поправки была
использована известная формула: >
>,
где χ>T>
и χ
– магнитная восприимчивость тела и
вещества соответственно. Отличие χ>T>
и χ
для МЖ с магнитной восприимчивостью χ
порядка 10 с учетом величины размагничивающего
фактора для N
образцов в ячейке с данными параметрами
составляет около 0,8 %.
Проведение эксперимента
А) Метод выдергивания (удаления) образца из поля:
Провести термостатирование.
Осуществить контроль температуры с помощью медь константановой термопары.
Определить изменение магнитного потока, пронизывающего витки измерительной при быстром (0,5 с ) извлечения из нее контейнера с образцом, с помощью микровеберметра 4 (Ф 199).
Произвести расчет намагниченности М по формуле:
>
>
где n - число витков измерительной
катушки, >
>-
площадь поперечного сечения образца.
Рассчитать погрешность косвенных
измерений намагниченности М данным
методом как >
>
где >
>
- относительная погрешность измерения
магнитного потока, определенная из
паспортных данных прибора для рабочего
интервала измерений, >
>
- относительная погрешность измерения
внутреннего диаметра контейнера с МЖ,
измеренная микроскопом типа БМИ-1Ц.
Определить суммарную погрешность измерения.
В) Мостовой метод:
Померить индуктивность и добротность пустой катушки .
Залить исследуемую жидкость в катушку, так чтобы её уровень был выше конца обмотки.
Измерить индуктивность и добротность заполненной катушки.
По полученным данным рассчитать магнитную восприимчивость данной жидкости.
Литература
Фертман Е.Е. Магнитные жидкости. – Минск: Вышейшая школа, 1988. – 184 с.
Блум Э.Я., Майоров М.М., Цеберс А.О. Магнитные жидкости. – Рига: Зинатне, 1986. – 386 с.
Чечерников В.И. Магнитные измерения.- М.: Изд. МГУ,
Касандрова О.А., Лебедев В.В. Обработка результатов наблюдений.- М.: Наука.- 1970.- 104 с.
Вонсовский С.В. Магнетизм. - М.: Наука, 1971. - 1032 с.
Диканский Ю.И., Кожевников В.М., Чеканов В.В. Магнитная восприимчивость и электропроводность магнитной жидкости при наличии структурных образований // В сб.: Физические свойства магнитных жидкостей. - Свердловск: УНЦ АН СССР, 1983.