Исследование структуры тонких полисилоксановых пленок, полученных в плазме разряда, при низких температурах
ИССЛЕДОВАНИЕ СТРУКТУРЫ ТОНКИХ ПОЛИСИЛОКСАНОВЫХ ПЛЕНОК, ПОЛУЧЕННЫХ В ПЛАЗМЕ РАЗРЯДА, ПРИ НИЗКИХ ТЕМПЕРАТУРАХ
В связи с перспективностью применения тонких (0,2—1 мкм) полимерных пленок в различных областях техники изучение структуры полимерных пленок представляет не только теоретический, но и практический интерес. Известно, что структура полимера, образованного из газовой фазы под действием плазмы разряда, зависит как от условий проведения полимеризации [1, 2], так и от структуры исходного соединения.
Ранее [3] методом ИК-спектроскопии исследована термическая деструкция тонких полисилоксановых пленок и показано, что в области температур 150—300° происходит структурирование полимера, приводящее к дополнительному сшиванию молекул вследствие отрыва органических групп. При этом полисилоксановые пленки толщиной 0,5—1 мкм оказались термически устойчивы вплоть до 500°.
Цель настоящей работы — исследование структуры тонких полисилоксановых пленок, полученных на поверхности металла полимеризацией из газовой фазы под действием плазмы разряда при 20-196°.
Образцы полисилоксановых пленок (0,2—1 мкм) получали по методике, описанной ранее [4], полимеризацией гексаметилдисилоксана (ГМДС) в тлеющем разряде переменного тока при следующих условиях: давление паров ГМДС в реакционной камере =И0 Па, плотность тока разряда 0,2—1,0 мА/см2, частота разряда 100 Гц. В качестве подложек использовали полированные пластины ситалла (48X60 мм), на которые предварительно методом термического напыления в вакууме осаждали пленки алюминия. Осаждение тонких полимерных пленок осуществляли как на электродах, так и на подложке, помещенной в плазму тлеющего разряда.
ИК-спектры полисилоксановых пленок снимали методом отражения от подложки [5] на автоматическом регистрирующем спектрофотометре ИКС-22 в отраженном свете при почти нормальном падении пучка, что удваивало поглощение. Такой же была схема и при низкотемпературных измерениях в вакуумном криостате с окнами из КРС-5, позволяющем плавно изменять температуру образца от —196 до 300° без нарушения вакуума в рабочей камере. Во всех измерениях использовали разработанные нами приставки, фокусирующие на образце уменьшенное в 1,6 раза изображение источника света (глобара) и передающие это изображение на щель спектрального прибора без изменения его размеров.
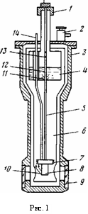
Для низкотемпературных исследований разработан специальный оптический криостат (рис. 1), в котором в качестве хладогента для создания низких температур использовали жидкий азот. Принцип работы криостата состоит в следующем. Жидкий азот из резервуара 4 по хладопроводу 5 поступал к держателю образца 8. После достижения образцом температуры кипения жидкого азота (-196°) перекрывали крышку 1 и пробку 11; при этом пары жидкого азота поступали к держателю образца через отверстие 13 и хладопровод 5. Вывод паров жидкого азота осуществляли через патрубок 14. Температуру образца во время записи спектров поддерживали постоянной (с точностью ±0,5°) при помощи системы терморегулирования на базе электронного стабилизатора низких температур типа ЭСНТ-1. Наличие в криостате окон на КРС-5 обеспечивало возможность записи ИК-спектров полисилоксановых пленок в требуемом спектральном диапазоне 2—15 мкм. Криостат крепили на зеркальной приставке и помещали в кюветное отделение спектрофотометра ИКС-22.

Рис. 1. Схема криостата: 1 — крышка, 2 — вакуумный вентиль, 3 — корпус, 4 - резервуар для хладоагента, 5 - хладопровод, 6 - вакуумная полость, 7 — электронагреватель, 8 — держатель образца, 9 — окно, 10 - датчик температуры, 11 — пробка, 12 — патрубок, 13 — отверстие для прохождения паров азота, 14 — патрубок

Рис. 2. ИК-спектры полисилоксановой пленки при 20 (а), -18 (б), -21 (в), -23 (г) и -196° (д)
Изучение ИК-спектров полисилоксановых пленок при комнатной температуре показывает, что характерными являются полосы поглощения, соответствующие маятниковым (845 см-1) и деформационным (1255 см-1) колебаниям метальных групп, антисимметричным валентным колебаниям кремнийкислородных мостиков Si—О—Si (1050 см-1) и валентным симметричным (2901 см-1) и антисимметричным колебаниям (2969 см-1) связи С—Н в метильной группе. Кроме того, в ИК-спектре пленки, полученной на металлической подложке, содержатся полосы поглощения в области 1720 и 3400 см-1, свидетельствующие о присутствии карбоксильных и гид-роксильных групп.
Исследование ИК-спектров полимерных пленок при низких температурах показывает, что понижение температуры пленок от 20 до —196° вызывает значительные изменения в ИК-спектрах, причем изменения происходят в сравнительно узком температурном интервале вблизи —18-28°;
вне пределов этого интервала вид спектра практически не изменяется (рис. 2). Следует отметить, что такая закономерность характерна как для образцов, полученных в межэлектродном пространстве, так и для пленок, полученных на поверхности электрода.
Наибольшие изменения в ИК-спектре полисилоксановых пленок наблюдаются в области валентных колебаний групп Si—О—Si, где на участке спектра 930—1160 см-1 возникают 10 новых полос поглощения.


Рис. 3. Отнесение максимумов «тонкой» структуры полос v>as> Si—О—Si в низкотемпературном (-196°) спектре полисилоксановых пленок (по оси ординат — оптическая плотность пленок) (а) и схема соответствующих переходов (за ноль масштаба энергий принят основной уровень N>as>=0, ге=0, 1=0) (б). Пояснение в тексте
Кроме того, появляется сильная полоса при 754 см-1, связанная, по-видимому, с крутильными колебаниями группы — СН>3> относительно связи Si—С и интенсивная полоса поглощения при 1296 см"1, соответствующая деформационным колебаниям групп Si—СН>3>. Резко усиливаются полосы поглощения, обусловленные колебаниями карбоксильной группы (1720 см-1), и полосы валентных симметричных (2901 см-1) и антисимметричных (2960 см-1) колебаний связи С—Н в метальной группе, а в области 1350—1600 см-1 возникает ряд дополнительных более слабых полос поглощения, связанных с колебаниями групп —СН>3>, —ОСН>3>, —С—С—.
Наибольший интерес, естественно, вызывает группа полос поглощения в области 930—1160 см-1 (она оказалась наиболее чувствительной к технологии изготовления пленок в зависимости от условий проведения полимеризации). Аналогичную структуру наблюдали в работе [6] при исследовании ИК-спектра поглощения мономера — гексаметилдисилоксана, замороженного до температуры —150°. Возникновение новых полос поглощения авторы объясняли взаимодействием валентных асимметричных колебаний v„, группы Si—О—Si с низкочастотными внутримолекулярными движениями двух родов, а именно деформационными колебаниями б группы Si—О—Si и крутильными колебаниями групп т Si—(СН>3>)>3>.
Характерно отметить, что большинство из наблюдаемых в низкотемпературном ИК-спектре полисилоксановых пленок полос поглощения хорошо вписывается в схему, предложенную в работе [6] для исходного мономера — гексаметилдисилоксана.

Рис. 4. ИК-спектр полисилоксановых пленок при —196°. Пленки получены в межэлектродном пространстве (а - в) и на поверхности электродов (г - е) при плотности тока разряда: 0,2 (а, г); 0,5 (б, д) и 1,2 мА/см2 (в, е)
На рис. 3 показано отнесение максимумов полос поглощения v>as>> >Si—О—Si в низкотемпературном (—196°) спектре полисилоксановых пленок и схема соответствующих переходов; индексами N, п я I обозначены соответственно квантовые числа колебаний v>as>, бит. Так, согласно приведенной схеме, полоса поглощения при 1027 см-1 соответствует переходу из состояния, описываемого квантовыми числами ООО, в состояние, где возбуждаются только валентные асимметричные колебания мостика Si—О—Si. Полоса поглощения при 1142 см-1 связана с возбуждением как валентных, так и деформационных колебаний силоксанового мостика.
Однако предложенная схема объясняет происхождение лишь самых интенсивных полос поглощения в низкотемпературном спектре. Более слабые полосы поглощения, например при 1001, 1011, 1048 и 1126 см-1, в спектре чистого мономера, по-видимому, не должны наблюдаться, так как соответствующие им переходы (на схеме они обозначены пунктиром) запрещены правилами отбора А>1>=0. Тем не менее в ИК-спектре полисилоксановой пленки указанные полосы поглощения присутствуют.
Это свидетельствует о том, что в результате осаждения полисилоксановых пленок в плазме тлеющего разряда происходит неполная полимеризация гексаметилдисилоксана. По-видимому, незаполимеризованный мономер, присутствующий в пленке, достаточно равномерно распределен в объеме полимера. При этом первый, наиболее гладкий, прочный и «сшитый» слой полимера, с хорошей адгезией, толщиной <0,01 мкм образуется в результате поверхностной полимеризации адсорбированных на подложке мономолекулярных слоев мономера под действием частиц высокой энергии, создаваемой в тлеющем разряде. Осаждение последующих слоев полимера происходит различным образом в зависимости от параметров тлеющего разряда, при этом может наблюдаться образование в слое каплеобразных структур [7]. Самую верхнюю фазу полимерного слоя можно рассматривать как своего рода раствор мономера в полимере. Под верхним слоем слабосшитого полимера находится более прочный и жесткий промежуточный слой, образование которого обусловлено действием электронов, проникающих вглубь полимера и реагирующих с оставшимся адсорбированным мономером. Взаимодействие молекул непрореагировавшего мономера с полимерной матрицей, вероятно, и снимает запрет с переходов, для которых А>1>=0. Влиянием такого взаимодействия окружения можно также объяснить и некоторое отличие в расстояниях между уровнями. Таким образом, можно предположить, что основной причиной возникновения дополнительных полос поглощения в ИК-спектрах полисилоксановых пленок при низких температурах является присутствие в пленке исходного мономера.
Полученные результаты находятся в соответствии с данными электрофизических измерений полисилоксановых пленок. Исследование влияния низких температур на диэлектрические свойства полисилоксановых пленок показало, что в области низких температур наблюдается максимум диэлектрической проницаемости и потерь.
Появление низкочастотных максимумов диэлектрической проницаемости и потерь в области низких температур связано с наличием в полимере низкомолекулярной фазы — непрореагировавшего мономера [8]. Характерно отметить, что максимум диэлектрических потерь наблюдается при —20°; возникновение в ИК-спектре поглощения полисилоксановых пленок новых полос поглощения также происходит при температуре —20°.
Представляло интерес изучить влияние условий проведения полимеризации на структуру образующихся полимерных пленок. Для этих исследований полимерные пленки получали как на поверхности электродов, так и на подложках, помещенных в плазму тлеющего разряда. При этом в ИК-спектрах всех исследованных образцов при низких температурах появляется ряд дополнительных полос (рис. 4). Наибольшее число дополнительных полос как для полимерных пленок, полученных на поверхности электродов «электродных» образцов, так и для пленок, полученных на подложках, помещенных в плазму тлеющего разряда «плазменных» образцов, возникает в области валентного антисимметричного колебания силоксановых групп —1027 см"1 и полосы симметричных деформационных колебаний метильных групп ~1270 см-1. Наряду с появлением новых полос при уменьшении температуры наблюдается рост интенсивности полос поглощения: среди них полоса поглощения с частотой 755 см-1, соответствующая валентным колебаниям метилсилильных групп, полосы поглощения с частотой 1420 и 1460 см-1, которые относят к деформационным колебаниям метильных групп, а также полосы поглощения с частотой 1600 и 1720 см-1, относящиеся к валентным колебаниям связи С=С и С=0 соответственно.
Кроме того, в длинноволновой части спектра наблюдается рост интенсивности полос поглощения с частотой 800 и 845 см-1, соответствующих валентным колебаниям ди- и триметилсилильных групп. В коротковолновой области появляются полосы поглощения валентных колебаний метильных групп (2901 и 2960 см-1), а также широкая полоса поглощения с частотой 3400 см-1, свидетельствующие о присутствии в пленке гидроксильных групп.
Исследование влияния плотности тока разряда на структуру полимерных пленок показало, что для «плазменных» образцов (рис. 4, а — в) вид спектра почти не изменялся при увеличении плотности тока разряда от 0,2 до 1 мА/см2, за исключением наблюдаемого уменьшения интенсивности полос поглощения валентных симметричных (2901 см-1) и антисимметричных колебаний (2960 см-1) колебаний связи С—Н в метильной группе.
ИК-спектры «электродных» образцов (рис. 4, г — е), полученных при низкой плотности тока разряда (до 0,5 мА/см2), оказались идентичными спектрам поглощения «плазменных» образцов. Увеличение плотности тока разряда сопровождалось уменьшением интенсивностей полос поглощения, соответствующих валентным колебаниям групп СН>3>, а также связей С=С и С=0 (1600, 1720 см-1). При плотности тока разряда 1,0 mA/gm2 практически исчезают дополнительные полосы в области валентных антисимметричных колебаний силоксановых групп и симметричных деформационных колебаний метильных групп. При этом наблюдается увеличение интенсивности полосы поглощения, соответствующей валентным антисимметричным колебаниям связи Si—О—Si, и уменьшение интенсивности полосы, относящейся к деформационным колебаниям метильных групп. Кроме того, следует также отметить, что с возрастанием плотности тока разряда происходит увеличение интенсивности полосы поглощения в области 3400 см~1, соответствующей колебаниям гидроксильной группы.
Относительное содержание метильных групп в тонких полисилоксановых пленках может быть оценено по интенсивности соответствующих спектральных полос поглощения. Отношение оптических плотностей полос поглощения валентных групп Si—О—Si и полос поглощения колебаний метильных групп дает, таким образом, примерную оценку содержания указанных групп. Оказалось, что отношение оптических плотностей полос валентных колебаний группы Si—О—Si к оптическим плотностям полос колебаний групп СН>з>. Для полимерных пленок, полученных на электродах, .с увеличением плотности тока о т 0,5 до 1,0 мА/см2 увеличивается от 1,5 до 1,8; для «плазменных» образцов отношение плотностей полос поглощения D>Si>->0>-sJDcH>3> оставалось практически постоянным и равным 1,55—1,59.
Такая закономерность свидетельствует о том, что в случае получения пленок на электродах при полимеризации происходит более глубокое расщепление молекул исходного кремнийорганического соединения, которое приводит к увеличению степени сшивания макромолекул. Это становится ясным, если связать изменение структуры с изменением энергии частиц, бомбардирующих растущую полимерную пленку. Энергия ионов, поступающих на электрод, достигает сотен эВ, тогда как энергия электронов и ионов, поступающих на подложку, помещенную в плазму разряда, на несколько порядков меньше.
Следует учесть существенное различие в потоках ионов, поступающих на электрод и на подложку. Значительно больший дрейфовый поток ионов, бомбардирующих электрод, может также вызвать более интенсивную деструкцию мономера.
Кроме того, изолированная подложка, помещенная в плазму тлеющего разряда, заряжена до значения «плавающего» потенциала, определяемого равновесными токами электронов и ионов на поверхности подложки [4]. Потенциал поверхности подложки относительно плазмы отрицателен в силу неизотермичности плазмы тлеющего разряда. Поле у поверхности подложки, образованное «плавающим» потенциалом, и ускоряющее положительные ионы значительно слабее полей в приэлектродных областях. Поэтому энергия и плотность тока ионов, поступающих на изолированную подложку, меньше энергии и плотности тока ионов, поступающих на электроды.
Таким образом, изменение плотности тока разряда практически не приводит к существенным структурным изменениям в «плазменных» образцах, в то время как структура «электродных» образцов в значительной степени зависит от условий проведения полимеризации.
Данные спектрометрических исследований и результаты элементного состава полисилоксановых пленок, полученных на поверхности электродов и на подложках, помещенных в плазму разряда, показали общую закономерность — наличие кислорода в полимерных пленках. Аналогичное явление наблюдали в работе [9]. Оно может быть связано с окислением пленок на воздухе, а также с поглощением пленкой паров воды. Не исключено, что адсорбированная вода влияет на протекание в пленке вторичных процессов, приводящих к изменению структуры первичного полимера.
Кроме того, в ИК-спектре полимерной пленки, полученной на поверхности электрода, обнаружена широкая полоса поглощения в области 3400 см-1, соответствующая гидроксильным группам, и полоса поглощения при 1720 см-1, что указывает на присутствие в пленке карбонильных групп. Образование этих групп, вероятно, связано с наличием в пленке свободных радикалов [10], которые подвергаются перекисному окислению кислородом воздуха. Не исключена возможность присоединения кислорода по двойным связям полимерных молекул [11]. Если предположить, что полимеры, полученные в тлеющем разряде, имеют радикальные дислокации, то доступ кислорода вполне возможен. Такие дислокации быстро реагируют с кислородом, образуя перекисные радикалы.
Одним из возможных путей повышения стабильности свойств пленок является термическая обработка их в вакууме, так как в этих условиях происходит рекомбинация свободных радикалов, термическая деструкция макромолекул с преимущественным отщеплением кислородсодержащих групп.

Рис. 5. ИК-спектр полисилоксановой пленки при —196°: а — исходная пленка, 6 — после нагревания в атмосфере водорода при 250° 30 мин, в - после нагревания в вакууме (=5-10—3 Па) при 25СГ 30 мин
С целью изучения условий стабилизации свойств полимерных пленок, полученных в межэлектродном пространстве, образцы нагревали в вакууме при давлении 5 10~3 Па и температуре 250° в течение 30 мин и регистрировали ИК-спектры при температуре—196°. Оказалось, что такая обработка образца приводит к исчезновению дополнительных полос поглощения с частотой 1084 и 1142 см-1 и полосы поглощения с частотой 3400 см-1, соответствующей гидроксильной группе в полимере (рис. 5).
Следует указать, что после нагревания полисилоксановой пленки в атмосфере водорода при 250° в течение 30 мин в ИК-спектре наблюдается понижение интенсивности полосы в области 1260 см-1, характерной для деформационных колебаний метальной группы, связанной с атомом кремния, а также полное исчезновение полос поглощения с частотой 1340, 1125 и 1142 см-1. Уменьшение содержания метальных групп может быть обусловлено их частичным отрывом, в результате чего происходит дополнительное сшивание макромолекул, сопровождающееся структурными перестройками в полимере. После выдерживания полимерных пленок в течение 1 месяца на воздухе не было обнаружено никаких видимых изменений рассматриваемых спектральных полос, что может быть связано с дополнительным структурированием полимера и исчезновением непрореагировавшего мономера в пленке. Однако следует отметить, что нахождение пленок на воздухе сопровождалось увеличением интенсивности полосы поглощения с частотой 3400 см-1 до первоначального значения. Это указывает на обратимую адсорбцию влаги поверхностью пленки из атмосферы воздуха.
ЛИТЕРАТУРА
Ткачук Б. В., Марусий Н. Я., Лауре Е. П., Маторин Е. М. Высокомол. соед. А, 1974, т. 16, № 7, с. 1604.
Ткачук Б. В., Шустов А. И. Химия высоких энергий, 1975, т. 9, с. (468.
Ткачук Б. В., Колотыркин В. М., Кирей Г. Г. Высокомолек. соед. А, 1968, т. 10, № 3, с. 585.
Ткачук Б. В., Колотыркин В. М. Получение тонких полимерных пленок из газовой фазы. М.: Химия, 1977.
Калюжный В. М., Картужанский А. Л., Ткачук Б. В., Цендровский В. А. Ж. научи, и прикл. фотографии и кинематографии, 1978, т. 23, № 2, с. 108.
Лазарев А. Н., Тенишева Т. Ф. Оптика и спектроскопия, 1965, т. 8, вып. 2, с. 217.
Grebovicz J., Pakula Т., Wrobel А. М., Kryszewski М. Thin Solid Films, 1980, v. 65, № 3, p. 351.
Ткачук Б. В., Кобцев Ю. Д., Лауре Е. П., Михальченко В. И. Электротехн. пром-сть. Сер. Материалы, 1977, вып. 1, с. 8.
Гильман А. Б., Колотыркин В. М., Туницкий Н. Н. Кинетика и катализ, 1970, т. 11, № 5, с. 1267.
Ткачук Б. В., Ганюк Л. Н., Лауре Е. П. Химия высоких энергий, 1977, т. 11, № 5, с. 350.
Романенко Е. А., Ткачук Б. В. Ж. прикл. спектроскопии, 1973, т. 18, № 2, с. 551.