Кальцинация гидрокарбоната
КАЛЬЦИНАЦИЯ ГИДРОКАРБОНАТА
ФИЗИКО-ХИМИЧЕСКИЕ ОСНОВЫ ПРОЦЕССА
Осажденный в процессе карбонизации гидрокарбонат натрия отделяется от маточной (фильтровой) жидкости на обычных барабанных вакуум-фильтрах и при нагревании подвергается разложению, или кальцинации.
Опыт показывает, что аммиак нельзя отмыть при промывке осадка, его не удается полностью удалить даже при нагревании до 100 °С. С помощью химического анализа установлено, что аммиак в техническом гидрокарбонате находится в виде карбамата натрия. Выделение его в твердую фазу происходит на протяжении всего процесса кристаллизации NaHCО>3> в карбонизационной колонне, т. е. карбамат натрия соосаждается вместе с гидрокарбонатом натрия. Его кристаллы включаются в кристаллическую решетку NaHCО>3>, что и объясняет трудность удаления аммиака путем промывки.
Карбонат натрия Na>2>CО>3> может образоваться при гидролизе NaHCО>3> и декарбонизации растворенного NaHCО>3>, на фильтpax. Объяснить присутствие Na>2>CО>3> в техническом гидрокарбонате кристаллизацией Na>2>CО>3> в процессе карбонизации нельзя ввиду малой концентрации СО>3>2~ в карбонизуемом растворе.
При снижении давления СО>2> над суспензией при выходе ее из карбонизационной колонны и на вакуум-фильтре протекает процесс ретроградации, т. е. переход осажденного NaHCО>3 >в раствор и его взаимодействие с NH>4>C1. В результате этого, а также вследствие растворения NaHCО>3> в промывной воде, наблюдается повышение прямого титра жидкости после фильтров на 0,5—1,5 н. д., несмотря на разбавление ее промывной водой и выдувание на фильтре некоторого количества аммиака. Степень использования (f/>Na>) после фильтров уменьшается примерно на 2,5% по сравнению с этим показателем для суспензии, выходящей из колонны, где U^>a> в среднем составляет 73%. Следовательно, потери NaHCО>3> на фильтрах достигают примерно 3,5%.
Отфильтрованный и промытый осадок гидрокарбоната натрия подвергается термическому разложению — кальцинации. Сухой NaHCО>3> разлагается по реакции:
(1)
С повышением температуры равновесие реакции сдвигается вправо. С точки зрения правила фаз эта система имеет одну степень свободы. Следовательно, равновесное давление газовой фазы будет зависеть только от температуры.
При разложении влажного гидрокарбоната количество компонентов и фаз увеличивается на единицу, а, следовательно, система остается моновариантной, т. е. и для влажной соли NaHCО>3 >каждой температуре будет соответствовать определенное равновесное давление газовой фазы.
Влага в гидрокарбонате по существу является его насыщенным раствором, поэтому равновесное давление газовой фазы над влажным NaHCО>3> определяется равновесным давлением над насыщенным раствором этой соли. При данной температуре это давление выше, чем над сухим гидрокарбонатом. Поэтому при нагревании влажной соли вначале разлагается растворенный гидрокарбонат с выделением в газовую фазу не только влаги, но и диоксида углерода (рис. 38). После удаления влаги равновесное давление над оставшимся сухим гидрокарбонатом снижается, в связи с чем его разложение становится затруднительным. С помощью термограмм было установлено, что разложение сухого NaHCО>3> при суммарном давлении образующихся С0>2> и Н>2>0, равном 98 кПа (1 кгс/см2), протекает при 120°С по реакции (1).
Влажный NaHCО>3>, как видно из рис. 38, может разлагаться и при температуре 110°С. При доступе в зону разложения воздуха или другого газа, снижающего суммарное давление Рсо>2>+Рн>2>о над осадком, разложение может протекать и при более низких температурах.
ТЕХНОЛОГИЧЕСКАЯ СХЕМА ПРОЦЕССА КАЛЬЦИНАЦИИ
На рис. показана технологическая схема процесса кальцинации с использованием огневых с наружным факельным обогревом печей, работающих с применением ретурной соды.
Суспензия, получаемая в колоннах и содержащая 26% (масс.) осажденного NaHCО>3>, поступает на вакуум-фильтры 6, где осадок отделяется от маточной жидкости. Вместе с промывной водой маточник направляется в отделение дистилляции для регенерации аммиака. Воздух, прошедший через слой осадка и фильтрующую ткань, отсасывается из сепаратора фильтра вакуум-насосом через промыватель воздуха фильтров (ПВФЛ), находящийся в отделении абсорбции.
Промытый сырой NaHCО3 с вакуум-фильтра подается скребковым или ленточным транспортером 4 в приемник 3 с вертикальной мешалкой, которая разрыхляет и проталкивает сырую соль в питатель 2 и далее в смеситель /. Сюда же шнековым транспортером 7 подается горячая ретурная сода в заданном соотношении. Полученная смесь поступает далее во вращающуюся барабанную содовую печь 22, где и протекает процесс кальцинации.
Готовая сода из содовой печи с помощью выгружного шнека 17 и передаточного шнека 18 передается в общий сборный шнековый транспортер 19, а затем к элеватору 16. Элеватор разгружает соду на транспортер И, из которого с помощью распределительного шнека 9 часть соды (ретур) распределяется по содовым печам, а часть — готовая продукция — передается на склад в бункеры 15 транспортером 8. В Стерлитамакском ПО «Сода» движение сырого гидрокарбоната к печам и готовой соды несколько иное, однако для условий работы ретурной печи принципиального значения это не имеет.

Технологическая схема отделения кальцинации с ретурным питанием содовых печей: 1 — смеситель; 2 — питатель; 3 — приемник; 4 — скребковый транспортер; 5 — бункер- 6 — вакуум-фильтр; 7, 11, 18, 19 — шнековые транспортеры; 8, 9 — транспортные трубы- ' 10 — циклон; 12 — коллектор газа содовых печей; 13 — холодильник газа содовых печей- 14 — промыватель газа содовых печей; 15 — сборник слабой жидкости- 16 — элеватор, 17 — выгружной шнек; 20 — боров; 21 — газоход; 22 — содовая печь- 23 — топка
Газ, выходящий из содовых печей при 150°С, содержит СО>2>, NH>3>, водяной пар и содовую пыль и направляется в циклон 10, где большая часть содовой пыли улавливается и передается обратно в содовую печь шнековым транспортером 7. Из циклона газ поступает в общий для всех печей газоход 12 — коллектор газа содовых печей, орошаемый внутри слабой жидкостью, которую получают при охлаждении газа в том же коллекторе до 80 °С и далее в холодильнике газа содовых печей (ХГСП) 13 до 38 °С.
Образующийся конденсат извлекает из газа оставшуюся после циклона содовую пыль, NH>3> и СО>2>. Этот раствор, содержащий Na>2>C0>3>, NаНСОз и углеаммонийные соли, называют слабой жидкостью. Часть этой жидкости возвращается обратно на орошение коллектора газа содовых печей, а часть направляется в отделение дистилляции для отгонки NH>3> и С0>2> и затем — на вакуум-фильтры для промывки гидрокарбоната натрия.
Коллектор газа содовых печей имеет уклон в сторону холодильника ХГСП, поэтому слабая жидкость из коллектора стекает в холодильник, орошая охлаждающие трубки, и вместе с дополнительно образующимся в холодильнике 13 конденсатом стекает в сборник слабой жидкости 15. В холодильнике 13 газ идет сверху вниз в межтрубном пространстве, а в трубках противотоком проходит охлаждающая вода.
В ХГСП поступает также газ из ПГАБ с целью использования диоксида углерода, оставшегося в газе после аммонизации рассола. Из ХГСП газ идет для окончательной очистки и охлаждения в промыватель газа содовых печей (ПГСП) 14 скрубберного типа, в котором хордовая насадка орошается сверху водой. Скрубберную жидкость после ПГСП добавляют к слабой жидкости. Охлажденный и очищенный газ после ПГСП смешивают с газом известковых печей и подают компрессором в карбонизационные колонны. На некоторых содовых заводах холодильник и промыватель газа содовых печей объединены в одну колонну.
На содовых заводах имеются схемы кальцинации, в которых ретурная сода не применяется. В этом случае сырой гидрокарбонат с помощью специального устройства забрасывается вглубь содовой печи, где уже имеется сода, которая в данном случае и выполняет роль ретурной. Глубина заброса до 9,5 м. При безретурном питании печей упрощается транспортирование готовой соды. Сырой гидрокарбонат из приемника 3 идет в аппарат-забрасыватель, который монтируется на месте смесителя /. При этом температура кальцинации возрастает.
Корпус забрасывателя охлаждается водой, подаваемой в рубашку, что уменьшает возможность налипания сырой соли к стенкам забрасывателя. При безретурном питании шнековые транспортеры 11 и 9 используются только для заполнения печей содой перед пуском их в работу после ремонта.
Содовые печи. На содовых заводах применяются содовые печи.
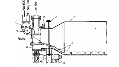
На рис. 1 и 2 показана огневая содовая печь с ретурным питанием со стороны ее загрузки и выгрузки соответственно. Горловина передней части, как это видно из рис. 1, входит в. неподвижную загрузочную камеру 8. Вращающаяся горловина уплотнена с помощью сальника 2, в котором она может перемещаться вдоль оси барабана при изменении его длины в процессе обогрева. Загрузочная камера имеет вытяжную трубу для отвода газов, выделяющихся при кальцинации. С внутренней стороны загрузочной камеры прикреплена зубчатая цепь 5, которая служит для очистки внутренней поверхности барабана от возможных содовых отложений, для измельчения комков соды и перемешивания. Цепь состоит из отдельных массивных чугунных звеньев массой до 135 кг, шарнирно связанных друг с другом.
Загрузка гидрокарбоната и ретурной соды производится с помощью смесителя 1 и питателя 9. При смешивании сырого бикарбоната с ретурной горячей содой, как было упомянуто выше, происходит разложение карбамата натрия с выделением аммиака в газовую фазу. Поэтому питатель-смеситель должен быть герметичным.
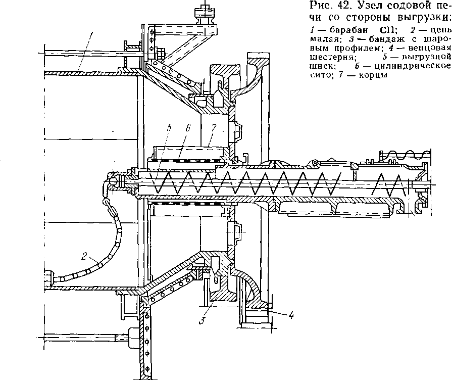
Горловина задней разгрузочной камеры печи 1 закрыта крышкой с центральным отверстием для ввода в печь выгружного шнека 5.
Корпус шнека сверху имеет вырез для поступления соды. Для герметизации шнека его винт сделан с разрывом, что обеспечивает создание содовой пробки, препятствующей прорыву газа из печи.
Вокруг шнека вместе с барабаном вращается цилиндрическое сито 6, прикрепленное к крышке печи. На внешней поверхности сита (по его образующим) имеются восемь корцов-лопаток. При вращении барабана корцы забирают соду в нижнем положении и ссыпают ее на сито в верхнем положении. Прошедшая через сито сода попадает в шнек и перемещается к разгрузочному штуцеру. Крупные комки соды ссыпаются с сита обратно в печь, где постепенно измельчаются. При остановке печи на ремонт к ситу прикрепляют специальную лопатку, доходящую до стенок барабана, которая вычерпывает полностью соду из печи.

Узел содовой печи со стороны загрузки: 1 — смеситель сырого NaHCO>3> и ретурной соды; 2 —уплотнение содовой печи; 3 — бандаж содовой печи; 4 — содовая печь; 5 — цепь содовой печи; 6 — подшипник опорного ролика; 7 —опорный ролик; 8 — неподвижная крышка (загрузочная камера); 9 — механизм забрасывателя (питатель)
Барабан печи с помощью венцовой шестерни вращается с частотой 5 об/мин от электродвигателя через редуктор (на рис. не показаны). Своими бандажами 3 содовая печь опирается на две пары роликов. Задние ролики снабжены ребордами, фиксирующими положение конца барабана. Передняя пара опорных роликов не имеет ребордов. Благодаря этому при удлинении барабана вследствие нагревания смещается только передний его край, что дает возможность измерить удлинение барабана, а, следовательно, и степень его нагрева.
Для обогрева содовых печей можно применять топливо любых видов. При работе на угле конструкция топки усложняется необходимостью помещения в нее колосниковой решетки и приспособления для удаления золы. Твердое топливо усложняет его транспортирование к цеху и распределение по печам, ухудшает условия труда и затрудняет эксплуатацию печей, особенно при вынужденной аварийной остановке печи. Поэтому предпочтительными являются жидкое и главным образом газовое топливо, последнее имеет преимущество и с экономической точки зрения.

Для равномерного обогрева барабана печи горелки для сжигания природного газа необходимо располагать не только по длине топки, но и вдоль барабана на расстоянии порядка 10 м. Применяют так называемые беспламенные панельные горелки с керамической насадкой, температура ее излучающей поверхности 900—950°С. Более низкая температура по сравнению с температурой излучающего газового потока (1300°С) при факельном сжигании топлива улучшает условия работы огнеупорной обмуровки и увеличивает продолжительность межремонтного пробега печи.
Панельные беспламенные горелки позволяют сжигать природный газ с небольшим избытком воздуха а=1,05—1,10, что способствует снижению потерь тепла с отходящими топочными газами. Отходящие топочные газы при температуре 400—500 °С полезно использовать в рекуператоре тепла для подогрева воздуха, поступающего на сжигание топлива, или в котле-утилизаторе для получения пара. Наличие рекуператора позволяет использовать до 5% тепла.
Паровой кальцинатор. В последнее время для кальцинации гидрокарбоната вместо огневого обогрева барабана содовой печи стали применять в качестве теплоносителя пар. Известно, что интенсивность теплопередачи от конденсирующего пара во много раз выше, чем от топочных газов. В паровых кальцинаторах отсутствует вредное влияние высоких температур топочных газов на барабан печи. При одинаковой мощности аппаратов объем помещения, занимаемого паровым кальцинатором, значительно меньше. Следует отметить отсутствие громоздкой, подверженной износу огнеупорной обмуровки, меньшую стоимость аппарата и низкие расходы по эксплуатации. Недостатками паровых кальцинаторов являются повышенная стоимость пара по сравнению с газовым и жидким топливом и большой унос содовой пыли в процессе кальцинации.
Устройство парового кальцинатора показано на рис. 3. Внутри вращающегося стального барабана 1 расположены концентрически три ряда теплопередающих труб 3, развальцованных на концах в стенках кольцевых камер 5. Барабан кальцинатора и обогревающие трубы имеют уклон в сторону выгрузки соды, которая выходит из кальцинатора через выгружной карман 9. Пар подают в кольцевую паровую камеру 5 через штуцер в неподвижной части печи и далее по центральной трубе 8 и отходящим от нее к паровой камере трем патрубкам 6.
Конденсат из труб стекает в паровую камеру и из нее через ряд отверстий — в кольцевую камеру конденсата 10, которая разделена перегородками на три секции. Каждая перегородка с одной стороны имеет упомянутые выше отверстия для стока конденсата, а с другой — отверстие 4 и трубопровод 7 для вывода конденсата из кальцинатора. Попавший в секцию при нижнем ее положении конденсат в процессе вращения барабана вытекает с другого конца секции по трубопроводу 7 и далее выводится из кальцинатора.
Кальцинатор работает с вводом ретурной соды. Загрузочный механизм аналогичен механизму огневых печей с ретурным питанием: гидрокарбонат смешивается в смесителе с ретурной содой и подается в барабан кальцинатора. Наружная поверхность кальцинатора имеет теплоизоляцию 2. Кальцинатор обогревается паром под давлением 2,5—3,5 МПа (25—35 кгс/см2). Температура соды достигает 190—250 °С, поэтому получаемый продукт имеет более высокую насыпную плотность.
Скорость кальцинации при столь высоких температурах выше, чем в огневых содовых печах. Паровые кальцинаторы отличаются высокоразвитой поверхностью нагрева. Обогревающие трубы для увеличения поверхности снабжены по всей длине поперечным оребрением. При одинаковых размерах производительность паровых кальцинаторов больше, чем огневых содовых печей.
Производительность парового кальцинатора с барабаном длиной 20 м и диаметром 2,6 м достигает 300 т/сут в пересчете на 95%-ную Na>2>C0>3> при влажности гидрокарбоната 16% и влажности смеси с ретуром 6%. Расход пара при давлении2,5—3,5 МПа составляет 1,2—1,7 т. Частота вращения барабана 7 об/мин. Степень заполнения барабана 30%. Паровые кальцинаторы диаметром 3 м и длиной 33 м выпускают в сутки до 600 т соды.

Перспективной конструкцией является паровой кальцинатор с греющими трубками, помещенными в кипящий слой кальцинируемого материала. Такой аппарат дешевле и проще по конструкции. Существенным достоинством печи с кипящим слоем является отсутствие вращающихся частей. Проектируемая мощность такой печи достигает 600—700 т/сут. Кипение слоя достигается подачей ретурного газа, т. е. газа, вышедшего из кальцинатора после очистки от содовой пыли и подогрева. Благодаря интенсивному перемешиванию материала в кипящем слое обеспечиваются хороший теплообмен, равномерность нагрева и невысокая температура выходящей соды.
Теоретическое количество ретурной соды, подаваемой в ретурную содовую печь или в паровой кальцинатор, можно рассчитать, если предположить, что вся свободная влага в сыром гидрокарбонате должна войти в состав троны согласно реакции (2). Из реакции следует, что для связывания 1 кг влаги необходимо затратить 2,94 кг 100%-ной соды. Так как ретурная сода содержит не 100% Nа>2>СОз, а в среднем 98%, расход ее на 1 кг влаги будет равен 2,94(100 : 98) =3,04 кг.
При средней влажности сырого гидрокарбоната, равной 17%, 1 кг его содержит 0,17 кг воды. Расход 98%-ной соды для связывания 0,17 кг влаги составит 3,04-0,17=0,517 кг. Эта величина получена при условии идеального смешения гидрокарбоната с ретурной содой. Так как на практике достичь идеального смешения не удается, количество ретура увеличивают до 0,75— 1,0 кг на 1 кг сырого гидрокарбоната.
Вакуум-фильтры. Для фильтрования NaHCО>3> чаще всего применяются барабанные вакуум-фильтры. В настоящее время наиболее вероятно применение центрифуг для отжатия влаги из гидрокарбоната, отфильтрованного на барабанных вакуум-фильтрах. Это позволит снизить влажность NaHCО>3> в два-три раза и тем самым облегчит работу и повысит мощность содовых печей.
Возможно также использование центрифуг совместно с гидроциклоном или с гравитационным отстойником, в котором суспензия гидрокарбоната предварительно подвергается разделению. Осветленную часть из отстойника далее направляют в отделение дистилляции, а сгущенную часть — в центрифугу. Промытый и отжатый на центрифуге гидрокарбонат направляют на кальцинацию, а маточник, содержащий мелкие кристаллы NaHCO>3>, возвращается в отстойник. Подобное применение центрифуг в значительной мере зависит от качества кристаллов гидрокарбоната, что является недостатком этих аппаратов.
Конструкция барабанных вакуум-фильтров и принцип их действия широко известны и здесь не излагаются. В качестве фильтрующей ткани применяется шерстяная байка с длинным ворсом или сукно. Эти ткани, в отличие от хлопчатобумажных, имеют равномерную пористость, не изменяющуюся в процессе эксплуатации. Под этой тканью располагают редкую сетку из кордовых ниток или шпагата. В качестве основы под фильтрующий материал применяют сетку из капронового шелка, отличающегося хорошими эксплуатационными показателями. Срок службы такой сетки значительно больше, чем сетки, изготовляемой из вискозных ниток. Начали применять и просто мелкую металлическую сетку.
Расход промывной воды (слабой жидкости) составляет 0,3—0,5 м3/т соды.
На содовых заводах широко используется вакуум-фильтр с поверхностью фильтрации 5,6 м2, имеющий барабан диаметром 1,8 м и длиной 1,0 м и частотой вращения 0,73—3,0 об/мин. Производительность фильтра 9,5—12,3 т влажного бикарбоната в 1 ч при средней влажности осадка 16—17%.
Применяются также вакуум-фильтры с поверхностью фильтрации до 32 м2 с несколькими отжимными роликами.
Барабан, распределительную головку и корыто фильтра изготовляют из щелочестойкого чугуна, содержащего 0,3—0,5% никеля и 0,4—0,6% хрома, мешалку фильтра — из углеродистой стали марки Ст.З, срезающий нож — из нержавеющей хромоникелевой стали, содержащей 18% хрома, 9% никеля и 1—2% титана.
Циклон —аппарат, улавливающий содовую пыль из газа содовых печей, имеет следующие специфические для содового производства особенности: в циклоне недопустима конденсация из газа водяного пара, парциальное давление которого в газе содовых печей составляет примерно 60 кПа (0,6 кгс/см2), а следовательно, температура конденсации равна примерно 80°С. Для предотвращения конденсации циклон теплоизолирован.
В циклоне с механической выгрузкой соды установлена мешалка, которая сдвигает к выгрузному отверстию улавливаемую содовую пыль и, кроме того, очищает от соды внутреннюю поверхность циклона и наружную поверхность центральной трубы, выводящей газ из циклона.
На содовых заводах, где содовый раствор может быть использован, например, для получения каустической соды известковым способом или очищенного гидрокарбоната, можно применять мокрую очистку газа от содовой пыли в скрубберном промывателе, орошаемом водой. В этом случае, чтобы исключить поглощение аммиака, содержащегося в газе содовых печей, применяют горячую воду (температура 70—80 °С).
Холодильник газа содовых печей состоит из ряда соединенных друг с другом холодильных царг (бочек), аналогичных применяемым в карбонизационной колонне. Газ и слабая жидкость из коллектора газа содовых печей поступают сверху в межтрубное пространство и движутся вниз. Противотоком газу в трубах идет охлаждающая вода. Для получения 1 т/сут соды необходимо около 2 м2 охлаждающей поверхности труб.
Промыватель газа содовых печей — чугунный аппарат скрубберного типа диаметром 2—2,8 м и высотой 10—14 м. На высоту 7—10 м аппарат заполнен хордовой деревянной насадкой или кольцами Рашига, орошаемыми водой.
Транспортирование сырого гидрокарбоната осуществляется с помощью скребковых или ленточных транспортеров. Сухая горячая сода пылит, поэтому для ее транспортирования используются закрытые транспортеры — шнековые или трубчатые — в виде опирающейся на ролики вращающейся трубы, внутри которой укреплена винтовая поверхность, при вращении передвигающая гидрокарбонат вдоль трубы. Такие трубчатые транспортеры одновременно могут служить и для охлаждения горячей соды при передаче ее в бункер готовой продукции. В этом случае транспортер орошают охлаждающей водой.
Для охлаждения соды служат также специальные аппараты с кипящим слоем соды, в котором расположены охлаждающие трубы; кипящий слой создается путем продувки воздуха.
Имеются на содовых заводах и пневмотранспортные устройства для транспортирования соды. Однако при применении этого вида транспорта физические свойства соды ухудшаются: она измельчается, становится плохо сыпучей, приобретает способность к слеживанию, что затрудняет в дальнейшем разгрузку цистерн-содовозов, а также использование расфасовочных и упаковочных автоматов. При пневмотранспорте расход электроэнергии выше, чем на другие механические виды транспорта.