Каталитическая конверсия метана водяным паром
Курсовая работа по общей химической технологии
Тема: Каталитическая конверсия метана
водяным паром
Содержание
Введение
1.Процессы переработки метана
2. Принципиальная схема паровоздушной конверсии метана
3.1. Каталитическая конверсия метана
3.2. Процесс паровой каталитической конверсии метана
3.3. Схема химических превращений
3.4. Физико-химические основы процесса конверсии метана
3.5. Термодинамика и кинетика процесса конверсии метана водяным паром
4.1. Катализаторы конверсии метана
4.2. Катализаторы конверсии метана ГИАП-8, ГИАП-25, ГИАП-36Н
4.3. ДКР-1
5. Расчет процесса конверсии
Список использованной литературы
ВВЕДЕНИЕ
В последней четверти XX столетия после разразившегося в начале 70-х годов нефтяного кризиса изменился подход к источникам углеводородного сырья. Человечество осознало, что запасы нефти на Земле небесконечны и невосполняемы. Еще задолго до появления на Земле человека природа создала огромные количества органических веществ, законсервировала их, превратив в наиболее устойчивую форму, и спрятала в недра земли до поры до времени, до разумного использования человеком ее богатств. После энергетического шока 70-х годов взор нефтехимиков обратился в сторону природного газа как альтернативного нефти источника углеводородного сырья. Разведанные запасы природного газа превосходят аналогичные запасы нефти. Кроме того, природный газ можно отнести к возобновляемым источникам энергии и сырья. Значительные количества основных компонентов природного газа - метана и этана - образуются при бактериальном брожении биомассы растительного и животного происхождения, а также в процессах переработки органического сырья.
В настоящее время природный газ используется в основном в энергетических целях: тепловые электростанции на природном газе наиболее экологически чистые, пропанобутановая фракция применяется в качестве бытового топлива, а также как горючее для автотранспорта. В небольших количествах метан используют в металлургической промышленности как восстановитель. Однако степень химической переработки природного газа в ценные продукты остается на низком уровне, а значительная часть попутного нефтяного газа сжигается в факелах, что приводит к невосполнимой потере ценного сырья и порождает сложные экологические проблемы в регионах добычи. Столь расточительное отношение к ископаемым источникам сырья недопустимо и требует незамедлительного создания новых технологий переработки легкого углеводородного сырья.[1]
В настоящее время конверсия метана является основным промышленным методом получения водорода и технологических газов для синтеза аммиака, спиртов и других продуктов. Известны различные способы конверсии метана. От метода конверсии зависят как технологическая, так и энергетическая схемы производства аммиака в целом. Для выбора оптимального варианта необходимо знать состав конвертированного газа, его энтальпию и эксэргию.
Расчет равновесных составов конвертированного газа на основе известных методик требует использования ЭВМ и соответствующего программного обеспечения. Для упрощения этой задачи целесообразно построить номограммы для определения содержания отдельных компонентов в конвертированном газе, а также номограммы для нахождения его энтальпии и эксэргии. В литературе приведены номограммы только для паровой конверсии метана, однако, имеется возможность построения подобных номограмм и для других способов конверсии. [1]
Конверсия метана, являющегося основным компонентом природного газа, представляет собой наиболее экономичный способ получения азотоводородной смеси. Крупнейшие газовые месторождения имеются на Украине, Северном Кавказе, в Средней Азии, Поволжье, Сибири и других районах страны.
Природный газ бесцветен, не имеет запаха, значительно легче воздуха, горюч и взрывоопасен. При транспортировке по трубопроводам в природный газ добавляют меркаптаны, обладающие резким запахом, что позволяет легко обнаружить утечку газа, но создает дополнительные трудности при его переработке, так как меркаптаны — серосодержащие соединения, а сера является ядом для всех катализаторов производства аммиака. [2]
Состав природного газа в зависимости от месторождения изменяется следующим образом: метан - 55-99%, этан - 1-10 (пропан + бутан) - до 10, С5-углеводороды и выше - 1-5%, остальное - азот, углекислый газ, сернистые соединения, гелий.
Высокое содержание гелия в природном газе некоторых месторождений (в частности, для Собинского месторождения Красноярского края содержание гелия достигает 0,6%) делает экономически целесообразным его выделение. Поэтому первичная переработка природного газа должна включать следующие этапы:
стандартные процессы осушки (для того, чтобы не образовались газогидратные пробки) и выделения кислых газов СО2 и H3S с последующей утилизацией сероводорода, например в процессе Клауса;
выделение азота и гелия;
получение чистого метана;
производство С2-С5-углеводородов или широкой фракции легких углеводородов (ШФЛУ).
Криогенные процессы разделения углекислого газа, азота и гелия разработаны и широко используются. Однако процессы химической переработки метана в ценные продукты в большинстве случаев находятся в исследовательской стадии или существуют в лабораторных вариантах.
1 ПРОЦЕССЫ ПЕРЕРАБОТКИ МЕТАНА[1]
Так ли инертна молекула метана? Многочисленные синтезы на основе метана представляют огромный практический и теоретический интерес, так как позволяют получать ценнейшие органические соединения из природного газа практически без какой-либо предварительной переработки. Уже в настоящее время освоено промышленное производство большого количества важных продуктов из метана, в частности из него получают хлорсодержащие растворители, сероуглерод, синильную кислоту. В условиях пиролиза метана получают ацетилен и этилен. Каталитическая конверсия метана водяным паром является основным методом производства водорода и синтез-газа (смесь СО и Н2 в различных соотношениях). В свою очередь, синтез-газ в процессе Фишера-Тропша может быть превращен в различные кислородсодержащие соединения (метанол, формальдегид, ацетальдегид, уксусную кислоту, этиленгликоль), олефины, индивидуальные углеводороды, моторные топлива и другие продукты. В 1987 году в Новой Зеландии фирмой "Mobil Oil" был пущен в эксплуатацию завод по производству метанола и жидких углеводородов из продуктов паровой конверсии метана. Это свидетельствует о начале процесса переориентации ведущих нефтеперерабатывающих компаний на ненефтяное сырье.
Новые нетрадиционные методы получения синтез-газа из метана, такие, как электрохимическое окисление или конверсия с углекислым газом в термодиффузионном реакторе, находятся в стадии исследовательской проработки.
Несмотря на многообразие имеющихся теоретических возможностей превращения метана, наибольший интерес исследователей и производителей в последнее время привлекают следующие процессы:
получение синтез-газа;
прямое каталитическое превращение метана в этилен - окислительная конденсация метана;
прямое каталитическое окисление метана в кислородсодержащие продукты - спирты и формальдегид.
В промышленной практике получили распространение следующие методы конверсии метана: каталитическая конверсия и высокотемпературная (некаталитическая) конверсия. По первому методу конверсию можно проводить в одну и две ступени (соответственно одноступенчатая и двухступенчатая каталитическая конверсия). [3]
Разработка процесса прямого каталитического окисления метана в кислородсодержащие продукты началась еще в начале XX столетия. Несмотря на то что этот процесс термодинамически возможен при атмосферном давлении и комнатной температуре, до сих пор не удалось подобрать эффективные катализаторы. Поэтому в настоящее время этот процесс проводят без катализатора при высоких давлениях, однако выходы полезных продуктов невелики. Следовательно, данный процесс не является в настоящее время перспективным для промышленной реализации. Остановимся подробнее на наиболее привлекательном методе превращения метана - окислительной конденсации метана. [1]
2 Принципиальная схема паровоздушной конверсии метана[4]
Блок-схема отделения паровоздушной конверсии природного газа в технологической нитке производства аммиака приведена на рис.1.
0100090000037800000002001c00000000000400000003010800050000000b0200000000050000000c024c04390a040000002e0118001c000000fb021000070000000000bc02000000cc0102022253797374656d0004390a000000aa110072edc63040a0a2030c020000390a0000040000002d01000004000000020101001c000000fb029cff0000000000009001000000cc0440001254696d6573204e657720526f6d616e0000000000000000000000000000000000040000002d010100050000000902000000020d000000320a5a00000001000400000000003b0a4c04200b2d00040000002d010000030000000000
Рис.1. Принципиальная схема отделения конверсии природного газа в агрегате по производству аммиака:1 – аппарат гидрирования сераорганических соединений; 2 – адсорбер сероводорода; 3 – печь первичного реформинга природного газа (трубчатая печь (Т.П.); 4 – реактор вторичного реформинга (шахтный реактор (Ш.Р.); 5, 6 – конвертеры монооксида углерода I и II ступени; 7 – блок очистки от СО>2> ; 8 – метанатор; ТО – теплообменники.
Природный газ вначале проходит через аппараты 1, 2 очистки от сераорганических соединений. В аппарат 1 подается часть производимого в отделении конверсии потока азотоводородной смеси; содержащие серу соединения реагируют с водородом, образуя сероводород, который удаляется из смеси в аппарате 2 при взаимодействии с оксидом цинка, либо адсорбцией на цеолите. Очищенный природный газ смешивается с водяным паром и поступает в реакционные трубы печи первичного реформинга 3 (трубчатой печи), заполненные никелевым катализатором. Здесь происходит превращение большей части СН>4> и сопутствующих углеводородов в смесь Н>2> , СО и СО>2>. Итоговые уравнения основных реакций, протекающих в трубчатой печи можно записать в виде:
СН>4>
+ Н>2>О
3 Н>2>
+ СО (1)
СО
+ Н>2>О
Н>2>
+ СО>2 >(2)
Суммарный
процесс: СН>4>
+ 2Н>2>О
4 Н>2>
+ СО>2 >(3)
Реакция (1) идет с поглощением теплоты, реакция (2) – с ее выделением. Суммарный тепловой эффект процесса определяется эндотермической реакцией (1), необходимая теплота подводится к реакционным трубам от сжигаемого в межтрубном пространстве природного газа.
Вслед за первичной конверсией природного газа проводится паровоздушная конверсия остаточного количества углеводородов (вторичный реформинг) в шахтном реакторе 4. Данный аппарат выполняет в рассматриваемой схеме две важные функции: увеличение степени конверсии метана за счет значительного повышения температуры по сравнению с температурой, достигаемой в тепловой печи, и приготовление смеси газов с необходимым содержанием азота для последующего синтеза аммиака. В шахтном реакторе, загруженном никелевым катализатором, последовательно протекают реакции окисления горючей смеси газов кислородом воздуха, подаваемого на входе шахтного реактора, и реакции (1), (2). Среди реакций окисления превалирует реакция
2 Н>2>
+ О>2>
2
Н>2>О
, (3)
протекающая до полного исчерпывания кислорода. Реакция (3) преобладает среди других реакций окисления, так как в газовой смеси, поступающей в шахтный реактор, количество водорода значительно превышает количество других горючих газов.
Обе функции шахтного реактора обеспечиваются за счет парадоксального на первый взгляд решения – сжигания части полученного на предыдущей стадии продукта в объеме реактора. В результате происходит адиабатный разогрев смеси, температура резко возрастает, вследствие чего и повышается степень конверсии метана. Весь кислород, содержащийся в подаваемом в шахтном реакторе воздухе, расходуется, и в смеси с продуктами конверсии остаются только другие компоненты воздуха – азот и аргон. Поэтому для приготовления азотоводородной смеси в данной схеме отпадает необходимость в выделении азота из воздуха путем его сжижения и низкотемпературной ректификации.
Выходящая из шахтного реактора смесь после ступенчатого промежуточного охлаждения последовательно проходит реакторы 5 и 6, в которых происходит практически полная конверсия метана с образованием водорода на селективных катализаторах ( I ступень конверсии в реакторе 5 – на среднетемпературном железо-хромовом катализаторе и II ступень в реакторе 6 – на низкотемпературном цинк-хром-медном катализаторе ), обеспечивающих избирательное протекание реакции (2) при заторможенной реакции (1). Далее полученная азотоводородная смесь освобождается от углекислого газа абсорбцией раствором моноэтаноламина или бикарбоната калия в технологическом блоке 7. Оставшиеся в смеси незначительные примеси оксидов углерода, являющихся ядами для катализатора синтеза аммиака, нейтрализуют во вспомогательном каталитическом реакторе – метанаторе 8, в котором реакции (1) и (2) протекают справа налево, превращая оксиды углерода в метан, инертный по отношению к катализатору синтеза аммиака. Из метанатора очищенная азотоводородная смесь идет в отделение синтеза аммиака, небольшая часть смеси поступает в головной аппарат 1 схемы.
3.1 Каталитическая конверсия метана[3]
Каталитическая конверсия метана может быть осуществлена либо в смеси метана с водяным паром, либо в смеси метана с водяным паром и кислородом.
В связи с тем, что реакция конверсии метана с водяным паром сильно эндотермична, для ее осуществления требуется подвод тепла. В промышленности этот процесс проводится в трубчатых печах. В трубы пожаропрочной стали загружается никелевый катализатор, снаружи трубы обогреваются топочными газами. Такой метод конверсии нашел применение в тех случаях, когда требуется получить технический водород с минимальным содержанием азота. Процесс ведется при температуре 800 — 850°С на выходе из слоя катализатора. К 1 м3 природного газа добавляют обычно 2—2,5 м3 водяного пара. Остаточное содержание, метана в конвертированном газе составляет 1 — 2%.
Преимущество этого метода заключается в том, что для обогрева труб могут быть использованы любые горючие газы, в том числе отходы производства. Недостатком этого метода являются большие капитальные затраты на сооружение установок и необходимость использования высококачественных легированных сталей.
Если требуется получить смесь водорода с азотом, например для синтеза аммиака, метан конвертируют смесью водяного пара и воздуха, обогащенного кислородом. Часть метана сжигают в реакционной зоне, в результате выделяется тепло, необходимое для протекания эндотермической реакции (3) взаимодействия метана с водяным паром. Процесс ведется в конверторами шахтного типа при температуре 800 — 900°С. Остаточное содержание метана в конвертированном газе составляет не более 0,5%. В настоящее время азотоводородную смесь получают в промышленности одноступенчатой или двухступенчатой конверсией метана.
Одноступенчатая конверсия метана. В зависимости от схемы производства аммиака конверсия природного газа проводится при действии на него водяного пара и кислорода или воздуха, обогащенного кислородом. Конверсия природного газа в присутствии водяного пара и кислорода применяется в тех случаях, когда конвертированный газ используется либо в синтезе метанола и высших спиртов, либо в производстве аммиака, в технологической схеме которого предусмотрено определение промывки газа жидким азотом.
Для получения аммиака в производствах, имеющих станцию медно-аммиачной очистки газа от окиси углерода, применяется конверсия метана с водяным паром и воздухом, обогащенным кислородом. Процесс конверсии метана осуществляется в аппаратных шахтного типа на никелевом катализаторе при температуре 850°С. Технологическая схема одноступенчатой конверсии природного газа подробно описана в последующих главах памятки. Конверсия метана может происходить не только в присутствии водяного пара и кислорода, но и двуокиси углерода по реакции (4). В этом случае конвертированный газ имеет повышенное содержание окиси углерода, что весьма целесообразно при синтезе метанола и высших спиртов. Путем изменения соотношения водяного пара и двуокиси углерода в исходной газовой смеси можно изменить соотношение водорода и окиси углерода в конвертированном газе до 3.
Двухступенчатая конверсия метана. В тех случаях, когда имеются дешевые источники тепла для обогрева реактора, азотоводородную смесь для синтеза аммиака получают методом двухступенчатой конверсии природного газа. Технологическая схема процесса представлена на рис. 3.
0100090000037800000002001c00000000000400000003010800050000000b0200000000050000000c024c04390a040000002e0118001c000000fb021000070000000000bc02000000cc0102022253797374656d0004390a000000aa110072edc63040a0a2030c020000390a0000040000002d01000004000000020101001c000000fb029cff0000000000009001000000cc0440001254696d6573204e657720526f6d616e0000000000000000000000000000000000040000002d010100050000000902000000020d000000320a5a00000001000400000000003b0a4c04200b2d00040000002d010000030000000000
Рис 3. Технологическая схема двухступенчатой конверсии метана:
1 – трубчатая печь; 2 – конвертор метана второй ступени; 3 – увлажнитель; 4 – котел-утилизатор; 5, 9 – парогазосмесители; 6 – двухступенчатый конвертор окиси углерода; 7 – пароперегреватель; 8 - теплообменник; 10 – аппарат для очистки от соединений серы.
Природный газ под избыточным давлением 0,7 — 0,8 ат поступает в теплообменник 8, в котором подогревается до температуры 380°С за счет тепла газов, исходящих после конверсии окиси углерода. Из теплообменника природный газ подается в аппарат 10, заполненный поглотителем на основе окиси цинка, для связывания соединений серы. Очищенный газ смешивается в аппарате 9 с водяным паром, нагретым до 380°С в пароперегревателе 7 за счет тепла газа после конверсии СО. Парогазовая смесь (отношение пар : газ =5 : 1) с температурой 380°С поступает в трубчатую печь 1, снабженную подвешенными трубами, изготовленными из специальной жаропрочной стали. В трубах размещается никелевый катализатор общим объемом 7,5 м3. Снаружи трубы обогреваются топочными газами, образующимися при сжигании какого-либо газа. Парогазовая смесь проходит через катализатор сверху вниз, при этом температура постепенно возрастает с 400 до 800°С. Степень превращения метана в первой ступени достигает 70%. Конвертированный газ после первой ступени поступает в конвертор шахтного типа 2, куда добавляется воздух. Остаточный метан почти полностью реагирует на никелевом катализаторе при температуре 850 — 900°С. Конвертированный газ после второй ступени содержит до 0,5% метана. Газ из конвертора метана поступает в увлажнитель 3, затем в котел-утилизатор 4 и далее (при 400°С) в конвертор 6.
В последнее время находят применение усовершенствованные трубчатые печи с двойными трубами. Катализатор помешается в кольцевом сечении, образованном внутренней и наружной трубами. Греющие газы подаются с внешней стороны наружной трубы. Природный газ вместе с паром проходит через катализатор сверху вниз, а полученный конвертированный газ — по внутренней трубе снизу вверх. Такая конструкция аппарата позволяет улучшить условия теплопередачи и увеличить температуру в слоях катализатора, не повышая температуру стенок труб.
3.2 Процесс паровой каталитической конверсии метана
В своей работе я рассматриваю каталитическую конверсию метана водяным паром.
Промышленные печи для каталитической конверсии представляют собой агрегаты с большим числом вертикальных труб диаметром 90 — 130 мм и обогреваемой частью длиной 7 — 10 м. Печное пространство облицовано огнеупорным кирпичом; обогрев печей ведут дымовыми газами, образующимися при сжигании углеводородных газов или нафты в специальных горелках. Распределение потока исходного газа по отдельным трубам, заполненным катализатором, а затем сбор конвертированного газа обеспечиваются системой газоподводящих и газоотводящих труб. В конвективном теплообменнике идет вторичное использование тепла выходящих из печи дымовых газов.
Распределение температур внешней стенки трубы при соответствующем профиле температур обогревающего дымового газа и конвертированного газа внутри реактора при потолочном размещении обогревателей. Только высоколегированные хромоникелевые стали с относительно высоким содержанием углерода дают возможность применять сравнительно высокие давления в современных процессах трубчатой конверсии. В условиях эксплуатации трубы подвергаются воздействию внутреннего давления, массы трубы, термических напряжений. Моменты напряжения, возникающие под воздействием массы труб, заполненных катализатором, действуют в аксиальном направлении и должны быть возможно полнее скомпенсированы соответствующим противовесом или пружинной подвеской. Исключительное значение в трубчатой конверсии имеет безотказная работа коллекторной системы, пигтайлей и некоторых других узлов технологического оборудования.
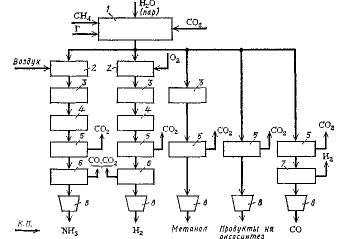
Каталитической конверсией углеводородов в трубчатых печах можно получать водород или газы для синтеза аммиака, метанола и оксо-синтеза. На рис. 4 показана принципиальная схема технологической цепи получения конвертированного газа различного назначения.[5]

Рис. 4. Блок-схема процесса риформинга метана с получением в качестве целевых продуктов аммиака, водорода, метанола, оксида углерода, продуктов оксосинтеза (Г – горючее для печи; К.П. – конечный продукт); 1 – блок первичного риформинга; 2 – блок вторичного риформинга; 3 – блок I ступени конверсии СО; 4 – блок II ступени конверсии СО; 5 – система отмывки от СО; 6 – аппарат тонкой очистки; 7 – аппарат для удаления Н>2>; 8 – компрессор.
Каталитическая конверсия углеводородов (паровая, парокислородная и паро-углекислотная) представляет собой технологическую комбинацию следующих химических реакций (тепловой эффект DH>298,16 >кДж/моль).
СН>4> + Н>2>О à CO + 3H>2> + 20,5 кДж/моль
СН>4> + 2Н>2>О à CO>2> + 4H>2> + 163,7 кДж/моль
СН>4> + CO>2> à 2CO + 2H>2> + 248,3 кДж/моль
CO + 3H>2>O à CO + H>2> - 41,16 кДж/моль
C + O>2> à CO>2> – 393,56 кДж/моль
СН>4> + O>2> à CO>2> + 2Н>2>О – 802,61 кДж/моль
CO>2> + C à 2CO + 172,5 кДж/моль
СН>4> « 2Н>2> + C + 74,94 кДж/моль
H>2>O + C à CO + H>2> + 131,46 кДж/моль
Процесс конверсии протекает на никелевом катализаторе. Выход Н>2> на моль израсходованного в процессе пара наибольший для СН>4> и снижается с увеличением содержания углерода в молекуле углеводорода.
Равновесная концентрация конвертированного газа прямо пропорциональна температуре, давлению процесса и соотношению пар : углеводород в исходной конвертируемой смеси. Процесс можно проводить в одну стадию. Однако в ряде случаев его целесообразнее вести в две стадии (две ступени).[5]
Первая стадия процесса парового риформинга протекает в трубах, заполненных катализатором, с подводом тепла извне через стенку трубы. Во второй ступени протекает остаточная конверсия метана кислородом по реакции:
СН>4> + 0,5O>2> à CO + 2Н>2>
Для смещения равновесия реакции конверсии метана вправо, т. е. в сторону получения водорода, применяется избыток водяного пара по сравнению со стехиометрическим соотношением. Кроме того, избыток пара предотвращает выделение элементарного углерода (сажи) и уменьшает процентное содержание метана в конвертированном газе.
Как видно из уравнения, полную конверсию метана можно осуществить в одну стадию с образованием водорода и двуокиси углерода. При низкотемпературной конверсии в продуктах реакции остается значительное количество метана. При повышенных температурах газ содержит в большом количестве окись углерода. И в том и в другом случае для смещения равновесия реакции конверсии метана вправо требуется значительный избыток пара. Расход пара уменьшается при проведении конверсии метана в две стадии.
Поэтому в промышленных условиях целесообразно процесс получения водорода конверсией метана с водяным паром проводить в две стадии (конверсия метана и конверсия окиси углерода).
При высокой температуре происходит термическое разложение метана и его гомологов с выделением углерода. Выделяющийся углерод оседает на катализаторе, происходит так называемое зауглероживание катализатора, в результате чего снижается его активность и происходит преждевременное его разрушение. Увеличивается сопротивление конвертора, а главное—снижается его производительность. Для предотвращения выделения углерода, кроме избытка пара, требуется, чтобы парогазовая смесь находилась в соприкосновейии с поверхностью катализатора ничтожно малое время, недостаточное для воспламенения смеси. Это условие соблюдается, если скорость нагретой газовой смеси до ее поступления на катализатор больше скорости распространения пламени и исключена возможность обратного проникновения пламени с раскаленного катализатора в смесительное и надкатализаторное пространство.[3]
3.3 Схема химических превращений
Используемые для описания химических превращений в трубчатой печи и шахтном реакторе уравнения (1) – (3) являются итоговыми уравнениями реакций, которые фактически отражают баланс химических элементов до и после превращений. Детальный же механизм процесса может быть очень сложным. Например, реакцию метана с водяным паром на поверхности никелевого катализатора можно представить следующей совокупностью стадий:
1. СН>4>
+ Z
ZCН>2>
+ Н>2>
,
2. ZCН>2>
+ Н>2>О
ZCНOH
+ Н>2>
,
3. ZCНOH
ZCO
+ Н>2>
,
4.
ZCO
Z
+ CO
,
5. Z
+ Н>2>О
ZO
+ Н>2>
(равновесная стадия),
6.
ZО + CО
Z
+ СО>2>
(равновесная стадия).
Здесь Z – активный центр на поверхности катализатора.
Для описания процесса конверсии метана итоговыми уравнениями, связывающими исходные вещества СН>4> и Н>2>О и продукты Н>2>, СО, и СО>2 >, достаточно написать 2 линейно независимых уравнения реакций, например, уравнения (1) и (2). Любое другое уравнение, связывающее эти вещества, можно будет получить из первых двух. Уравнение (2) описывает конверсию СО в аппаратах 5 и 6.
3.4 Физико-химические основы процесса конверсии метана [3]
Конверсия природною газа может быть осуществлена либо термическим разложением метана
СН>4> à С+2Н>2> – 18,1 ккал (1)
либо каталитическим окислением метана водяным паром, кислородом и двуокисью углерода:
СН>4> + 0,5О>2> à CO + 2H>2> + 8,5 ккал (2)
СН>4> + H>2>O « CO + 3H>2> – 49,3 ккал (3)
СН>4> + CO>2> « 2CO + 2H>2> – 59,1 ккал (4)
СО + H>2>O « CO>2> + H>2> + 9,8 ккал (5)
Выбор окислителей и их возможные сочетания определяются назначением процесса и технологической схемой дальнейшей переработки полученного газа.
Реакции (1) — (2) практически необратимы. Реакции (3) — (5) являются обратимыми, т. е. в зависимости от условий, в которых они осуществляются, могут проходить как слева направо, так и справа налево.
Вследствие обратимости реакции прямой процесс невозможно осуществить до конца. В самом деле, в обратимых реакциях, например в реакции (3), оба процесса—прямой (взаимодействие метана с водяным паром) и обратный (взаимодействие окиси углерода с водородом) — протекают одновременно. При достаточно высоких температурах и концентрациях метана в газовой смеси скорость прямой реакции гораздо больше, чем скорость обратного процесса. Постепенно скорости прямого и обратного процессов выравниваются и наступает химическое равновесие, при котором в смеси присутствуют как исходные вещества, так и продукты реакции.
Равновесный состав газа для обычно применяемых в промышленности исходных газовых смесей и интервале температур 827—1027°С приведен в табл.1).
С изменением температуры, давления и состава исходной смеси равновесный состав газа также изменяется. При повышении температуры увеличиваются скорости обеих реакций (прямой и обратной), но увеличиваются они в разной степени. В случае реакций, протекающих с поглощением тепла (эндотермических реакций), например реакции (3), скорость прямой реакции возрастает гораздо больше, чем скорость обратной реакции. В результате этого равновесие сдвигается вправо, т. е. в сторону уменьшения содержания метана в конвертированном газе. В случае же реакций, протекающих с выделением тепла (экзотермических реакций), например реакции (5), равновесие сдвигается влево, т. е. степень конверсии окиси углерода снижается.
Таблица 1. Равновесный состав газа в процессе конверсии метана для обычно применяемых в промышленности исходных газовых смесей при абсолютном давлении 1 ат
|
Температура °С |
Состав сухой газовой смеси при равновесии, объемн. % |
||||
|
CO>2> |
СО |
H>2> |
СН>4> |
N>2> |
|
|
Исходная смесь СН>4> : H>2>O = 1 : 2 |
|||||
|
827 927 |
4,62 3,78 |
19,20 20,27 |
76,08 75,94 |
0,10 0,01 |
--- --- |
|
Исходная смесь СН>4> : H>2>O : O>2> = 1 : 1 : 0,6 |
|||||
|
827 927 |
9,44 8,06 |
22,91 24,98 |
67,61 67,16 |
0,045 0,0056 |
--- --- |
|
Исходная смесь СН>4> : H>2>O : O>2> : N>2> = 1 : 1 : 0,6 : 0,9 |
|||||
|
827 927 |
7,30 6,22 |
17,74 19,13 |
52,35 51,84 |
0,04 0,004 |
22,57 22,81 |
|
Исходная смесь СН>4> : H>2>O : СO>2> : О>2> = 1 : 0,7 : 0,3 : 0,6 |
|||||
|
827 927 |
11,95 10,41 |
28,94 31,18 |
59,06 58,40 |
0,05 0,005 |
--- --- |
|
Исходная смесь СН>4> : H>2>O : СO>2> = 1 : 1,3 : 0,7 |
|||||
|
827 927 1027 |
7,67 6,50 5,63 |
31,59 33,25 34,48 |
60,63 60,24 59,89 |
0,11 0,013 0,002 |
--- --- |
Изменение давления влияет на равновесный состав газа только тогда, когда в результате реакции изменяется объем газа (при постоянном давлении), т. е. когда общее число молей (объемов) исходных веществ отличается от числа молей (объемов) продуктов реакции. Равновесный состав газа для реакций, протекающий без изменения объема, например, реакции (5), не зависит от давления.
Реакция (3) протекает с увеличением объема: из двух объемов исходной смеси получается четыре объема конвертированного газа, поэтому при повышении давления равновесие смещается влево, т. е. степень конверсии метана снижается. Например, для исходной смеси состава СН>4> : H>2>O = 1 : 2 при 827°С и давлениях 10, 20 и 40 атм содержание метана в конвертированном газе составляет соответственно 5, 10 и 16% (рис. 5).
Для того чтобы остаточное содержание метана в конвертированном газе не увеличивалось при повышении давления, необходимо одновременно повысить температуру. Так, например, чтобы получить при указанном составе исходной смеси газ с остаточным содержанием метана 0.5% при абсолютном давлении 10 атм, нужно повысить температуру до 960°С, а при 20 атм — до 1060°С. Несмотря на это, проведение процесса конверсии при умеренном давлении (20 — 30 атм) экономически целесообразно, так как в данном случае уменьшается расход энергии на сжатие конвертированного газа, а также снижаются капитальные затраты на сооружение конверсионной установки.
При увеличении концентрации реагирующих веществ происходит также увеличение концентрации образующихся веществ. Для рассматриваемой реакции (3) повышение содержания водяных паров в исходной смеси приведет к смещению равновесия вправо, т. е. к увеличению содержания СО и водорода и уменьшению содержания метана в конвертированном газе. Увеличение количества добавляемого водяного пара особенно важно, когда конверсия метана осуществляется при повышенном давлении. Например, применяя исходную смесь СН>4> : H>2>O = 1 : 4 при давлении 10 атм, можно получить конвертированный газ, содержащий 0,5% метана, при 850°С, т. е. на 110°С ниже, чем при составе исходной смеси 1 : 2.
Скорость реакции взаимодействия метана с водяным паром, т. е. количество метана, прореагировавшего в единицу времени, в отсутствие катализатора очень мала. Так, при нагревании смеси метана с водяным паром до 700°С и соотношении
СН>4>: H>2>O = 1 : 2 в течение 3 ч только 3% метана превращается в водород.

Рис.5. Зависимость остаточного содержания метана в конвертированном газе от температуры.
Для получения газа, содержащего 0,5% метана, требуется повысить температуру до 1400°С. В производственных условиях конверсия метана должна протекать в течение долей секунды, что достигается путем применения катализаторов.
3.5 Термодинамика И кинетика процесса конверсии метана водяным паром.[5]
Равновесие реакции конверсии метана водяным паром, как реакции эндотермической, с ростом температуры смещается в сторону образования СО и Н>2>, а с ростом давления в обратную сторону, т. е. в сторону образования метана.
Рис.6. Зависимость полноты конверсии СН>4> и СО y>к> от температуры
Однако для заданного давления и температуры превращение метана возрастает с ростом содержания пара в исходной газовой смеси (рис. 6). На этом рисунке одновременно видно, как с ростом температуры падает полнота конверсии СО водяным паром – реакции экзотермической. И хотя давление оказывает отрицательное воздействие на превращение метана, наблюдается постоянный рост используемого давления в промышленных процессах паровой конверсии метана (рис. 7).
Рис 7. Применяемое давление газа Р на выходе из трубчатого реактора конверсии природного газа в различные периоды времени t.
Проведение процесса при повышенных давлениях снижает расходы на компрессию полученного синтез-газа, затраты на изготовление аппаратуры, улучшает условия теплопередачи. Развитие этого процесса ограничивается в основном прочностью металла реакционных труб, работающих в жестких условиях высоких температур.
Рис 8. Ограничения по температуре t и давлению Р процесса паровой конверсии углеводорода, обусловленные материалом труб (отношение пар : углерод = 3,5; А – расчетные границы для работ труб; y>конв> – полнота конверсии).
Равновесные соотношения при конверсии метана показывают, как это видно на рис. 8, что для заданного превращения метана при постоянном соотношении водяной пар : углерод повышение давления в процессе означает повышение температуры риформинга, повышение температуры газов, выходящих из трубчатых печей, и повышение температуры стенок реакционных труб. Принципиальное влияние качества труб (срок жизни 10 лет для хромоникелевой стали) на условия проведения паровой конверсии под давлением иллюстрируется данными, приведенными на рис.8.
Наиболее обоснованное и практически оправданное уравнение скорости реакции конверсии метана для атмосферного давления дал Темкин и его ученики. Энергия активации процесса паровой конверсии составляет 129,79 кДж/моль для температурной области 800 — 900°С на никелевой фольге и 100,48 кДж/моль для этой же области температур на никелевом катализаторе, нанесенном на пористом носителе. Кинетические данные используют для расчета аппаратов конверсии, в частности для расчета температур на входе в реактор и выходе из него.
В качестве катализаторов конверсии используют никель, нанесенный на пористый носитель. Содержание никеля в катализаторе может колебаться в широких пределах — от 4 до 35% (масс.). Наиболее стабильными катализаторами для широкого диапазона температур конверсии и работы в экстремальных условиях являются катализаторы, носители для которых не содержат SiО>2>, главной их основой является a-Аl>2>О>3> (корунд). В качестве активаторов в них могут содержаться оксиды кальция, титана, магния, хрома. Внутренняя поверхность таких катализаторов колеблется от 5 до 50 м2/г. Восстановление нанесенного NiO до металлического никеля происходит в загруженном конверторе водородом или метаном.
Для конверсии легких фракций нефти (нафты) используют щелочные калийсодержащие катализаторы. Использование таких катализаторов дает возможность проводить конверсию нафты при низких соотношениях пар : углерод (3: 1) без выделения сажи.
4.1 Катализаторы конверсии метана
Катализаторами называются такие вещества, которые увеличивают скорость химических реакций. Применение катализатора не вызывает сдвига химического равновесия в ту или иную сторону.
Как установлено многочисленными исследованиями лучшим для процесса конверсии метана является никелевый катализатор.
В свежем катализаторе никель находится в виде окислов. Катализатором же ускоряющим реакции конверсии метана, является металлический никель. Поэтом, перед началом процесса конверсии катализатор необходимо восстановить газом, содержащим водород NiO + H>2> = Ni + H>2>O. Катализатор восстанавливается водородом полностью при температуре 300 — 400°С в течение 2—4 ч. При отсутствии водорода катализатор можно также восстановить рабочей смесью (метан и водяной пар или метан, водяной пар и кислород) при 750 — 850°С.
Если никель находится не в виде окислов, а в виде их соединении с окисью алюминия (шпинели), то для его восстановления требуется более высокая температура (800 — 900°С). В этом случае процесс восстановления протекает медленнее. Никель-алюминиевая шпинель (голубовато-зеленоватого цвета) образуется при нагревании катализатора до температуры выше 600°С в среде, не содержащей восстановителей (Н>2> и СО).
Эффективность работы катализатора определяется остаточным содержанием метана в конвертированном газе при определенном количестве подаваемого исходного газа. Нагрузка на катализатор характеризуется объемной скоростью. Объемной скоростью называется количество кубометров исходного газа (сухого), проходящего через 1 м3 катализатора в час. Объемная скорость выражается в ч-1. В промышленных условиях катализатор конверсии метана работает в интервале объемных скоростей 250 — 400 ч-1 при 600—1000°С.
Активность никелевого катализатора может снижаться вследствие присутствия в газе соединений серы: Н>2>S, CS>2> и COS. Вещества, снижающие активность катализатора, называются каталитическими ядами. Процесс отравления катализатора Н>2>S протекает по схеме Ni + H>2>S à NiS + H>2>.
Образовавшийся сернистый никель уже не способен ускорять реакцию конверсии метана, в связи с чем активность катализатора снижается. Проведенными исследованиями установлено значительное влияние температуры на отравление катализатора соединениями серы. Показано, что при температуре, равной 600°С, наличие даже небольших количеств соединений серы в газе (5 мг/м3 серы) приводит к необратимому отравлению и полной потере активности катализатора. С повышением температуры отравляемость катализатора этими соединениями уменьшается. Так, при температуре 700 — 800°С отравление катализатора происходит в значительно меньшей степени и активность его может быть восстановлена в процессе конверсии метана, не содержащего соединений серы. При 850°С и содержании в газе 5 — 7 мг/м3 серы заметного отравления катализатора не наблюдается.
Конверсия метана может сопровождаться выделением свободного углерода (сажи), что затрудняет проведение процесса. Реакция (1) образования сажи протекает параллельно с основными реакциями в случае недостатка окислителей — водяного пара и кислорода. При этом углерод отлагается не только на поверхности, но и внутри гранул катализатора, что приводит к уменьшению активности и механическому разрушению катализатора и к увеличению гидравлического сопротивления аппарата потоку газа. В отсутствие катализатора образование углерода по реакции (1) начинается при нагревании метана до температуры 800°С, а на восстановленном никелевом катализаторе эта реакция протекает с заметной скоростью уже при 400°С. Воспламенение в объеме (без катализатора) смеси метана с водяным паром и кислородом, применяемой в процессе конверсии природного газа, всегда сопровождается образованием углерода вследствие частичного разложения метана при температуре около 1100°С, развиваемой в пламени. На никелевом катализаторе при достаточном количестве окислителей выделения свободного углерода не происходит. Из сказанного следует, что на нагретый катализатор нельзя подавать природный газ, не смешав его предварительно с водяным паром и кислородом. [3]
4.2 Катализаторы конверсии метана ГИАП-8, ГИАП-25, ГИАП-36Н.
Область применения: Катализаторы конверсии метана ГИАП-8, ГИАП-25, ГИАП-36Н применяются для воздушной конверсии газообразных углеводородов в эндотермических генераторах контролируемых атмосфер при температурах 1030-1050 °С. Могут применяться также для воздушной конверсии сжиженных газов (пропан и пропанобутановой фракции) в тех же целях. Используются также в различных отраслях машиностроительной промышленности, где контролируемые атмосферы используются для термообработки металлических изделий и деталей машин.
Основные данные: Катализаторы отвечают требованиям ТУ 11303382-86. Нанесенная часть катализаторов содержит оксиды никеля, алюминия и кальция.
Внешний вид: кирпичики серого цвета (ГИАП-25), цилиндрические гранулы серого цвета (ГИАП-8 и ГИАП-36Н).
Рис.9. Катализаторы конверсии метана ГИАП-8, ГИАП-25, ГИАП-36Н.
Размеры: 32 х32 (ГИАП-25), диаметр 15-18 мм, высота 15-18 мм (ГИАП-8,ГИАП-36Н). Массовая доля никеля в пересчете на оксид никеля: 7.5 + 1.5 % (для ГИАП-8, ГИАП-36Н) и до 12 % (для ГИАП-25).
4.3 ДКР-1
ДРК – 1 новый вид катализатора, предназначен для паровой и пароуглекислотной конверсии газообразных углеводородов в трубчатых печах крупнотоннажных агрегатов по производству аммиака, метанола, установок получения технического водорода. Катализатор представляет собой промотированный оксид никеля, нанесенный на высокоглиноземистый носитель в виде циллиндрических колец, имеет более высокую активность и стабильность.
|
Физико-химические характеристики ТУ 2171-94-002038015-97 |
||
|
Нормы марки К-17 |
Нормы марки К-15 |
|
|
Состав |
оксид Ni на носителе Al>2>O>3> |
оксид Ni на носителе Al>2>O>3> |
|
Внешний вид |
Кольца от светло-серого до темно-серого цвета |
Кольца от светло-серого до темно-серого цвета |
|
Насыпная плотность, кг/дм3 |
1,2±0,2 |
1,2±0,2 |
|
Массовая доля мелочи и гранул с дефектом, %, не более |
10 |
10 |
|
Размеры гранул, мм, в пределах: |
||
|
диаметр наружный |
17±2 |
15±2 |
|
диаметр внутренний |
8±1 |
7±1 |
|
высота |
14±2 |
12±2 |
|
Механическая прочность, разрушающее усилие при раздавливании на торец, среднее, МПа, не менее |
30 |
30 |
|
Массовая доля серы в пересчете на SO3,%, не более |
0,01 |
0,01 |
|
Массовая доля никеля в пересчете на оксид никеля (NiO), % |
12±1 |
12±1 |
|
Термостойкость: число теплосмен от 1000°С до комнатной температуры на воздухе без разрушения гранул, не менее |
20 |
20 |
|
Активность: остаточная доля метана при конверсии с водяным паром природного газа при соотношении пар:газ=2:1 в объемной скорости 6000 час,%, не более при температуре: |
500°С: 35 700°С:5 |
35 5 |
|
Условия эксплуатации |
|
|
Температура, на выходе трубчатой печи, ºС |
790-810 |
|
Давление, МПа |
3,3-3,6 |
|
Объемная скорость, ч-1: соотношение ПАР:ГАЗ |
1500-18003,7-4,0 |
|
Остаточная объемная доля метана на выходе из печи, % |
9-11 |
|
Гарантируемый срок службы, лет |
4 |
5 Расчет процесса конверсии
Рассчитать процесс конверсии метана водяным паром по следующим данным:
-
Производительность по метану
1000 м3/час
Состав газа
метан – 98%
азот – 2%
Степень конверсии
70%
Температура
на входе 105°С
на выходе 900°С
СН>
>+
Н>
>О
>
>
СО + 3Н>
>>
>
Расчет термодинамических параметров.
-
СН>
>Н>
>ОСО
Н>2>
>
>Н>
>>
>-74,85
-241,81
-110,53
0
DS>
>>
>186,27
188,72
197,55
130,52
DG>
>
>
>-50,85
-228,61
-137,15
0
1.1. По закону Гесса находим тепловой эффект химической реакции при нормальных условиях:
DН>
>=(Sn>i>>
>DН>
>)>
>-
(Sn>i>
DН>
>)>
>
DН>
>=
0×3
- 110,53 + 241,81 + 74,85 = 206,13 кДж/моль
1.2. Найдем энтропию реакции:
DS>
>=
(Sn>i>DS>
>)>
>-
(Sn>i>DS>
>)>
>
DS>
>=3×130,52
+197,55 -188,72 -186,27= 214,12 Дж/моль×К
1.3. Найдем изменение энергии Гиббса в ходе реакции при нормальных условиях:
DG>
>
= (Sn>i>DG>
>)>
>-(Sn>i>DG>
>)>
>
DG>
>=
3×0-137,15+288,61+50,85=142,31
кДж/моль
2. Найдем функцию зависимости
теплоемкости от температуры С>
>=
f(Т)
|
СН> |
Н> |
СО |
Н> |
|
|
a |
14,32 |
30 |
28,41 |
27,28 |
|
b |
74,66×10> |
10,71×10> |
4,1×10> |
3,26×10> |
|
с’ |
0,33×10> |
-0,46×10> |
0,5×10> |
|
|
с |
-17,43×10> |
Ср(СН>4>)
= 14,32 + 74,66×10>
>Т
- 17,43×10>
>Т>
>
Ср(Н>2>О) = 30 + 10,71×10-3Т + 0,33×105Т-2
Ср(СО) = 28,41+ 4,1×10-3×Т - 0,46×105Т-2
Ср(Н>2>) = 27,28 + 3,26×10-3Т + 0,5×105Т-2
DСр = Dа + DbT + Dс’Т2+DcТ-2
DСр = (3×27,28+28,41-30-14,32) + (3×3,26+4,1-10,71-74,66)×10-3Т +
+ (3×0,5-0,46-0,33)×105Т-2 - 17,43×10-6Т2
DСр = 65,93 - 71,49×10-3Т + 0,71×105Т-2 - 17,43×10-6Т2 Дж/моль×К
2.1. Для азота зависимость теплоемкости от температуры выглядит следующим образом:
Ср(N>2>) = 27,88 + 4,27×10-3Т
3.1. Найдем изменение энтропии в
ходе реакции при нагревании от t>1>=25>
>C
до t>2>=900>
>C:
DS=>
>>
>dТ
=
>
>
>
>
DS=16.54 Дж/моль×К
3.2. Найдем изменение энтальпии в ходе реакции при нагревании от t>1>=25°C до t>2>=900°C:
>
>
DH=
65,93 (1173-298) - >
>×71,49×10-3(11732-2982)
- >
>
- >
>
DН= - 2375 Дж/моль
3.3. Рассчитаем энергию Гиббса на выходе t>2>=900°С:
>
>
>
>
4. Найдем константу равновесия:
DG°=-RTlnKp
Kp = exp(-DG°/RT)
Kp=exp(-(-62058,71/8,31×1173))=582,04
4.1. Рассчитаем равновесную степень превращения метана. При температуре от 827°С и составе исходной смеси СН>4 >: Н>2>О = 1 : 2 необходимо проводить процесс при абсолютном давлении 10 атм.
СН>4> + Н>2>О ® СО + 3Н>2>
т.к. водяной пар в избытке, то Р>Н2О> = 2Р>СН4>
Р>общ> = Р>СН4> + 2Р>СН4>= 3Р>СН4>
Р>СН4> = Р>общ>/3 = 10/3 атм.
При равновесии:
>
>
>
>
>
>
>
>
>
>
>
>
>
>
>
>
>
>
>
>
x>e>> >= 0,8115 и x>e> = - 2,29
Равновесная степень превращения равна 0,8115.
Вывод: равновесная степень превращения метана x>e>=0,8115 ,степень конверсии a = 0,7 , данный процесс, возможно, провести в указанных условиях.
5. Составим материальный баланс.
-
Приход
Расход
Исходное вещество
m, кг
V,м3
Продукт
m, кг
V,м3
СН>4>
714,29
1000
СН>4>
214,29
300
N>2>
25,51
20,41
N>2>
25,51
20,41
Н>2>О
1607,14
2000
Н>2>О
1044,64
1300
СО
875
700
Н>2>
187,5
2100
Итого:
2346,94
3020,41
Итого:
2346,94
4420,41
5.1.Найдем количество поступающего метана (в час):
по закону эквивалентов
>
>(кг)
Найдем количество конвертируемого метана:
V=0, 7×1000=700 (м3)
>
>
После реакции осталось:
m(СН>4>) = 714,29 – 500 = 214,29 (кг)
V(СН>4>)= 1000 – 700 = 300 (м3)
5.2. Найдем необходимое количество воды для осуществления реакции:
>
>
>
>
В промышленном производстве для осуществления процесса воду и метан берут в отношении 2:1. Исходя из этого условия рассчитаем количество поступающего водяного пара:
V = 2 × 1000 = 2000 (м3)
>
>
Не прореагировало водяного пара:
m(Н>2>О) = 1607,14 – 500 = 214,29 (кг)
V(Н>2>О) = 2000 – 700 = 300 (м3)
5.3. В реактор поступает >
>:
>
>
>
>
Т.к. азот не участвует в химической реакции, то на выходе:
m = 25,51 (кг)
V = 20,41 (м3)
5.4. Найдем количество образовавшегося в ходе реакции СО:
>
>
>
>
5.5. Найдем количество образовавшегося водорода:
>
>
>
>
Вывод: >
>.
Материальный баланс сошелся.
6. Составим энергетический баланс:
-
Приход
кДж
%
Расход
кДж
%
Q(СН>4>)
675,87
4
Q(СН>4>)
1224,04
7,2
Q(N>2>)
10,16
0,06
Q(N>2>)
35,15
0,2
Q(Н>2>О)
1156,9
6,87
Q(Н>2>О)
4460,2
26,4
Q>подв>
15029,6
89,07
Q(СО)
1216,5
7,23
Q(Н>2>)
3420,87
20,24
Q>х.р.>
6515,8
38,62
Итого:
16872,53
100%
Итого:
16872,56
100%
6.1. Найдем тепло, которое поступает с исходными веществами – физическое тепло:
>
>
где T>1>
– температура на входе,
(t>1>=105>
>C);
С>р>
– теплоемкость, будем считать, что
теплоемкость зависит от температуры
(п.2).
>
>
>
>
>
>
Реакция конверсии водяным паром сильно эндотермична, поэтому необходимо подогревать исходную реакционную смесь. В промышленности для подогрева системы используют природный газ, за счет сжигания которого выделяется необходимое количество тепла Q.
6.2. Найдем тепло веществ на выходе из реактора:
>
>
где T>2> – температура на выходе из реактора.
>
>
>
>
>
>
>
>
>
>
6.3. Найдем теплоту, поглощенную в ходе химической реакции:
>
>
>
>
>
>
6.4. Найдем количество теплоты, которое необходимо затратить на подогрев исходной смеси:
>
>
6.5. Найдем количество природного газа, которое необходимо затратить для подогрева исходной смеси, считая, что природный газ на 95% состоит из метана (состав природного газа зависит от месторождения, колеблется от 55-99%):
По справочнику:
>
>
>
>
>
>
>
>
>
>
>
>
>
>
>
>
СПИСОК ИСПОЛЬЗОВАННОЙ ЛИТЕРАТУРЫ
А. Г. Аншиц, Е. Н. Воскресенская. Окислительная конденсация метана – новый процесс переработки природного газа.
Сосна М.Х., Энтин Б.М., Лейтес И.Л. Нонограммы для определения состава газа конверсии метана//Химическая промышленность. – 1989. - №7. - с.59
Крейндель Э.М. Конверсия метана природного газа. Л.:-1964.
Г.С. Яблонский. Кинетические модели гетерогенно-каталитических реакций. Элементы теории кинетики сложных химических реакций. Глава 1. В сб.: Химическая и биологическая кинетика / Под ред. Н.М. Эмануэля, И.В. Березина, С.Д. Варфоломеева. М.: Изд-во Моск. ун-та, 1983.
Водород. Свойства, получение, хранение, транспортирование, применение: Справ. изд./Д.Ю. Гамбург, В.П. Семенов, , Л.Н. Смирнова; Под ред. Д.Ю. Гамбурга, Н.Ф. Дубовкина. – М.: Химия, 1989.
>