Ветеринарно-санитарная экспертиза мяса (работа 1)
Кировская государственная медицинская академия.
Факультет экспертизы и товароведения
КОНТРОЛЬНАЯ РАБОТА
По: ВЕТЕРИНАРНО-САНИТАРНАЯ ЭКСПЕРТИЗА
Выполнила: УВАРОВА ЕЛЕНА НИКОЛАЕВНА
Курс: 4 Группа ТЗ- 401
Дата отправки на проверку ______________________2007г.
Отдана на проверку преподавателю____________________
Возвращена с проверки «___»____________________2007г.
Оценка__________________
Подпись преподавателя__________________
Оглавление
Введение
Сортовая разрубка (разделка) туш для розничной торговли
Значение лимфатической системы при ветеринарно-санитарной экспертизе мяса
Порядок проведения ветеринарно-санитарной экспертизы
При туляремии
При бруцеллезе
При туберкулезе
Ветеринарно-санитарная экспертиза мяса при вынужденном убое животных
Заключение
Литература
Введение
Ветеринарно-санитарная экспертиза — наука, изучающая методы исследования и ветеринарно-санитарной оценки продуктов животного и растительного происхождения. Основное назначение ветсанэкспертизы - предупреждение инфекционных и инвазионных болезней, распространяющихся среди людей и животных через пищевые, кормовые и технические продукты животного происхождения. Ветсанэкспертиза как наука тесно связана с эпизоотологией, паразитологией, микробиологией, патологической анатомией, гистологией, ветсанитарией.
Основными разделами ветсанэкспертизы являются гигиена убоя животных и переработка от них продуктов; методика послеубой-ной экспертизы туш и органов; методика лабораторного исследования продуктов животного и растительного происхождения; ветеринарно-санитарная оценка мяса, молока, рыбы и их продуктов; методика обезвреживания условно годных и непригодных в пищу продуктов, экспертиза дичи.
Основные особенности ветсанэкспертизы при воздействии оружия массового поражения заключаются в определении источника поражения; ветеринарной обработке животных (обезвреживание кожных покровов), сортировке (разбивка на группы) животных по виду, степени поражения их и срокам убоя; исследовании продуктов на наличие в них радиоактивных, химических веществ и возбудителей заразных болезней, для чего применяются специальные приборы дозиметрической и химической разведки и подвижные (полевые) лаборатории (радиометрические, химические, бактериологические).
Кроме того, ветеринарно-санитарная экспертиза необходима при заготовке и убое животных, торговле продуктами животного и растительного происхождения, а также надзоре за санитарным состоянием мест торговли ими на рынках; ветеринарно-санитарном надзоре за содержанием, заготовкой и убоем животных, перегоном скота; заготовкой, хранением и переработкой мяса, молока, яиц, шерсти, кож, пушнины и других продуктов и сырья животного происхождения, а также за их перевозками всеми видами транспорта; ветсанконтроль за импортом и экспортом скота и животноводческой продукции; надзоре за соблюдением ветеринарно-санитарных правил предприятиями, осуществляющими заготовку, хранение и переработку продуктов и сырья указанных видов, надзоре за ветсансостоянием этих предприятий, а также рыбохозяйственных водоемов и пасек.
Еще в древние времена сложился культ жрецов, которые определяли пригодность мяса в пищу людям.
В России, до эпохи Петра I, скот убивали на рынках, в пристройках домов, в специальных «мясных шалашах» или на открытом месте. Петр I повелел строить бойни и издавал указы, регламентирующие торговлю мясом. Так, в 1713 г. он издал указ, которым запрещалась продажа «худого мяса», а в указе 1718 г. уже требовалось предъявлять свидетельства на животных, подлежащих убою на мясо. Указом 1719 г. запрещалось убивать животных в торговых мясных рядах и требовалось, чтобы для этой цели отводились специальные места.
В 1722 г. была учреждена инспекция, которой вменялось в обязанность запрещать торговлю «вонючим мясом», виновных штрафовать, а не уплативших штрафа «...бить батогами». В эпоху Петра I контроль за санитарным качеством мяса и рыбы на рынках возлагался на полицейских чинов, которые, по существу, не знали природы этих продуктов.
Только в 1825 г. в Петербурге начала работать городская бойня, в 1857 г. в России вышел «Врачебный устав», в котором впервые в законодательном порядке были сформулированы правила, регламентирующие убой скота. В них указывалось, что мясниками могут быть люди только искусные, дабы не портили доброго скота, бить скот только на скотобойнях, не продавать падший и убитый в больном состоянии.
После отмены крепостного права в России началось бурное развитие капитализма, а увеличение экспорта продуктов животноводства потребовало упорядочения мясобоенского дела и ветеринарно-санитарной службы.
Чтобы ограничить распространение заразных болезней, в 1864 г. был издан правительственный указ о правилах прогона скота, в которых требовалось иметь на прогоняемые гурты ветеринарные свидетельства с отметками благополучия мест выхода животных по заразным болезням.
В 1868 г. при медицинском департаменте министерства внутренних дел был организован ветеринарный отдел, в ведении которого находилось и обслуживание боен.
Н 1879 г. Петербургская городская дума приняла решение построить общественную городскую скотобойню, а в 1888 г. была открыта Московская бойня на 30 тыс. голов скота. Примеру Петер-Пурга и Москвы последовали Киев, Одесса, Вильнюс, Минск и другие города.
В 1882 г. были изданы «Ветеринарно-санитарные правила», в которых излагался порядок использования животных в случае обнаружения у них заразных болезней. В 1885 г. приняты «Правила ВО ветеринарно-санитарному надзору за убойными животными и м ясными продуктами ».
Ветсанэкспертиза как самостоятельная отрасль знаний сформировалась в XX веке, но некоторые нормы в отношении браковки больных животных и продуктов их убоя были известны еще в XVII веке. В XIX - начале XX века научные сведения по ветса-пэкспертизе были составной частью мясоведения и гигиены питания. Большую роль в развитии мясоведения в России сыграли русские ученые и ветеринарные врачи Г.М. Прозоров, И.И. Равич, Л.О. Стржедзинский, Е.М. Земмер, А.Г. Сергеев, М.А. Игнатьев, И.М. Ковалевский, Н.О. Святославский, Д.В. Девель, Н.Н. Мари, П.Д. Балл, П.Н. Андреев и др.
Первая кафедра мясоведения была организована в 1918 г. в Казанском ветеринарном институте. В 1930 г. кафедры мясоведения были преобразованы в кафедры ветсанэкспертизы с основами технологии и товароведения продуктов животного происхождения. Разработка проблем ветсанэкспертизы осуществлена ветсанэкспертами М.И. Романовичем, В.Ю. Вольферцем, М.А. Агульником, П.В. Бекенским, Г.В. Колоболотским, В.П. Коряжновым, А.Н. Мироновым, Д.М. Тетерником, И.В. Шуром, Б.М. Крапивнером, Я.Я. Кухаровой и др.
В 1924 г. впервые введены «Правила ветеринарно-санитарного осмотра убойных животных и браковки мясной продукции». В 1937 г. на мясокомбинатах 1-4-й категорий были организованы ОПВК - отделы производственно-ветеринарного контроля, а на предприятиях, не имеющих ОПВК, - специальная ветеринарная служба, главной задачей которой являлись осуществление ветеринарно-санитарного надзора на всех участках производства и контроль за санитарным качеством выпускаемого мяса, мясопродуктов и животного сырья.
Развитие мясной промышленности неразрывно связано с необходимостью поддержания высокого уровня гигиены на предприятиях, так как без этого невозможно обеспечить высокое качество и санитарное благополучие вырабатываемых мясных продуктов.
О роли и значении ветеринарного контроля при производстве и продаже мясных продуктов проф. А. Баранский в книге «Руководство к осмотру скота и мяса» (1886) писал: «Наблюдение за имеющимися в продаже мясными продуктами через строго проведенный рациональный осмотр скота и мяса есть не только неизбежная потребность в отношении здоровья людей и скота, но также на том основании, что потребители почти никогда - по крайней мере гораздо меньше, чем в отношении других пищевых продуктов, — не в состоянии судить о вредности или безвредности приобретенного в мелочной продаже куска убитого животного, ни даже об его питательной ценности. А так как, кроме того, жажда к наживе у промышленника обыкновенно больше, чем его честность, то только государственное вмешательство - ведение рационального, на правильных принципах основанного осмотра скота и мяса - и может создать необходимую гарантию в охранении общественного благосостояния».
Вполне естественно, что для «создания необходимой гарантии в охранении общественного благосостояния» и получило свое становление в конце прошлого и начале нынешнего столетия научное направление в ветеринарии, которое именовалось мясоведением. Достойный вклад в разработку вопросов мясоведения в тот период внесли Г.И. Турин, А.В. Редюлин, М.А. Игнатьев, К.3. Клепцов и другие ученые.
Большим достижением того времени считается открытие в 1882 г. в Петербурге по инициативе М.А. Игнатьева и А.Г. Сергеева первой в России станции по исследованию свиного мяса на трихинеллез. Кроме того, был открыт городской мясной музей, в котором проводились занятия по мясоведению с ветеринарными и медицинскими врачами.
На Всероссийских съездах ветеринарных врачей 1903, 1910 и 1914 гг. работали секции по скотоубойному делу и мясоведению, на которых был разработан ряд рекомендаций по технологии переработки скота и ветсанэкспертизы мяса и мясных продуктов.
В 1921 г. Совнарком РСФСР издал декрет «Об убое скота в РСФСР исключительно на государственных скотобойнях со взиманием платы за производство его натурой и торговле мясными продуктами». В 1925 г. были введены впервые в СССР и Правила ветеринарно-санитарного осмотра убойных животных, исследования и браковки мясных продуктов, которые имели силу закона.
30-е г. характеризуются реконструкцией мясной промышленности - началось строительство крупных механизированных мясо комбинатов в Баку, Ленинграде, Семипалатинске, Киеве, Улан-Удэ и других городах. В связи с этим произошли коренные изменения в количественном ассортименте мясных и других пищевых продуктов животного происхождения, производство которых на индустриальной основе также требовало научных разработок по их ветеринарно-санитарному контролю. В целях практического решения этой нужной государственной задачи кафедры мясоведения были реорганизованы в кафедры ветеринарно-санитарной экспертизы с основами технологии переработки продуктов животноводства.
Первая кафедра мясоведения была организована и открыта по инициативе проф. П.В. Бекенского в Казанском ветеринарном институте в 1918 г. В 1920 г. кафедра мясоведения начала работать в Петроградском (Ленинградском) ветеринарном институте, в 1922 г. В Московском ветеринарном институте, а затем они были открыты и в других ветеринарных институтах.
Параллельно с организацией кафедр в 1918 г. во Всесоюзном институте экспериментальной ветеринарии (ВИЭВ) было организовано отделение мясоведения, в котором для его реорганизации (1941), как и на кафедрах, проводилась научно-исследовательская работа по упорядочению боенского дела, также боенской диагностике и санитарной оценке продуктов убоя больных животных. Все эти работы имели практическое значение и нашли выход в производство.
Развитие мясной индустрии в стране привело к организации в 1931 г. Всесоюзного научно-исследовательского института мясной промышленности (ВНИИМП), в составе которого была создана лаборатория ветеринарно-санитарной экспертизы. Разработки научных проблем по ветеринарно-санитарной экспертизе мясных, молочных и других продуктов животного происхождения также стали осуществляться в одноименных лабораториях Всесоюзного научно-исследовательского института ветеринарной санитарии (ВНИИВС), в республиканских научно-исследовательских ветеринарных институтах. В связи со специфичностью сырья животного происхождения и готовой продукции в мясной промышленности важнейшее значение имеют вопросы, позволяющие выяснить, какое оборудование, какие способы производства и технологические процессы наиболее отвечают требованиям гигиены, на что следует ориентироваться при совершенствовании и создании новой техники и технологии. Специалисты должны иметь четкое представление, насколько технологический процесс связан с изменением санитарных показателей сырья или продукта, какие необходимо создавать производственные условия, предотвращающие ухудшение этих показателей.
До 1989 г. производство мяса и мясопродуктов в России стабильно увеличивалось, а затем в связи с переходом на рыночные отношения производство резко упало.
Вот в чем заключается актуальность выбранной темы.
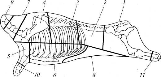
1. Сортовая разрубка (разделка) туш для розничной торговли
Для убоя, согласно ГОСТу 5110-87 отрубы (части) подразделяются на I, II и III сорта.
К I сорту относятся тазобедренный, поясничный, спинной, лопаточный (лопатка, подплечный край), плечевой (плечевая часть и часть предплечья) и грудной отрубы.
Ко II сорту — шейный отруб и пашина.
К III сорту — зарез, передняя и задняя голяшки.
Тазобедренный отруб — передняя граница отруба проходит по линии отделения поясничного отруба, задняя — поперек берцовой кости на уровне нижней ее трети, нижняя — по линии отделения пашины.

Схема разделки говядины для розничной торговли на сортовые отрубы:
1 — тазобедренный; 2 — поясничный; 3 — спинной; 4 — лопаточный (лопатка, подплечный край); 5— плечевой (плечевая часть и часть предплечья); 6— грудной; 7— шейный; 8— пашина; 9 — зарез; 10 — передняя голяшка; 11 — задняя голяшка
В отруб входят кости таза (подвздошная с маклоком, лонная, седалищная), крестцовая (крестцовые позвонки) и бедренная, шестой поясничный и два хвостовых позвонка, бедренная кость, коленная чашечка и верхние 2/з берцовой кости. Почти все кости отруба массивные, с большим содержанием жира.
Мякоть отруба неоднородная. В области позвонков и подвздошной кости расположены тонковолокнистые нежные мышцы. Вдоль нижней стороны позвонков проходит продолжение филейной вырезки (ее головка). Мышцы впереди и с внешней стороны бедренной и вдоль седалищной костей плотные, жесткие. Мышцы внутренней стороны бедра наиболее нежные из всех бедренных мышц. Эта часть отруба в розничной торговле также называется ссеком. Мышцы в области коленного сустава и берцовой кости плотные, жесткие, богатые соединительной тканью. Особенно много соединительной ткани в мышцах отруба около голяшки.
Поясничный отруб — передняя граница проходит между одиннадцатым и двенадцатым ребрами, задняя — между пятым и шестым поясничными позвонками перед маклоком, нижняя – по линии Пашины и грудинки.
В поясничный отруб входят два последних спинных позвонка с их ребрами (без нижних концов) и пять первых поясничных позвонков.
Поясничный отруб – один из лучших отрубов туши. Он состоит из филейных края и покромки и внутренней филейной вырезки. Филейный край включает в себя нежные тонковолокнистые мышечные волокна длиннейшего мускула спины. Филейная покромка представляет собой боковые крупноволокнистые мышцы. Филейная вырезка является самой лучшей частью всей туши, которая расположена под позвонками. Как правило, на мясокомбинатах отделяют всю филейную вырезку. Ее используют для производства порционных полуфабрикатов.
Спинной отруб— передняя граница проходит через пятый спин ной позвонок и далее между пятым и шестым ребрами, задняя -между одиннадцатым и двенадцатым ребрами, нижняя — по линии отделения грудного отруба.
В отруб входят часть пятого и от шестого по одиннадцатый включительно шесть спинных позвонков с соответствующими им частями ребер. Кроме того, в отруб может входить верхняя хрящевая часть лопатки, называемая пером.
Наиболее крупные и нежные мышцы отруба расположены вдоль позвоночника (в том числе длиннейшая мышца спины). Они используются для порционных блюд (антрекотов). Из надреберной и межреберной мякоти готовят гуляш.
Лопаточный отруб— передняя граница проходит между пятым и шестым шейными позвонками, задняя — через пятый спинной позвонок и далее между пятым и шестым ребрами, нижняя — по линии от верхней трети первого ребра, через середину пятого ребра и к нижней трети истинной части одиннадцатого ребра.
В отруб входят лопаточная кость, шестой и седьмой шейные позвонки, четыре спинных позвонка с соответствующими им частями пяти ребер.
Подлопаточная часть мякоти отруба имеет более нежную консистенцию, чем надлопаточная его часть.
Плечевой отруб — верхняя граница проходит по линии отделения лопаточного отруба, нижняя — в поперечном направлении через середину комплекса лучевой и локтевой костей. Плечевой отруб отделяется от грудного путем разреза мышечной ткани.
В отруб входят плечевая и верхние части лучевой и локтевой костей. Учитывая особенности строения и расположения локте вой кости, к отрубу относится почти вся ее масса.
Мышечная ткань отруба грубая, жесткая и содержит значительное количество соединительной ткани.
Грудной отруб — передняя граница проходит по линии отделения плечевого отруба, верхняя — по линии, идущей от верхней трети первого ребра, через середину пятого ребра и к нижней трети истинной части одиннадцатого ребра, далее к точке сочленения истинной и ложной частей тринадцатого ребра, задняя - по линии от точки сочленения истинной и ложной (хрящевой) частей тринадцатого ребра и вдоль хрящевой части реберной дуги до грудной кости.
В отруб входят грудная кость с хрящами и соответствующими частями тринадцати ребер.
Мякоть отруба содержит много жировой ткани, особенно в области передней части грудной кости (челышко) до уровня ее соединения с пятым ребром. В задней части отруба мякоть расположена в виде тонкого слоя над ребрами и между ними и содержит много легкоразваривающейся соединительной ткани. Здесь много реберных хрящей (ложных частей ребер). В промышленности и розничной торговле эту часть называют завитком (завитковой частью).
Шейный отруб — передняя граница проходит по линии отделения зареза, задняя — между пятым и шестым шейными позвонками. Отруб содержит три шейных позвонка.
Мякоть отруба грубая, жесткая, крупноволокнистая, с большим содержанием соединительной ткани вишневого цвета.
Пашина — границы отруба проходят по линии, идущей от коленного сустава до сочленения истинной и ложной частей тринадцатого ребра и далее вдоль хрящевой части реберной дуги до рудной кости.
Отруб не содержит костей и хрящей, но в него входит много соединительной ткани, в том числе эластиновые (желтые) жесткие пленки. Имеются прослойки жировой ткани. Мускулы в па-шине жесткие и упругие, плохо развариваются. Отруб используется в качестве котлетного мяса.
Зарез отделяется от полутуши между вторым и третьим шейными позвонками. В отруб входят два первых шейных позвонка.
Мышечная ткань отруба грубая, крупноволокнистая, с большим содержанием соединительной ткани и крови, обычно темно-вишневого цвета.
Передняя голяшка отделяется от плечевого отруба по линии, проходящей в поперечном направлении через середину комплекса лучевой и локтевой костей.
В отруб входят нижние части лучевой и локтевой (небольшой массы) костей и косточки запястья.
Мякоть отруба жесткая, содержит значительное количество соединительной ткани.
Задняя голяшка проходит поперек берцовой кости на уровне нижней ее трети с предварительным отделением ахиллова сухожилия в месте перехода его в мышечную ткань.
В отруб входят нижняя треть берцовой кости, а также кости заплюсны (скакательного сустава) и целиком ахиллово сухожилие.
Мякоть отруба почти не содержит мышечной ткани. Основой мякоти является соединительная ткань.
Значение лимфатической системы при ветеринарно-санитарной
экспертизе мяса
ЛИМФАТИЧЕСКАЯ СИСТЕМА ЖИВОТНЫХ
Для ветеринарно-санитарных экспертов первостепенное значение имеет детальное знание лимфатической системы животных, так как она представляет собой один из важнейших тестов послеубойной диагностики и санитарной оценки туш и органов. Лимфатическая система, являясь частью сосудистой и ретикулоэндотелиальной систем, освобождает организм от взвешенных в лимфе инородных тел и микробов. Кроме того, она служит транзитным путем для опухолевых метастазов, возбудителей инфекции, раневого сепсиса и для личиночных форм паразитов. Таким образом, она имеет тесную взаимосвязь с патологическими процессами в организме, которые вызывают специфические реакции в лимфатических узлах.
Лимфатические узлы включены в магистраль лимфатических сосудов и, являясь механическими и биологическими фильтрами для лимфы, очень быстро фиксируют каждое местное повреждение тканей и органов. На каждый инфекционно-токсический процесс они отвечают соответствующей реакцией и помогают ветсанэксперту выявлять болезни на различных стадиях их развития, часто еще без видимых изменений в других органах и тканях. При обнаружении изменений в лимфатическом узле или группе узлов можно определить место первоначального проникновения возбудителя болезни, пути его распространения по организму, а по морфологической картине в них поставить диагноз. Поэтому при послеубойном исследовании туш и органов большое диагностическое значение придается осмотру лимфатических узлов, так как реакция их является показателем не только состояния тканей и органов, из которых лимфа поступает в данный лимфатический узел, но и показателем общего состояния организма.
Лимфатическая система млекопитающих животных состоит из лимфы, путей, проводящих лимфу, и органов (лимфатических узлов и подэпителиальных лимфатических образований).
Лимфатические сосуды начинаются в межклеточных пространствах в виде тонких лимфатических капилляров. Лимфатические сосуды, собрав лимфу из задней части тела, органов грудной и брюшной полостей, объединяются в один общий сборный сосуд - млечную цистерну, которая берет начало у второго поясничного позвонка. Вступая в грудную полость, он носит название общего грудного протока и отдает лимфу в переднюю полую вену. От головы вдоль трахеи идут два сборных сосуда: правый и левый трахеальные протоки. Правый впадает в правую яремную вену, левый — в грудной проток. Из основных сборных протоков лимфа вместе с венозной кровью через правые отделы сердца поступает в малый круг кровообращения - в легкие. Таким образом, легкие первыми воспринимают всю собранную в организме лимфу.
Лимфатические сосуды на своем пути к крупным лимфатическим протокам проходят через ряд лимфатических узлов. Большинство лимфатических узлов сосредоточено там, где возбудители болезни могут чаще всего проникнуть в организм. Например, в области головы, у разветвления бронхов, в брыжейке около кишок. Каждый лимфатический узел имеет свой «корень», т.е. область, откуда в него поступает лимфа.
Форма лимфатических узлов имеет видовые и топографические различия: у лошадей - гроздевидная, в виде пакетов, состоящих из большого числа мелких несросшихся узелков; у крупного рогатого скота — бобовидная, овальная, округленная; у свиней — конгломератная, бугристая, круглая и т.д. Величина лимфатических узлов колеблется от булавочной головки до 20 см в длину.
У молодых они более крупные, сочные, чем у старых животных. Цвет лимфатических узлов зависит от вида животных, топографии и физиологического состояния субъекта. Окраска чаще серая и желтовато-серая. У здоровых свиней нередко они имеют с поверхности красноватую окраску из-за особенностей расположения кровеносных сосудов. У жирных особей они уменьшаются в размере вследствие превращения ретикулярной ткани в жировую. Лимфатические узлы внутренних органов (легких, печени, кишечника) часто на разрезе темные из-за содержания пигментов (гемосидерина, меланина и т. п.).
Подэпителиальные лимфатические образования находятся в соединительной ткани в виде групп лимфатических фолликулов (округлых скоплений лимфоцитов). Основу их, как и лимфатических узлов, составляет ретикулярная ткань. Подэпителиальные лимфатические образования имеются под мерцательным эпителием глотки - глоточные миндалины; в полости рта у корня языка — язычные миндалины; в углублении мягкого неба — небные миндалины. Их много в кишечнике и желудке. Невооруженному глазу такие скопления фолликулов представляются в виде возвышений — бляшек, отсюда и название «пейеровы бляшки». Они выполняют такие же функции в организме животного, как и лимфатические узлы.
Гемолимфатические узлы — это темно-красные образования круглой формы величиной от булавочной головки до лесного ореха. Отличаются от лимфатических узлов анатомическим строением. Они снабжены мелкими артериями и включены в кровеносную систему. Более крупные гемолимфатические узлы и в большем количестве наблюдаются у истощенных животных, и после потери крови. Гемолимфатические узлы имеются у крупного и мелкого рогатого скота, их нет у свиней и лошадей. У крупного рогатого скота они встречаются в подкожном жире, по ходу грудной и брюшной аорты, у овец чаще в нижней части брюха и в поясничной области. У свиней лимфатические узлы с красноватой окраской ошибочно принимают за гемолимфатические узлы. Практического значения для ветеринарно-санитарной экспертизы продуктов убоя гемолимфатические узлы не имеют.
3. Порядок проведения ветеринарно-санитарной экспертизы
Скот убивают на перерабатывающих предприятиях мясной промышленности, на скотоубойных пунктах, находящихся в системе потребительской кооперации, на убойно-санитарных пунктах колхозов, совхозов, подсобных и других хозяйств (предприятий), а также в личных подсобных хозяйствах граждан.
Перерабатывающие предприятия мясной промышленности обслуживают подразделения ветеринарного надзора, находящиеся в составе районной станции по борьбе с болезнями животных или ветеринарно-санитарной станции. В штате скотоубойных пунктов потребительской кооперации мощностью 25 и 10 голов рогатого скота в смену предусмотрена должность ветеринарного врача. Остальные убойные пункты и подворный убой обслуживают и контролируют ветеринарные специалисты государственной ветеринарной сети.
Ветеринарные специалисты, обслуживающие места убоя животных, несут ответственность за выпуск доброкачественного мяса и мясопродуктов. Следят за соблюдением ветеринарно-санитарных правил убоя скота и выработки продукции, за санитарным состоянием убойных предприятий, проводят экспертизу продуктов убоя и в необходимых случаях принимают меры по их обеззараживанию или утилизации.
На каждую партию животных (или отдельное животное), отправляемых на убой, должно быть оформлено ветеринарное свидетельство или ветеринарная справка в установленном порядке. По прибытии животных на убойное предприятие ветеринарный врач (фельдшер) обязан проверить правильность оформления документации, осмотреть всех животных, при необходимости провести поголовную или выборочную термометрию. Ее проводят обязательно при поступлении на скотоубойные пункты животных, закупленных заготовительными организациями у населения, или скота, принадлежащего гражданам, или санитарного брака из хозяйств. Результаты предубойного ветеринарного осмотра и термометрии животных регистрируют в специальном журнале.
При доставке для убоя животных с положительными реакциями на бруцеллез и туберкулез или больных другими заразными болезнями, при которых убой на мясо допускается, а также животных с желудочно-кишечным болезнями, имеющих гнойные воспаления, раны и т.п., но нормальную температуру тела, принимают и перерабатывают отдельно от здоровых. После окончания убоя этих животных, а также в случае установления указанных болезней при послеубойной экспертизе цехи, оборудование и инвентарь обрабатывают и дезинфицируют.
Убою на мясо не подлежат животные до 14-сут. возраста (жеребята 28-сут.), птица - 30-сут. возраста.
Запрещается убой на мясо животных: больных или подозрительных по заболеваниям — сибирской язвой, эмфизематозным карбункулом, чумой крупного рогатого скота, бешенством, столбняком, злокачественным отеком, брадзотом и энтеротоксемией овец, катаральной лихорадкой крупного рогатого скота.
Запрещается также убой на мясо животных, подвергнутых лечению больных сибирской язвой, или вакцинированных против сибирской язвы в течение 14 дней, вакцинированных инактивированной вакциной против ящура в течение трех недель; однокопытных, не подвергнутых маллеинизации (в случае убоя без маллеинизации все продукты убоя утилизируются).
Запрещается отправлять на убой животных, клинически больных бруцеллезом и туберкулезом, а также животных с неустановленным диагнозом болезни; больных незаразными болезнями, имеющих пониженную или повышенную температуру тела.
Запрещается отправлять на убой животных, которым применяли антибиотики с лечебной или профилактической целью, в течение срока, указанного в наставлении по применению их в ветеринарии, обработанных пестицидами до истечения срока, указанного в действующем «Списке химпрепаратов, рекомендованных для обработки сельскохозяйственных животных против насекомых и клещей», а также животных в течение 30 суток.
Убой скота на мясо начинается с оглушения (мелких животных иногда перерабатывают без оглушения). Способ оглушения зависит от технической оснащенности мест убоя.
Туляремия (Tularaemia). Природно-очаговая инфекционная болезнь животных, грызунов, пушных зверей, сельскохозяйственных животных, а также человека. Из сельскохозяйственных животных наиболее восприимчивы к инфекции овцы. В пунктах, неблагополучных по туляремии, ею могут заболеть свиньи, крупный рогатым скот, лошади.
В природе болеют главным образом зайцы, суслики, мыши, крысы, ондатры, бобры, хомяки, хорьки, которые являются главным источником инфекции.
Возбудитель: бактерия Francisella tularensis, аэробный мелкий, неподвижный, грамотрицательный, не образующий спор в виде палочки с нежной капсулой.
Возбудитель довольно устойчив по отношению к различным физическим и химическим факторам. В воде сохраняется до 90 сут., в шкуре различных грызунов до 45 сут., в органах птиц - 25-40 сут., в охлажденном мясе до 35 сут. В мясе овец, замороженном при — 19°С... —25°С сохраняется до 75, а в паренхиматозных органах при тех же условиях - до 120 сут., в засоленной шкуре возбудитель погибал в течение первых 15 сут. Нагревание до 60°С убивает его 3 - 5 мин, до 100°С - в течение нескольких секунд.
Послеубойная диагностика. У овец, убитых в острой стадии болезни, находят изменения на внутренней стороне кожи в местах укусов клещей, там появляются просвечивающие участки величиной с горошину, иногда с небольшими кровоизлияниями и уплотнением ткани; наблюдают также кожные изъязвления и некротические участки, особенно в подмышечной области, где ткань более рыхлая. Подкожная клетчатка гиперемирована, в ней отмечают узелки, часто подвергающиеся распаду, она часто отечна и студениста, особенно глубокие и поверхностные шейные, подчелюстные, заглоточные, подмышечные, мезентериальные резко увеличены и в них также находят некротические серо-желтые узелки или даже абсцессы. При хронической болезни овцы истощены, анемичны, иногда наблюдаются узелки типа инфекционных гранулем в легких, печени и селезенке, серозно-фибринозный плеврит или пневмония без плеврита. Обнаруживают сильный венозный застой с инъекцией сосудов на внутренней стороне кожи, а также в легких, печени, селезенке и кишечнике. Сердце наполнено темной, слабо свернувшейся кровью; сердечная мышца дряблая, под эпикардом нередки точечные кровоизлияния.
На мясокомбинате окончательный диагноз можно поставить на основании результатов лабораторного исследования с учетом эпизоотологических данных.
Бактериологический диагноз устанавливают, выделяя возбудителя из патологического материала.
Ориентировочный диагноз ставят на основании микроскопии мазков из пораженных органов и тканей после окраски по Романовскому-Гимза. Характерно расположение бактерий кучками, а иногда и внутриклеточно.
Санитарная оценка продуктов убоя и мероприятия. Больные животные к убою на мясо не допускаются. В случае убоя все продукты подлежат уничтожению. Продукты, соприкасавшиеся с тушами, органами или кровью животных, больных туляремией, проваривают. Помещение, где находились туши или органы от больных туляремией животных, подвергаются дезинфекции горячим 2% раствором едкого натрия. Рабочий инструмент кипятят в 5% растворе кальцинированной соды в течение получаса Загрязненные халаты и другую спецодежду стерилизуют в автоклавах при 1,5атм в течение 20 мин. Лица, имевшие контакт с больными животными или переработкой их продуктов убоя, должны находиться под наблюдением врача в течение недели.
Туляремия у человека. Инкубационный период продолжается от нескольких часов до 14 сут., чаще 3—7 сут. Болезнь начинается остро: появляется озноб, температура тела быстро повышается до 39-40°С, больные жалуются на сильную головную боль, слабость, боль в мышцах, бессонницу, может быть рвота. Кожа лица и шеи гиперемирована, сосуды склер инъецированы. У части больных с 3-го дня болезни появляется сыпь, нередко эритематозного характера. При бутонных формах характерно значительное увеличение регионарных лимфатических узлов. Чаще шейных и подмышечных. При абдоминальных формах могут быть симптомы острого мезаденита. При туляремийных бубонах периаденит отсутствует, нагноение бубонов наблюдается редко и происходит в поздние сроки (в конце 3-й недели болезни). Продолжительность лихорадки колеблется от 5 до 30 сут. (чаще 2—3 нед.). В периоде реконвалесценции может сохраняться длительный субфебрилитет. Для глазо-бубонной формы, кроме типичного поражения лимфатического узла, характерен резко выраженный конъюнктивит с отеком век, язвами на конъюнктиве. Поражается обычно один глаз. Процесс длится несколько месяцев, зрение полностью восстанавливается. При ангинозно-бубонной форме, помимо типичных бубонов, характерен специфический тонзиллит. Он проявляется болью при глотании, некротическими изменениями миндалин, небных дужек, появлением на пораженных участках фибринозного налета, напоминающего дифтерийный. Язвы заживают очень медленно.
Для абдоминальной формы характерны боль в животе, метеоризм, задержка стула, при пальпации - болезненность в области мезентериальных лимфатических узлов. Легочная форма туляремии характеризуется длительной лихорадкой непрерывного типа с повторным ознобом и обильным потом. Больные жалуются на боль в груди, кашель — вначале сухой, затем со слизисто-гнойной, а иногда и с кровянистой мокротой. Пневмония характеризуется вялым затяжным течением - до 2 мес. и более, рецидивированием.
Бруцеллез (Brucellosis). Инфекционная, хронически протекающая болезнь домашних, диких животных, человека. Человек заражается при контакте с бруцеллезными животными и их продуктами, а также при употреблении в пищу необезвреженных мяса, молока, молочных продуктов от бруцеллезных животных.
У крупного рогатого скота проявляется абортами, задержанием последа, эндометритами, маститами.
Возбудитель. Возбудители болезни — несколько видов бактерий, относящихся к роду Brucella. Все бруцеллы полиморфны, встречаются кокковидные, овоидные, палочковидные формы. Микробы неподвижны, некоторые штаммы образуют капсулу, грамотрицательны, хорошо красятся анилиновыми красками.
Бруцеллы устойчивы по отношению к различным факторам внешней среды: к нагреванию во влажной среде чувствительны гибнут при 70°С через 10 мин, при 80-85°С - через 5 мин, при 100°С - моментально. Культуры Br. mehtensis при 56°С жизнеспособны до 1,5 ч, выдерживают 25-35 повторных замораживании и оттаивании с колебаниями температуры более 110 градусов. В зараженном мясе и органах, хранящихся на холоде, сохраняются долго. Так, бруцеллы типа Br. mehtensis сохраняли жизнеспособность в мясе, замороженном при —23°С 47 сут. Бруцеллы были выделены из полутуш оленей, помещенных в условия созревания, через 20 сут., а в некоторых лимфоузлах - через 30 сут. (срок наблюдения). При хранении продуктов убоя оленей в условиях низких температур (—7,2...—38,4°С) жизнеспособность бруцелл сохранялась от 1 до 12 мес в 52,7% исследованных объектов, а в остальных объектах (47,3%) бруцеллы сохранялись менее месяца. В кусках говядины, искусственно зараженных Br. abortus bovis и замороженных при температуре —20°С в течение суток, бруцеллы оставались вирулентными для морских свинок в течение 460 сут., в условиях хранения мяса при температуре 10 - 12° С. В замороженных и хранившихся при тех же условиях кусках мяса, лимфатических узлах, печени, легких, полученных от убитой овцы, зараженной интравенозно Br. mehtensis, последние выделялись прямым посевом на питательные среды в течение 107 сут., а в печени между 311-ми и 345-ми сут.

В
сырокопченых колбасах, приготовленных
из мяса, содержащего бруцеллы, возбудители
погибают в течение 3 недель. В вареных
колбасах, изготовленных из бруцеллезного
мяса, бруцеллы не обнаруживаются.
В техническом животном сырье (в шкурах, шерсти), особенно от овец и коз, бруцеллы сохраняют жизнеспособность до 4 мес.
У крупного рогатого скота, яков, буйволов, верблюдов и лошадей возбудителем бруцеллеза, как правило, является Br. abortm. Для человека патогенны бруцеллы всех видов, но наиболее опасна Br. melitensis.
Послеубойная диагностика бруцеллеза облегчается документацией, сопровождающей животных в случаях отправки их на убой из неблагополучных хозяйств.
Послеубойная диагностика довольно затруднительна. Наиболее характерные изменения наблюдают в половых органах. Так, у коров в пред- и послеабортальном периоде слизистая влагалища гиперемирована и отечна. Слизистая оболочка матки в состоянии диффузного и гнойно-катарального воспаления. В вымени наблюдается гнойный или фибринозный мастит. Регионарные лимфатические узлы (поверхностные, глубокие паховые) опухшие, в них обнаруживаются очаговые некрозы и гнойники. У нетельных коров главным образом на конечностях наблюдаются абсцессы, гигромы, бурситы. У быков наблюдают гнойнонекротические орхиты и эпидидимиты. Обнаруживают кровоизлияния на серозных и слизистых оболочках, опухание селезенки и некоторых лимфатических узлов. В печени наблюдают небольшие некротические очаги серо-желтого цвета, в легких - множественные гнойно-катаральные пневмонические очаги.
Лабораторная диагностика. Бактериологическая диагностика заключается в проведении бактериоскопии, выделении культуры бруцеллы и постановке биологической пробы.
Санитарная оценка продуктов убоя и мероприятия. Хотя мясо и мясопродукты, полученные от бруцеллезных животных, не всегда бывают обсеменены бруцеллами, однако их нужно рассматривать как один из факторов передачи бруцеллезной инфекции.
Мясо, полученное от убоя животных всех видов, которые имели клинические или патологоанатомические изменения, характерные для бруцеллеза, выпускают после проварки или направляют на изготовление мясных хлебов.
Мясо, полученное от убоя крупного рогатого скота, реагирующих при исследовании на бруцеллез, но при отсутствии у них клинических признаков бруцеллеза или патолого-анатомических изменений в мясе и органах, выпускают без ограничений.
Мясо от крупного рогатого скота, реагирующих при исследовании на бруцеллез и поступивших из хозяйств, неблагополучных по бруцеллезу козье-овечьего вида Br. melitensis, подлежит переработке на колбасу или консервы. При этом колбасу варят при температуре 88—90°С в течение времени, необходимого для достижения температуры внутри батона не ниже 75°С.
Голова, печень, сердце, легкие, почки, желудки и другие внутренние органы, полученные от убоя животных всех видов, положительно реагирующих на бруцеллез или имеющих клинические признаки бруцеллеза, реализовывать в сыром виде запрещается, их выпускают после проварки или направляют для переработки на колбасные или другие вареные изделия.
Говяжьи уши, ноги, говяжьи губы предварительно перед промышленной переработкой или проваркой должны быть ошпарены или опалены, головы — опалены; желудки — ошпарены.
Вымя от коров, положительно реагирующих на бруцеллез, но не имеющих клинических признаков бруцеллеза и патолого-анатомических изменений в туше и органах, выпускают после проварки, а при наличии клинических признаков бруцеллеза или патолого-анатомических изменений, направляют на утилизацию.
Кишки, пищеводы, мочевые пузыри, полученные от животных, положительно реагирующих на бруцеллез, выдерживают двое суток в растворе (15—20°С), содержащем 1% поваренной соли и 0,5% соляной кислоты, при жидкостном коэффициенте 1:2. Кишки, пищеводы, мочевые пузыри, полученные от животных с клиническими признаками бруцеллеза, подлежат утилизации.
Кровь от животных, клинически больных и положительно реагирующих при исследовании на бруцеллез, разрешается использовать на изготовление кровяной муки или технических продуктов. Шкуры, рога, копыта, полученные от убоя всех видов животных, клинически больных бруцеллезом и реагирующих на бруцеллез козье-овечьего вида Br. melitensis, выпускают после дезинфекции. Бруцеллезных животных перерабатывают на санитарной бойне или в общем помещении цеха убоя скота и разделки туш, но отдельно от здоровых животных в конце рабочего дня. После работы необходимо продезинфицировать место переработки, оборудование и инвентарь следующими средствами: осветленным раствором хлорной извести с 2% активного хлора, 2% горячим раствором едкого натрия, 5% горячим раствором кальцинированной соды или др. Все эти средства применяют при экспозиции 1 ч, а раствор кальцинированной соды - 3 ч.
Наиболее доступный метод обеззараживания спецодежды - кипячение в течение 30 мин, или замачивание (3 ч) в 1% растворе хлорамина, при оптимальном расходовании раствора - 4-5 л раствора на 1 кг спецодежды.
Меры личной профилактики. Заражение людей бруцеллезом возможно при контакте с больными животными и сырыми животными продуктами. Рабочие, занятые переработкой туш бруцеллезных животных, а также ветеринарный персонал должны быть обеспечены соответствующей спецодеждой, которую после работы тщательно дезинфицируют. Перед началом работы царапины, ссадины или порезы на руках обрабатываются настойкой йода и коллодием, или клеем БФ-6. Для защиты рекомендуется применять жидкость Новикова с введением в ее состав бактерицидного препарата: танин - 5 г, белый стрептоцид - 5 г, бриллиантовая зелень 1 г, спирт 96° — 1 мл, касторовое масло — 2,5 мл, коллодиум — 100 мл. Перед употреблением жидкость следует перемешать. После очистки кожи вокруг пораженного участка антисептическим раствором на пораженную поверхность наносят 3-4 капли этой жидкости, которая через 3—4 мин высыхает, образуя плотную эластичную пленку. Она удерживается 2-3 сут., не раздражая кожу.
Для обеззараживания рук применяют дезинфицирующие растворы: хлорной извести (100 мл активного хлора в 1 л раствора), 0,1— 0,2% раствор хлорамина.
Бруцеллез человека. Особенно опасны Br, melitensis. Инкубационный период 6-30 сут. Болезнь характеризуется полиморфизмом клинических проявлений.
У некоторых инфицированных возникает первично-латентная форма без клинических симптомов, которая проявляется лишь иммунологическими реакциями. У других заболевание протекает в острой (остросептической) или в хронических (первично-хроническая метастатическая и вторично-хроническая метастатическая) формах. После исчезновения клинических симптомов (при сохранении бруцелл в организме) заболевание переходит во вторично-латентную форму, которая при ослаблении организма может вновь обостриться и снова перейти в одну из хронических форм.
Остросептическая форма бруцеллеза характеризуется высокой лихорадкой (до 40°С), при которой самочувствие больных остается хорошим, иногда они сохраняют трудоспособность. Отмечаются умеренная головная боль, повторные познабливания, повышенная потливость. Умеренно увеличены все группы периферических лимфатических узлов, печень и селезенка. При хронических формах на фоне субфебрильной (реже фебрильной) температуры и ретикуло-эндотелиоза появляются различные органные изменения. Часто поражаются крупные суставы (периартриты, артриты, бурситы), мышцы (миозиты), периферическая нервная система (моно- и полиневриты, радикулиты), половая система (орхиты, оофориты, эндометриты, самопроизвольные аборты). Течение хронических форм бруцеллеза длительное, обострения сменяются ремиссиями. У некоторых больных и после санации организма на бруцеллез могут быть стойкие остаточные явления (резидуальный бруцеллез).
Прогноз для жизни благоприятный, однако, болезнь часто приводит к частичной потере трудоспособности, иногда полной.
Туберкулез (Tuberculosis). Хроническая инфекционная болезнь многих видов сельскохозяйственных, диких животных, птиц, болеет туберкулезом и человек.
Возбудитель туберкулеза относится к микроорганизмам рода микобактерий. Наибольшее значение в патологии животных и человека имеют три основных вида микобактерий: Mycobacterium tuberculosis humanus, M. bovis, M. avium. По морфологии и культуральным свойствам они очень близки между собой. Возбудители имеют форму тонких, слегка изогнутых неподвижных палочек, спор и капсул не образуют. Микроб кислотоустойчив, строгий аэроб, растет медленно и только на специальных средах с добавлением глицерина. Окрашивается по методу Циля-Нильсена в розово-красный цвет, а другая микрофлора окрашивается в синий цвет. Туберкулезные бактерии содержат жировосковые вещества, которые придают им высокую устойчивость. Так, воздействие минусовых температур не оказывает вредного влияния на их жизнеспособность. В насыщенном растворе поваренной соли сохраняют жизнеспособность до 3 мес. и более, в замороженном мясе — до года, в соленом - 45-60 сут., сливочном масле - 45, сыре - 45-100 сут., в молоке -до 10 сут. Нагревание молока до 70°С убивает их за 10 мин, а кипячение - через 3-5 мин.
В кусочках пораженной ткани, пыли бактерии жизнестойки до 7мес. Микроб противостоит гниению до 167 сут. и более. Туберкулезная палочка сохраняется в воде 5 мес, в почве — 7 мес.
Бактерии туберкулеза весьма чувствительны к воздействию прямых солнечных лучей: в слизи в жаркие дни они погибают через 1,5-2 ч. Особенно губительны для микробов ультрафиолетовые лучи.
В вареной колбасе туберкулезная
палочка погибает только в процессе
варки при температуре не ниже 90-95°С в
течение 1 ч. При
диаметре батона 5-8 см
- через 1,5 ч, при запекании в хлебе массой
2
кг - при достижении температуры внутри
батона не ниже 85°С и
температуре печи
не ниже 120-130°С.
Губительное воздействие на возбудителя туберкулеза оказывает щелочной 3% раствор формальдегида (экспозиция 1 ч), 10% раствор однохлористого йода.
Наиболее часто поражаются легкие и лимфатические узлы органов, у взрослых животных чаще всего лимфатические узлы головы и легких.
Морфологические изменения при туберкулезе многообразны. При осмотре особое внимание обращают на легкие, бронхиальные, средостенные, заглоточные, подчелюстные, портальные и брыжеечные лимфатические узлы. В местах внедрения в ткани возбудители туберкулеза вызывают специфические туберкулезные поражения - первичный аффект. Одновременно поражения наблюдаются в регионарных лимфатических узлах. Сочетание первичного очага поражения с поражением регионарных лимфатических узлов определяют как первичный комплекс. Последний может возникать в различных органах, чаще всего в легких и их лимфатических узлах или в кишечнике. При послеубойном исследовании первичный аффект можно обнаружить в легких под плеврой в виде одного, реже нескольких плотных очагов полукруглой формы величиной от чечевичного зерна до лесного ореха. Каждый очаг казеозно перерожден и пропитан солями извести. В лимфатических узлах легких - бронхиальных, средостенных, наблюдают бугорковые или диффузные туберкулезные поражения. Лимфатические узлы при диффузном поражении с преимущественно экссудативными процессами значительно увеличены, уплотнены, на поверхности разреза обнаруживаются радиально расположенные творожистые возвышения желтого цвета, иногда пропитанные известью. Первичный комплекс в кишечнике чаще всего бывает неполным, особенно у телят. Специфические изменения наблюдаются лишь в брыжеечных лимфатических узлах, причем поражаются не все, а один или несколько. Они увеличены и имеют такие же изменения, как лимфатические узлы легких при первичном комплексе. При заживлении поражений, что у крупного рогатого скота встречается редко, очаг обызвествляется, инкапсулируется, иногда прорастает соединительной тканью и рубцуется.
Если первичные очаги поражения
не заживают и возбудитель туберкулеза
распространяется по организму, возникает
генерализация туберкулезного процесса,
характеризующаяся развитием острого
милиарного туберкулеза или затянувшегося
процесса с постепенным его распространением.
Острый мил парный туберкулез чаще всего
встречается у молодых телят и имеет
гематогенное происхождение. В органах
появляются равномерно рассеянные мелкие
узелки величиной с просяное зерно и
больше. Свежие узелки полупрозрачны,
серого цвета, в центре более старых и
крупных узелков можно обнаружить очаги
некроза с казеозом и обызвествлением.
При такой генерализации в процесс
постепенно вовлекаются отдельные
органы, чаще всего легкие, в которых
можно видеть лишь единичные узелки или
узлы. Поражаются также серозные оболочки,
печень, почки, селезенка. Более сильно
изменяются лимфатические узлы, особенно

медиастинальные
и портальные. Пораженные узлы резко
увеличены, казеозно перерождены и
пропитаны солями извести.
Помимо первичного комплекса и выраженной генерализации процесса при послеубойном исследовании у крупного рогатого скота часто обнаруживают различные туберкулезные поражения отдельных органов и лимфатических узлов, преимущественно продуктивного или экссудативного характера.
В легких можно наблюдать хронический туберкулез, на разрезе можно видеть туберкулезные узелковые включения величиной от просяного до чечевичного зерна, которые либо расположены изолированно, либо соединены в группы наподобие кленовых листьев или кистей винограда. Часто узелки в центре творожисто перерождены и содержат желтую гноеподобную массу. Если процесс не имеет тенденции к заживлению, узелки сливаются и разрастаются в большие очаги. Кроме того, в легких нередко можно видеть расплавленные или чаще бронхоэктатические каверны. Важнейшим признаком течения хронического туберкулеза легких является частое отсутствие видимых изменений в регионарных лимфатических узлах.
Лобулярная казеозная пневмония часто встречается у взрослого крупного рогатого скота и протекает преимущественно в виде экссудативного процесса. В легких обнаруживают различные по величине и форме казеозные очаги, которые охватывают отдельные доли легкого. При распространении процесса на соседние дольки возникает диффузная лобарная казеозная пневмония. При разрезе пораженных участков обнаруживают характерные крупные очаги мутно-желтого казеоза, усеянные островками живой гиперемированной ткани в виде кровоизлияний. При лобулярной и лобарной казеозной пневмонии часто развиваются каверны. В процесс всегда вовлекаются лимфатические узлы, которые резко увеличены и имеют нередко такие же изменения, как в пораженных участках легких.
Серозные оболочки — плевра, брюшина, перикард могут иметь поражения в форме либо хронического узелкового серозита (жемчужница), либо казеозного.
При жемчужнице на серозных оболочках обнаруживают узелки или узлы разных размеров в виде жемчужин или разрастания неплотной соединительной ткани серо-желтого или серо-розового цвета. Регионарные лимфатические узлы — средостенные, межреберные, портальные — в большинстве случаев без изменений.
Казеозный серозит - плеврит, перитонит, перикардит встречается у крупного рогатого скота значительно ре лее, чем жемчужница.
В отличие от нее при казеозном серозите бугорки и узлы отсутствуют. Пораженная серозная оболочка в результате отложения на ее поверхности фибринозного экссудата резко утолщена. На поверхности разреза та же картина, которую наблюдают при казеозной лобулярной пневмонии. Регионарные лимфатические узлы — межреберные, средостенные, портальные - вовлекаются в процесс и дают картину, сходную с поражением в самой серозной оболочке.
Туберкулезные поражения вымени обнаруживают в виде хронического лобулярно-инфильтрирующего туберкулеза и казеозного мастита. При лобулярно-инфильтрирующей форме поражаются обширные области задних четвертей вымени. Туберкулезные очаги имеют вид плотных участков, пораженная область бугриста и на разрезе как бы разделена на поля и частично пестрая. Творожистый некроз и обызвествление слабо выражены или отсутствуют. В молочной цистерне содержится обильный гнойный экссудат. Регионарные лимфатические узлы — поверхностные паховые, при этой форме, как и при хроническом туберкулезе легких, без видимых изменений. Нередко эту форму хронического туберкулеза принимают за обычный паренхиматозный мастит.
Казеозный мастит относят преимущественно к экссудативной форме течения туберкулезного процесса. Он охватывает обширные участки вымени: целую долю, несколько долей и даже все вымя. Пораженные доли резко увеличены, плотны, но не бугристы. На поверхности разреза обнаруживают ту же характерную картину, что и при казеозной пневмонии и казеозном серозите: крупные очаги сухого мутно-желтого казеоза, пронизанные островками сильно гиперемированной живой ткани. Поверхностные паховые лимфатические узлы поражены и имеют яркие признаки свежего диффузного казеоза. Туберкулезные поражения печени, селезенки, почек, а также костей и мышечной ткани свидетельствуют о генерализации процесса. В печени в зависимости от формы туберкулезного процесса можно обнаружить милиарные узелки или крупные узлы с творожистым некрозом в центре. Встречаются размягченные казеозные очаги в виде каверн или абсцессов. Портальные лимфатические узлы также изменены и представлены в виде диффузного казеоза.
Костная ткань поражается редко. Изменения наблюдаются в костях, богатых костным мозгом (позвонки, эпифизы трубчатых костей). В пораженных костях можно наблюдать милиарные узелки либо диффузное разращение грануляционной ткани с обширными очагами творожистого некроза.
Туберкулезные поражения мышечной ткани встречаются очень редко (0,1%). Их характеризует появление полупросвечивающихся серых узелков, превращающихся позднее в плотные желтовато-серые узлы с казеозным распадом в центре.
Лабораторная диагностика. Для постановки диагноза на туберкулез в лаборатории проводят микроскопию мазков из патологического материала; выделяют чистую культуру туберкулезной палочки; заражают лабораторных животных.
На мясокомбинатах при необходимости микроскопически исследуют подозрительный материал, так как методы бактериологического исследования длительны и в условиях производства трудно применимы. Для микроскопии мазки окрашивают по Циль-Нильсену, а также используют люминесцентную микроскопию.
Для исключения паратуберкулеза, при котором животные могут реагировать на введение туберкулина, 4-5 кусочков измененных лимфатических узлов исследуют гистологически и микроскопически.
Санитарная оценка продуктов убоя и мероприятия. Тощие туши при обнаружении в них любой формы поражения туберкулезом органов или лимфатических узлов, а также туши, независимо от состояния упитанности, головы, внутренние органы, в том числе и кишечник, при генерализованном туберкулезном процессе, то есть при одновременном поражении грудных и брюшных органов с регионарными лимфатическими узлами - направляют на утилизацию.
Туши нормальной упитанности, при наличии туберкулезного поражения в лимфатическом узле, в одном из внутренних органов или других тканях, а также непораженные органы направляют на выработку мясных хлебов, консервов или проварку. Внутренний жир перетапливают.
Пораженные туберкулезом органы и ткани, независимо от формы поражения, направляют на утилизацию.
Не пораженный туберкулезом кишечник направляют для использования на данном предприятии в качестве оболочки при выработке вареных сортов колбас, а при отсутствии такой возможности направляют на производство сухих кормов.
При туберкулезном поражении только брыжеечных лимфатических узлов направляют на утилизацию кишечник, а тушу и остальные внутренние органы выпускают без ограничений.
При обнаружении в одном из указанных лимфатических узлов поражений в виде казеозных, необызвествленных очагов или туберкулезных поражений одновременно и в подчелюстных, и в брыжеечных узлах последние удаляют. Кишечник направляют на утилизацию, а тушу и остальные органы - на выработку мясных хлебов, консервов или проварку.
При обнаружении туберкулезного поражения в костях все кости скелета направляют на утилизацию, а мясо, при отсутствии туберкулезных поражений, на выработку мясных хлебов, консервов или проварку.
При убое животных, реагирующих на туберкулин, санитарную оценку мяса и других продуктов убоя проводят в зависимости от обнаружения туберкулезного поражения. Если туберкулезные поражения в лимфоузлах, тканях и органах не обнаруживаются, туши и другие продукты убоя выпускают без ограничений. Шкуры выпускают без дезинфекции.
Ветеринарно-санитарные мероприятия. Подозрительные на туберкулез очаги вскрывают очень осторожно, не загрязняя патологическим материалом помещений, оборудования и мяса здоровых животных. Инструменты (ножи, мусаты, крючья и др.), используемые при исследовании туберкулезных животных и при их переработке, тщательно дезинфицируют, кипятят в 5% растворе соды не менее 5 мин. В случае загрязнения патологическим материалом помещения или оборудования их тщательно дезинфицируют. Для дезинфекции применяют осветленный раствор хлорной извести с 5% активного хлора, щелочной раствор формальдегида, содержащий 3% формальдегида и 3% едкого натрия с экспозицией 1 ч. После этого помещения обмывают горячей водой. Сточные воды хлорируют.
Рабочим цеха убоя скота и разделки туш, обрабатывающим туши туберкулезных животных, а также ветсанэкспертам, исследующим туши и органы, необходимо строго соблюдать меры личной профилактики. Руки дезинфицируют 2% раствором хлорамина или хлорной водой. Порезы или царапины немедленно обрабатывают настойкой йода.
Вынужденный убой
Не допускается к обработке для последующего использования в пищу людям мясо от животных, погибших на пожаре, убитых молнией, электрическим током, замерзших, утонувших и т.п. Трупы таких животных подлежат утилизации.
Мясо — это туша или часть туши, полученная после убоя и первичной обработки скота и представляющая собой совокупность различных тканей - мышечной, соединительной, жировой, костной и др. (табл. 1). Это один из важнейших продуктов питания, обладающий высокой пищевой ценностью.
О причинах вынужденного убоя скота в хозяйстве составляется акт, который подписывается ветеринарным врачом. Этот акт и заключение ветлаборатории о результатах бактериологического исследования тушек вынужденно убитых животных предъявляются при доставке тушек на мясоперерабатывающее предприятие.
Если по результатам экспертизы, бактериологического и биохимического исследований мясо признано пригодным для использования в пищу, то такое мясо независимо от его качества выпускают только после проварки или направляют на изготовление мясных хлебов или консервов.
Реализация тушек на рынках запрещается. Выпуск такого мяса и других продуктов убоя в сыром виде, в том числе в сеть общественного питания, без предварительного обеззараживания проваркой также запрещается.
К случаям вынужденного убоя не относится:
- убой клинически здоровых животных, не поддающихся откорму до требуемых кондиций, отстающих в росте и развитии;
- убой скота, которым угрожает гибель в результате стихийного бедствия при условии убоя под контролем ветврача.
Мясо, убитых молнией, замерзших, утонувших, погибших при пожарах и от других случайных причин, расценивается как трупное и подлежит технической утилизации. Неиспорченные шкуры - без ограничений.
Экспертиза качества мяса и мясных товаров решает задачу определения соответствия товарных качеств действующим государственным стандартам, а также соответствия состава и наименования маркировке и сопроводительным документам, состояния условий и сроков хранения и связи их с качественными изменениями товара.
Мясо должно пройти ветеринарный контроль, мясные продукты — сертификацию по параметрам, предусмотренным «Медико-биологическими требованиями к качеству сырья и продукции».
Доброкачественность мяса и мясных товаров определяют органолептически. Мясо, отнесенное к сомнительной свежести хотя бы по одному признаку, подвергают химическому и микроскопическому анализам. Гистологическим методом определяют степень свежести мяса.
Заключение
Из выше следующего можно сделать выводы о том что, заболевания могут быть инфекционными (вызываются микроорганизмами) и инвазионными (вызываются паразитами), а также вызваны радионуклидами (стронций-90, цезий-137, иод-131, полоний-210).
Многие из заболеваний животных являются опасными для здоровья человека.
Условно-годным является мясо, которое можно использовать только после предварительного обеззараживании. К условно-годному мясу относят мясо и внутренние органы животных, больных ящуром, бруцеллезом (при отсутствии изменений в тканях), туберкулезом (при отсутствии истощения скота). Для обеззараживания такого мяса достаточно посолки или выдержки определенное время при пониженной температуре. В таких случаях используются клейма: «Проварка», «Стерилизация», «в санобработку».
Утилизации подлежит мясо и внутренние органы сибироязвенных, истощенных туберкулезом, с признаками бруцеллез при наличии сальмонелл (более 3 на 40 см2 поверхности разреза; с заболеваниями: сап, листериоз, оспа, туляремия). В этих случаях ставится клеймо "Утиль".
Мясные товары проходят несколько видов экспертизы: санитарно-гигиеническую, ветеринарно-санитарную, экологическую, микробиологическую и товароведческую.
При санитарной экспертизе объектами являются товары, услуги, процессы производства, хранение, оборудование мясной индустрии, транспортные средства и обслуживающий персонал. Гигиеническая экспертиза контролирует показатели химической, радиационной и микробиологической безопасности, показатели допустимых концентраций пищевых добавок.
Ветеринарно-санитарная экспертиза осуществляет выделение опасных инфекционных заболеваний, подтверждает соответствие экспертизы ветеринарным требованиям.
Это касается возможного наличия таких опасных для человека и животных заболеваний, как сибирская язва, трихинеллез и др., новых заболеваний типа "бешенство коров" (губчатый энцефалит), использования гормональных препаратов для ускорения роста, клонирования. Ветеринарно-санитарная экспертиза проводится также при испытаниях для сертификации.
В соответствии с действующим законодательством запрещается проводить заготовку, переработку, реализацию, также использование в пищу мяса, мясопродуктов, не подвергнутых ветеринарно-санитарной экспертизе.
То же относится и к ввозу в страну неблагополучных с ветеринарно-санитарной точки зрения пищевых продуктов (в том числе мяса и мясопродуктов).
Проведение экологической экспертизы необходимо для предотвращения загрязнения окружающей среды при потреблении товаров и обеспечения безопасности среды обитания человека.
Экологическая экспертиза оценивает товары по степени их отрицательного воздействия на среду; определяет допустимые концентрации зараженности продуктов химическими загрязнителями и радиоактивными изотопами.
При микробиологической экспертизе проводят смывы с товаров, тары, оборудования и обнаружение микроорганизмов в воздухе. Так же проводится и экологическая экспертиза по выявлению грызунов, насекомых и гельминтов.
В этом смысле важным является предреализационная товароведческая экспертиза, препятствующая попаданию в реализацию испорченных и вредных для здоровья людей товаров.
Если продукты признаны доброкачественными — это указывается в сертификате соответствия, а если недоброкачественными в результате какого-либо вида экспертизы (в том числе экологической), то в акте экспертизы наряду с необходимыми сведениями приводится и заключение о качестве, с рекомендацией о дальнейшем использовании или утилизации продукта с указанием лица, ответственного за исполнение рекомендации эксперта.
После извещения поставщика о результатах экспертизы руководитель торговой организаций представляет органам, осуществляющим экспертизу, документ о соблюдении рекомендации экспертов.
Появилась тенденция организации мелких предприятий по производству и переработке продуктов убоя животных на базе подсобных хозяйств промышленных предприятий, объединений фермерских хозяйств и комплексов по откорму скота, животноводческих хозяйств под разными названиями бывших колхозов и совхозов. Мощность таких предприятий 0,5-5,0 т в смену, что не всегда позволяет рационально использовать имеющееся сырье, особенно вторичные ресурсы, т.е. безотходную технологию переработки.
По мнению специалистов-технологов, в перспективе увеличится выпуск и использование бескостных и костных отрубов мяса, различных видов полуфабрикатов, в т.ч. натуральных, рубленых, упакованных в современные полимерные материалы, имеющих длительный срок хранения и позволяющих сократить затраты времени при приготовлении пищи в домашних условиях и в сфере общественного питания. Предполагается возрастание использования мяса высших сортов для производства полуфабрикатов деликатесных мясопродуктов - ветчины, копченостей, копченых колбас с соответствующим уменьшением удельного веса некоторых сортов вареных колбас, но с резким повышением производства сосисок и мясопродуктов длительного хранения.
В настоящее время на основании Закона Российской Федерации «О ветеринарии» ветеринарная служба осуществляет ветеринарно-санитарную экспертизу продуктов животноводства и другие специальные мероприятия, направленные на защиту животных от болезней, защиту населения и животных от зооантропонозов, от пищевых отравлений людей, возникающих при потреблении опасных в ветеринарно-санитарном отношении продуктов животноводства.
Литература
Кругляков Г.Н., Круглякова Г.В. Товароведение мясных и яичных товаров. Товароведение молочных товаров и пищевых концентратов: Учебник.- М.: Издательско-книготорговый центр «Маркетинг», 2001г.-488с.
Шепелёв А.Ф., Печенежская И.А., Кожухова О.И., Туров А.С. Товароведение и экспертиза мясных, рыбных и молочных товаров. Учебное пособие.- Ростов-на-Дону: «Феникс»,2002г.
Сенченко Б.С. Ветеринарно-санитарная экспертиза продуктов животного и растительного происхождения. Серия «Технология пищевых производств»- Ростов-на-Дону: Издательский центр «МарТ», 2001.-704с.
Коснырева Л.М. Товароведение и экспертиза мяса и мясных товаров: Учебник для студентов высш. учебн. Заведений / Л.М. Коснырева, В.И. Криштафонович, В.М. Поздняковский.- М.: Издательский центр «Академия», 2005.- 320с.
Гугушвили Н.Н., Сенченко Б.С., Кавунник А.М., Шевкопляс В.Н., Шантыз А.Ю. Ветеринарно-санитарная экспертиза при инфекционных и инвазионных болезнях животных. Краснодар:КубГАУ, 2000. 342с.