Збереження біорізноманіття як пріоритет збалансованого розвитку
Зміст
Вступ
Розділ 1 Поняття про стійкий розвиток
1.1 Зміст поняття „стійкий розвиток”
1.2 Поняття біорізноманіття
1.3 Основні причини втрати біорізноманіття
Розділ 2 Збереження біорізноманіття
2.1 Проблеми збереження біорізноманіття
2.2 Збереження біологічного різноманіття
2.3 Показники стану біорізноманіття в Україні
2.4 Економічна оцінка біорізноманіття
Висновки
Використана література
Вступ
Актуальність теми
За визначенням, даним Всесвітнім фондом дикої природи (1989), біологічна різноманітність – це “все різноманіття форм життя на землі, мільйонів видів рослин, тварин, мікроорганізмів з їх наборами генів і складних екосистем, створюючих живу природу”. Таким чином, біологічну різноманітність слід розглядати на трьох рівнях. Біологічна різноманітність на видовому рівні охоплює набір видів на Землі від бактерій і простих до царства багатоклітинних рослин, тварин і грибів. У дрібнішому масштабі біологічну різноманітність включає генетична різноманітність видів, утворена як географічно віддаленими популяціями, так і особинами усередині однієї і тієї ж популяції. Біологічна різноманітність включає також різноманітність біологічних співтовариств, видів, екосистем, сформованих співтовариствами і взаємодії між цими рівнями.
Для безперервного виживання видів і природних співтовариств необхідні всі рівні біологічної різноманітності, всі вони важливі і для людини. Різноманітність видів демонструє багатство еволюційних і екологічних адаптацій видів до різних середовищ. Видова різноманітність служить для людини джерелом різноманітних природних ресурсів. Наприклад, вологі тропічні ліси з їх багатющим набором видів проводять чудову різноманітність рослинних і тваринних продуктів, які можуть використовуватися в їжу, в будівництві і медицині. Генетична різноманітність необхідна будь-якому вигляду для збереження репродуктивної життєздатності, стійкості до захворювань, здібності до адаптації в умовах, що змінюються. Генетична різноманітність домашніх тварин і культивованих рослин особливо цінно для тих, хто працює над селекційними програмами по підтримці і поліпшенню сучасних сільськогосподарських видів.
Мета роботи: Дослідити збереження біорізноманіття, який є пріоритетом стійкого розвитку.
Предмет роботи: якісний і кількісний стан біорізноманіття в Україні.
Об’єктом дослідження є: процеси, що протікають в біологічній екосистемі.
Завдання:
1.Визначити поняття „стійкого розвитку” і біорізноманіття.
2.Визначити проблеми біорізноманіття.
3.Визначити показники стану біорізноманіття в Україні.
4.Дати економічну оцінку біорізноманіттю.
Різноманітність на рівні співтовариств є колективним відгуком видів на різні умови навколишнього середовища. Біологічні співтовариства, характерні для пустель, степів, лісів і затоплюваних земель, підтримують безперервність нормального функціонування екосистеми, забезпечуючи її “обслуговування”, наприклад, за допомогою регулювання паводків, захисту від ґрунтової ерозії, фільтрації повітря і води.
Розділ 1 Поняття про стійкий розвиток
1.1 Зміст поняття „стійкий розвиток”
Концепція стійкого розвитку була прийнята в червні 1992 р. у Ріо-де-Жанейро на Конференції ООН по навколишньому середовищу і розвитку (КНСР-92). У ній взяли участь глави, члени урядів і експерти 179 держав, а також представники багатьох неурядових організацій, наукових і ділових кіл.
Конференція прийняла кілька важливих документів. Серед них:
Декларація Ріо з навколишнього середовища і розвитку;
Заява про принципи глобального консенсусу з управління, збереження і стійкого розвитку всіх видів лісів;
Порядок денний на XXI століття - документ, орієнтований на підготовку світового співтовариства до розв'язання еколого-економічних і соціально-економічних проблем близького майбутнього.
Крім того, у межах Конференції були підготовлені Рамкова конвенція про зміну клімату та Конвенція про біологічне різноманіття.
Усі документи КНСР-92 пронизує концепція стійкого розвитку.
На конференції було прийняте визначення стійкого розвитку, представлене в доповіді Міжнародної комісії, яку очолювала прем'єр-міністр Норвегії пані Г.Х. Брунтланд (у пресі часто можна зустріти назву «Брунтландська доповідь»).
Стійкий розвиток – це такий розвиток, що задовольняє потреби теперішнього часу, не ставлячи під загрозу здатність майбутніх поколінь задовольняти свої власні потреби.
«Стійкий розвиток» є однією з утопій людства, яка, не маючи чітких критеріальних меж, як чергове «світле майбутнє», дозволяє нескінченно фантазувати про конкретні цільові орієнтації, шляхи та засоби наближення до кінцевої мети. Те, що сьогодні написано про стійкий розвиток, залишає більше питань, ніж конкретні методичні положення та інформаційні основи. Тому спробуємо розібратися в більш-менш бездоганному каркасі визначень, що складають основу такого суперечливого і неоднозначного поняття, як стійкий розвиток.
Внутрішня суперечливість терміна стає зрозумілою, якщо звернутися до основ методології розвитку. Будь-яка стаціонарна система може існувати не інакше, як підтримуючи стан гомеостазу (динамічної рівноваги). Відповідно, процес розвитку може відбуватися через послідовну зміну рівня гомеостазу за умови накопичення в системі вільної енергії.
Почнемо з визначення. При першому ж аналізі з'ясовується суперечливість і неоднозначність цього терміна.
Суперечливість полягає в тому, що в одному понятті об'єднані два слова, які мають внутрішньо протилежне значення: «стійкість» передбачає рівновагу, а «розвиток» можливий тільки за умови постійного виходу системи з рівноважного стану. Таким чином, стійкий розвиток за своїм внутрішнім змістом має означати перманентне відтворення так званого стану гомеостазу (динамічної рівноваги) з періодичною зміною його рівня, при якому б відбувалося постійне розв'язання суперечностей між внутрішніми компонентами системи, а зміна параметрів біосфери не виходила за межі катастрофічних (фатальних) для системи трансформацій.
Неоднозначність розглянутого поняття полягає в тому, що «стійкість» можна розуміти і як здатність утримувати рівновагу (не падати, не руйнуватися), і як стабільність, тобто здатність не змінюватися або підтримувати певні (стійкі) темпи руху (розвитку). Слід сказати, що термінологічно перший значеннєвий зміст більшою мірою відповідає традиційному визначенню «стійкого розвитку», сформульованому в оригіналі. До речі, у світлі вищесказаного, українською мовою зазначене поняття, очевидно, точніше перекладати як «стійкий розвиток». Термін «сталий розвиток» (відповідає російському «постоянный/ стабильный», тобто постійний/стабільний розвиток), що часто вживається в науковій літературі, значною мірою відбиває друге смислове поняття. Ми ж раніше переконалися, що змінюються (прискорюються) не тільки темпи розвитку, але і його прискорення. Отже, ні про яку сталість чи стабільність не йдеться. Нагадаємо, що в англомовному оригіналі розглянуте поняття походить від слова sustain - «спиратися, підтримувати, витримувати». При цьому використовуються два терміни: sustainability (що передає підтримування чого-небудь, чи стан стійкості) і sustainable development (що дослівно означає «підтриманий розвиток»). Втім, звичайно обидва терміни переводяться як стійкий розвиток. Таким чином, термін sustainability передає насамперед стан стійкості, інакше кажучи, рівноважний стан, чимось підтримуваний. Залишається відповісти на питання, що підтримується і чим підтримується.
Мабуть, у першому наближенні відповідь на обидва питання не повинна викликати особливих утруднень: підтримується добробут людини і суспільного ладу за допомогою життєзабезпечувальних функцій природи як підоснови суспільного розвитку.
Несуча здатність біосфери. Екологічні функції біосфери є тією основою, що підтримує (згадаємо першооснову розглянутого поняття - sustain) соціальну та економічну системи. Саме здатність біосфери до самовідтворення/самовідновлення (carrying capacity) формує ту екологічну ємність, у межах якої природою відпущено людині вирішення соціальних і економічних проблем. Зокрема, саме даний аспект міститься у визначеннях 1, 5 і 7. Тут доречно привести ще одне визначення (у цілому в літературі зустрічається понад 60 визначень стійкого розвитку), менш формалізоване і більш образне: «розвиток, при якому людству необхідно жити тільки на відсотки з природного капіталу, не використовуючи сам капітал (тобто забезпечувати принаймні його просте відтворення, але не «проїдати» самого капіталу - щось на зразок рахунка в банку, коли будь-яка розумна людина намагається зберегти основний капітал і жити тільки на відсотки з нього)».
Підтримання екологічної ємності (carrying capacity) (аналогічні терміни: підтримувальна здатність, пропускна здатність) обумовлює дві необхідні умови:
збереження життєво важливих ланок (а такими є всі біологічні види, які мешкають на Землі) і механізмів функціонування біосфери;
наявність екологічних меж впливу на екосистеми.
Серед основних видів екологічних меж, які забезпечують стійку рівновагу, називають такі:
межі використання невідновних природних ресурсів - не повинні перевищуватися темпи заміщення таких видів ресурсів відновними;
межі використання відновних природних ресурсів - не повинні перевищуватися темпи їх відтворення природними системами;
межі порушення/забруднення природних систем - не повинні перевищуватися ємності асиміляційного/відтворювального потенціалу (несучої здатності, екологічної ємності) природи. Не випадково Ріо-конференція серед найважливіших документів підготувала Рамкову конвенцію про зміну клімату і Конвенцію про біологічне різноманіття, вважаючи збереження клімату і біологічного різноманіття найважливішими компонентами забезпечення підтримувальної здатності екосистем планети.
Стан рівноваги й еластичність. Ще однією відмітною рисою поняття про стійкий розвиток є стан динамічної рівноваги (гомеостазу) і пов'язаної з цим еластичності систем (визначення 4, 7 в табл. 18.1). Причому, як відзначає більшість дослідників, для досягнення стійкого розвитку умовний стан гомеостазу повинні забезпечувати всі три системи: соціальна, економічна та екологічна. Для динамічних систем (а саме такою є розглянута триєдність і її складові підсистеми) стабільність означає не консервацію існуючого стану, а еластичну змінність, за якої зберігається цілісність системи та її найважливіших елементів.
Як відзначають дослідники, стан динамічних систем залишається стабільним (чи стійким) за рахунок внутрішніх і зовнішніх факторів доти, поки значення дисбалансу гаситимуться раніше, ніж система змінить свою структуру шляхом зміну її складових і процесів, що відповідають за їх поведінку. Фактори, від яких залежить рівновага системи, умовно можна об'єднати у дві групи: зовнішні і внутрішні.
1.Зовнішні фактори, у свою чергу, залежать від двох характеристик:
ступеня впливу деструктивних сил, які здатні вивести систему з рівноваги (зокрема, екодеструктивних навантажень);
симетричності сил впливу на систему. Симетричні сили впливу («порушення - відновлення», «дезінтеграція - інтеграція» тощо) взаємозрівноважують одна одну; несиметричні навантаження, навпаки, виводять систему з рівноваги.
2.Внутрішні фактори залежать від потенційної здатності системи (тобто матеріальних, енергетичних, інформаційних факторів) «гасити» дисбалансові турбулентності системи.
Еластичність - це здатність системи зменшувати (поглинати) турбулентність. Таким чином, поняття еластичності відбиває межі, у яких система залишається більше стабільною, ніж нестабільною. Цілком справедливе поняття стійкості й еластичності німецький учений Йорг Кен погоджує з таким важливим компонентом, як інформація. Цей компонент раніше звичайно не враховувався, і дослідження обмежувалися аналізом матеріально-енергетичних потоків (Кён, 1998). Основні ідеї вченого зводяться до таких тез: поняття еластичності передбачає необхідність збереження інформаційних характеристик, наприклад, мінімального рівня популяції, біорізноманіття, цінності видів тощо - між нижньою і верхньою межами. Інакше кажучи, стійкість передбачає збереження інформаційних параметрів чи комплексу елементів, на яких будується система. Інформаційне різноманіття охоплює різноманіття біологічних форм (якщо мова йде про біосферу) чи розмаїття культур (якщо йдеться про суспільство). Стійкість у рівноважному стані зводиться до того, що системні компоненти й організаційні параметри адаптуються до мінливих умов усередині системи, коли сама система розвивається.
Етичний компонент. Безумовно, одним із найважливіших компонентів стійкого розвитку, що прямо чи побічно зауважується в більшості визначень, є посилання на справедливість. Для підсумкового визначення Ріо-конференції цей аспект взагалі є стрижневим. Поняття «екосправедливість» («eco-equity») міцно входить в усі трактування стійкого розвитку. При цьому звичайно використовуються сполучення «справедливість між поколіннями» і «справедливість всередині одного покоління».
Говорячи про моральні аспекти поняття стійкого розвитку, необхідно відзначити кілька моментів. Через складність, бага-товекторність і неоднозначність процесів, які відбуваються в природі, а також через значне віддалення в часі причин і наслідків (зокрема, екодеструктивних дій і їх наслідків), неможливо строго регламентувати (а тим більше контролювати) дії людей у сьогоденні.
Благополуччя людини майбутнього залежить від щохвилинної поведінки мільярдів жителів планети сьогодні і завжди буде триматися на внутрішніх етичних засадах і заборонах конкретних людей, їх здатності знаходити компроміс між своїми егоїстичними інтересами і турботою про майбутні покоління.
Однак шанси, що конкретна людина зможе подбати про майбутні покоління, збільшаться, якщо ця людина сама не перебуватиме на межі фізичного виживання. Інакше кажучи, моральні позиції виявляються міцно пов'язані з рівнем соц льно-економічного розвитку.
1.2 Поняття біорізноманіття
Біорізноманіття (скорочене від «біологічне різноманіття») визначається кількістю, різноманітністю і мінливістю живих організмів. У наиширшому розумінні це поняття синонімічне з «життям на Землі». Тут виділяється два різних підходи: перший - це кількісна міра різних живих істот, другий - міра того, наскільки вони різні.
Хоча існує багато визначень біорізноманіття, частіше використовують те, що запропоновано в «Угоді про біологічне різноманіття».
Біологічне різноманіття — це «мінливість живих організмів усіх екосистем, включаючи земні, морські та інші водні екосистеми та екологічні комплекси, частиною яких вони є; сюди належить різноманіття в межах різновиду, між різновидами і екосистемами».
Таким чином, термін «біорізноманіття» описує різноманіття усього життя на Землі і визначається як взаємодія різних компонентів екосистем.
Останнім часом з'явилося безліч концепцій, що стосуються принципів управління біорізноманіттям, включаючи цілісність, здоров'я, стійкість і пружність (здатність протистояти напруженню і ударам) екосистеми. Наявність великої кількості концепцій і визначень ускладнює завдання пошуку єдиного практичного визначення біологічного різноманіття. Одним із найпростіших і найбільш загальноприйнятих визначень біорізноманіття є таке: збереження максимальної кількості різновидів.
Різновид - основна одиниця класифікації в біології. Хоча різновид міг би бути визначений як група подібних організмів, що схрещуються або мають спільне походження, не існує жодного універсального визначення, яке б описувало різновид. Навіть якщо різновид визначати як основну одиницю, він являє собою тільки один рівень комплексу генетичної ієрархії: пов'язані різновиди згруповані в рід, пов'язані роди - в сімейства, сімейства — в підкласи і т.д., до найвищого рівня, — царства, яких нині існує п'ять: тварини, рослини, гриби, бактерії, людина. Більш схематично рівні біорізноманіття показані в табл. 1.1.
Багатство різновидів вимірюється кількістю різновидів у межах даної території без огляду на вагу кожного різновиду. Цей порядок обліку різновидів може використовуватися на різних географічних рівнях (область, країна і, зрештою, світ), будучи найбільш простим і корисним виміром біорізноманіття. В усьому світі поки було описано тільки 1,75 мільйонів різновидів з відомих 13-14 мільйонів. Більшість описаних різновидів недостатньо вивчені. Не існує єдиного каталогу, що описує всі відомі різновиди.
Функціональне різноманіття — оцінює багатство функціональних особливостей і взаємозв'язків на території, визначаючи харчові ланцюги поряд з різновидом основних видів.
Таблиця 1.1. Склад і рівні біорізноманіття (За Хейвудом і Бастом, 1995)

Однак не тільки різноманіття має значення. Важливе також таке поняття, як ендемізм (поширення виду у вузькому ареалі) - проживання різновиду виключно в межах окремої території. Наприклад, острови мають меншу кількість різновидів, ніж порівнянні за розміром континентальні території. Звичайно вони також характеризуються більш високим відсотком рідкісних різновидів, тобто таких, що ніде більше не існують. Іншими словами, вони мають менше багатство різновидів і більш високий ендемізм різновидів.
Генетичне різноманіття - різноманіття наборів генів, що несуть різні організми: у малому масштабі це відбувається між організмами того самого різновиду, між близько пов'язаними різновидомами - у тому самому гені, між більш віддалено пов'язаними різновидами - у різних сімействах, підкласах або царствах.
Глобальне генетичне різноманіття надзвичайно велике. Було визначено, що нині у всесвітній біоматерії існує приблизно 109 різних генів. Кількість можливих комбінацій варіантів послідовності генів у популяції настільки велика, що майже неможливо визначити її будь-яким способом.
Ця дивовижна різноманітність у генетичному просторі надає можливості для еволюційної зміни, виживання різновиду, адаптації до змін навколишнього середовища і формування нового різновиду.
Екосистемне різноманіття. Різновид існує в природних умовах у межах екосистем, що взаємодіють з іншими видами і абіотичним навколишнім середовищем. Екосистеми функціонують як об'єкти, що мають безліч властивостей.
Існують різні класифікації, за допомогою яких можна описати різноманіття екосистем. У глобальному масштабі розглядаються біогеографічні зони, біоми, екорегіони й океанічні царства. У локальному масштабі - ландшафти, екосистеми і угруповання (див. табл. 14.1).
Існує проблема визначення екосистем у глобальному масштабі. Головною причиною є те, що вони не мають чітко описаної ідентичності. Вони взагалі не функціонують як дискретні одиниці, але являють собою різні частини високомінливої природної безперервності (суцільної маси).
Для вивчення різноманіття екосистем на різних рівнях усе частіше використовуються географічні інформаційні системи як засіб оцінки і основний інструмент управління.
1.3 Основні причини втрати біорізноманіття
Хоча біорізноманіття здебільшого залежить від генів, різновидів і екосистем, існує також залежність від інших факторів, що перебувають за межами біології. Для розуміння причин загроз біорізноманіттю і при прийнятті рішень щодо його збереження потрібні знання елементів теорії соціально-економічних і прикладних наук.
Зменшення біорізноманіття обумовлюється рядом причин. Розглянемо найвагоміші.
1. Втрата середовища існування. Таблиця 1.2 характеризує результати втручання людини в середовище існування у всесвітньому масштабі. Дані показують істотний вплив людської діяльності на світові екосистеми. Наприклад, у Європі стан тільки 15% території континенту класифікується як «недоторканий», що є найнижчим показником в усьому світі.
Таблиця 1.2. Середовище існування і вплив людини на континентах (Організація економічного співробітництва і розвитку, 1995)
|
Континент |
Загальна площа (км2) |
% недоторканих площ |
% частково порушених площ |
% площ із домінування людини |
|
Європа |
5 759 321 |
15,6 |
19,6 |
64,9 |
|
Азія |
53 311 557 |
43,5 |
27,0 |
29,5 |
|
Африка |
33 985 316 |
48,9 |
35,8 |
15,4 |
|
Північна Америка |
26 179 907 |
56,3 |
18,8 |
24,9 |
|
Південна Америка |
20 120 346 |
62,5 |
22,5 |
15,1 |
|
Австралія |
9 487 262 |
62,3 |
25,8 |
12,0 |
|
Антарктика |
13 208 983 |
100,0 |
0,0 |
0,0 |
Недоторкані площі: характеризуються найбільшою кількістю первинної рослинності, дуже низькою густотою населення.
Частково порушені площі: характеризуються зміною структури під впливом екстенсивного сільського господарства; наявністю вторинної рослинності, що природно регенерується (вторинна сукцесія); підвищеною густотою свійських тварин на одиницю площі; інші ознаки людського втручання.
Площі з домінуванням людини: характеризуються наявністю постійного сільського господарства або високим рівнем урбанізації; первинна рослинність вилучена; поточна рослинність відрізняється від потенційної рослинності; високий рівень спустелення або іншої постійної деградації.
Розповсюдження екзотичного різновиду. Іноді це відбувається випадково, як, наприклад, сталося зі шкідливими бур'янами та шкідниками. Але в більшості випадків все навпаки. Наприклад, лиси, кролики і коти, що прибули в Австралію з Європи і замінили місцеві види. Використання екзотичної риби для спортивних або продовольчих цілей стало причиною зникнення 18 різновидів риби в Північноамериканських ріках.
Незаконне полювання і систематичне рубання лісу для одержання енергії або виробництва деревного вугілля також є причинами втрати біорізноманіття. Використання лікарських рослин певною мірою може проілюструвати це твердження. Так, дослідження лікарських рослин у посушливому сільському районі Південного Кочабамба (Болівія) показало, що 10 зі 132 вивчених рослин, що використовуються місцевими жителями для традиційних лікарських цілей, перебувають під загрозою зникнення внаслідок їх інтенсивного збирання.
Менш вивченими є випадки «взаємозалежних» ефектів. Різновид, що розвивається сумісно з іншим (наприклад, рослини, що поширюються за допомогою спеціальних комах-запилю-вачів), буде вимирати, якщо другий вид пари перебуватиме під загрозою зникнення. Коли останній мандрівний голуб помер на початку 1990, зникли два його паразити, два різновиди вошей.
Забруднення і глобальна зміна навколишнього середовища також загрожують всесвітньому біорізноманіттю.
Усі ці причини мають одну спільну рису - вони викликані діяльністю людини. Це робить діяльність людини однією з найсерйозніших причин сучасного погіршення біорізноманіття. Тому багато аспектів впливу людини на біорізноманіття разом з безпосередніми причинами його погіршення мають важливе значення для визначення пріоритетів і протидій існуючим негативним тенденціям.
6. Зростання кількості населення. Офіційно на 1 грудня 1999 р. на планеті налічувалося 6 млрд людей. Кількість населення порівняно з 1960 р. подвоїлася, швидкість зростання становила 1,6% за рік. Очікується, що кількість населення у світі досягне 8 млрд у 2025 р. і стабілізується в межах 12 млрд людей до кінця XXI сторіччя. На цей час найвищий темп зростання населення спостерігається в Африці, де його швидкість становить 2,9% за рік і до кінця сторіччя чисельність африканців наблизиться до цифри З млрд, що в п'ять разів перевищує кількість населення континенту сьогодні. У Південній Америці темп зростання населення складає 1,7% на рік. Дані про кількість населення на окремих континентах наведені в табл. 1.3.
Крім того, населення нерівномірно розподілене і концентрується переважно в містах уздовж узбережжя і внутрішніх водних шляхів. Близько 45% населення проживає в містах, але воно розподілено в нерівному співвідношенні між промислово розвиненими країнами (більш ніж 70%) і країнами, що розвиваються (менше 40%). Однак така різниця скорочується, і темп зростання урбанізації на цей час у чотири рази вищий у країнах, що розвиваються, ніж у промислово розвинених. Існують прогнози, що кількість міського населення найближчими десятиріччями зростатиме швидше, ніж за період 1980-2000 р. (McNeely, 1995).
Таблиця 1.3. Зростання кількості населення по континента (Міжнародний банк реконструкції і розвитку, 2000)

Взаємозв'язок між втратою біорізноманіття і кількістю населення, його темпами зростання і густотою досить складний. З теоретичної точки зору немає сумніву, що ці фактори впливають на земельні і водні ресурси, особливо при виробництві продовольства, а також при створенні інфраструктури, наприклад, будівництві шляхів і житла. Концентрація людей у прибережних зонах може призвести до зникнення або зниження земельного, водного і морського біорізноманіття.
Взаємозв'язок між демографічними змінами і впливом на біорізноманіття очевидний. Протягом останніх періодів збільшення кількості населення призвело до змін у засобах використання землі внаслідок виникнення різних методів сільськогосподарського виробництва.
Приріст населення впливає на зростання споживання ресурсів і їх деградацію, розширення та інтенсифікацію використання землі, спричинюючи зростання бідності і порушення традиційних систем управління. На локальному рівні зростання кількості населення часто є результатом урбанізації, розселення і міграції. Локальне збільшення кількості населення також безпосередньо впливає на використання ресурсів і їх деградацію, що часто призводить до перетворення середовища існування на територіях, важливих для збереження біорізноманіття.
7. Структура виробництва і надмірне споживання. Збільшення обсягів виробництва і споживання енергії веде до перетворення середовища існування і надмірного використання екосистем. Наприклад, споживання природних ресурсів сучасним американським громадянином у 10 разів перевищує рівень споживання індіанця або нігерійця (Chambers et al., 2000). Зниження споживання ресурсів і енергії на різних рівнях зменшить забруднення і видобуток ресурсів, які погіршують біорізноманіття. На жаль, економічні системи сьогодні мають тенденцію заохочувати більш високі норми споживання і темпи виробництва, незважаючи на важливість збереження біорізноманіття і навколишнього середовища. За існуючих високих рівнів споживання, особливо в економічно розвинених країнах, існує термінова необхідність збільшити ефективність використання ресурсів. Це могло б бути першим кроком до зниження негативного впливу на навколишнє середовище і на біорізноманіття.
Економічне зростання може бути причиною деградації навколишнього середовища. Хоча теоретично це залежить від співвідношення природних ресурсів і ступеня активності економічної діяльності, на практиці економічне зростання дійсно веде до збільшення використання енергії, ресурсів і деградації біорізноманіття.
На зміну структури споживання зможе вплинути підвищення рівня екологічної культури. Так, екомаркування і сертифікація товару або послуги є необхідними інструментами для формування культури споживача, показуючи, як споживання впливає на втрату біорізноманіття. Для суспільства ці інструменти дуже важливі, щоб підтримувати стійкі процеси виробництва.
У країнах третього світу існуюча політика розвитку, різні програми і проекти, що не мають екологічного обґрунтування, загрожують біорізноманіттю. Спостерігається залежність між зменшенням біорізноманіття та рівнем екологічної культури, освіченості та добробуту населення.
Розділ 2 Збереження біорізноманіття
2.1 Проблеми збереження біорізноманіття
Не викликає сумнівів, що державна політика на стан біорізноманіття може справляти як позитивний, так і негативний вплив. При вивченні проблем збереження біорізноманіття можна виділити такі головні типи державної політики:
1. Помилкова політика, яка заохочує стимули, що чинять деградуючий вплив на біорізноманіття. Так, туризм, сільське господарство, лісівництво, одержання енергії, видобуток води, транспорт, будівництво комунікацій можуть несприятливо впливати на біорізноманіття. Прикладом цього може бути руйнування коралових рифів на Мальдівських островах, що відбувається внаслідок активного розвитку підводного туризму і видобутку матеріалів для будівництва.
Добувна промисловість - традиційний у більшості випадків сектор, який негативно впливає на ландшафти і на біорізноманіття. У Ганському секторі золотодобування, який головним чином сконцентрований у південно-західній тропічній області країни, робляться спроби протидіяти ефектам видозміни поверхні, що спостерігаються в результаті видобутку. Компанії змушені заново займатися озелененням територій після видобутку. При цьому вони використовують рослини з міжнародного каталогу FAO, а не висаджують місцеві рослини, характерні для даних територій.
Ці приклади свідчать, як державна політика може впливати на біорізноманіття. У цілому державна політика спрямована на досягнення традиційних цілей розвитку, таких, як індустріалізація, розширення експорту, збільшення виробництва продовольства і допомога бідності. У цьому аспекті природні ресурси є дешевими ресурсами для підтримання економічного зростання.
2. Відсутність урахування цінностей природи, включаючи цінність біорізноманіття. Відповідно до вільної ринкової економічної політики цінності природи, включаючи цінність біорізноманіття, мають бути цілком враховані в ціні виробу або послуги. Таким чином, якщо вартість різноманіття визначатиметься ціновими механізмами, то це істотно зменшить його деградацію. Принаймні в теорії держава може компенсувати цей тип ринкової політики значними податками або штрафами. Разом з тим виникають певні проблеми.
Обчислити ціну втрати біорізноманіття важко. Були запропоновані різні методи, більшість з яких використовувалися більш-менш успішно, але жоден із цих методів не може кількісно врахувати повну цінність біорізноманіття.
Основна причина цього полягає в неможливості визначити цінність біорізноманіття для майбутніх поколінь. Крім того, при оцінці біорізноманіття виникають певні серйозні етичні проблеми.
3. Небажання держави враховувати проблеми навколишнього середовища в політиці розвитку. Завдяки тому, що існують стійкі зв'язки між економічним розвитком і якістю навколишнього середовища, так чи інакше будь-яка економічна політика стосується навколишнього середовища. Тому необхідно в усіх секторах державної політики обов'язково враховувати фактори навколишнього середовища при ухваленні управлінських рішень.
Цей вплив буде більш істотним із збільшенням глобалізації світової економіки. Однак роль макроекономічних факторів у втраті біорізноманіття важко визначити кількісно з огляду на велику безліч відмінностей між глобальною і національною економікою та місцевими рішеннями щодо використання ресурсів біорізноманіття. При аналізі значущості макроекономічних факторів, що впливають на використання ресурсів, сьогодні переважають два напрямки.
Неокласичний напрямок передбачає, що «вдосконалення» ма-кроекономічної політики держави шляхом лібералізації торгівлі і зміни ступеня держконтролю поліпшить використання ресурсів. Лібералізація в торгівлі і вільні торговельні режими можуть позитивно вплинути на біорізноманіття, тому що вільна торгівля пов'язана з ринковими цінами, які відображають справжні цінності біологічних ресурсів, що робить торгівлю вільною, поліпшуючи розподіл ресурсів. Іншими словами, там, де існує відповідна політика щодо захисту навколишнього середовища і стійкого розвитку, лібералізація торгівлі сприятиме зміцненню такої політики. Там же, де така політика відсутня, лібералізація торгівлі лише загострить існуючі проблеми навколишнього середовища і спричинятиме екологічно нежиттєздатний розвиток.
Другий напрямок - політекономічний, теорія якого зосереджується на макроекономічних структурах. Цей напрямок свідчить про те, що зміни в макроекономічній політиці без змін у державній політиці і ринкових структурах можуть лише погіршувати використання ресурсів.
Аналіз показує, що обидва підходи можуть мати місце, тому що вони відображують взаємозв'язок між макроекономічною політикою і навколишнім середовищем. Однак стосовно біоріз-номаніття необхідно враховувати також деякі аспекти:
•однорідність: перехід на виробництво товарів для великих, часто глобальних ринків призводить до однорідності у виробах;
•торговельні обмеження, спрямовані на захист окремих видів ресурсів, що перебувають під загрозою зникнення. Збільшення споживання і виробництва, використання і перетворення природних ресурсів значною мірою обумовлені культурою суспільства. Культура впливає на біорізноманіття на різних рівнях. Так, у багатьох країнах існує певне упередження щодо неосвоєних природних територій. Це можна пояснити на прикладі масштабного розчищення земель, яке відбувається в Америці від часу прибуття європейців. Носії європейської культури прагнули змінити аборигенні народи і їхні методи використання ресурсів з погляду потреби в розвитку і цивілізації. Така колоніальна політика до 1960 р. вела до повного руйнування традиційних суспільств і їхніх методів збереження біорізноманіття.
У процесі розвитку цивілізації втрачаються традиційні культури. Ці місцеві культури перебувають в різних відносинах з ресурсами. Зокрема, народи, що ведуть осідлий спосіб життя, створили системи табу і розпоряджень, пов'язаних з використанням ресурсів, які зберігають біорізноманіття. Модернізація цих традиційних суспільств веде до втрати давніх знань щодо стійкості і непізнаних цінностей біорізноманіття.
Таким чином, екологічний аналіз шукає причини втрати біорізноманіття за межами традійно визначених біологічних факторів. Вказуючи на економічні і соціальні причини втрати середовища існування, екологічний аналіз є корисним доповненням біологічного аналізу стосовно проблем біорізноманіття.
Зрозуміло, що для визначення основних причин втрати біорізноманіття одних лише теоретичних знань та експериментальних даних недостатньо. Необхідно приділити більшу увагу дослідженню причинних зв'язків між втратою біорізноманіття, з одного боку, та економічною політикою, виробництвом і структурою споживання, культурою, інтернаціоналізацією витрат навколишнього середовища, глобалізацією економіки, бідністю і нерівністю - з іншого.
2.2 Збереження біологічного різноманіття
Програмними документами діяльності в галузі збереження і сталого використання біологічного і ландшафтного різноманіття в Україні є Конвенція про біологічне різноманіття (Ріо-де-Жанейро, 1992) та Пан'європейська стратегія збереження біологічного та ландшафтного різноманіття (Софія, 1995). Останній документ фактично обумовлює механізм впровадження Конвенції на Європейському континенті.
Термін «біологічне різноманіття» застосовують для означення всіх форм життя на Землі, починаючи від найпростіших одноклітинних бактерій до складних комплексних екосистем тропічних лісів, включаючи людину, благополуччя якої однозначно залежить від доступності біологічних ресурсів. На сьогодні визнання того факту, що біорізноманіття є світовим надбанням величезної цінності для нинішнього і наступних поколінь, є незаперечним. Водночас, загроза існуванню видів та екосистем ще ніколи в історії не була такою значною, як зараз. Зникнення видів, викликане діяльністю людини, продовжується катастрофічними темпами.
У відповідь на ці зміни Програма Організації Об'єднаних Націй з навколишнього середовища організувала в листопаді 1988 року Спеціальну робочу групу експертів з метою вивчення необхідності розробки міжнародної конвенції про біорізноманіття. У травні 1989 року була заснована Спеціальна робоча група експертів з технічних і правових питань для підготовки міжнародного правового документа щодо збереження і невисна-жливого використання біорізноманіття. Експерти мали враховувати «необхідність розподілу витрат і вигод між розвиненими країнами та країнами, що розвиваються», а також «шляхи та засоби для надання підтримки інноваційним проектам, які впроваджуються на місцях».
З лютого 1991 року Спеціальна робоча група була перетворена в Міжурядовий комітет з питань ведення переговорів.
Результатом його роботи стало проведення 22 травня 1992 року в Найробі Конференції з прийняття узгодженого тексту Конвенції про біорізноманіття.
Конвенція була відкрита для підписання 5 червня 1992 року на Конференції Організації Об'єднаних Націй з довкілля та розвитку в Ріо-де-Жанейро (саміт «Планета Земля»). Ця Конвенція залишалась відкритою для підписання до 4 червня 1993 року, і до того часу її підписали 168 країн. Конвенція набула чинності 29 грудня 1993 року. Перша нарада Конференції Сторін проходила з 28 листопада по 9 грудня 1994 року на Багамських островах.
Важливість збереження і невиснажливого використання біорізноманіття та впровадження екосистемного підходу до збереження природи ще раз була підкреслена на Всесвітньому саміті зі стійкого розвитку, який відбувся в Йоганнесбурзі 26 серпня - 4 вересня 2002 року, оскільки ця сфера була включена до п'яти пріоритетних проблем людства (інші чотири - вода, енергія, здоров'я та атмосфера).
Україна ратифікувала Конвенцію в 1994 році, а також ухвалила низку законів щодо ратифікації, приєднання та виконання інших міжнародних договорів обов'язкового та необов'язкового характеру, які регулюють питання збереження та використання біологічного і ландшафтного різноманіття. Створена за роки незалежності України законодавча база в цій галузі в цілому відповідає європейському рівню. Тому на даний час ключовим завданням є реалізація положень законів та відповідних програм, досягнення чого неможливе без інформаційної підтримки та координації. На національному рівні координацію діяльності в цій галузі здійснює Національна комісія з питань збереження біорізноманіття та Міністерство охорони навколишнього природного середовища України.
Якщо Стратегія є механізмом реалізації концептуальних цілей Конвенції про біологічне різноманіття в Європі, то міжнародні і національні програми і проекти є інструментом досягнення конкретних цілей Стратегії.
Ключовою програмою Стратегії є розвиток Пан'європейської екологічної мережі, і діяльності тут заплановано не на один десяток років. Зусилля будуть зосереджені на збереженні екосистем, і для України особливо важливі морські, прибережні, степові, лісові, гірські, водно-болотні екосистеми та екосистеми внутрішніх водойм. Іншим пріоритетом є розробка та втілення національних планів дій щодо збереження рідкісних та зникаючих видів. Крім цього, реалізація цілей збереження і збалансованого використання біологічного та ландшафтного різноманіття не буде ефективною, якщо будуть проігноровані секторальні інтереси, тому впровадження пілотних проектів у сільському господарстві, лісівництві, містобудуванні, транспортному секторі та деяких інших має відіграти важливу демонстраційну роль. Створення і подальше зміцнення об'єктів природно-заповідного фонду як класична форма збереження генетичного матеріалу набуватиме подальшого розвитку на теренах України.
Одним із найдієвіших заходів збереження біорізноманіття є створення охоронних територій, природних та біосферних заповідників, національних природних парків. Саме вони забезпечують умови, необхідні для зменшення шкідливого антропогенного впливу на біологічні об'єкти, сприяють збереженню цілісності екологічних систем, у яких можуть підтримуватися природні механізми відносин між біологічними видами, що необхідні для існування системи.
Природні заповідники — це природоохоронні території й акваторії, що виділяються державою з метою збереження в природному стані типових і унікальних природних комплексів, у межах яких охороняються природні об'єкти та ресурси, що становлять особливу екологічну, генетичну, наукову чи культурну цінність: типові чи рідкісні ландшафти, рідкісні геологічні утворення, угруповання рослин і тварин із характерним генофондом тощо.
Біосферні заповідники - природоохоронні, науково-дослідні установи міжнародного значення, де діє режим абсолютного заповідання, що створюються з метою збереження в природному стані найбільш типових природних комплексів біосфери, здійснення фонового екологічного моніторингу, вивчення спонтанних та глобально-антропогенних змін, що відбуваються в біосфері (Бойчук, 2004). Сьогодні у світі існує близько 350 біосферних заповідників, і чотири з них розташовані на території України: Асканія-Нова, Чорноморський, Карпатський та Дунайський.
Заповідники знаходяться під охороною закону, на їх території категорично забороняються всі види господарської діяльності (мисливство, рибальство, вилов тварин, усі види лісокористування, збір лікарських трав, збирання квітів, випас худоби, застосування будь-яких хімічних засобів, шумових дій).
У заповіднику вводиться певний заповідний режим. Це або абсолютне заповідання, тобто цілковите невтручання людей у природні процеси, або заповідання обмежене, за якого для досягнення максимальної природної рівноваги й максимального збереження екосистем допускається здійснення певних біотехнологічних заходів (наприклад, вилов тварин, що надміру розмножилися, створення штучних водопоїв, протиерозійний захист тощо). Всього у світі створено більш як 11 тис. заповідних територій, що мають статус заповідника чи національного парку.
Національні природні парки — це території, що створюються для збереження природних комплексів, які мають екологічну, історичну і естетичну цінність завдяки сприятливому поєднанню природних і культурних ландшафтів, і для використання їх у рекреаційних, виховних, наукових і просвітницьких цілях. В Україні є 11 національних парків, таких, як Шацькі озера, Подільські Товтри, озеро Синевир тощо.
Заказники — це природні території і акваторії, на яких охороняються окремі види рослин і тварин або природні комплекси (озера, болота, ділянки лісу чи степу з рідкісними видами рослин або тварин, печери, території з унікальними геологічними утвореннями тощо). На території заказників дозволяється обмежена господарська діяльність, але тільки така, що не завдає шкоди об'єктам, які охороняються (наприклад, обмежена заготівля сіна в лісових заказниках, регламентоване полювання на окремих видів тварин у заповідно-мисливських господарствах).
Пам'ятки природи являють собою окремі невідновні природні об'єкти, які мають наукове, історичне чи культурно-естетичне значення, наприклад: водоспад, печера, дуже старе дерево, джерело.
Природно-заповідна мережа України налічує 6939 таких територій та об'єктів, що становлять більш ніж 4% від площі держави. До вищих категорій заповідання належать чотири біосферні і 16 природних заповідників, 12 національних природних парків. Статусу природного національного надбання відповідають 2507 заказників, 3016 пам'яток природи, 35 дендрологічних парків, 527 парків-пам'яток садово-паркового мистецтва, 22 ботанічні сади, 12 зоологічних парків, 35 регіональних ландшафтних парків, 754 заповідні урочища. Слід зазначити, що на відміну від національної в міжнародній класифікації функції національних і природних парків розмежовуються. Природні парки передусім створюються для рекреації, тобто відпочинку. Головне ж завдання національних парків - збереження природного різноманіття, а рекреації і туризму відводиться підпорядкована та обмежена роль.
Таблиця 2.1 Основні дані про об'єкти природно-заповідного фонду України на 01.01.2004 р. (Довкілля, 2004)

|
Україна |
1013,8 |
107 |
360 |
266 |
|||
|
Природні заповідники |
159,1 |
||||||
|
Горгани |
1996 |
Івано-Франківська |
5,3 |
1 |
26 |
20 |
|
|
Дніпровсько-Орільський |
1990 |
Дніпропетровська |
3,8 |
8 |
12 |
10 |
|
|
Єланецький степ |
1996 |
Миколаївська |
1,7 |
5 |
14 |
10 |
|
|
Казантипський |
1998 |
АР Крим |
0,5 |
5 |
14 |
38 |
|
|
Канівський |
1923 |
Черкаська |
2,0 |
5 |
30 |
64 |
|
|
Карадазький |
1979 |
АР Крим |
2,9 |
8 |
71 |
125 |
|
|
Кримський |
1923 |
АР Крим |
44,2 |
15 |
87 |
75 |
|
|
Луганський |
1968 |
Луганська |
1,6 |
14 |
34 |
62 |
|
|
Медобори |
1990 |
Тернопільська |
10,5 |
5 |
25 |
15 |
|
|
Мис Март'ян |
1973 |
АР Крим |
0,2 |
6 |
44 |
20 |
|
|
Опукський |
1998 |
АР Крим |
1,6 |
6 |
20 |
38 |
|
|
Поліський |
1968 |
Житомирська |
20,1 |
8 |
20 |
29 |
|
|
Рівненський |
1999 |
Рівненська |
42,3 |
3 |
20 |
15 |
|
|
Розточчя |
1984 |
Львівська |
2,1 |
6 |
31 |
24 |
|
|
Український степовий |
1961 |
Донецька |
2,8 |
21 |
53 |
37 |
|
|
Черемський |
2001 |
Волинська |
3,0 |
12 |
36 |
38 |
|
|
Ялтинський гірсько-лісовий |
1973 |
АР Крим |
14,5 |
18 |
75 |
68 |
|
|
Біосферні заповідники |
222,4 |
||||||
|
Асканія-Нова |
1898 |
Херсонська |
33,3 |
4 |
10 |
17 |
|
|
Дунайський |
1998 |
Одеська |
46,4 |
12 |
16 |
122 |
|
|
Карпатський |
1968 |
Закарпатська |
53,6 |
27 |
116 |
21 |
|
|
Чорноморський |
1927 |
Херсонська |
89,1 |
1 |
15 |
ЗО |
|
|
Національні природні парки |
632,3 |
X |
X |
X |
|||
|
Азово-Сиваський |
1957 |
Херсонська |
52,1 |
- |
9 |
41 |
|
|
Вижницький |
1995 |
Чернівецька |
7,9 |
- |
36 |
21 |
|
|
Гуцул ьщина |
2002 |
Івано-Франківська |
32,3 |
- |
- |
- |
|
|
Деснянсько-Старогутський |
1999 |
Сумська |
16,2 |
5 |
19 |
29 |
|
|
Карпатський |
1980 |
Івано-Франківська |
50,5 |
17 |
78 |
32 |
|
|
Подільські Товтри |
1996 |
Хмельницька |
261,3 |
- |
- |
- |
|
|
Синевир |
1989 |
Закарпатська |
40,7 |
58 |
25 |
8 |
|
|
Сколівські Бескиди |
1999 |
Львівська |
35,6 |
4 |
29 |
20 |
|
|
Святі гори |
1997 |
Донецька |
40,4 |
22 |
47 |
33 |
|
|
Ужанський |
1999 |
Закарпатська |
39,2 |
7 |
32 |
9 |
|
|
Шацький |
1984 |
Волинська |
49,0 |
13 |
28 |
34' |
|
|
Яворівський |
1998 |
Львівська |
7,1 |
7 |
15 |
27 |
Важливе значення у сфері біорізноманіття має законодавство, державні нормативні акти та положення. Саме вони регулюють відносини між людиною та біотою. Створення Червоної книги стало дуже важливим кроком у напрямку охорони живої природи для нинішніх та прийдешніх поколінь.
Червоні книги - офіційні документи неурядових міжнародних і національних адміністративних організацій, що містять систематизовані відомості про рослини і тварин світу чи окремих регіонів, стан яких викликає стурбованість за їхнє майбутнє. При ООН у 1948 році Міжнародний союз охорони природи і природних ресурсів (МСОП) створив Комісію з рідкісних і зникаючих видів, яка з часом склала перелік зникаючих видів диких тварин. Згодом була створена Міжнародна Червона книга (1966). До неї внесено близько 300 видів і підвидів ссавців, близько 300 видів птахів, понад 100 видів плазунів, близько 40 видів земноводних, понад 250 видів вищих рослин. Слід зазначити, що з 1970 по 1999 pp. кількість видів, яким загрожує повне вимирання, значно зросла - з 92 до 550.
Сьогоднішній темп життя інтенсифікував процес вимирання біологічних видів, тому, крім Міжнародної Червоної книги, всі розвинені країни намагаються створити національні Червоні книги. Червона книга України є офіційним державним документом, який містить перелік рідкісних і таких, що перебувають під загрозою зникнення, видів тваринного і рослинного світу в межах території України, її континентального шельфу та виключної (морської) економічної зони, а також узагальнені відомості про сучасний стан цих видів тваринного і рослинного світу та заходи щодо їх збереження і відтворення.
Червона книга України є основою для розроблення та реалізації програм (планів, дій), спрямованих на охорону та відтворення рідкісних і таких, що перебувають під загрозою зникнення, видів тваринного і рослинного світу, занесених до неї (Закон, 2002). Перший том «Червона книга. Рослинний світ» (1996) дає короткий опис 541 виду (підвид, різновидність, форма) рослин і грибів, серед яких: судинні рослини (439 видів), мохоподібні (28), водорості (17), лишайники (27), гриби (ЗО). В іншому томі («Червона книга. Тваринний світ») (1994) - 382 види тварин: гідроїдні поліпи (2 види), черви круглі (2) та черви кільчасті (7), ракоподібні (26), павукоподібні (2) та багатоніжки (3), комахи (173), молюски (12), круглороті (2) та риби (32), земноводні (5), плазуни (8), птахи (67), ссавці (41).
Попереднє видання 1980 року містило всього 151 вид судинних рослин і 85 видів тварин (29 ссавців, 28 птахів, 6 плазунів, 4 земноводних і 18 комах). Види, занесені до Червоної книги України, підлягають обов'язковій державній охороні, вони є об'єктами численних міждержавних угод, договорів, наукових проектів. їх охорона здійснюється шляхом заборони або суттєвого обмеження їх використання, посилення відповідальності за їх незаконне добування або знищення, створення територій та об'єктів природно-заповідного фонду в місцях, які мають важливе значення для виживання цих видів. За останні роки до Червоної книги України занесено в чотири рази більше видів рослин і тварин.
Флора України, що занесена до Червоної книги

Рис. 2.1. Кількість видів рослин, занесених до Червоної книги
Подібно до Червоної книги, існують списки рідкісних екосистем, і таких, що зникають або потребують особливої охорони, - вони складають Зелену книгу.
Зелена книга України є офіційним державним документом, у якому зведено відомості про сучасний стан рідкісних, таких, що перебувають під загрозою зникнення, та типових природних рослинних угруповань, які підлягають охороні. Зелена книга є основою для розроблення охоронних заходів щодо збереження, відтворення та використання занесених до неї природних рослинних угруповань. Охорона цих угруповань спрямовується на збереження їх ценотичної структури, популяцій рідкісних видів рослин та умов місцезростання.
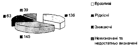
Флора України, що занесена до Червоної книги

Рис. 2.2 Кількість видів представників фауни, занесених до Червоної книги
У Зеленій книзі подані теоретичні аспекти проблеми необхідності охорони природних рослинних комплексів, принципи виділення, оцінки, а також аналіз рідкісних, зникаючих і типових рослинних угруповань. При виділенні угруповань, що потребують охорони, були прийняті такі критерії: 1) раритетні угруповання, домінанти яких є рідкісними и занесені в «Червону книгу»; 2) угруповання, що знаходяться на межі ареалу і внаслідок біологічних особливостей чи впливу антропогенних факторів скорочують свій ареал; 3) типові угруповання, що зберегли особливості структури (180-300-літні частини лісів).
Слід відзначити, що найбільшою різноманітністю в Україні відзначаються гірські природні ландшафти Карпат і Криму, а в межах рівнинної території найбільш багатий - Поліський край. В адміністративних областях природно-заповідні території та об'єкти розміщені нерівномірно. Із внесених до «Зеленої книги України» 127 синтаксонів різного рангу в Криму зустрічається 27(21%).
Найбільша частка заповідності припадає на західні та північно-західні області України, де ще збереглись достатні площі природної рослинності. Найнижчий цей показник в областях з високою розораністю: Вінницькій, Дніпропетровській, Кіровоградській, Київській. Водночас у деяких із них показник заповідності є несправедливо заниженим, якщо узгоджувати його з міжнародними вимогами.
2.3 Показники стану біорізноманіття в Україні
Займаючи менше 6% площі Європи, Україна володіє приблизно 35% її біорізноманіття. Це обумовлено тим, що територія України розташована в різних природних зонах, таких, як: степова, лісостепова, широколистяно-лісова, присередземноморська. Характерною особливістю України є існування широкої водної екосистеми Дніпра, що спричинює велику різноманітність ландшафтів. Найбільшою різноманітністю в Україні відзначаються гірські природні ландшафти Карпат і Криму, а в межах рівнинної території найбільш багатий Поліський край. Багатство ландшафтів в Україні збільшується в такій послідовності: луки, болота, плавні, степи і ліси. В Україні живуть представники більш ніж 70 тис. таксонів.
Флора України сьогодні налічує близько 25 тис. видів рослин, із них майже 4,5 тис. видів вищих (у тому числі понад 700 видів лікарських) і більш як 6 тис. видів грибів і водоростей. Фауна України представлена близько 45 тис. видів тварин (17 видів - земноводні, 20 - плазуни, понад 350 - птахи, 113 — ссавці, 200 - риби, решта - безхребетні). На жаль, видове багатство як тварин, так і рослин стрімко зменшується через антропогенне навантаження на середовище і техногенні катастрофи. Територія України, раніше одна з найбагатших за біорізнома-ніттям, втрачає свій природний потенціал і перетворюється на зону екологічного лиха. Так, за висновками спеціалістів, Україні властива тенденція до суттєвого кількісного і якісного зменшення видового багатства біорізноманіття. Приблизно 9% судинних рослин, 38,0% ссавців, 38,1% плазунів, 29,4% амфібій перебувають у складному стані. Існують прогнози, що за умови збереження таких тенденцій частка ссавців, які будуть занесені до Червоної книги України, становитиме більше 50%, а уже в третьому виданні Червоної книги опиниться до 5% фауни та 2/3 хребетних тварин.
2.4 Економічна оцінка біорізноманіття
Рекомендації Конференції ООН з навколишнього середовища і розвитку (Ріо-де-Жанейро, 1992) і матеріали саміту в Йоганнесбурзі (2002) спрямовані на перехід до сталого розвитку і орієнтують на досягнення трьох видів цілей:
збереження екологічної цілісності;
забезпечення екологічної ефективності господарської діяльності;
3)гарантування екологічної справедливості в суспільстві. Конвенція з біорізноманіття містить фактично ту саму тріаду цілей. По-перше, її основна спрямованість - забезпечити екологічну цілісність через збереження біорізноманіття, по-друге, стійке використання компонентів біорізноманіття людиною і, по-третє, справедливий розподіл вигід біорізноманіття і витрат на його підтримання.

Рис. 2.3. Схема формування економічної цінності біорізноманіття
У зв'язку з цим набуває актуальності є проведення робіт, пов'язаних з економічною оцінкою біорізноманіття та розробкою регламентуючих і економічних інструментів (стимулів, санкцій тощо), спрямованих на збереження біорізноманіття, а також розробку відповідної політики і стратегії в цій галузі.
Згідно із загальноприйнятими теоретичними положеннями економічна цінність біорізноманіття визначається двома групами чинників: а) споживчою цінністю; б) неспоживчою цінністю (рис. 14.3).
При цьому слід зазначити, що ринок не реалізує більшу частину загальної цінності біорізноманіття. Через це ринкова цінність товарів і послуг біорізноманіття майже завжди набагато нижча, ніж їх повна економічна цінність (як правило, вона навіть нижча, ніж цінність прямого використання). Певною мірою це можна порівняти зі звичайно незначним рівнем використання природної сировини в економіці. У кінцевому продукті її вміст не перевищує 10% - решта викидається як відходи.
Споживча цінність (use value) - це вартісна оцінка економічних вигод (приріст доходу, зниження економічних витрат, ін.) від використання різних функцій біорізноманіття. Зазначені економічні вигоди, у свою чергу, враховують три види ефектів:
вигоди від безпосереднього використання ресурсу. Включають ефекти у сільському господарстві (дохід від урожаю сільгоспкультур), у лісовому господарстві (вартісна оцінка доходу від використання товарної деревини і побічних лісопродуктів), у рекреації і туризмі (доходи від надання послуг або ефект від їх споживання). Дані ефекти є основою розрахунку цінності прямого використання (direct use value);
вигоди непрямого використання включають: вигоди від використання екологічних функцій, які супроводжуються отриманням економічних вигід (запобігання повеням, регулювання клімату, фотосинтез, цикли живлення, знешкодження відходів); дані ефекти покладено в основу розрахунку цінності непрямого використання (indirect use value);
альтернативні (відкладені) ефекти для нинішнього покоління; включають вигоди, які можуть бути одержані в межах існування поколінь, що живуть саме тепер (майбутні ліки, генетичні ресурси для рослинництва, біотехнології, замінники виснажених ресурсів); на основі даних ефектів розраховується альтернативна цінність (option value). Безпосереднє використання біоресурсу може відбуватися зі споживанням даного ресурсу (такий вид поводження з ресурсом формує цінність споживання - consumptive value) або без його споживання (наприклад, фотополювання, спостереження за дельфінами) (цінність неспоживання - non-consumptive value).
Цінність прямого використання біоресурсу розраховується на основі ціни даного ресурсу або його економічної оцінки. Подібним чином, зокрема, оцінюються лісові або рибні ресурси. За наявності ринкового механізму ціноутворення для обґрунтування цінності ресурсу можуть також використовуватися ціни на певні види послуг (наприклад, екотуристичні рейси, мисливські тури тощо). Цінність непрямого використання ресурсу може розраховуватися опосередковано на основі зв'язку між екологічними і економічними функціями того чи іншого ресурсу. Наприклад, вирубування лісів може вести до повеней або засух (залежно від конкретної екологічної ситуації в регіоні) і спричиняти економічні збитки.
Альтернативна цінність ресурсу може бути визначена на основі прогнозних економічних оцінок.
Неспоживча цінність (non-use value) - це умовна економічна оцінка екологічних і соціальних функцій біорізноманіття, тобто пов'язаних з підтриманням цілісності екосистем і формуванням особистісної природи людини без урахування безпосередніх економічних ефектів. Неспоживчу цінність умовно можна поділити на два види: а) цінність існування або її пасивного використання (existence value); б) заповітну цінність, або цінність, яка передається наступним поколінням (bequest value).
Оцінки споживчої цінності мають об'єктивні критерії кількісної економічної вигоди, що природно, оскільки вони характеризують конкретний обсяг економічних функцій, які вони виконують. На відміну від них неспоживчі цінності прямо не пов'язані з реалізацією економічних функцій - адже вони характеризують соціальні і екологічні функції біорізноманіття. Тому у вартісній формі неспоживчі цінності можна виразити тільки через суб'єктивні оцінки. Найчастіше в основу подібних оцінок покладено умовну готовність людей платити за вигоди від використання флори, фауни і навколишнього середовища. Протягом останнього десятиліття найбільша увага приділялася методам опитувань з метою визначення суб'єктивної оцінки (contingency valuation methods), включаючи готовність платити (willingness to pay) за збереження біоресурсу або біорізноманіття. Ця методика досить суперечлива, проте її перевага полягає в універсальності застосування, тоді як використання інших методів більш обмежене.
Серед інших популярних методів непрямої оцінки можна назвати:
метод оцінки транспортних витрат (travel-cost method);
метод вартісної оцінки спожитих екологічних благ (чисте повітря, мальовничий пейзаж, відсутність шуму від транспорту тощо) за різницею у вартості житла в різних районах, що відрізняються своєю екологічною чистотою, за різницею зарплати на екологічно чистих та забруднених підприємствах тощо. Такий метод називається гедоністичним ціноутворенням (hedonic pricing; hedone грецькою означає «задоволення, комфорт»).
Деякі економісти вважають, що традиційні методи типу «витрати - вигоди» мають передбачати врахування імовірності зростання в майбутньому цінності і безповоротності (ризику) втрачених можливостей збереження природного оточення і генетичного матеріалу. Повна корисна цінність біологічного ресурсу визначається максимальною величиною готовності населення заплатити за діяльність, яка зберігає можливість скористатися природним продуктом (в економіці він перетворюється на «товар») або благом («послугою»). Ця сума цінності можливості вибору і очікуваної цінності реального використання продукту або блага називається ціною (цінністю) можливості вибору. Визначення ціни вибору має емпіричний характер. Є також «ціна» доступу до вибору, яка включає готовність людини заплатити за зростання в майбутньому можливості доступу до ресурсу.
Є ще один вид «ціни» вибору - так звана цінність найбільш вигідної альтернативи (opportunity value), яку часто називають «альтернативною вартістю». Це - цінність потенційної можливості того, що якийсь вид, особливо ще не відкритий або повністю не вивчений, виявиться корисним для людини як продукт харчування, генетичний матеріал, сировина для ліків тощо (прикладом є відкриття ролі рослин у фіксації важких металів з ґрунту, тварин як індикаторів ступеня забруднення екосистеми).
Для більш повної оцінки біоресурсів економісти розробили концепцію граничних витрат, які виникають при використанні даного ресурсу в найбільш вигідному напрямку. Вони є реальними витратами суспільства при проведенні діяльності або політики, що виснажує певний біоресурс. В ідеальному випадку вони відповідають податку на користувачів, що виснажують біо-ресурси (або зазначений податок встановлюється на рівні цих витрат).
Цінність можливості вибору (найбільш вигідної альтернативи) відповідає вартості якнайкращого альтернативного використання даного ресурсу, якби він використовувався не для цілей, для яких він оцінюється. Якщо, наприклад, найціннішим альтернативним використанням лісу є створення на його базі національного парку, тоді цінність наивигіднішої альтернативи при оцінці вартості вирубування лісу буде вартістю національного парку. У цьому випадку повна вартість вирубки лісу повинна включати цю вартість плюс вартість наивигіднішої альтернативи відносно трудовитрат і використання устаткування при вирубці лісу. Якщо вигоди лісовирубки (ціна кубометра лісу на обсяг лісозаготівлі) не перевищують суспільні витрати вигідної альтернативи, то вирубку проводити не слід. Зрозуміло, цінність найбільш вигідної альтернативи у вигляді вирубки лісу повинна враховувати всі види цінності, згадані вище. Граничні витрати найбільш вигідної альтернативи (ГНВА) включають три елементи: 1) прямі і непрямі витрати для користувача виснажуваного біоресурсу; 2) упущені вигоди тих, хто міг би використовувати ресурс у майбутньому; 3) витрати, які переносяться на інших (зовнішні витрати). Хоча частка ГНВА, яка може бути виражена в грошових одиницях, змінюється в різних випадках, при прийнятті рішень цей підхід все-таки використовується для оцінки біоресурсів. У випадку створення національного парку ГНВА можуть дати можливість оцінити кількість грошових ресурсів (коштів), необхідних для компенсації тим, хто втратив дохід, який вони могли б одержати при лісозаготівлях, якщо цей дохід перевищує чисті вигоди збереження лісу. У цілому для успішного застосування економічних методів важливо розуміти їх обмеження і завжди пам'ятати про них. Проте оцінка в грошовому вираженні якомога більшої кількості чинників важлива у визначенні тих проблем, які інакше були б упущені. Також важливо розрізняти вартість біологічних ресурсів і біорізноманіття. Проте фактом є те, які важливі рішення, що впливають на стан і перспективи біоресурсів, ґрунтуються на економічних чинниках, включаючи визначення їх цінності (вартості).
Висновки
Стійкість екологічних систем зокрема і біосфери загалом значною мірою залежить від біологічного різноманіття. Чим воно більше, тим стійкіші екосистеми. Біологічне різноманіття — це інтегральне поняття, Що описує варіабельність, властиву всім видам екосистем (водних та суходолу). Розрізняють генетичне, внутрішньовидове та видове різноманіття. Генетичне різноманіття — різноманіття генотипів рослин і тварин, внутрішньовидове — наявність різновидів та популяцій у межах виду, видове — кількість та різноманіття видів на певній території. Біологічне різноманіття визначається різноманіттям окремих організмів за віком, статтю та життєвим станом, популяцій за структурними типами, генотипів, угруповань та екосистем. Основою стійкого існування екосистем є біологічне різноманіття. У 1992 р. була прийнята Міжнародна конвенція про збереження біологічного різноманіття на Землі, а в 1998 р. — закон України про збереження біологічного різноманіття в країні.
Згідно з законом внутрішньої динамічної рівноваги, речовина, енергія, інформація, динамічні якості окремих природних систем та їх ієрархії тісно пов'язані між собою так, що будь-яка зміна одного з показників неминуче призводить до функціонально-структурних змін інших, однак при цьому зберігаються загальні якості системи — речовинно-енергетичні, інформаційні та динамічні.
Отже, виникає загроза існуванню самих екосистем, спричинена порушенням біологічної та екологічної рівноваги. Під біологічною розуміють рівновагу, що склалася між рослинним і тваринним світом, тобто між живою речовиною, а під екологічною — рівновагу, що склалася в екосистемах і біосфері між живою речовиною та навколишнім природним середовищем.
Використана література
1. Акимова Т.А., Хаскин В.В. Экология: Учебник для вузов. — М.: ЮНИТИ, 1998. — 455 с.
2. Білявський Г.О., Фурдуй Р.С. Основи екологічних знань: Підручник. — К.: Либідь, 1995. — 288 с.
3. Вопросы социоэкологии / Материалы первой всесоюзной конференции «Проблемы социальной экологии». — Львов, 1986. — 352 с.
4. Злобін Ю.А. Основи екології. — К.: Лібра, 1998. — 248 с.
5. Корсак К.В., Плахотнік О.В. Основи екології: Навч. Посібник. — 2–ге вид,, стереотип. — К.: МАУП, 2000. — 240 с.
6. Основи екології / Під ред. В.М. Черняка. — Тернопіль, 1994. — 122 с.
7. Основи соціоекології: Навч. Посібник / Г.О. Бачинський, Н.В. Беренда, В.Д. Бондаренко та ін.; за ред Г.О.Бачинського. — К.: Вища школа, 1995. — 238 с.
8. Основы экологии и экологическая безопасность: Учебное пособие / Под ред. В.В. Шкарина, И.Ф. Колпащиковой. — Н.Новгород: Изд–во Нижегородской медицинской академии, 1998. — 172 с.
9. Редкие и исчезающие растения и животные Украины: Справ. / В.И. Чопик, Н.Н. Щербак, Т.Б. Ардаманцева и др. — К.: Наукова думка, 1988. — 256 с.
10. Страшнюк Н.М. Проблема збереження біорізноманіття на природно-заповідних територіях та з використанням біотехнологічних методів // Семінар “Охорона біорізноманіття та господарська діяльність на природних територіях, що охороняються; раціональне природокористування, екологічний моніторинг. Тези допов. – Київ, Україна, 2000. – С. 46–48.
11. Червона Книга України. Рослинний світ. — К.: Українська енциклопедія, 1996. — 214с.
12. Чернова Н.М., Билова А.М. Екологія. — К.: Вища школа, 1986. — 231 с.
13.Основи стійкого розвитку:/навчальний посібник/за редакцією Мельника-Суми -2005.-654с.