Проект двухэтажного жилого дома
МОСКОВСКИЙ ГОСУДАРСТВЕННЫЙ УНИВЕРСИТЕТ ПУТЕЙ СООБЩЕНИЯ (МИИТ)
Кафедра Строительные конструкции, здания и сооружения
КУРСОВАЯ РАБОТА
по дисциплине
Архитектура промышленных и гражданских зданий
Проект двухэтажного жилого дома
Выполнил: ст.гр.
СГС-211 Акопян К.
Руководитель проекта
Покотило М.Г.
МОСКВА – 2009
Содержание
Введение
1.Исходные данные
2. Характеристики наружного климата
2.1 Климатологические показатели
2.2 Климатологическая характеристика здания
3. Архитектурно-строительные характеристики здания
3.1 Объемно-планировочное решение. Объемно-планировочные параметры
3.2 Вместимость. Состав помещений
3.3 Капитальность здания
3.4 Площадь помещений
4.Объёмно-планировочное решение и конструктивная система здания
4.1 Конструктивная система здания
4.2 Требования к объемно-планировочным решениям
5.Физико-технические расчеты
5.1 Определение толщины наружной стены по нормам сопротивления теплопередаче из санитарно-гигиенических и экономических условий
5.2 Определение толщины утеплителя чердачных перекрытий
5.3 Определение сопротивления воздухопроницанию наружной стены
5.4 Светотехнический расчет окон
5.5 Акустический расчет. Определение звукоизоляции воздушного шума междуэтажными перекрытиями
6. Конструктивные элементы здания
6.1 Фундаменты
6.2 Стены
6.3 Перегородки
6.4 Заполнители оконных проемов
6.5 Перекрытия
6.6 Полы
6.7.Лестница
6.8.Крыша
Список используемой литературы
Введение
В данном курсовом проекте ведется архитектурно-планировочная разработка жилого дома на двенадцать семей в городе Н.Новгород.
Проблема улучшения жилищных условий населения была и остается актуальной. Главным направлением в возведении жилых домов является крупноэлементное домостроение. Вместе с тем необходимо широко использовать и местные строительные материалы, а также мелкоразмерные изделия, что особенно актуально для сельской местности, отдаленных районов, железнодорожных поселков.
Повсеместное распространение получили здания из кирпича и керамических камней. В ряде районов России широко применяются для строительства камни из легковесных естественных пород (туф, ракушечник, известняк и др.). На обширных лесных территориях страны в большом количестве возводят деревянные дома. Массовое использование находят такие строительные материалы местного производства как шлаки, керамзит, гипс, фибролит, минеральная вата, различные легкие и мелкоразмерные изделия из них и др.
Курсовой проект выполняется по заданию, которое содержит схематический чертеж плана этажа с перечнем помещений, а также исходные данные.
Разработка курсового проекта ведется в соответствии с указаниями нормативно-конструктивных документов по строительному проектированию и требованиями унификации объемно-планировочных параметров изделий и санитарно-технического оборудования на основе единой модульной системы, экономии расходования строительных материалов, техники безопасности и противопожарных мероприятий.
1. Исходные данные
Планировочная схема 1-го и 2-го этажей

Жилой дом на 12 квартир
Экспликация
1.Жилые комнаты
2.Кухня
3.Санитарные узлы
4.Корридоры
5.ЛК
6.Тамбур
2. Характеристики наружного климата
2.1 Климатические показатели
Климатический район- IB. Зона влажности –3(сухая) г.Уфа
1.Температура наружного воздуха средняя по месяцам: О С
|
I |
II |
III |
IV |
V |
VI |
VII |
VIII |
IX |
X |
XI |
XII |
Наиболее холодная пятидневка |
Период со ср.суточной t≤10 О С |
Продолжительность |
|
-14,9 |
-13,7 |
-6,7 |
4,4 |
13,3 |
17,3 |
18,9 |
16,8 |
11,1 |
2,8 |
-5,1 |
-11,2 |
-35 |
-5 |
227 |
2.Зона влажности-3. Упругость водяного пара наружного воздуха по месяцам, ГПа.
-
I
II
III
IV
V
VI
VII
VII
IX
X
XI
XII
2,1
2,1
3
5,9
9
12,9
15,1
13,9
9,9
6,3
3,5
2,6
Относительная влажность:
Наиболее холодного месяца:84%
Наиболее жаркого месяца: 56%
3.Направление и скорость ветра. Повторяемость направлений ветра (числитель),%, средняя скорость ветра по направлениям(знаменатель),м/с.
|
ЯНВАРЬ |
ИЮЛЬ |
||||||||||||||
|
С |
СВ |
В |
ЮВ |
Ю |
ЮЗ |
З |
СЗ |
С |
СВ |
В |
ЮВ |
Ю |
ЮЗ |
З |
СЗ |
|
9/3,1 |
4/3,3 |
2/3,4 |
8/4,3 |
42/5,5 |
20/ 4,5 |
6/4 |
9/ 4,4 |
19/ 3,6 |
9/3,5 |
5/2,8 |
6/3,1 |
13/3,4 |
14/3,8 |
14/ 3,4 |
20/ 3,6 |
2.2 Климатологическая характеристика здания
Настоящие нормы строительной теплотехники должны соблюдаться при проектировании ограждающей конструкций новых и реконструируемых зданий и сооружений различного назначения с нормируемыми температурой или температурой и относительной влажностью внутреннего воздуха. При проектировании зданий и сооружений следует предусматривать защиту внутренней и наружной поверхностей стен от воздействия влаги и атмосферных осадков с учетом материала стен, условий их эксплуатации и требований нормативных документов по проектированию отдельных видов зданий, сооружений и строительных конструкций. Гидроизоляцию стен от увлажнения грунтовой влагой следует предусматривать
Горизонтальную-в стенах выше отмостки здания или сооружения, а также ниже уровня пола цокольного или подвального этажа
Вертикальную-подземной части стен с учетом гидрогеологических условий и назначения помещений
|
Климатические районы |
Климатические подрайоны |
Среднемесячная температура воздуха в январе, °С |
Средняя скорость ветра за три зимних месяца, м/с |
Среднемесячная температура воздуха в июле, °С |
Среднемесячная относительная влажность воздуха в июле, % |
|
I |
IВ |
От -14 до -28 |
— |
От +12 до +21 |
— |
РОЗА ВЕТРОВ


3. Архитектурно-строительные характеристики здания
3.1 Объемно-планировочное решение. Объемно-планировочные параметры
Этажность – 2 этажа
Количество секций – 2 секции
Количество квартир – 12 квартиры
Высота помещений – 2,7 м
Высота этажа – 3,0 м
Лестница железобетонная:
Длина лестничной клетки – 5,69 м
Ширина лестничной клетки – 2,02 м
Длина ступеней – 1,40 м
Высота ступеней – 0, 15м
Ширина ступеней – 0 ,3 м
Количество ступеней в марше – 10
3.2 Вместимость. Состав помещений
Проектируемое здание – двухэтажное, двухсекционное на 12 квартир, размерами в осях 1-9 29200мм
Из них: 1-комнатных – 4, 2-х комнатных – 4, 3-х комнатных -- 4
Состав помещений:
Кухня-столовая
Санитарный узел
Жилая комната
Коридор-передняя
Сравнение площадей квартир
-
По СНиПу
Фактическое
Верхние пределы площади квартир (больших и малых), м2
С числом комнат
1
2
3
1
2
3
28-38
44-53
56-65
33
45
60
3.3 Капитальность здания
II степень огнестойкости
II степень долговечности
III класс капитальности
3.4 Площадь помещений
-жилая комната >9.8м2
- общая комната двухкомнатной квартиры > 15.2м2
- общая комната в трехкомнатной квартиры > 16м2
- спальня на одного человека >8м2
- спальня на двух человек > 10-12м2
- туалет
при открытой двери наружу 0.8-1.2м2
- ванная 2.2 х 2,2
Температурно-влажностный режим помещений:
|
Наименование помещений |
Температура внутреннего воздуха, ºС |
Относительная влажность |
Кратность воздухообмена |
|
|
Жилая комната |
20 |
55% |
3 |
|
|
Кухня |
18 |
55% |
75 |
|
|
Сан/узел |
ванная |
25 |
75% |
25 |
|
уборная |
18 |
55% |
25 |
|
|
Коридор |
18 |
55% |
3 |
|
|
Лестничная клетка |
16 |
55% |
3 |
3.5 Противопожарные требования
Отметка пола помещений при входе в здание должна быть выше отметки тротуара перед входом не менее чем на 0.15м. Число подъемов в одном лестничном проходе уровней должно быть не менее 3 и не более 18. лестничные марши должны иметь ограждения с поручнями. Наибольшие расстояния от дверей квартир и комнат общежитий до лестничной клетки или входа наружу принимаются в соответствии со степенью огнестойкости.
|
Степень огнестойкости |
Наибольшее расстояние от дверей квартиры или комнаты до входа, м. При расположении между лестничными клетками или параллельно выхода |
Наибольшее расстояние от дверей квартиры или комнаты до выхода, м. При входе в тупиковый коридор |
|
I |
40 |
25 |
|
II |
40 |
25 |
|
III |
30 |
20 |
|
IIIб, IV |
25 |
15 |
|
IIIа, IVа, V |
20 |
10 |
Эвакуация из здания
Эвакуация из здания 1-го этажа осуществляется на лестничную клетку. Эвакуация из помещений 2-го этажа на лестничную клетку.
Допустимый путь эвакуации -25 м. Рассчитываем эвакуацию по формуле i=1.5√р р- периметр квартиры, Т.е. расстояние до выхода на лестничную клетку из самой удаленной точки.
-
Номер помещения
Расстояние до лест. клетки (м)
1
15.5
2
14.4
3
16
4.Объемно-планировочное решение и конструктивная система здания
4.1Конструктивная система здания
Совокупность вертикальных и горизонтальных элементов, обеспечивающих прочность и устойчивость здания. На несущую стену опирается балка перекрытия. Кроме собственного веса стена выдерживает балку перекрытия вместе с легкобетонными плитами.
В соответствии с анализом всех конструктивных систем, принимаю конструктивную систему – поперечный остов.. При таком остове мы обойдемся обычными балками перекрытия, высотой 250мм и соответствующими длиной и шириной.
4.2 Требования к объемно-планировочным решениям
Квартиры в жилых зданиях следует проектировать исходя из условия заселения их одной семьей. В квартирах следует предусматривать жилые комнаты и подсобные помещения: кухню, переднюю, ванную или душевую, уборную, кладовую (или хозяйственные встроенные шкафы). Допускается устройство помещения для хозяйственных работ, холодной кладовой (или шкафов), вентилируемого сушильного шкафа для верхней одежды и обуви. Площадь гостиной (общей комнаты) в однокомнатной квартире должна быть не менее 14 м2, в квартирах с числом комнат 2 и более - не менее 16 м2, других жилых комнат и кухни - не менее 8 м2. В однокомнатных квартирах типа 1А и двухкомнатных типа 2А городских домов допускается проектировать кухни или кухни-ниши не менее 5 м2.
Площадь спальной жилой комнаты и кухни в надстраиваемом мансардном этаже двух- и более комнатных квартир допускается не менее 7 м2 при условии, что общая комната имеет площадь не менее 16 м2. В однокомнатных квартирах допускается устройство совмещенных санузлов. Двери уборной, ванной и совмещенного санузла должны открываться наружу. Вход в помещение оборудованное унитазом, непосредственно из кухни и жилых помещений (кроме жилых помещений, предназначенных для семей с инвалидами) не допускается.
Не допускается размещение уборной и ванной (или душевой) непосредственно над жилыми комнатами и кухнями. Размещение уборной и ванной (или душевой) над кухней допускается в квартирах, расположенных в двух уровнях. Не допускается крепление приборов и трубопроводов непосредственно к межквартирным стенам и перегородкам, ограждающим жилые комнаты.
5.Физико-технические расчеты наружных ограждающих конструкций
5.1 Расчёт толщины наружной стены.
РАСЧЕТНАЯ СХЕМА:

1- кирпич керамический пустотныйγ=1400λ= 0,58
2- кирпич глиняный обыкновенныйγ=1800λ= 0,81
3-штукатурка цементно-шлаковая γ=1200λ= 0,58
Условия эксплуатации-Б
В соответствии со СНиП 23-02-2003 «Тепловая защита зданий» сопротивление теплопередаче наружной стены R>0 >следует принимать не менее нормируемых значений R>req>,определяемых по табл.4 в этом СНиПе в зависимости от градусо-суток отопительного периода района строительства D>d>
А)Определение градусо-суток отопительного периода
t>int>=20 О С, t>ht>= -5 О С , z>ht>=227,t>ext>= -35 ОС
D>d>=(20+5)*227=5675
R>req> = a D>d> + b
a= 0,00035
b=1.4
R>req> =0,00035*6100,5+1,4=3,39
R>req>T=3,39
R>i>=1/α>b>+Σ R>i>+1/α>н>, R>i>=δ/λ
R>i>=1/8,7+ 0,25/0,58+0,25/0,81+0,02/0,58+1/23=0,93
R>i> < R>req>T следовательно сопротивление теплопередаче стены недостаточное, в связи с чем меняю расчётную схему стены добавлением утеплителя.
РАСЧЕТНАЯ СХЕМА:

1- кирпич керамический пустотныйγ=1400λ= 0,58
2-мин. ватаγ=100λ= 0,07
2- кирпич глиняный обыкновенныйγ=1800λ= 0,81
3-штукатурка цементно-шлаковая γ=1200λ= 0,58
R>i>=1/8,7+ 0,12/0,58+Х/0,07+0,25/0,81+0,02/0,58+1/23=3,39
Х=0,187 Принимаю толщину утеплителя = 190мм.
Толщина стены равна:580мм.
t>int>-расчетная средняя температура внутреннего воздуха здания ,О С.
t>ht>>, >z>ht>-средняя температура наружного воздуха, О С, и продолжительность, сут, отопительного периода, принимаемые по СНиП 23-01 со средней суточной температурой наружного воздуха не более 10 О С.-при проектировании лечебно-профилактических, детских учреждений и домов-интернатов для престарелых, и не более 8 О С-в остальных случаях.
Δt>n>-нормируемый температурный перепад между температурой внутреннего воздуха и температурой внутренней поверхности ограждающей конструкции
n-коэффициент, учитывающий зависимость положения наружной поверхности ограждающих конструкций по отношению к наружному воздуху
t>ext>-расчетная температура наружного воздуха в холодный период года, О С, для всех зданий, кроме производственных зданий, предназначенных для сезонной эксплуатации.
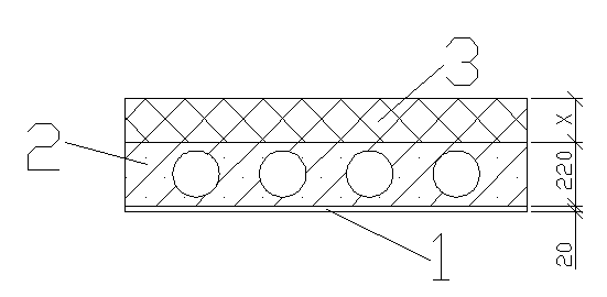
5.2 Расчет толщины теплоизоляции чердачного перекрытия по нормам сопротивления теплопередаче
Утеплитель чердака - пенополистерол γ=150 λ= 0,052
РАСЧЕТНАЯ СХЕМА

|
№ |
Наименование слоя |
Объемный вес γ,кг/ м3 |
Коэффициент теплопроводности, Вт/ О См |
Толщина слоя,м |
|
1 |
Штукатурка |
1400 |
0,58 |
0,02 |
|
2 |
Железобетон |
2400 |
1,86 |
0,22 |
|
3 |
Пенополистерол |
100 |
0,052 |
X=0,21 |
t>int>=20 О С, t>ht>= -5 О С , z>ht>=227 t>ext>= -35 О С
D>d>=(20+5)*227=5675
R>req> = a D>d> + b
a= 0,00045
b=1,9
R>req> =0,00045*6100,5+1,9=4,45
R>req>T=4,45
R>i>=1/α>b>+Σ R>i>+1/α>н>, R>i>=δ/λ
R>i>=1/8.7+0.02/0.58+0.22/1.86+X/0.052+1/23=4,45
X=0,207,т.е. толщина слоя утеплителя чердака рана 207 мм.
Окончательно принимаю толщину утеплителя равной 210 мм.
5.3 Определение сопротивления воздухопроницанию наружной стены
В соответствии со СНиП 23-02-2003 сопротивление воздухопроницанию наружной стены должно быть не меньше требуемого( R>inf>≥R>inf>req)
R>inf>req=∆p/G>n>
∆p-разность давлений воздуха на наружной и внутренней поверхностях ограждающей конструкций,Па.
G>n>-нормируемая воздухонепроницаемость ограждающих конструкций, кг/м2ч
∆p=0.55H(γ>ext>-γ>int>)+0.03 γ>ext>ν2
H-Высота здания ( от уровня пола первого этажа до верха вытяжной шахты ), м.
γ>int>,γ>ext>-удельный вес соответственно наружного и внутреннего воздуха, Н/ м3,определяемой по формуле: γ=3463/(273+t)
t-температура воздуха: внутреннего (для определения γ>int> )-принимается согласно оптимальным параметрам по ГОСТ 12.1.005, ГОСТ 30494 и СанПиН 2.1.2.1002; наружного (для определения γ>ext>)-принимается равной средней температуре наиболее холодной пятидневки обеспеченностью 0.92 по СНиП 2.01.01-82(23-01)
ν-максимальная из средних скоростей ветра по румбам за январь,повторяемость которых составляет 16% и более.
γ>int>=3463/(273+20)=11.8 Н/ м3
γ>ext>=3463/(273-31)=14.3 Н/ м3
ν=5.9м/с
∆p=0.55*11,27(14.3-11.8)+0.03*14.3*5,92=29,02 Па
G>n>=0.5 кг/м2ч( По СНиП 23-02-2003)
R>inf>req=29,02/0.5=58,04 м2чПа/кг
5.4 Светотехнический расчет окон
-
Наименование комнат
Площади комнат
Размер оконного проема
ГОСТ 16289-86
Жилая комната
15 м2(1 окно)
1,5x1.5м
1460x1460мм
Н>окна>=1,5м
Для всех остальных помещений S>окна>=(1/5…1/8)S>пола, >мы в данном проекте используем S>окна>=1/8S>пола>

5.5 Акустический расчет
Определение звукоизоляции воздушного шума междуэтажными перекрытиями.
L>w>=37lg(m)+55lg(k)-43
m-масса перекрытия
m=γ*δ(м)(объемный вес материала на его толщину в метрах)
k-коэффициент, зависящий от перекрытий
Для железобетонных панелей k=1
-
№
Наименование слоя
Объемный вес γ,кг/ м3
Толщина слоя,м
1
ж/б панель
2400
0.14
3
Дощатые полы(сосна вдоль волокон)
500
0.08
L>w>=37lg(2400*0.14+0.08*500)+55lg(1)-43≈52Дб
Воздушный шум не превышает нормы
6.Конструктивные элементы здания
6.1 Фундамент ленточный бутовый
Уфа находится на территории с глубиной промерзания грунта 1м 80 см.Под всем фундаментом насыпать керамзитовую подушку толщиной 150 мм. Ширину фундамента выбираем в зависимости от толщины стены кратно 100 мм.
Для нашего случая ширину фундамента по наружным стенам принимаем - 400 мм, ширину фундамента в средней части здания принимаем 400 мм.(несущая стена,толщиной 380 мм).

6.2 Стены
Наружные стены выполнены из обычного кирпича с утеплителем
Ширина наружных стен 580мм.
Внутренние несущие стены из кирпича толщиной 380 мм
Материал: кирпич.
6.3 Перегородки
Межкомнатные перегородки из гипсовых мелкоразмерных плит, толщиной 100мм.
6.4 Заполнители оконных проемов
Принимаю оконные блоки марки 15-15. В соответствии с ГОСТ 16289-86 (см.рис. пункта 5.5).
6.5 Перекрытия
В данной курсовой работе использовались балки перекрытия высотой 250 мм с плитами из легкого бетона высотой 80 мм, и соответствующими перекрываемым областям длинам.
1. Цокольное перекрытие

2.Междуэтажное перекрытие

3.Чердачное перекрытие


6.6 Полы
Полы и стены помещений ДУ должны иметь покрытие или отделку, допускающую влажную уборку и дезинфекцию.
В данном курсовомм проекте используем дощатый пол по лагам .В санузлах и кухне делаем кафельный пол.
6.7 Лестница
Количество ступенек
n=H>эт>/2h>c>>т>=3000/300=10
Длина лестничного марша
l=(n-1)*l>см>=10*300=3000мм
b>л.п>=2100мм
6.8 Крыша
В данном курсовом проекте применена четырехскатная деревянная крыша.
Материал кровли – волнистые асбестоцементные листы.
Список используемой литературы
1) СНиП 2.01.01-82-«Строительная климатология и геофизика»
2) СНиП 23-02-2003-«Тепловая защита зданий»
3) СП 23-101-2000-«Проектирование тепловой защиты зданий»
4) СНиП 23-05-95-«Естественное и искусственное освещение»
5) СНиП 23-03-2003-«Защита от шума»
6) СП 23-103-2003-«Проектирование звукоизоляции ограждающих конструкций жилых и общественных зданий»
7) СНиП 21-01-97 «Пожарная безопасность зданий и сооружений»
8) СНиП 2.08.02-89* «Жилые здания»
9) СНиП 2.03.13-88-«Полы»
10)СНиП II-26-76-«Кровли»
11) ГОСТ 9561-91 «Плиты перекрытий железобетонные многопустотные для зданий и сооружений»
12) ГОСТ 27936-88 «Окна и двери деревоалюминиевые для общественных зданий. Типы и конструкция.
13) СНиП 10-01-94 "Система нормативных документов в строительстве. Основные положения"