Проектирование двухэтажного жилого дома
Содержание
Введение
Исходные данные
Архитектурно-строительные характеристики здания
2.1 Климатические условия
2.2 Генеральный план и рельеф
2.3 Источники водоснабжения
2.4 Источники теплоснабжения и вентиляции
2.5 Источники электроснабжения строительных объектов и машин
2.6 Обеспечение строительства кадрами
2.7 Объемно-планировочное решение. Объемно-планировочные параметры
2.8 Вместимость. Состав помещений
2.9 Капитальность здания
2.10 Площадь помещения
2.11 Противопожарные требования
Объемно-планировочное решение и конструктивная система здания
3.1 Конструктивная система здания
3.2 Требования к объемно-планировочным решениям
Физико-технические расчеты наружных ограждающих конструкций
4.1 Расчет толщины наружной стены
4.2 Расчет толщины теплоизоляции чердачного перекрытия по нормам сопротивления теплопередаче
4.3 Определение сопротивления воздухопроницанию наружной стены
4.4 Светотехнический расчет окон
4.5 Акустический расчет
Конструктивные элементы здания
5.1 Фундамент ленточный бутовый
5.2 Стены
5.3 Перегородки
5.4 Заполнители оконных проемов
5.5 Перекрытия
5.6 Полы
5.7 Лестница
5.8 Крыша
Список используемой литературы
Введение
Проблема улучшения жилищных условий населения была и остается актуальной. Главным направлением в возведении жилых домов является крупноэлементное домостроение. Вместе с тем необходимо широко использовать и местные строительные материалы, а также мелкоразмерные изделия, что особенно актуально для сельской местности, отдаленных районов, железнодорожных поселков.
Повсеместное распространение получили здания из кирпича и керамических камней. В ряде районов России широко применяются для строительства камни из легковесных естественных пород (туф, ракушечник, известняк и др.). На обширных лесных территориях страны в большом количестве возводят деревянные дома. Массовое использование находят такие строительные материалы местного производства как шлаки, керамзит, гипс, фибролит, минеральная вата, различные легкие и мелкоразмерные изделия из них и др.
Разработка проекта ведется в соответствии с указаниями нормативно-конструктивных документов по строительному проектированию и требованиями унификации объемно-планировочных параметров изделий и санитарно-технического оборудования на основе единой модульной системы, экономии расходования строительных материалов, техники безопасности и противопожарных мероприятий.
Исходные данные
Планировочная схема 1-го и 2-го этажей

Жилой дом на 12 квартир
Экспликация
1.Жилые комнаты
2.Кухня
3.Санитарные узлы
4.Корридоры
5.ЛК
6.Тамбур
2. Архитектурно-строительные характеристики здания
2.1 Климатические условия
Территория Тульской области лежит в умеренном климатическом поясе. Климат области - умеренно континентальный, отвечающий переходному положению территории между умеренно влажными северо-западными районами Русской равнины и более теплыми и сухими районами ее юго-восточной части.
Расчетная зимняя температура наружного воздуха: – средняя наиболее холодной пятидневки – 26 0С.
Снеговой район: IV
Вес снегового покрова: 1500Н/см2
Ветровой район: I
Скорость ветра: 35 кгс/м2
Зона влажности: относительно - влажная
Климатический район: II.
Глубина промерзания: 1,6 м
Количество осадков: 447-650 мм
Сейсмичность района: отсутствует
2.2 Генеральный план и рельеф участка
Архитектурно-планировочные решения по застройке участка, благоустройству, вертикальной планировке и инженерным сетям выполнены на основании архитектурно-планировочного задания.
Рельеф участка ровный. Организация рельефа решена из условия не затопляемости участка.
Отвод поверхностных вод запроектирован по лоткам проезжей части, Установкой дожде приемных колодцев с дальнейшим выпуском в дождевую канализацию.
Комплекс работ по благоустройству участка предусматривает:
устройство проездов
устройство тротуаров
устройство площадок
устройство зеленых насаждений
Конструкции дорожной одежды приняты:
проездов – асфальтобетонное;
тротуаров – из песчаного асфальта;
дорожек – из бетонной плитки;
площадок – щебеночное.
Благоустройство территории предусматривает создание наиболее удобных условий для жизни, отдыха населения и решается в общем комплексе.
Вся свободная от застройки территория озеленяется путем устройства газонов, посадки деревьев и кустарников. Работы по озеленению должны производится только после окончания строительства сооружения.
2.3 Источники водоснабжения
Водоснабжение жилого дома предусматривается от уличной сети водопровода.
При нижней разводке магистральный трубопровод от водомерного узла следует прокладывать в подвале.
Внутренние водопроводные сети проектируем из отельных оцинкованных труб.
Горизонтальный трубопровод укладываются с уклоном 0,002–0,005 в сторону ввода. Горизонтальные участки подводящих труб располагаются над полом, на высоте 0,15–0,26 м.
Кран мойки располагают на высоте 1,0–1,1 м над полом, кран умывальника -1 м, душ – 2,1 м. Подводка к низко расположенному смывному бачку унитаза находится на высоте 0,75 м.
Канализация прокладывается к городской сети.
Приемниками сточных вод служат санитарные приборы, трапы, сливы, воронки, лотки и т.п. Для приема дождевых сточных вод на поверхности кровли устанавливают водосточные воронки.
В выпусках от всех приемников (кроме унитазов) имеются решетки для задержания твердых загрязнений, могущих вызвать засорение трубопроводов.
Сеть внутренней бытовой канализации монтируют из чугунных канализационных труб. Стояки устанавливают как можно ближе к унитазам. Диаметр стояка должен быть одинаковым по всей высоте стояка и не менее 100 мм.
Выпуски укладываются с уклоном 0,000–0,01 при диаметре 150 мм, с плавным присоединением к стоякам. Наибольший уклон трубопроводов не должен превышать 0,15. Глубина заложения труб выпуска может быть на 0,3 м меньше глубины промерзания грунта. Наибольшая длина труб выпуска от стояка или от прочистки до оси смотрового колодца дворовой канализации при диаметре 150 мм – 10 м. При длине выпуска более указанной, необходимо предусматривать устройство прочисток (внутри здания) или дополнительного смотрового колодца (за его пределами).
Следует предусмотреть устройство и соответствующую заделку проемов через фундамент здания для выпусков канализации.
Продолжением стояков являются вытяжные трубы того же диаметра. Их выводят через чердак на 0,5 м выше неэксплуатируемой кровли здания. Вытяжные участки канализационных стояков выполняют из асбестоцементных или пластмассовых труб.
Для обеспечения бесперебойной роботы канализационной сети на ней должны быть ревизии и прочистки. На стояках ревизии устанавливают на верхнем и нижнем этажах. Но горизонтальных участках сети ревизии или прочистки устанавливают на поворотах и прямолинейных участках: при диаметре 100 мм – через 10 м (прочистка) или 15 м (ревизия).
2.4 Источники теплоснабжения и вентиляции
Источником теплоснабжения является городская теплосеть.
В здании запроектирована двухтрубная система теплоснабжения с нижней разводкой, внутренние сети проектируем из отельных оцинкованных труб.
В качестве нагревательных приборов принимаются чугунные радиаторы типа M-I40.
Температура теплоносителя (воды в системе отопления) принимаем: t>о> = 75 оС.
Нагревательные приборы следует располагать под окнами у наружных стен без ограждений. На лестничных клетках нагревательные приборы располагают при входе, не перенося их на лестничные площадки.
Кухни, ванные, уборные или объединенные санитарные узлы должны иметь вытяжную вентиляцию с естественной тягой непосредственно из помещений.
Вытяжная вентиляция жилых комнат в одно – двух- и трехкомнатных квартирах должна осуществляться через вытяжные каналы кухонь, ванных, уборных или объединенных санузлов.
При устройстве вентиляции из санитарных узлов допускается объединение вентиляционных каналов кухни и ванной, а также ванной и уборной одной квартиры.
Вентиляционные вертикальные каналы располагаются во внутренних кирпичных стенах. В местах пересечения стен каналы размещать не следует, чтобы не нарушить перевязь кирпичной кладки, от дверных притолок каналы должны отстоять на 1 кирпич. Расстояние между двумя каналами принимается в полкирпича. Размеры вертикальных каналов в кирпичных стенах должны быть кратными размерам кирпича.
При отсутствии внутренних кирпичных стен устраивают приставные каналы из блоков или плит (минимальный размер их 100х150 мм). Устройство вентиляционных каналов в наружных стенах или приставных каналов (без отступки) у наружных стен не допускается.
Вытяжные отверстия в помещениях располагаются на расстоянии 0,5 м от потолка. Внутренние поверхности каналов затираются цементным раствором.
2.5 Источники электроснабжения строительных объектов и машин
Электроснабжение предусмотрено от существующего распределительного пункта.
По степени обеспечения надежности электроснабжения объект относится к II категории.
В здании устанавливаться одно общее вводно-распределительное устройство или главный распределительный щит (ВРУ, ГРЩ), предназначенные для приема электроэнергии от городской сети и распределения ее по потребителям здания. В общественных зданиях ГРЩ или ВРУ должны располагаться у основного абонента независимо от числа предприятий, учреждений и организаций, расположенных в здании.
В жилых домах число горизонтальных питающих линий квартир должно быть минимальным. Нагрузка каждой питающей линии, отходящей от ВРУ, не должна превышать 250 А.
В домах высотой 4 этажа и более число горизонтальных питающих линий должно быть, как правило, не более двух. Разрешается увеличение числа линий, если нагрузка квартир не может быть обеспечена двумя линиями.
Электроприемники противопожарных устройств и охранной сигнализации в общественных зданиях независимо от категории по надежности их электроснабжения должны питаться от разных вводов. При этом отключение остальных потребителей не должно быть связано с отключением электроприемников противопожарных устройств.
Коммутационные и защитные аппараты линий, питающих противопожарные устройства, расположенные на ВРУ (ГРЩ), должны иметь отличительную окраску (красную).
Освещение лестниц, поэтажных коридоров, вестибюлей, входов в здание, номерных знаков и указателей пожарных гидрантов, огней светового ограждения и домофонов должно питаться линиями от ВРУ. При этом линии питания домофонов и огней светового ограждения должны быть самостоятельными. Питание усилителей телевизионных сигналов следует осуществлять от групповых линий освещения чердаков.
ВРУ И ГРЩ, как правило, должны размещаться в специально выделенных запирающихся помещениях (электрощитовых). Двери из этих помещений должны открываться наружу.
Не разрешается размещать электрощитовые в незадымляемых лестничных клетках.
ВРУ и ГРЩ разрешается размещать не в специальных помещениях при соблюдении следующих требований:
Устройства и щиты должны быть расположены в удобных и доступных для обслуживания местах (в отапливаемых тамбурах, вестибюлях, коридорах и т.п.);
Аппараты защиты и управления должны устанавливаться в металлическом шкафу или в нише стены, снабженных запирающимися дверцами. При этом рукоятки аппаратов управления не должны выводиться наружу, они должны быть съемными или запираться на замки.
Прокладка через электрощитовые трубопроводов систем водоснабжения, отопления (за исключением трубопроводов отопления щитовой), а также вентиляционных и других коробов разрешается как исключение, если они не имеют в пределах щитовых помещений ответвлений, а также люков, задвижек, фланцев, ревизий, вентилей. При этом холодные трубопроводы должны иметь защиту от отпотевания, а горячие – тепловую несгораемую изоляцию.
Электрощитовые должны оборудоваться естественной вентиляцией и электрическим освещением. В них должна обеспечиваться температура не ниже 5 С.
В общежитиях следует предусматривать централизованный учет расхода электроэнергии счетчиками, устанавливаемыми на вводах в здания. Для возможности расчетов за потребленную электроэнергию по дифференцированным тарифам в проектах должны быть приведены данные об установленной мощности и расчетной нагрузке электрических плит, освещения жилых комнат, освещения помещений общего назначения, лифтов и других обще домовых потребителей (отдельно силовых и освещении).
Защитное заземление в электроустановках жилых и общественных зданий должно соответствовать требованиям СНиП 3.05.06–85. К помещениям общего пользования с повышенной опасностью в жилых зданиях относятся: лестничные клетки, поэтажные холлы и коридоры, технические подполья и этажи, подвалы, подсобные помещения в подвалах с токопроводящими полами, чердаки, тепловые пункты, постирочные, сушильные, гладильные, электрощитовые.
Дополнительно к требованиям в жилых и общественных зданиях заземлению подлежат:
В помещениях розетки, устанавливаемые в сети напряжением 380–220 В для подключения переносных и передвижных электроприемников, должны иметь защитные контакты, присоединяемые к сети заземления;
В электроустановках различных назначений и напряжений для заземления должно применяться одно общее заземляющее устройство. Указанное требование не относится к специальным заземлениям технологического оборудования и приборов, которые учитываются в соответствующих технологических разделах проекта здания.
Запрещается использование в качестве заземляющих проводников металлических оболочек изоляционных труб, труб из тонколистовой стали с фальцем, металлорукавом, а также брони и свинцовых оболочек кабелей и сетей газоснабжения.
В жилых и общественных зданиях рекомендуется применение устройств защитного отключения (УЗО) на ток срабатывания не более 30 мА и время срабатывания до 100 мс.
В жилых домах УЗО рекомендуется устанавливать на вводе в квартиру.
При этом номинальный ток УЗО должен быть рассчитан на нагрузку квартиры. Рекомендуется также использование УЗО для переносных электробытовых приборов.
2.6 Обеспечение строительства кадрами
Снабжение строительства материалами рекомендуется производить с предприятий строительной области расположенных в непосредственной близости со строящимся объектом, с целью уменьшения транспортных расходов.
Кадрами, необходимыми для строительства объекта будет обеспечивать Совдел-Строй. Рабочие и инженерно-технические работники будут обеспеченны бытовками в количестве, предусмотренном требованиями СНиП. Совдел-Строй обеспечен оборудованием, необходимым для ведения строительно-монтажных работ. В случае необходимости каких-либо машин, механизмов, или оборудования они выписываются на основании заявок.
2.7 Объемно-планировочное решение. Объемно-планировочные параметры
Этажность – 2 этажа
Количество секций – 2 секции
Количество квартир – 12 квартиры
Высота помещений – 2,7 м
Высота этажа – 3,0 м
Лестница железобетонная:
Длина лестничной клетки – 5,69 м
Ширина лестничной клетки – 2,02 м
Длина ступеней – 1,40 м
Высота ступеней – 0, 15м
Ширина ступеней – 0 ,3 м
Количество ступеней в марше – 10
2.8 Вместимость. Состав помещений
Проектируемое здание – двухэтажное, двухсекционное на 12 квартир, размерами в осях 1-9 29200мм
Из них: 1-комнатных – 4, 2-х комнатных – 4, 3-х комнатных - 4
Состав помещений:
Кухня-столовая
Санитарный узел
Жилая комната
Коридор-передняя
Сравнение площадей квартир
|
По СНиПу |
Фактическое |
||||
|
Верхние пределы площади квартир (больших и малых), м2 С числом комнат |
|||||
|
1 |
2 |
3 |
1 |
2 |
3 |
|
28-38 |
44-53 |
56-65 |
33 |
45 |
60 |
2.9 Капитальность здания
II степень огнестойкости
II степень долговечности
III класс капитальности
2.10 Площадь помещений
-жилая комната >9.8м2
- общая комната двухкомнатной квартиры > 15.2м2
- общая комната в трехкомнатной квартиры > 16м2
- спальня на одного человека >8м2
- спальня на двух человек > 10-12м2
- туалет
при открытой двери наружу 0.8-1.2м2
- ванная 2.2 х 2,2
Температурно-влажностный режим помещений:
|
Наименование помещений |
Температура внутреннего воздуха, ºС |
Относительная влажность |
Кратность воздухообмена |
|
|
Жилая комната |
20 |
55% |
3 |
|
|
Кухня |
18 |
55% |
75 |
|
|
Сан/узел |
ванная |
25 |
75% |
25 |
|
уборная |
18 |
55% |
25 |
|
|
Коридор |
18 |
55% |
3 |
|
|
Лестничная клетка |
16 |
55% |
3 |
2.11 Противопожарные требования
Отметка пола помещений при входе в здание должна быть выше отметки тротуара перед входом не менее чем на 0.15м. Число подъемов в одном лестничном проходе уровней должно быть не менее 3 и не более 18. лестничные марши должны иметь ограждения с поручнями. Наибольшие расстояния от дверей квартир и комнат общежитий до лестничной клетки или входа наружу принимаются в соответствии со степенью огнестойкости.
-
Степень огнестойкости
Наибольшее расстояние от дверей квартиры или комнаты до входа, м. При расположении между лестничными клетками или параллельно выхода
Наибольшее расстояние от дверей квартиры или комнаты до выхода, м. При входе в тупиковый коридор
I
40
25
II
40
25
III
30
20
IIIб, IV
25
15
IIIа, IVа, V
20
10
Эвакуация из здания
Эвакуация из здания 1-го этажа осуществляется на лестничную клетку. Эвакуация из помещений 2-го этажа на лестничную клетку.
Допустимый путь эвакуации -25 м. Рассчитываем эвакуацию по формуле i=1.5√р р- периметр квартиры, Т.е. расстояние до выхода на лестничную клетку из самой удаленной точки.
-
Номер помещения
Расстояние до лест. клетки (м)
1
15.5
2
14.4
3
16
3. Объемно-планировочное решение и конструктивная система здания
3.1 Конструктивная система здания
Совокупность вертикальных и горизонтальных элементов, обеспечивающих прочность и устойчивость здания. На несущую стену опирается балка перекрытия. Кроме собственного веса стена выдерживает балку перекрытия вместе с легкобетонными плитами.
В соответствии с анализом всех конструктивных систем, принимаю конструктивную систему – поперечный остов. При таком остове мы обойдемся обычными балками перекрытия, высотой 250мм и соответствующими длиной и шириной.
3.2 Требования к объемно-планировочным решениям
Квартиры в жилых зданиях следует проектировать исходя из условия заселения их одной семьей. В квартирах следует предусматривать жилые комнаты и подсобные помещения: кухню, переднюю, ванную или душевую, уборную, кладовую (или хозяйственные встроенные шкафы). Допускается устройство помещения для хозяйственных работ, холодной кладовой (или шкафов), вентилируемого сушильного шкафа для верхней одежды и обуви. Площадь гостиной (общей комнаты) в однокомнатной квартире должна быть не менее 14 м2, в квартирах с числом комнат 2 и более - не менее 16 м2, других жилых комнат и кухни - не менее 8 м2. В однокомнатных квартирах типа 1А и двухкомнатных типа 2А городских домов допускается проектировать кухни или кухни-ниши не менее 5 м2.
Площадь спальной жилой комнаты и кухни в надстраиваемом мансардном этаже двух- и более комнатных квартир допускается не менее 7 м2 при условии, что общая комната имеет площадь не менее 16 м2. В однокомнатных квартирах допускается устройство совмещенных санузлов. Двери уборной, ванной и совмещенного санузла должны открываться наружу. Вход в помещение оборудованное унитазом, непосредственно из кухни и жилых помещений (кроме жилых помещений, предназначенных для семей с инвалидами) не допускается.
Не допускается размещение уборной и ванной (или душевой) непосредственно над жилыми комнатами и кухнями. Размещение уборной и ванной (или душевой) над кухней допускается в квартирах, расположенных в двух уровнях. Не допускается крепление приборов и трубопроводов непосредственно к межквартирным стенам и перегородкам, ограждающим жилые комнаты.
4.Физико-технические расчеты наружных ограждающих конструкций
4.1 Расчёт толщины наружной стены
Расчетная схема:

1- кирпич керамический пустотныйγ=1400λ= 0,58
2- кирпич глиняный обыкновенныйγ=1800λ= 0,81
3-штукатурка цементно-шлаковая γ=1200λ= 0,58
Условия эксплуатации - Б
В соответствии со СНиП 23-02-2003 «Тепловая защита зданий» сопротивление теплопередаче наружной стены R>0 >следует принимать не менее нормируемых значений R>req>,определяемых по табл.4 в этом СНиПе в зависимости от градусо-суток отопительного периода района строительства D>d>
А) Определение градусо-суток отопительного периода
t>int>=20 О С, t>ht>= -5 О С , z>ht>=227,t>ext>= -35 ОС
D>d>=(20+5)*227=5675
R>req> = a D>d> + b
a= 0,00035
b=1.4
R>req> =0,00035*6100,5+1,4=3,39
R>req>T=3,39
R>i>=1/α>b>+Σ R>i>+1/α>н>, R>i>=δ/λ
R>i>=1/8,7+ 0,25/0,58+0,25/0,81+0,02/0,58+1/23=0,93
R>i> < R>req>T следовательно сопротивление теплопередаче стены недостаточное, в связи с чем меняю расчётную схему стены добавлением утеплителя.
Расчетная схема:

1- кирпич керамический пустотныйγ=1400λ= 0,58
2-мин. ватаγ=100λ= 0,07
2- кирпич глиняный обыкновенныйγ=1800λ= 0,81
3-штукатурка цементно-шлаковая γ=1200λ= 0,58
R>i>=1/8,7+ 0,12/0,58+Х/0,07+0,25/0,81+0,02/0,58+1/23=3,39
Х=0,187 Принимаю толщину утеплителя = 190мм.
Толщина стены равна:580мм.
t>int>-расчетная средняя температура внутреннего воздуха здания ,О С.
t>ht>>, >z>ht>-средняя температура наружного воздуха, О С, и продолжительность, сут, отопительного периода, принимаемые по СНиП 23-01 со средней суточной температурой наружного воздуха не более 10О С.-при проектировании лечебно-профилактических, детских учреждений и домов-интернатов для престарелых, и не более 8 О С-в остальных случаях.
Δt>n>-нормируемый температурный перепад между температурой внутреннего воздуха и температурой внутренней поверхности ограждающей конструкции
n-коэффициент, учитывающий зависимость положения наружной поверхности ограждающих конструкций по отношению к наружному воздуху
t>ext>-расчетная температура наружного воздуха в холодный период года, О С, для всех зданий, кроме производственных зданий, предназначенных для сезонной эксплуатации.
4.2 Расчет толщины теплоизоляции чердачного перекрытия по нормам сопротивления теплопередаче
Утеплитель чердака - пенополистерол γ=150 λ= 0,052
Расчетная схема

-
№
Наименование слоя
Объемный вес γ,кг/ м3
Коэффициент теплопроводности, Вт/ О См
Толщина слоя,м
1
Штукатурка
1400
0,58
0,02
2
Железобетон
2400
1,86
0,22
3
Пенополистерол
100
0,052
X=0,21
t>int>=20 О С, t>ht>= -5 О С , z>ht>=227 t>ext>= -35 О С
D>d>=(20+5)*227=5675
R>req> = a D>d> + b
a= 0,00045
b=1,9
R>req> =0,00045*6100,5+1,9=4,45
R>req>T=4,45
R>i>=1/α>b>+Σ R>i>+1/α>н>, R>i>=δ/λ
R>i>=1/8.7+0.02/0.58+0.22/1.86+X/0.052+1/23=4,45
X=0,207,т.е. толщина слоя утеплителя чердака рана 207 мм.
Окончательно принимаю толщину утеплителя равной 210 мм.
4.3 Определение сопротивления воздухопроницанию наружной стены
В соответствии со СНиП 23-02-2003 сопротивление воздухопроницанию наружной стены должно быть не меньше требуемого( R>inf>≥R>inf>req)
R>inf>req=∆p/G>n>
∆p-разность давлений воздуха на наружной и внутренней поверхностях ограждающей конструкций,Па.
G>n>-нормируемая воздухонепроницаемость ограждающих конструкций, кг/м2ч
∆p=0.55H(γ>ext>-γ>int>)+0.03 γ>ext>ν2
H-Высота здания ( от уровня пола первого этажа до верха вытяжной шахты ), м.
γ>int>,γ>ext>-удельный вес соответственно наружного и внутреннего воздуха, Н/ м3,определяемой по формуле: γ=3463/(273+t)
t-температура воздуха: внутреннего (для определения γ>int> )-принимается согласно оптимальным параметрам по ГОСТ 12.1.005, ГОСТ 30494 и СанПиН 2.1.2.1002; наружного (для определения γ>ext>)-принимается равной средней температуре наиболее холодной пятидневки обеспеченностью 0.92 по СНиП 2.01.01-82(23-01) ν-максимальная из средних скоростей ветра по румбам за январь,повторяемость которых составляет 16% и более.
γ>int>=3463/(273+20)=11.8 Н/ м3
γ>ext>=3463/(273-31)=14.3 Н/ м3
ν=5.9м/с
∆p=0.55*11,27(14.3-11.8)+0.03*14.3*5,92=29,02 Па
G>n>=0.5 кг/м2ч( По СНиП 23-02-2003)
R>inf>req=29,02/0.5=58,04 м2чПа/кг
4.4 Светотехнический расчет окон
-
Наименование комнат
Площади комнат
Размер оконного проема
ГОСТ 16289-86
Жилая комната
15 м2(1 окно)
1,5x1.5м
1460x1460мм
Н>окна>=1,5м
Для всех остальных помещений S>окна>=(1/5…1/8)S>пола, >мы в данном проекте используем S>окна>=1/8S>пола>

4.5 Акустический расчет
Определение звукоизоляции воздушного шума междуэтажными перекрытиями.
L>w>=37lg(m)+55lg(k)-43
m-масса перекрытия
m=γ*δ(м)(объемный вес материала на его толщину в метрах)
k-коэффициент, зависящий от перекрытий
Для железобетонных панелей k=1
|
№ |
Наименование слоя |
Объемный вес γ,кг/ м3 |
Толщина слоя,м |
|
1 |
ж/б панель |
2400 |
0.14 |
|
3 |
Дощатые полы(сосна вдоль волокон) |
500 |
0.08 |
L>w>=37lg(2400*0.14+0.08*500)+55lg(1)-43≈52Дб
Воздушный шум не превышает нормы
5. Конструктивные элементы здания
5.1 Фундамент ленточный бутовый
Тула находится на территории с глубиной промерзания грунта 1м 40 см.Под всем фундаментом насыпать керамзитовую подушку толщиной 150 мм. Ширину фундамента выбираем в зависимости от толщины стены кратно 100 мм.
Для нашего случая ширину фундамента по наружным стенам принимаем - 400 мм, ширину фундамента в средней части здания принимаем 400 мм.(несущая стена, толщиной 380 мм).

5.2 Стены
Наружные стены выполнены из обычного кирпича с утеплителем
Ширина наружных стен 580мм.
Внутренние несущие стены из кирпича толщиной 380 мм
Материал: кирпич.
5.3 Перегородки
Межкомнатные перегородки из гипсовых мелкоразмерных плит, толщиной 100мм.
5.4 Заполнители оконных проемов
Принимаю оконные блоки марки 15-15. В соответствии с ГОСТ 16289-86 .
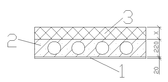
5.5 Перекрытия
В данной курсовой работе использовались балки перекрытия высотой 250 мм с плитами из легкого бетона высотой 80 мм, и соответствующими перекрываемым областям длинам.
1. Цокольное перекрытие

2.Междуэтажное перекрытие

3.Чердачное перекрытие


5.6 Полы
Полы и стены помещений ДУ должны иметь покрытие или отделку, допускающую влажную уборку и дезинфекцию.
В данном проекте используем дощатый пол по лагам .В санузлах и кухне делаем кафельный пол.
5.7 Лестница
Количество ступенек
n=H>эт>/2h>c>>т>=3000/300=10
Длина лестничного марша
l=(n-1)*l>см>=10*300=3000мм
b>л.п>=2100мм
5.8 Крыша
В проекте применена четырехскатная деревянная крыша.
Материал кровли – волнистые асбестоцементные листы.
Список используемой литературы
1) СНиП 2.01.01-82-«Строительная климатология и геофизика»
2) СНиП 23-02-2003-«Тепловая защита зданий»
3) СП 23-101-2000-«Проектирование тепловой защиты зданий»
4) СНиП 23-05-95-«Естественное и искусственное освещение»
5) СНиП 23-03-2003-«Защита от шума»
6) СП 23-103-2003-«Проектирование звукоизоляции ограждающих конструкций жилых и общественных зданий»
7) СНиП 21-01-97 «Пожарная безопасность зданий и сооружений»
8) СНиП 2.08.02-89* «Жилые здания»
9) СНиП 2.03.13-88-«Полы»
10)СНиП II-26-76-«Кровли»
11) ГОСТ 9561-91 «Плиты перекрытий железобетонные многопустотные для зданий и сооружений»
12) ГОСТ 27936-88 «Окна и двери деревоалюминиевые для общественных зданий. Типы и конструкция.
13) СНиП 10-01-94 «Система нормативных документов в строительстве. Основные положения»